JP2010034417A - 太陽電池モジュール - Google Patents

太陽電池モジュール Download PDF

Info

Publication number
JP2010034417A
JP2010034417A JP2008196732A JP2008196732A JP2010034417A JP 2010034417 A JP2010034417 A JP 2010034417A JP 2008196732 A JP2008196732 A JP 2008196732A JP 2008196732 A JP2008196732 A JP 2008196732A JP 2010034417 A JP2010034417 A JP 2010034417A
Authority
JP
Japan
Prior art keywords
solar cell
cell module
adhesive
support member
module support
Prior art date
Legal status (The legal status is an assumption and is not a legal conclusion. Google has not performed a legal analysis and makes no representation as to the accuracy of the status listed.)
Granted
Application number
JP2008196732A
Other languages
English (en)
Other versions
JP4515514B2 (ja
Inventor
Katsuyuki Naito
克幸 内藤
Ryutaro Watanabe
龍太郎 渡辺
Current Assignee (The listed assignees may be inaccurate. Google has not performed a legal analysis and makes no representation or warranty as to the accuracy of the list.)
Sharp Corp
Original Assignee
Sharp Corp
Priority date (The priority date is an assumption and is not a legal conclusion. Google has not performed a legal analysis and makes no representation as to the accuracy of the date listed.)
Filing date
Publication date
Application filed by Sharp Corp filed Critical Sharp Corp
Priority to JP2008196732A priority Critical patent/JP4515514B2/ja
Priority to PCT/JP2009/063386 priority patent/WO2010013691A1/ja
Priority to EP09802934A priority patent/EP2312647A1/en
Priority to US13/056,771 priority patent/US20110126888A1/en
Publication of JP2010034417A publication Critical patent/JP2010034417A/ja
Application granted granted Critical
Publication of JP4515514B2 publication Critical patent/JP4515514B2/ja
Expired - Fee Related legal-status Critical Current
Anticipated expiration legal-status Critical

Links

Images

Classifications

    • HELECTRICITY
    • H02GENERATION; CONVERSION OR DISTRIBUTION OF ELECTRIC POWER
    • H02SGENERATION OF ELECTRIC POWER BY CONVERSION OF INFRARED RADIATION, VISIBLE LIGHT OR ULTRAVIOLET LIGHT, e.g. USING PHOTOVOLTAIC [PV] MODULES
    • H02S20/00Supporting structures for PV modules
    • HELECTRICITY
    • H02GENERATION; CONVERSION OR DISTRIBUTION OF ELECTRIC POWER
    • H02SGENERATION OF ELECTRIC POWER BY CONVERSION OF INFRARED RADIATION, VISIBLE LIGHT OR ULTRAVIOLET LIGHT, e.g. USING PHOTOVOLTAIC [PV] MODULES
    • H02S30/00Structural details of PV modules other than those related to light conversion
    • H02S30/10Frame structures
    • HELECTRICITY
    • H10SEMICONDUCTOR DEVICES; ELECTRIC SOLID-STATE DEVICES NOT OTHERWISE PROVIDED FOR
    • H10FINORGANIC SEMICONDUCTOR DEVICES SENSITIVE TO INFRARED RADIATION, LIGHT, ELECTROMAGNETIC RADIATION OF SHORTER WAVELENGTH OR CORPUSCULAR RADIATION
    • H10F19/00Integrated devices, or assemblies of multiple devices, comprising at least one photovoltaic cell covered by group H10F10/00, e.g. photovoltaic modules
    • H10F19/80Encapsulations or containers for integrated devices, or assemblies of multiple devices, having photovoltaic cells
    • YGENERAL TAGGING OF NEW TECHNOLOGICAL DEVELOPMENTS; GENERAL TAGGING OF CROSS-SECTIONAL TECHNOLOGIES SPANNING OVER SEVERAL SECTIONS OF THE IPC; TECHNICAL SUBJECTS COVERED BY FORMER USPC CROSS-REFERENCE ART COLLECTIONS [XRACs] AND DIGESTS
    • Y02TECHNOLOGIES OR APPLICATIONS FOR MITIGATION OR ADAPTATION AGAINST CLIMATE CHANGE
    • Y02EREDUCTION OF GREENHOUSE GAS [GHG] EMISSIONS, RELATED TO ENERGY GENERATION, TRANSMISSION OR DISTRIBUTION
    • Y02E10/00Energy generation through renewable energy sources
    • Y02E10/50Photovoltaic [PV] energy

Landscapes

  • Photovoltaic Devices (AREA)

Abstract

【課題】モジュール支持部材の裏面保護シートに対向する面と各側面とで成す角部分の形状を工夫することで、放電リスクを低減し、絶縁を高める。
【解決手段】太陽電池モジュール本体10のバックフィルム25に、1または複数のモジュール支持部材30が接着剤40により接着された構造の太陽電池モジュールにおいて、モジュール支持部材30のバックフィルム25に対向する底面35と各側面36,37とで成す角部分38,39が、R面取り、C面取り、階段状等の切り欠いた形状に形成されており、さらに、角部38,39の切り欠いた部分から側面36,37に至るまで接着剤40で覆われている。
【選択図】図6

Description

本発明は、表面基板と、太陽電池セルと、封止材と、裏面保護シートとが順次積層され、前記裏面保護シートに1または複数のモジュール支持部材が接着剤により接着された構造の太陽電池モジュールに係り、より詳細には、裏面保護シートに内装されている金属層と、金属材料からなるモジュール支持部材との間の絶縁効果を高めた太陽電池モジュールに関する。
従来の薄膜系の太陽電池モジュールは、パネル面積の大面積化に伴い、力学的な強度及び耐候性を持たせるべく、枠体に嵌め込まれた状態で使用される。この場合、太陽電池モジュールの強度を維持するために、枠体の板厚を増加させたり、パネル構成部材の厚みを増加させたり、特殊な強化ガラスなどを用いる手法が用いられているが、全体の重量増加や構成部材のコスト増加といった問題があった。また、必要な強度を得るために、太陽電池モジュールの表面基板(透光性樹脂基板)の厚みを増やすと、入射光量の減少により光電変換効率が低下するといった問題もあった。
そこで、このような問題を解消し、太陽電池モジュールの構成部材の厚みをほとんど増やすことなく、太陽電池モジュールの力学的強度を維持する手法が従来から提案されている(例えば、特許文献1参照)。
図11(a)は、このような従来の太陽電池モジュールの全体構成の一例を示す斜視図、同図(b)は、同図(a)のD−D線断面図である。
従来の太陽電池モジュール100は、太陽電池モジュール本体110と、太陽電池モジュール本体の周囲を保持する枠体120と、この枠体120に両端部が固定されたモジュール支持部材130とで構成されている。モジュール支持部材130はH型に形成されており、このモジュール支持部材130の底面131と太陽電池モジュール本体110の裏面とが接着剤140によって接着固定されている。
すなわち、従来の太陽電池モジュール100は、モジュール支持部材130を設けることで、太陽電池モジュールの構成部材の厚みをほとんど増やすことなく、太陽電池モジュールの力学的強度を維持する構成となっている。
特開平10−294485号公報
ところで、このような構造の太陽電池モジュールにおいて、太陽電池モジュール100の裏面側に配置されている裏面保護シートであるバックフィルム111は、防湿性確保のために、例えばPET/Al/PET(PET:ポリエチレンテレフタレート)の3層構造となっている。すなわち、PETだけでは、付着する水滴の浸入は防止できても水蒸気の浸入は防止できないため、水蒸気の浸入を防止できる金属層(防水層)であるAl層111aを内部に介在させている。そのため、図12に示すように、モジュール支持部材130の底面131とバックフィルム111のAl層111aとが非常に接近した状態で配置されることになる。
一方、このような太陽電池モジュール本体110の裏面側に接着されるモジュール支持部材130は、強度を確保するためにアルミニウム等の金属材料によって形成されている。そのため、このモジュール支持部材130とバックフィルム111のAl層111aとの間で放電が発生する可能性があるため、この間の絶縁を高める必要があった。この場合、上記接着剤140としてシリコーン樹脂を用いると、このシリコーン樹脂が絶縁材料として機能できるが、この絶縁が悪い場合には、雷サージを想定したインパルスボルテージ試験を行うと、放電が発生する可能性があった。
放電は、モジュール支持部材130に尖った部分がある場合、その尖った部分から発生しやすいことは周知の事実である。すなわち、上記したH型のモジュール支持部材130では、底面131と隣接する2つの側面132,132との3つの面の交点で成す角部分が一番先鋭な角部分であり、この角部分と、バックフィルム111のAl層111aとの間で放電する可能性が一番高い。また、底面131の両側縁部が90度に屈曲した角部133となっており、この角部133と、バックフィルム111のAl層111aとの間でも放電する可能性が高い。さらに、距離が近い場合には、接着剤140で被覆されていないモジュール支持部材130の側面132部分と、バックフィルム111のAl層111aとの間で放電する可能性もある。
ところで、上記特許文献1には、モジュール支持部材130の構成として、このようなH型以外にも、中空円筒なども採用可能であることが明記されている。中空円筒を採用した場合、その断面形状は図12に示すようになる。すなわち、中空円筒のモジュール支持部材130Aの場合、一見角部が存在しないように見えるが、バックフィルム111に近い弧の頂点(実際には、この頂点を含む紙面垂直方向の直線)130A1で放電リスクがある。また、モジュール支持部材130Aが中空円筒形状である場合、接着剤140によってバックフィルム111に確実に接着固定するためには、接着剤であるシリコーン樹脂をモジュール支持部材130の外周面の弧に倣った空間を覆うように、頂点130A1の左右両側に山形状に充填する必要があり、樹脂の無駄が多いといった問題もあった。さらに、シリコーン樹脂は、薄ければ薄い程、硬化時間が短く、接着にも寄与できるが、上記のように山形状に充填した場合には、非常に硬化しにくく、完全に硬化するまでに時間がかかる、若しくは完全に硬化せずに十分な接着力が得られないといった問題もあった。さらにまた、中空円筒形状のモジュール支持部材130Aでは、接着時にモジュール支持部材130Aをバックフィルム111に強く押し付けると、弧の頂点130A1がバックフィルム111に接触してしまう可能性があり、この場合には、接着剤140の絶縁機能が全く生かせず、放電リスクが高まってしまうといった問題もあった。
本発明はかかる問題点を解決すべく創案されたもので、その目的は、モジュール支持部材の裏面保護シートに対向する面と各側面とで成す角部分、若しくは側面同士で構成される角部分の形状を工夫することで、放電リスクを低減し、絶縁を高めた太陽電池モジュールを提供することにある。
上記課題を解決するため、本発明の太陽電池モジュールは、表面基板と、太陽電池セルと、封止材と、裏面保護シートとが順次積層された太陽電池モジュール本体の前記裏面保護シートに、1または複数のモジュール支持部材が接着剤により接着された構造の太陽電池モジュールにおいて、前記モジュール支持部材の前記裏面保護シートに対向する面と各側面とで成す角部分が切り欠いた形状に形成されていることを特徴としている。
また、本発明の太陽電池モジュールは、前記モジュール支持部材の前記裏面保護シートに対向する面と隣接する2つの側面とで成す角部分も切り欠いた形状に形成されている。
ここで、モジュール支持部材の形状としては、H型やI型とすることができる。また、角部分の切り欠き形状としては、R面取りやC面取りといった面取り形状や、階段形状とすることができる。
すなわち、モジュール支持部材の裏面保護シートに対向する面(底面)と各側面とで成す角部分を面取りした形状とすることで、角部分に尖った部分が無くなることになる。これにより、モジュール支持部材と裏面保護シートの金属層(Al層)との間の絶縁を高めることができる。また、角部分を階段状とすることで、尖った部分は残るものの、その部分は裏面保護シートから離れた位置となるため、このように尖った部分と裏面保護シートとの間の距離を離すことによって、モジュール支持部材と裏面保護シートの金属層(Al層)との間の絶縁を高めることができる。
また、本発明の太陽電池モジュールは、前記モジュール支持部材の前記裏面保護シートに対向する面から垂直に立ち上がる側面同士で構成される角部分が90度より大きい多角形状または弧形状に切り欠いた形状に形成されていることを特徴としている。
また、本発明によれば、前記角部の切り欠いた部分を前記接着剤で覆った構造とする。さらには、前記角部の切り欠いた部分から側面に至るまで前記接着剤で覆った構造とする。
このように、角部の切り欠いた部分を、シリコーン樹脂のような絶縁機能を有する接着剤で覆うことで、モジュール支持部材と裏面保護シートの金属層(Al層)との間の絶縁を確実に高めることができる。この場合、角部の切り欠いた部分を越えてさらに側面まで接着剤で覆った構造とすれば、モジュール支持部材と裏面保護シートの金属層(Al層)との間の絶縁をさらに高めることができる。
ここで、前記接着剤として接着時に流動性のある粘性の接着剤を用いることにより、裏面保護シートとモジュール支持部材との接着時の接着圧力によって、接着剤がモジュール支持部材角部の切り欠いた部分まで流動し、さらには角部側面に沿って競り上がるように流動して、切り欠いた部分や側面まで接着剤によって被覆することができる。なお、このような接着剤としては、シリコーン樹脂やエポキシ樹脂等が好適であるが、基材を用いた接着部材(すなわち両面テープのようなもの)を用いることも可能である。さらには、パテやペースト等の練り物を接着剤として用いることも可能である。
本発明によれば、モジュール支持部材の裏面保護シートに対向する面と各側面とで成す角部分、及びモジュール支持部材の裏面保護シートに対向する面と隣接する2つの側面とで成す角部分を切り欠いた形状に形成したので、角部分に尖った部分が無くなり、その結果、モジュール支持部材と裏面保護シートの金属層(Al層)との間の絶縁を高めることができる。
以下、本発明の実施の形態について、図面を参照して説明する。
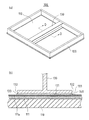
図1は太陽電池モジュールの全体構成を示す斜視図である。ただし、図1は、太陽電池モジュールの裏面側、すなわち受光面の反対側から見た図である。また、図2は、太陽電池モジュール本体の端部断面図、図3は、図1におけるA部分の分解斜視図、図4は、枠体を構成するフレームの側面図、図5は、モジュール支持部材の一方の端部を拡大して示す斜視図、図6は、図1のB−B線断面図、図7は、図1のC−C線断面図である。
図1に示すように、本実施形態の太陽電池モジュール1は、太陽電池モジュール本体10と、太陽電池モジュール本体の周囲を保持する枠体20と、この枠体20に固定された2本のモジュール支持部材30とで構成されている。
太陽電池モジュール本体10は、図2にその端部断面を一部拡大して示すように、透光性絶縁基板(表面基板)11上に、太陽電池セル15を構成する透明導電膜からなる透明電極膜12、光電変換層13、裏面電極膜14がこの順に積層され、さらに、この裏面電極膜14上に、封止フィルム(封止材)16と、耐候性・高絶縁性のための裏面保護シートとしてのバックフィルム17とが積層され、全体がラミネート封止された一体構造となっている。
透光性絶縁基板11としてはガラスやポリイミドなどの耐熱性樹脂がある。透明電極膜12としてはSnO2、ZnO、ITOなどがある。光電変換層13としてはアモルファスシリコンや微結晶シリコンなどのシリコン系光電変換膜や、CdTe,CuInSe2などの化合物系光電変換膜がある。また、裏面電極膜14は、例えばZnO透明導電膜及び銀薄膜からなる。封止フィルム16としては、熱可塑性の高分子フィルムが好ましく、なかでもEVA(エチレンビニルアセテート樹脂)製やPVB(ポリビニルブチラール樹脂)製のものなどが最適である。バックフィルム17としては、防湿性確保のためにPET/Al/PET(PET:ポリエチレンテレフタレート)の3層構造やPVF/Al/PVF(PVF:ポリフッ化ビニル樹脂フィルム)の3層構造となっている。すなわち、PETまたはPVFだけでは、付着する水滴の浸入は防止できても水蒸気の浸入は防止できないため、水蒸気の浸入を防止できる金属層(防水層)であるAl層を内部に介在させている。
枠体20は、図3に示すように、上記の太陽電池モジュール本体10の四辺を保持するものであって、上側フレーム21、下側フレーム22、左側フレーム23、右側フレーム24を備えており、これらフレーム21,22,23,24が一体的に組み付けられることにより枠状に形成されている。但し、図3は、下側フレーム22と左側フレーム23との組み付け部分を示している。
各フレーム21,22,23,24は、アルミニウムの押出加工によりそれぞれ成形されている。上側フレーム21は、太陽電池モジュール本体10における住宅棟側に位置する端縁を保持している。下側フレーム22は、太陽電池モジュール本体10における住宅軒側に位置する端縁を保持している。各左右フレーム23,24は、太陽電池モジュール本体10の左右両側縁をそれぞれ保持すると共に、上側フレーム21及び下側フレーム22の両端縁に連結している。
次に、これら各フレーム21,22,23,24の基本構成について説明する。基本構成は、各フレーム21,22,23,24に共通であるため、ここでは図4を用いて左側フレーム2の断面形状について説明する。但し、以下の断面形状の説明では、図4において、左側フレーム23の左側を太陽電池モジュール本体10の外縁を構成する外側と称し、左側フレーム23の右側を太陽電池モジュール本体10を支持する側、つまり内側と称して説明する。
図4に示すように、左側フレーム23は、矩形の閉断面を有するフレーム本体23aを備えていると共に、このフレーム本体23aの下面の外側端(図中左端)から下方に延びた後、内側(図中右側)へ折り曲げられて成る延長屈曲片23bが設けられている。これにより、フレーム本体23aの下面23cと延長屈曲片23bの水平部分23dとの間で太陽電池モジュール本体10の外周端部が嵌り込む溝部23eが形成されている。また、フレーム本体23aの下面23cの内側端(図中右側端)には、太陽電池モジュール本体10の上面が当接するフランジ23fが突設されている。なお、この溝部23eの幅寸法(図4中の上下方向寸法)は、太陽電池モジュール本体10の厚さ寸法(図2中の上下方向寸法)よりも僅かに大きく設定されている。
また、フレーム本体23aの内側側面の上部には、モジュール支持部材30をネジ等で取り付け固定するためのネジ孔23h1が形成された固定用リブ片23hが形成されている。この固定用リブ片23hは、モジュール支持部材30の取り付け位置に対応して設けられている。
また、フレーム本体23aの外側(図中左側)の側面には、僅かに水平方向に延びた後、下方へ折り曲げられて成る延長片23gが突設されている。なお、図3中の符号23iは、左側フレーム23に設けられたネジホールを有するネジ止め部であり、符号22iは、このネジ止め部23iに対向して下側フレーム22に設けられたネジ孔である。すなわち、ネジ止め部は、左右のフレーム23,24に形成されており、上下のフレーム21,22には、このネジ止め部に対向するネジ孔が形成されている。
図5は、モジュール支持部材30の端面形状を示している。この例では、モジュール支持部材30は、下側水平板31、上側水平板32及び両水平板を支持する垂直支持板33からなるH型であるが、この他にもI型や中空四角柱などでもよい。このモジュール支持部材30の上側水平板32の両端部には、左側フレーム23の固定用リブ片23h、及び右側フレーム24の固定用リブ片(図示省略)にネジにて固定するための固定用リブ片34,34(ただし、図5では手前側のリブ片のみ示している。)が形成されている。この固定用リブ片34,34には、ネジを通すためのネジ孔34aが形成されている。
上記構成の各部材を用いて、太陽電池モジュール1を次のように組み立てる。
まず、太陽電池モジュール本体10の周端部に、端面封止部材71が嵌め込まれる。この端面封止部材71は、太陽電池モジュール本体10の端部の外形に沿って形成された枠形状をしており、例えばエラストマー樹脂により形成されている。そして、この端面封止部材71が嵌め込まれた太陽電池モジュール本体10の周端部に、前後左右のフレーム21,22,23,24の溝部21e,22e,23e,24e(ただし、本明細書では、左側フレーム23の溝部23eのみが図3、図4及び図6に図示されており、その他の溝部は図示を省略している。)をそれぞれ嵌め込み、隣接するフレームの一方のネジ止め部に他方のネジ孔を対峙させ(図3では、左側フレーム23のネジ止め部23iに下側フレーム22のネジ孔22iを対峙させている。)、ここに図示しないネジをねじ込むことによって、上下左右のフレームを一体的にネジ止め固定している。
次に、この状態で、太陽電池モジュール本体10の裏面側から所定の間隔を存して平行に2つのモジュール支持部材30,30をそれぞれ配置する。このとき、モジュール支持部材30の下側水平板31の底面35には、粘性のある接着剤(例えば、シリコーン樹脂やエポキシ樹脂等)40が予め塗布されている。そして、モジュール支持部材30の上側水平板32の両端部に形成されている固定用リブ片34を、左右のフレーム23,24に形成された固定用リブ片23h,24h(ただし、右側フレーム24の固定用リブ片24hは図示を省略している。)上に載置し、モジュール支持部材30の固定用リブ片34に形成されたネジ孔34aからネジ50を挿通し、左右のフレーム23,24に形成された固定用リブ片23h,24hのネジ孔23h1,24h1(ただし、右側フレーム24の固定用リブ片24hのネジ孔24h1は図示を省略している。)にねじ込むことにより、モジュール支持部材30を枠体20に固定している。このとき、太陽電池モジュール本体10のバックフィルム17にモジュール支持部材30を接着するときの接着圧力やその後のネジ止め圧力によって、粘性の接着剤40が下側水平板31の底面35の角部まで流動し、さらには角部側面に沿って競り上がるように流動して、角部全体が接着剤40によって被覆される(図7参照)。
このような太陽電池モジュール1の組み立て構造は、図11に示す従来の太陽電池モジュールの組み立て構造と同じであるが、本実施形態では、モジュール支持部材30の下側水平板31の底面35の両角部の形状に特徴を有している。
すなわち、本実施形態のモジュール支持部材30は、図5ないし図7に示すように、太陽電池モジュール本体10のバックフィルム17に対向する下側水平板31の底面35と各長側面36及び各短側面37との2面で成す角部分38(図5、図7参照)が切り欠いた形状に形成されている。また、モジュール支持部材30の下側水平板31の底面35と隣接する2つの側面(長側面36と短側面37)との3面で成す角部分39(図6参照)も切り欠いた形状に形成されている。より具体的には、各角部分38,39がR面取りされている(このような面取り形状を実施例1とする)。
このように、モジュール支持部材30の下側水平板31の底面35と各長側面36及び各短側面37とで成す角部分38,39を面取りした形状とすることで、角部分38,39に尖った部分が無くなることになる。これにより、モジュール支持部材30とバックフィルム17の金属層であるAl層17aとの間の絶縁を高めることができる。
また、本実施形態では、R面取りした角部分38,39、さらには角部分38,39から各長側面36及び各短側面37に至るまでを接着剤40で覆った構造としている。このように、R面取りした角部分38,39を、シリコーン樹脂やエポキシ樹脂のような絶縁機能を有する接着剤40で覆うことで、モジュール支持部材30とバックフィルム17のAl層17aとの間の絶縁をさらに高めることができる。
図8及び図9は、モジュール支持部材30の角部分38,39の面取り形状の他の実施例を示しており、図8(a)は、面取り形状をC面取りとした場合(これを実施例2とする)、図8(b)は、面取り形状を階段形状とした場合(これを実施例3とする)、図9は、モジュール支持部材30の下側水平板31の底面35から垂直に立ち上がる側面36,37同士で構成される角部分を90度より大きい多角形状または弧形状に切り欠いた場合(これを実施例4とする)を示している。
<実施例2>
図8(a)では、モジュール支持部材30の角部分38,39は、モジュール支持部材30の下側水平板31の上面角部31aの少し下の側面部分36a,37aから底面35に向けて斜めにカットしたC面取りとなっている。このように斜めにカットした場合には、そのC面取り面45の下側角部、すなわちC面取り面45と底面35との隣接部に角部が形成されるが、この角部の角度は約135度であり、図11に示す従来の太陽電池モジュールのモジュール支持部材130の角部の角度(90度)よりは大きな角度になるため、放電のリスクはその分少なくなる。また、C面取り面45と各側面36,37との隣接部にも同様の角部が形成されるが、この角部の位置は、C面取りした分だけバックフィルム17からは離れた位置となり、バックフィルム17からの距離が離れる分、放電リスクも少なくなる。さらに、本実施形態では、このC面取り面45、及びこのC面取り面45から側面36,37に至るまで接着剤40で覆われているので、モジュール支持部材30とバックフィルム17のAl層17aとの間の絶縁をさらに高めることができる。
<実施例3>
図8(b)では、モジュール支持部材30の角部分38,39は、モジュール支持部材30の下側水平板31の上面角部31aの少し下の側面部分36a,37aから底面35に向けて階段状に切り欠いた形状となっている。ただし、この例では階段形状は2段であるが、1段でも3段以上でもよい。このように階段状に形成した場合には、図11に示す従来の太陽電池モジュールのモジュール支持部材130と同様、90度の角部が存在することになるが、一番下の角部46を除いたその他の角部は、階段状にした分だけバックフィルム17からは離れた位置となり、バックフィルム17からの距離が離れる分、放電リスクも少なくなる。また、一番下の角部46とバックフィルム17との距離は、図11に示す従来の太陽電池モジュールのモジュール支持部材130の角部とバックフィルム111との距離と同じであるが、従来の太陽電池モジュールのモジュール支持部材130の角部は接着剤から露出しているのに対し、階段状の一番下の角部は、下側水平板31の側面36,37から内側に入った位置となり、接着剤40によって確実に被覆されることから、この一番下の角部とバックフィルム17との間の絶縁を高めることができる。さらに、本実施形態では、この階段状の一番上の角部から側面36,37に至るまで接着剤40で覆われているので、モジュール支持部材30とバックフィルム17のAl層17aとの間の絶縁をさらに高めることができる。
<実施例4>
図9では、モジュール支持部材30の下側水平板31の底面35と各側面36,37とで成す角部38′,39′は直角のまま切り欠かず、モジュール支持部材30の下側水平板31の底面35から垂直に立ち上がる側面36,37同士で構成される4隅の角部分48を90度より大きい多角形状または弧形状(図9では、弧形状として示している)に切り欠いている。本実施例4によれば、底面35と各側面36,37とで成す角部38′,39′は直角のままであるので、この部分での放電リスクは解消されていないものの、四角形状の板体で最も放電リスクの高い箇所は4隅の尖ったところであり、本実施例4では、この4隅を90度より大きい多角形状または弧形状とすることで、この部分での放電リスクを低くすることができる。さらに、本実施形態では、この角部分48を含む側面36,37全体が接着剤40で覆われているので、モジュール支持部材30とバックフィルム17のAl層17aとの間の絶縁を高めることができる。
なお、上記実施例1〜3では、モジュール支持部材30の下側水平板31の底面35周縁部の角部の切り欠き形状として、R面取り、C面取り、階段状の3つの形状を例示しているが、このような3つの切り欠き形状に限定されるものではなく、何らかの形状(例えば、凹面形状や波形形状、多角形状等)に切り欠かれた全ての形状を含むものである。
また、上記実施形態では、太陽電池モジュール1の組み立て時、モジュール支持部材30の下側水平板31の底面35に塗布されている粘性の接着剤が、バックフィルム17にモジュール支持部材30を接着するときの接着圧力やその後のネジ止め圧力によって、下側水平板31の底面35の角部、さらには角部側面まで流動する構成として説明しているが、接着剤吐出装置によってモジュール支持部材30の下側水平板31の底面35に粘性の接着剤40を塗布するときに、予め下側水平板31の底面35から側面36,37まで覆うように塗布しておいてもよい。
すなわち、図10に示すように、接着剤吐出装置60の樹脂吐出口61の長手方向(モジュール支持部材30の幅方向)の長さW1を、モジュール支持部材30の下側水平板31の幅W2より所定長さだけ長く(W1>W2)しておく。そして、接着剤吐出装置60の樹脂吐出口61の下を、モジュール支持部材30の下側水平板31の底面35を上に向けて、図中X1方向に通過させる際に、この樹脂吐出口61から接着剤40である例えばシリコーン樹脂を幅W1で吐出させることで、下側水平板31の底面35から側面36,37まで覆うように接着剤(シリコーン樹脂)を塗布することができる。
また、上記実施形態では、2本のモジュール支持部材30を平行に配置した場合を例示しているが、モジュール支持部材30の配置本数は2本に限定されるものではなく、太陽電池モジュール自体の大きさや必要とする強度に応じて、1本であっても、3本以上であってもよい。また、その配置形状も、単に平行に並べるだけでなく、十字状、菱形状等、種々の配置形状とすることが可能である。
さらに、上記実施形態では、接着剤40として、シリコーン樹脂やエポキシ樹脂等を例示しているが、基材を用いた接着部材(すなわち両面テープのようなもの)を用いることも可能である。両面テープには、(株)日東電工製の「ハイパージョイント8020」のような両面テープ自体が厚み方向に柔軟性を持つものがあり、このような素材の両面テープを用いることにより、上記した接着剤の流動性を確保することが可能である。
さらに、このような液状接着剤や両面テープの他にも、例えば水漏れ補修等に用いられるようなパテやペースト等の練り物を接着剤として用いることも可能である。
本発明に係る太陽電池モジュールの全体構成を示す斜視図である。 太陽電池モジュール本体の端部断面図である。 図1におけるA部分の分解斜視図である。 枠体を構成するフレームの断面図である。 モジュール支持部材の一方の端部を拡大して示す斜視図である。 図1のB−B線断面図である。 図1のC−C線断面図である。 (a)は、モジュール支持部材の角部分の他の切り欠き形状の実施例2を示す一部拡大断面図、(b)は、モジュール支持部材の角部分の他の切り欠き形状の実施例3を示す一部拡大断面図である。 モジュール支持部材の角部分の他の切り欠き形状の実施例3を示す一部拡大斜視図である。 接着剤吐出装置によるモジュール支持部材への接着剤の吐出状態を示す説明図である。 (a)は従来の太陽電池モジュールの全体構成の一例を示す斜視図、(b)は同図(a)のD−D線断面図である。 中空円筒のモジュール支持部材の裏面保護シートへの接着状態を示す断面図である。
符号の説明
1 太陽電池モジュール
10 太陽電池モジュール本体
11 透光性絶縁基板
12 透明電極膜
13 光電変換層
14 裏面電極膜
15 太陽電池セル
16 封止フィルム
17 バックフィルム(裏面保護シート)
17a Al層(金属層)
20 枠体
21 上側フレーム
22 下側フレーム
23 左側フレーム
24 右側フレーム
30 モジュール支持部材
31 下側水平板
32 上側水平板
33 垂直支持板
34 固定用リブ片
34a ネジ孔
35 底面
36 長側面(側面)
37 短側面(側面)
38,39 角部分
40 接着剤
50 ネジ
60 接着剤吐出装置
61 樹脂吐出口

Claims (11)

  1. 表面基板と、太陽電池セルと、封止材と、裏面保護シートとが順次積層された太陽電池モジュール本体の前記裏面保護シートに、1または複数のモジュール支持部材が接着剤により接着された構造の太陽電池モジュールにおいて、
    前記モジュール支持部材の前記裏面保護シートに対向する面と各側面とで成す角部分が切り欠いた形状に形成されていることを特徴とする太陽電池モジュール。
  2. 請求項1に記載の太陽電池モジュールにおいて、
    前記モジュール支持部材の前記裏面保護シートに対向する面と隣接する2つの側面とで成す角部分が切り欠いた形状に形成されていることを特徴とする太陽電池モジュール。
  3. 請求項1または請求項2に記載の太陽電池モジュールにおいて、
    前記角部分の切り欠き形状が面取り形状であることを特徴とする太陽電池モジュール。
  4. 請求項1または請求項2に記載の太陽電池モジュールにおいて、
    前記角部分の切り欠き形状が階段形状であることを特徴とする太陽電池モジュール。
  5. 表面基板と、太陽電池セルと、封止材と、裏面保護シートとが順次積層された太陽電池モジュール本体の前記裏面保護シートに、1または複数のモジュール支持部材が接着剤により接着された構造の太陽電池モジュールにおいて、
    前記モジュール支持部材の前記裏面保護シートに対向する面から垂直に立ち上がる側面同士で構成される角部分が90度より大きい多角形状または弧形状に切り欠かかれていることを特徴とする太陽電池モジュール。
  6. 請求項1から請求項5までのいずれか1項に記載の太陽電池モジュールにおいて、
    前記角部の切り欠き部分が前記接着剤で覆われていることを特徴とする太陽電池モジュール。
  7. 請求項1から請求項4までのいずれか1項に記載の太陽電池モジュールにおいて、
    前記角部の切り欠いた部分から側面に至るまで前記接着剤で覆われていることを特徴とする太陽電池モジュール。
  8. 請求項5に記載の太陽電池モジュールにおいて、
    前記角部分を含む側面まで前記接着剤で覆われていることを特徴とする太陽電池モジュール。
  9. 請求項1から請求項8までのいずれか1項に記載の太陽電池モジュールにおいて、
    前記接着剤が、接着時に粘性を有する接着剤であることを特徴とする太陽電池モジュール。
  10. 請求項9に記載の太陽電池モジュールにおいて、
    前記接着剤がシリコーン樹脂またはエポキシ樹脂であることを特徴とする太陽電池モジュール。
  11. 請求項1から請求項8までのいずれか1項に記載の太陽電池モジュールにおいて、
    前記接着剤が、基材を用いた接着部材であることを特徴とする太陽電池モジュール。
JP2008196732A 2008-07-30 2008-07-30 太陽電池モジュール Expired - Fee Related JP4515514B2 (ja)

Priority Applications (4)

Application Number Priority Date Filing Date Title
JP2008196732A JP4515514B2 (ja) 2008-07-30 2008-07-30 太陽電池モジュール
PCT/JP2009/063386 WO2010013691A1 (ja) 2008-07-30 2009-07-28 太陽電池モジュール
EP09802934A EP2312647A1 (en) 2008-07-30 2009-07-28 Solar cell module
US13/056,771 US20110126888A1 (en) 2008-07-30 2009-07-28 Solar cell module

Applications Claiming Priority (1)

Application Number Priority Date Filing Date Title
JP2008196732A JP4515514B2 (ja) 2008-07-30 2008-07-30 太陽電池モジュール

Publications (2)

Publication Number Publication Date
JP2010034417A true JP2010034417A (ja) 2010-02-12
JP4515514B2 JP4515514B2 (ja) 2010-08-04

Family

ID=41610391

Family Applications (1)

Application Number Title Priority Date Filing Date
JP2008196732A Expired - Fee Related JP4515514B2 (ja) 2008-07-30 2008-07-30 太陽電池モジュール

Country Status (4)

Country Link
US (1) US20110126888A1 (ja)
EP (1) EP2312647A1 (ja)
JP (1) JP4515514B2 (ja)
WO (1) WO2010013691A1 (ja)

Cited By (3)

* Cited by examiner, † Cited by third party
Publication number Priority date Publication date Assignee Title
WO2012063612A1 (ja) * 2010-11-09 2012-05-18 シャープ株式会社 太陽電池モジュール及びその製造方法
WO2013157380A1 (ja) * 2012-04-18 2013-10-24 シャープ株式会社 太陽電池モジュール、太陽電池モジュールの製造方法、太陽電池モジュールの支持構造、及び太陽光発電システム
JP2014045119A (ja) * 2012-08-28 2014-03-13 Sharp Corp 太陽電池アレイ

Families Citing this family (10)

* Cited by examiner, † Cited by third party
Publication number Priority date Publication date Assignee Title
WO2012043457A1 (ja) * 2010-09-28 2012-04-05 三洋電機株式会社 太陽電池モジュール
CN103329283B (zh) * 2011-01-31 2016-03-16 京瓷株式会社 太阳能电池模块
US9082913B2 (en) 2011-04-12 2015-07-14 Rajul R. Patel Solar panel housing
JP5881823B2 (ja) * 2012-04-23 2016-03-09 三菱電機株式会社 補強フレームおよび太陽電池モジュール
CN102664203B (zh) * 2012-05-09 2015-09-16 友达光电股份有限公司 太阳能模块
KR101969033B1 (ko) * 2012-11-20 2019-04-15 엘지전자 주식회사 태양 전지 모듈 및 이를 포함하는 태양광 발전 장치
US9853594B2 (en) 2015-02-25 2017-12-26 Solarcity Corporation Photovoltaic mounting system with chemical flashing
US9755571B2 (en) 2015-02-25 2017-09-05 Solarcity Corporation Photovoltaic mounting system with chemical flashing
US10135387B2 (en) * 2016-03-23 2018-11-20 Solarcity Corporation Photovoltaic mounting system with sealant injector inlet
GB2563046A (en) 2017-06-01 2018-12-05 Rec Solar Pte Ltd Cost effective frame design for thinner wafers

Citations (6)

* Cited by examiner, † Cited by third party
Publication number Priority date Publication date Assignee Title
JPH10294485A (ja) * 1997-04-18 1998-11-04 Kanegafuchi Chem Ind Co Ltd 大型太陽電池モジュール
JPH10331815A (ja) * 1997-05-28 1998-12-15 Canon Inc 箱部材の接着構造
JP2000243998A (ja) * 1999-02-24 2000-09-08 Sanyo Electric Co Ltd 太陽電池モジュール
JP2004281796A (ja) * 2003-03-17 2004-10-07 Kyocera Corp 太陽電池モジュール
JP2005294455A (ja) * 2004-03-31 2005-10-20 Msk Corp 太陽電池モジュール
JP2005347291A (ja) * 2004-05-31 2005-12-15 Sharp Corp 太陽電池モジュール

Family Cites Families (5)

* Cited by examiner, † Cited by third party
Publication number Priority date Publication date Assignee Title
TW200428623A (en) * 2003-06-11 2004-12-16 Siliconware Precision Industries Co Ltd Semiconductor package with heat sink
JP2005150318A (ja) * 2003-11-14 2005-06-09 Canon Inc 太陽電池モジュール及びその製造方法
CN101981388A (zh) * 2007-06-19 2011-02-23 Bp北美公司 带有用于安装太阳能电池板的框架的太阳能模块
JP4285764B2 (ja) * 2007-11-09 2009-06-24 昭和シェル石油株式会社 太陽電池モジュール
JP4611454B2 (ja) * 2008-03-26 2011-01-12 京セラ株式会社 太陽電池モジュール

Patent Citations (6)

* Cited by examiner, † Cited by third party
Publication number Priority date Publication date Assignee Title
JPH10294485A (ja) * 1997-04-18 1998-11-04 Kanegafuchi Chem Ind Co Ltd 大型太陽電池モジュール
JPH10331815A (ja) * 1997-05-28 1998-12-15 Canon Inc 箱部材の接着構造
JP2000243998A (ja) * 1999-02-24 2000-09-08 Sanyo Electric Co Ltd 太陽電池モジュール
JP2004281796A (ja) * 2003-03-17 2004-10-07 Kyocera Corp 太陽電池モジュール
JP2005294455A (ja) * 2004-03-31 2005-10-20 Msk Corp 太陽電池モジュール
JP2005347291A (ja) * 2004-05-31 2005-12-15 Sharp Corp 太陽電池モジュール

Cited By (5)

* Cited by examiner, † Cited by third party
Publication number Priority date Publication date Assignee Title
WO2012063612A1 (ja) * 2010-11-09 2012-05-18 シャープ株式会社 太陽電池モジュール及びその製造方法
JP2012104601A (ja) * 2010-11-09 2012-05-31 Sharp Corp 太陽電池モジュール及びその製造方法
CN103201852A (zh) * 2010-11-09 2013-07-10 夏普株式会社 太阳能电池模块及其制造方法
WO2013157380A1 (ja) * 2012-04-18 2013-10-24 シャープ株式会社 太陽電池モジュール、太陽電池モジュールの製造方法、太陽電池モジュールの支持構造、及び太陽光発電システム
JP2014045119A (ja) * 2012-08-28 2014-03-13 Sharp Corp 太陽電池アレイ

Also Published As

Publication number Publication date
WO2010013691A1 (ja) 2010-02-04
JP4515514B2 (ja) 2010-08-04
US20110126888A1 (en) 2011-06-02
EP2312647A1 (en) 2011-04-20

Similar Documents

Publication Publication Date Title
JP4515514B2 (ja) 太陽電池モジュール
JPWO2010061878A1 (ja) 太陽電池モジュール
US10316879B2 (en) Frame system for solar cell module
TWI429096B (zh) Solar cell module and manufacturing method thereof
JP4314762B2 (ja) 太陽電池パネルとその設置方法
JPWO2013061995A1 (ja) 太陽電池モジュールおよび太陽電池アレイ
JPH10294485A (ja) 大型太陽電池モジュール
WO2011065543A1 (ja) 太陽電池モジュール及びその製造方法
JP2002141543A (ja) 太陽電池モジュール
CN101714581A (zh) 太阳能电池模块
JP5722596B2 (ja) 太陽電池一体型屋根材
JP2011238761A (ja) 太陽電池モジュール
JP6391929B2 (ja) 太陽電池モジュール
JP4351457B2 (ja) 太陽電池モジュール
KR20190125160A (ko) 태양전지 컴포넌트
JP2006269609A (ja) 太陽電池モジュールの製造方法
WO2012117698A1 (ja) 太陽電池モジュール
JP2010129691A (ja) 太陽電池モジュール
CN113783508B (zh) 薄膜光伏构件及具有其的薄膜光伏方阵
JP2004324233A (ja) 太陽電池モジュールの取り付け方法
JP2010177307A (ja) 太陽電池モジュール、太陽電池パネル用枠、及びそれらの製造方法
JP4703231B2 (ja) 太陽電池モジュール及びその製造方法
JP2012182322A (ja) 太陽電池モジュール及び太陽電池システム
JP2005183840A (ja) 太陽電池モジュール
JP4511485B2 (ja) 太陽電池モジュール

Legal Events

Date Code Title Description
A521 Request for written amendment filed

Free format text: JAPANESE INTERMEDIATE CODE: A523

Effective date: 20091130

RD02 Notification of acceptance of power of attorney

Free format text: JAPANESE INTERMEDIATE CODE: A7422

Effective date: 20091130

TRDD Decision of grant or rejection written
A01 Written decision to grant a patent or to grant a registration (utility model)

Free format text: JAPANESE INTERMEDIATE CODE: A01

Effective date: 20100413

A01 Written decision to grant a patent or to grant a registration (utility model)

Free format text: JAPANESE INTERMEDIATE CODE: A01

A61 First payment of annual fees (during grant procedure)

Free format text: JAPANESE INTERMEDIATE CODE: A61

Effective date: 20100512

R150 Certificate of patent or registration of utility model

Ref document number: 4515514

Country of ref document: JP

Free format text: JAPANESE INTERMEDIATE CODE: R150

Free format text: JAPANESE INTERMEDIATE CODE: R150

FPAY Renewal fee payment (event date is renewal date of database)

Free format text: PAYMENT UNTIL: 20130521

Year of fee payment: 3

FPAY Renewal fee payment (event date is renewal date of database)

Free format text: PAYMENT UNTIL: 20140521

Year of fee payment: 4

LAPS Cancellation because of no payment of annual fees