JP2010032527A - 流体工学を組み込んだ診断装置および製造方法 - Google Patents

流体工学を組み込んだ診断装置および製造方法 Download PDF

Info

Publication number
JP2010032527A
JP2010032527A JP2009208651A JP2009208651A JP2010032527A JP 2010032527 A JP2010032527 A JP 2010032527A JP 2009208651 A JP2009208651 A JP 2009208651A JP 2009208651 A JP2009208651 A JP 2009208651A JP 2010032527 A JP2010032527 A JP 2010032527A
Authority
JP
Japan
Prior art keywords
card
contact
fluid
chamber
area
Prior art date
Legal status (The legal status is an assumption and is not a legal conclusion. Google has not performed a legal analysis and makes no representation as to the accuracy of the status listed.)
Granted
Application number
JP2009208651A
Other languages
English (en)
Other versions
JP5097182B2 (ja
Inventor
Imants Lauks
ロウクス、アイマンツ
Andrzej Maczuszenko
マクズスゼンコ、アンドレイ
Current Assignee (The listed assignees may be inaccurate. Google has not performed a legal analysis and makes no representation or warranty as to the accuracy of the list.)
Epocal Inc
Original Assignee
Epocal Inc
Priority date (The priority date is an assumption and is not a legal conclusion. Google has not performed a legal analysis and makes no representation as to the accuracy of the date listed.)
Filing date
Publication date
Application filed by Epocal Inc filed Critical Epocal Inc
Publication of JP2010032527A publication Critical patent/JP2010032527A/ja
Application granted granted Critical
Publication of JP5097182B2 publication Critical patent/JP5097182B2/ja
Anticipated expiration legal-status Critical
Expired - Lifetime legal-status Critical Current

Links

Images

Classifications

    • GPHYSICS
    • G01MEASURING; TESTING
    • G01NINVESTIGATING OR ANALYSING MATERIALS BY DETERMINING THEIR CHEMICAL OR PHYSICAL PROPERTIES
    • G01N27/00Investigating or analysing materials by the use of electric, electrochemical, or magnetic means
    • G01N27/26Investigating or analysing materials by the use of electric, electrochemical, or magnetic means by investigating electrochemical variables; by using electrolysis or electrophoresis
    • BPERFORMING OPERATIONS; TRANSPORTING
    • B01PHYSICAL OR CHEMICAL PROCESSES OR APPARATUS IN GENERAL
    • B01LCHEMICAL OR PHYSICAL LABORATORY APPARATUS FOR GENERAL USE
    • B01L3/00Containers or dishes for laboratory use, e.g. laboratory glassware; Droppers
    • B01L3/50Containers for the purpose of retaining a material to be analysed, e.g. test tubes
    • B01L3/502Containers for the purpose of retaining a material to be analysed, e.g. test tubes with fluid transport, e.g. in multi-compartment structures
    • B01L3/5027Containers for the purpose of retaining a material to be analysed, e.g. test tubes with fluid transport, e.g. in multi-compartment structures by integrated microfluidic structures, i.e. dimensions of channels and chambers are such that surface tension forces are important, e.g. lab-on-a-chip
    • B01L3/502707Containers for the purpose of retaining a material to be analysed, e.g. test tubes with fluid transport, e.g. in multi-compartment structures by integrated microfluidic structures, i.e. dimensions of channels and chambers are such that surface tension forces are important, e.g. lab-on-a-chip characterised by the manufacture of the container or its components
    • BPERFORMING OPERATIONS; TRANSPORTING
    • B01PHYSICAL OR CHEMICAL PROCESSES OR APPARATUS IN GENERAL
    • B01LCHEMICAL OR PHYSICAL LABORATORY APPARATUS FOR GENERAL USE
    • B01L3/00Containers or dishes for laboratory use, e.g. laboratory glassware; Droppers
    • B01L3/50Containers for the purpose of retaining a material to be analysed, e.g. test tubes
    • B01L3/502Containers for the purpose of retaining a material to be analysed, e.g. test tubes with fluid transport, e.g. in multi-compartment structures
    • B01L3/5027Containers for the purpose of retaining a material to be analysed, e.g. test tubes with fluid transport, e.g. in multi-compartment structures by integrated microfluidic structures, i.e. dimensions of channels and chambers are such that surface tension forces are important, e.g. lab-on-a-chip
    • B01L3/502715Containers for the purpose of retaining a material to be analysed, e.g. test tubes with fluid transport, e.g. in multi-compartment structures by integrated microfluidic structures, i.e. dimensions of channels and chambers are such that surface tension forces are important, e.g. lab-on-a-chip characterised by interfacing components, e.g. fluidic, electrical, optical or mechanical interfaces
    • BPERFORMING OPERATIONS; TRANSPORTING
    • B01PHYSICAL OR CHEMICAL PROCESSES OR APPARATUS IN GENERAL
    • B01LCHEMICAL OR PHYSICAL LABORATORY APPARATUS FOR GENERAL USE
    • B01L3/00Containers or dishes for laboratory use, e.g. laboratory glassware; Droppers
    • B01L3/50Containers for the purpose of retaining a material to be analysed, e.g. test tubes
    • B01L3/502Containers for the purpose of retaining a material to be analysed, e.g. test tubes with fluid transport, e.g. in multi-compartment structures
    • B01L3/5027Containers for the purpose of retaining a material to be analysed, e.g. test tubes with fluid transport, e.g. in multi-compartment structures by integrated microfluidic structures, i.e. dimensions of channels and chambers are such that surface tension forces are important, e.g. lab-on-a-chip
    • B01L3/502723Containers for the purpose of retaining a material to be analysed, e.g. test tubes with fluid transport, e.g. in multi-compartment structures by integrated microfluidic structures, i.e. dimensions of channels and chambers are such that surface tension forces are important, e.g. lab-on-a-chip characterised by venting arrangements
    • BPERFORMING OPERATIONS; TRANSPORTING
    • B01PHYSICAL OR CHEMICAL PROCESSES OR APPARATUS IN GENERAL
    • B01LCHEMICAL OR PHYSICAL LABORATORY APPARATUS FOR GENERAL USE
    • B01L3/00Containers or dishes for laboratory use, e.g. laboratory glassware; Droppers
    • B01L3/50Containers for the purpose of retaining a material to be analysed, e.g. test tubes
    • B01L3/502Containers for the purpose of retaining a material to be analysed, e.g. test tubes with fluid transport, e.g. in multi-compartment structures
    • B01L3/5027Containers for the purpose of retaining a material to be analysed, e.g. test tubes with fluid transport, e.g. in multi-compartment structures by integrated microfluidic structures, i.e. dimensions of channels and chambers are such that surface tension forces are important, e.g. lab-on-a-chip
    • B01L3/50273Containers for the purpose of retaining a material to be analysed, e.g. test tubes with fluid transport, e.g. in multi-compartment structures by integrated microfluidic structures, i.e. dimensions of channels and chambers are such that surface tension forces are important, e.g. lab-on-a-chip characterised by the means or forces applied to move the fluids
    • BPERFORMING OPERATIONS; TRANSPORTING
    • B01PHYSICAL OR CHEMICAL PROCESSES OR APPARATUS IN GENERAL
    • B01LCHEMICAL OR PHYSICAL LABORATORY APPARATUS FOR GENERAL USE
    • B01L3/00Containers or dishes for laboratory use, e.g. laboratory glassware; Droppers
    • B01L3/50Containers for the purpose of retaining a material to be analysed, e.g. test tubes
    • B01L3/502Containers for the purpose of retaining a material to be analysed, e.g. test tubes with fluid transport, e.g. in multi-compartment structures
    • B01L3/5027Containers for the purpose of retaining a material to be analysed, e.g. test tubes with fluid transport, e.g. in multi-compartment structures by integrated microfluidic structures, i.e. dimensions of channels and chambers are such that surface tension forces are important, e.g. lab-on-a-chip
    • B01L3/502738Containers for the purpose of retaining a material to be analysed, e.g. test tubes with fluid transport, e.g. in multi-compartment structures by integrated microfluidic structures, i.e. dimensions of channels and chambers are such that surface tension forces are important, e.g. lab-on-a-chip characterised by integrated valves
    • BPERFORMING OPERATIONS; TRANSPORTING
    • B01PHYSICAL OR CHEMICAL PROCESSES OR APPARATUS IN GENERAL
    • B01LCHEMICAL OR PHYSICAL LABORATORY APPARATUS FOR GENERAL USE
    • B01L7/00Heating or cooling apparatus; Heat insulating devices
    • BPERFORMING OPERATIONS; TRANSPORTING
    • B32LAYERED PRODUCTS
    • B32BLAYERED PRODUCTS, i.e. PRODUCTS BUILT-UP OF STRATA OF FLAT OR NON-FLAT, e.g. CELLULAR OR HONEYCOMB, FORM
    • B32B37/00Methods or apparatus for laminating, e.g. by curing or by ultrasonic bonding
    • B32B37/06Methods or apparatus for laminating, e.g. by curing or by ultrasonic bonding characterised by the heating method
    • BPERFORMING OPERATIONS; TRANSPORTING
    • B32LAYERED PRODUCTS
    • B32BLAYERED PRODUCTS, i.e. PRODUCTS BUILT-UP OF STRATA OF FLAT OR NON-FLAT, e.g. CELLULAR OR HONEYCOMB, FORM
    • B32B37/00Methods or apparatus for laminating, e.g. by curing or by ultrasonic bonding
    • B32B37/10Methods or apparatus for laminating, e.g. by curing or by ultrasonic bonding characterised by the pressing technique, e.g. using action of vacuum or fluid pressure
    • BPERFORMING OPERATIONS; TRANSPORTING
    • B32LAYERED PRODUCTS
    • B32BLAYERED PRODUCTS, i.e. PRODUCTS BUILT-UP OF STRATA OF FLAT OR NON-FLAT, e.g. CELLULAR OR HONEYCOMB, FORM
    • B32B38/00Ancillary operations in connection with laminating processes
    • B32B38/04Punching, slitting or perforating
    • GPHYSICS
    • G01MEASURING; TESTING
    • G01NINVESTIGATING OR ANALYSING MATERIALS BY DETERMINING THEIR CHEMICAL OR PHYSICAL PROPERTIES
    • G01N27/00Investigating or analysing materials by the use of electric, electrochemical, or magnetic means
    • G01N27/26Investigating or analysing materials by the use of electric, electrochemical, or magnetic means by investigating electrochemical variables; by using electrolysis or electrophoresis
    • G01N27/28Electrolytic cell components
    • G01N27/30Electrodes, e.g. test electrodes; Half-cells
    • G01N27/327Biochemical electrodes, e.g. electrical or mechanical details for in vitro measurements
    • G01N27/3271Amperometric enzyme electrodes for analytes in body fluids, e.g. glucose in blood
    • G01N27/3272Test elements therefor, i.e. disposable laminated substrates with electrodes, reagent and channels
    • GPHYSICS
    • G01MEASURING; TESTING
    • G01NINVESTIGATING OR ANALYSING MATERIALS BY DETERMINING THEIR CHEMICAL OR PHYSICAL PROPERTIES
    • G01N27/00Investigating or analysing materials by the use of electric, electrochemical, or magnetic means
    • G01N27/26Investigating or analysing materials by the use of electric, electrochemical, or magnetic means by investigating electrochemical variables; by using electrolysis or electrophoresis
    • G01N27/28Electrolytic cell components
    • G01N27/30Electrodes, e.g. test electrodes; Half-cells
    • G01N27/327Biochemical electrodes, e.g. electrical or mechanical details for in vitro measurements
    • G01N27/3271Amperometric enzyme electrodes for analytes in body fluids, e.g. glucose in blood
    • G01N27/3274Corrective measures, e.g. error detection, compensation for temperature or hematocrit, calibration
    • GPHYSICS
    • G01MEASURING; TESTING
    • G01NINVESTIGATING OR ANALYSING MATERIALS BY DETERMINING THEIR CHEMICAL OR PHYSICAL PROPERTIES
    • G01N27/00Investigating or analysing materials by the use of electric, electrochemical, or magnetic means
    • G01N27/26Investigating or analysing materials by the use of electric, electrochemical, or magnetic means by investigating electrochemical variables; by using electrolysis or electrophoresis
    • G01N27/403Cells and electrode assemblies
    • BPERFORMING OPERATIONS; TRANSPORTING
    • B01PHYSICAL OR CHEMICAL PROCESSES OR APPARATUS IN GENERAL
    • B01LCHEMICAL OR PHYSICAL LABORATORY APPARATUS FOR GENERAL USE
    • B01L2200/00Solutions for specific problems relating to chemical or physical laboratory apparatus
    • B01L2200/02Adapting objects or devices to another
    • B01L2200/025Align devices or objects to ensure defined positions relative to each other
    • BPERFORMING OPERATIONS; TRANSPORTING
    • B01PHYSICAL OR CHEMICAL PROCESSES OR APPARATUS IN GENERAL
    • B01LCHEMICAL OR PHYSICAL LABORATORY APPARATUS FOR GENERAL USE
    • B01L2200/00Solutions for specific problems relating to chemical or physical laboratory apparatus
    • B01L2200/06Fluid handling related problems
    • B01L2200/0689Sealing
    • BPERFORMING OPERATIONS; TRANSPORTING
    • B01PHYSICAL OR CHEMICAL PROCESSES OR APPARATUS IN GENERAL
    • B01LCHEMICAL OR PHYSICAL LABORATORY APPARATUS FOR GENERAL USE
    • B01L2200/00Solutions for specific problems relating to chemical or physical laboratory apparatus
    • B01L2200/14Process control and prevention of errors
    • B01L2200/148Specific details about calibrations
    • BPERFORMING OPERATIONS; TRANSPORTING
    • B01PHYSICAL OR CHEMICAL PROCESSES OR APPARATUS IN GENERAL
    • B01LCHEMICAL OR PHYSICAL LABORATORY APPARATUS FOR GENERAL USE
    • B01L2200/00Solutions for specific problems relating to chemical or physical laboratory apparatus
    • B01L2200/16Reagents, handling or storing thereof
    • BPERFORMING OPERATIONS; TRANSPORTING
    • B01PHYSICAL OR CHEMICAL PROCESSES OR APPARATUS IN GENERAL
    • B01LCHEMICAL OR PHYSICAL LABORATORY APPARATUS FOR GENERAL USE
    • B01L2300/00Additional constructional details
    • B01L2300/06Auxiliary integrated devices, integrated components
    • B01L2300/0627Sensor or part of a sensor is integrated
    • B01L2300/0645Electrodes
    • BPERFORMING OPERATIONS; TRANSPORTING
    • B01PHYSICAL OR CHEMICAL PROCESSES OR APPARATUS IN GENERAL
    • B01LCHEMICAL OR PHYSICAL LABORATORY APPARATUS FOR GENERAL USE
    • B01L2300/00Additional constructional details
    • B01L2300/08Geometry, shape and general structure
    • B01L2300/0809Geometry, shape and general structure rectangular shaped
    • B01L2300/0816Cards, e.g. flat sample carriers usually with flow in two horizontal directions
    • BPERFORMING OPERATIONS; TRANSPORTING
    • B01PHYSICAL OR CHEMICAL PROCESSES OR APPARATUS IN GENERAL
    • B01LCHEMICAL OR PHYSICAL LABORATORY APPARATUS FOR GENERAL USE
    • B01L2300/00Additional constructional details
    • B01L2300/08Geometry, shape and general structure
    • B01L2300/0887Laminated structure
    • BPERFORMING OPERATIONS; TRANSPORTING
    • B01PHYSICAL OR CHEMICAL PROCESSES OR APPARATUS IN GENERAL
    • B01LCHEMICAL OR PHYSICAL LABORATORY APPARATUS FOR GENERAL USE
    • B01L2300/00Additional constructional details
    • B01L2300/18Means for temperature control
    • B01L2300/1805Conductive heating, heat from thermostatted solids is conducted to receptacles, e.g. heating plates, blocks
    • BPERFORMING OPERATIONS; TRANSPORTING
    • B01PHYSICAL OR CHEMICAL PROCESSES OR APPARATUS IN GENERAL
    • B01LCHEMICAL OR PHYSICAL LABORATORY APPARATUS FOR GENERAL USE
    • B01L2300/00Additional constructional details
    • B01L2300/18Means for temperature control
    • B01L2300/1805Conductive heating, heat from thermostatted solids is conducted to receptacles, e.g. heating plates, blocks
    • B01L2300/1827Conductive heating, heat from thermostatted solids is conducted to receptacles, e.g. heating plates, blocks using resistive heater
    • BPERFORMING OPERATIONS; TRANSPORTING
    • B01PHYSICAL OR CHEMICAL PROCESSES OR APPARATUS IN GENERAL
    • B01LCHEMICAL OR PHYSICAL LABORATORY APPARATUS FOR GENERAL USE
    • B01L2400/00Moving or stopping fluids
    • B01L2400/04Moving fluids with specific forces or mechanical means
    • B01L2400/0475Moving fluids with specific forces or mechanical means specific mechanical means and fluid pressure
    • B01L2400/0481Moving fluids with specific forces or mechanical means specific mechanical means and fluid pressure squeezing of channels or chambers
    • BPERFORMING OPERATIONS; TRANSPORTING
    • B01PHYSICAL OR CHEMICAL PROCESSES OR APPARATUS IN GENERAL
    • B01LCHEMICAL OR PHYSICAL LABORATORY APPARATUS FOR GENERAL USE
    • B01L2400/00Moving or stopping fluids
    • B01L2400/04Moving fluids with specific forces or mechanical means
    • B01L2400/0475Moving fluids with specific forces or mechanical means specific mechanical means and fluid pressure
    • B01L2400/0487Moving fluids with specific forces or mechanical means specific mechanical means and fluid pressure fluid pressure, pneumatics
    • BPERFORMING OPERATIONS; TRANSPORTING
    • B01PHYSICAL OR CHEMICAL PROCESSES OR APPARATUS IN GENERAL
    • B01LCHEMICAL OR PHYSICAL LABORATORY APPARATUS FOR GENERAL USE
    • B01L2400/00Moving or stopping fluids
    • B01L2400/06Valves, specific forms thereof
    • B01L2400/0677Valves, specific forms thereof phase change valves; Meltable, freezing, dissolvable plugs; Destructible barriers
    • B01L2400/0683Valves, specific forms thereof phase change valves; Meltable, freezing, dissolvable plugs; Destructible barriers mechanically breaking a wall or membrane within a channel or chamber
    • BPERFORMING OPERATIONS; TRANSPORTING
    • B32LAYERED PRODUCTS
    • B32BLAYERED PRODUCTS, i.e. PRODUCTS BUILT-UP OF STRATA OF FLAT OR NON-FLAT, e.g. CELLULAR OR HONEYCOMB, FORM
    • B32B38/00Ancillary operations in connection with laminating processes
    • B32B38/04Punching, slitting or perforating
    • B32B2038/047Perforating
    • BPERFORMING OPERATIONS; TRANSPORTING
    • B32LAYERED PRODUCTS
    • B32BLAYERED PRODUCTS, i.e. PRODUCTS BUILT-UP OF STRATA OF FLAT OR NON-FLAT, e.g. CELLULAR OR HONEYCOMB, FORM
    • B32B2425/00Cards, e.g. identity cards, credit cards
    • GPHYSICS
    • G01MEASURING; TESTING
    • G01NINVESTIGATING OR ANALYSING MATERIALS BY DETERMINING THEIR CHEMICAL OR PHYSICAL PROPERTIES
    • G01N21/00Investigating or analysing materials by the use of optical means, i.e. using sub-millimetre waves, infrared, visible or ultraviolet light
    • G01N21/01Arrangements or apparatus for facilitating the optical investigation
    • G01N2021/0193Arrangements or apparatus for facilitating the optical investigation the sample being taken from a stream or flow to the measurement cell
    • GPHYSICS
    • G01MEASURING; TESTING
    • G01NINVESTIGATING OR ANALYSING MATERIALS BY DETERMINING THEIR CHEMICAL OR PHYSICAL PROPERTIES
    • G01N21/00Investigating or analysing materials by the use of optical means, i.e. using sub-millimetre waves, infrared, visible or ultraviolet light
    • G01N21/75Systems in which material is subjected to a chemical reaction, the progress or the result of the reaction being investigated
    • G01N21/77Systems in which material is subjected to a chemical reaction, the progress or the result of the reaction being investigated by observing the effect on a chemical indicator
    • G01N2021/7756Sensor type
    • GPHYSICS
    • G01MEASURING; TESTING
    • G01NINVESTIGATING OR ANALYSING MATERIALS BY DETERMINING THEIR CHEMICAL OR PHYSICAL PROPERTIES
    • G01N35/00Automatic analysis not limited to methods or materials provided for in any single one of groups G01N1/00 - G01N33/00; Handling materials therefor
    • G01N35/00029Automatic analysis not limited to methods or materials provided for in any single one of groups G01N1/00 - G01N33/00; Handling materials therefor provided with flat sample substrates, e.g. slides
    • G01N2035/00099Characterised by type of test elements
    • G01N2035/00148Test cards, e.g. Biomerieux or McDonnel multiwell test cards

Landscapes

  • Chemical & Material Sciences (AREA)
  • Health & Medical Sciences (AREA)
  • Chemical Kinetics & Catalysis (AREA)
  • Analytical Chemistry (AREA)
  • General Health & Medical Sciences (AREA)
  • Hematology (AREA)
  • Life Sciences & Earth Sciences (AREA)
  • Clinical Laboratory Science (AREA)
  • Dispersion Chemistry (AREA)
  • Physics & Mathematics (AREA)
  • Molecular Biology (AREA)
  • Electrochemistry (AREA)
  • Biochemistry (AREA)
  • General Physics & Mathematics (AREA)
  • Immunology (AREA)
  • Pathology (AREA)
  • Biophysics (AREA)
  • Fluid Mechanics (AREA)
  • Automatic Analysis And Handling Materials Therefor (AREA)
  • Investigating Or Analysing Materials By The Use Of Chemical Reactions (AREA)
  • Investigating Or Analyzing Materials By The Use Of Electric Means (AREA)

Abstract

【課題】診断カード装置においてセンサーアレイおよび流体素子のためのより簡単でより包括的な設計および製造手順を提供する。
【解決手段】実質上平面な絶縁層、および、絶縁層に対して積層された実質上平面な金属導体層と、中央に位置する感知領域、周辺部に位置する接触領域および中間加熱領域を有する電極モジュールと、いくつかの通り抜け隙間、試料と接触するためのおよび導体層との電気接触のための各隙間内のセンサー薄膜を有する感知領域内の絶縁層、導体層は対応する数の導体構成部分およびヒーター接触構成部分に分割されている。前記各導体構成部分は、流体試料において少なくとも一つの成分濃度を感知するための診断カードにおける使用のための電極モジュール。
【選択図】図1B

Description

[関連出願のクロスリファレンス]
本適用は、本文に参照により組み入れられている、『異成分から成る電極膜』と題された2002年12月2日に提出された特許出願第10/307,481号の一部の続きである。
[技術分野]
本発明は、センサーおよび流体工学を含むユニット使用診断テストカードに関する。
クレジットカードにおける、集積回路(IC)チップが埋め込まれた一般的な形状およびサイズのプラスチックカードが当業者にはよく知られている。そのような装置は、銀行カード、テレフォンカードなどの個人が使用するための低価格電子部品が必要とされる数多くの適応における商業製品として出回っている。これらはスマートカードまたはICカードとして知られている。本発明に関連する次のそれぞれの公開開示、すなわち電極モジュール米国特許公開第2002/017944号A1、ポイント・オブ・ケアIn−Vitro(インヴィトロ)血液分析システム米国特許公開第2003/0148530号A1(いずれも本明細書において参照として組み込まれている)に先行する従来技術において、ICチップを除去して、流体工学および化学分析またはin−vitro診断における使用のためのセンサーを付加して改造されたこのタイプのカードシステムの使用に関する教示はなかった。
『異成分から成る電極膜』と題された同時係属および関連する特許出願、米国特許出願第10/307,481号において、センサーアレイを、異成分から成る薄膜リファレンス電極を含む電極モジュール上に備える診断カードが開示されており、開示された電極モジュールはクレジットカードサイズの流体工学ハウジング内に入れられている。本特許出願はここで追加の独創的構成要素および独創的電極モジュール素子および流体工学素子を組み込んだ診断カードを開示する。
診断テストカードおよび化学分析のためのカートリッジが当業者によく知られている。センサーおよび流体工学素子を組み込んだ診断カードおよびカートリッジが当業者によく知られている。初期の実施例は、試料導入のためのオリフィスを有するプラスチックハウジング内の一対の電極および電極への試料流のための毛細管を開示した米国特許第4301412号である。類似の装置がやはり米国特許第5,141,868号に記載された毛細流技術において開示されている。カートリッジ内の密封ハウジングに含まれるオンボード流体をまた組み込んだセンサーおよび流体工学を有する診断カード装置が、米国特許第4,436,610号および第4,654,127号に開示されている。第4,654,127号の装置は、センサーの入ったプラスチックカード様ハウジングおよびカード上に据えられた較正流体を含む密閉チャンバー付きの導管から成る。この装置の使用において、ユーザーがチャンバー部品を手動で回すと流体含有チャンバーの密閉シールが裂け、その結果カード上のセンサーまで流体が重力により流れる。センサー、流体導管およびオンボード流体備えた改良された診断カートリッジが米国特許第5,096,669号で開示された。この装置は、流体工学導管付きプラスチックハウジング内の微細加工シリコンチップ上のセンサーアレイ、ならびに較正流体を含む密閉ポーチから較正されている。改良されたのは、流体含有ポーチが裂けて、手動よりむしろ読み出し装置により較正流体がセンサーへ移動できるようにされた点である。この装置の使用において、試料はセンサーから離れてカード内に集められ、次にセンサー器具手段によりセンサー位置に移動する。第4,654,127号および第5,096,669号両特許において、流体シールは金属箔被覆構成部分で作られており、金属箔を突き破って切り裂く穿孔構成部分により破裂される。米国特許第5,325,853号は、センサーから遠く離れて密封されていないオンボード流体を有するセンサーおよび流体素子による診断装置を開示している。
従来技術の装置のうち、第5,096,669号の装置だけ、センサーパネルにおける幅広い範囲の分析物の同時測定に商業的に有効であることが証明された。第5,096,669号の装置は多くの独特で専有的な設計および特別な用途のための構成要素を組み入れている。製造過程もまたそれら装置に独特なものであり、特別な組立て装置が必要となる。第5,096,669号の装置およびその他の従来技術診断装置は一般に、電極製造において多数の工程段階および多数の部品を、およびカード製造においては複数の精密な組立て段階を必要とする。したがってこの製造技術は費用がかかり、そのためこの技術の幅広い利用が制限されている。
また第5,096,669号の技術には性能面の限界もある。金属箔裏打ち密閉槽(タンク)内の流体は、シール長さが短いため貯蔵性が非常に制限される。さらに、タンクは製造中に与圧されており、密閉タンクは、加圧下に金属箔タンクを穿孔することにより、使用中に破裂する。したがってタンク内の流体は与圧下にあり、タンクから爆発的に排出されて、分割された流れになる可能性がある。このような問題が第5,096,669号の装置の信頼性を低下させ得る。第5,096,669号の試料収集領域への試料移動は嫌気性に行われない。これは、酸素および二酸化炭素のような油溶性ガスを、特にこれらのガスに対して低緩衝適応性の試料中において測定する際にエラーとなる可能性がある。さらに、センサーに隣接するテスト流体の確実な温度自動調節のための準備がない。
現在、診断カード装置においてセンサーアレイおよび流体素子のためのより簡単でより包括的な設計および製造手順を提供することが必要となっている。
本発明は、低価格の構成要素および製造工程から成る診断カードの流体素子を実現するための設計および製造工程を教示する。このアプローチは、従来技術のものよりも著しく簡単な装置に至るものである。組立て部品は少なくなっており、工程は一般的で、低誤差組立て工程を実行できる一般的装置を使用する。その結果、本発明による装置は費用効果のある製造が可能である。さらにこの特許の診断カードは、従来技術の装置の性能限界ととり組む多くの新しい発明的特性を具体化している。
本発明は、流体試料の少なくとも一つの構成要素の濃度感知においてカードリーダーと共に使用するための診断カードを提供する。診断カードにはカード本体、カード本体のセンサー領域に位置する少なくとも一つの構成要素センサー、流体を収容するためにカード本体内に画定された、好ましくはセンサー領域からは離れた密閉チャンバー、チャンバーをセンサー領域と流体工学的に接続させるための流体導管、チャンバーを流体導管に流体工学的に接続させるためのバルブ、およびチャンバーが流体を含んでおり、流体工学的に流体導管に接続されている場合、流体をチャンバーから引き出し、流体導管へ入れるためのバルブとは分離した別の引き渡し手段が含まれている。好ましい実施形態において、チャンバーは密封流体タンクであり、好ましくはアルミニウム製金属箔裏打ち窩洞の形態にある。チャンバーは好ましくは与圧無しに充填されているため、密封されたチャンバーの中身は、チャンバーがバルブにより流体導管に接続された時与圧下にない。さらに、バルブは好ましくは、チャンバー内の流体の同時与圧無しに、流体工学的にチャンバーを流体導管に接続する。バルブには好ましくは、カード本体内のバルブ受入れ部(valve seat)に置き換え可能に支えられているバルブ本体があり、バルブ本体はチャンバー内に在り、バルブ本体およびバルブ受入れ部は、バルブ受入れ部に呼応したバルブ本体の移動の際に、チャンバーの仕切り壁をつかみ、裂くための形状で構成されている。バルブ本体は好ましくは断絶プラグおよびバルブ受入れ部は好ましくはカード本体内でのプラグ受け穴であり、プラグおよびプラグ受け穴は、プラグ受け穴内のプラグの移動の際に、チャンバー壁を裂くための協働エッジ(縁)を有している。
本発明は、さらに、クレジットカードサイズのプラスチックカード本体内に組み込まれた電極モジュール上のセンサーアレイを提供する。電極モジュールには好ましくは、エポキシ金属箔と金被覆銅金属箔との積層物である薄い平板が含まれている。モジュールの上面は穴が穿たれたエポキシ金属箔である。モジュールの下面には、少なくとも二つの電極のアレイ中に形成されている金被覆銅金属箔が在る。アレイの各電極には、接触子端または接触子パッドを、一端でカードリーダー内の外部電気回路に接続のために、およびもう一つの一端でエポキシを通った穴の下にセンサー端またはセンサー領域を接続する長い電気路を構成する紐の形状に形成された素子が含まれている。モジュールは好ましくはそのような紐状電極アレイを含んでおり、各電極は導体路、接触子端およびセンサー端を有し、アレイの各センサー端はエポキシ金属箔内の別々の穴(ホール)に位置している。センサー薄膜または各薄膜がモジュールの上面上のエポキシ内ホールに置かれた場合、センサーはアレイの電極上に形成され、したがって下面の金属電極のセンサー領域と接触する。好ましい実施形態において、センサーアレイは、電極アレイの各電極感知領域の各ホール内に異なる感知薄膜を堆積させる(置く)ことにより作られている。
モジュールはプラスチックカード本体に密着され、センサー薄膜を含むその上部エポキシ表面がカード本体内の流体導管に面し、下部金属被覆された面は外側に面して、接触子パッドへ外部接触にさらされる。本文ではセンサー領域と呼ぶセンサー薄膜を有するホールアレイは、好ましくは、モジュールの中心に沿って延在する実質上線状領域であり、この領域はプラスチックカード本体内の実質上線状流体導管に一列に並んでおり、そのため装置の使用中流体導管を流れる流体は、センサー領域内のアレイのセンサー薄膜に接触する。センサー領域内位置していないモジュールのエポキシ面部分はプラスチックカード本体とモジュールとのあいだの粘着性により封鎖されており、そのため流体はセンサー領域で導管内に保持され、モジュールのエッジ(縁)にまたはその周辺に漏れ出さない。
好ましい実施形態において、電極モジュールの金属層はさらに、加熱領域内の金属加熱構成部分をその下部表面上含んでおり、下部表0面はセンサー電極から電気的に絶縁されていて、カードリーダーに含まれる第1ヒーターブロックと接触するようになっている。モジュールの金属加熱構成部分は、センサーアレイのセンサー領域を実質上取り巻いている開環の形状に形成された構成部分である。環は、一つ、二つまたはそれ以上の位置で開いて(割れて)おり、金属加熱構成部分は好ましくは、互いにモジュールのセンサー領域を取り巻く開環を形成している二つまたはそれ以上の成型金属構成部分から成る。各割れ(開)は、モジュールの感知および接触領域を接続する接合空隙を表している。電極アレイの各電極は現在、アレイの各電極が加熱構成部分の金属部分から絶縁されるように電極のセンサー端を接合空隙を通る接触子端に接続する導体路を有している。電極アレイの導体路は好ましくは、センサー領域から接触領域への熱移送が最小となるように特別に長く薄くなるよう形成されている。ある実施形態において、分割接合空隙が各導体路に与えられている。別の好ましい実施形態においては、接触端および接合空隙は、すべての導体路が同じ長さになるように感知領域近くに配置されている。
使用中、本発明による診断カードが、読み取り機のカードオリフィス内に挿入される。カードの電極モジュールは、電極アレイの各接触パッドで、カードリーダー内に含まれるZアクションコネクタへ電気接触する。カードの電極モジュールもまたその金属加熱領域で、カードリーダー内にやはり含まれる第1ヒーターブロックに接触する。第1ヒーターブロックはカードのモジュール表面と同一平面上にあり、カードがカードリーダーのカード挿入オリフィス内にある時、この表面隣接する。第1ヒーターブロックはモジュールの金属加熱領域に物理的に接触するが、また全センサー領域および電気路の実在領域を覆うようにも延在し、きわめて接近するが、物理的接触はない。これは導体路への効率的な熱移送を可能にするが、それらからの電気絶縁性を維持する。したがって第1ヒーターブロックは、モジュールの感知領域および感知領域上のカードの流体導管内の流体を、ブロックからモジュールの金属加熱領域へ直接熱伝導により、ならびにセンサー領域でエアギャップをとおして間接的に、それゆえセンサーおよび流体へ、さらに電極アレイの電気路への薄いエアギャップを通して間接的に加熱する。この構成は電極路の熱ブートストラッピングを達成し、さらにセンサー領域から電極路に沿った周囲への熱移送を最小限にする。この構成はしたがってセンサー領域のより均一な温度調節を用意する。カードリーダーの第2ヒーターブロックは上部表面と同一表面上にあり、カードがカードリーダーのカード挿入オリフィス内にある場合、この表面に隣接する。第2ヒーターブロックはカードの上部プラスチック表面に物理的に接触する。第2ヒーターブロックはカードのセンサー領域を覆うが、流体チャネルの方向に沿った間隔を、センサー領域から離れた二方向に延在する。このことはセンサー領域のすぐ上流およびすぐ下流領域内の流体導管内の流体に熱を供給することになる。これは、効率的に熱的にブートストラップすることで、導管内の流体に沿ったセンサー領域からの熱の流れを最小にする。したがってカードの全センサー領域、センサー領域に隣接する流体導管、センサーの電気路およびセンサー領域の上流および下流導管内の流体はすべて、ヒーターブロックの上方および下方を備えるサーモスタットで調温された窩洞内に含まれる。この配置は冷たい試料流体をその調整温度へ急速に加熱することを可能にし、また調整温度への非常に正確なサーモスタット調温を達成する。
本発明の診断カードのもう一つの側面において、カードの電極モジュールへの接続のための読み出し装置におけるコネクタが提供される。コネクタ手段は、接触構成部分のアレイを備えるZ−アクションコネクタであり、可撓回路基板上の成形金属フィルムであって、この可撓回路基板はしなやかな片持ち梁、好ましくは可塑性片持ち梁上に配置されている。片持ち梁は、カードがカードリーダーのカード挿入オリフィス内に挿入された場合、その接触パッドを有するモジュールの外部面が可撓回路基板の接触構成部分に隣接するように位置付けられ、片持ち梁は可撓回路基板上のコネクタアレイとモジュール上の接触パッドアレイとのあいだにZアクション力を加えるように押しつけられる。電気接触構成部分は可撓回路基板上の薄い金属フィルムなので、発明された可撓コネクタは、既存の技術の接触スマートカードに使用されている従来のZアクションコネクタピンよりもはるかに低い熱を排出する。その上に、可撓回路基板およびそのコネクタアレイはカードリーダーの電気回路構成の電子構成要素もまた取り込むことができるので、結果としてカードリーダーのコスト削減となる。
本発明の診断カードのさらに別の側面において、密閉較正タンクに対する改良設計が提供されている。同時係属中の米国特許出願第10/307,481号の先に開示されたカードにおいて、較正タンクはカードのプラスチック本体に窩洞を備えており、較正流体を満たした後、金属被覆金属箔構成部分の防御カバーにより密閉されている。我々は、プラスチックカード本体内の窩洞が両側をアルミニウム金属箔積層物により金属が被せられている場合、密閉された較正器の寿命が伸びることを発見した。新しい設計には、電極モジュール上にセンサーアレイと密閉較正流体タンクとを備えた診断カードが含まれ、シールが装置の使用中に裂けると、モジュールのセンサー領域に流体工学的に接続する。タンクはカード本体内に窩洞を備えており、窩洞のプラスチックに面するそのアルミニウム表面を有する窩洞のプラスチック表面に金属箔が接触し、金属箔が窩洞の周囲を超えて延在するように窩洞内で変形された第1プラスチックフィルム被覆アルミニウム金属箔、窩洞内の較正流体、および第1金属箔構成部分のプラスチック表面に面するそのプラスチック表面で第1を覆う第2プラスチック被覆アルミニウム金属箔構成部分、さらに較正流体を密閉する二つの金属箔構成部分間の熔解されたプラスチック対プラスチックシールを備えており、シールは窩洞の周囲付近領域において形成されている。密閉されたタンク内の較正流体の良好な室温安定のために、我々は周囲シールの幅は全周囲に沿って少なくとも3ミリにして、これにより第1および第2金属被覆層をつなぎ合わせる溶解プラスチックシームをとおして漏れ出る物質のための長い漏出路が提供されるようにした。
改良された較正流体タンクのもう一つの側面において、装置の使用に際して、金属箔シールを自動的に裂くための改良された破裂手段が提供されており、カードの電極モジュールセンサー領域上方の流体工学的窩洞である測定セルへの較正流体の次の放出を可能にする。この改良された破裂手段において、較正チャンバーの金属箔構成部分間に封鎖されたプラグがある。このプラグは、その動きが金属箔クラッディングの破裂を退き起こすカードリーダーのカード挿入オリフィス内にカードが挿入された場合、動かされる。導管が流体工学的に較正タンクに測定セルへのその破裂点で接触し、シールの破裂後、較正流体の測定セルへの移動を可能にする。
本発明の診断カードの別の側面において、試料流入ポートのために改良された設計が提供されている。カードのハウジング内試料流入ホール付近の粘着パッキングは、試料流体を含む注入器とカードとのあいだの確実な流体気密密閉を可能にする。確実な密閉は、注入器をカードに入れる技師に要求されるわずかな技術で得られる。
本発明の診断カードのすべての発明的側面は、好ましくは、実質上平らなクレジットカードサイズ形態において達成される。平らであることは、それらを保存するあいだカードの効率的な積み重ねを可能にし、同時にカードリーダーのカード挿入オリフィス内の二つの同一平面圧締め構成部分への簡単な嵌入を可能にする。
本発明による電極モジュールおよびセンサー薄膜の一つの好ましい実施形態の側面簡略図である。 本発明による電極モジュールのもう一つの好ましい実施形態の底面図であり、金属箔構成部分の位置を示している。 図1Bの実施形態のセンサー領域、加熱領域および接触領域を示した電極モジュールの平面簡略図である。 電極モジュールおよび流体工学的接続による密閉較正流体を含む本発明による診断カードの一つの好ましい実施形態の平面簡略図である。 図2Aに示された流体路BA’に沿って取られた横断面内に示された図2Aの実施形態の側面簡略図である。 図2Aに示された流体路AA’に沿って取られた横断面内に示された図2Aの実施形態の側面簡略図、およびカードリーダーのカード挿入オリフィスである。 図2Aに示された流体路AA’に沿って取られた横断面内に示された図2Aの実施形態の側面簡略図、およびカードリーダーの部分的に締め付けられたカード挿入オリフィスである。 図2Aに示された流体路AA’に沿って取られた横断面内に示された図2Aの実施形態の側面簡略図、およびカードリーダーの完全に締め付けられたカード挿入オリフィスである。 図1Cの電極モジュールのラインAA’に沿って取られた横断面内に示された図2Aのカード本体内に埋め込まれた図2Aの電極モジュール実施形態の側面簡略図およびカードリーダーのヒーターブロックの位置である。 図1Cの電極モジュールのBB’に沿って取られた横断面内に示された図2Aのカードの本体に埋め込まれた図2Aの電極モジュール実施形態の側面簡略図、およびカードリーダーのヒーターブロックの位置である。 図2Aのカード実施例の較正流体チャンバーおよびバルブの平面簡略図である。 図4Aに示されたAA’に沿って取られた横断面内に示された図2Aのカード実施例の較正流体チャンバー(流体充填前)の側面簡略図である。 図4Aに示されたAA’に沿って取られた横断面内に示された図2Aのカード実施形態の較正流体チャンバー(流体充填および密閉後)の側面簡略図である。 図4Aに示されたBB’に沿って取られた横断面内に示された図2Aのカード実施形態の較正流体チャンバー(流体充填および密閉後)の側面簡略図である。
ここで、電極モジュール上のセンサーアレイと共に使用するために全体構成が定められた、本発明による診断カードの好ましい実施形態をより詳細に説明する。
図1Aは、当業者に公知の標準スマートカードチップモジュール技術を用いて製作された、電極モジュールの横断面図を示している。電極モジュールは、本明細書に参照として組み入れられている米国特許公開第2002/017944号A1に詳細に説明されている。我々はここでモジュールの新規の発明的特徴をおよび診断カードおよびカードリーダーの一部としてのその使用を開示する。
図1Aのモジュール101は、任意の接着剤102Aにより金被覆銅金属箔103に被せられたエポキシ金属箔構成部分102を備えている。エポキシ金属箔構成部分102は104Aおよび104Bに通り抜けホールを有している。金属箔103は電極構成部分アレイ130の中に形成されている。電極構成部分の構造は、一対の電極構成部分130Aおよび130Bにより下記で論じることになる。各電極構成部分130Aおよび130Bは、カードリーダー(図示せず)内の測定回路への接続のための接続端131Aおよび131B、およびエポキシ104Aおよび104B内の通り抜けホール下のセンサー端132Aおよび132Bを有している。電極モジュールは、35ミリウェブでベンダーから受け取られた。製造中、薄膜105Aおよび105Bが、ホール104Aおよび104Bの周囲を超えて側面に延在し、上部エポキシ表面を覆い、かつセンサー端132Aおよび132Bで金属電極に接触するためにホールを通って延在するウェブ上のモジュールに取り付けられた。薄膜のプリント後、モジュールはダイカッターを使ってウェブから切除され、後に説明するように診断カード内のハウジング内に置かれ密閉される。好ましい実施形態において、図1の切除されたモジュールはおよそ11ミリ四方で、厚さ120マイクロメーターである。
図1Bは、薄層エポキシ金属箔102および金属箔103を備えた、8個の電極構成部分を有するモジュールの底面図(金属箔側)を示している。この図面は、金属電極構成部分の空間配置をより詳細に示している。図1Aでのように、8個の電極を代表する二つの電極130A、130B、は、それらのセンサー端132Aと132Bとのあいだ、およびそれらの接続端131Aと131Bとのあいだの関係を示すために分類されている。各電極のセンサー端132とその接続端131とのあいだに金属導体路133A、133Bがあり、導体路133Aはコネクタ端131Aとセンサー端132Aとのあいだを延在し、導体路133Bはコネクタ端131Bとセンサー端132Bとのあいだを延在している。各金属導体路133は、モジュールが加熱された場合、それら導体路に沿った側面熱移送を最小にするために一般に長く細い。金属箔103のヒーター接触子134A、134Bは8個の電極構成部分から電気的に絶縁されている。これらの領域は、後により詳細に説明するように、カードリーダーのヒーターブロックによる物理的接触のためのものである。
図1Cは、平面図(エポキシ金属箔側)における図1Bのモジュールを示している。モジュールの下面上の電極位置は細い断続線により示されている。電極は分かり易さのために分類されていない。下面金属電極に相対的なエポキシ内の通り抜けホール104の位置も示されている。図に示されているように、モジュールの配置図はこれら別々の領域を含んでいる。モジュールの中央領域はセンサー領域12である。モジュールのこの領域は、後に説明するように、モジュールが診断カード内に組み立てられる場合、モジュールのこの領域がカード内の流体導管に隣接する。カードリーダーの下方ヒーターブロックの位置に隣接する領域は、カードがカードリーダーのカード挿入オリフィス内にある場合、ヒーター接触領域13である。カードリーダーのヒーターブロックのカード内のモジュールに対する関係のより詳細な説明は後に行う。モジュールの下面上の金属電極に対する電気接触がカードリーダーにより行われるモジュール周辺上の領域は接触領域14である。当業者は、同標準モジュール製造技術が、多くの異なる電極数および構造でモジュールを作るのに用いられ得ることを評価するであろう。これらは通り抜けホール104(図1Aおよび1Bを参照)の異なる位置、および形成金属構成部分103のさまざまな空間配置をフォトリソグラフィー的に定義するために使用されるマスク・アート・ワークを提供するための工作機械設備において異なるだけである。本発明によるいずれのモジュールの概略的配置にも、ほぼ中央に位置するセンサー領域12、少なくとも部分的にセンサー領域に接しているヒーター接触領域13、およびモジュール周辺に向かう電気接触領域14が含まれる。
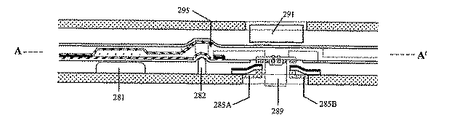
図2Aは平面図を示しており、図2B〜Eは、カードの使用中にカードがカード挿入オリフィス内にある場合、カードリーダーのカード挿入オリフィスの構成部分へのカードの関連を含む、電極モジュール上のセンサーアレイを含む、本発明による診断カードの好ましい実施形態の横断面簡略図を示している。図2Bは図2Aの流体路AA’に沿って取られた一つの横断面概略図を示しており、流体路は較正流体チャンバー220から流体チャネル210に沿い、測定セル211を通って排出チャネル241へ延在している。図2C〜Eは、試料流入ポート251から測定セル211を通って排出チャネル241への流体路に沿っている、図2Aの流体路BA’に沿った概略図を示している。
図2Aおよび2Bを参照して、好ましい実施形態における診断カードは、図1A〜1Cに関連して先に概略的に説明したようにカード本体の下方表面に埋め込まれた電極モジュール101と共にクレジットカードサイズの(厚さ85ミリ×53ミリ×1ミリ)のプラスチック成形カード本体200から形成されている。電極モジュールは、打ち抜き通り抜け通路と共にエポキシ金属箔構成部分102を備えており、エポキシ構成部分は、8個の電極構成部分内に形成されている金属箔により積層されている。二つの電極構成部分130Aおよび130Bは、側面簡略図に示されているようにそれぞれセンサー端132Aおよび132B、およびそれぞれ接触端131Aおよび131Bを有している図2Bに示されている。薄膜207および208はモジュールの上部表面上に示されており、センサー端132Aおよび132Bで、エポキシ内の通路を通って下側金属構成部分と接触している。カード本体200もまた、その上面(平面簡略図における実線)および下面(平面簡略図における点線)両方の上に鋳造物(溝、トレンチ、ホール)を含んでおり、他の積層構成部分により密閉されている場合、この鋳造物は流体チャネルおよび密閉流体タンクを形成する。積層は、ハウジングの下方および上方表面に、ラベル構成部分201および202および金属箔構成部分223Aおよび223Bにより作られる。カードの下方および上方表面上の構成部分201、202は、接着剤コーティングポリマーシートからの切り抜きラベル構成部分である。構成部分223Aおよび223Bは、熱接合のためにポリエチレンによりコーティングされた金属箔シートから打ち抜かれた二つの構成部分の積層物である。
プラスチック本体の下方表面上に二つのトレンチが並んでいる。積層構成部分223Aおよび223Bが被せられた場合、それらは、およそ150マイクロリットルの容積を有する貯蔵チャンバー220を形成する。プラスチック本体220を通るオリフィス221Aがあり、これを通って較正流体224が、カード製造中にチャンバー220を満たすために別のオリフィス222により、はやり本体200を通って、充填工程中空気排出のために本体の上方表面から注入される。チャンバー壁は、プラスチックコーティング粉状金属箔で作られた一対の向かい合った金属箔構成部分223Aおよび223Bにより画定されている。図4B〜Dを参照して後により詳細に説明されるように、流体で満たされた後、チャンバー220は、金属箔構成部分223Aおよび223Bの積層中オリフィス221および222が封鎖されている場合、完全に密閉される。
電極モジュールのセンサー領域で較正流体チャンバー220を測定セル211に、次に排出チャネル241に接続する流体チャネル210がある。診断カードにはまた試料取り入れポート251があり、これはこの試料取り入れポート251を測定セル211に接続している第2チャネル250と流体流通している。較正流体チャンバー220を、測定セル211と較正流体チャンバーとのあいだの接続チャネル210に、チャンバー内に含まれる加圧流体無しに、流体工学的に接続するためのチャンバー出口バルブ230がある。これは、バルブ構造がチャンバー内のその流体与圧からも独立して作用される/作動可能であることを意味している。バルブは好ましくは、チャンバーを導管に流体工学的に接続するための接続導管との連接点で、密閉チャンバーの壁を裂くための破裂構造になっている。この好ましい実施形態において、チャンバー破裂構造には、本体200を貫く穿孔233と、このケースプラグ234では、穿孔内に位置し、かつ二つの金属箔構成部分223Aおよび223Bのあいだのチャンバー220内にある破裂構成部分とが含まれている。プラグは穿孔よりも直径がわずかに小さく、このためこの上向きのケース内での、穿孔内での軸方向の動きが可能となっている。プラグ234は、このプラグが上方に押された場合、プラグの周囲縁上(図2Dの295)で金属箔構成部分223Aの領域が破裂するように位置付けられている。カードがカードリーダー内にある場合、チャネル210との接続のためのチャンバー200の管理された開放のために有効なその他のいずれの構造も、それがチャンバーの開放中チャンバー220の破裂に至らない限り、バルブ230としての機能に使用されることもまた可能である。診断カードはさらに、チャンバーが流体を含んでいる場合、与圧下のチャンバー220から流体を引き出し、接続導管210に押し入れるための放出構造を備えている。好ましい実施形態において、放出構造は、好ましくはカードの外部から、カードがカードリーダー内に挿入されているあいだ、変形されるのに十分に柔軟であるチャンバー壁の一部分である。もちろん放出構造は、チャンバーが流体工学的に接続導管に接続されている場合、流体をチャンバーから確実に引き出すために使用しうる他のいかなる構造であってもよい。
図2C〜Eは概略的にカードリーダー(カードリーダーは好ましくは、同時係属中の米国特許公開第2003/0148530号A1に記載されているような検出器付き基板、増幅器およびその他の回路素子を備えている)のカード挿入オリフィス内にあるカードを示しており、さらに装置の使用中のカードの構成部分とカードリーダーの構成部分とのあいだの空間関係を例証している。使用に際して、カードはまずカードリーダーのカード挿入オリフィス(図2C)内に挿入される。オリフィスは、カードの下方表面と同一平面上にあり、これに隣接している下方略平面接合構成部分280と、カードの上方表面と同一平面上にあり、これに隣接している上方略平面接合構成部分290を備えている。
カードリーダーのカード挿入オリフィスは、カード挿入中、カードリーダー挿入オリフィスの平面接合構成部分上のそれらのそれぞれの接合機能と共にカード上に機能を配置するガイド(図示せず)を有している。挿入後、カードリーダー挿入オリフィスの二つの接合構成部分は互いの方向に移動し、それらのあいだのカードを締め付ける。カードリーダーの構造および機能は、本明細書に参照として取り入れられている、同時係属中の米国特許公開第2003/148530号A1に詳細に説明されている。カードの下方表面がカードリーダーのカードオリフィスの下方接合構成部分と接触されるので、接合構成部分280上のピン構成部分282がまず、較正流体チャンバー出口バルブ230でカードと接触する。ピン282がプラグ234を上方に押す。これが金属箔積層物をプラグの上に押し上げ、金属箔223Aを位置295(図2D)で破裂させ、このようにして較正流体チャンバーを流体工学的に開放する。同時に、電極モジュールが、絶縁可撓コネクタ基面287上の金属フィルムまたは金属箔286内に形成された8個の金属接触構成部分の接続アレイを備えるカードリーダーの接触手段により電気接触される。8個のピンのうち2個が図2C〜Eの側面簡略図に示されている。それぞれが、電極モジュールの下方表面上のモジュールの電極接触位置に対してZアクション接触を行うための接触端283A、283B、およびカードリーダー内のどこか他の電気回路への接続のための端子284A、284Bを有している。そのモジュール接触端の可撓コネクタは、好ましくはプラスチック製の一組の柔軟な片持ち梁285Aおよび285Bの可動端上に取り付けられており、片持ち梁のもう一方の端はカードリーダーオリフィスの下方接合構成部分280内に埋め込まれている。上に可撓コネクタが取り付けられた片持ち梁は、モジュールへの接触位置で、下方接合構成部分280の平面の上に持ち上げられたそれらの静止位置にあり、その結果カードがカードリーダーオリフィスの下方接合構成部分に締め付けられると、片持ち梁は押し下げられ、カードリーダーの可撓コネクタとカードの電極モジュールとのあいだにできた電気接触にZアクション接触力を与える。同時に、カードの電極モジュールは下方ヒーターブロック289により、測定チャンバーより上の診断カードの頂部は上方ヒーターブロック291により熱的に接触される。カードリーダーオリフィスの下方接合構成部分280内に取り付けられた下方ヒーターブロック289は、測定チャンバー211のすぐ下のその下方表面上のモジュールと熱接触を行い、モジュール上の他の場所の他の金属構成部分にきわめて接近しているあいだ、モジュールの『開環』ヒーター接触金属構成部分に物理的接触をするが、それらからは電気的には絶縁されている。同時に、カードリーダーオリフィスの上方接合構成部分内に取り付けられた上方ヒーターブロック291は、測定チャンバー211のすぐ上のカードに熱接触を行う。それぞれのヒーターブロックは、ヒーター構成部分と、ブロック(図示せず)とのじかの熱接触におけるそれぞれの温度測定構成部分を含んでいる。ブロックのヒーター構成部分および温度測定構成部分はまた、カードリーダーの電気回路にも接続されている。カードリーダーの下方接合構成部分280にはまた、カードがカードリーダーのカードオリフィス内に挿入されている場合、較正流体チャンバー220と向かい合うように位置付けられたアクチュエータ構成部分281も含まれている。カードが接合表面のあいだに締められ続けていると、今度はアクチュエータ構成部分281が較正流体チャンバー220の放出構造を作動させ、チャンバー壁223を変形させ、チャンバー220を圧縮して、それによってチャンバーの中身に圧力をかけて、チャンバーから流体を流体チャネル210に沿って測定チャンバー211へ放出する(図2E)。カードがカードリーダーオリフィス内で十分に締め付けられている場合、モジュール、各センサーおよび測定チャンバー内の流体が、好ましくは37.4℃まで加熱される時間があり、その後にモジュールのセンサーが較正される。この較正時間後、カードリーダーはユーザーに診断カードに試料流体を入れるよう促す。ユーザーは試料流体を入れた注入器をカードの試料取り入れポート(図2Aおよび2Bの251)にさす。注入器先端は取り入れポートの周りの接着構成部分と共に封蝋を形成する。試料ポート251は、ラベル202であってもよい閉鎖フラップにより可逆的に任意に封印されてもよい。ユーザーが試料流体を注入器からチャネル250に沿った測定セル211に放出すると、較正流体がチャンバー211から出て排出チャネル241移動する。モジュールのセンサーはここで試料流体に由来するセンサー信号を生成し、この電気信号は、電極モジュールから引き出され、カードリーダーの電気可撓コネクタ287を経由してリーダー内の電気回路に至る。測定サイクルが完了すると、カードは緩められ、カードリーダーのオリフィスから引き出される。
再び図2を参照して、カードは下記のように主要3段階で組み立てられる。
段階1:電極モジュール100をプラスチックカード本体200に埋める。
段階2:第1積層物223Aおよび第2積層物223Bを積層することによりチャンバー220の周囲に被せられる金属箔を形成して、これらの積層物のあいだに破裂プラグ234の挿入する、クラッディング(金属を被せた)較正チャンバー220に較正流体224を満たす、較正流体およびプラグをクラッディングチャンバーに封じ込める。
段階3:積層物頂部202および底部201を標識付けする。段階1および2をここでより詳細に説明する。
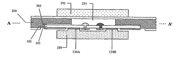
図3AおよびBは、組立て工程の段階1におけるプラスチックカード本体200に組み立てられた電極モジュールをより詳細に示している。図3Aを参照して、ベンダーから受け取ったままの鋳造プラスチックカード本体200はまず電極モジュール100により積層され、電極モジュール100のエポキシ金属箔上方表面102がカード本体に面して、その中の凹所に置かれ、接着剤303により閉鎖される。接着剤は、モジュールの中央センサー領域の周囲モジュールのエポキシ表面の外部領域に塗布される。図3Aおよび3Bに示されているように、接着剤は、センサー領域(図1Cに示された領域12)を除く、全頂部エポキシ表面に塗布される。カードに埋め込まれた場合、モジュールは、カード本体の流体測定セル211に隣接するモジュールの上方センサー表面および外部に面したモジュールの下方金属表面103を有するカード本体と同一平面上にある。
図3Aおよび3Bはまたカードに関連するカードリーダーのヒーターブロックの位置および、カードがカードリーダーのカード挿入オリフィス内に締め付けられている場合その電極モジュールをより詳細に示している。図3Aは、電極モジュールの上方のカードの流体チャネルに対して直交する方向にある、図1Cに示されている電極モジュールのAA’に沿った横断面を示している。図3Bは、電極モジュール上方のカードの流体チャネルの進路に沿った方向にある、図1Cに示された電極モジュールのBB’に沿った横断面を示している。図3Aに示されているように、下方ヒーターブロック289は、電極モジュールのヒーター接触金属構成部分がある位置134Aおよび134Bで、電極モジュールと物理的に接触する。下方ヒーターブロック289は、電極のセンサー端132および接触端131およびそれらのあいだの金属路133を含む、電極モジュール100のその他の金属構成部分にきわめて接近している(したがって熱的にそれと接続している)が、それらから電気的には絶縁されている。下方ヒーターブロック289は、流体測定チャンバー211の幅を超えた距離を延在している。図3Bに示されているように、下方ヒーターブロックは、電極のセンサー端132を接触端131に接続している金属路133にきわめて接近しているが、それらと物理的には接触していない。上方ヒーターブロック291は、カードの上方プラスチックラベルに接触する。これもまた測定チャンバー211(図3A)の幅を超えて延在しているが、両側の電極モジュールを超えて流体チャネルに沿った距離を延在している(図3B)。我々は、上方ヒーターがモジュールを超えておよそ5ミリ延長している場合、モジュールのセンサー領域を超えた流体の申し分のない熱ブートストラッピングがあり、センサー領域の温度を非常に良く確実に調整することを発見した。
我々は、カードがカードリーダーのオリフィス内で十分に締め付けられている場合、この時下方ヒーターブロック289は電極モジュールのヒーター接触子134に接触しているが、ヒーターブロックの領域は接触せず、しかしモジュールに近接しており、モジュールの金属表面からおよそ25マイクロメートル離れているべきであることを発見した。この距離にはまだヒーターブロックからモジュールへの満足すべき熱移送があるが、しかしまたカードリーダーの繰り返しの使用中、確かな電気的絶縁も存在する。一般に、ヒーターブロックからモジュールへの熱移送は間隔が減少すると共に増大する。好ましい間隔範囲は10〜50マイクロメートルである。しかしながら、当業者は、10マイクロメートル以下の間隔は、モジュールの検知および接触領域からヒーターブロックの確実な電気絶縁が確保される限り使用に適していると評価するであろう。50マイクロメートル以上間隔は使用できるが、熱移送率は低くなるであろう。
図4は、金属箔クラッディング較正流体チャンバー220および金属箔破裂プラグ、および共にカード組立て手順の段階2に当たるその形成、充填および封鎖工程をより詳細に示している。カードの較正流体貯蔵領域の平面簡略図である図4、および較正流体タンク220、その接続チャネル405に沿った較正流体充填ホール221から、通気ホール222までの流体路に沿っているラインAA’に沿って取られた図4Aの実施形態を貫く横断面である図4Bを参照する。カードの較正流体貯蔵領域におけるカード本体200は、鋳造較正流体貯蔵窩洞(窩洞)401(ここでは流体工学的に連結した二つの平行窩洞が示されている)、窩洞401を破裂プラグ穿孔233に接続している鋳造トレンチ405、および破裂プラグ穿孔を測定セル211に接続している第2トレンチ210を特徴としている。第1金属箔構成部分223Aは、金属の片側上に圧力感度接着剤、もう一方の側にはおよそ25マイクロメートル厚さのポリエチレンコーティングを有している。シートから打ち抜かれ、カード本体上にその接着剤を下側にして配置されている構成部分223Aが、較正流体貯蔵窩洞401の上を延在し、接続チャネル405および破裂プラグ穿孔233はこれらすべての特徴物を覆って、それらを超えた周辺部に延在している。高空気圧が金属箔構成部分223Aに加えられると、変形してカード本体の貯蔵窩洞401、接続チャネル405および破裂プラグ穿孔233の輪郭をつかみ、これらはこの時圧力感度接着剤により本体に付着される。金属箔構成部分223Aのポリエチレンコーティング表面は貯蔵窩洞の内側に面する。金属箔変形手順は当業者によく知られた吹込成型に類似している。製造において、空気加圧可能窩洞を伴う工具がカード本体上の金属箔に入れられ、好ましくはエラストマーガスケットにより窩洞付近に封鎖される。高圧空気が工具の窩洞内に導入された場合、空気ブローは、カード本体の輪郭を取るために金属箔を変形させる。ハイドロフォーミングのような、カード本体の輪郭を取るための、金属箔構成部分223Aの他の型取り方法もまた使用できることは当業者には容易に明白なことであろう。破裂プラグ穿孔233の直径よりもやや小さい直径を有するカード本体とほぼ同じ厚さの硬質円盤である破裂プラグ構成部分234は、破裂プラグ穿孔233の上に形成された金属箔内に押し下げられて、金属箔構成部分223A上に配置されている。金属箔構成部分223Aは、流体充填ホール221および通気ホール222の底部で穴が開けられる。第2ポリエチレンコーティング金属箔構成部分223Bは、構成部分223Aのポリエチレンコーティングに面するそのポリエチレンコーティングにより、第1金属箔構成部分223Aの上に積層される。熱シールが、金属箔構成部分223Aおよび223Bのあいだで、それぞれ流体充填および通気ホール221および222に隣接した充填および通気領域415および416を除く、あらゆる所で、二つのポリエチレンコーティング層を溶解して作られる。この段階で、金属箔クラッディング較正流体タンクは、図4Bに示されているように、充填および通気ホール221および222を除いて封鎖され、ここで流体を入れる準備ができている。較正流体224は、チャンバー220内に充填ホール221を通して導入され、チャンバーから通気ホール222を通して空気を追い払うあいだ、チャンバーを充填し、部分的にチャネル405を充填する。最終段階で、いったんチャンバー220が充填されると、充填および通気ホール221、222に近い充填および通気領域415および416はこの時第2次熱シール工程において封鎖され、したがって図4Cおよび4Dに示されているように二つの金属箔構成部分内の較正流体および破裂プラグが全面的に封鎖される。カード本体200の上方圧力感度接着剤コーティングラベル構成部分202による積層はここで、金属箔の破裂が測定セル211と共に行われる(図4D)較正チャンバーの領域450と流体工学的に接続しているチャネル210を形成する(図2Aを参照)。むき出しの電極モジュール100の下方表面を残した第2下方ラベル積層201がカード組立てを完了させる。
上記に列挙した流体チャンバー設計および製造手順を用いて、我々は驚くべき長期の較正流体保管安定性を達成した。センサー較正のために使用される封印流体の破損までの平均時間は、二酸化炭素部分圧が、気体が熱溶解ポリエチレンシームを通してしみ出るにつれて、流体中その初期値から容認できない低レベルまで降下する時間である。我々は、二酸化炭素の部分圧がその平均値から0.5mmHg未満だけ変化する、6ヶ月以上の室温保管安定性を達成できたことが分かった。これを達成するために、我々は、外辺部に沿ったあらゆる位置において3ミリ幅より大きくなる外辺部シール幅を設計した。この安定性のハイレベルは、寿命の延長を達成するためには冷蔵庫での保管がやむをえない既存技術の他の装置に対して著しい対照を成している。組み込まれた破裂プラグを伴う上記に列挙した流体チャンバー設計を使用することにより、装置の使用中、チャンバー内の較正流体を加圧してチャンバーから測定セルに放出する前に、金属箔封印チャンバーを開放する簡単な金属箔破裂方法を成就した。これは装置の作動の較正流体放出段階におけるハイレベルの信頼性と管理を達成したことになる。
当業者は、診断カードのさまざまな発明的構成部分が、それらがこの開示のカード内にある、またはそれらが異なるカード設計において分離して使用され得る時に、共に使用することが可能であることが理解されるであろう。たとえば、封印流体チャンバーおよびそのバルブ構造手段は、米国特許出願第10/649,683号に開示されているようなミクロ多孔性流体構成部分を含む診断カードに組み込むことが可能である。このケースでは、封印された流体は、センサー較正目的のためよりもむしろミクロ多孔性ポンプ構成部分のプライミング(準備刺激)のために用いられる。発明的流体配置および封印流体チャンバーは、この開示において記載されたような金属箔積層物を備える電極モジュールと共に有しに使用することができるが、これらはまた平面絶縁基板(微細加工チップ、平面回路基板など)上に製作された既存技術の多くのタイプのセンサーモジュールを含む、また当業者に既知の光学、化学ルミネサンスまたは蛍光発光などの非電気化学検知手段を組み込んだセンサーモジュールを含む他の種類のセンサーモジュールと共に使用することも可能である。実際に、これらの発明的流体素子は、オンボード流体を組み込んだあらゆるユニット使用診断カードにおいて有用であろう。

Claims (38)

  1. 実質上平面な絶縁層、および、
    絶縁層に対して積層された実質上平面な金属導体層と、
    中央に位置する感知領域、周辺部に位置する接触領域および中間加熱領域を有する電極モジュールと、
    いくつかの通り抜け隙間、試料と接触するためのおよび導体層との電気接触のための各隙間内のセンサー薄膜を有する感知領域内の絶縁層、導体層は対応する数の導体構成部分およびヒーター接触構成部分に分割されており、各導体構成部分は、センサー端および相対する接触パッド端を有する導体路を含んでおり、センサー端はモジュールの感知領域内に、それぞれ隙間の一つの下に位置しており、接触パッド端は接触領域内に位置しており、ヒーター接触構成部分は導体構成部分から電気的に絶縁されており、加熱領域内の感知領域を囲んでおり、ヒーター接触構成部分は感知領域と接触領域とのあいだに延在する接続空隙を有しており、接触空隙を通って延在している導体路、
    とを備えている、流体試料において少なくとも一つの成分濃度を感知するための診断カードにおける使用のための電極モジュール。
  2. 絶縁層がエポキシ樹脂金属箔、および導体層が金属箔である、請求項1記載の電極モジュール。
  3. 導体路が、導体路に沿った熱伝導を減少させるために曲がりくねって長い、請求項1記載の電極モジュール。
  4. ヒーター接触構成部分が、加熱領域の向かい合う両側に位置する一対の接続空隙を含んでおり、導体路はそれぞれ接続空隙の一つを通って延在している、請求項1記載の電極モジュール。
  5. ヒーター接触構成部分が、導体構成部分に対応する数の多数の接続空隙を含んでおり、各導体路は一つの接続空隙を通って延在している、請求項1記載の電極モジュール。
  6. 接続空隙および接触パッド端が、すべての導体路が同じ長さであるように、感知領域近くに位置している、請求項5記載の電極モジュール。
  7. モジュールが長方形の形状を有しており、接触領域が一対の向かい合う両側の電極モジュールに沿って延在しており、モジュールは8個の隙間および8個の導体構成部分を含んでおり、接触パッド端は向かい合う両側に沿って2列に接触領域内に対称的に均等に配分されている、請求項2記載の電極モジュール。
  8. 試料流体を入れるための測定セルを有しているカード本体と、
    試料流体を測定セルに供給するための通路、および
    カード本体に取り付けられ、実質上平面な絶縁層および絶縁層に積層された実質上平面な金属導体層を含んでいる電極モジュールと、
    中央に位置する感知領域、周辺部に位置する接触領域および中間加熱領域を有する電極モジュールと、
    いくつかの通り抜け隙間、試料流体と接触するためのおよび導体層との電気的接触のための各隙間内のセンサー薄膜、対応する数の導体構成部分内に分割されている導体層、およびヒーター接触構成部分を有する
    感知領域内の絶縁層、各導体構成部分は、センサー端および反対側の接触パッド端を有する導体路を含んでおり、センサー端はモジュールの感知領域内の、それぞれの隙間の一つの下に位置し、接触パッド端は接触領域内に位置しており、ヒーター構成部分は加熱領域に位置していて、導体構成部分から電気的に絶縁されており、センサー領域を囲んでいる、ヒーター構成部分は、センサーおよび接触領域のあいだを延在する接続空隙を有しており、導体路は接続空隙を通って延在している、
    センサー薄膜を測定セルに曝露するために、および接触パッド端およびヒーター接触構成部分への外部アクセスのためにカード本体に取り付けられている電極モジュール
    とを備えている、流体試料の少なくとも一つの成分濃度を感知するためのカードリーダーと共に使用するための診断カード。
  9. 絶縁層がエポキシ樹脂金属箔であり、導体層が金属箔である、請求項8記載の診断カード。
  10. 絶縁層が、導体層の電極モジュールの縁近くで測定セル中のあらゆる流体の漏出を防ぐために粘着によりカード本体に感知領域近くで結合されている、請求項8記載の診断カード。
  11. 導体路が、導体路に沿った熱伝導を減少させるために曲がりくねって長い、請求項8記載の診断カード。
  12. ヒーター構成部分が、加熱領域の向かい合う両側に位置する一対の接続空隙Tを含んでおり、導体路はそれぞれ接続空隙の一つを通って延在している、請求項8記載の診断カード。
  13. モジュールが長方形の形状を有しており、接触領域が電極モジュールの一対の向かい合う両側に沿って延在し、モジュールは8個の隙間および8個の導体構成部分を含んでおり、接触パッド端は対称的に均等に電極モジュールの向かい合う両側に沿って接触領域に配分されて、センサー端は感知領域内の二つの平行な列内に対称的に配置されている、請求項8記載の診断カード。
  14. さらに過剰な流体を測定セルから排出するための通路を含んでいる、請求項8記載の診断カード。
  15. 実質上平面な向かい合う第1および第2表面、測定領域および測定領域に位置する電極モジュールを有し、かつ第1表面内に曝露されている導体層と、導体層は実質上中央の感知領域内に分割されており、電極接触端を含んでいる実質上周辺部の接触領域と、感知領域を取り囲み、ヒーター接触構成部分を含んでいる中間加熱領域とを有する診断カードと共に使用するための診断カードリーダーにおいて、
    ハウジングと、
    電極モジュールの導体層をカード窩洞内部に位置付けるために診断カードの少なくとも一部分を受けるためのカード窩洞と、
    カードがカード窩洞内に受けられた場合、電極モジュールの電極接触端の少なくとも一つで電気的接触のための接触配列、および
    カードがカード窩洞内に受けられた場合、電極モジュールの感知領域を加熱するための第1ヒーターブロック、ヒーターブロックは、電極モジュールのヒーター接触構成部分と物理的に接触するための、かつ直接熱伝導により加熱領域を加熱するための第1ブロック部分、および、第1ブロック部分が間接熱移送により感知領域を加熱するためのヒーター接触構成部分と物理的に接触している場合、電極モジュールの感知領域に対して平行に離れて間隔があけられるために第1部分から間隔をおいた第2ブロック部分、
    とを備えているカードリーダー。
  16. 接触配列が、カードがカード本体に受けられた場合、接触端に弾性的に接触するためのカードリーダーのカード挿入オリフィス内の柔軟支持体上に取り付けられた可撓基板上に載せられた形成金属フィルムの形態にある少なくとも一つの金属接触構成部分を含んでいる、請求項15記載のカードリーダー。
  17. さらに、カードの感知領域に一致する測定領域の少なくとも部分を加熱するため、および測定領域内のカード内のあらゆる液体を加熱するための測定領域内のカードの第2表面に物理的に接触するための第2ヒーターブロックを備えている、請求項15記載のカードリーダー。
  18. ヒーターブロックが、測定領域におよび測定領域から導くカード内のあらゆる導管内の流体を加熱するための測定領域を超えて延在している、請求項17記載のカードリーダー。
  19. 一対の向かい合う平面な表面を有する平面なカード本体と、
    カード本体のセンサー領域内に位置する少なくとも一つのセンサーと、
    カードの一つの表面上の試料取り入れポートと、
    試料取り入れポートをセンサー領域に流体工学的に接続するためのカード本体内の試料導管、および
    試料流体注入のための試料取り入れポート内に挿入された導管近くに液体シールを形成するための試料取り入れポートを取り巻く接着ガスケットと、
    を備えている、流体試料の少なくとも一つの成分濃度を感知するためのカードリーダーと共に使用するための診断カード。
  20. カード本体の表面に貯蔵凹所を有する診断カード本体を得る工程と、
    凹所をプラスチックフィルム層の第1積層およびアルミニウム金属箔層と共に裏打ちする工程と、金属箔層はカード本体に接触しており、第1積層は凹所を超えて延在しており、
    プラスチックフィルム層の第2積層およびアルミニウム金属箔層を、プラスチックフィルム層が互いに接触するように第1積層の上方に配置する工程と、
    連続熱結合ラインを形成している第1および第2積層の周辺部に沿ってフィルム層を熱結合することで密閉タンクを形成する工程と、
    を備えている、診断カード内の密閉流体タンクを形成する方法。
  21. 第1積層が、凹所の輪郭をぴったりとたどるために、凹所内で圧力形成されている、請求項20記載の方法。
  22. 熱結合ラインが3ミリの最小横断幅を有している、請求項20記載の方法。
  23. 凹所が充填材通路および通気通路を含んでおり、および本方法が、充填材および通気開口部をそこに形成するために充填剤および通気通路上方で第1積層を穿孔し、充填剤開口部を通り抜けて流体を注入することによるフィルム層の熱結合の後、密閉タンクを充填し、さらに充填剤および通気開口部近くでフィルム層の第2熱結合を形成することによりタンクを密閉する追加の各段階を含んでいる、請求項20記載の方法。
  24. 第2積層の配置前に、フィルム層の熱結合後、破裂プラグがタンク内に含まれるように、望ましい破裂位置で第1積層上に破裂プラグを配置するさらなる段階を備える、請求項21記載の方法。
  25. カード本体がプラグ受け入れ穿孔を備えており、第1積層が凹所およびプラグ受け入れ穿孔の輪郭をぴったりとたどるために凹所内に圧力形成され、プラグはプラグ受け入れ穿孔内に滑動可能にフィットするために形作られ、寸法決めされ、プラグは第2積層の配置前に、プラグ受け入れ穿孔の位置に配置される、請求項24記載の方法。
  26. 流体試料の少なくとも一つの成分濃度の検出において、カードリーダーと共に使用するための診断カードであって、
    カード本体と、
    前記カード本体のセンサー領域内に位置する少なくとも一つの成分センサーと、
    流体を収容するために密閉され、センサー領域の外側に、かつカード本体内に画定されたチャンバーと、
    前記チャンバーを前記センサー領域と流体工学的に接続するための流体導管と、
    前記チャンバーと前記流体導管とを流体工学的に接続するための前記チャンバー内に位置するバルブと、
    前記チャンバーが流体を収容している場合、該流体を前記チャンバーから出させ、前記流体導管内に入れるための前記バルブからは分離された別の放出構造と
    を備えた診断カード。
  27. 前記チャンバーが、二つの向かい合うプラスチックコーティング金属箔積層物の積層体から形成され、
    前記積層体が、前記積層物のプラスチックコーティングを融着してなされる第1熱シールによって前記積層物の外辺部全周が接着されたものである、請求項26記載の診断カード。
  28. 前記第1熱シールが少なくとも3ミリの幅を有する、請求項27記載の診断カード。
  29. 前記チャンバーが、与圧なしに前記チャンバーを流体で満たすための充填および通気開口部を備える、請求項26記載の診断カード。
  30. 前記チャンバーには流体が充填され、充填された前記チャンバーを完全に密封するために、前記充填および通気開口部が封止される、請求項29記載の診断カード。
  31. 前記チャンバーが、二つの向かい合うプラスチックコーティング金属箔積層物の積層体から形成され、
    前記積層体が、前記積層物のプラスチックコーティングを融着してなされる第1熱シールによって前記積層物の外辺部全周が接着されたものであり、
    前記充填および通気開口部が、前記充填および通気開口部の周囲の前記積層物のプラスチックコーティングを融着してなされる第2熱シールにより封止される、請求項30記載の診断カード。
  32. 前記チャンバーがチャンバー壁により密閉され、前記バルブが、前記バルブ受入れ部内に移動可能に受けられたバルブ本体を備え、前記バルブ本体および前記バルブ受入れ部が、前記バルブ受入れ部に対する前記バルブ本体の相対的な移動によって、前記チャンバー壁の一部を裂くように形成され、かつ、構成されている、請求項26記載のカード。
  33. 前記バルブが、バルブ受入れ部内に移動可能に受けられたバルブ本体を備え、
    前記バルブ本体は、前記積層物のあいだに挟まれ、
    前記バルブ本体および前記バルブ受入れ部が、前記バルブ受入れ部に対する前記バルブ本体の相対的な移動によって、前記積層物の一つを裂くように形成され、かつ、構成されている、請求項27記載のカード。
  34. 前記バルブ本体が破裂プラグであり、前記バルブ受入れ部が前記カード本体内に位置するプラグ受け入れ穿孔である、請求項33記載のカード。
  35. 前記プラグおよび前記プラグ受け入れ穿孔が、前記プラグ受け入れ穿孔においてプラグの移動の際に、積層物の一つを裂くための協働縁を含む、請求項34記載のカード。
  36. 前記カード本体が成形された輪郭を含み、前記積層物の一つが前記カード本体の輪郭内で加圧成形されている、請求項27記載のカード。
  37. 前記チャンバーがチャンバー壁およびチャンバー体積を有し、前記放出構造が、前記チャンバー体積の縮小に対して変形し得る前記チャンバー壁の柔軟な一部分により形成されている、請求項26記載のカード。
  38. 前記チャンバーが、一対の向かい合ったプラスチックコーティング金属箔積層物から作られ、前記積層物は、その外辺部の周りが接着され、前記チャンバー壁を画定し、該接着は、前記積層物の外辺部の周りのプラスチックコーティングを融着してなされる第1熱シールによるものであり、
    前記カード本体はさらに、前記チャンバーを流体で充填するために前記積層物の一つを通して前記チャンバーと連通する充填開口部と、前記充填開口部から離れ、前記チャンバーを流体で充填するあいだ、前記チャンバー内の空気の通気のために前記積層物の一つを通して前記チャンバーと連通する通気開口部とを含み、
    前記充填および通気開口部は、前記充填および通気開口部の周囲でプラスチックコーティングを融着する第2熱シールによって前記チャンバーの完全な密閉のために封止可能である、請求項26記載のカード。
JP2009208651A 2004-06-01 2009-09-09 流体工学を組み込んだ診断装置および製造方法 Expired - Lifetime JP5097182B2 (ja)

Applications Claiming Priority (2)

Application Number Priority Date Filing Date Title
US10/856,782 US7842234B2 (en) 2002-12-02 2004-06-01 Diagnostic devices incorporating fluidics and methods of manufacture
US10/856,782 2004-06-01

Related Parent Applications (1)

Application Number Title Priority Date Filing Date
JP2007513633A Division JP4498415B2 (ja) 2004-06-01 2005-06-01 流体工学を組み込んだ診断装置および製造方法

Publications (2)

Publication Number Publication Date
JP2010032527A true JP2010032527A (ja) 2010-02-12
JP5097182B2 JP5097182B2 (ja) 2012-12-12

Family

ID=35463009

Family Applications (2)

Application Number Title Priority Date Filing Date
JP2007513633A Expired - Lifetime JP4498415B2 (ja) 2004-06-01 2005-06-01 流体工学を組み込んだ診断装置および製造方法
JP2009208651A Expired - Lifetime JP5097182B2 (ja) 2004-06-01 2009-09-09 流体工学を組み込んだ診断装置および製造方法

Family Applications Before (1)

Application Number Title Priority Date Filing Date
JP2007513633A Expired - Lifetime JP4498415B2 (ja) 2004-06-01 2005-06-01 流体工学を組み込んだ診断装置および製造方法

Country Status (6)

Country Link
US (4) US7842234B2 (ja)
EP (2) EP3581912B1 (ja)
JP (2) JP4498415B2 (ja)
CA (4) CA2594370C (ja)
DK (2) DK3581912T3 (ja)
WO (1) WO2005119200A1 (ja)

Cited By (3)

* Cited by examiner, † Cited by third party
Publication number Priority date Publication date Assignee Title
JP2014510918A (ja) * 2011-03-24 2014-05-01 ベーリンガー インゲルハイム マイクロパーツ ゲゼルシャフト ミット ベシュレンクテル ハフツング キャビティ相互間にフルイディック結合部を作る器具及び方法
KR20200042534A (ko) * 2017-09-01 2020-04-23 엠쥐아이 테크 컴퍼니 엘티디. 실리콘 기반 센서와 통합된 사출 성형된 미세유체/유체 카트리지
JP2021501305A (ja) * 2017-09-20 2021-01-14 イー−センス、インコーポレイテッド 裏面コンタクトを有する化学センサ付きマイクロ流体チップ

Families Citing this family (63)

* Cited by examiner, † Cited by third party
Publication number Priority date Publication date Assignee Title
US7842234B2 (en) * 2002-12-02 2010-11-30 Epocal Inc. Diagnostic devices incorporating fluidics and methods of manufacture
US7767068B2 (en) 2002-12-02 2010-08-03 Epocal Inc. Heterogeneous membrane electrodes
AT502915B1 (de) * 2004-12-23 2008-01-15 Hoffmann La Roche Vorrichtung zur thermostatisierung einer messzelle in einem analysator und messzelle, welche in einen analysator austauschbar einsetzbar ist
US8075852B2 (en) * 2005-11-02 2011-12-13 Affymetrix, Inc. System and method for bubble removal
US20090188811A1 (en) * 2007-11-28 2009-07-30 Edwards Lifesciences Corporation Preparation and maintenance of sensors
US8216529B2 (en) 2008-09-15 2012-07-10 Abbott Point Of Care Inc. Fluid-containing pouches with reduced gas exchange and methods for making same
US8448499B2 (en) 2008-12-23 2013-05-28 C A Casyso Ag Cartridge device for a measuring system for measuring viscoelastic characteristics of a sample liquid, a corresponding measuring system, and a corresponding method
DE102009043228A1 (de) 2009-02-04 2010-09-02 Siemens Aktiengesellschaft Anordnung und Verfahren zum elektrochemischen Messen von biochemischen Reaktionen sowie Herstellungsverfahren der Anordnung
WO2011062738A1 (en) 2009-11-23 2011-05-26 Mikhail Briman Controlled electrochemical activation of carbon-based electrodes
EP2468403A1 (en) * 2010-12-21 2012-06-27 Koninklijke Philips Electronics N.V. A method for manufacturing a microfluidic device
JP5833755B2 (ja) 2011-07-25 2015-12-16 ブリマン、ミカイル 診断試験用カートリッジ
US9430957B2 (en) 2011-09-28 2016-08-30 Shenzhen China Star Optoelectronics Technology Co., Ltd. Virtual load board and test system and test method for liquid crystal display control board
EP2606974A1 (en) * 2011-12-19 2013-06-26 Nxp B.V. An optical detection system, a cartridge therefor and a reader therefor
CN104411406B (zh) 2012-03-16 2017-05-31 统计诊断与创新有限公司 具有集成传送模块的测试盒
CN107884560A (zh) 2012-04-04 2018-04-06 辛辛那提大学 汗液模拟、收集和感测系统
ES2439624B1 (es) * 2012-06-19 2014-10-28 Laboratorios Alpha San Ignacio Pharma, S.L. Tarjeta de diagnóstico desechable y dispositivo electrónico de lectura
US9289761B2 (en) 2012-11-16 2016-03-22 Honeywell International Inc. Card waste storage mechanism
US10981172B2 (en) * 2013-03-14 2021-04-20 Abbott Point Of Care Inc. Thermal control system for controlling the temperature of a fluid
EP3057490B1 (en) 2013-10-18 2022-05-25 University of Cincinnati Devices for integrated, repeated, prolonged, and/or reliable sweat stimulation and biosensing
US10888244B2 (en) 2013-10-18 2021-01-12 University Of Cincinnati Sweat sensing with chronological assurance
CN105916433B (zh) 2013-10-18 2019-08-30 辛辛那提大学 以确保时间顺序方式的汗液感测
CA2938161A1 (en) * 2014-02-01 2015-08-06 Ezmems Ltd. Chip device for monitoring and regulating fluid flow, and methods of manufacture thereof
US11033898B2 (en) 2014-02-01 2021-06-15 Ezmems Ltd. Fluidic microelectromechanical sensors/devices and fabrication methods thereof
JP6548356B2 (ja) * 2014-03-20 2019-07-24 キヤノンメディカルシステムズ株式会社 送液装置
EP3148430A4 (en) 2014-05-28 2018-05-16 University of Cincinnati Advanced sweat sensor adhesion, sealing, and fluidic strategies
EP3148416B8 (en) 2014-05-28 2024-04-17 University of Cincinnati Devices with reduced sweat volumes between sensors and sweat glands
JP2017518814A (ja) 2014-05-28 2017-07-13 ユニバーシティ・オブ・シンシナティ 発汗モニタリング及び薬物送達の制御
US10814322B2 (en) 2014-07-09 2020-10-27 Siemens Healthcare Diagnostics Inc. Low sample volume sensing device
MX381317B (es) 2014-07-17 2025-03-12 Siemens Healthcare Diagnostics Inc Conjunto de sensores.
CA2962340A1 (en) 2014-09-22 2016-03-31 University Of Cincinnati Sweat sensing with analytical assurance
US10539579B2 (en) 2014-09-29 2020-01-21 C A Casyso Gmbh Blood testing system and method
EP3256049A4 (en) 2015-02-13 2018-07-25 University of Cincinnati Devices for integrated indirect sweat stimulation and sensing
US10634602B2 (en) 2015-06-12 2020-04-28 Cytochip Inc. Fluidic cartridge for cytometry and additional analysis
US10022720B2 (en) 2015-06-12 2018-07-17 Cytochip Inc. Fluidic units and cartridges for multi-analyte analysis
US10646142B2 (en) 2015-06-29 2020-05-12 Eccrine Systems, Inc. Smart sweat stimulation and sensing devices
EP3322968B1 (en) 2015-07-14 2024-02-21 Cytochip Inc. Volume sensing in a fluidic cartridge
EP3364862A4 (en) 2015-10-23 2019-10-23 Eccrine Systems, Inc. DEVICES FOR CONCENTRATING SAMPLES FOR ADVANCED MEASUREMENT OF WELDING ANALYSTS
US12487204B2 (en) 2015-10-30 2025-12-02 University Of Cincinnati Sweat sensing devices with electromagnetically shielded sensors, interconnects, and electronics
US10674946B2 (en) 2015-12-18 2020-06-09 Eccrine Systems, Inc. Sweat sensing devices with sensor abrasion protection
WO2017120464A1 (en) * 2016-01-08 2017-07-13 Siemens Healthcare Diagnostics Inc. Heating element for sensor array
JP6625004B2 (ja) 2016-04-14 2019-12-25 キヤノン株式会社 カード型記録装置およびスロット装置
US10094802B2 (en) * 2016-06-01 2018-10-09 EXIAS Medical GmbH Heating system for a measurement cell
US10471249B2 (en) 2016-06-08 2019-11-12 University Of Cincinnati Enhanced analyte access through epithelial tissue
WO2018006087A1 (en) 2016-07-01 2018-01-04 University Of Cincinnati Devices with reduced microfluidic volume between sensors and sweat glands
CN110035690A (zh) 2016-07-19 2019-07-19 外分泌腺系统公司 汗液电导率、容积出汗速率和皮肤电反应设备及应用
EP3485249A4 (en) * 2016-08-03 2020-01-22 Ezmems Ltd. FLUIDIC MICROFLUIDIC SENSORS / DEVICES AND MANUFACTURING METHODS THEREOF
EP3500339B1 (en) 2016-08-19 2021-10-27 University of Cincinnati Prolonged sweat stimulation
US10736565B2 (en) 2016-10-14 2020-08-11 Eccrine Systems, Inc. Sweat electrolyte loss monitoring devices
CN113260865B (zh) * 2017-04-07 2024-09-03 易度医疗股份有限公司 照护点测试盒
WO2019083844A1 (en) 2017-10-23 2019-05-02 Cytochip Inc. DEVICES AND METHOD FOR MEASURING TARGET ANALYTES AND PARTICLES
CN108443579B (zh) 2018-04-11 2020-06-26 利多(香港)有限公司 一种能控制液体流动的微阀及微流控芯片
DE102018206066A1 (de) * 2018-04-20 2019-10-24 Robert Bosch Gmbh Vorrichtung zum Ankoppeln einer Kartusche für ein Chiplabor-Analysegerät, Chiplabor-Analysegerät und Verfahren zum Ankoppeln einer Kartusche für ein Chiplabor-Analysegerät
CN108709767B (zh) * 2018-07-26 2023-12-01 中国电建集团成都勘测设计研究院有限公司 取土器
ES2928249T3 (es) 2018-09-11 2022-11-16 Hoffmann La Roche Cartucho con envase para líquido
DK3647781T3 (da) * 2018-10-29 2024-08-05 EXIAS Medical GmbH Målepatron til måling af en flydende prøve
JP7150324B2 (ja) * 2018-11-16 2022-10-11 株式会社テクノメデイカ 使い捨て検査具及び該検査具を用いる分析装置
US11327048B2 (en) * 2019-03-26 2022-05-10 Siemens Healthcare Diagnostics Inc. Methods and apparatus for performing sample measurements using visible light on samples manipulated with acoustic waves
CN112023990B (zh) 2019-06-03 2023-06-23 利多(香港)有限公司 一种微流控检测芯片及制造方法
CN112675933B (zh) 2019-10-18 2024-09-10 利多(香港)有限公司 一种用于检测分析物的微流控芯片
CN111175529A (zh) * 2020-01-23 2020-05-19 广州万孚生物技术股份有限公司 体外诊断分析仪、试剂卡及安装结构
US11453001B2 (en) 2020-01-29 2022-09-27 International Business Machines Corporation Microfluidic chips with integrated electronic sensors
WO2022104365A1 (en) * 2020-11-16 2022-05-19 Siemens Healthcare Diagnostics Inc. Valve for microfluidic device
EP4016068B1 (en) * 2020-12-21 2025-03-05 F. Hoffmann-La Roche AG Sensor assembly

Citations (2)

* Cited by examiner, † Cited by third party
Publication number Priority date Publication date Assignee Title
WO2002100261A2 (en) * 2001-06-08 2002-12-19 Epocal Inc. Point-of-care in-vitro blood analysis system
JP2003515133A (ja) * 1999-11-18 2003-04-22 スリーエム イノベイティブ プロパティズ カンパニー フィルムベースのアドレス可能なプログラマブル電子マトリックス物品およびその製造と使用方法

Family Cites Families (101)

* Cited by examiner, † Cited by third party
Publication number Priority date Publication date Assignee Title
US4062750A (en) * 1974-12-18 1977-12-13 James Francis Butler Thin film electrochemical electrode and cell
JPS51113788A (en) 1975-03-12 1976-10-07 Licentia Gmbh Electrodes for electrochemical measuring elements for quantitative measurements of concentration of gases soluble in liquid electrolyte
DE2722617C2 (de) 1976-05-19 1983-10-20 Eastman Kodak Co., 14650 Rochester, N.Y. Ionenselektive Elektrode und Verwendung derselben
US4133735A (en) * 1977-09-27 1979-01-09 The Board Of Regents Of The University Of Washington Ion-sensitive electrode and processes for making the same
US4276141A (en) * 1978-02-24 1981-06-30 Beckman Instruments, Inc. Solid state ion selective electrodes
US4342964A (en) * 1978-12-04 1982-08-03 Transidyne General Corp. Apparatus for electrochemical measurements
US4225410A (en) * 1978-12-04 1980-09-30 Technicon Instruments Corporation Integrated array of electrochemical sensors
US4301412A (en) * 1979-10-29 1981-11-17 United States Surgical Corporation Liquid conductivity measuring system and sample cards therefor
US4436610A (en) * 1980-12-15 1984-03-13 Transidyne General Corporation Apparatus for measuring electrochemical activity
RO81891A2 (ro) 1981-03-16 1983-06-01 Institutul De Chimie,Ro Electrod de referinta
AT369254B (de) * 1981-05-07 1982-12-27 Otto Dipl Ing Dr Tech Prohaska Medizinische sonde
US4534356A (en) 1982-07-30 1985-08-13 Diamond Shamrock Chemicals Company Solid state transcutaneous blood gas sensors
US4431508A (en) * 1982-12-10 1984-02-14 Brown Jr Harold M Solid state graphite electrode
US5509410A (en) * 1983-06-06 1996-04-23 Medisense, Inc. Strip electrode including screen printing of a single layer
US4604303A (en) * 1983-05-11 1986-08-05 Nissan Chemical Industries, Ltd. Polymer composition containing an organic metal complex and method for producing a metallized polymer from the polymer composition
US4484987A (en) 1983-05-19 1984-11-27 The Regents Of The University Of California Method and membrane applicable to implantable sensor
JPS60108745A (ja) * 1983-11-18 1985-06-14 Ngk Insulators Ltd 電気化学的装置
US4739380A (en) * 1984-01-19 1988-04-19 Integrated Ionics, Inc. Integrated ambient sensing devices and methods of manufacture
US4613422A (en) * 1984-01-19 1986-09-23 Integrated Ionics Inc. Ambient sensing devices
US4551209A (en) * 1984-01-19 1985-11-05 Integrated Ionics, Inc. Method of calibrating conductive metal oxide electrodes
US4654127A (en) * 1984-04-11 1987-03-31 Sentech Medical Corporation Self-calibrating single-use sensing device for clinical chemistry and method of use
US5141868A (en) * 1984-06-13 1992-08-25 Internationale Octrooi Maatschappij "Octropa" Bv Device for use in chemical test procedures
US4629424A (en) * 1984-08-30 1986-12-16 Integrated Ionics, Inc. Intraoral ambient sensing device
US5030310A (en) * 1985-06-28 1991-07-09 Miles Inc. Electrode for electrochemical sensors
US4734184A (en) 1985-08-29 1988-03-29 Diamond Sensor Systems, Inc. Self-activating hydratable solid-state electrode apparatus
US4592824A (en) * 1985-09-13 1986-06-03 Centre Suisse D'electronique Et De Microtechnique S.A. Miniature liquid junction reference electrode and an integrated solid state electrochemical sensor including the same
US4689309A (en) * 1985-09-30 1987-08-25 Miles Laboratories, Inc. Test device, method of manufacturing same and method of determining a component in a sample
US4864229A (en) * 1986-05-03 1989-09-05 Integrated Ionics, Inc. Method and apparatus for testing chemical and ionic sensors
JPH0424442Y2 (ja) * 1986-12-11 1992-06-09
GB8720470D0 (en) * 1987-08-29 1987-10-07 Emi Plc Thorn Sensor arrangements
WO1989006855A1 (en) 1988-01-21 1989-07-27 Electro-Nucleonics, Inc. Dry ion-selective electrodes for the determination of ionic species in aqueous media
CA1303130C (en) * 1988-02-08 1992-06-09 Imants R. Lauks Metal oxide electrodes
US4933048A (en) * 1988-02-16 1990-06-12 I-Stat Corporation Reference electrode, method of making and method of using same
US4954087A (en) * 1988-04-27 1990-09-04 I-Stat Corporation Static-free interrogating connector for electric components
CA1299653C (en) 1988-07-07 1992-04-28 Markwell Medical Institute, Inc. Biological fluid measuring device
FR2634894B1 (ja) 1988-07-28 1990-09-14 Guigan Jean
US5096669A (en) * 1988-09-15 1992-03-17 I-Stat Corporation Disposable sensing device for real time fluid analysis
US4877528A (en) * 1988-10-27 1989-10-31 Bend Research, Inc. Siloxane-grafted membranes
US5200051A (en) * 1988-11-14 1993-04-06 I-Stat Corporation Wholly microfabricated biosensors and process for the manufacture and use thereof
US5212050A (en) * 1988-11-14 1993-05-18 Mier Randall M Method of forming a permselective layer
US5063081A (en) * 1988-11-14 1991-11-05 I-Stat Corporation Method of manufacturing a plurality of uniform microfabricated sensing devices having an immobilized ligand receptor
US6306594B1 (en) * 1988-11-14 2001-10-23 I-Stat Corporation Methods for microdispensing patterened layers
US5008616A (en) * 1989-11-09 1991-04-16 I-Stat Corporation Fluidics head for testing chemical and ionic sensors
US5078854A (en) * 1990-01-22 1992-01-07 Mallinckrodt Sensor Systems, Inc. Polarographic chemical sensor with external reference electrode
US5183549A (en) * 1990-01-26 1993-02-02 Commtech International Management Corporation Multi-analyte sensing electrolytic cell
JPH03221858A (ja) 1990-01-26 1991-09-30 Terumo Corp 基準電極
USD337164S (en) * 1990-07-19 1993-07-06 I-Stat Corporation Cartridge for a blood monitoring analyzer
USD332833S (en) * 1990-07-19 1993-01-26 I-Stat Portable clinical diagnostic instrument
US5112455A (en) * 1990-07-20 1992-05-12 I Stat Corporation Method for analytically utilizing microfabricated sensors during wet-up
US5124661A (en) * 1990-07-23 1992-06-23 I-Stat Corporation Reusable test unit for simulating electrochemical sensor signals for quality assurance of portable blood analyzer instruments
US5246576A (en) 1990-12-10 1993-09-21 Ppg Industries, Inc. Cathode in a layered circuit and electrochemical cell for a measurement of oxygen in fluids
AT398132B (de) * 1991-02-15 1994-09-26 Avl Verbrennungskraft Messtech Vorrichtung zur messung der konzentration eines reagens
JPH0618476A (ja) 1991-03-14 1994-01-25 Rikagaku Kenkyusho 水中の二酸化炭素濃度の測定方法
US5286365A (en) 1992-01-15 1994-02-15 Beckman Instruments, Inc. Graphite-based solid state polymeric membrane ion-selective electrodes
US5726026A (en) * 1992-05-01 1998-03-10 Trustees Of The University Of Pennsylvania Mesoscale sample preparation device and systems for determination and processing of analytes
US5232667A (en) * 1992-05-21 1993-08-03 Diametrics Medical, Inc. Temperature control for portable diagnostic system using a non-contact temperature probe
US5325853A (en) * 1992-09-02 1994-07-05 Diametrics Medical, Inc. Calibration medium containment system
ATE217084T1 (de) * 1992-09-14 2002-05-15 Siemens Ag Referenzelektrode
US5415746A (en) 1992-12-21 1995-05-16 E. I. Du Pont De Nemours And Company Potentiometric ion determinations using enhanced selectivity asymmetric ion-selective membrane
JPH0816669B2 (ja) * 1993-02-18 1996-02-21 日本電気株式会社 グルコースセンサの製造方法
GB9309797D0 (en) * 1993-05-12 1993-06-23 Medisense Inc Electrochemical sensors
US5821399A (en) * 1993-07-16 1998-10-13 I-Stat Corporation Automatic test parameters compensation of a real time fluid analysis sensing device
US5416026A (en) * 1993-10-04 1995-05-16 I-Stat Corporation Method for detecting the change in an analyte due to hemolysis in a fluid sample
US5447440A (en) * 1993-10-28 1995-09-05 I-Stat Corporation Apparatus for assaying viscosity changes in fluid samples and method of conducting same
KR960705501A (ko) * 1993-10-28 1996-11-08 윌리암 모피트 유체 샘플 수집과 유입장치(fluid sample collection and introduction device)
US5609824A (en) * 1994-07-13 1997-03-11 I-Stat Corporation Methods and apparatus for rapid equilibration of dissolved gas composition
US5514253A (en) * 1994-07-13 1996-05-07 I-Stat Corporation Method of measuring gas concentrations and microfabricated sensing device for practicing same
US5554272A (en) * 1995-08-10 1996-09-10 Ciba Corning Diagnostics Corp. Planar bicarbonate sensor
US5656241A (en) * 1995-09-07 1997-08-12 Optical Sensors Incorporated Method for manufacturing fiber optic sensors
US5708247A (en) * 1996-02-14 1998-01-13 Selfcare, Inc. Disposable glucose test strips, and methods and compositions for making same
US6241862B1 (en) 1996-02-14 2001-06-05 Inverness Medical Technology, Inc. Disposable test strips with integrated reagent/blood separation layer
JPH09299445A (ja) 1996-05-14 1997-11-25 Sekisui Chem Co Ltd 薬物含有貼付剤用包装体
JP4041560B2 (ja) 1997-09-09 2008-01-30 株式会社テクノメデイカ 検査液分析装置用使い捨て成分検出具及び前記成分検査具に対する検査液供給方法
ES2309022T3 (es) * 1997-12-24 2008-12-16 Cepheid Dispositivo y procedimiento para lisis.
US6030827A (en) * 1998-01-23 2000-02-29 I-Stat Corporation Microfabricated aperture-based sensor
US6016066A (en) 1998-03-19 2000-01-18 Intel Corporation Method and apparatus for glitch protection for input buffers in a source-synchronous environment
KR100349000B1 (ko) 1998-07-09 2003-03-26 주식회사 아이센스 친수성폴리우레탄을사용한바이오센서의제조방법
KR100342165B1 (ko) 1999-03-25 2002-06-27 배병우 자기 진단기능을 갖는 소형 고체상 기준전극
DE19916921A1 (de) 1999-04-14 2000-10-19 Fraunhofer Ges Forschung Elektrisches Sensorarray
JP2000298111A (ja) 1999-04-15 2000-10-24 Sentan Kagaku Gijutsu Incubation Center:Kk バイオセンサー
US6432296B1 (en) * 1999-09-24 2002-08-13 Daniel S. Daniel Polymeric compositions for ion-selective electrodes
US6750053B1 (en) * 1999-11-15 2004-06-15 I-Stat Corporation Apparatus and method for assaying coagulation in fluid samples
US20030057108A1 (en) * 1999-12-10 2003-03-27 Ramamurthi Sridharan Device and method for accelerated hydration of dry chemical sensors
US6484045B1 (en) * 2000-02-10 2002-11-19 Medtronic Minimed, Inc. Analyte sensor and method of making the same
US6438498B1 (en) * 2000-02-10 2002-08-20 I-Stat Corporation System, method and computer implemented process for assaying coagulation in fluid samples
JP4621404B2 (ja) * 2000-04-18 2011-01-26 株式会社テクノメデイカ 養液栽培の試液分析装置
KR100379792B1 (ko) * 2000-06-12 2003-04-11 주식회사 아이센스 마이크로 칩형 이산화탄소 기체센서
US6793789B2 (en) 2000-09-30 2004-09-21 Geun Sig Cha Reference electrode with a polymeric reference electrode membrane
US6896778B2 (en) * 2001-06-04 2005-05-24 Epocal Inc. Electrode module
US6766817B2 (en) * 2001-07-25 2004-07-27 Tubarc Technologies, Llc Fluid conduction utilizing a reversible unsaturated siphon with tubarc porosity action
US6780307B2 (en) 2001-10-12 2004-08-24 The United States Of America As Represented By The Secretary Of The Navy Ion selective electrodes for direct organic drug analysis in saliva, sweat, and surface wipes
US7419821B2 (en) * 2002-03-05 2008-09-02 I-Stat Corporation Apparatus and methods for analyte measurement and immunoassay
US7226978B2 (en) 2002-05-22 2007-06-05 Dexcom, Inc. Techniques to improve polyurethane membranes for implantable glucose sensors
US20040018577A1 (en) * 2002-07-29 2004-01-29 Emerson Campbell John Lewis Multiple hybrid immunoassay
US7094330B2 (en) * 2002-12-02 2006-08-22 Epocal Inc. Heterogeneous membrane electrodes
US7842234B2 (en) * 2002-12-02 2010-11-30 Epocal Inc. Diagnostic devices incorporating fluidics and methods of manufacture
US7682833B2 (en) * 2003-09-10 2010-03-23 Abbott Point Of Care Inc. Immunoassay device with improved sample closure
US7723099B2 (en) * 2003-09-10 2010-05-25 Abbott Point Of Care Inc. Immunoassay device with immuno-reference electrode
US7618522B2 (en) 2003-10-31 2009-11-17 Lifescan Scotland Limited Method of reducing interferences in an electrochemical sensor using two different applied potentials
US7540948B2 (en) * 2004-09-02 2009-06-02 Abbott Point Of Care Inc. Blood urea nitrogen (BUN) sensor
US7918978B2 (en) * 2005-07-14 2011-04-05 I-Stat Corporation Photoformed silicone sensor membrane

Patent Citations (3)

* Cited by examiner, † Cited by third party
Publication number Priority date Publication date Assignee Title
JP2003515133A (ja) * 1999-11-18 2003-04-22 スリーエム イノベイティブ プロパティズ カンパニー フィルムベースのアドレス可能なプログラマブル電子マトリックス物品およびその製造と使用方法
WO2002100261A2 (en) * 2001-06-08 2002-12-19 Epocal Inc. Point-of-care in-vitro blood analysis system
JP2004532421A (ja) * 2001-06-08 2004-10-21 エポカル インコーポレイティド 看護場所における試験管内の血液分析システム

Cited By (4)

* Cited by examiner, † Cited by third party
Publication number Priority date Publication date Assignee Title
JP2014510918A (ja) * 2011-03-24 2014-05-01 ベーリンガー インゲルハイム マイクロパーツ ゲゼルシャフト ミット ベシュレンクテル ハフツング キャビティ相互間にフルイディック結合部を作る器具及び方法
KR20200042534A (ko) * 2017-09-01 2020-04-23 엠쥐아이 테크 컴퍼니 엘티디. 실리콘 기반 센서와 통합된 사출 성형된 미세유체/유체 카트리지
KR102387367B1 (ko) * 2017-09-01 2022-04-14 엠쥐아이 테크 컴퍼니 엘티디. 실리콘 기반 센서와 통합된 사출 성형된 미세유체/유체 카트리지
JP2021501305A (ja) * 2017-09-20 2021-01-14 イー−センス、インコーポレイテッド 裏面コンタクトを有する化学センサ付きマイクロ流体チップ

Also Published As

Publication number Publication date
US9753003B2 (en) 2017-09-05
US20100321004A1 (en) 2010-12-23
WO2005119200A8 (en) 2006-03-30
JP5097182B2 (ja) 2012-12-12
CA3053756A1 (en) 2005-12-15
US8506778B2 (en) 2013-08-13
CA3053756C (en) 2022-10-04
CA3065461C (en) 2021-11-09
EP1756544A1 (en) 2007-02-28
US10436735B2 (en) 2019-10-08
US20040222091A1 (en) 2004-11-11
EP3581912B1 (en) 2021-05-19
US20180038818A1 (en) 2018-02-08
EP1756544A4 (en) 2012-09-19
JP2008501103A (ja) 2008-01-17
WO2005119200A1 (en) 2005-12-15
CA2594370C (en) 2014-12-30
CA2594370A1 (en) 2005-12-15
JP4498415B2 (ja) 2010-07-07
US7842234B2 (en) 2010-11-30
CA2869920A1 (en) 2005-12-15
EP1756544B1 (en) 2019-09-04
CA2869920C (en) 2020-07-14
US20130277215A1 (en) 2013-10-24
DK1756544T3 (da) 2019-12-09
EP3581912A1 (en) 2019-12-18
DK3581912T3 (da) 2021-07-26
CA3065461A1 (en) 2005-12-15

Similar Documents

Publication Publication Date Title
JP5097182B2 (ja) 流体工学を組み込んだ診断装置および製造方法
CA2971921A1 (en) Heterogeneous membrane electrodes
US7357898B2 (en) Microfluidics packages and methods of using same
US6443179B1 (en) Packaging of electro-microfluidic devices
US6821819B1 (en) Method of packaging and assembling micro-fluidic device
US9005546B2 (en) Flow cell having integrated fluid reservoir
EP0914609B1 (en) Locking sensor cartridge with integral fluid ports, electrical connections, and pump tube
WO2009152952A1 (en) Fluid metering container
EP3948254B1 (en) Methods and apparatus for performing sample measurements using visible light on samples manipulated with acoustic waves
JP2005537911A (ja) サンプル処理装置の遠心充填
JP2009518599A (ja) 細線接合および/またはシーリングシステムと方法
US12070750B2 (en) Laminate fluidic circuit for a fluid cartridge
HK1095880B (en) Diagnostic devices incorporating fluidics and methods of manufacture
HK1095880A (en) Diagnostic devices incorporating fluidics and methods of manufacture
CN101855018A (zh) 用于热隔离检定卡的腔室的设备及方法

Legal Events

Date Code Title Description
RD03 Notification of appointment of power of attorney

Free format text: JAPANESE INTERMEDIATE CODE: A7423

Effective date: 20100611

A131 Notification of reasons for refusal

Free format text: JAPANESE INTERMEDIATE CODE: A131

Effective date: 20120508

A521 Request for written amendment filed

Free format text: JAPANESE INTERMEDIATE CODE: A523

Effective date: 20120803

TRDD Decision of grant or rejection written
A01 Written decision to grant a patent or to grant a registration (utility model)

Free format text: JAPANESE INTERMEDIATE CODE: A01

Effective date: 20120828

A01 Written decision to grant a patent or to grant a registration (utility model)

Free format text: JAPANESE INTERMEDIATE CODE: A01

A61 First payment of annual fees (during grant procedure)

Free format text: JAPANESE INTERMEDIATE CODE: A61

Effective date: 20120921

R150 Certificate of patent or registration of utility model

Ref document number: 5097182

Country of ref document: JP

Free format text: JAPANESE INTERMEDIATE CODE: R150

Free format text: JAPANESE INTERMEDIATE CODE: R150

FPAY Renewal fee payment (event date is renewal date of database)

Free format text: PAYMENT UNTIL: 20150928

Year of fee payment: 3

R250 Receipt of annual fees

Free format text: JAPANESE INTERMEDIATE CODE: R250

R250 Receipt of annual fees

Free format text: JAPANESE INTERMEDIATE CODE: R250

R250 Receipt of annual fees

Free format text: JAPANESE INTERMEDIATE CODE: R250

S111 Request for change of ownership or part of ownership

Free format text: JAPANESE INTERMEDIATE CODE: R313113

R360 Written notification for declining of transfer of rights

Free format text: JAPANESE INTERMEDIATE CODE: R360

R360 Written notification for declining of transfer of rights

Free format text: JAPANESE INTERMEDIATE CODE: R360

R371 Transfer withdrawn

Free format text: JAPANESE INTERMEDIATE CODE: R371

S111 Request for change of ownership or part of ownership

Free format text: JAPANESE INTERMEDIATE CODE: R313113

R350 Written notification of registration of transfer

Free format text: JAPANESE INTERMEDIATE CODE: R350

R250 Receipt of annual fees

Free format text: JAPANESE INTERMEDIATE CODE: R250

R250 Receipt of annual fees

Free format text: JAPANESE INTERMEDIATE CODE: R250

R250 Receipt of annual fees

Free format text: JAPANESE INTERMEDIATE CODE: R250

R250 Receipt of annual fees

Free format text: JAPANESE INTERMEDIATE CODE: R250

R250 Receipt of annual fees

Free format text: JAPANESE INTERMEDIATE CODE: R250

R250 Receipt of annual fees

Free format text: JAPANESE INTERMEDIATE CODE: R250

R250 Receipt of annual fees

Free format text: JAPANESE INTERMEDIATE CODE: R250

EXPY Cancellation because of completion of term