JP2010026069A - 振動ミラー素子 - Google Patents

振動ミラー素子 Download PDF

Info

Publication number
JP2010026069A
JP2010026069A JP2008184913A JP2008184913A JP2010026069A JP 2010026069 A JP2010026069 A JP 2010026069A JP 2008184913 A JP2008184913 A JP 2008184913A JP 2008184913 A JP2008184913 A JP 2008184913A JP 2010026069 A JP2010026069 A JP 2010026069A
Authority
JP
Japan
Prior art keywords
substrate
mirror
piezoelectric
base member
mirror element
Prior art date
Legal status (The legal status is an assumption and is not a legal conclusion. Google has not performed a legal analysis and makes no representation as to the accuracy of the status listed.)
Granted
Application number
JP2008184913A
Other languages
English (en)
Other versions
JP5391600B2 (ja
Inventor
Isaku Jinno
伊策 神野
Hidetoshi Kodera
秀俊 小寺
Manabu Murayama
学 村山
Hitoshi Fujii
仁 藤井
Current Assignee (The listed assignees may be inaccurate. Google has not performed a legal analysis and makes no representation or warranty as to the accuracy of the list.)
Funai Electric Co Ltd
Kyoto University NUC
Original Assignee
Funai Electric Co Ltd
Kyoto University NUC
Priority date (The priority date is an assumption and is not a legal conclusion. Google has not performed a legal analysis and makes no representation as to the accuracy of the date listed.)
Filing date
Publication date
Application filed by Funai Electric Co Ltd, Kyoto University NUC filed Critical Funai Electric Co Ltd
Priority to JP2008184913A priority Critical patent/JP5391600B2/ja
Priority to TW098123578A priority patent/TWI463176B/zh
Priority to US12/503,511 priority patent/US8098415B2/en
Priority to CN2009101604597A priority patent/CN101630063B/zh
Priority to KR1020090064379A priority patent/KR20100008764A/ko
Priority to EP09251813A priority patent/EP2146236A3/en
Publication of JP2010026069A publication Critical patent/JP2010026069A/ja
Application granted granted Critical
Publication of JP5391600B2 publication Critical patent/JP5391600B2/ja
Expired - Fee Related legal-status Critical Current
Anticipated expiration legal-status Critical

Links

Images

Classifications

    • GPHYSICS
    • G02OPTICS
    • G02BOPTICAL ELEMENTS, SYSTEMS OR APPARATUS
    • G02B26/00Optical devices or arrangements for the control of light using movable or deformable optical elements
    • G02B26/08Optical devices or arrangements for the control of light using movable or deformable optical elements for controlling the direction of light
    • GPHYSICS
    • G02OPTICS
    • G02BOPTICAL ELEMENTS, SYSTEMS OR APPARATUS
    • G02B26/00Optical devices or arrangements for the control of light using movable or deformable optical elements
    • G02B26/08Optical devices or arrangements for the control of light using movable or deformable optical elements for controlling the direction of light
    • G02B26/0816Optical devices or arrangements for the control of light using movable or deformable optical elements for controlling the direction of light by means of one or more reflecting elements
    • G02B26/0833Optical devices or arrangements for the control of light using movable or deformable optical elements for controlling the direction of light by means of one or more reflecting elements the reflecting element being a micromechanical device, e.g. a MEMS mirror, DMD
    • G02B26/0858Optical devices or arrangements for the control of light using movable or deformable optical elements for controlling the direction of light by means of one or more reflecting elements the reflecting element being a micromechanical device, e.g. a MEMS mirror, DMD the reflecting means being moved or deformed by piezoelectric means
    • BPERFORMING OPERATIONS; TRANSPORTING
    • B81MICROSTRUCTURAL TECHNOLOGY
    • B81BMICROSTRUCTURAL DEVICES OR SYSTEMS, e.g. MICROMECHANICAL DEVICES
    • B81B3/00Devices comprising flexible or deformable elements, e.g. comprising elastic tongues or membranes
    • B81B3/0035Constitution or structural means for controlling the movement of the flexible or deformable elements
    • B81B3/004Angular deflection
    • GPHYSICS
    • G02OPTICS
    • G02BOPTICAL ELEMENTS, SYSTEMS OR APPARATUS
    • G02B26/00Optical devices or arrangements for the control of light using movable or deformable optical elements
    • G02B26/08Optical devices or arrangements for the control of light using movable or deformable optical elements for controlling the direction of light
    • G02B26/10Scanning systems
    • G02B26/101Scanning systems with both horizontal and vertical deflecting means, e.g. raster or XY scanners
    • HELECTRICITY
    • H04ELECTRIC COMMUNICATION TECHNIQUE
    • H04NPICTORIAL COMMUNICATION, e.g. TELEVISION
    • H04N1/00Scanning, transmission or reproduction of documents or the like, e.g. facsimile transmission; Details thereof
    • H04N1/04Scanning arrangements, i.e. arrangements for the displacement of active reading or reproducing elements relative to the original or reproducing medium, or vice versa
    • H04N1/10Scanning arrangements, i.e. arrangements for the displacement of active reading or reproducing elements relative to the original or reproducing medium, or vice versa using flat picture-bearing surfaces
    • H04N1/1013Scanning arrangements, i.e. arrangements for the displacement of active reading or reproducing elements relative to the original or reproducing medium, or vice versa using flat picture-bearing surfaces with sub-scanning by translatory movement of at least a part of the main-scanning components
    • H04N1/1017Scanning arrangements, i.e. arrangements for the displacement of active reading or reproducing elements relative to the original or reproducing medium, or vice versa using flat picture-bearing surfaces with sub-scanning by translatory movement of at least a part of the main-scanning components the main-scanning components remaining positionally invariant with respect to one another in the sub-scanning direction
    • BPERFORMING OPERATIONS; TRANSPORTING
    • B81MICROSTRUCTURAL TECHNOLOGY
    • B81BMICROSTRUCTURAL DEVICES OR SYSTEMS, e.g. MICROMECHANICAL DEVICES
    • B81B2201/00Specific applications of microelectromechanical systems
    • B81B2201/04Optical MEMS
    • B81B2201/042Micromirrors, not used as optical switches
    • BPERFORMING OPERATIONS; TRANSPORTING
    • B81MICROSTRUCTURAL TECHNOLOGY
    • B81BMICROSTRUCTURAL DEVICES OR SYSTEMS, e.g. MICROMECHANICAL DEVICES
    • B81B2203/00Basic microelectromechanical structures
    • B81B2203/01Suspended structures, i.e. structures allowing a movement
    • B81B2203/0109Bridges
    • HELECTRICITY
    • H04ELECTRIC COMMUNICATION TECHNIQUE
    • H04NPICTORIAL COMMUNICATION, e.g. TELEVISION
    • H04N1/00Scanning, transmission or reproduction of documents or the like, e.g. facsimile transmission; Details thereof
    • H04N1/04Scanning arrangements, i.e. arrangements for the displacement of active reading or reproducing elements relative to the original or reproducing medium, or vice versa
    • H04N1/19Scanning arrangements, i.e. arrangements for the displacement of active reading or reproducing elements relative to the original or reproducing medium, or vice versa using multi-element arrays
    • H04N1/191Scanning arrangements, i.e. arrangements for the displacement of active reading or reproducing elements relative to the original or reproducing medium, or vice versa using multi-element arrays the array comprising a one-dimensional array, or a combination of one-dimensional arrays, or a substantially one-dimensional array, e.g. an array of staggered elements
    • H04N1/192Simultaneously or substantially simultaneously scanning picture elements on one main scanning line
    • H04N1/193Simultaneously or substantially simultaneously scanning picture elements on one main scanning line using electrically scanned linear arrays, e.g. linear CCD arrays
    • HELECTRICITY
    • H04ELECTRIC COMMUNICATION TECHNIQUE
    • H04NPICTORIAL COMMUNICATION, e.g. TELEVISION
    • H04N2201/00Indexing scheme relating to scanning, transmission or reproduction of documents or the like, and to details thereof
    • H04N2201/04Scanning arrangements
    • H04N2201/0402Arrangements not specific to a particular one of the scanning methods covered by groups H04N1/04 - H04N1/207
    • H04N2201/0428Stabilising the scanning parts; Preventing vibrations
    • HELECTRICITY
    • H04ELECTRIC COMMUNICATION TECHNIQUE
    • H04NPICTORIAL COMMUNICATION, e.g. TELEVISION
    • H04N2201/00Indexing scheme relating to scanning, transmission or reproduction of documents or the like, and to details thereof
    • H04N2201/04Scanning arrangements
    • H04N2201/0402Arrangements not specific to a particular one of the scanning methods covered by groups H04N1/04 - H04N1/207
    • H04N2201/0458Additional arrangements for improving or optimising scanning resolution or quality

Landscapes

  • Physics & Mathematics (AREA)
  • General Physics & Mathematics (AREA)
  • Optics & Photonics (AREA)
  • Engineering & Computer Science (AREA)
  • Computer Hardware Design (AREA)
  • Microelectronics & Electronic Packaging (AREA)
  • Multimedia (AREA)
  • Signal Processing (AREA)
  • Mechanical Light Control Or Optical Switches (AREA)
  • Mechanical Optical Scanning Systems (AREA)
  • Micromachines (AREA)

Abstract

【課題】長期駆動時の信頼性を向上させるとともに、下部電極と外部との電気的接続が容易な振動ミラー素子を提供する。
【解決手段】この振動ミラー素子100は、ベース部材10と、ミラー部21と、ミラー部21を両側から揺動可能に支持するとともに下部電極として機能する可動部22と、可動部22を支持するとともにベース部材10に取り付けられる取り付け部23とが一体的に形成されたチタンからなる基板20と、基板20の可動部22上に設けられるとともに、周期的な電圧が印加されることによりミラー部21を振動させる圧電膜32と、圧電膜32上に設けられた上部電極33とを備える。
【選択図】図1

Description

この発明は、振動ミラー素子に関し、特に、圧電膜を用いて振動する可動部を備える振動ミラー素子に関する。
従来、圧電膜を用いて振動する可動部を備える振動ミラー素子が知られている(たとえば、特許文献1〜4参照)。
上記特許文献1には、ミラーが設けられたミラー部と、圧電素子が取り付けられる振動入力部と、ミラー部と振動入力部との間に設けられた弾性変形部とが一体的に形成された金属製のプレートと、振動入力部に取り付けられる圧電素子とを備える光スキャナが開示されている。この光スキャナは、圧電素子から共振周波数と等しい振動をプレートに入力することにより、弾性変形部が振動してミラーが設けられたミラー部を振動させるように構成されている。上記特許文献1による光スキャナでは、ミラー部を弾性変形部および振動入力部により片持ち梁状に支持するとともに、この片持ち梁の先端部に相当するミラー部を振動させることにより、ミラーからの反射光を走査させるように構成されている。
上記特許文献2には、基板と、圧電膜を上部電極および下部電極により挟み込んだ平板形状の圧電素子と、圧電素子の表面上に形成されたミラー層と、基板上に設けられるとともに圧電素子の一方の端部を下方から支持する支持部とを備えるミラー素子が開示されている。このミラー素子の基板上に形成された支持部の内部には、接続端子が形成されている。そして、圧電素子の下部電極と接続端子とは、支持部の内部に形成されたコンジット(導管)を介して電気的に接続されている。なお、上記特許文献2には、ミラー素子の基板の材料については記載されていない。
また、上記特許文献3には、中央に配置されるミラー部およびミラー部の両端を揺動可能に支持するねじり梁を一体的に形成したシリコン基板と、シリコン基板が取り付けられる台座と、ミラー部を揺動させるための4つの圧電素子とを備えた振動素子が開示されている。この振動素子のねじり梁は、一方端でミラー部の端部を支持するとともに、他方端は長手方向に二股に分かれてシリコン基板の枠部と連結している。このねじり梁の二股状の部分(他方端近傍)に圧電素子がそれぞれ配置されている。上記特許文献3による振動素子では、ミラー部の両端を支持する一対のねじり梁の二股に分岐した他方端近傍のそれぞれに合計4つの圧電素子が設けられ、これらの圧電素子への通電切替によってミラー部を揺動させるように構成されている。また、この圧電素子は、圧電層を上部電極および下部電極により挟み込んだ構造を有している。
また、上記特許文献4には、金電極およびチタン電極が上下面にそれぞれ形成された圧電基板と、圧電基板の保持部分を有するシリコン基板とを備えた片持ち梁形状の圧電素子が開示されている。この圧電素子では、圧電基板の下面側に溝が形成されている。圧電基板の下面側に形成された金電極およびチタン電極は、圧電基板の溝内に引き出し部分が形成されることによって、圧電素子の外部まで引き出されるように構成されている。
特開平7−181414号公報 特許第3561544号公報 特開2007−271788号公報 特開平10−242795号公報
しかしながら、上記特許文献1に記載の光スキャナでは、ミラー部を片持ち梁状に支持して振動させる構造のため、片持ち梁の端部に相当するミラー部を支持する弾性変形部に応力が集中することにより疲労破壊が生じ易いので、長期駆動時の信頼性が低いという問題点がある。
また、上記特許文献2に記載のミラー素子では、圧電膜を挟み込む下部電極を電気的に接続させるために、圧電素子を支持する支持部の内部に接続端子およびコンジットを形成する必要がある。このため、下部電極と外部との電気的接続を行うための構造が複雑になるという問題点がある。
また、上記特許文献3に記載の振動素子では、シリコン基板の一部であるねじり梁のそれぞれの他方端に圧電素子を配置しているため、それぞれの圧電素子の上部電極だけでなく、下部電極を電気的に接続するための配線パターンなどを形成する必要がある。このため、下部電極と外部との電気的接続を行うための構造が複雑になるという問題点がある。
また、上記特許文献4に記載の圧電素子では、圧電基板に下面側の電極を引き出すための溝を形成するとともに、金電極およびチタン電極の引き出し部分を圧電基板の溝の内部に形成しなければならない。このため、下面側の電極と外部との電気的接続を行うための構造が複雑になるという問題点がある。
この発明は、上記のような課題を解決するためになされたものであり、この発明の1つの目的は、長期駆動時の信頼性を向上させるとともに、下部電極と外部との電気的接続が容易な振動ミラー素子を提供することである。
課題を解決するための手段および発明の効果
この発明の一の局面による振動ミラー素子は、ベース部材と、ミラー部と、ミラー部を両側から揺動可能に支持するとともに下部電極として機能する可動部と、可動部を支持するとともにベース部材に取り付けられる取り付け部とが一体的に形成された金属からなる基板と、基板の可動部上に設けられるとともに、周期的な電圧が印加されることによりミラー部を振動させる圧電膜と、圧電膜上に設けられた上部電極とを備える。
この一の局面による振動ミラー素子では、上記のように、金属からなる基板に、ミラー部と、ミラー部を両側から揺動可能に支持する可動部とを一体的に形成することによって、片持ち梁構造と異なり、両側からミラー部を支持することができるので、可動部への応力集中を緩和することができる。また、基板にたとえばチタンなどの金属を用いることによって、脆性材料であるシリコン基板などを用いる場合と比較して、基板自体の強度を向上させることができる。これにより、長期駆動時の信頼性および衝撃に対する強度を向上させることができる。また、基板の可動部を、可動部上に設けられた圧電膜の下部電極として機能するように構成することによって、基板の任意の部分に対して電極配線を接続すればよいので、外部との電気的接続を容易にすることができる。
上記一の局面による振動ミラー素子において、好ましくは、基板は、チタンまたはチタン合金により形成されている。このように構成すれば、強度、耐衝撃性および疲労強度に優れるとともに、電極材料としても利用可能なチタンまたはチタン合金により基板を形成することができるので、振動ミラー素子の信頼性および強度を向上させることができる。
上記一の局面による振動ミラー素子において、好ましくは、取り付け部は、可動部およびミラー部を取り囲むように枠状に形成されている。このように構成すれば、圧電膜の下部電極として機能する基板の可動部と一体的に形成される取り付け部が枠状に形成されるので、枠状の取り付け部に対してどの方向からでも配線を接続することができる。これにより、外部との電気的接続をより容易に行うことができる。
この場合において、好ましくは、可動部は、ミラー部に一方端が接続される一対の回動軸部と、一対の回動軸部の他方端にそれぞれ接続され、一対の回動軸部に対して略直交するように延びるとともに、2つの圧電膜が所定の間隔を隔てて一直線状にそれぞれ配置される一対の変形部とを含む。このように構成すれば、一直線状に2つの圧電膜が配置されるので、2つの圧電膜に互いに位相の異なる電圧を印加することにより、圧電膜が配置された変形部に沿って互いに方向の異なるたわみ変形を生じさせることができる。これにより、そのたわみ変形を容易に回動軸部の回動に変換することができる。
上記一の局面による振動ミラー素子において、好ましくは、金属からなる基板の取り付け部は、ベース部材に半田接合により取り付けられている。このように構成すれば、基板をベース部材に半田接合によって取り付けるだけで下部電極とベース部とを電気的に接続することができる。これにより、ベース部に対して電気的接続を行えば、外部との電気的接続をより容易に行うことができる。
上記一の局面による振動素子において、好ましくは、基板は、正膨張係数を有する金属材料により形成され、ベース部材は、負膨張係数材料により形成されている。このように構成すれば、駆動時に熱膨張によって基板の内部応力状態が変化して共振周波数が変動してしまう場合に、基板が取り付けられた負膨張係数材料からなるベース部材が収縮変形を起こすことにより、正膨張係数を有する基板の熱膨張による内部応力状態の変化を打ち消すことができるので、温度変化に対して振動ミラー素子の共振周波数が変動するのを抑制することができる。
この場合において、好ましくは、圧電膜は鉛、チタンおよびジルコニウムを主成分とする酸化物により形成され、金属からなる基板と圧電膜との間には、ペロブスカイト構造を有するとともにジルコニウムを含まない材料からなる中間層が形成されている。このように構成すれば、下部電極として機能する基板と圧電膜との間に中間層が形成されることにより、下部電極上に直接鉛(Pb)、チタン(Ti)およびジルコニウム(Zr)を主成分とする酸化物を成膜する場合にジルコニウムが酸化物となり、成膜した表面に析出して結晶の成長を阻害するのを抑制することができる。これにより、欠陥の少ない圧電膜(鉛、チタンおよびジルコニウムを主成分とする酸化物)を成膜することができるので、圧電膜の特性が低下するのを抑制することができる。なお、鉛、チタンおよびジルコニウムを主成分とする酸化物の例としては、チタン酸ジルコン酸鉛(Pb(Zr,Ti)O:PZT)などが挙げられる。
以下、本発明を具体化した実施形態を図面に基づいて説明する。
図1は、本発明の一実施形態による振動素子の全体構成を示した斜視図である。また、図2〜図4は、図1に示した本発明の一実施形態による振動ミラー素子の詳細な構成を示した図である。まず、図1〜図4を参照して、本発明の一実施形態による振動ミラー素子100の構成について説明する。
本発明の一実施形態による振動ミラー素子100は、図1に示すように、ベース部材10と、基板20と、基板20上に配置された4つの圧電素子30a〜30dとから構成されている。
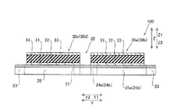
振動ミラー素子100のベース部材10は、図2に示すように、中央部に開口部11が形成された枠状形状を有する。また、図3に示すように、ベース部材10は、平面的に見て四角形状を有する。このベース部材10は、基板20の後述する取り付け部23が所定の取り付け領域(図2の一点鎖線の内側領域)に取り付けられることによって、基板20を固定する役割を果たす。ベース部材10の開口部11は、平面的に見て四角形状を有するとともに、ベース部材10の上面に配置される基板20の後述するミラー部21および可動部22が配置される領域と対応する領域に形成されている。すなわち、基板20のミラー部21および可動部22が、ベース部材10の開口部11上に配置されるように構成されている。
また、図2に示すように、ベース部材10の表面には、接合部13の1つと電気的に接続された接続端子部12が形成されている。接合部13は、平面的に見て、基板20の取り付け部23と重なる領域(図2の一点鎖線の内側領域)に4箇所形成されている。基板20は、取り付け部23がそれぞれの接合部13に半田接合によって取り付けられることにより、ベース部材10に固定されるように構成されている。
また、本実施形態では、ベース部材10は、負膨張係数材料により形成されている。ここで、負膨張係数材料とは、熱膨張係数が負の値を有する材料をいい、たとえばタングステン酸ジルコニウム(ZrW)や、シリコン酸化物(Li−Al−nSiO)などの複合酸化物である。なお、ここに例示した負膨張係数材料は、それぞれ絶縁性を有する。これらの負膨張係数材料により形成されたベース部材10は、絶縁性を有するとともに、温度上昇に伴って収縮するように構成されている。これにより、ベース部材10は、正の膨張係数を有する材料からなる基板20が取り付けられた場合に、駆動時の温度上昇による基板20の熱膨張を収縮変形により打ち消すことができるように構成されている。
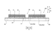
振動ミラー素子100の基板20は、図3に示すように、ミラー部21と、ミラー部21をX方向の両側から揺動可能に支持するH字形状の可動部22と、取り付け部23とから構成されている。また、基板20において、取り付け部23の内側のミラー部21および可動部22が形成されていない領域には、開口部26a〜26dが設けられている。
また、本実施形態では、基板20は、正の膨張係数を有するチタン(Ti)により形成されている。また、基板20は、可動部22上に配置された圧電素子30a〜30dを構成する圧電膜32(図4参照)の下部電極として機能するように構成されている。これにより、圧電素子30a〜30dの下部電極への配線処理を、基板20の任意の部分に対して行うことができるように構成されている。
本実施形態では、基板20は、枠状の取り付け部23がベース部材10に形成された接合部13と半田接合により取り付けられることによって、ベース部材10に形成された接続端子部12と電気的に接続されるように構成されている。これにより、基板20をベース部材10に取り付けるだけで圧電素子30a〜30dの下部電極との配線処理を行うことが可能なように構成されている。なお、図1に示すように、この基板20は、接続端子部12を介して接地されるように構成されている。なお、基板20の表面には、圧電素子30a〜30dの特性向上およびミラー部21の反射性向上のために、後述する白金(Pt)層34(図4参照)が全面に成膜されている。
基板20のミラー部21は、平面的に見て、円形の平板形状を有している。図3に示すように、このミラー部21は、中心を通るX方向の軸線上の両端部を可動部22の後述する回動軸部24aおよび24bよって揺動可能に支持されている。圧電素子30a〜30dに周期的な電圧が印加されることによって可動部22が振動すると、ミラー部21は、この可動部22の振動によって回動軸部24aおよび24bを回動軸として共振振動を行うように構成されている。この際、ミラー部21にレーザー光などを照射すると、ミラー部21の回動角度に応じて反射光の反射角度も変化する。これにより、振動ミラー素子100は、ミラー部21に照射されたレーザー光などの反射光を走査させる機能を有する。
また、本実施形態では、基板20の可動部22は、平面的に見て、ミラー部21を中心としたH字形状を有する。すなわち、可動部22は、ミラー部21に一方端が接続される一対の回動軸部24aおよび24bと、一対の回動軸部24aおよび24bの他方端にそれぞれ接続され、一対の回動軸部24aおよび24bに対して略直行するようにY方向に延びる一対の変形部25aおよび25bとを含んでいる。また、Y方向に延びる一対の変形部25aおよび25bの両端は、枠状の取り付け部23のY方向に対向する辺にそれぞれ接続されている。したがって、可動部22の一対の変形部25aおよび25bは、それぞれY方向の両端を枠状の取り付け部23によって支持されている。また、可動部22の中央に配置されるミラー部21は、揺動軸方向(X方向)の両端から回動軸部24aおよび24bによって支持されている。
また、可動部22の変形部25aおよび25bのそれぞれには、後述する圧電膜32を含む2つの圧電素子30a〜30dが所定の間隔を隔てて一直線状にそれぞれ配置されている。具体的には、可動部22の変形部25aには、回動軸部24aの形成された中央部を挟んで長手方向(Y方向)の両側に、それぞれ変形部25aの延びる方向(Y方向)に沿って一直線状に板状の圧電素子30aおよび30cが配置されている。同様に、変形部25bにも、回動軸部24bの形成された中央部を挟んで長手方向(Y方向)の両側に、それぞれ変形部25bの延びる方向(Y方向)に沿って一直線状に板状の圧電素子30bおよび30dが配置されている。したがって、可動部22には、一対の変形部25aおよび25bに合計4つの圧電素子30a〜30dが配置されている。ここで、圧電素子30a〜30dは、電圧印加によってY方向に伸縮するように構成されている。そして、変形部25aおよび25bは、圧電素子30a〜30dの伸縮によって、それぞれの圧電素子30a〜30dの形成された領域を凸形状(伸張時)または凹形状(収縮時)に湾曲させる。これにより、変形部25aおよび25bの湾曲により回動軸部24aおよび24bの形成された中央部を所定の角度に傾けることによって、回動軸部24aおよび24bに支持されたミラー部21を揺動させるように構成されている。
また、基板20の取り付け部23は、ミラー部21および可動部22の形成される領域を取り囲むように、枠状に形成されている。このように、取り付け部23を枠状に形成することにより、基板20全体の剛性を高めて取り扱いを容易にするとともに、圧電素子30a〜30dの下部電極として機能する基板20の電気的接続を容易にすることが可能なように構成されている。この取り付け部23は、図2に示すように、内周部がベース部材10の開口部11と略同じ形状を有するように形成されている。そして、図2に示すように、枠状に形成された取り付け部23の下面の全面が、ベース部材10の上面の所定の取り付け領域(図2の一点鎖線の内側領域)と当接するように構成されている。
また、図3に示すように、基板20が取り付け部23でベース部材10に取り付けられた状態で、取り付け部23の内側のミラー部21および可動部22が形成されている領域の下方にはベース部材10の開口部11が配置されるように構成されている。これにより、駆動時に、ミラー部21および可動部22とベース部材10が干渉することなく、振動ミラー素子100を駆動させることができるように構成されている。
また、図4に示すように、変形部25aに形成された圧電素子30aおよび30cのそれぞれは、基板20の表面に形成された白金層34上に中間層31、圧電膜32および上部電極33から構成されている。これらの圧電素子30a〜30dは、PZTからなる圧電膜32が膜厚方向(Z方向)に分極されることによって、上部電極33と、下部電極である基板20および白金層34とによって電圧を印加されると、Y方向に伸縮するように構成されている。なお、PZTは、本発明の「鉛、チタンおよびジルコニウムを主成分とする酸化物」の一例である。また、圧電素子30a〜30dはそれぞれ、同一構造および同一形状を有する。以下、圧電素子30aを例にとって説明する。
ここで、本実施形態では、圧電素子30aの中間層31は、ジルコニウム(Zr)を含まないペロブスカイト構造の結晶構造を有する材料から形成されている。この中間層31には、たとえばチタン酸鉛ランタン((Pb,La)TiO(=PLT))、チタン酸鉛(PbTiO)、チタン酸ストロンチウム(SrTiO)およびルテニウム酸ストロンチウム(SrRuO)などを用いることができる。この中間層31を白金層34とPZTからなる圧電膜32との間に形成することによって、白金層34と圧電膜32との界面においてジルコニウムが酸化物となって析出し、PZTからなる圧電膜32の結晶の成長を阻害するのを抑制するように構成されている。この中間層31は、数十nm以上約100nm以下の厚みを有するように構成されている。
また、本実施形態では、中間層31の上面には、PZTからなる圧電膜32が形成されている。この圧電膜32は、2μm〜3μm程度の厚みを有するように構成されている。そして、圧電膜32の上面には、上部電極33が成膜されている。この上部電極33は、たとえば、クロム(Cr)、白金(Pt)、アルミニウム(Al)および金(Au)などからなる。また、この上部電極33の膜厚は、約100nm以上約500nm以下となるように構成されている。
また、白金層34は、基板20の表面上に全面に渡って形成されている。したがって、この白金層は34、基板20の圧電素子30a〜30dの形成される領域以外の部分にも形成されている。白金層34は、ミラー部21の表面において、ミラー表面の反射特性を向上させる機能を有する。一方、圧電素子30a〜30dの形成される領域においては、基板20とともに圧電膜32の下部電極として機能する。すなわち、圧電素子30a〜30dのそれぞれは、白金層34および基板20からなる共通の下部電極を有するように構成されている。また、白金層34の膜厚は、上部電極33と同様に約100nm以上約500nm以下となるように構成されている。
以上のように、圧電素子30aは、中間層31上に成膜された圧電膜32を上部電極33および下部電極である基板20および白金層34により挟み込んだ積層構造を有する。
図5〜7は、図1に示した一実施形態による振動ミラー素子の駆動方法を説明するための図である。次に、図1および図5〜図7を参照して、本発明の一実施形態による振動ミラー素子100の駆動動作を説明する。
まず、図5に示すように、圧電素子30a〜30dのそれぞれの上部電極33は、外部電源と接続され(図1参照)、振動ミラー素子100の共振周波数と略等しい周波数の正弦波状の電圧を印加される。ここで、図1に示すように、4つの圧電素子30a〜30dのうち、Y1方向側に配置される圧電素子30aおよび30bは、それぞれ同位相の電圧(図5参照)が印加される。そして、Y2方向側に配置される圧電素子30cおよび30dに対しては、Y1方向側に配置される圧電素子30aおよび30bとは逆位相の電圧(図5参照)が印加されるように構成されている。また、基板20は、4つの圧電素子30a〜30dに共通の下部電極として機能し、接地されている。このため、圧電素子30a〜30dの伸縮による変形部25aおよび25bの変形は、X方向から見て一致する。
ここで、図5に示すように、変形部25aに配置される圧電素子30aおよび30cに、互いに逆位相の入力電圧が印加されたとする。このとき、図6に示すように、Y1方向側の圧電素子30aに負の電圧が印加されると、圧電素子30aはY方向に縮んで変形部25aの圧電素子30aが形成された部分を凹形状に撓ませる。一方、Y2方向側の圧電素子30cには逆位相の正の電圧が印加されて、圧電素子30cがY方向に伸びるように変位する。これにより、変形部25aの圧電素子30cが形成された部分は、圧電素子30cの伸張によって凸形状に撓む。ここで、変形部25bも同様に変形するので、変形部25aおよび25bは、中央部からY1方向側が相対的に低く(Z2方向側)なり、Y2方向側が相対的に高く(Z1方向側)なるように変形する。これにより、変形部25aおよび25bの中央部に形成された回動軸部24aおよび24bは、Q1方向に傾くこととなるので、回動軸部24aおよび24bに支持されたミラー部21がQ1方向へ回動する。
逆に、図7に示すように、Y1方向側の圧電素子30aに正の電圧が印加され、Y2方向側の圧電素子30cに負の電圧が印加される場合には、変形部25aの圧電素子30aが形成された部分が、圧電素子30aの伸張によって凸形状に撓むとともに、変形部25aの圧電素子30cが形成された部分が圧電素子30cの収縮により凹形状に撓む。ここで、変形部25bも同様に変形するので、変形部25aおよび25bは、中央部からY1方向側が相対的に高く(Z1方向側)なり、Y2方向側が相対的に低く(Z2方向側)なるように変形する。これにより、変形部25aおよび25bの中央部に形成された回動軸部24aおよび24bは、Q2方向に傾くこととなるので、回動軸部24aおよび24bに支持されたミラー部21がQ2方向へ回動する。
上記のように、回動軸部24aおよび24bの形成される変形部25aおよび25bの中央部を挟んでY1方向側の圧電素子30aおよび30bと、Y2方向側の圧電素子30cおよび30dとに互いに逆位相の入力電圧を、振動ミラー素子100の共振周波数と略等しい周波数で印加することにより、ミラー部21が所定の角度で揺動を繰り返す共振振動を行う。
図8〜図12は、図1に示した一実施形態による振動ミラー素子の製造プロセスを説明するための図である。次に、図2、図3および図8〜図12を参照して、本発明の一実施形態による振動ミラー素子100の製造プロセスについて説明する。
まず、図8に示すように、チタン薄板を基板20の形状にエッチングすることにより、基板20を形成する。ここで、チタン薄板の厚みは、約5μm以上約100μm以下とすることができる。このエッチングにより、図3に示すように、ミラー部21と、回動軸部24a、24bおよび変形部25a、25bを有する可動部22と、取り付け部23とが一体的に形成された基板20が得られる。
次に、図9に示すように、基板20上の全面に、スパッタリングや蒸着などの方法により白金層34を成膜する。
次に、圧電素子30a〜30dを形成する。まず、図10に示すように、変形部25aおよび25bの所定の領域に中間層31を成膜する。この際、圧電素子30a〜30dの形成領域をパターニングしたメタルマスクを用い、スパッタリングにより中間層31を形成する。
次に、図11に示すように、中間層31上に、PZTからなる圧電膜32を成膜する。圧電膜32は、中間層31と同様に、圧電素子30a〜30dの形成領域をパターニングしたメタルマスクを用い、スパッタリングにより形成される。
そして、図12に示すように、圧電膜32上に、上部電極33を成膜する。上部電極33も同様に、圧電素子30a〜30dの形成領域をパターニングしたメタルマスクを用い、スパッタリングにより形成される。
以上により、基板20の変形部25aおよび25b上の所定領域に圧電素子30a〜30dが形成される。その後、図2に示すように、基板20の取り付け部23をリフロー方式による半田接合によってベース部材10に取り付ける。ここで、半田接合は、ベース部材10上の4つの接合部13において行う。また、これにより、圧電膜32の下部電極としての基板20が接続端子部12と電気的に接続される。
このようにして、本発明の一実施形態による振動ミラー素子100が形成される。
本実施形態では、上記のように、チタンからなる基板20に、ミラー部21と、ミラー部21を両側から揺動可能に支持する可動部22とを一体的に形成することによって、片持ち梁構造と異なり、両側からミラー部21を支持することができるので、可動部22への応力集中を緩和することができる。また、基板20にチタンを用いることによって、脆性材料であるシリコン基板などを用いる場合と比較して、基板20自体の強度を向上させることができる。これにより、長期駆動時の信頼性および衝撃に対する強度を向上させることができる。また、基板20の可動部22を、可動部22上に設けられた圧電素子30a〜30dのそれぞれの圧電膜32の下部電極として機能するように構成することによって、基板20の任意の部分に対して電極配線を接続すればよいので、外部との電気的接続を容易にすることができる。
本実施形態では、上記のように、基板20を、チタンにより形成することによって、強度、耐衝撃性および疲労強度に優れるとともに、電極材料としても利用可能なチタンにより基板20を形成することができるので、振動ミラー素子100の信頼性および強度を向上させることができる。
本実施形態では、上記のように、取り付け部23を、可動部22およびミラー部21を取り囲むように枠状に形成することによって、圧電膜32の下部電極として機能する基板20の可動部22と一体的に形成される取り付け部23が枠状に形成されるので、枠状の取り付け部23に対してどの方向からでも配線を接続することができる。これにより、外部との電気的接続をより容易に行うことができる。
本実施形態では、上記のように、可動部22は、ミラー部21に一方端が接続される一対の回動軸部24aおよび24bと、一対の回動軸部24aおよび24bの他方端にそれぞれ接続され、一対の回動軸部24aおよび24bに対して略直交するようにY方向に延びるとともに、2つの圧電膜32が所定の間隔を隔てて一直線状にそれぞれ配置される一対の変形部25aおよび25bとを含むことによって、一直線状に2つの圧電膜32が配置されるので、2つの圧電膜32に互いに逆位相の電圧を印加することにより、圧電膜32が配置された一直線状の変形部25aおよび25bに沿って互いに逆方向のたわみ変形を生じさせることができる。これにより、そのたわみ変形を容易に回動軸部24aおよび24bの回動に変換することができる。
本実施形態では、上記のように、チタンからなる基板20の取り付け部23を、ベース部材10に半田接合により取り付けることにより、基板20をベース部材10に半田接合によって取り付けるだけで圧電素子30a〜30dの下部電極とベース部10とを電気的に接続することができる。これにより、ベース部10に対して電気的接続を行えば、外部との電気的接続をより容易に行うことができる。
本実施形態では、上記のように、基板20を、正膨張係数を有する金属材料により形成するとともに、ベース部材10を、負膨張係数材料により形成することによって、駆動時に熱膨張によって基板20の内部応力状態が変化して共振周波数が変動してしまう場合に、基板20が取り付けられた負膨張係数材料からなるベース部材10が収縮変形を起こすことにより、正膨張係数を有する基板20の熱膨張による内部応力状態の変化を打ち消すことができるので、温度変化に対して振動ミラー素子100の共振周波数が変動するのを抑制することができる。
本実施形態では、上記のように、圧電膜32はチタン酸ジルコン酸鉛(PZT)により形成され、チタンからなる基板20と圧電膜32との間に、ペロブスカイト構造を有するとともにジルコニウムを含まない材料からなる中間層31を形成することによって、下部電極として機能する基板20と圧電膜32との間に中間層31が形成されることにより、下部電極(基板20および白金層34)上に直接チタン酸ジルコン酸鉛(PZT)を成膜する場合にジルコニウム(Zr)が酸化物となり、成膜した表面に析出してPZTの結晶の成長を阻害するのを抑制することができる。これにより、欠陥の少ない圧電膜32(PZT)を成膜することができるので、圧電膜32の特性が低下するのを抑制することができる。
なお、今回開示された実施形態は、すべての点で例示であって制限的なものではないと考えられるべきである。本発明の範囲は、上記した実施形態の説明ではなく特許請求の範囲によって示され、さらに特許請求の範囲と均等の意味および範囲内でのすべての変更が含まれる。
たとえば、上記実施形態では、基板20が、チタンからなる例を示したが、本発明はこれに限らず、基板をチタン合金およびチタン以外の金属から形成してもよい。
また、上記実施形態では、圧電膜32の下部電極として機能する基板20の表面には、白金層34が形成されている例を示したが、本発明はこれに限らず、白金層は基板上に形成されていなくともよい。したがって、基板上に直接圧電膜が形成されていてもよい。
また、上記実施形態では、圧電膜32は、チタン酸ジルコン酸鉛(PZT)により形成されている例を示したが、本発明はこれに限らず、圧電膜は、PZT以外の鉛、チタンおよびジルコニウムを主成分とした酸化物からなる圧電材料や、他の圧電材料により形成されていてもよい。たとえば、圧電膜には、酸化亜鉛(ZnO)、チタン酸ジルコン酸ランタン酸鉛((Pb,La)(Zr,Ti)O)、ニオブ酸カリウム(KNbO)、ニオブ酸ナトリウム(NaNbO)などの圧電材料を用いてもよい。
また、上記実施形態では、ベース部材10は、負膨張係数材料であるタングステン酸ジルコニウム(ZrW)や、シリコン酸化物(Li−Al−nSiO)などの複合酸化物により形成されている例を示したが、本発明はこれに限らず、ベース部材は、負膨張係数材料以外の材料により形成されていてもよい。たとえば、プラスチック類材料によりベース部材を形成してもよい。この場合、安価で加工し易いプラスチック類材料を用いることにより、低コスト化を図ることが可能である。
また、上記実施形態では、ベース部材10は、絶縁性材料であるタングステン酸ジルコニウム(ZrW)や、シリコン酸化物(Li−Al−nSiO)などの複合酸化物により形成されている例を示したが、本発明はこれに限らず、ベース部材は、金属などの導電性材料により形成されていてもよい。たとえば、チタンによりベース部材を形成した場合、基板をベース部材に半田接合によって取り付けるだけで電気的に接続することができる。これにより、外部との電気的接続をより容易に行うことができる。
また、上記実施形態では、基板20は、チタン薄板からエッチングにより形成される例を示したが、本発明はこれに限らず、基板は、サンドブラスト、プレス成型、レーザー加工などのエッチング以外の方法により形成してもよい。基板は、所定の形状に形成することが可能であれば加工方法は問わない。基板に用いられる材料に適した方法により形成すればよい。
また、上記実施形態では、中間層31、圧電膜32および上部電極33は、変形部25aおよび25bの圧電素子30a〜30bの形成領域をパターニングしたメタルマスクを用い、スパッタリングにより形成する例を示したが、本発明はこれに限らず、CVD法、ゾルゲル法など、スパッタリング以外の方法により形成されてもよい。
また、上記実施形態では、白金層34と圧電膜32との間にジルコニウム(Zr)を含まないペロブスカイト構造の結晶構造を有する材料からなる中間層31が形成されている例を示したが、本発明はこれに限らず、中間層31を形成することなく直接白金層上に圧電膜を形成してもよい。
また、上記実施形態では、基板20の可動部22は、平面的に見て、ミラー部21を中心としたH字形状を有する例を示したが、本発明はこれに限らず、可動部は、H字形状を有する必要はない。たとえば、可動部22をミラー部21のY方向の両側から揺動可能に支持するように構成してもよい。このようなミラー部を揺動可能に保持する構造は種々の構造が考えられるが、可動部は、ミラー部を揺動軸に沿って両側から揺動可能に支持するように構成されていればよい。
また、上記実施形態では、基板20は、取り付け部23の下面とベース部材10の接合部13とを半田接合することによってベース部材10に取り付けられるように構成されている例を示したが、本発明はこれに限らず、基板は、接着剤などによりベース部材に取り付けられるように構成されていてもよい。
また、上記実施形態では、基板20は、枠状の取り付け部23がベース部材10に形成された接合部13と半田接合により取り付けられることによって、ベース部材10に形成された接続端子部12と電気的に接続されるように構成されている例を示したが、本発明はこれに限らず、基板を接続端子部12と電気的に接続する方法は、他の方法を用いてもよい。基板20には枠状の取り付け部23が形成されているので、この取り付け部23の任意の位置から直接接続端子部12に対して配線パターンを形成してもよい。
また、上記実施形態では、基板20の取り付け部23は、ミラー部21および可動部22の形成される領域を取り囲むように、枠状に形成されている例を示したが、本発明はこれに限らず、取り付け部は、枠状に形成されていなくともよい。たとえば、取り付け部は、一対の変形部25aおよび25bのそれぞれの端部を連結するように形成されていてもよいし、変形部25aおよび25bを長手方向(Y方向)に延長したような形状で形成されていてもよい。
また、上記実施形態では、ミラー部21は、平面的に見て、円形の平板形状を有している例を示したが、本発明はこれに限らず、ミラー部は、平面的に見て、正方形形状や長方形形状を有していてもよい。
本発明の一実施形態による振動ミラー素子の全体構成を示す斜視図である。 本発明の一実施形態による振動ミラー素子の全体構成を示す分解斜視図である。 本発明の一実施形態による振動ミラー素子の全体構成を示す平面図である。 図3に示した本発明の一実施形態による振動ミラー素子の200−200線に沿った断面図である。 本発明の一実施形態による振動ミラー素子の駆動方法を説明するための図である。 本発明の一実施形態による振動ミラー素子の駆動方法を説明するための図である。 本発明の一実施形態による振動ミラー素子の駆動方法を説明するための図である。 本発明の一実施形態による振動ミラー素子の製造プロセスを説明するための図である。 本発明の一実施形態による振動ミラー素子の製造プロセスを説明するための図である。 本発明の一実施形態による振動ミラー素子の製造プロセスを説明するための図である。 本発明の一実施形態による振動ミラー素子の製造プロセスを説明するための図である。 本発明の一実施形態による振動ミラー素子の製造プロセスを説明するための図である。
符号の説明
10 ベース部材
20 基板
21 ミラー部
22 可動部
23 取り付け部
24a、24b 回動軸部
25a、25b 変形部
32 圧電膜
31 中間層
100 振動ミラー素子

Claims (7)

  1. ベース部材と、
    ミラー部と、前記ミラー部を両側から揺動可能に支持するとともに下部電極として機能する可動部と、前記可動部を支持するとともに前記ベース部材に取り付けられる取り付け部とが一体的に形成された金属からなる基板と、
    前記基板の前記可動部上に設けられるとともに、周期的な電圧が印加されることにより前記ミラー部を振動させる圧電膜と、
    前記圧電膜上に設けられた上部電極とを備えた、振動ミラー素子。
  2. 前記基板は、チタンまたはチタン合金により形成されている、請求項1に記載の振動ミラー素子。
  3. 前記取り付け部は、前記可動部および前記ミラー部を取り囲むように枠状に形成されている、請求項1または2に記載の振動ミラー素子。
  4. 前記可動部は、前記ミラー部に一方端が接続される一対の回動軸部と、前記一対の回動軸部の他方端にそれぞれ接続され、前記一対の回動軸部に対して略直交するように延びるとともに、2つの前記圧電膜が所定の間隔を隔てて一直線状にそれぞれ配置される一対の変形部とを含む、請求項3に記載の振動ミラー素子。
  5. 前記金属からなる基板の前記取り付け部は、前記ベース部材に半田接合により取り付けられている、請求項1〜4のいずれか1項に記載の振動ミラー素子。
  6. 前記基板は、正膨張係数を有する金属材料により形成され、
    前記ベース部材は、負膨張係数材料により形成されている、請求項1〜5のいずれか1項に記載の振動ミラー素子。
  7. 前記圧電膜は鉛、チタンおよびジルコニウムを主成分とする酸化物により形成され、
    前記金属からなる基板と前記圧電膜との間には、ペロブスカイト構造を有するとともにジルコニウムを含まない材料からなる中間層が形成されている、請求項1〜6のいずれか1項に記載の振動ミラー素子。
JP2008184913A 2008-07-16 2008-07-16 振動ミラー素子 Expired - Fee Related JP5391600B2 (ja)

Priority Applications (6)

Application Number Priority Date Filing Date Title
JP2008184913A JP5391600B2 (ja) 2008-07-16 2008-07-16 振動ミラー素子
TW098123578A TWI463176B (zh) 2008-07-16 2009-07-13 振動鏡元件
US12/503,511 US8098415B2 (en) 2008-07-16 2009-07-15 Vibrating mirror element
CN2009101604597A CN101630063B (zh) 2008-07-16 2009-07-15 振动镜元件
KR1020090064379A KR20100008764A (ko) 2008-07-16 2009-07-15 진동 미러 소자
EP09251813A EP2146236A3 (en) 2008-07-16 2009-07-16 Vibrating mirror element

Applications Claiming Priority (1)

Application Number Priority Date Filing Date Title
JP2008184913A JP5391600B2 (ja) 2008-07-16 2008-07-16 振動ミラー素子

Publications (2)

Publication Number Publication Date
JP2010026069A true JP2010026069A (ja) 2010-02-04
JP5391600B2 JP5391600B2 (ja) 2014-01-15

Family

ID=41226041

Family Applications (1)

Application Number Title Priority Date Filing Date
JP2008184913A Expired - Fee Related JP5391600B2 (ja) 2008-07-16 2008-07-16 振動ミラー素子

Country Status (6)

Country Link
US (1) US8098415B2 (ja)
EP (1) EP2146236A3 (ja)
JP (1) JP5391600B2 (ja)
KR (1) KR20100008764A (ja)
CN (1) CN101630063B (ja)
TW (1) TWI463176B (ja)

Cited By (7)

* Cited by examiner, † Cited by third party
Publication number Priority date Publication date Assignee Title
EP2827183A1 (en) * 2013-07-17 2015-01-21 Fujifilm Corporation Mirror drive device and driving method thereof
US9331261B2 (en) 2012-12-10 2016-05-03 Panasonic Intellectual Property Management Co., Ltd. Piezoelectric element
JP2016197265A (ja) * 2012-05-07 2016-11-24 パナソニックIpマネジメント株式会社 光学反射素子
US9864189B2 (en) 2013-07-17 2018-01-09 Fujifilm Corporation Mirror drive device and driving method thereof
US10018833B2 (en) 2012-02-03 2018-07-10 Funai Electric Co., Ltd. MEMS device and electronic device having projector function
WO2023021777A1 (ja) * 2021-08-19 2023-02-23 パナソニックIpマネジメント株式会社 駆動素子
WO2023136271A1 (ja) * 2022-01-14 2023-07-20 北陽電機株式会社 梁、揺動素子および光走査装置

Families Citing this family (22)

* Cited by examiner, † Cited by third party
Publication number Priority date Publication date Assignee Title
US8522431B2 (en) 2008-01-09 2013-09-03 Féines Amatech Teoranta Mounting and connecting an antenna wire in a transponder
JP4766353B2 (ja) * 2009-09-28 2011-09-07 独立行政法人産業技術総合研究所 光ビーム走査装置
CN102648577A (zh) * 2009-11-19 2012-08-22 日本先锋公司 驱动装置
JP5669443B2 (ja) * 2010-05-31 2015-02-12 キヤノン株式会社 振動体とその製造方法及び振動波アクチュエータ
WO2013027405A1 (ja) * 2011-08-25 2013-02-28 株式会社ニコン 空間光変調素子および露光装置
JP5323155B2 (ja) * 2011-09-08 2013-10-23 富士フイルム株式会社 ミラー駆動装置及びその駆動方法並びに製造方法
JP5857602B2 (ja) * 2011-10-03 2016-02-10 ミツミ電機株式会社 光走査装置
EP2846370B1 (en) * 2012-05-01 2016-07-06 Konica Minolta, Inc. Piezoelectric element
EP2874312B1 (en) * 2012-07-11 2019-04-17 Skyworks Filter Solutions Japan Co., Ltd. Electronic component
JP2014126725A (ja) * 2012-12-27 2014-07-07 Funai Electric Co Ltd 走査ミラー装置
DE102013219583A1 (de) * 2013-09-27 2015-04-02 Carl Zeiss Smt Gmbh Spiegel, insbesondere für eine mikrolithographische Projektionsbelichtungsanlage
DE102014217798A1 (de) 2014-09-05 2016-03-10 Fraunhofer-Gesellschaft zur Förderung der angewandten Forschung e.V. Mikromechanische piezoelektrische Aktuatoren zur Realisierung hoher Kräfte und Auslenkungen
US10841548B2 (en) * 2016-03-01 2020-11-17 Funai Electric Co., Ltd. Oscillating mirror element and projector
EP3264155B1 (en) * 2016-06-29 2020-09-23 Ricoh Company, Ltd. Piezoelectric actuator, light deflector, and image projection device
WO2018088291A1 (ja) * 2016-11-09 2018-05-17 第一精工株式会社 可動反射素子
JP6924090B2 (ja) 2017-07-21 2021-08-25 浜松ホトニクス株式会社 アクチュエータ装置
JP7386625B2 (ja) * 2019-06-17 2023-11-27 スタンレー電気株式会社 光偏向器の製造方法及び光偏向器
CN112311977B (zh) * 2019-07-26 2022-04-01 中芯集成电路(宁波)有限公司 成像模组及其形成方法、镜头组件
US11175492B2 (en) 2019-08-12 2021-11-16 Microsoft Technology Licensing, Llc Substrate for scanning mirror system
CN113130734A (zh) * 2019-12-31 2021-07-16 中芯集成电路(宁波)有限公司 一种压电驱动结构和成像模组
US11831255B2 (en) 2020-04-25 2023-11-28 Ultimems, Inc. Scanner driven by piezoelectric actuators and method of making the same
CN112817145B (zh) * 2021-01-05 2023-01-17 宁波大学 一种多层执行器阵列驱动的变形镜

Citations (11)

* Cited by examiner, † Cited by third party
Publication number Priority date Publication date Assignee Title
JPH11119145A (ja) * 1997-10-16 1999-04-30 Toshiba Corp ガルバノミラーおよびこれを用いた光ディスク装置
JP2005066727A (ja) * 2003-08-21 2005-03-17 Olympus Corp 半導体装置
JP2005128147A (ja) * 2003-10-22 2005-05-19 Stanley Electric Co Ltd 光偏向器及び光学装置
JP2005164859A (ja) * 2003-12-01 2005-06-23 Olympus Corp 光偏向器アレイ
JP2005249645A (ja) * 2004-03-05 2005-09-15 Matsushita Electric Ind Co Ltd 角速度センサおよびその製造方法
JP2005308863A (ja) * 2004-04-19 2005-11-04 Ricoh Co Ltd 偏向ミラー、光走査装置及び画像形成装置
JP2005333108A (ja) * 2004-04-02 2005-12-02 Matsushita Electric Ind Co Ltd 圧電素子、インクジェットヘッド、角速度センサ及びインクジェット式記録装置
JP2005354026A (ja) * 2004-05-10 2005-12-22 Matsushita Electric Ind Co Ltd 圧電素子及びインクジェットヘッド並びにそれらの製造方法、並びにインクジェット式記録装置
JP2007268374A (ja) * 2006-03-30 2007-10-18 Brother Ind Ltd 振動素子、振動素子の製造方法、光走査装置、画像形成装置及び画像表示装置
JP2008020540A (ja) * 2006-07-11 2008-01-31 Ricoh Co Ltd 光走査装置及び画像形成装置
JP2008083603A (ja) * 2006-09-28 2008-04-10 Brother Ind Ltd 光走査素子、光走査装置、光走査型表示装置及び網膜走査型表示装置

Family Cites Families (21)

* Cited by examiner, † Cited by third party
Publication number Priority date Publication date Assignee Title
JPH07181414A (ja) 1993-12-22 1995-07-21 Omron Corp 光スキャナ
US5861979A (en) 1994-01-18 1999-01-19 Daewoo Electronics Co., Ltd. Array of thin film actuated mirrors having an improved optical efficiency and an increased performance
KR950024553A (ko) 1994-01-18 1995-08-21 배순훈 광로조절장치 및 제조방법
JPH08306980A (ja) 1995-03-08 1996-11-22 Fuji Electric Co Ltd 圧電素子ユニット及びその製造方法並びにその圧電素子ユニットを用いたインクジェット記録ヘッド
JPH10242795A (ja) 1997-02-26 1998-09-11 Matsushita Electric Ind Co Ltd 圧電素子とその製造方法
US5768009A (en) * 1997-04-18 1998-06-16 E-Beam Light valve target comprising electrostatically-repelled micro-mirrors
WO1999000989A1 (en) * 1997-06-30 1999-01-07 Daewoo Electronics Co., Ltd. Thin film actuated mirror including a seeding member and an electrodisplacive member made of materials having the same crystal structure and growth direction
CN2354150Y (zh) * 1998-12-30 1999-12-15 中国科学院光电技术研究所 新型集成式多元压电变形反射镜
CN1258854A (zh) * 1998-12-30 2000-07-05 中国科学院光电技术研究所 集成式多元压电变形反射镜
US6784771B1 (en) * 2001-07-24 2004-08-31 New Peregrine, Inc. MEMS optical mirror array
US6844952B2 (en) * 2001-09-18 2005-01-18 Vitesse Semiconductor Corporation Actuator-controlled mirror with Z-stop mechanism
DE10359102A1 (de) * 2003-12-17 2005-07-21 Carl Zeiss Smt Ag Optische Komponente umfassend ein Material mit einer vorbestimmten Homogenität der thermischen Längsausdehnung
JP5221037B2 (ja) * 2005-01-05 2013-06-26 日本電信電話株式会社 ミラー装置
JP4691704B2 (ja) * 2005-04-13 2011-06-01 独立行政法人産業技術総合研究所 光走査装置
JP2007149317A (ja) 2005-10-26 2007-06-14 Funai Electric Co Ltd 可変形ミラー及びそれを備えた光ピックアップ装置
JP2007199682A (ja) * 2005-12-27 2007-08-09 Konica Minolta Holdings Inc 光偏向器および光ビーム走査装置
JP4893067B2 (ja) 2006-03-30 2012-03-07 ブラザー工業株式会社 振動素子、振動素子の製造方法、光走査装置、画像形成装置及び画像表示装置
JP2008040299A (ja) * 2006-08-09 2008-02-21 Funai Electric Co Ltd 形状可変ミラー及び形状可変ミラーの製造方法
JP4245015B2 (ja) * 2006-08-11 2009-03-25 セイコーエプソン株式会社 有機エレクトロルミネッセンス装置、有機エレクトロルミネッセンス装置の製造方法並びに電子機器
US8390912B2 (en) * 2007-01-10 2013-03-05 Seiko Epson Corporation Actuator, optical scanner and image forming device
US8427727B2 (en) * 2008-01-22 2013-04-23 Alcatel Lucent Oscillating mirror for image projection

Patent Citations (11)

* Cited by examiner, † Cited by third party
Publication number Priority date Publication date Assignee Title
JPH11119145A (ja) * 1997-10-16 1999-04-30 Toshiba Corp ガルバノミラーおよびこれを用いた光ディスク装置
JP2005066727A (ja) * 2003-08-21 2005-03-17 Olympus Corp 半導体装置
JP2005128147A (ja) * 2003-10-22 2005-05-19 Stanley Electric Co Ltd 光偏向器及び光学装置
JP2005164859A (ja) * 2003-12-01 2005-06-23 Olympus Corp 光偏向器アレイ
JP2005249645A (ja) * 2004-03-05 2005-09-15 Matsushita Electric Ind Co Ltd 角速度センサおよびその製造方法
JP2005333108A (ja) * 2004-04-02 2005-12-02 Matsushita Electric Ind Co Ltd 圧電素子、インクジェットヘッド、角速度センサ及びインクジェット式記録装置
JP2005308863A (ja) * 2004-04-19 2005-11-04 Ricoh Co Ltd 偏向ミラー、光走査装置及び画像形成装置
JP2005354026A (ja) * 2004-05-10 2005-12-22 Matsushita Electric Ind Co Ltd 圧電素子及びインクジェットヘッド並びにそれらの製造方法、並びにインクジェット式記録装置
JP2007268374A (ja) * 2006-03-30 2007-10-18 Brother Ind Ltd 振動素子、振動素子の製造方法、光走査装置、画像形成装置及び画像表示装置
JP2008020540A (ja) * 2006-07-11 2008-01-31 Ricoh Co Ltd 光走査装置及び画像形成装置
JP2008083603A (ja) * 2006-09-28 2008-04-10 Brother Ind Ltd 光走査素子、光走査装置、光走査型表示装置及び網膜走査型表示装置

Cited By (9)

* Cited by examiner, † Cited by third party
Publication number Priority date Publication date Assignee Title
US10018833B2 (en) 2012-02-03 2018-07-10 Funai Electric Co., Ltd. MEMS device and electronic device having projector function
JP2016197265A (ja) * 2012-05-07 2016-11-24 パナソニックIpマネジメント株式会社 光学反射素子
US9331261B2 (en) 2012-12-10 2016-05-03 Panasonic Intellectual Property Management Co., Ltd. Piezoelectric element
EP2827183A1 (en) * 2013-07-17 2015-01-21 Fujifilm Corporation Mirror drive device and driving method thereof
US9678335B2 (en) 2013-07-17 2017-06-13 Fujifilm Corporation Mirror drive device and driving method thereof
US9864189B2 (en) 2013-07-17 2018-01-09 Fujifilm Corporation Mirror drive device and driving method thereof
WO2023021777A1 (ja) * 2021-08-19 2023-02-23 パナソニックIpマネジメント株式会社 駆動素子
WO2023136271A1 (ja) * 2022-01-14 2023-07-20 北陽電機株式会社 梁、揺動素子および光走査装置
JP2023103695A (ja) * 2022-01-14 2023-07-27 北陽電機株式会社 梁、揺動素子および光走査装置

Also Published As

Publication number Publication date
EP2146236A2 (en) 2010-01-20
TW201007207A (en) 2010-02-16
US20100014143A1 (en) 2010-01-21
CN101630063A (zh) 2010-01-20
TWI463176B (zh) 2014-12-01
CN101630063B (zh) 2013-06-19
JP5391600B2 (ja) 2014-01-15
EP2146236A3 (en) 2012-05-16
KR20100008764A (ko) 2010-01-26
US8098415B2 (en) 2012-01-17

Similar Documents

Publication Publication Date Title
JP5391600B2 (ja) 振動ミラー素子
US8508826B2 (en) Meandering oscillator, optical reflecting element using meandering oscillator, and image projection device using meandering oscillator
CN102959454B (zh) 光学反射元件
CN103827725B (zh) 光学反射元件
JP2014215534A (ja) 光走査装置
JP2010148265A (ja) ミアンダ形振動子およびこれを用いた光学反射素子
JP4193817B2 (ja) アクチュエータ
JP2011069954A (ja) 光スキャナ
JP2009258210A (ja) 光学反射素子
JP2009265560A (ja) 光学反射素子
JP2009186721A (ja) 光学反射素子
JP2009258339A (ja) 光学反射素子
JP2009223115A (ja) 光学反射素子
JP2009210955A (ja) 光スキャナ
JP2013160891A (ja) 振動ミラー素子およびプロジェクタ機能を有する電子機器
JP2007326204A (ja) アクチュエータ
JP2009192781A (ja) 光学反射素子
JP2009217093A (ja) 光学反射素子
JP2010060688A (ja) 光学反射素子
JP5045532B2 (ja) 光学反射素子
JP2001272626A (ja) 光スキャナ
JP5045463B2 (ja) 光学反射素子
JP2011137911A (ja) 振動ミラー素子
JP6960889B2 (ja) 光走査装置およびその駆動方法
JP4175272B2 (ja) アクチュエータ

Legal Events

Date Code Title Description
A621 Written request for application examination

Free format text: JAPANESE INTERMEDIATE CODE: A621

Effective date: 20110715

A521 Request for written amendment filed

Free format text: JAPANESE INTERMEDIATE CODE: A523

Effective date: 20110831

A521 Request for written amendment filed

Free format text: JAPANESE INTERMEDIATE CODE: A821

Effective date: 20110902

A977 Report on retrieval

Free format text: JAPANESE INTERMEDIATE CODE: A971007

Effective date: 20120618

A131 Notification of reasons for refusal

Free format text: JAPANESE INTERMEDIATE CODE: A131

Effective date: 20120703

A521 Request for written amendment filed

Free format text: JAPANESE INTERMEDIATE CODE: A523

Effective date: 20120831

A711 Notification of change in applicant

Free format text: JAPANESE INTERMEDIATE CODE: A711

Effective date: 20120907

A521 Request for written amendment filed

Free format text: JAPANESE INTERMEDIATE CODE: A821

Effective date: 20120910

A131 Notification of reasons for refusal

Free format text: JAPANESE INTERMEDIATE CODE: A131

Effective date: 20130702

A521 Request for written amendment filed

Free format text: JAPANESE INTERMEDIATE CODE: A523

Effective date: 20130828

TRDD Decision of grant or rejection written
A01 Written decision to grant a patent or to grant a registration (utility model)

Free format text: JAPANESE INTERMEDIATE CODE: A01

Effective date: 20130917

A61 First payment of annual fees (during grant procedure)

Free format text: JAPANESE INTERMEDIATE CODE: A61

Effective date: 20130930

R150 Certificate of patent or registration of utility model

Free format text: JAPANESE INTERMEDIATE CODE: R150

LAPS Cancellation because of no payment of annual fees