JP2010023221A - 砥石のツルーイング方法およびツルーイング装置 - Google Patents

砥石のツルーイング方法およびツルーイング装置 Download PDF

Info

Publication number
JP2010023221A
JP2010023221A JP2008191221A JP2008191221A JP2010023221A JP 2010023221 A JP2010023221 A JP 2010023221A JP 2008191221 A JP2008191221 A JP 2008191221A JP 2008191221 A JP2008191221 A JP 2008191221A JP 2010023221 A JP2010023221 A JP 2010023221A
Authority
JP
Japan
Prior art keywords
truer
truing
grindstone
total
grinding wheel
Prior art date
Legal status (The legal status is an assumption and is not a legal conclusion. Google has not performed a legal analysis and makes no representation as to the accuracy of the status listed.)
Granted
Application number
JP2008191221A
Other languages
English (en)
Other versions
JP5206194B2 (ja
Inventor
Satoshi Okubo
聡 大久保
Takayuki Yoshimi
隆行 吉見
Current Assignee (The listed assignees may be inaccurate. Google has not performed a legal analysis and makes no representation or warranty as to the accuracy of the list.)
JTEKT Corp
Original Assignee
JTEKT Corp
Priority date (The priority date is an assumption and is not a legal conclusion. Google has not performed a legal analysis and makes no representation as to the accuracy of the date listed.)
Filing date
Publication date
Application filed by JTEKT Corp filed Critical JTEKT Corp
Priority to JP2008191221A priority Critical patent/JP5206194B2/ja
Publication of JP2010023221A publication Critical patent/JP2010023221A/ja
Application granted granted Critical
Publication of JP5206194B2 publication Critical patent/JP5206194B2/ja
Expired - Fee Related legal-status Critical Current
Anticipated expiration legal-status Critical

Links

Images

Landscapes

  • Grinding-Machine Dressing And Accessory Apparatuses (AREA)
  • Polishing Bodies And Polishing Tools (AREA)

Abstract

【課題】総形ツルアにより仕上げツルーイングを行った場合であっても、総形ツルアの形状精度を長期間維持でき、且つ、総形ツルアの寿命を向上できる砥石のツルーイング方法およびツルーイング装置を提供する。
【解決手段】砥石43のツルーイング方法は、砥石43に対して単石、多石または薄刃状の非総形ツルア57、58により粗ツルーイングを行う粗ステップと、粗ツルーイング後の砥石43に対して総形ツルア56aにより仕上げツルーイングを行う仕上げステップとを含む。
【選択図】図3

Description

本発明は、砥石のツルーイング方法およびツルーイング装置に関するものである。
砥石をツルーイングするツルアには、単石、多石または薄刃状の非総形ツルアや、所定形状に予め成形された総形ツルアがある。なお、本明細書中において、非総形ツルアとは、総形ツルアでないツルアの総称であって、少なくとも単石ツルア、多石ツルアおよび薄刃状ツルアの何れかが含まれる意味である。そして、特開2000−84852号公報(特許文献1)の従来の技術に記載されているように、総形ツルアを使用しない場合には、任意の形状を形成するために、NCツルーイングを行うことが多い。しかし、NCツルーイングは、高精度なツルーイングが可能であり、形状変更に対してフレキシブルに対応できるものの、シングルポイント旋回であるためドレスに時間がかかると共に、先端ダイヤモンド部分の摩耗が速く進行し、ツルーイング量が多い場合にツルーイング開始時とツルーイング終了時の形状に誤差が生じ易いという欠点がある。
また、総形ツルアを適用する場合には、次の問題を生じる。総形ツルアの形状が砥石の形状に転写されるため、総形ツルアの形状精度を維持することは極めて重要である。しかし、溝を研削加工する場合などには、総形ツルアの形状精度を維持することは容易ではない。このことについて、図6を用いて説明する。
図6(a)に示すように、砥石43を総形ツルア100によりツルーイングした後に、図6(b)に示すように、ワークWの溝形状を砥石43により研削するとする。このとき、一般に、研削代Aは位置によって異なるため、砥石43の部位によって摩耗量が異なる。図6(b)では、砥石43の先端部分Bが最も摩耗することになる。その後、図6(c)に示すように、Cの部分が偏摩耗した砥石43となる。この偏摩耗した砥石43を総形ツルア100によりツルーイングすると、図6(d)に示すように、砥石43の形状が総形ツルア100に転写され、総形ツルア100の形状が変形してしまう。その結果、砥石43を目標形状に成形できず、ワークWの形状精度が悪化することになる。従って、このように総形ツルア100が変形すると、寿命として新しい総形ツルアと交換しなければならなかった。
以上のように、NCツルーイングと総形ツルアとは、それぞれ問題があるため、特許文献1に、双方を有する研削盤が記載されている。具体的には、総形ツルア(総形ドレッサー)により、粗ドレスを行った後、NCツルーイング(NCドレッサー)により、仕上げドレスを行うとされている。このようにすることで、双方の欠点を相互に補完し合うとされている。
特開2000−84852号公報
しかし、NCツルーイング装置を有することは、やはり高コストとなる。さらに、NCツルーイングにより仕上げを行うと、仕上げに要する時間が、総形ツルアによる仕上げ時間より長くなる。従って、仕上げツルーイングは、NCツルーイング装置を用いずに、総形ツルアを用いることが望ましい。しかし、上述したように、総形ツルアは、形状精度の維持および寿命の点で課題がある。
本発明は、このような事情に鑑みてなされたものであり、総形ツルアにより仕上げツルーイングを行った場合であっても、総形ツルアの形状精度を長期間維持でき、且つ、総形ツルアの寿命を向上できる砥石のツルーイング方法およびツルーイング装置を提供することを目的とする。
以下、上記課題を解決するのに適した各手段につき、必要に応じて作用効果等を付記しつつ説明する。
(手段1)手段1に係る砥石のツルーイング方法は、
砥石に対して、単石ツルア、多石ツルアおよび薄刃状ツルアの少なくとも何れかを含む非総形ツルアにより粗ツルーイングを行う粗ステップと、
前記粗ツルーイング後の前記砥石に対して総形ツルアにより仕上げツルーイングを行う仕上げステップと、
を含むことを特徴とする。
手段1によれば、粗ツルーイングとして非総形ツルアを用い、仕上げツルーイングとしては、総形ツルアを用いている。これにより、砥石が偏摩耗したとしても、非総形ツルアによりある程度成形されることになる。従って、総形ツルアにより仕上げツルーイングを行う際には、砥石の偏摩耗がほとんどなくなる。その結果、総形ツルアの形状精度を維持でき、総形ツルアの寿命を大幅に向上できる。そして、形状精度が良好な総形ツルアによる仕上げツルーイングを行うことで、NCツルーイングにより仕上げを行う場合に比べて、短時間で且つ高精度な砥石のツルーイングが可能となる。
(手段2)手段1の砥石のツルーイング方法において、前記非総形ツルアは、前記砥石に対する相対位置を変化させるような揺動を不能に設けられている。
つまり、手段2によれば、非総形ツルアを用いるが、NCツルーイングは行わない。もともと、本発明に適用する非総形ツルアは、粗ツルーイングに用いるためのものであるため、NCツルーイングに要求されるような高精度は必要ない。従って、本手段によれば、高価であるNCツルーイング装置を用いないため、低コスト化にも寄与する。
(手段3)手段1または2の砥石のツルーイング方法において、前記非総形ツルアと前記総形ツルアは、一体的に形成されている一体ツルアを構成する。
従来、NCツルーイングを行わない非総形ツルアと、総形ツルアとが、一つの研削盤に適用されることはなかった。本発明において、非総形ツルアを粗ツルーイングという今まで適用していない用途に適用することで、非総形ツルアと総形ツルアとを一つの研削盤に適用することになった。そして、本発明では、複雑な構成からなるNCツルーイングを行わないため、総形ツルアと非総形ツルアを一体化することができたものである。このように、手段3によれば、総形ツルアと非総形ツルアとが一体ツルアを構成することで、小型化、且つ、省スペース化を図ることができる。さらに、部品点数の削減にも寄与する。
(手段4)手段3の砥石のツルーイング方法において、前記一体ツルアは、凹溝と、前記凹溝の両側に肩部とを有し、前記総形ツルアは、前記凹溝であり、前記非総形ツルアは、前記肩部に設けられる。
手段4によれば、非総形ツルアを一体ツルアの肩部に設けることで、容易に砥石の粗ツルーイングを行うことができる。
(手段5)手段4の砥石のツルーイング方法において、前記非総形ツルアは、前記肩部の両側それぞれに設けられる第一の非総形ツルアおよび第二の非総形ツルアを有する。
仮に、非総形ツルアが一方のみしかない場合には、砥石形状によっては、砥石と一体ツルアとが干渉するため、砥石のツルーイングができない場合がある。このような場合であっても、手段5によれば、肩部の一方に設けられた第一の非総形ツルアと、肩部の他方に設けられた第二の非総形ツルアとを有することで、砥石と一体ツルアが干渉することは回避できる。従って、種々の形状からなる砥石に対して適用が可能となる。
(手段6)手段5の砥石のツルーイング方法において、
前記砥石は、円盤状からなり、
前記粗ステップは、前記砥石のツルーイング部位のうち一方の端面側に対して前記第一の非総形ツルアにより前記粗ツルーイングを行う第一の粗ステップと、前記砥石のツルーイング部位のうち他方の端面側に対して前記第二の非総形ツルアにより前記粗ツルーイングを行う第二の粗ステップとを含む。
手段6によれば、確実に円盤状の砥石の粗ツルーイングが可能となる。
(手段7)手段4〜6の何れかの砥石のツルーイング方法において、前記非総形ツルアは、前記肩部のうち端面側角部に設けられる。
手段7によれば、砥石と一体ツルアとの干渉を回避できる。従って、対象となる砥石の形状に自由度が高くなる。
(手段8)手段3〜7の何れかの砥石のツルーイング方法において、前記一体ツルアは、回転可能なロータリーツルアである。
手段8によれば、一体ツルアのうち総形ツルアをロータリーツルアとして適用することができ、且つ、一体ツルアのうち非総形ツルアについても、ロータリーツルアとして適用することができる。
(手段9)手段1の砥石のツルーイング方法において、前記総形ツルアは、それ自身を回転させながら前記仕上げツルーイングを行うロータリーツルアである。
手段9によれば、総形ツルアをロータリーツルアとして適用することで、高精度に仕上げツルーイングが可能となる。
(手段10)手段1の砥石のツルーイング方法において、前記非総形ツルアは、それ自身を回転させながら前記粗ツルーイングを行うロータリーツルアである。
手段10によれば、非総形ツルアをロータリーツルアとして適用することで、容易に粗ツルーイングが可能となる。
(手段11)手段11のツルーイング装置は、
単石、多石または薄刃状からなり、砥石の粗ツルーイングを行う非総形ツルアと、
総形からなり、前記粗ツルーイング後の前記砥石の仕上げツルーイングを行う総形ツルアと、
を備えることを特徴とする。
手段11によれば、粗ツルーイングとして非総形ツルアを用い、仕上げツルーイングとしては、総形ツルアを用いている。これにより、砥石が偏摩耗したとしても、非総形ツルアによりある程度成形されることになる。従って、総形ツルアにより仕上げツルーイングを行う際には、砥石の偏摩耗がほとんどなくなる。その結果、総形ツルアの形状精度を維持でき、総形ツルアの寿命を大幅に向上できる。そして、形状精度が良好な総形ツルアによる仕上げツルーイングを行うことで、NCツルーイングにより仕上げを行う場合に比べて、短時間で且つ高精度な砥石のツルーイングが可能となる。
なお、上述した本発明の砥石のツルーイング方法としての他の特徴部分を、本手段のツルーイング装置に同様に適用できる。この場合の効果は、上記のツルーイング方法としてのそれぞれの効果と同様の効果を奏する。
以下、本発明のツルーイング装置を含む研削盤について図面を参照しつつ説明する。
<第一実施形態>
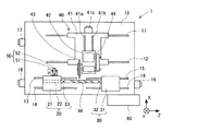
第一実施形態の研削盤1について、図1を参照して説明する。図1は、研削盤1の平面図である。研削盤1は、ベッド10と、主軸台20と、心押台30と、砥石支持装置40と、ツルーイング装置50と、制御装置60から構成される。なお、本実施形態においては、例えば、ワークWであるボールねじのねじ溝を研削加工する研削盤を例に挙げて説明する。
ベッド10は、ほぼ矩形状からなり、床上に配置される。このベッド10の上面には、砥石支持装置40を構成する砥石台トラバースベース41が摺動可能な砥石台用ガイドレール11、12が、図1の左右方向(Z軸方向)に延びるように、且つ、相互に平行に形成されている。さらに、ベッド10の上面のうち、砥石台用ガイドレール11、12より図1の下側には、主軸台20が摺動可能な第一ガイドレール13、14が、図1の左右方向(Z軸方向)に延びるように、且つ、相互に平行に形成されている。また、ベッド10の上面のうち、第一ガイドレール13、14より図1の右側には、心押台30が摺動可能な第二ガイドレール15、16が、図1の左右方向(Z軸方向)の延びるように、且つ、相互に平行に形成されている。
また、ベッド10には、砥石台用ガイドレール11、12の間に、砥石台トラバースベース41を図1の左右方向に駆動するための、砥石台用Z軸ボールねじ(図示せず)が配置され、この砥石台用Z軸ボールねじを回転駆動する砥石台用Z軸モータ17が配置されている。さらに、ベッド10には、第一ガイドレール13、14の間に、主軸台20を図1の左右方向に駆動するための、第一Z軸ボールねじ(図示せず)が配置され、この第一Z軸ボールねじを回転駆動する第一Z軸モータ18が配置されている。ベッド10には、第二ガイドレール15、16の間に、心押台30を図1の左右方向に駆動するための、第二Z軸ボールねじ(図示せず)が配置され、この第二Z軸ボールねじを回転駆動する第二Z軸モータ19が配置されている。
主軸台20は、主軸台本体21と、主軸22と、主軸センタ23とを備えている。主軸台本体21は、ベッド10の上面のうち、第一ガイドレール13、14上を摺動可能に配置されている。そして、主軸台本体21は、第一ボールねじのナット部材に連結されており、第一Z軸モータ18の駆動により第一ガイドレール13、14に沿って移動する。この主軸台本体21の内部には、主軸22が主軸軸周り(図1のZ軸周り)に回転可能に挿通支持されている。この主軸22の右端に、ワークWの軸方向一端を支持する主軸センタ23が取り付けられている。
心押台30は、心押台本体31と、心押センタ32とを備えている。心押台本体31は、ベッド10の上面のうち、第二ガイドレール15、16上を摺動可能に配置されている。そして、心押台本体31は、第二ボールねじのナット部材に連結されており、第二Z軸モータ19の駆動により第二ガイドレール15、16に沿って移動する。この心押台本体31は、図1の左右方向に貫通する穴が形成されている。この心押台本体31の貫通孔に、心押センタ32が回転可能に挿通支持されている。この心押センタ32の回転軸は、主軸22の主軸軸と同軸上に位置している。そして、この心押センタ32は、ワークWの軸方向他端を支持する。つまり、心押センタ32は、主軸センタ23に対向するように配置されている。そして、主軸センタ23と心押センタ32とにより、ワークWの両端を支持している。このように、ワークWは、主軸センタ23および心押センタ32により、主軸軸周り(Z軸周り)に回転可能に保持されている。
砥石支持装置40は、砥石台トラバースベース41と、砥石台42と、砥石車43と、砥石回転用モータ44とを備えている。砥石台トラバースベース41は、矩形の平板状に形成されており、ベッド10の上面のうち、砥石台用ガイドレール11、12上を摺動可能に配置されている。砥石台トラバースベース41は、砥石台用ボールねじのナット部材に連結されており、砥石台用Z軸モータ17の駆動により砥石台用ガイドレール11、12に沿って移動する。この砥石台トラバースベース41の上面には、砥石台42が摺動可能なX軸ガイドレール41a、41bが、図1の上下方向(X軸方向)に延びるように、且つ、相互に平行に形成されている。さらに、砥石台トラバースベース41には、X軸ガイドレール41a、41bの間に、砥石台42を図1の上下方向に駆動するための、X軸ボールねじ(図示せず)が配置され、このX軸ボールねじを回転駆動するX軸モータ41cが配置されている。
砥石台42は、砥石台トラバースベース41の上面のうち、X軸ガイドレール41a、41b上を摺動可能に配置されている。そして、砥石台42は、X軸ボールねじのナット部材に連結されており、X軸モータ41cの駆動によりX軸ガイドレール41a、41bに沿って移動する。つまり、砥石台42は、ベッド10、主軸台20および心押台30に対して、X軸方向およびZ軸方向に相対移動可能となる。
そして、この砥石台42のうち図1の下側部分には、図1の左右方向に貫通する穴が形成されている。この砥石台42の貫通孔に、砥石車回転軸部材が、砥石中心軸周り(Z軸周り)に回転可能に支持されている。この砥石車回転軸部材の一端(図1の左端)に、砥石車43が同軸的に取り付けられている。また、砥石台42の上面には、砥石回転用モータ44が固定されている。そして、砥石車回転軸部材の他端(図1の右端)と砥石回転用モータ44の回転軸とにプーリが懸架されることで、砥石回転用モータ44の駆動により、砥石車43が砥石軸周りに回転する。
ツルーイング装置50は、ベッド10上のうち、主軸台20の図1の上側に配置されている。ツルーイング装置50は、ベッド10に載置された支持部材51と、支持部材51に水平軸周り(C軸)に回転可能に支持された一体ツルア52とを備えている。一体ツルア52は、円盤状からなり、砥石車43の外周面を成形するために用いられる。つまり、一体ツルア52は、回転可能なロータリーツルアである。この一体ツルア52の詳細形状については後述する。
制御装置60は、主軸22の回転、砥石台42のX軸位置およびZ軸位置をNC制御している。つまり、制御装置60により、砥石車43を回転させながら、砥石車43の長尺ワークWに対するX軸位置およびZ軸位置を制御することで、ワークWの外周面にねじ溝を研削加工する。
次に、ツルーイング装置50を構成する一体ツルア52について、図2を参照して説明する。図2は、一体ツルア52の拡大側面図である。一体ツルア52は、ツルア本体部56と、第一の多石ツルア57と、第二の多石ツルア58とから構成されており、ツルア本体部56と第一、第二の多石ツルア57、58とが一体的に形成されてなる。
ツルア本体部56は、ダイヤモンドなどにより形成された円盤状からなり、外周面に凹溝56aが形成されている。この凹溝56aは、砥石車43の外周面を所望の形状にツルーイングすることが可能な凹形状からなる。つまり、この凹溝56aは、いわゆる総形ツルアを構成する。この総形ツルアを構成するツルア本体部56の凹溝56aは、砥石車43の外周面を仕上げツルーイングするために用いられる。また、ツルア本体部56は、凹溝56aの両側に肩部56b、56cを有している。この肩部56b、56cは、当然に、凹溝56aよりも外周側に突出している。そして、肩部56b、56cの外周面は、円柱状外周面を形成している。
第一、第二の多石ツルア57、58は、ツルア本体部56の肩部56b、56cそれぞれの外周面の軸方向端部(端面側角部)に、一体的に取り付けられた複数の単石ダイヤからなる。これら複数の単石ダイヤは、周方向に等間隔毎に取り付けられている。さらに、第一、第二の多石ツルア57、58をなすそれぞれの単石ダイヤは、径方向外側に尖り部を有する。つまり、第一、第二の多石ツルア57、58は、一体ツルア52の中で、最も径方向外側に突出している。このように、第一、第二の多石ツルア57、58は、非総形ツルアを構成する。この非総形ツルアを構成する第一、第二の多石ツルア57、58は、砥石車43の外周面を粗ツルーイングするために用いられる。
なお、非総形ツルアを構成する第一、第二の多石ツルア57、58は、ツルア本体部56に一体的に取り付けられているので、砥石車43に対する相対位置を変化させるような揺動を不能に設けられている。つまり、第一、第二の多石ツルア57、58は、NCツルーイング装置とは異なり、単なるロータリーツルアをなす。
次に、上述した一体ツルア52により砥石車43をツルーイングする方法について、図3を参照して説明する。図3(a)〜図3(d)は、砥石車43のツルーイング方法の工程図である。なお、図3(b)〜図3(d)において、二点差線は、研削加工前の砥石車43の外周面形状を示す。
図3(a)に示すように、例えば、ワークWに凹溝を研削する場合を考える。このとき、ワークWの研削代Aは、位置によって異なる。従って、砥石車43の軸方向部位によって摩耗量が異なる。その結果、図3(b)に示すように、砥石車43の外周面は、研削加工前における外周面形状に対して、研削代Aが最も大きな部位を研削した砥石車43の軸方向中央部分が最も摩耗する。つまり、砥石車43の外周面は、研削加工前の外周面形状に比べて大きく変形する。
そこで、砥石車43のツルーイングを行う。まず図3(b)に示すように、砥石車43のツルーイング部位のうち一方の端面側(図3(b)の右側)に対して、第一の多石ツルア57により粗ツルーイングを行う(第一の粗ステップ)。この粗ツルーイングは、砥石車43を回転させながら、且つ、一体ツルア52を回転させながら行う。この結果、図3(c)に示すように、砥石車43の一方端面側が、研削加工前における砥石車43の外周面形状と同程度の形状ができる。ただし、第一の多石ツルア57による断続的なツルーイングのため、砥石車43の外周面はそれほど高精度ではない。ここで、砥石車43の一方端面側のみを、第一の多石ツルア57により粗ツルーイングするのは、砥石車43と一体ツルア52が干渉することを回避するためである。
続いて、図3(c)に示すように、砥石車43のツルーイング部位のうち他方の端面側(図3(c)の左側)に対して、第二の多石ツルア58により粗ツルーイングを行う(第二の粗ステップ)。この粗ツルーイングは、砥石車43を回転させながら、且つ、一体ツルア52を回転させながら行う。この結果、図3(d)に示すように、砥石車43の他方端面側も、研削加工前における砥石車43の外周面形状と同程度の形状ができる。ただし、第二の多石ツルア58による断続的なツルーイングのため、砥石車43の外周面はそれほど高精度ではない。ここで、砥石車43の他方端面側のみを、第二の多石ツルア58により粗ツルーイングするのは、砥石車43と一体ツルア52が干渉することを回避するためである。
続いて、図3(d)に示すように、粗ツルーイング後の砥石車43に対して、総形ツルアをなすツルア本体部56の凹溝56aにより、仕上げツルーイングを行う(仕上げステップ)。この仕上げツルーイングは、砥石車43を回転させながら、且つ、一体ツルア52を回転させながら行う。これにより、より高精度な砥石車43の外周面形状を成形する。
以上より、粗ツルーイングとして多石ツルア57、58である非総形ツルアを用い、仕上げツルーイングとしては、ツルア本体56の凹溝56aである総形ツルアを用いている。これにより、砥石車43が偏摩耗したとしても、非総形ツルアによりある程度成形されることになる。従って、総形ツルアにより仕上げツルーイングを行う際には、砥石車43の偏摩耗がほとんどなくなる。その結果、総形ツルアの形状精度を維持でき、総形ツルアの寿命を大幅に向上できる。そして、形状精度が良好な総形ツルアによる仕上げツルーイングを行うことで、NCツルーイングにより仕上げを行う場合に比べて、短時間で且つ高精度な砥石のツルーイングが可能となる。
さらに、総形ツルアをなすツルア本体56と、非総形ツルアをなす多石ツルア57、58とが、一体的に形成された一体ツルア52を構成している。総形ツルアと非総形ツルアとが一体ツルアを構成することで、小型化、且つ、省スペース化を図ることができる。さらに、部品点数の削減にも寄与する。
また、非総形ツルアをなす多石ツルア57、58をツルア本体部56の肩部56b、56cに設けることで、容易に砥石車43の粗ツルーイングを行うことができる。
<第一実施形態の変形態様>
第一実施形態においては、多石ツルア57、58の尖り部が、ツルア本体部56の径方向外側を向くように、多石ツルア57、58はツルア本体部56に一体的に取り付けられていた。この他に、図4に示すように、多石ツルア157、158を構成する単石ダイヤの尖り部が、ツルア本体部56の径方向外側且つ軸方向両外側を向くように、多石ツルア157、158はツルア本体部56に一体的に取り付けられている。これにより、第一実施形態に比べて、砥石車43をツルーイングする際に、砥石車43と一体ツルア152との干渉をより確実に回避することができる。
また、第一実施形態においては、多数の単石ダイヤを設けて多石ツルア57、58を構成したが、ツルア本体部56の外周面に、周方向に一つの単石ダイヤが取り付けられるようにしてもよい。この場合は、一体ツルア52自体が回転しないように位置決めされた状態でツルーイングを行う(本発明の単石ツルアに相当)こともできる。
<第二実施形態>
第二実施形態の一体ツルア252について、図5を参照して説明する。図5は、一体ツルア252の拡大側面図である。一体ツルア252は、ツルア本体部56と、薄刃状のロータリーツルア(非総形ツルア)257とから構成されており、ツルア本体部56と薄刃状のロータリーツルア257とが一体的に形成されてなる。薄刃状のロータリーツルア257は、ツルア本体部56の軸方向幅に比べると非常に薄肉の円盤状からなる。この薄刃状のロータリーツルア257の外周面は、尖り部を有する。そして、薄刃状のロータリーツルア257は、ツルア本体部56の一方の肩部56bに設けられ、当該肩部56bよりも十分に径方向外側に突出している。
このように、第一実施形態における多石ツルア57、58に代えて、薄刃状のロータリーツルア257とした場合にも、実質的に、第一実施形態と同様の効果を奏する。また、薄刃状のロータリーツルア257であれば、ツルア本体部56の肩部56bからの突出量は、単石ダイヤに比べると十分に大きくできる。従って、一つの薄刃状のロータリーツルア257のみを設けたとしても、粗ツルーイングの際に、砥石車43と一体ツルア252との干渉を容易に回避できる。もちろん、干渉が問題になるのであれば、薄刃状のロータリーツルア257を両肩部56b、56cに設けることも可能である。
さらに、周方向に連続的な薄刃状のロータリーツルア257を用いて粗ツルーイングを行うことで、粗ツルーイングの形状精度が向上する。従って、仕上げツルーイングを行うことによって、総形ツルアを構成するツルア本体部56の凹溝56aの形状が変化することを抑制できる。
なお、上記実施形態においては、総形ツルアを構成するツルア本体部56と、非総形ツルアを構成する多石ツルア57、58または薄刃状のロータリーツルア257とが一体的に形成されて、一体ツルア52、252をなすものとした。これに限られず、両者が別体であってもよい。この場合、それぞれが回転可能なロータリーツルアを構成するとよい。
研削盤1の平面図である。 第一実施形態における一体ツルア52の拡大側面図である。 砥石車43のツルーイング方法の工程図である。 第一実施形態の変形態様における一体ツルア152の拡大側面図である。 第二実施形態における一体ツルア252の拡大側面図である。 従来における砥石車43のツルーイング方法を説明する図である。
符号の説明
1:研削盤、 10:ベッド、 20:主軸台、 30:心押台、 40:砥石支持装置
50:ツルーイング装置、 51:支持部材、 52、152、252:一体ツルア
56:ツルア本体部、 56a:凹溝(総形ツルア)、
57、58、157、158:多石ツルア(非総形ツルア)
257:薄刃状のロータリーツルア
60:制御装置

Claims (11)

  1. 砥石に対して、単石ツルア、多石ツルアおよび薄刃状ツルアの少なくとも何れかを含む非総形ツルアにより粗ツルーイングを行う粗ステップと、
    前記粗ツルーイング後の前記砥石に対して総形ツルアにより仕上げツルーイングを行う仕上げステップと、
    を含むことを特徴とする砥石のツルーイング方法。
  2. 前記非総形ツルアは、前記砥石に対する相対位置を変化させるような揺動を不能に設けられている請求項1に記載の砥石のツルーイング方法。
  3. 前記非総形ツルアと前記総形ツルアは、一体的に形成されている一体ツルアを構成する請求項1または2に記載の砥石のツルーイング方法。
  4. 前記一体ツルアは、凹溝と、前記凹溝の両側に肩部とを有し、
    前記総形ツルアは、前記凹溝であり、
    前記非総形ツルアは、前記肩部に設けられる請求項3に記載の砥石のツルーイング方法。
  5. 前記非総形ツルアは、前記肩部の両側それぞれに設けられる第一の非総形ツルアおよび第二の非総形ツルアを有する請求項4に記載の砥石のツルーイング方法。
  6. 前記砥石は、円盤状からなり、
    前記粗ステップは、前記砥石のツルーイング部位のうち一方の端面側に対して前記第一の非総形ツルアにより前記粗ツルーイングを行う第一の粗ステップと、前記砥石のツルーイング部位のうち他方の端面側に対して前記第二の非総形ツルアにより前記粗ツルーイングを行う第二の粗ステップとを含む請求項5に記載の砥石のツルーイング方法。
  7. 前記非総形ツルアは、前記肩部のうち端面側角部に設けられる請求項4〜6の何れか一項に記載の砥石のツルーイング方法。
  8. 前記一体ツルアは、回転可能なロータリーツルアである請求項3〜7の何れか一項に記載の砥石のツルーイング方法。
  9. 前記総形ツルアは、それ自身を回転させながら前記仕上げツルーイングを行うロータリーツルアである請求項1に記載の砥石のツルーイング方法。
  10. 前記非総形ツルアは、それ自身を回転させながら前記粗ツルーイングを行うロータリーツルアである請求項1に記載の砥石のツルーイング方法。
  11. 単石、多石または薄刃状からなり、砥石の粗ツルーイングを行う非総形ツルアと、
    総形からなり、前記粗ツルーイング後の前記砥石の仕上げツルーイングを行う総形ツルアと、
    を備えることを特徴とするツルーイング装置。
JP2008191221A 2008-07-24 2008-07-24 砥石のツルーイング方法およびツルーイング装置 Expired - Fee Related JP5206194B2 (ja)

Priority Applications (1)

Application Number Priority Date Filing Date Title
JP2008191221A JP5206194B2 (ja) 2008-07-24 2008-07-24 砥石のツルーイング方法およびツルーイング装置

Applications Claiming Priority (1)

Application Number Priority Date Filing Date Title
JP2008191221A JP5206194B2 (ja) 2008-07-24 2008-07-24 砥石のツルーイング方法およびツルーイング装置

Publications (2)

Publication Number Publication Date
JP2010023221A true JP2010023221A (ja) 2010-02-04
JP5206194B2 JP5206194B2 (ja) 2013-06-12

Family

ID=41729534

Family Applications (1)

Application Number Title Priority Date Filing Date
JP2008191221A Expired - Fee Related JP5206194B2 (ja) 2008-07-24 2008-07-24 砥石のツルーイング方法およびツルーイング装置

Country Status (1)

Country Link
JP (1) JP5206194B2 (ja)

Cited By (4)

* Cited by examiner, † Cited by third party
Publication number Priority date Publication date Assignee Title
KR20170129825A (ko) * 2015-03-18 2017-11-27 에르빈 융커 마쉬넨파브리크 게엠베하 그루브가 있는 워크피스를 연삭하기 위한 방법 및 연삭 머신
CN115464521A (zh) * 2022-08-15 2022-12-13 广州市敏嘉制造技术有限公司 用于电子刹车系统丝杠轴加工的机床和复合加工工艺
CN115870884A (zh) * 2021-09-29 2023-03-31 内蒙古中环协鑫光伏材料有限公司 一种籽晶砂轮修整方法
CN118386301A (zh) * 2024-06-24 2024-07-26 索菲亚家居股份有限公司 一种覆膜人造板的同步自动化脱膜与修边装置及方法

Citations (6)

* Cited by examiner, † Cited by third party
Publication number Priority date Publication date Assignee Title
JPS61144956A (ja) * 1984-12-19 1986-07-02 Fujitsu Denso Ltd 応答検出回路
JPH05208367A (ja) * 1992-01-29 1993-08-20 Nippon Seiko Kk 研削用砥石の目立て装置
JPH0929632A (ja) * 1995-07-17 1997-02-04 Topcon Corp レンズ研削砥石ドレッシング方法及びこれに用いるドレッシング装置
JP2001293646A (ja) * 2000-04-18 2001-10-23 Canon Inc 光学素子の研削加工方法およびツルーイング装置を備えた粗研削加工機
JP2004098200A (ja) * 2002-09-06 2004-04-02 Meiji Univ 円筒研削盤用ロータリードレッサ
JP2006334748A (ja) * 2005-06-06 2006-12-14 Seiko Instruments Inc 内面研削砥石、研削装置、及び成形装置

Patent Citations (6)

* Cited by examiner, † Cited by third party
Publication number Priority date Publication date Assignee Title
JPS61144956A (ja) * 1984-12-19 1986-07-02 Fujitsu Denso Ltd 応答検出回路
JPH05208367A (ja) * 1992-01-29 1993-08-20 Nippon Seiko Kk 研削用砥石の目立て装置
JPH0929632A (ja) * 1995-07-17 1997-02-04 Topcon Corp レンズ研削砥石ドレッシング方法及びこれに用いるドレッシング装置
JP2001293646A (ja) * 2000-04-18 2001-10-23 Canon Inc 光学素子の研削加工方法およびツルーイング装置を備えた粗研削加工機
JP2004098200A (ja) * 2002-09-06 2004-04-02 Meiji Univ 円筒研削盤用ロータリードレッサ
JP2006334748A (ja) * 2005-06-06 2006-12-14 Seiko Instruments Inc 内面研削砥石、研削装置、及び成形装置

Cited By (7)

* Cited by examiner, † Cited by third party
Publication number Priority date Publication date Assignee Title
KR20170129825A (ko) * 2015-03-18 2017-11-27 에르빈 융커 마쉬넨파브리크 게엠베하 그루브가 있는 워크피스를 연삭하기 위한 방법 및 연삭 머신
JP2018511488A (ja) * 2015-03-18 2018-04-26 エルヴィン ユンカー マシーネンファブリーク ゲゼルシャフト ミット ベシュレンクテル ハフツングErwin Junker Maschinenfabrik GmbH 溝を有する工作物を研削する方法および研削機
KR102542334B1 (ko) 2015-03-18 2023-06-14 에르빈 융커 마쉬넨파브리크 게엠베하 그루브가 있는 워크피스를 연삭하기 위한 방법 및 연삭 머신
CN115870884A (zh) * 2021-09-29 2023-03-31 内蒙古中环协鑫光伏材料有限公司 一种籽晶砂轮修整方法
CN115464521A (zh) * 2022-08-15 2022-12-13 广州市敏嘉制造技术有限公司 用于电子刹车系统丝杠轴加工的机床和复合加工工艺
CN115464521B (zh) * 2022-08-15 2023-12-12 广州市敏嘉制造技术有限公司 用于电子刹车系统丝杠轴加工的机床和复合加工工艺
CN118386301A (zh) * 2024-06-24 2024-07-26 索菲亚家居股份有限公司 一种覆膜人造板的同步自动化脱膜与修边装置及方法

Also Published As

Publication number Publication date
JP5206194B2 (ja) 2013-06-12

Similar Documents

Publication Publication Date Title
JP5416956B2 (ja) 研削ホイールのツルーイング工具及びその製作方法、これを用いたツルーイング装置、研削ホイールの製作方法、並びにウェハーエッジ研削装置
JP5285416B2 (ja) 内歯車研削盤及び樽形ねじ状工具のドレッシング方法
JP5010389B2 (ja) 樽形ウォーム状工具のドレッシング方法及びドレッシング装置及び内歯車研削盤
CN101224552B (zh) 圆盘状基板的磨削方法、磨削装置
JP2009214291A (ja) 歯車研削機の操作方法
JPWO2006054674A1 (ja) 砥石車
JP2016510265A (ja) 高度な表面品質を備えたシャフト部品の高精度センターレス研削のための方法及び研削工具
EP0626235A2 (en) Centerless grinder and wheel truing device therefor
JP5206194B2 (ja) 砥石のツルーイング方法およびツルーイング装置
JP5383556B2 (ja) 歯車研削用砥石のツルーイング方法及び歯車研削盤
US20090280726A1 (en) Truing device and truing method for grinding wheel
JP2008073838A (ja) トラバース研削装置及び加工方法
JP5703761B2 (ja) 研削盤および砥石車のツルーイング方法
JP5668486B2 (ja) ツルーイング方法および研削盤
JP6127657B2 (ja) 回転砥石のツルーイング方法及びそのツルーイング方法を実施するための研削盤
JP2003291069A (ja) 研削盤用の砥石及びこの砥石を使用する研削方法
JP5699537B2 (ja) 研削方法および複合研削盤
JP4929790B2 (ja) 砥石車のツルーイング方法
JP5085941B2 (ja) 円筒研削盤および円筒研削盤による外面研削方法
JP5445081B2 (ja) ツルーイング方法
JP2001252870A (ja) 研削砥石の研削及び目立て方法
JP7398096B2 (ja) 回転砥石の研削面修正方法
JP2011104676A (ja) 砥石車整形機およびこれを用いた砥石車の製造方法
JP4788132B2 (ja) 砥石車装置及びこれを備えた研削盤
JP2006035399A (ja) 研削加工方法

Legal Events

Date Code Title Description
A621 Written request for application examination

Free format text: JAPANESE INTERMEDIATE CODE: A621

Effective date: 20110624

A521 Request for written amendment filed

Free format text: JAPANESE INTERMEDIATE CODE: A523

Effective date: 20120423

TRDD Decision of grant or rejection written
A01 Written decision to grant a patent or to grant a registration (utility model)

Free format text: JAPANESE INTERMEDIATE CODE: A01

Effective date: 20130122

A977 Report on retrieval

Free format text: JAPANESE INTERMEDIATE CODE: A971007

Effective date: 20130124

A61 First payment of annual fees (during grant procedure)

Free format text: JAPANESE INTERMEDIATE CODE: A61

Effective date: 20130204

FPAY Renewal fee payment (event date is renewal date of database)

Free format text: PAYMENT UNTIL: 20160301

Year of fee payment: 3

R150 Certificate of patent or registration of utility model

Ref document number: 5206194

Country of ref document: JP

Free format text: JAPANESE INTERMEDIATE CODE: R150

Free format text: JAPANESE INTERMEDIATE CODE: R150

LAPS Cancellation because of no payment of annual fees