JP2010022617A - 内視鏡の光学系装置およびこれを備えた内視鏡 - Google Patents

内視鏡の光学系装置およびこれを備えた内視鏡 Download PDF

Info

Publication number
JP2010022617A
JP2010022617A JP2008188186A JP2008188186A JP2010022617A JP 2010022617 A JP2010022617 A JP 2010022617A JP 2008188186 A JP2008188186 A JP 2008188186A JP 2008188186 A JP2008188186 A JP 2008188186A JP 2010022617 A JP2010022617 A JP 2010022617A
Authority
JP
Japan
Prior art keywords
optical system
endoscope
adhesive
optical element
system apparatus
Prior art date
Legal status (The legal status is an assumption and is not a legal conclusion. Google has not performed a legal analysis and makes no representation as to the accuracy of the status listed.)
Granted
Application number
JP2008188186A
Other languages
English (en)
Other versions
JP5124376B2 (ja
Inventor
Kazuaki Takahashi
一昭 高橋
Akira Kitano
亮 北野
Takashi Yashiro
孝 矢代
Tsuneki Yamamoto
恒喜 山本
Current Assignee (The listed assignees may be inaccurate. Google has not performed a legal analysis and makes no representation or warranty as to the accuracy of the list.)
Fujinon Corp
Original Assignee
Fujinon Corp
Priority date (The priority date is an assumption and is not a legal conclusion. Google has not performed a legal analysis and makes no representation as to the accuracy of the date listed.)
Filing date
Publication date
Application filed by Fujinon Corp filed Critical Fujinon Corp
Priority to JP2008188186A priority Critical patent/JP5124376B2/ja
Priority to EP20090009375 priority patent/EP2148232B1/en
Priority to US12/507,744 priority patent/US20100022841A1/en
Publication of JP2010022617A publication Critical patent/JP2010022617A/ja
Application granted granted Critical
Publication of JP5124376B2 publication Critical patent/JP5124376B2/ja
Active legal-status Critical Current
Anticipated expiration legal-status Critical

Links

Images

Classifications

    • GPHYSICS
    • G02OPTICS
    • G02BOPTICAL ELEMENTS, SYSTEMS OR APPARATUS
    • G02B23/00Telescopes, e.g. binoculars; Periscopes; Instruments for viewing the inside of hollow bodies; Viewfinders; Optical aiming or sighting devices
    • G02B23/24Instruments or systems for viewing the inside of hollow bodies, e.g. fibrescopes
    • G02B23/2407Optical details
    • G02B23/2423Optical details of the distal end
    • G02B23/243Objectives for endoscopes
    • AHUMAN NECESSITIES
    • A61MEDICAL OR VETERINARY SCIENCE; HYGIENE
    • A61BDIAGNOSIS; SURGERY; IDENTIFICATION
    • A61B1/00Instruments for performing medical examinations of the interior of cavities or tubes of the body by visual or photographical inspection, e.g. endoscopes; Illuminating arrangements therefor
    • A61B1/00064Constructional details of the endoscope body
    • A61B1/00071Insertion part of the endoscope body
    • A61B1/0008Insertion part of the endoscope body characterised by distal tip features
    • AHUMAN NECESSITIES
    • A61MEDICAL OR VETERINARY SCIENCE; HYGIENE
    • A61BDIAGNOSIS; SURGERY; IDENTIFICATION
    • A61B1/00Instruments for performing medical examinations of the interior of cavities or tubes of the body by visual or photographical inspection, e.g. endoscopes; Illuminating arrangements therefor
    • A61B1/00064Constructional details of the endoscope body
    • A61B1/00071Insertion part of the endoscope body
    • A61B1/0008Insertion part of the endoscope body characterised by distal tip features
    • A61B1/00096Optical elements
    • AHUMAN NECESSITIES
    • A61MEDICAL OR VETERINARY SCIENCE; HYGIENE
    • A61BDIAGNOSIS; SURGERY; IDENTIFICATION
    • A61B1/00Instruments for performing medical examinations of the interior of cavities or tubes of the body by visual or photographical inspection, e.g. endoscopes; Illuminating arrangements therefor
    • A61B1/12Instruments for performing medical examinations of the interior of cavities or tubes of the body by visual or photographical inspection, e.g. endoscopes; Illuminating arrangements therefor with cooling or rinsing arrangements
    • A61B1/127Instruments for performing medical examinations of the interior of cavities or tubes of the body by visual or photographical inspection, e.g. endoscopes; Illuminating arrangements therefor with cooling or rinsing arrangements with means for preventing fogging
    • GPHYSICS
    • G02OPTICS
    • G02BOPTICAL ELEMENTS, SYSTEMS OR APPARATUS
    • G02B7/00Mountings, adjusting means, or light-tight connections, for optical elements
    • G02B7/02Mountings, adjusting means, or light-tight connections, for optical elements for lenses
    • G02B7/025Mountings, adjusting means, or light-tight connections, for optical elements for lenses using glue

Landscapes

  • Health & Medical Sciences (AREA)
  • Life Sciences & Earth Sciences (AREA)
  • Physics & Mathematics (AREA)
  • Surgery (AREA)
  • Optics & Photonics (AREA)
  • Biomedical Technology (AREA)
  • Animal Behavior & Ethology (AREA)
  • Radiology & Medical Imaging (AREA)
  • Nuclear Medicine, Radiotherapy & Molecular Imaging (AREA)
  • Engineering & Computer Science (AREA)
  • Biophysics (AREA)
  • Heart & Thoracic Surgery (AREA)
  • Medical Informatics (AREA)
  • Molecular Biology (AREA)
  • Pathology (AREA)
  • General Health & Medical Sciences (AREA)
  • Public Health (AREA)
  • Veterinary Medicine (AREA)
  • General Physics & Mathematics (AREA)
  • Astronomy & Astrophysics (AREA)
  • Endoscopes (AREA)
  • Instruments For Viewing The Inside Of Hollow Bodies (AREA)
  • Lens Barrels (AREA)

Abstract

【課題】内視鏡の先端部の気密性を高めて、光学素子の結露によるくもりを確実に防止することができる内視鏡の光学系装置およびこれを備えた内視鏡を提供する。
【解決手段】内視鏡30の挿入部31の先端側に設けられた光学素子のうち、最も観察対象側に配置された第1の光学素子G1と、該第1の光学素子G1に対面して空気層Sを介して気密接合された第2の光学素子G2との間で、光学素子G1、G2同士の接合面55を第1の接着剤57で接合するとともに、接合面55の端部周縁が第1の接着剤57よりも透湿度の低い第2の接着剤61で覆うようにした。
【選択図】図3

Description

本発明は、内視鏡の挿入部の先端側に設けられ、複数の光学素子を配列した光学系を有する内視鏡の光学系装置およびこれを備えた内視鏡に関する。
体腔内等の観察・検査を行う内視鏡は、体腔内等に挿入される挿入部に、照明手段及び観察手段を備えている。照明手段は、光源装置からの照明光を伝送するライトガイドを有し、挿入部先端にライトガイドからの照明光を出射させる照明用レンズが装着される。観察手段は、体腔内の画像情報を外部に取り出すための対物光学系を備え、体腔内の映像をモニタ装置などに表示する。対物光学系は、複数枚のレンズから構成され、挿入部先端に配置されて外部に露出するレンズには、検査中に体液等の汚損物が付着して観察視野が悪くなることがあり、ノズルから洗浄水を噴射して汚損物を洗い流すことが行われる。
挿入部は、検査中、固体撮像素子やライトガイド等の発熱により、40〜50℃程度の温まった状態で使用される。このような温度の高いレンズの外面に、10〜20℃程度の温度の低い洗浄水が噴射されると、レンズが急速に冷却され、対物レンズ内に水分が浸入していると結露してレンズの内面側に付着し、観察映像の画質が低下する問題点があった。
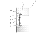
このようなレンズの結露を防止するため、種々の提案がなされている(例えば、特許文献1、特許文献2参照)。特許文献1に記載の内視鏡1は、図6に示すように、先端構成部材3に設けられた先端カバーレンズ収容座5およびフィルタ収容座7に、それぞれ先端カバーレンズ9およびフィルタ11を配置し、先端カバーレンズ9およびフィルタ11の外周面と各収容座5、7との隙間に接着剤13を充填して固定することによって、先端部の気密性を確保して内部への水分の浸入を防止している。
また、特許文献2に記載の光学系装置21は、図7に示すように、レンズ枠23内に配列された第1の光学素子25と第2の光学素子27とを備える。第1の光学素子25と第2の光学素子27との接合面29を、接合手段(接着剤)によって気密接合することによって、第1の光学素子25と第2の光学素子27との間に形成された空気層Sを気密状態に密閉し、この空気層S内への水分の浸入を防止している。
特開昭61−107210号公報 特開平5−281492号公報
ところが、上記特許文献1に記載の内視鏡1では、先端カバーレンズ9の外周面と先端カバーレンズ収容座5の内周面、およびフィルタ11の外周面とフィルタ収容座7の内周面との間に、接着剤13の層が設けているのみであり、水分、特に水分子が接着剤13の層を通って内部に浸入する可能性がある。また、特許文献2に記載の光学系装置21では、空気層Sを気密状態に密閉するのは、第1の光学素子25と第2の光学素子27との接合面29を接着する接合手段(接着剤)だけであり、この狭い接合面29だけの接着では、必ずしも密閉性が十分とはいえず、水分が浸入し易くなることがあった。また、透湿度が低いものの、接着力が低いために使えない耐湿性を保証する光学素子の接着には使用できない場合もある。
本発明は、上述した事情に鑑みてなされたものであり、その目的は、内視鏡の先端部の気密性を高めて、光学素子の結露によるくもりを確実に防止することができる内視鏡の光学系装置およびこれを備えた内視鏡を提供することにある。
本発明は下記構成からなる。
(1) 内視鏡の挿入部の先端側に設けられ、複数の光学素子を配列した光学系を有する内視鏡の光学系装置であって、
前記光学素子のうち最も観察対象側に配置された第1の光学素子と、該第1の光学素子に対面して空気層を介して気密接合された第2の光学素子との間で、
前記光学素子同士の接合面を第1の接着剤で接合するとともに、前記接合面の端部周縁を前記第1の接着剤よりも透湿度の低い第2の接着剤で覆うことを特徴とする内視鏡の光学系装置。
このように構成された内視鏡の光学系装置においては、第1の光学素子と第2の光学素子との接合面を、第1の接着剤により接着するとともに、その接合面の端部周縁を透湿度の低い第2の接着剤で覆うようにしたので、外部からの水分が、接合面の端部周縁から接合界面を伝って、第1の光学素子と第2の光学素子との間の空気層に入り込むことが確実に防止できる。これにより、結露の発生を未然に防止して観察映像の画質低下を防止することができる。
また、第1の接着剤によって接着強度を確保し、透湿度の低い第2の接着剤によって耐湿性を確保するようにして、各特性に優れた接着剤を使い分けることで、気密性および接着強度が高い光学系装置とすることができる。
(2) (1)記載の内視鏡の光学系装置であって、前記第1の光学素子が、前記第2の光学素子と対面する片側に凹部を有する片凹レンズであることを特徴とする内視鏡の光学系装置。
このように構成された内視鏡の光学系装置においては、第1の光学素子である片凹レンズの凹部と、第2の光学素子との間に介在する空気層に、外部からの水分が浸入することを防止できる。これにより、片凹レンズの結露によるくもりの発生を防止できる。
(3) (2)記載の内視鏡の光学系装置であって、前記第2の光学素子が、平行平板であることを特徴とする内視鏡の光学系装置。
このように構成された内視鏡の光学系装置においては、第2の光学素子が平行平板であるので、第1の光学素子との接着時に光軸などの位置合わせを厳密に行う必要がなく、組み立て工程を簡単にすることができる。
(4) (1)〜(3)のいずれか1項記載の内視鏡の光学系装置であって、前記第1の光学素子の外径より前記第2の光学素子の外径が小さく、該第1、第2の光学素子を互いに接合したときに生じる段付部に前記第2の接着剤を塗着させたことを特徴とする内視鏡の光学系装置。
このように構成された内視鏡の光学系装置においては、第2の光学素子の外径が、第1の光学素子の外径より小さいことで形成される段付部に、透湿度の低い第2の接着剤を塗着させることにより、外部の水分が、この第2の接着剤の通過することをほぼ阻止できる。これにより、第1の光学素子と第2の光学素子との間に介在する空気層に水分が入り込むことが防止される。また、径方向外側に第2の接着剤がはみ出すことなく、光学系装置をコンパクトにすることができる。
(5) (1)〜(4)のいずれか1項記載の内視鏡の光学系装置であって、前記光学素子の外周に該光学素子を保持するレンズホルダを有し、該レンズホルダの内周面と前記第1および第2の光学素子との間に密閉空間が形成され、該密閉空間内に前記第2の接着剤を塗着させたことを特徴とする内視鏡の光学系装置。
このように構成された内視鏡の光学系装置においては、第1および第2の光学素子と、レンズホルダとの間の密閉空間に、第2の接着剤を塗着させたので、外気を遮断して水分の供給経路を制限することができ、第1の光学素子と第2の光学素子との間に介在する空気層に水分が入り込むことを更に確実に防止できる。
(6) (1)〜(5)のいずれか1項記載の内視鏡の光学系装置であって、前記光学系が、画像情報を取り込む撮像素子に導光するための光学系であることを特徴とする内視鏡の光学系装置。
このように構成された内視鏡の光学系装置においては、光学系が、画像情報を取り込む撮像素子に導光するための光学系であるので、体腔内の映像を電気信号に変換して外部に取り出し、モニタ装置などに表示することができる。
(7) (1)〜(5)のいずれか1項記載の内視鏡の光学系装置であって、前記光学系が、照明光を出射させるための光学系であることを特徴とする内視鏡の光学系装置。
このように構成された内視鏡の光学系装置においては、光学系が、照明光を出射させるための光学系であるので、体腔内の所望の部位を明るく照明して、鮮明な体腔内映像を撮像することができる。
(8) (1)〜(7)のいずれか1項記載の内視鏡の光学系装置であって、
前記第2の接着剤の透湿度が、9g/m・24h以下であることを特徴とする内視鏡の光学系装置。
このように構成された内視鏡の光学系装置においては、第2の接着剤の透湿度が、9g/m・24h以下であることにより、確実な防湿効果が得られるようになる。
(9) (1)〜(8)のいずれか1項記載の内視鏡の光学系装置を、内視鏡挿入部の先端側に設けたことを特徴とする内視鏡。
この内視鏡によれば、明るく鮮明な画像を得ることができる。
本発明の内視鏡の光学系装置およびこれを備えた内視鏡によれば、第1の光学素子と第2の光学素子との接合面を、第1の接着剤により接着するとともに、その接合面の端部周縁を耐湿性を有する第2の接着剤で覆うようにしたので、外部からの水分が、接合面の端部周縁から接合界面を伝って、第1の光学素子と第2の光学素子との間の空気層に入り込むことが確実に防止できる。これにより、レンズへの結露の発生を未然に防止して、観察映像の画質低下を防止することができる。
本発明に係る内視鏡の光学系装置およびこれを備えた内視鏡の好適な実施の形態について、以下に図面を参照して詳細に説明する。
(第1実施形態)
図1は内視鏡の挿入部における先端部分を示す外観斜視図、図2は図1に示す内視鏡のレンズ装置の断面図、図3は対物光学系の構成を示す縦断面図である。
図1から図3に示すように、体腔内等へ挿入される内視鏡30の挿入部31は、その先端部分が硬質部材からなる先端硬質部31aであり、この先端硬質部31aの後方には、先端硬質部31aを所望の方向に湾曲操作可能であるアングル部31bが連設されている。先端硬質部31aの先端面(図示はしないが、側視型の内視鏡では側面)には、照明窓33及び観察窓35が設けられると共に、鉗子その他の処置具を挿通させる処置具挿通チャンネル37が開口する。また、観察窓35が汚損された時に、この観察窓35に向けて洗浄用流体、例えば洗浄水と加圧エアとを噴射させるノズル39が設けられている。
先端硬質部31aは、図2に示すように、先端部本体41と、先端キャップ43とから構成される。先端部本体41は、軸線方向に貫通する透孔が複数形成された金属で形成されている。先端キャップ43は金属が直接外部に露出するのを防止するために、先端部本体41の外面を覆う電気絶縁性部材で構成される。そして、先端部本体41と先端キャップ43との接合部はシール材によりシールされている。
観察窓35に設けた光学系装置である観察ユニット100は、レンズホルダ47内に対物光学系を組み込むことにより構成される。レンズホルダ47を先端硬質部41aに固定するために、先端キャップ43から先端部本体41にかけて軸線方向に貫通する透孔が形成されている。レンズホルダ47内には、光学素子である後述する複数のレンズからなる対物光学系が装着されている。また、レンズホルダ47の端面には対物光学系の光軸を直角に曲げるプリズム49が接合固定されている。さらに、プリズム49には基板51に装着した撮像手段としての固体撮像素子53が接合される。
次に、レンズホルダ47に設けられる対物光学系の一例を図3に示す。図3に示す対物光学系は、複数の光学素子の内、最も外側に配置された(観察対象側)光学素子から順に、第1から第4の光学素子G1,G2,G3及びG4の4枚構成となっている。
第1の光学素子G1は、観察対象側が平面で、結像側(第2の光学素子G2と対面する片側)が凹面となった片凹レンズであり、その平面側は観察窓35に露出している。また、第1の光学素子G1より結像側に位置する第2の光学素子G2は、平行平板であり、第1の光学素子(レンズ)G1と気密に接合されている(図3においては、接着剤層の厚みを誇張して示している)。これにより、第1の光学素子(レンズ)G1と第2の光学素子(平行平板)G2との間には、空気層Sが形成される。
さらに、第3の光学素子G3は、凹面を結像側に向けた凸凹レンズであり、第4の光学素子G4は、凸レンズであって、第3の光学素子(レンズ)G3と第4の光学素子(レンズ)G4とは接合レンズとなっている。
第1のレンズG1と平行平板G2との接合面55は、接着強度が高い第1の接着剤57によって強固に接着されて気密接合されている。また、第1のレンズG1の外径Dは、平行平板G2の外径dより大きく、第1のレンズG1と平行平板G2とを接合したとき、接合面55の端部周縁に段付部59が形成される。第1のレンズG1と平行平板G2とをレンズホルダ47に装着したとき、レンズホルダ47の内周面と、第1のレンズG1および平行平板G2との間に形成された密閉空間Cには、全周にわたって第1の接着剤よりも透湿度の低い第2の接着剤61が塗着されている。第2の接着剤61は、少なくとも第1のレンズG1と平行平板G2との間を覆うように、隙間なく塗着されていればよく、密閉空間Cを充填するように設けることで、耐湿性がより向上する。
各光学素子G1、G2、G3、およびG4のレンズホルダ47への組み付けは、以下のように行われる。即ち、第1のレンズG1と平行平板G2とは、接合面55が第1の接着剤57で接着されると共に、段付部59に第2の接着剤61が塗着され、レンズホルダ47の前面側(図3において左側)から挿入された後、ローラで加締め加工されてレンズホルダ47に固定される。なお、第2の光学素子が平行平板G2であるので、第1のレンズG1との接着時に、光軸などの位置合わせを厳密に行う必要がなく、組み立て工程を簡単化することができる。また、第3のレンズG3および第4のレンズG4は、レンズホルダ47の後面側(図3において右側)から挿入されて接着剤によって固定されてレンズホルダ47に組み付けられる。
内視鏡30で使用される第1の接着剤57には、生体適合性や耐薬品性も同時に求められる。第1のレンズG1と平行平板G2とを強固に接着することを主な目的とする第1の接着剤57としては、例えば、CS2340−5(セメダイン株式会社製)などのエポキシ系接着剤が例示される。この第1の接着剤57の透湿度は、45〜90g/m・24h(JIS Z0208に準拠)の範囲のものである。
また、防湿を主な目的とする第2の接着剤61としては、例えば、X−71−708(信越化学工業株式会社製:透湿度 9g/m・24h(23℃/55%RH/7日硬化後))などの透湿度の低いフッ素系接着剤や、ポリオレフィン系樹脂などの有機高分子系接着剤が挙げられる。この第2の接着剤61は、その透湿度が9g/m・24h以下であることが好ましい。具体的な例示は省略するが、透湿度が15g/m・24h程度の場合では、水分の透過の影響が現れ始めることが実験的に分かっており、上記透湿度9g/m・24hの接着剤では確実な防湿効果が得られている。なお、第2の接着剤61は、第1の接着剤57によって外側を覆われるため、生体適合を図る必要がなく、接着剤材料の選択の自由度が高められる。
観察ユニット100は、そのレンズホルダ47を先端部本体41から先端キャップ43にかけて設けた透孔に挿入するようにして先端硬質部31aに装着される。
次に、観察ユニット(光学系装置)100の作用について説明する。
第1のレンズG1と平行平板G2との間の空気層Sの内部に湿気が含まれていると、結露が発生する可能性がある。第1のレンズG1は、観察窓35に露出しており、しかもその表面にはノズル39から洗浄水が噴射される。この洗浄水が噴射されると、第1のレンズG1の内面、特に最も厚みの薄い部位が洗浄水により急速に冷却されることになる。その結果、この第1のレンズG1の内面側で、最も肉厚の薄い中心部分に集中的に結露が生じることになり、鮮明な内視鏡画像を得る上で好ましくない。
従って、第1のレンズG1と平行平板G2との間の空気層Sに湿気が含まれないようにすると共に、この空気層Sを完全にシールして、長期間にわたって外部から湿気が入り込まないように保持することが要求される。
本内視鏡30の光学系装置100は、第1のレンズG1と平行平板G2とが、接合面55において接着強度の高い第1の接着剤57によって接着されるとともに、その接合面55の端部周縁の段付部59には、耐湿性の高い(低透湿度の)第2の接着剤61が塗着されているので、外部から浸入する水分は、耐湿性の高い第2の接着剤61で阻止されて、第1のレンズG1と平行平板G2との間の空気層Sに入り込むことが確実に防止される。これにより、第1のレンズG1の結露が未然に防止されて、観察映像の画質低下を防止することができる。
次に、観察ユニット(光学系装置)100の変形例について、図4を参照して説明する。図4(a)は同じ外径を有する第1のレンズG1と平行平板G2とが接合された状態を示す要部拡大図、(b)は第1のレンズG1に対して、それより大きな外径を有する平行平板G2が接合された状態を示す要部拡大図である。
図4(a)に示すように、同じ外径を有する第1のレンズG1と平行平板G2とは、接合面55において接着強度の高い第1の接着剤57によって接着され、更に接合面55の端部周縁に耐湿性の高い第2の接着剤61が塗着されている。また、図4(b)に示すように、第1のレンズG1の外径より大きな外径を有する平行平板G2は、接合面55が接着強度の高い第1の接着剤57によって接着され、接合面55の端部周縁に形成された段付部59には、耐湿性の高い第2の接着剤61が塗着されている。
その他の作用および効果は、第1実施形態の光学系装置100と同様であるので説明を省略する。
(第2実施形態)
次に、図5を参照して第2実施形態に係る光学系装置について説明する。図5は照明手段である照明ユニットに適用された光学系装置の要部断面図である。なお、第2実施形態の光学系装置は、平行平板(第2の光学素子)の後方に配置される光学要素が、第1実施形態の光学系装置と異なる。それ以外は、第1実施形態の光学系装置と同様であるので、同一部分には同一符号または相当符号を付して説明を省略または簡略化する。
図5に示すように、第2実施形態の光学系装置である照明ユニット200は、挿入部31の先端に設けられた照明窓33に、第1のレンズG1と平行平板G2とが配置されている。第1のレンズG1と平行平板G2とは、第1実施形態の光学系装置と同様に、その接合面55が接着強度の高い第1の接着剤57によって接着され、接合面55の端部周縁に耐湿性の高い第2の接着剤61が塗着されている。
平行平板G2の後方(図5において右側)には、ライトガイド63の出射端65が位置している。ライトガイド63の他端は、図示しない光源装置に接続されており、光源ランプからの照明光が、ライトガイド63によって伝送されて照明ユニット200を介して照明窓33から出射する。
第1のレンズG1と平行平板G2との間の空気層Sに外部から水分が浸入すると、第1のレンズG1に結露が生じて照明ユニット200の照度が低下することがある。本実施形態の照明ユニット200は、第1のレンズG1と平行平板G2とが、接合面55において接着強度の高い第1の接着剤57によって接着されるとともに、その接合面55の端部周縁の段付部59には、耐湿性の高い(低透湿度の)第2の接着剤61が塗着されているので、外部から浸入する水分が耐湿性の高い第2の接着剤61で阻止される。これにより、第1のレンズG1の結露が未然に防止されて、照度の高い照明を行うことができる。
なお、本内視鏡の光学系装置は、前述した各実施形態および変形例に限定されるものではなく、適宜、変形や改良等が可能である。例えば、上記説明において、第2の光学素子は、平行平板として説明したが、固体撮像素子を用いる際に必要となる赤外線カットフィルタであつてもよく、またレンズとすることもできる。
内視鏡の挿入部における先端部分を示す外観斜視図である。 図1に示す内視鏡のレンズ装置の断面図である。 対物光学系の構成を示す縦断面図である。 (a)は同じ外径を有する第1の光学素子と第2の光学素子とが接着された状態を示す要部拡大図、(b)は第1の光学素子レンズに対して、それより大きな外径を有する第2の光学素子が接着された状態を示す要部拡大図である。 照明ユニットに適用された光学系装置の要部断面図である。 従来の光学系装置の要部断面図である。 従来の他の光学系装置の要部断面図である。
符号の説明
30 内視鏡
31 挿入部
47 レンズホルダ
53 固体撮像素子
55 接合面
57 第1の接着剤
59 段付部
61 第2の接着剤
100 観察ユニット(光学系装置)
200 照明ユニット(光学系装置)
C 密閉空間
D 第1の光学素子の外径
d 第2の光学素子の外径
G1 第1のレンズ(第1の光学素子、片凹レンズ)
G2 平行平板(第2の光学素子)
S 空気層

Claims (9)

  1. 内視鏡の挿入部の先端側に設けられ、複数の光学素子を配列した光学系を有する内視鏡の光学系装置であって、
    前記光学素子のうち最も観察対象側に配置された第1の光学素子と、該第1の光学素子に対面して空気層を介して気密接合された第2の光学素子との間で、
    前記光学素子同士の接合面を第1の接着剤で接合するとともに、前記接合面の端部周縁を前記第1の接着剤よりも透湿度の低い第2の接着剤で覆うことを特徴とする内視鏡の光学系装置。
  2. 請求項1記載の内視鏡の光学系装置であって、
    前記第1の光学素子が、前記第2の光学素子と対面する片側に凹部を有する片凹レンズであることを特徴とする内視鏡の光学系装置。
  3. 請求項1または請求項2記載の内視鏡の光学系装置であって、
    前記第2の光学素子が、平行平板であることを特徴とする内視鏡の光学系装置。
  4. 請求項1〜請求項3のいずれか1項記載の内視鏡の光学系装置であって、
    前記第1の光学素子の外径より前記第2の光学素子の外径が小さく、該第1、第2の光学素子を互いに接合したときに生じる段付部に前記第2の接着剤を塗着させたことを特徴とする内視鏡の光学系装置。
  5. 請求項1〜請求項4のいずれか1項記載の内視鏡の光学系装置であって、
    前記光学素子の外周に該光学素子を保持するレンズホルダを有し、該レンズホルダの内周面と前記第1および第2の光学素子との間に密閉空間が形成され、該密閉空間内に前記第2の接着剤を塗着させたことを特徴とする内視鏡の光学系装置。
  6. 請求項1〜請求項5のいずれか1項記載の内視鏡の光学系装置であって、
    前記光学系が、画像情報を取り込む撮像素子に導光するための光学系であることを特徴とする内視鏡の光学系装置。
  7. 請求項1〜請求項5のいずれか1項記載の内視鏡の光学系装置であって、
    前記光学系が、照明光を出射させるための光学系であることを特徴とする内視鏡の光学系装置。
  8. 請求項1〜請求項7のいずれか1項記載の内視鏡の光学系装置であって、
    前記第2の接着剤の透湿度が、9g/m・24h以下であることを特徴とする内視鏡の光学系装置。
  9. 請求項1〜請求項8のいずれか1項記載の内視鏡の光学系装置を、内視鏡挿入部の先端側に設けたことを特徴とする内視鏡。
JP2008188186A 2008-07-22 2008-07-22 内視鏡の光学系装置およびこれを備えた内視鏡 Active JP5124376B2 (ja)

Priority Applications (3)

Application Number Priority Date Filing Date Title
JP2008188186A JP5124376B2 (ja) 2008-07-22 2008-07-22 内視鏡の光学系装置およびこれを備えた内視鏡
EP20090009375 EP2148232B1 (en) 2008-07-22 2009-07-20 Endoscope optical sytem device and endoscope with the same
US12/507,744 US20100022841A1 (en) 2008-07-22 2009-07-22 Endoscope optical system device and endoscope with the same

Applications Claiming Priority (1)

Application Number Priority Date Filing Date Title
JP2008188186A JP5124376B2 (ja) 2008-07-22 2008-07-22 内視鏡の光学系装置およびこれを備えた内視鏡

Publications (2)

Publication Number Publication Date
JP2010022617A true JP2010022617A (ja) 2010-02-04
JP5124376B2 JP5124376B2 (ja) 2013-01-23

Family

ID=41137055

Family Applications (1)

Application Number Title Priority Date Filing Date
JP2008188186A Active JP5124376B2 (ja) 2008-07-22 2008-07-22 内視鏡の光学系装置およびこれを備えた内視鏡

Country Status (3)

Country Link
US (1) US20100022841A1 (ja)
EP (1) EP2148232B1 (ja)
JP (1) JP5124376B2 (ja)

Cited By (6)

* Cited by examiner, † Cited by third party
Publication number Priority date Publication date Assignee Title
JP2015177984A (ja) * 2014-02-27 2015-10-08 パナソニックIpマネジメント株式会社 内視鏡
JP2016116845A (ja) * 2015-11-02 2016-06-30 パナソニックIpマネジメント株式会社 レンズユニット及び内視鏡
US9826890B2 (en) 2014-02-27 2017-11-28 Panasonic Intellectual Property Management Co., Ltd. Endoscope and manufacturing method of endoscope
JP2018120005A (ja) * 2017-01-23 2018-08-02 オリンパス株式会社 対物レンズユニット
WO2021251426A1 (ja) * 2020-06-09 2021-12-16 マクセル株式会社 レンズユニットおよびカメラモジュール
JP2022059306A (ja) * 2020-10-01 2022-04-13 マクセル株式会社 レンズユニットおよびカメラモジュール

Families Citing this family (38)

* Cited by examiner, † Cited by third party
Publication number Priority date Publication date Assignee Title
DE10154163A1 (de) 2001-11-03 2003-05-22 Advanced Med Tech Vorrichtung zum Aufrichten und Stabilisieren der Wirbelsäule
US8979931B2 (en) 2006-12-08 2015-03-17 DePuy Synthes Products, LLC Nucleus replacement device and method
US20090088789A1 (en) 2007-09-28 2009-04-02 O'neil Michael J Balloon With Shape Control For Spinal Procedures
CA2701504A1 (en) 2007-10-05 2009-04-09 Synthes Usa, Llc Dilation system and method of using the same
US9622779B2 (en) 2011-10-27 2017-04-18 DePuy Synthes Products, Inc. Method and devices for a sub-splenius / supra-levator scapulae surgical access technique
WO2013067179A2 (en) 2011-11-01 2013-05-10 Synthes Usa, Llc Dilation system
US9307893B2 (en) 2011-12-29 2016-04-12 Cook Medical Technologies Llc Space-optimized visualization catheter with camera train holder in a catheter with off-centered lumens
US9265490B2 (en) 2012-04-16 2016-02-23 DePuy Synthes Products, Inc. Detachable dilator blade
JP5941753B2 (ja) * 2012-05-28 2016-06-29 富士フイルム株式会社 電子内視鏡装置及び撮像モジュール並びに撮影レンズモールド方法
US10039440B2 (en) * 2012-06-11 2018-08-07 Intuitive Surgical Operations, Inc. Systems and methods for cleaning a minimally invasive instrument
JP6057595B2 (ja) * 2012-08-07 2017-01-11 オリンパス株式会社 内視鏡
US9480855B2 (en) 2012-09-26 2016-11-01 DePuy Synthes Products, Inc. NIR/red light for lateral neuroprotection
JP2015047277A (ja) * 2013-08-30 2015-03-16 パナソニックIpマネジメント株式会社 内視鏡および内視鏡システム
WO2015157540A1 (en) 2014-04-10 2015-10-15 Roman Carlos Gutierrez Miniature lens assembly and method of making same
US9980737B2 (en) 2014-08-04 2018-05-29 Medos International Sarl Flexible transport auger
US10264959B2 (en) 2014-09-09 2019-04-23 Medos International Sarl Proximal-end securement of a minimally invasive working channel
US9924979B2 (en) 2014-09-09 2018-03-27 Medos International Sarl Proximal-end securement of a minimally invasive working channel
US10111712B2 (en) 2014-09-09 2018-10-30 Medos International Sarl Proximal-end securement of a minimally invasive working channel
US10786264B2 (en) 2015-03-31 2020-09-29 Medos International Sarl Percutaneous disc clearing device
US9838576B2 (en) * 2015-08-31 2017-12-05 Panasonic Corporation Endoscope
US11744447B2 (en) 2015-09-04 2023-09-05 Medos International Surgical visualization systems and related methods
US11439380B2 (en) 2015-09-04 2022-09-13 Medos International Sarl Surgical instrument connectors and related methods
US12150636B2 (en) 2015-09-04 2024-11-26 Medos International Sárl Surgical instrument connectors and related methods
US10987129B2 (en) 2015-09-04 2021-04-27 Medos International Sarl Multi-shield spinal access system
US11672562B2 (en) 2015-09-04 2023-06-13 Medos International Sarl Multi-shield spinal access system
CN113143355A (zh) 2015-09-04 2021-07-23 美多斯国际有限公司 多护罩脊柱进入系统
US10299838B2 (en) 2016-02-05 2019-05-28 Medos International Sarl Method and instruments for interbody fusion and posterior fixation through a single incision
CN109068948B (zh) * 2016-06-27 2021-08-24 奥林巴斯株式会社 内窥镜、内窥镜的制造方法
JP6850200B2 (ja) * 2017-05-31 2021-03-31 富士フイルム株式会社 内視鏡及び内視鏡装置
WO2019230072A1 (ja) * 2018-05-31 2019-12-05 オリンパス株式会社 内視鏡
CN117872554A (zh) * 2019-02-26 2024-04-12 麦克赛尔株式会社 透镜单元和摄像机模块
US11013530B2 (en) 2019-03-08 2021-05-25 Medos International Sarl Surface features for device retention
WO2020188685A1 (ja) * 2019-03-18 2020-09-24 オリンパス株式会社 内視鏡の先端ユニット
US11241252B2 (en) 2019-03-22 2022-02-08 Medos International Sarl Skin foundation access portal
US11129727B2 (en) 2019-03-29 2021-09-28 Medos International Sari Inflatable non-distracting intervertebral implants and related methods
US11813026B2 (en) 2019-04-05 2023-11-14 Medos International Sarl Systems, devices, and methods for providing surgical trajectory guidance
WO2021176512A1 (ja) * 2020-03-02 2021-09-10 オリンパス株式会社 内視鏡、光学積層体及び光学積層体の製造方法
US11771517B2 (en) 2021-03-12 2023-10-03 Medos International Sarl Camera position indication systems and methods

Citations (8)

* Cited by examiner, † Cited by third party
Publication number Priority date Publication date Assignee Title
JPS61107210A (ja) * 1984-10-30 1986-05-26 Olympus Optical Co Ltd 内視鏡
JPH0238480A (ja) * 1988-07-28 1990-02-07 Fsk Corp 光硬化型接着剤形成用組成物およぴ接着剤組成物
JPH05281492A (ja) * 1992-04-01 1993-10-29 Olympus Optical Co Ltd 光学系装置
JP2000019373A (ja) * 1998-07-03 2000-01-21 Olympus Optical Co Ltd 対物レンズ
JP2000187155A (ja) * 1998-12-22 2000-07-04 Olympus Optical Co Ltd 内視鏡対物光学系
JP2000305026A (ja) * 1999-04-19 2000-11-02 Olympus Optical Co Ltd 内視鏡用撮像装置
JP2002365560A (ja) * 2001-06-07 2002-12-18 Fuji Photo Optical Co Ltd 内視鏡のレンズ装置
JP2003000526A (ja) * 2001-06-18 2003-01-07 Olympus Optical Co Ltd 内視鏡

Family Cites Families (7)

* Cited by examiner, † Cited by third party
Publication number Priority date Publication date Assignee Title
US5894369A (en) * 1996-11-15 1999-04-13 Fuji Photo Optical Co., Ltd. Lens device with anti-fogging
AU3102699A (en) 1998-03-19 1999-10-11 Board Of Regents, The University Of Texas System Fiber-optic confocal imaging apparatus and methods of use
JP2002017657A (ja) * 2000-07-11 2002-01-22 Olympus Optical Co Ltd 内視鏡
JP3792589B2 (ja) * 2001-03-29 2006-07-05 富士通株式会社 半導体装置の製造方法
US6953432B2 (en) * 2003-05-20 2005-10-11 Everest Vit, Inc. Imager cover-glass mounting
JPWO2006013860A1 (ja) * 2004-08-03 2008-05-01 オリンパス株式会社 医療機器封止用樹脂組成物及びそれにより封止された内視鏡用医療機器
JP5259319B2 (ja) * 2008-09-19 2013-08-07 オリンパス株式会社 内視鏡用アダプタ、内視鏡

Patent Citations (8)

* Cited by examiner, † Cited by third party
Publication number Priority date Publication date Assignee Title
JPS61107210A (ja) * 1984-10-30 1986-05-26 Olympus Optical Co Ltd 内視鏡
JPH0238480A (ja) * 1988-07-28 1990-02-07 Fsk Corp 光硬化型接着剤形成用組成物およぴ接着剤組成物
JPH05281492A (ja) * 1992-04-01 1993-10-29 Olympus Optical Co Ltd 光学系装置
JP2000019373A (ja) * 1998-07-03 2000-01-21 Olympus Optical Co Ltd 対物レンズ
JP2000187155A (ja) * 1998-12-22 2000-07-04 Olympus Optical Co Ltd 内視鏡対物光学系
JP2000305026A (ja) * 1999-04-19 2000-11-02 Olympus Optical Co Ltd 内視鏡用撮像装置
JP2002365560A (ja) * 2001-06-07 2002-12-18 Fuji Photo Optical Co Ltd 内視鏡のレンズ装置
JP2003000526A (ja) * 2001-06-18 2003-01-07 Olympus Optical Co Ltd 内視鏡

Cited By (11)

* Cited by examiner, † Cited by third party
Publication number Priority date Publication date Assignee Title
JP2015177984A (ja) * 2014-02-27 2015-10-08 パナソニックIpマネジメント株式会社 内視鏡
US9826890B2 (en) 2014-02-27 2017-11-28 Panasonic Intellectual Property Management Co., Ltd. Endoscope and manufacturing method of endoscope
US10368727B2 (en) 2014-02-27 2019-08-06 Panasonic Intellectual Property Management Co., Ltd. Endoscope and manufacturing method of endoscope
JP2016116845A (ja) * 2015-11-02 2016-06-30 パナソニックIpマネジメント株式会社 レンズユニット及び内視鏡
JP2018120005A (ja) * 2017-01-23 2018-08-02 オリンパス株式会社 対物レンズユニット
WO2021251426A1 (ja) * 2020-06-09 2021-12-16 マクセル株式会社 レンズユニットおよびカメラモジュール
JP2021196374A (ja) * 2020-06-09 2021-12-27 マクセル株式会社 レンズユニットおよびカメラモジュール
JP7638070B2 (ja) 2020-06-09 2025-03-03 マクセル株式会社 レンズユニットおよびカメラモジュール
US12339568B2 (en) 2020-06-09 2025-06-24 Maxell, Ltd. Lens unit and camera module
JP2022059306A (ja) * 2020-10-01 2022-04-13 マクセル株式会社 レンズユニットおよびカメラモジュール
JP7706233B2 (ja) 2020-10-01 2025-07-11 マクセル株式会社 レンズユニットおよびカメラモジュール

Also Published As

Publication number Publication date
JP5124376B2 (ja) 2013-01-23
EP2148232A1 (en) 2010-01-27
EP2148232B1 (en) 2015-05-20
US20100022841A1 (en) 2010-01-28

Similar Documents

Publication Publication Date Title
JP5124376B2 (ja) 内視鏡の光学系装置およびこれを備えた内視鏡
US6695775B2 (en) Lens assembly for endoscopic lens system
US9998641B2 (en) Image pickup unit provided in endoscope
JP2015047277A (ja) 内視鏡および内視鏡システム
JP5138125B2 (ja) 内視鏡撮像ユニットの組立方法及び内視鏡
JP5389376B2 (ja) 内視鏡用撮像ユニット
JP5374669B1 (ja) 内視鏡
JP3981263B2 (ja) 電子内視鏡
JP2000139821A (ja) 内視鏡装置
JP2000115594A (ja) 固体撮像素子ユニット
JP4426665B2 (ja) 絞り装置を備えた内視鏡
JP6210797B2 (ja) 内視鏡
JP2003262774A (ja) 内視鏡用対物レンズ装置
JP4976956B2 (ja) 電子内視鏡
JP4836471B2 (ja) 内視鏡の対物部
JP3887855B2 (ja) レンズ装置
JP2000051142A (ja) 内視鏡
JP4668653B2 (ja) 内視鏡の対物部
JP2013106907A (ja) 電子内視鏡の先端部
JP4642810B2 (ja) 内視鏡用撮像装置
JP4009636B2 (ja) 電子内視鏡
WO2017221458A1 (ja) 光学装置
JPH0548172Y2 (ja)
JP2005021719A (ja) 内視鏡用撮像装置
JPH10170793A (ja) 内視鏡のレンズ装置

Legal Events

Date Code Title Description
A711 Notification of change in applicant

Free format text: JAPANESE INTERMEDIATE CODE: A711

Effective date: 20100618

A621 Written request for application examination

Free format text: JAPANESE INTERMEDIATE CODE: A621

Effective date: 20110208

RD04 Notification of resignation of power of attorney

Free format text: JAPANESE INTERMEDIATE CODE: A7424

Effective date: 20111216

A131 Notification of reasons for refusal

Free format text: JAPANESE INTERMEDIATE CODE: A131

Effective date: 20120731

RD03 Notification of appointment of power of attorney

Free format text: JAPANESE INTERMEDIATE CODE: A7423

Effective date: 20120803

RD03 Notification of appointment of power of attorney

Free format text: JAPANESE INTERMEDIATE CODE: A7423

Effective date: 20120911

A521 Request for written amendment filed

Free format text: JAPANESE INTERMEDIATE CODE: A523

Effective date: 20120912

TRDD Decision of grant or rejection written
A01 Written decision to grant a patent or to grant a registration (utility model)

Free format text: JAPANESE INTERMEDIATE CODE: A01

Effective date: 20121002

A01 Written decision to grant a patent or to grant a registration (utility model)

Free format text: JAPANESE INTERMEDIATE CODE: A01

A61 First payment of annual fees (during grant procedure)

Free format text: JAPANESE INTERMEDIATE CODE: A61

Effective date: 20121029

FPAY Renewal fee payment (event date is renewal date of database)

Free format text: PAYMENT UNTIL: 20151102

Year of fee payment: 3

R150 Certificate of patent or registration of utility model

Free format text: JAPANESE INTERMEDIATE CODE: R150

Ref document number: 5124376

Country of ref document: JP

Free format text: JAPANESE INTERMEDIATE CODE: R150

R250 Receipt of annual fees

Free format text: JAPANESE INTERMEDIATE CODE: R250

R250 Receipt of annual fees

Free format text: JAPANESE INTERMEDIATE CODE: R250

R250 Receipt of annual fees

Free format text: JAPANESE INTERMEDIATE CODE: R250

R250 Receipt of annual fees

Free format text: JAPANESE INTERMEDIATE CODE: R250

R250 Receipt of annual fees

Free format text: JAPANESE INTERMEDIATE CODE: R250

R250 Receipt of annual fees

Free format text: JAPANESE INTERMEDIATE CODE: R250

R250 Receipt of annual fees

Free format text: JAPANESE INTERMEDIATE CODE: R250

R250 Receipt of annual fees

Free format text: JAPANESE INTERMEDIATE CODE: R250

R250 Receipt of annual fees

Free format text: JAPANESE INTERMEDIATE CODE: R250

R250 Receipt of annual fees

Free format text: JAPANESE INTERMEDIATE CODE: R250