JP2010021246A - 半導体装置用tabテープキャリア - Google Patents

半導体装置用tabテープキャリア Download PDF

Info

Publication number
JP2010021246A
JP2010021246A JP2008178883A JP2008178883A JP2010021246A JP 2010021246 A JP2010021246 A JP 2010021246A JP 2008178883 A JP2008178883 A JP 2008178883A JP 2008178883 A JP2008178883 A JP 2008178883A JP 2010021246 A JP2010021246 A JP 2010021246A
Authority
JP
Japan
Prior art keywords
semiconductor device
tab tape
tape carrier
bonding
adhesive layer
Prior art date
Legal status (The legal status is an assumption and is not a legal conclusion. Google has not performed a legal analysis and makes no representation as to the accuracy of the status listed.)
Granted
Application number
JP2008178883A
Other languages
English (en)
Other versions
JP5152506B2 (ja
Inventor
Shuichi Nakazawa
周一 仲沢
Current Assignee (The listed assignees may be inaccurate. Google has not performed a legal analysis and makes no representation or warranty as to the accuracy of the list.)
Hitachi Cable Ltd
Original Assignee
Hitachi Cable Ltd
Priority date (The priority date is an assumption and is not a legal conclusion. Google has not performed a legal analysis and makes no representation as to the accuracy of the date listed.)
Filing date
Publication date
Application filed by Hitachi Cable Ltd filed Critical Hitachi Cable Ltd
Priority to JP2008178883A priority Critical patent/JP5152506B2/ja
Publication of JP2010021246A publication Critical patent/JP2010021246A/ja
Application granted granted Critical
Publication of JP5152506B2 publication Critical patent/JP5152506B2/ja
Expired - Fee Related legal-status Critical Current
Anticipated expiration legal-status Critical

Links

Images

Classifications

    • H10W72/07352
    • H10W72/321
    • H10W72/5522
    • H10W72/884
    • H10W90/754

Landscapes

  • Wire Bonding (AREA)

Abstract

【課題】 さらに薄い銅箔のような金属箔を用いて形成してなる接続用ランド部における、接合不良の問題を解決して、確実なワイヤボンディングを行うことを可能とした半導体装置用TABテープキャリアを提供する。
【解決手段】 絶縁性フィルム基板1上に接着剤層2を介して張り合わされた導体箔からなる配線パターン3および当該配線パターン3に連なる接続用ランド部4が形成され、半導体素子6が実装され、当該半導体素子6のボンディングパッド7と前記接続用ランド部4とにボンディングワイヤ8が加熱および押圧力の印加によって接合される半導体装置用TABテープキャリアであって、前記接続用ランド部4の直下に、前記接着剤層2と前記絶縁性フィルム基板1とを貫通する裏打支柱用孔9を設け、当該裏打支柱用孔9内に、前記接着剤層2とは異なった材質の充填材を当該充填材の上面が前記接続用ランド部4の下面と接するように充填してなるランド裏打支柱部10を備えている。
【選択図】 図1

Description

本発明は、半導体素子が実装され、その半導体素子のボンディングパッドにボンディングワイヤを介して接続されるように設定された接続用ランド部を有する半導体装置用TABテープキャリアに関する。
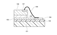
従来、この種の半導体装置用TABテープキャリアは、図2に一例を示すような構造を有している。
例えばポリイミドフィルムのような薄手の絶縁体フィルムからなる絶縁性フィルム基板101の片面上に接着剤層102を設け、その上に銅箔のような導体箔を貼り付けて、例えばエッチング法(フォトファブリケーション法)などによりパターン加工を施すことで、配線パターン103およびその延長にある接続用ランド部(リード電極、あるいはボンディング用端子等とも呼ばれる)104が形成されている。配線パターン103および接続用ランド部104の表面には、ニッケルめっきや金めっき等が施される場合も多い(いずれも図示省略)。
そして、所定の実装位置に、チップ用接着剤105を介して、例えばICチップのような半導体素子106が接着される。半導体素子106には、ボンディングパッド107が設けられている。
半導体素子106のボンディングパッド107には、金ワイヤのようなボンディングワイヤ108の一端が接合される。そしてそのボンディングワイヤ108の他端は、接続用ランド部104に接合される。このボンディングプロセスは一般に、いわゆるキャピラリを備えたボンディング装置を用いて行われる。
さらに具体的なボンディングプロセスの主要な流れは、いわゆる正方向の場合、まず第1ボンディングとして、例えばボールボンディング方式により先端を溶融させてボール状にしたボンディングワイヤ108の一端を、超音波加振やその他の加熱方法によって加熱しながら半導体素子106のボンディングパッド107の表面に押し当てるようにして接合を行う。続いて、ボンディングワイヤ108を繰り出しつつキャピラリを所定の経路を通って半導体装置用TABテープキャリアの接続用ランド部104の位置へと移動させて行く。そして、第2ボンディングとして、キャピラリの先に露出している部分のボンディングワイヤ108を、超音波加振やその他の加熱方法等によって加熱することで溶融させながら接続用ランド部104の表面に押し当てて、適度に潰れたような状態となるように、いわゆるスティッチボンディングおよびテールボンディングを行う。その第2ボンディングを行った後、その位置からキャピラリを引き離すと共にボンディングワイヤ108をテールボンディングの部分から切り離して、次なる第1および第2ボンディングへと移行する。
ところで、近年、半導体実装パッケージ全体のさらなる薄型化を達成するため、あるいは配線パターンや接続用ランド部のさらなるファイン化を達成するために、それら配線パターンや接続用ランド部の形成基材として、さらに薄い銅箔のような金属箔(導体箔)を用いることが要請されるようになってきている(以上、特許文献1、2参照)。
特開平7−99262号公報 特開2006−156436号公報
しかしながら、従来の技術では、上記のようにさらに薄い金属箔を用いた場合、ボンディング対象の半導体装置用TABテープキャリアおよびボンディングワイヤに対して十分に適合した条件設定で、加熱やキャピラリの動作を行っているにも関わらず、ボンディングワイヤ108と接続用ランド部104との接合強度の低下や、実質的な接合が全くできないといった接合不良が多発するという問題があった。しかも、このような問題の発生要因自体についても従来は解明されておらず、従ってまた斯様な問題に対する改善策も従来は提案されていなかった。
本発明は、このような問題に鑑みて成されたもので、その目的は、さらに薄い銅箔のような金属箔を用いて形成してなる接続用ランド部における、接合不良の問題を解決して、確実なワイヤボンディングを行うことを可能とした半導体装置用TABテープキャリアを提供することにある。
本発明の半導体装置用TABテープキャリアは、絶縁性フィルム基板と、前記絶縁性フィルム基板の少なくとも片面上に設けられた接着剤層と、前記接着剤層の上に設けられた導体箔からなる配線パターンおよび当該配線パターンに連なる接続用ランド部とを有する半導体装置用TABテープキャリアであって、前記接続用ランド部の直下に、前記接着剤層と前記絶縁性フィルム基板とを貫通する裏打支柱用孔を設け、当該裏打支柱用孔内に、前記接着剤層の硬度よりも高い硬度を有する材質の充填材を当該充填材の上面が前記接続用ランド部の下面と接するように充填してなるランド裏打支柱部を備えたことを特徴としている。
本発明によれば、接続用ランド部の直下に、接着剤層と絶縁性フィルム基板とを貫通する裏打支柱用孔を設け、その裏打支柱用孔内に接着剤層とは異なった材質の充填材を充填してなるランド裏打支柱部を設けることで、接続用ランド部の直下には接着剤層を存在させないようにすると共に、接続用ランド部をランド裏打支柱部によって、あたかも裏打ちして力学的に支持するようにしたので、ボンディングワイヤを接続用ランド部に接合する際の加熱や押圧力が印加された際に、従来のような接着剤層が溶融または軟化して十分な押圧力や加熱が接続用ランド部に伝わらなくなることに起因したボンディングワイヤの接合不良の発生が解消されて、確実なワイヤボンディングを行うことが可能となる。
以下、本発明の実施の形態に係る半導体装置用TABテープキャリアについて、図面を参照して説明する。
図1は、本発明の実施の形態に係る半導体装置用TABテープキャリアの主要部の構成を示す図である。
この半導体装置用TABテープキャリアでは、絶縁性フィルム基板1の片面上に、接着剤層2を介して、配線パターン3および接続用ランド部4が形成されている。そして、所定の実装位置に、チップ用接着剤5を介して半導体素子6が実装され、その半導体素子6のボンディングパッド7と接続用ランド部4とにボンディングワイヤ8が加熱および押圧力の印加によって接合されて、ボンディングワイヤ8を介して半導体素子6のボンディングパッド7と接続用ランド部4とが電気的に接続されるように設定されている。
さらに詳細には、絶縁性フィルム基板1は、例えばポリイミドフィルムのような薄手の絶縁体フィルムからなるもので、その片面上には接着剤層2が設けられている。
絶縁性フィルム基板1の上には、接着剤層2を介して、極めて薄い銅箔のような導体箔
が貼り付けられ、その導体箔に例えばエッチング法などによってパターン加工を施して、配線パターン3およびそれに連なる接続用ランド部4が形成されている。この配線パターン3および接続用ランド部4の形成基材である銅箔などの導体箔としては、近年の半導体実装パッケージ全体におけるさらなる薄型化を達成するため、あるいは配線パターン3や接続用ランド部4のさらなるファイン化を達成するために、益々薄いものが用いられる傾向にある。この配線パターン3および接続用ランド部4の表面には、ニッケルめっきや金めっき等を施すようにすることも可能である(それらめっき層については図示省略)。
チップ用接着剤5は、ICチップのような半導体素子6をいわゆるダイボンディングするためのもので、このチップ用接着剤5の上に、半導体素子6が接着される。
半導体素子6には、ボンディングパッド7が設けられており、そのボンディングパッド7には、金ワイヤのようなボンディングワイヤ8の一端が接合される。そしてそのボンディングワイヤ8の他端は、接続用ランド部4に接合される。このワイヤボンディングプロセス自体については、一般的なキャピラリを備えたボンディング装置を用いて、いわゆるボールボンディング方式やウェッジボンディング方式などの一般的なものを用いることが可能である。
そして、接続用ランド部4の直下には、所定の直径を有して接着剤層2および絶縁性フィルム基板1を貫通する裏打支柱用孔9が設けられている。そして、その裏打支柱用孔9内に、接着剤層2とは異なった材質であって上記のワイヤボンディングプロセスにて加熱および押圧力が印加された状態での硬度が接着剤層2よりも高い材質からなる充填材を、その上面が接続用ランド部4の下面と接するように充填することで、ランド裏打支柱部10が形成されている。
そのランド裏打支柱部10の形成材料である充填材は、さらに具体的には、例えばめっき銅(電解めっき銅または無電解めっき銅)からなるものとすることが可能である。
または、電解めっきによって、ニッケルを裏打支柱用孔9内に充填してなるもの、もしくは銅やニッケル以外の金属でも上記のようなワイヤボンディングプロセスにおける加熱および押圧力が印加された状態での硬度が接着剤層2よりも高い材質の金属を充填してなるものとすることが可能である。
または、無電解めっきによって、ニッケルを充填してなるもの、もしくは銅およびニッケル以外の金属でも上記のようなワイヤボンディングプロセスにおける加熱および押圧力が印加された状態での硬度が接着剤層2よりも高い材質の金属を充填してなるものとすることが可能である。
もしくは、裏打支柱用孔9内に、例えばスクリーン印刷法のような印刷法によって、上記のようなワイヤボンディングプロセスにおける加熱および押圧力が印加された状態での硬度が接着剤層2よりも高い材質の硬樹脂を充填してなるものとしてもよい。
あるいは、裏打支柱用孔9内に、例えばその裏打支柱用孔9の内径と同等ないし若干大きめの直径を有する微細銅線のような金属材料を機械的に打ち込んで充填してなるものとすることなども可能である。
ここで、裏打支柱用孔9は、絶縁性フィルム基板1を貫通しないで、あたかもブラインドビア穴のように絶縁性フィルム基板1の厚さ方向の途中で止めた構造にすると、この裏打支柱用孔9内にランド裏打支柱部10を形成するための充填材を充填する際に、気泡が残留するなどして、その充填材の確実な充填が妨げられてしまう虞が高い。このため、裏打支柱用孔9は、接着剤層2を貫通することは勿論のこと、絶縁性フィルム基板1を表裏貫通するように設けることが望ましいのである。
次に、本発明の実施の形態に係る半導体装置用TABテープキャリアにおける、特にランド裏打支柱部10の作用について説明する。
接続用ランド部4の表面にボンディングワイヤ8を接合するプロセスでは、超音波振動やその他の手段による加熱、もしくはそれら両方によって、ボンディングワイヤ8や接続用ランド部4が加熱され、またそれと共に、キャピラリによって所定の押圧力でボンディングワイヤ8が接続用ランド部4の表面に押し当てられて、それらボンディングワイヤ8と接続用ランド部4とが接合される。
ところが、従来の技術では、この接合の際に印加される熱や押圧力に因って、接続用ランド部4の直下およびその周辺の接着剤層2が軟化して、粘性流体のような状態となる傾向にある。しかも、接続用ランド部4の形成基材である銅箔は、さらに薄型化される傾向にあるので、熱が接着剤層2へとさらに伝わり易くなり、かつその接続用ランド部4自体の材料力学的な曲げ剛性等もさらに弱くなる傾向にある。
そうすると、たとえボンディングワイヤ8を確実な接合を得るのに十分な温度にまで加熱すると共に十分な押圧力で接続用ランド部4の表面に押し付けたとしても、接続用ランド部4の直下およびその周辺の接着剤層2が流動あるいは伸縮変形してしまうので、接続用ランド部4は、ボンディングワイヤ8を押し付けられても、下方へと(絶縁性フィルム基板1の方へと)撓んで、あたかもボンディングワイヤ8の押し付けから逃げたような状態、あるいは軟化した接着剤層2に因ってボンディングワイヤ8の押圧力が吸収・分散されたような状態となり、実質的には、その接続用ランド部4の表面に対してボンディングワイヤ8を十分な押圧力で押し付けたことにはならなくなる。その結果、十分な接合を達成できなくなったり、甚だしくは有効な接合が全くできなくなるといった、ワイヤボンディング上の不具合が生じる。
本発明者は、このような不具合発生のメカニズムに因って従来の接合不良が発生するという知見を、従来技術に係る薄い銅箔を用いたTABテープキャリアに対する種々の考察や実地的プロセス検証等によって得た。そして、このような知見に基づいて、本発明を成すに至ったのであった。
すなわち、本発明の実施の形態に係る半導体装置用TABテープキャリアでは、接続用ランド部4の直下に、接着剤層2と絶縁性フィルム基板1とを貫通する裏打支柱用孔9を設け、その裏打支柱用孔9内に接着剤層2とは異なった材質、より望ましくはワイヤボンディングプロセスにて加熱および押圧力が印加された状態での硬度が接着剤層2のそれよりも高い材質からなる充填材を充填してなるランド裏打支柱部10を設けることにより、接続用ランド部4の直下には、ボンディングワイヤ8の押圧力を逃がす(あるいは吸収・分散させてしまう)要因となっていた接着剤層2を存在させないようにすると共に、接続用ランド部4をその下面(裏面)からランド裏打支柱部10によって力学的に支持(裏打ち)するようにしている。
これにより、ボンディングワイヤ8を接続用ランド部4に接合するプロセスで加熱や押圧力が接続用ランド部4の表面に印加された際に、その接続用ランド部4の下面をランド裏打支柱部10によって裏打ちすることで力学的に支持して、ボンディングワイヤ8を確実に接続用ランド部4の表面に押し付けることができる。
その結果、本発明の実施の形態に係る半導体装置用TABテープキャリアによれば、従来技術の場合のような接着剤層2が溶融または軟化して十分な押圧力や加熱が接続用ランド部4に伝わらなくなることに起因したボンディングワイヤ8の接合不良の発生を解消して、接続用ランド部4の表面にボンディングワイヤ8を確実に接合することが可能となる。
また延いては、ボンディングワイヤ8の接合不良の発生の虞なく、さらに薄い導体箔を用いて、実装パッケージのさらなる小型化や配線パターン3等のさらなるファイン化を実現することが可能となる。
なお、上記の実施の形態では、主にランド裏打支柱部10の作用をできるだけ明確に理解し易く説明するために、半導体素子6が実装された状態を図示し、またそれに則した説明を行ったが、本発明の実施の形態に係る半導体装置用TABテープキャリアは、半導体素子6が未実装の構成であってもよいことは勿論である。むしろ、TABテープキャリアあるいはTABキャリアテープとは、半導体素子6が未実装の状態であることのほうが一般的であることなどを考慮すると、半導体素子6が実装された状態にあるか未実装の状態にあるかといったことについては、本発明の実施の形態に係る半導体装置用TABテープキャリアでは、副次的な事項であると言える。
また、上記の実施の形態では、絶縁性フィルム基板1の片面上にのみ導体箔からなる配線パターン3等が設けられた構造について説明したが、その他にも、いわゆる2メタルTABテープキャリアと呼ばれるような、絶縁性フィルム基板1の表裏両面に導体箔を有する構造のTABテープキャリア等(図示省略)にも、本発明は適用可能である。但し、その場合には、ランド裏打支柱部10を設けたことに起因して表裏両面の導体箔同士に電気的短絡不良等が生じたりすることのないように、ランド裏打支柱部10を絶縁性材料からなるものとすること、またはランド裏打支柱部10の長さ(深さ)を絶縁性フィルム基板1の裏面(図1では下面)には届かないような長さとすることなどが望ましい。
本発明の実施の形態に係る半導体装置用TABテープキャリアの主要部の構成を示す図である。 ワイヤボンディング方式を用いてなる従来の半導体装置用TABテープキャリアの主要部の構成の一例を示す図である。
符号の説明
1 絶縁性フィルム基板
2 接着剤層
3 配線パターン
4 接続用ランド部
5 チップ用接着剤
6 半導体素子
7 ボンディングパッド
8 ボンディングワイヤ
9 裏打支柱用孔
10 ランド裏打支柱部

Claims (6)

  1. 絶縁性フィルム基板と、前記絶縁性フィルム基板の少なくとも片面上に設けられた接着剤層と、前記接着剤層の上に設けられた導体箔からなる配線パターンおよび当該配線パターンに連なる接続用ランド部とを有する半導体装置用TABテープキャリアであって、
    前記接続用ランド部の直下に、前記接着剤層と前記絶縁性フィルム基板とを貫通する裏打支柱用孔を設け、当該裏打支柱用孔内に、前記接着剤層の硬度よりも高い硬度を有する材質の充填材を当該充填材の上面が前記接続用ランド部の下面と接するように充填してなるランド裏打支柱部を備えた
    ことを特徴とする半導体装置用TABテープキャリア。
  2. 請求項1記載の半導体装置用TABテープキャリアにおいて、
    前記充填材が、めっき銅からなるものである
    ことを特徴とする半導体装置用TABテープキャリア。
  3. 請求項1記載の半導体装置用TABテープキャリアにおいて、
    前記充填材が、前記裏打支柱用孔内に、電解めっきによって、ニッケルを充填してなるもの、または銅およびニッケル以外の金属を充填してなるものである
    ことを特徴とする半導体装置用TABテープキャリア。
  4. 請求項1記載の半導体装置用TABテープキャリアにおいて、
    前記充填材が、前記裏打支柱用孔内に、無電解めっきによって、ニッケルを充填してなるもの、または銅およびニッケル以外の金属を充填してなるものである
    ことを特徴とする半導体装置用TABテープキャリア。
  5. 請求項1記載の半導体装置用TABテープキャリアにおいて、
    前記充填材が、前記裏打支柱用孔内に、印刷によって硬樹脂を充填してなるものであることを特徴とする半導体装置用TABテープキャリア。
  6. 請求項1記載の半導体装置用TABテープキャリアにおいて、
    前記充填材が、前記裏打支柱用孔内に、金属材料を機械的に打ち込んで充填してなるものである
    ことを特徴とする半導体装置用TABテープキャリア。
JP2008178883A 2008-07-09 2008-07-09 半導体装置用tabテープキャリア Expired - Fee Related JP5152506B2 (ja)

Priority Applications (1)

Application Number Priority Date Filing Date Title
JP2008178883A JP5152506B2 (ja) 2008-07-09 2008-07-09 半導体装置用tabテープキャリア

Applications Claiming Priority (1)

Application Number Priority Date Filing Date Title
JP2008178883A JP5152506B2 (ja) 2008-07-09 2008-07-09 半導体装置用tabテープキャリア

Publications (2)

Publication Number Publication Date
JP2010021246A true JP2010021246A (ja) 2010-01-28
JP5152506B2 JP5152506B2 (ja) 2013-02-27

Family

ID=41705876

Family Applications (1)

Application Number Title Priority Date Filing Date
JP2008178883A Expired - Fee Related JP5152506B2 (ja) 2008-07-09 2008-07-09 半導体装置用tabテープキャリア

Country Status (1)

Country Link
JP (1) JP5152506B2 (ja)

Cited By (3)

* Cited by examiner, † Cited by third party
Publication number Priority date Publication date Assignee Title
JP2011210930A (ja) * 2010-03-30 2011-10-20 Murata Mfg Co Ltd フレキシブル基板及び該フレキシブル基板を備える回路モジュール
JP2012009560A (ja) * 2010-06-23 2012-01-12 Fujikura Ltd フレキシブル多層配線板、フレキシブル半導体装置及びフレキシブル多層配線板の製造方法
JP2020064992A (ja) * 2018-10-18 2020-04-23 富士電機株式会社 半導体装置及び半導体装置の製造方法

Citations (1)

* Cited by examiner, † Cited by third party
Publication number Priority date Publication date Assignee Title
JP2008277504A (ja) * 2007-04-27 2008-11-13 Toppan Printing Co Ltd 半導体パッケージ用基板、その製造方法及び半導体パッケージ

Patent Citations (1)

* Cited by examiner, † Cited by third party
Publication number Priority date Publication date Assignee Title
JP2008277504A (ja) * 2007-04-27 2008-11-13 Toppan Printing Co Ltd 半導体パッケージ用基板、その製造方法及び半導体パッケージ

Cited By (4)

* Cited by examiner, † Cited by third party
Publication number Priority date Publication date Assignee Title
JP2011210930A (ja) * 2010-03-30 2011-10-20 Murata Mfg Co Ltd フレキシブル基板及び該フレキシブル基板を備える回路モジュール
JP2012009560A (ja) * 2010-06-23 2012-01-12 Fujikura Ltd フレキシブル多層配線板、フレキシブル半導体装置及びフレキシブル多層配線板の製造方法
JP2020064992A (ja) * 2018-10-18 2020-04-23 富士電機株式会社 半導体装置及び半導体装置の製造方法
JP7238330B2 (ja) 2018-10-18 2023-03-14 富士電機株式会社 半導体装置及び半導体装置の製造方法

Also Published As

Publication number Publication date
JP5152506B2 (ja) 2013-02-27

Similar Documents

Publication Publication Date Title
JP5066935B2 (ja) 電子部品および電子装置の製造方法
JP3830125B2 (ja) 半導体装置の製造方法及び半導体装置
KR20080035974A (ko) 전자 부품이 탑재된 다층 배선 기판 및 그 제조 방법
JP5152506B2 (ja) 半導体装置用tabテープキャリア
JP2000277649A (ja) 半導体装置及びその製造方法
JP2008192984A (ja) 半導体装置及びその製造方法
JP2008091874A (ja) セラミック回路基板とその製造方法
CN103004294A (zh) 电子部件的表面安装方法以及安装有电子部件的基板
JP4967467B2 (ja) フレキシブル配線基板接着方法および配線基板
JP5277754B2 (ja) フリップ接続実装体、フリップ接続実装体の製造方法
KR20010090563A (ko) 신뢰성있는 전기 접속을 갖는 반도체 디바이스
JP2009099589A (ja) ウエハまたは回路基板およびその接続構造体
JP4755151B2 (ja) 電気接続装置
JP2005236110A (ja) 接続方法及び接続構造
JP3642621B2 (ja) 導電性ポリイミド樹脂バンプ及びその形成方法
JPH06140554A (ja) 電子部品の引出しリードおよびその接合法
JP2010141112A (ja) 半導体装置および半導体装置の製造方法
JP2008066363A (ja) 非接触ic媒体およびその製造方法
JP3914332B2 (ja) 半導体装置の製造方法
JP4566915B2 (ja) 半導体装置の実装体、半導体装置実装体の製造方法
JP2002261183A (ja) 配線基板、半導体装置、及びその製造方法
JPH11274347A (ja) 半導体パッケージ、及びその形成方法
JP4450130B2 (ja) 導体金属を用いた接合構造
JP2001332657A (ja) 半導体パッケージ
JPH11111752A (ja) ボンディングワイヤ

Legal Events

Date Code Title Description
A621 Written request for application examination

Free format text: JAPANESE INTERMEDIATE CODE: A621

Effective date: 20100917

A977 Report on retrieval

Free format text: JAPANESE INTERMEDIATE CODE: A971007

Effective date: 20110519

A131 Notification of reasons for refusal

Free format text: JAPANESE INTERMEDIATE CODE: A131

Effective date: 20120821

A521 Request for written amendment filed

Free format text: JAPANESE INTERMEDIATE CODE: A523

Effective date: 20121005

TRDD Decision of grant or rejection written
A01 Written decision to grant a patent or to grant a registration (utility model)

Free format text: JAPANESE INTERMEDIATE CODE: A01

Effective date: 20121107

A61 First payment of annual fees (during grant procedure)

Free format text: JAPANESE INTERMEDIATE CODE: A61

Effective date: 20121120

FPAY Renewal fee payment (event date is renewal date of database)

Free format text: PAYMENT UNTIL: 20151214

Year of fee payment: 3

R150 Certificate of patent or registration of utility model

Free format text: JAPANESE INTERMEDIATE CODE: R150

LAPS Cancellation because of no payment of annual fees