JP2010020335A - マスクブランクの製造方法および転写マスクの製造方法 - Google Patents

マスクブランクの製造方法および転写マスクの製造方法 Download PDF

Info

Publication number
JP2010020335A
JP2010020335A JP2009205755A JP2009205755A JP2010020335A JP 2010020335 A JP2010020335 A JP 2010020335A JP 2009205755 A JP2009205755 A JP 2009205755A JP 2009205755 A JP2009205755 A JP 2009205755A JP 2010020335 A JP2010020335 A JP 2010020335A
Authority
JP
Japan
Prior art keywords
target
mask blank
film
light
manufacturing
Prior art date
Legal status (The legal status is an assumption and is not a legal conclusion. Google has not performed a legal analysis and makes no representation as to the accuracy of the status listed.)
Granted
Application number
JP2009205755A
Other languages
English (en)
Other versions
JP5409216B2 (ja
Inventor
Masaru Mitsui
勝 三井
Current Assignee (The listed assignees may be inaccurate. Google has not performed a legal analysis and makes no representation or warranty as to the accuracy of the list.)
Hoya Corp
Original Assignee
Hoya Corp
Priority date (The priority date is an assumption and is not a legal conclusion. Google has not performed a legal analysis and makes no representation as to the accuracy of the date listed.)
Filing date
Publication date
Application filed by Hoya Corp filed Critical Hoya Corp
Priority to JP2009205755A priority Critical patent/JP5409216B2/ja
Publication of JP2010020335A publication Critical patent/JP2010020335A/ja
Application granted granted Critical
Publication of JP5409216B2 publication Critical patent/JP5409216B2/ja
Anticipated expiration legal-status Critical
Expired - Lifetime legal-status Critical Current

Links

Images

Classifications

    • CCHEMISTRY; METALLURGY
    • C23COATING METALLIC MATERIAL; COATING MATERIAL WITH METALLIC MATERIAL; CHEMICAL SURFACE TREATMENT; DIFFUSION TREATMENT OF METALLIC MATERIAL; COATING BY VACUUM EVAPORATION, BY SPUTTERING, BY ION IMPLANTATION OR BY CHEMICAL VAPOUR DEPOSITION, IN GENERAL; INHIBITING CORROSION OF METALLIC MATERIAL OR INCRUSTATION IN GENERAL
    • C23CCOATING METALLIC MATERIAL; COATING MATERIAL WITH METALLIC MATERIAL; SURFACE TREATMENT OF METALLIC MATERIAL BY DIFFUSION INTO THE SURFACE, BY CHEMICAL CONVERSION OR SUBSTITUTION; COATING BY VACUUM EVAPORATION, BY SPUTTERING, BY ION IMPLANTATION OR BY CHEMICAL VAPOUR DEPOSITION, IN GENERAL
    • C23C14/00Coating by vacuum evaporation, by sputtering or by ion implantation of the coating forming material
    • C23C14/06Coating by vacuum evaporation, by sputtering or by ion implantation of the coating forming material characterised by the coating material
    • C23C14/0641Nitrides
    • CCHEMISTRY; METALLURGY
    • C23COATING METALLIC MATERIAL; COATING MATERIAL WITH METALLIC MATERIAL; CHEMICAL SURFACE TREATMENT; DIFFUSION TREATMENT OF METALLIC MATERIAL; COATING BY VACUUM EVAPORATION, BY SPUTTERING, BY ION IMPLANTATION OR BY CHEMICAL VAPOUR DEPOSITION, IN GENERAL; INHIBITING CORROSION OF METALLIC MATERIAL OR INCRUSTATION IN GENERAL
    • C23CCOATING METALLIC MATERIAL; COATING MATERIAL WITH METALLIC MATERIAL; SURFACE TREATMENT OF METALLIC MATERIAL BY DIFFUSION INTO THE SURFACE, BY CHEMICAL CONVERSION OR SUBSTITUTION; COATING BY VACUUM EVAPORATION, BY SPUTTERING, BY ION IMPLANTATION OR BY CHEMICAL VAPOUR DEPOSITION, IN GENERAL
    • C23C14/00Coating by vacuum evaporation, by sputtering or by ion implantation of the coating forming material
    • C23C14/06Coating by vacuum evaporation, by sputtering or by ion implantation of the coating forming material characterised by the coating material
    • C23C14/0676Oxynitrides
    • CCHEMISTRY; METALLURGY
    • C23COATING METALLIC MATERIAL; COATING MATERIAL WITH METALLIC MATERIAL; CHEMICAL SURFACE TREATMENT; DIFFUSION TREATMENT OF METALLIC MATERIAL; COATING BY VACUUM EVAPORATION, BY SPUTTERING, BY ION IMPLANTATION OR BY CHEMICAL VAPOUR DEPOSITION, IN GENERAL; INHIBITING CORROSION OF METALLIC MATERIAL OR INCRUSTATION IN GENERAL
    • C23CCOATING METALLIC MATERIAL; COATING MATERIAL WITH METALLIC MATERIAL; SURFACE TREATMENT OF METALLIC MATERIAL BY DIFFUSION INTO THE SURFACE, BY CHEMICAL CONVERSION OR SUBSTITUTION; COATING BY VACUUM EVAPORATION, BY SPUTTERING, BY ION IMPLANTATION OR BY CHEMICAL VAPOUR DEPOSITION, IN GENERAL
    • C23C14/00Coating by vacuum evaporation, by sputtering or by ion implantation of the coating forming material
    • C23C14/22Coating by vacuum evaporation, by sputtering or by ion implantation of the coating forming material characterised by the process of coating
    • C23C14/34Sputtering
    • C23C14/3407Cathode assembly for sputtering apparatus, e.g. Target
    • C23C14/3414Metallurgical or chemical aspects of target preparation, e.g. casting, powder metallurgy
    • GPHYSICS
    • G03PHOTOGRAPHY; CINEMATOGRAPHY; ANALOGOUS TECHNIQUES USING WAVES OTHER THAN OPTICAL WAVES; ELECTROGRAPHY; HOLOGRAPHY
    • G03FPHOTOMECHANICAL PRODUCTION OF TEXTURED OR PATTERNED SURFACES, e.g. FOR PRINTING, FOR PROCESSING OF SEMICONDUCTOR DEVICES; MATERIALS THEREFOR; ORIGINALS THEREFOR; APPARATUS SPECIALLY ADAPTED THEREFOR
    • G03F1/00Originals for photomechanical production of textured or patterned surfaces, e.g., masks, photo-masks, reticles; Mask blanks or pellicles therefor; Containers specially adapted therefor; Preparation thereof
    • G03F1/26Phase shift masks [PSM]; PSM blanks; Preparation thereof
    • GPHYSICS
    • G03PHOTOGRAPHY; CINEMATOGRAPHY; ANALOGOUS TECHNIQUES USING WAVES OTHER THAN OPTICAL WAVES; ELECTROGRAPHY; HOLOGRAPHY
    • G03FPHOTOMECHANICAL PRODUCTION OF TEXTURED OR PATTERNED SURFACES, e.g. FOR PRINTING, FOR PROCESSING OF SEMICONDUCTOR DEVICES; MATERIALS THEREFOR; ORIGINALS THEREFOR; APPARATUS SPECIALLY ADAPTED THEREFOR
    • G03F1/00Originals for photomechanical production of textured or patterned surfaces, e.g., masks, photo-masks, reticles; Mask blanks or pellicles therefor; Containers specially adapted therefor; Preparation thereof
    • G03F1/26Phase shift masks [PSM]; PSM blanks; Preparation thereof
    • G03F1/32Attenuating PSM [att-PSM], e.g. halftone PSM or PSM having semi-transparent phase shift portion; Preparation thereof
    • GPHYSICS
    • G03PHOTOGRAPHY; CINEMATOGRAPHY; ANALOGOUS TECHNIQUES USING WAVES OTHER THAN OPTICAL WAVES; ELECTROGRAPHY; HOLOGRAPHY
    • G03FPHOTOMECHANICAL PRODUCTION OF TEXTURED OR PATTERNED SURFACES, e.g. FOR PRINTING, FOR PROCESSING OF SEMICONDUCTOR DEVICES; MATERIALS THEREFOR; ORIGINALS THEREFOR; APPARATUS SPECIALLY ADAPTED THEREFOR
    • G03F1/00Originals for photomechanical production of textured or patterned surfaces, e.g., masks, photo-masks, reticles; Mask blanks or pellicles therefor; Containers specially adapted therefor; Preparation thereof
    • G03F1/62Pellicles, e.g. pellicle assemblies, e.g. having membrane on support frame; Preparation thereof
    • GPHYSICS
    • G03PHOTOGRAPHY; CINEMATOGRAPHY; ANALOGOUS TECHNIQUES USING WAVES OTHER THAN OPTICAL WAVES; ELECTROGRAPHY; HOLOGRAPHY
    • G03FPHOTOMECHANICAL PRODUCTION OF TEXTURED OR PATTERNED SURFACES, e.g. FOR PRINTING, FOR PROCESSING OF SEMICONDUCTOR DEVICES; MATERIALS THEREFOR; ORIGINALS THEREFOR; APPARATUS SPECIALLY ADAPTED THEREFOR
    • G03F1/00Originals for photomechanical production of textured or patterned surfaces, e.g., masks, photo-masks, reticles; Mask blanks or pellicles therefor; Containers specially adapted therefor; Preparation thereof
    • G03F1/68Preparation processes not covered by groups G03F1/20 - G03F1/50
    • GPHYSICS
    • G03PHOTOGRAPHY; CINEMATOGRAPHY; ANALOGOUS TECHNIQUES USING WAVES OTHER THAN OPTICAL WAVES; ELECTROGRAPHY; HOLOGRAPHY
    • G03FPHOTOMECHANICAL PRODUCTION OF TEXTURED OR PATTERNED SURFACES, e.g. FOR PRINTING, FOR PROCESSING OF SEMICONDUCTOR DEVICES; MATERIALS THEREFOR; ORIGINALS THEREFOR; APPARATUS SPECIALLY ADAPTED THEREFOR
    • G03F7/00Photomechanical, e.g. photolithographic, production of textured or patterned surfaces, e.g. printing surfaces; Materials therefor, e.g. comprising photoresists; Apparatus specially adapted therefor
    • G03F7/70Microphotolithographic exposure; Apparatus therefor
    • G03F7/70216Mask projection systems
    • G03F7/70283Mask effects on the imaging process

Landscapes

  • Chemical & Material Sciences (AREA)
  • Physics & Mathematics (AREA)
  • General Physics & Mathematics (AREA)
  • Chemical Kinetics & Catalysis (AREA)
  • Engineering & Computer Science (AREA)
  • Materials Engineering (AREA)
  • Mechanical Engineering (AREA)
  • Metallurgy (AREA)
  • Organic Chemistry (AREA)
  • Preparing Plates And Mask In Photomechanical Process (AREA)
  • Physical Vapour Deposition (AREA)

Abstract

【課題】マスクパターンを形成するための薄膜の欠陥発生を抑えた高品質のマスクブランクを、高い歩留まりで製造することのできるマスクブランクの製造方法と、前記マスクブランクの薄膜をパターニングして製造する転写マスクの製造方法、並びに前記マスクブランクの製造に用いるスパッタリングターゲットを提供する。
【解決手段】シリコンを含有するスパッタリングターゲット14であって、ターゲットの硬度が、ビッカース硬さで900HV以上であるスパッタリングターゲットを用いて、基板1上にマスクパターンを形成するための薄膜をスパッタリング法で形成し、欠陥発生を抑えた高品位のマスクブランクを製造し、さらに、薄膜をパターニングすることで転写マスクを製造した。
【選択図】図1

Description

本発明は、基板上にマスクパターンを形成するための薄膜を有するマスクブランクの製造方法、及び前記マスクブランクの薄膜をパターニングして製造する転写マスクの製造方法、及び前記マスクブランクの製造に用いるスパッタリングターゲットを提供する。
近年、半導体装置等の主要な製造手段であるフォトリソグラフィーにおいて、要求される二つの重要な特性である高解像度化と焦点深度の確保とは、互いに相反する関係にあり、例えば、露光装置のレンズの高NA化、露光光の短波長化のみでは実用解像度を向上できないことが明らかにされた(月刊Semiconductor World 1990.12、応用物理第60巻第
11月号(1991)等)。
このような状況下、次世代のフォトリソグラフィーの技術として位相シフトリソグラフィーが注目を集めている。位相シフトリソグラフィーは、光学系には変更を加えず、マスクの変更のみで光リソグラフィーの解像度を向上させる方法であって、位相シフト効果を有するマスク(以下、位相シフトマスクと記載する)を透過する露光光間に位相差を与えることにより透過光相互の干渉を利用して、露光光の解像度を飛躍的に向上させたものである。
位相シフトマスクは、光強度情報と位相情報とを併有するマスクであり、レベンソン(Levenson)型、補助パターン型、自己整合型(エッジ強調型)などの各種タイプが知られている。これらの位相シフトマスクは、光強度情報のみを有する従来のフォトマスクに比べ、構成が複雑で製造にも高度の技術を要する。
この位相シフトマスクの一つとして、いわゆるハーフトーン型位相シフトマスクと称される位相シフトマスクが近年開発された。このハーフトーン型の位相シフトマスクにおいては、設けられた光半透過部が、露光光を実質的に露光に寄与しない強度の光を透過させる遮光機能と、光の位相をシフト(通常は反転)させる位相シフト機能との二つの機能を兼ね備えることになるので、遮光膜パターンと位相シフト膜パターンを別々に形成する必要がなく、構成が単純で製造も容易であるという特徴を有している。
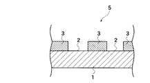
ここで、ハーフトーン型の位相シフトマスクの断面図を第3図に示す。ハーフトーン型の位相シフトマスク5は、透明基板1上において、透明基板1が露出し実質的に露光に寄与する強度の光を透過させる光透過部2と、実質的に露光に寄与しない強度の光を透過させ、且つ透過する光の位相をシフトさせる光半透過膜が設けられた光半透過部3とでマスクパターンを構成したものである。そして、光半透過部3を透過する光の位相シフトにより、光半透過部3を透過した光の位相を、光透過部2を透過した光の位相に対して実質的に反転した関係とさせてある。すると、光半透過部3と光透過部2との境界部近傍を通過し、回折現象によって互いに相手の領域に回り込んだ光を互いに打ち消しあわせることで、境界部における光強度をほぼゼロとすることができる。この光強度をほぼゼロとする効果を用い境界部のコントラストすなわち解像度を向上させたものがハーフトーン型の位相シフトマスクである。
ところで、上述したハーフトーン型の位相シフトマスクにおける光半透過部は、光透過率及び位相シフト量の双方について、要求される最適な値を有している必要がある。そして、この要求される最適な値を単層の光半透過部で実現しうる位相シフトマスクに関し本願出願人は先に出願を行っている(特許第2837803号、特許第2966369号)
この位相シフトマスクは、光半透過部を、モリブデンやタングステンなどの金属と、シリコン、酸素及び/又は窒素を主たる構成要素とする薄膜で構成したもので、モリブデンシリサイド、具体的には、酸化されたモリブデン及びシリコン(MoSiOと略す)、あるいは、酸化窒化されたモリブデン及びシリコン(MoSiONと略す)、あるいは、窒化されたモリブデン及びシリコン(MoSiNと略す)の薄膜である。これらの薄膜は、酸素含有量、又は酸素と窒素の含有量を選定することにより透過率を制御することができ、また、その厚さで位相シフト量を制御できる。
位相シフトマスクに限らず、一般的な転写マスク、すなわち基板上にマスクパターンを有する転写マスクにおいて、マスクパターンの遮光機能の制御性や、マスクパターンの加工性の観点から、マスクパターンはシリコンを含有する材料であることが多い。すなわち、転写マスクのパタン加工前の部材であるマスクブランクにおいて、マスクパターンとなる部分(膜)を、シリコンを含有するスパッタターゲットを用いて、スパッタにより形成することが多い。しかし、シリコンを含有するターゲットを用いると、成膜時にパーティクルが多く発生してしまうという問題がある。これは、シリコンを含有するターゲットを用いて成膜する際、放電が不安定になりやすいためであると考えられる。成膜時にパーティクルが発生すると、パーティクルが膜中に混入することになる。そのパーティクルが洗浄等により膜中から抜け落ちると、本来必要な膜厚よりも薄くなってしまい、例えば遮光膜の場合には、膜厚が薄くなる度合いによっては、遮光機能を果たさなくなることがあり、白欠陥となることがある。
また、上述のようなハーフトーン型位相シフトマスクブランクにおいては、光半透過部の透過率を制御するために、シリコンの含有量が多いターゲットを用いることが多く、シリコンを含有するターゲットを用いる際のパーティクルの発生の問題が、さらに顕著となる。さらに、光半透過膜中にパーティクルが混入し、そのパーティクルが洗浄等により膜中から抜け落ちた場合、上述の遮光膜の場合よりも、その問題は顕著となる。すなわち、光半透過膜の場合は、本来必要な膜厚よりも薄くなることにより、位相シフト量や透過率が変化してしまうため、その転写特性に直接的に影響してしまう。そのため、シリコンを含有するターゲットを用いる際のパーティクルの発生を低減することが、位相シフトマスクの欠陥低減に有効である。
ここで、位相シフトマスクのパターン加工前の部材である位相シフトマスクブランクスにおいて、その光半透過部を上述のような薄膜で構成すれば、一種類の材料からなる単層の膜で光半透過部を構成することができる。この構成によれば異なる材料からなる多層膜で構成する場合と比較して、成膜工程が簡略化できるとともに、単一のエッチング媒質を用いることができるので、位相シフトマスクブランクから位相シフトマスクへの製造工程を単純化することができる。
上述のようなMoSiO、MoSiON、MoSiNの薄膜を成膜する際には、モリブデンとシリコンを含有したターゲットを用い、酸素及び/又は窒素を含むガス雰囲気中での反応性スパッタリングによって行われる。しかしながら、近年のマスクパターンの微細化に伴い、位相シフトマスクブランクの光半透過膜に存在する欠陥の許容度も非常に厳しくなる状況にある。
また光半透過膜において、成膜時の放電安定性の観点、露光光の波長がKrF(248nm)、ArF(193nm)へと進展してゆく観点、光半透過膜の透過率を高透過率(
9%〜20%)にしようとする観点等より、上述した反応性スパッタリングの際の酸素及び/又は窒素含有量の制御のみでは、位相差、透過率を制御することが難しくなってきた。そこで、金属とシリコンを含むターゲットであって、化学量論的に安定な組成よりもシリコンの量を多く含む(以下、シリコン主成分(シリコンリッチ)と記載する)ターゲットを適用し、位相差、透過率を制御することがおこなわれている。なお、本発明においてシリコン主成分(シリコンリッチ)とは、シリコンを70atm%以上含むことを指す。
ところが、このようなシリコン主成分のターゲットを用いて、上述した反応性スパッタリングをおこなって光半透過膜を成膜した場合、成膜の際に発生するパーティクルにより光半透過膜中の該パーティクルに起因した欠陥の発生率が高くなるという問題点が明らかとなった。このパーティクルとは、例えば直径が0.3〜2μm超の微細な粒子である。成膜された光半透過膜中にパーティクルが混入していると、成膜後に実施される洗浄工程において、当該パーティクルが光半透過膜中より抜け落ちて、後述するピンホールやハーフピンホールとなったり、パーティクルが除去されずに光半透過膜中に残留して欠陥となる。この欠陥は、光半透過膜をパターニングして位相シフトマスクを作製する工程において、白欠陥と呼ばれるパターンの欠落を発生させることになる。
ここで、ピンホールとは、成膜の際に発生したパーティクルが基板上に付着したまま光半透過膜が成膜され、洗浄工程においてそのパーティクルが光半透過膜中より抜け落ちた際、光半透過膜表面に発生する凹部の底が基板にまで達しているものをいう。また、ハーフピンホールとは、基板への光半透過膜の成膜がある程度進んだ状態のときパーティクルが付着し、洗浄工程においてそのパーティクルが光半透過膜中より抜け落ちた際、光半透過膜表面に発生する凹部の底が基板にまで達していないものをいう。
上述のように、シリコン主成分のターゲットを用いて反応性スパッタリングを行う場合、成膜の際にパーティクルが発生する原因として、ターゲットおよび反応性スパッタリング特有の課題が考えられる。詳しくは、用いるシリコン主成分のターゲットとは、単一の化合物から形成されておらず、単体(シリコン単体を含む場合が多い)及び/又は化合物の2以上の混合物から形成される混合ターゲットである。混合ターゲットであるために、その組成や特性の均一性の問題があり、組成や特性が均一でない場合、成膜時の放電安定性が得られず、パーティクル発生の原因となる。また、反応性スパッタリングを行う際、光半透過膜の位相差、透過率の制御を行うために、酸素及び/又は窒素を用いるが、酸素を用いると、放電安定性が低下するという問題がある。
また、ハーフトーン型位相シフトマスクにおいて、露光光の洩れを防止する目的として、特開平7−128840号公報に記載の位相シフトマスクおよび位相シフトマスクブランクが知られている。第4図は、特開平7−128840号公報に記載の位相シフトマスクの断面図である。第4図に示されるように、この公報記載のハーフトーン型位相シフトマスクは、透明基板の全面に形成された膜の一部を除去して透光部を形成することによってパターン化された半透光層が形成され、この半透光層の上おける透光部との境界部近傍を除く主要部分に遮光層を形成されたものである。第5図は、第4図のハーフトーン型位相シフトマスクを製造するためのハーフトーン型位相シフトマスクブランクである。
第5図のハーフトーン型位相シフトマスクブランクを形成する際、パーティクルが光半透過膜(半透光層)中に混入したまま遮光膜(遮光層)が形成されてしまうと、成膜後の洗浄工程でパーティクルが抜け落ちる際に、前述のように光半透過膜に白欠陥を生じさせると共に、パーティクルが抜け落ちる際に上層の遮光層を伴って抜け落ち、場合によっては、パーティクルの周囲の遮光層をも伴ってパーティクルが抜け落ち、遮光層が過剰に剥離してしまう問題が生じる。このように遮光層が過剰に剥離してしまうと、露光光の洩れを防止できなくなるため、被転写体へ転写した場合に転写不良を引き起こしてしまう。
さらに、転写精度の高度化にともない、ハーフトーン型位相シフトマスクの光半透過部の透過率を高透過率(9%〜20%)にする試みがなされている。このマスクの光半透過膜にパーティクルが混入した場合、通常のマスクでは問題にならない程度の微小な欠陥であっても、欠陥となってしまう問題がある。光半透過部に混入したパーティクルが、洗浄工程で抜け落ちた場合、欠陥部分の透過率が、露光に寄与する程度の透過率となってしまう問題がある。また、このマスクの場合、光半透過部が高透過率であるため、第4図のように遮光層を備える必要があり、上述のような遮光層の過剰な剥離による問題も生じてしまう。
本発明は、上述の問題点に鑑みて成されたものであり、光半透過膜の欠陥の発生率を所望の値以下に抑えた高品質の位相シフトマスクブランクを、高い歩留まりで製造することのできる位相シフトマスクブランクの製造方法と、前記位相シフトマスクブランクの光半透過膜をパターニングして製造する位相シフトマスクの製造方法、及び前記位相シフトマスクブランクを製造するためのスパッタリングターゲットを提供することを目的とする。
本発明は上記目的を達成するためになされたものであり、以下の手段からなる。
第1の手段は、基板上にマスクパターンを形成するための薄膜を有するマスクブランクの製造方法において、
前記薄膜は、シリコンを含有するスパッタリングターゲットを用いてスパッタリング法で形成するものとし、
前記スパッタリングターゲットが、900HV以上のビッカース硬さを有するターゲットであることを特徴とするマスクブランクの製造方法である。
シリコンを含有するターゲットとは、シリコンと、少量の多成分とからなるターゲットを含む。シリコンを含有するターゲットは、放電安定性が低いため、成膜時にパーティクルが発生し、薄膜中にパーティクルが混入し、欠陥となってしまう問題があるが、ターゲットの硬度を、ビッカース硬さで900HV以上とすることで、欠陥発生を大幅に低減することができた。また、欠陥発生をさらに効果的に抑制するには、ターゲットの硬度を、ビッカース硬さで980HV以上、好ましくは1100HV以上とすることが好ましい。これにより、放電安定性が低いガスを用いた反応性スパッタリングにおいても、欠陥発生を抑制することができた。
さらに、前記ターゲットの硬度を、ビッカース硬さで1100HV以上とすることで、前記光半透過膜に存在する欠陥の発生率を、さらに効果的に抑制することができた。
なお、本発明のビッカース硬さは、JIS Z 2244及びこれに対応する国際規格であるISO 6507で規定された試験方法により測定されたものであり、試験荷重は9.807Nとして測定した。
第2の手段は、前記スパッタリングターゲットが、980HV以上のビッカース硬さを有するターゲットであることを特徴とする第1手段に記載のマスクブランクの製造方法である。
上述のように、ターゲットの硬度を、ビッカース硬さで900HV以上とすることで、欠陥発生を大幅に低減することができた。また、欠陥発生をさらに効果的に抑制するには、ターゲットの硬度を、ビッカース硬さで980HV以上、好ましくは1100HV以上とすることが好ましい。
第3の手段は、前記薄膜の形成は、酸素及び/又は窒素を含む雰囲気で、反応性スパッタリング法により行うことを特徴とする第1又は第2手段に記載のマスクブランクの製造方法である。
酸素及び/又は窒素を含む雰囲気で反応性スパッタリングを行うことにより、透過率や位相差等の薄膜の特性を容易に制御することが可能となった。さらに、従来、酸素を含む反応性スパッタリングでは、放電安定性が低いことに起因して薄膜へパーティクルが混入する問題が生じていたが、第3の手段により、欠陥発生を抑制することが可能となった。
第4の手段は、前記スパッタリングターゲットは、70〜95atm%のシリコンを含有することを特徴とする第1〜第3手段のいずれかに記載のマスクブランクの製造方法である。
シリコンの含有量が70atm%より少ないと、薄膜が所望の特性(透過率等)が得られにくく、95atm%より多いと、放電安定性が得られない場合がある。
第5の手段は、前記薄膜が光半透過膜であり、前記マスクブランクが位相シフトマスクブランクであることを特徴とする第1〜第4手段のいずれかに記載のマスクブランクの製造方法である。
遮光膜中では問題にならないような欠陥(遮光機能を保持できる程度のハーフピンホールや、微小なピンホール等による欠陥)であっても、位相シフトマスクブランクの光半透過膜においては、欠陥発生により位相差や透過率の変動が生じるため、位相シフトマスクブランクとして不良となってしまう問題がある。さらに、近年の転写精度の高度化に伴う、光半透過部の透過率を高透過率(9%〜20%)にする試みにおいては、前述のように、光半透過膜における欠陥精度がさらに厳しくなる問題や、マスクブランクの必須要素となる光半透過膜上の遮光膜における欠陥の問題などがある。
前記ターゲットの硬度を、ビッカース硬さで980HV以上とすることで、前記光半透過膜に存在する大きさが1μm以上の欠陥の発生率を所望の値以下に抑えることができた。
さらに、前記ターゲットの硬度を、ビッカース硬さで1100HV以上とすることで、前記光半透過膜に存在する大きさが1μm以上の欠陥の発生率を所望の値以下に抑えることができた。
第5の手段により、光半透過膜中へのパーティクル混入を抑制することができ、欠陥発生を効果的に抑制することが可能となった。さらに、
第6の手段は、前記薄膜の上に、金属膜を形成することを特徴とする第1〜第5手段のいずれかに記載のマスクブランクの製造方法である。
第6の手段においては、薄膜中にパーティクルが混入している場合、そのパーティクルが抜け落ちる際に、その上層の金属膜が過剰に剥離される問題があるが、本発明によれば、パーティクルを低減できるために、この問題を抑制することができる。さらに、前記金属膜として、前記薄膜からマスクパターンを形成するためのエッチング条件において、エッチング特性が異なる材料からなる金属膜を選定することにより、薄膜を高精度にパターン化することが可能となる。さらに、露光光の洩れを防止するように、遮光機能を有する材料・膜厚から選定し、金属膜がマスク材と遮光材とを兼用するようにすることが好ましい。
第7の手段は、第1〜第6手段のいずれかに記載のマスクブランクの製造方法によって製造されたマスクブランクの薄膜をパターニングして、転写マスクを製造することを特徴とする転写マスクの製造方法である。
前記マスクブランクより転写マスクを製造する際、低欠陥の転写マスクを製造することが可能となるため、欠陥修正等の工程が大幅に短縮でき、短縮化された製造工程により製造することができた。
転写マスクの例として、透明基板上に遮光パターンを有するマスク、透明基板上にハーフトーン位相シフトパターンを有するハーフトーン型位相シフトマスク、遮光膜もしくはハーフトーン膜を備えた基板掘り込み型位相シフトマスク、電子線用マスク等があり、フォトマスクとしては、KrF、ArF、F2エキシマレーザ用、EUV用、X線用などが挙げられ、これら各種のマスクに本発明の方法が適用できる。
KrFエキシマレーザ(248nm)からArFエキシマレーザ(193nm)、F2エキシマレーザ(157nm)へと露光光の短波長化が進むに連れて、膜に必要な特性(透過率や位相シフト量等)を満たすために、シリコンの含有量が多いスパッタリングターゲットが用いられるようになっている。シリコンの含有量が多いと、前述のように、成膜中にパーティクルが発生する問題が顕著となるため、露光光の波長に応じてターゲットの硬度を選定することが好ましい。KrFエキシマレーザ用のマスクブランクを製造には、ビッカース硬さが980HV以上のターゲットを用いることが好ましく、ArFエキシマレーザ用のマスクブランクを製造には、ビッカース硬さが1100HV以上のターゲットを用いることが好ましい。
なお、本発明のターゲットの硬度は、露光波長、膜の諸特性、ターゲットの材料等に応じて選定されるが、本発明の効果を得るためには、ターゲットの硬度は1400HV以下、さらには1300HV以下のビッカース硬さであることが好ましい。
第8の手段は、シリコンを主成分とするスパッタリングターゲットであって、
前記ターゲットの硬度が、ビッカース硬さで900HV以上であることを特徴とするマスクブランク製造用スパッタリングターゲットである。
シリコンを主成分とするターゲットは、放電安定性が低いため、成膜時にパーティクルが発生し、薄膜中にパーティクルが混入し、欠陥となってしまう問題があるが、ターゲットの硬度を、ビッカース硬さで900HV以上とすることで、欠陥発生を大幅に低減することができた。また、欠陥発生をさらに効果的に抑制するには、ターゲットの硬度を、ビッカース硬さで980HV以上、さらには1100HVとすることが好ましい。これにより、放電安定性が低いガスを用いた反応性スパッタリングにおいても、欠陥発生を抑制することができ、欠陥が大幅に低減されたマスクブランクを製造することが可能となった。
第9の手段は、前記スパッタリングターゲットは、金属シリサイド化合物を含むことを特徴とする第8手段に記載のマスクブランク製造用スパッタリングターゲットである。
第9の手段に挙げたターゲットの他の製造方法として、まずシリコンの粉末と金属の粉末とを焼結して金属シリサイド化合物の粉末を生成し、この金属シリサイドの粉末とシリコンの粉末とを焼結して製造する方法がある。この場合、金属シリサイド化合物の粉末とシリコンの粉末は、なるべく均一に混合・分散させた方が、放電安定性が向上し、結果として欠陥発生を抑制できた。ビッカース硬さが980HV以上のターゲットを形成するためには、上記の粉末を均一に混合・分散させる方法、ホットプレス(HP)法や熱間静水
圧プレス(HIP)法を適用した粉末焼結法の加圧焼結工程における、圧力、加熱温度を制御する方法、などがある。露光光の波長がKrFエキシマレーザからArFエキシマレーザへと進展してゆく観点から、低欠陥のマスクブランクを製造する際に用いるスパッタリングターゲットとしては、熱間静水圧プレス法により焼結することが好ましい。
金属シリサイド化合物中の金属としては、薄膜の透過率を制御するための金属として選定する方法がある。薄膜の透過率を制御するための金属としては、例えばMo、Ta、W、Ti、Crなどがあげられる。これらの金属シリサイド化合物を、シリコンを主成分とするターゲット中に含有させる方法としては、所望の量のシリコンの粉末と、あらかじめ調整した金属シリサイドの粉末とを焼結してターゲットを製造する方法がある。
第10の手段は、前記スパッタリングターゲットは、70〜95atm%のシリコンを含有することを特徴とする第8又は第9手段に記載のマスクブランク製造用スパッタリングターゲットである。
シリコンの含有量が70atm%より少ないと、所望の特性(透過率等)が得られず、95atm%より多いと、放電安定性が得られない場合がある。
第11の手段は、金属とシリコンとを含むターゲットを用いて酸素及び/又は窒素を含む雰囲気中でスパッタリングをおこない、透明基板上へ、金属と、シリコンと、酸素及び/又は窒素とを含む光半透過膜を成膜する位相シフトマスクブランクの製造方法であって、
前記ターゲットの硬度と、前記光半透膜の欠陥発生率とが相関関係を有することを用い、
前記欠陥発生率が所望の値以下となるように、所定の硬度を有する前記ターゲットを用いて、前記光半透過膜を成膜することを特徴とする位相シフトマスクブランクの製造方法である。
金属とシリコンとを含むターゲットは、金属の粉末とシリコンの粉末とを焼結して製造されるが、前記ターゲットの硬度と、前記光半透膜の欠陥発生率とが相関関係を有することから、前記光半透膜の欠陥発生率を所望の値以下に抑える硬度を有する前記ターゲットを用いて、前記スパッタリングをおこなうことで、前記光半透過膜に存在する欠陥発生率を所望の値以下に抑えることができた。
さらに、前記金属とシリコンとの化学量論的に安定な組成よりもシリコンの量が多いターゲットの硬度を所定以上とすることで、前記光半透過膜の欠陥発生率を所望の値以下に抑えながら、所定の露光波長において、所望の透過率と位相差とを有する位相シフトマスクブランクを製造することができた。
前記ターゲットの硬度を、ビッカース硬さで980HV以上とすることで、前記光半透過膜に存在する大きさが1μm以上の欠陥の発生率を所望の値以下に抑えることができた。
さらに、前記ターゲットの硬度を、ビッカース硬さで1100HV以上とすることで、前記光半透過膜に存在する大きさが1μm以上の欠陥の発生率を所望の値以下に抑えることができた。
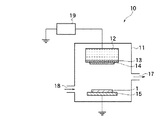
本発明に係るターゲットの硬度と位相シフトマスクブランクの欠陥数との一覧表である。 DCマグネトロンスパッタリング装置の断面模式図である。 ハーフトーン型の位相シフトマスクの断面模式図である。 遮光膜付きハーフトーン型位相シフトマスクの断面模式図である。 遮光膜付きハーフトーン型位相シフトマスクブランクの断面模式図である。
以下、本発明の実施の形態について、ターゲット製造工程、成膜工程、洗浄工程、光半透過膜中の欠陥の評価、パターニング工程毎に説明する。
(ターゲット製造工程)
本発明に係るスパッタリング用のターゲットに含まれる金属は、モリブデン、チタン、タンタル、タングステン、クロムから選ばれる一以上の金属が好ましく用いられる。そしてターゲットの原料となる金属及びシリコンの純度は、信頼性を高める意味で純度は5N以上、Fe、Ni、Cu、Al等の不純物は、数ppm以下に抑えることが好ましい。
ターゲットに含有させるシリコンの量は、化学量論的に安定な比率よりも多いシリコン主成分(シリコンリッチ)なものとする。例えば金属としてモリブデンを選択した場合、化学量論的に安定なのは、モリブデン:シリコン=33:67(モル%)であるが、ターゲットに含有させるシリコンの量は70〜95モル%が好ましく、さらに好ましくは、78〜92モル%である。
所定の硬度を有するターゲットは、例えば、電子ビーム(EB)溶解などを適用した溶解法、ホットプレス(以下、HPと記載する)や熱間静水圧プレス(以下、HIPと記載する)などを適用した粉末焼結法により製造することができる。
上述したターゲットの製造方法の内では、密度、シリコン粒径、シリコンの含有量などを自由度高く制御できる観点から、HPやHIPを用いた粉末焼結法が好ましい。そして、HPやHIPにおける加圧焼結工程における圧力、加熱温度の制御によって所望の硬度を有するターゲットを得ることができる。製造されたターゲットの硬度は、例えばビッカース硬度計などにより好個にその硬度を測定することができる。
本実施の形態においては、まずターゲットの原料としてモリブデン粉末とシリコン粉末とを、化学量論的に安定な組成となる比率で調整してモリブデンシリサイド化合物(化学式MoSi2)を調整する。次に、得られたモリブデンシリサイド粉末とシリコン粉末との量を調整し、HP又はHIPにより加圧焼結することで、シリコン主成分な硬度〜1100HVのターゲットを製造した。加圧焼結の圧力・加熱温度を制御することで、ターゲットの硬度を制御できるが、加熱温度はシリコンの融点(約1414℃)よりも低い温度にする必要があり、パーティクルの発生を低減させるためには、好ましくは1300℃以下、さらには1250℃以下とすることが好ましい。このターゲットは、シリコン主成分であり、おもにモリブデンシリサイド粒子とシリコン粒子とを含んでいる。
(成膜工程)
透明基板は、使用する露光波長に対して透明な材料であれば、特に制限されないが、合成石英ガラス、蛍石、その他各種ガラス(例えば、ソーダライムガラス、アルミノシリケートガラス、アルミノボロシリケートガラス等)等が好ましく用いられる。
上述した所定の硬度を有するターゲットを用い、スパッタリングにより透明基板上へ光半透過膜を成膜する工程について、図面を参照しながら説明する。
第2図は、DCマグネトロンスパッタリング装置(以下、スパッタリング装置と記載す
る)の模式的な断面図である。このスパッタリング装置10は、真空槽11とDC電源19を有し、真空槽11には排気口17とガス導入口18とが設けられ、さらに真空槽11の内部には、マグネトロンカソード12及び基板ホルダ15が対向して配置されている。マグネトロンカソード12にはバッキングプレート13を介してスパッタリング用のターゲット14が装着されており、基板ホルダ15には透明基板1が装着されている。真空槽11は排気口17を介して図示していない真空ポンプにより排気されている。真空槽11内の雰囲気が、形成する膜の特性に影響しない真空度まで達した後、ガス導入口18から雰囲気ガスを導入し、DC電源19を用いてマグネトロンカソード12に負電圧を加え、スパッタリングを行う。DC電源19はアーク検出機能を持ち、スパッタリング中の放電状態を監視できる。真空槽11内部の圧力は圧力計によって測定されている。
本実施の形態においては、バッキングプレート13に無酸素鋼を用い、上述したターゲット14とバッキングプレート13との接着にはインジウムを用いている。バッキングプレート13は図示していない水冷機構により直接又は間接的に冷却されている。マグネトロンカソード12とバッキングプレート13及びターゲット14は電気的に結合されている。
スパッタリングの際の雰囲気ガスは、Ar、He等の不活性ガスや、Ar、He等の不活性ガスと、酸素ガス及び/又は窒素ガスとの混合ガスが用いられる。酸素ガス及び/又は窒素ガスとしては、O2ガス、N2ガスに加えて、NOガス、N2OガスやCOガス、C
O2ガスを用いることができる。
なお、酸素は0〜40%(好ましくは0〜20%)、窒素は0〜90%(好ましくは50〜80%)を、スパッタリングの際の雰囲気ガス中に含有した場合に、本発明の作用効果が顕著に得られやすい。さらに、酸素の放電安定性の問題から、酸素の量よりも窒素の量が多い状態でスパッタリングすることが好ましい。
透明基板1上に成膜される光半透過膜中の金属、シリコン、酸素及び/又は窒素の含有量は、製造される位相シフトマスクの適用露光波長において、所望の光透過率(1〜20%)及び位相差が得られるように適宜調整すればよい。さらに光半透過膜の膜応力の低減の観点から、光半透過膜中へ酸素及び/又は窒素に加えて、炭素、フッ素、ヘリウム等を含有させることも好ましい。この場合はスパッタリングの際の雰囲気ガスへ、COガス、CO2ガス、CH4ガス、Heガス等を添加すればよい。このようにして透明基板1上に成膜された光半透過膜を得る。
(洗浄工程)
透明基板上に成膜された光半透過膜の洗浄方法は、特に限定されるものではない。位相シフトマスクブランクの洗浄工程で一般的に行われる洗浄方法、例えば、超音波が印加された洗浄液中に浸漬しておこなう洗浄方法、水素水等の機能水を用いる洗浄方法、スクラブ洗浄方法等を適用すればよい。このようにして位相シフトマスクブランクを得る。
(光半透過膜中の欠陥の評価)
得られた位相シフトマスクブランクの光半透過膜に対し、欠陥検査装置によって、0.3μm未満、0.3μm以上0.5μm未満、0.5μm以上1μm未満、1μm以上の各大きさを有する欠陥(パーティクル、ハーフピンホールを含むピンホール)の数を測定した。その結果、1μm以上の欠陥が全くない位相シフトマスクブランク(以下、1μm欠陥フリーと記載する)の歩留まりは、スパッタリングに用いたターゲットの硬度が高くなると共に向上することが判明した。そして、より好ましい0.5μm以上の欠陥が全くない位相シフトマスクブランク(以下、0.5μm欠陥フリーと記載する)の歩留まり、そして、さらに好ましい0.3μm以上の欠陥が全くない位相シフトマスクブランク(以
下、0.3μm欠陥フリーと記載する)の歩留まりも、同じくターゲットの硬度が高くなると共に向上することが判明した。
これらの結果より、ターゲットの硬度を所定以上とすることで、光半透過膜の欠陥発生率を所望の値以下に抑えることが可能であることが判明した。このターゲットの硬度を所定以上とすることで、光半透過膜の欠陥発生率を所望の値以下に抑えることが可能となるメカニズムの詳細は不明だが、次のように推察される。
光半透過膜の欠陥(パーティクル、ハーフピンホールを含むピンホール)は、主にターゲットの焼結性に影響を受けると考えられる。金属とシリコンとを含むターゲットは、上述したように金属の粉末とシリコンの粉末とを焼結して製造される(詳しくは、金属の粉末とシリコンの粉末からあらかじめ調整された金属シリサイド粉末と、シリコンの粉末とを燒結して製造される)が、一般に、この焼結性が良いことが必要とされる。すなわちターゲットの焼結性が悪いと、スパッタリングの際に、ターゲットを構成している粒子(主として、金属シリサイド粒子とシリコン粒子)が大きな一つの塊となってターゲットを飛び出し基板に付着したり、ターゲットに含まれる異物がターゲットを飛び出し基板に付着したりすることで、光半透過膜上に残留してパーティクルとなったり、洗浄工程等において、このパーティクルが光半透過膜から除去されることにより、ハーフピンホールやピンホールになると考えられる。
以上のことより、本発明者は、ターゲットの焼結性の良し悪しを定量的に把握し、このターゲットの焼結性を管理することで光半透過膜の欠陥発生率を所望の値以下に抑えることができることに想到したが、焼結性の良し悪しを定量的に把握することは困難であった。例えば、ターゲットの焼結性の良し悪しを定量的に把握する手段としてターゲットの密度を考えたが、ターゲットの密度と光半透過膜の欠陥発生率との間には、必ずしも相関が得られない場合があることが判明した。
そこで、本発明者は、光半透過膜の欠陥と、ターゲットの様々な物性値との相関関係を検討した。そして、ターゲットの焼結性の良し悪しを把握する間接的な手段として、ビッカース硬さによるターゲットの硬度を見出した。
本発明者は、硬度の異なる複数のターゲットを用いて位相シフトマスクブランクを作製し、スパッタリングの際に発生するパーティクルに起因する光半透過膜の欠陥発生率について調べた。そして、ターゲットの硬度と光半透過膜の欠陥発生率との間に、ターゲットの硬度が高くなるに従って光半透過膜の欠陥発生率が低減するという相関関係があることを見出した。そして、この相関関係を用いれば、ターゲットの硬度を所定値以上とすることで、光半透過膜の欠陥発生率を所望の値以下に抑えることが可能となることが判明した。特に、ターゲットの硬度が高くなるに従って、例えば1μm以上の欠陥のような比較的大きな欠陥の発生率が低減した。この結果、光半透過膜の欠陥の発生率が所望の値以下に抑えられた高品質の位相シフトマスクブランクを、高い歩留まりをもって製造することが可能となった。
(パターニング工程)
位相シフトマスクブランクの光半透過膜上へレジスト膜を形成し、パターン露光、現像を施してレジストパターンを形成した。次いで、単一のエッチング媒質としてCF4+O2ガスを用いたドライエッチングにより、光半透過膜のパターン(ホール、ドット等)を得た。パターン形成後にレジストを剥離し、100℃98%硫酸に15分間浸漬して硫酸洗浄した後、純水等でリンスした。そして、光半透過膜の欠陥の発生率が所望の値以下に抑えられた高品質の位相シフトマスクスを、高い歩留まりで製造することができた。
尚、本発明は、実施の形態に記載した位相シフトマスクブランクに限定されるものではない。位相シフトマスクブランクの好ましい例として、光半透過膜上へ光半透過膜をパターニングする際のマスクとなる金属膜を形成する、位相シフトマスクの作製の際、光半透過膜上に金属膜を形成し遮光膜や反射防止膜などとする、等がある。これらの金属膜として、光半透過膜とはエッチング特性が異なる材料、例えば光半透過膜がモリブデン−シリコン系の場合なら、金属膜にはCr系材料(Cr単体若しくはCrの酸化物、窒化物、炭化物等)を好ましく使用することができる。
以下、本発明の位相シフトマスクブランク及び位相シフトマスクの製造方法について、さらに詳細に説明する。
ターゲットの組成比がMo:Si=8:92(モル%)となるように、まずモリブデン粉末とシリコン粉末を原料としてモリブデンシリサイド粉末(化学式MoSi2)を調整し、次に得られたモリブデンシリサイド粉末とシリコン粉末とを混合し、HP法による適宜な圧力と加熱温度のもとで、加圧焼結をおこない、ビッカース硬さが870HVのモリブデンシリサイドターゲット(試料1)、ビッカース硬さが980HVのモリブデンシリサイドターゲット(試料2)、ビッカース硬さが1100HVのモリブデンシリサイドターゲット(試料3)の硬度が異なる3種類のモリブデンシリサイドターゲットを製造した。尚、ターゲットの硬度は、ビッカース硬度計を用い、JIS Z 2244及びこれに対応する国際規格であるISO 6507で規定されたビッカース硬さ試験方法により、試験荷重は9.807Nとして測定した。測定値は、研磨されたターゲット表面を5点測定しその測定値を平均した値である。
上述のターゲット及び透明基板として石英ガラス基板を、上述したDCマグネトロンスパッタリング装置内に設置した。そして装置内の雰囲気を、アルゴン(Ar)と窒素(N2)との混合ガス雰囲気(Ar:N2=10%:90%、圧力:0.3Pa)とし、反応性スパッタリングにより、透明基板上に光半透過膜としてMoSiNの薄膜を膜厚約672オングストロームで形成した。
次に、MoSiN薄膜が形成された透明基板を、スクラブ洗浄して薄膜表面を洗浄し、位相シフトマスクブランクを製造した。ここで得られた薄膜の光学特性を測定したところ、ArFエキシマレーザの波長(193nm)において5.5%の透過率と、180°の位相差を有しており、位相シフトマスクブランク用の光半透過膜として最適な光学特性を有していることが判明した。尚、ターゲット(試料1)より位相シフトマスクブランク(試料1)を、ターゲット(試料2)より位相シフトマスクブランク(試料2)を、ターゲット(試料3)より位相シフトマスクブランク(試料3)を、各々100枚製造した。
製造された試料1〜3の位相シフトマスクブランクのMoSiN薄膜に対し、欠陥検査装置(日立電子エンジニアリング社製 GM−1000)により欠陥(パーティクル、ハーフピンホールを含むピンホール)を全数測定した。そして、試料1〜3の位相シフトマスクブランクにおいて、0.3μm欠陥フリーの枚数、0.5μm欠陥フリーの枚数、1μm欠陥フリーの枚数を計数した。尚、パーティクルの大きさは、既知の複数の大きさのラテックス粒子径を基準とし、これと比較して算出し、ピンホールの大きさは、既知の複数の大きさのホールを有するマスクを基準とし、これと比較して算出した値である。その結果をターゲットの硬度と位相シフトマスクブランクの欠陥数との一覧表である第1図に示す。第1図は、個々のマスクブランクにおいて検出された欠陥のうち、最大のサイズで分類したものであり、例えば「0.3μm未満」は、0.3μm以上の欠陥が無かった(すなわち「0.3μm欠陥フリー」)マスクブランクを意味する。また、「0.5μm欠陥フリー」とは、0.5μm以上の欠陥が無かったことを意味し、第1図の「0.3μm
未満」と「0.3μm以上0.5μm未満」との合計数である。同様に、「1μm欠陥フリー」とは、1μm以上の欠陥が無かったことを意味し、第1図の「0.3μm未満」と「0.3μm以上0.5μm未満」と「0.5μm以上1μm未満」との合計数である。
第1図から明らかなように、ターゲット(試料1)を用いた場合、位相シフトマスクブランク試料1の欠陥サイズが0.3μm未満は0枚、欠陥サイズが0.3μm以上0.5μm未満が11枚、欠陥サイズが0.5μm以上1μm未満が18枚で、1μm欠陥フリーは100枚中29枚(1μm欠陥フリーの歩留まり=29%)であり、0.5μm欠陥フリーの歩留まり=11%であった。
ターゲット(試料2)を用いた場合、位相シフトマスクブランク試料2の欠陥サイズが0.3μm未満は16枚、欠陥サイズが0.3μm以上0.5μm未満が21枚、欠陥サイズが0.5μm以上1μm未満は43枚で、1μm欠陥フリーは100枚中80枚(1μm欠陥フリーの歩留まり=80%)であり、0.5μm欠陥フリーの歩留まり=40%、0.3μm欠陥フリーの歩留まり=16%であった。
ターゲット(試料3)を用いた場合、位相シフトマスクブランク試料3の欠陥サイズが0.3μm未満は52枚、欠陥サイズが0.3μm以上0.5μm未満が28枚、欠陥サイズが0.5μm以上1μm未満が12枚で、1μmフリーは100枚中92枚(1μm欠陥フリーの歩留まり=92%)、0.5μm欠陥フリーの歩留まり=80%、0.3μm欠陥フリーの歩留まり=52%であった。
これらの結果より、ターゲット硬度が高くなるに従って、全試験枚数中に占める0.3μm欠陥フリー、0.5μm欠陥フリー、1μm欠陥フリーの合計枚数が多く、各サイズの欠陥フリーの歩留まりが高くなり、さらに、欠陥サイズの小さい0.5μm欠陥フリー、0.3μm欠陥フリーの枚数、占める割合が高くなることが判明した。
すなわち、ビッカース硬さで980Hv以上のターゲットを用いて光半透過膜の成膜をおこなった場合、光半透膜中に大きさが1μm以上の欠陥を有しない位相シフトマスクブランクを80%以上の歩留まりで製造することができ、光半透膜中に大きさが0.5μm以上の欠陥を有しない位相シフトマスクブランクを40%以上の歩留まりで製造することができた。
さらに、ビッカース硬さで1100Hv以上のターゲットを用いて光半透過膜の成膜をおこなった場合、光半透膜中に大きさが1μm以上の欠陥を有しない位相シフトマスクブランクを90%以上の歩留まりで製造することができ、光半透膜中に大きさが0.5μm以上の欠陥を有しない位相シフトマスクブランクを80%以上の歩留まりで製造することができた。
ここで、1μm欠陥フリーの位相シフトマスクブランクの歩留まりを確認するため、本実施例のターゲットの組成比を有しビッカース硬さが1100Hvのターゲットを用いて1000枚の位相シフトマスクブランクを製造したところ、1μm欠陥フリーの位相シフトマスクブランク934枚を得ることができた。
上述の1μm欠陥フリー等の位相シフトマスクブランクは、実施の形態にて説明したパターニング工程により、容易に位相シフトマスクへ加工することができた。
実施例1にて使用したターゲット(試料1、2、3)を使用して、実施例1と同様の手法にて透明基板上にMoSiN(膜厚約672オングストローム)からなる光半透過膜を
形成し、その後、MoSiN膜上に、金属膜としてCrとCrOからなる膜(約600オングストローム)を連続して形成した。金属膜を形成後、金属膜の表面をスクラブ洗浄して、位相シフトマスクブランクを製造した。なお、ArFエキシマレーザの波長(193nm)において、得られた金属膜は遮光機能を有し、さらに、金属膜表面は反射防止機能を有している。
次に、位相シフトマスクブランクの金属膜上に、レジスト膜を形成し、パターン描画、現像を施して、レジストパターンを形成した。
次いで、レジストパターンをマスクとして、硝酸第2セリウムアンモニウムと過塩素酸と純水とからなるエッチング液により、ウェットエッチングを施して、金属膜パターンを形成した。
次に、金属膜パターンをマスクにして、実施の形態にて説明したパターニング工程により、MoSiNパターンを形成した。次に、金属膜の一部を除去して、位相シフトマスクを得た。
試料2、3のターゲットを用いて作成された位相シフトマスクにはパターン欠陥が見られなかったが、試料1のターゲットを用いて作成された位相シフトマスクには、成膜中にパーティクルが付着し、洗浄工程でそのパーティクルが抜け落ちたことによる金属膜が過剰に剥離してしまったパターン欠陥が確認された。
尚、上述の実施例においては、ターゲットとしてモリブデンシリサイドを挙げて説明したが、これに限られず、金属としてチタン、タンタル、タングステン、クロムから選ばれる1種以上の金属とシリコンとを含むターゲットであっても良い。
基板上にマスクパターンを形成するための薄膜を有するマスクブランクを製造する方法において、シリコンを含有するターゲットであって、かつビッカース硬さで900Hv以上のターゲットを用いたスパッタリングにより薄膜を形成することにより、薄膜中へのパーティクルの混入を抑制することができ、その結果、欠陥発生を抑制した高品質のマスクブランクを得ることが可能となった。
1.透明基板
2.光透過部
3.光半透過部
7.半透光層
8.遮光層
10.スパッタリング装置
11.真空槽
12.マグネトロンカソード
14.ターゲット
19.DC電源

Claims (8)

  1. 基板上にマスクパターンを形成するための遮光膜を有するマスクブランクの製造方法において、
    前記遮光膜は、金属と、70〜95atm%のシリコンとを含有し、900HV以上のビッカース硬度を有するスパッタリングターゲットを用いて、酸素及び/又は窒素ガスを含む雰囲気下で反応性スパッタリング法により形成することを特徴とするマスクブランクの製造方法。
  2. 前記スパッタリングターゲットは、該スパッタリングターゲットに含まれる金属がモリブデン、チタン、タンタル、タングステン又はクロムであることを特徴とする請求項1に記載のマスクブランクの製造方法。
  3. 前記マスクブランクは、ArFエキシマレーザ用であり、かつ前記スパッタリングターゲットは、1100HV以上のビッカース硬度を有することを特徴とする請求項1又は2に記載のマスクブランクの製造方法。
  4. 前記スパッタリングターゲットは、該スパッタリングターゲットに含まれる金属がモリブデン又はタングステンであり、1100HV以上のビッカース硬さを有するターゲットであることを特徴とする請求項1ないし3のいずれかに記載のマスクブランクの製造方法。
  5. 前記遮光膜は、酸素及び窒素ガスを含む雰囲気下で反応性スパッタリング法により形成し、前記酸素ガスの量より前記窒素ガスの量が多いことを特徴とする請求項1ないし4のいずれかに記載のマスクブランクの製造方法。
  6. 前記遮光膜は、酸素及び/又は窒素ガスを含み、炭素、フッ素及びヘリウムガスのうち少なくとも一つを含む雰囲気下で反応性スパッタリング法により形成することを特徴とする請求項1ないし4のいずれかに記載のマスクブランクの製造方法。
  7. 前記スパッタリングターゲットは、金属シリサイドの粉末と、シリコンの粉末とを焼結したスパッタリングターゲットであることを特徴とする請求項1ないし5のいずれかに記載のマスクブランクの製造方法。
  8. 請求項1ないし7のいずれか一項の製造方法に従って製造されたマスクブランクの前記遮光膜をパターニングし、転写マスクを製造することを特徴とする転写マスクの製造方法。
JP2009205755A 2002-08-19 2009-09-07 マスクブランクの製造方法および転写マスクの製造方法 Expired - Lifetime JP5409216B2 (ja)

Priority Applications (1)

Application Number Priority Date Filing Date Title
JP2009205755A JP5409216B2 (ja) 2002-08-19 2009-09-07 マスクブランクの製造方法および転写マスクの製造方法

Applications Claiming Priority (3)

Application Number Priority Date Filing Date Title
JP2002238564 2002-08-19
JP2002238564 2002-08-19
JP2009205755A JP5409216B2 (ja) 2002-08-19 2009-09-07 マスクブランクの製造方法および転写マスクの製造方法

Related Parent Applications (1)

Application Number Title Priority Date Filing Date
JP2004528898A Division JP4488892B2 (ja) 2002-08-19 2003-08-19 ハーフトーン型位相シフトマスクブランクの製造方法、位相シフトマスクブランク製造用スパッタリングターゲット、及び、位相シフトマスクの製造方法

Publications (2)

Publication Number Publication Date
JP2010020335A true JP2010020335A (ja) 2010-01-28
JP5409216B2 JP5409216B2 (ja) 2014-02-05

Family

ID=31884462

Family Applications (2)

Application Number Title Priority Date Filing Date
JP2004528898A Expired - Lifetime JP4488892B2 (ja) 2002-08-19 2003-08-19 ハーフトーン型位相シフトマスクブランクの製造方法、位相シフトマスクブランク製造用スパッタリングターゲット、及び、位相シフトマスクの製造方法
JP2009205755A Expired - Lifetime JP5409216B2 (ja) 2002-08-19 2009-09-07 マスクブランクの製造方法および転写マスクの製造方法

Family Applications Before (1)

Application Number Title Priority Date Filing Date
JP2004528898A Expired - Lifetime JP4488892B2 (ja) 2002-08-19 2003-08-19 ハーフトーン型位相シフトマスクブランクの製造方法、位相シフトマスクブランク製造用スパッタリングターゲット、及び、位相シフトマスクの製造方法

Country Status (6)

Country Link
US (1) US8652306B2 (ja)
JP (2) JP4488892B2 (ja)
KR (3) KR20080086925A (ja)
AU (1) AU2003257547A1 (ja)
DE (1) DE10393131B4 (ja)
WO (1) WO2004017140A1 (ja)

Cited By (3)

* Cited by examiner, † Cited by third party
Publication number Priority date Publication date Assignee Title
JP2015067884A (ja) * 2013-09-30 2015-04-13 Hoya株式会社 マスクブランクの製造方法及び転写用マスクの製造方法
JP2022047966A (ja) * 2020-09-14 2022-03-25 株式会社ニコン フォトマスクブランクス、フォトマスクブランクスの製造方法、学習方法およびフォトマスクブランクスの検査方法
JP2024003070A (ja) * 2019-09-04 2024-01-11 Hoya株式会社 多層反射膜付き基板、反射型マスクブランク及び反射型マスク、並びに半導体装置の製造方法

Families Citing this family (6)

* Cited by examiner, † Cited by third party
Publication number Priority date Publication date Assignee Title
JP4674170B2 (ja) * 2006-02-13 2011-04-20 信越化学工業株式会社 フォトマスクブランクの製造方法およびフォトマスクブランク
KR100854459B1 (ko) * 2007-02-14 2008-08-27 주식회사 하이닉스반도체 포토마스크의 결함 수정방법
JP5034903B2 (ja) * 2007-11-30 2012-09-26 凸版印刷株式会社 不良解析システム及びそれを用いた不良解析方法
CN107255905A (zh) * 2012-01-27 2017-10-17 旭化成株式会社 干式蚀刻用热反应型抗蚀剂材料、模具的制造方法及模具
KR101712185B1 (ko) * 2016-04-05 2017-03-06 한국기계연구원 광소결 방법을 이용한 전도성 패턴의 형성 방법 및 이에 의해 형성된 전도성 패턴
NL2027098B1 (en) * 2020-01-16 2021-10-14 Asml Netherlands Bv Pellicle membrane for a lithographic apparatus

Citations (9)

* Cited by examiner, † Cited by third party
Publication number Priority date Publication date Assignee Title
JPH08283937A (ja) * 1995-04-11 1996-10-29 Hitachi Metals Ltd 金属シリサイドターゲット材
JPH11129516A (ja) * 1997-11-04 1999-05-18 Alps Electric Co Ltd サーマルヘッド及びその製造方法
JPH11184067A (ja) * 1997-12-19 1999-07-09 Hoya Corp 位相シフトマスク及び位相シフトマスクブランク
JP2001183805A (ja) * 1999-12-24 2001-07-06 Toppan Printing Co Ltd ハーフトーン型位相シフトマスクおよびブランク
JP2001303243A (ja) * 2000-04-27 2001-10-31 Toshiba Corp スパッタリングターゲットとその製造方法、および電子部品
JP2002062632A (ja) * 2000-08-21 2002-02-28 Shin Etsu Chem Co Ltd 位相シフトマスクブランク、位相シフトマスク及びこれらの製造方法
JP2002090978A (ja) * 2000-09-12 2002-03-27 Hoya Corp 位相シフトマスクブランクの製造方法、及び位相シフトマスクブランクの製造装置
JP2002182365A (ja) * 2000-12-13 2002-06-26 Toshiba Corp スパッタリングターゲット、その製造方法、位相シフトマスクブランクおよび位相シフトマスク
JP2003055763A (ja) * 2001-08-17 2003-02-26 Tosoh Corp スパッタリングターゲット

Family Cites Families (13)

* Cited by examiner, † Cited by third party
Publication number Priority date Publication date Assignee Title
US4750932A (en) * 1985-04-15 1988-06-14 Gte Products Corporation Refractory metal silicide sputtering target
JPH0791636B2 (ja) * 1987-03-09 1995-10-04 日立金属株式会社 スパツタリングタ−ゲツトおよびその製造方法
US5674647A (en) * 1992-11-21 1997-10-07 Ulvac Coating Corporation Phase shift mask and manufacturing method thereof and exposure method using phase shift mask
JP2837803B2 (ja) 1993-03-26 1998-12-16 ホーヤ株式会社 位相シフトマスク及び位相シフトマスクブランク
JP3445329B2 (ja) 1993-11-02 2003-09-08 Hoya株式会社 ハーフトーン型位相シフトマスク及びハーフトーン型位相シフトマスクブランク
JP2989156B2 (ja) * 1996-03-30 1999-12-13 ホーヤ株式会社 スパッタターゲット、該スパッタターゲットを用いた位相シフトマスクブランク及び位相シフトマスクの製造方法
US5942356A (en) * 1996-03-30 1999-08-24 Hoya Corporation Phase shift mask and phase shift mask blank
JP2966369B2 (ja) 1996-03-30 1999-10-25 ホーヤ株式会社 位相シフトマスク、及び位相シフトマスクブランク
JP3386677B2 (ja) * 1996-08-13 2003-03-17 日立金属株式会社 金属シリサイドタ−ゲット材
US5919321A (en) * 1996-08-13 1999-07-06 Hitachi Metals, Ltd. Target material of metal silicide
US5935735A (en) * 1996-10-24 1999-08-10 Toppan Printing Co., Ltd. Halftone phase shift mask, blank for the same, and methods of manufacturing these
JP3262529B2 (ja) * 1997-12-19 2002-03-04 ホーヤ株式会社 位相シフトマスク及び位相シフトマスクブランク
KR100526737B1 (ko) * 2000-01-12 2005-11-08 신에쓰 가가꾸 고교 가부시끼가이샤 위상 시프트 마스크 블랭크, 위상 시프트 마스크 및이들의 제조 방법

Patent Citations (9)

* Cited by examiner, † Cited by third party
Publication number Priority date Publication date Assignee Title
JPH08283937A (ja) * 1995-04-11 1996-10-29 Hitachi Metals Ltd 金属シリサイドターゲット材
JPH11129516A (ja) * 1997-11-04 1999-05-18 Alps Electric Co Ltd サーマルヘッド及びその製造方法
JPH11184067A (ja) * 1997-12-19 1999-07-09 Hoya Corp 位相シフトマスク及び位相シフトマスクブランク
JP2001183805A (ja) * 1999-12-24 2001-07-06 Toppan Printing Co Ltd ハーフトーン型位相シフトマスクおよびブランク
JP2001303243A (ja) * 2000-04-27 2001-10-31 Toshiba Corp スパッタリングターゲットとその製造方法、および電子部品
JP2002062632A (ja) * 2000-08-21 2002-02-28 Shin Etsu Chem Co Ltd 位相シフトマスクブランク、位相シフトマスク及びこれらの製造方法
JP2002090978A (ja) * 2000-09-12 2002-03-27 Hoya Corp 位相シフトマスクブランクの製造方法、及び位相シフトマスクブランクの製造装置
JP2002182365A (ja) * 2000-12-13 2002-06-26 Toshiba Corp スパッタリングターゲット、その製造方法、位相シフトマスクブランクおよび位相シフトマスク
JP2003055763A (ja) * 2001-08-17 2003-02-26 Tosoh Corp スパッタリングターゲット

Cited By (5)

* Cited by examiner, † Cited by third party
Publication number Priority date Publication date Assignee Title
JP2015067884A (ja) * 2013-09-30 2015-04-13 Hoya株式会社 マスクブランクの製造方法及び転写用マスクの製造方法
JP2024003070A (ja) * 2019-09-04 2024-01-11 Hoya株式会社 多層反射膜付き基板、反射型マスクブランク及び反射型マスク、並びに半導体装置の製造方法
US12105411B2 (en) 2019-09-04 2024-10-01 Hoya Corporation Substrate with multilayer reflective film, reflective mask blank, reflective mask, and method for manufacturing semiconductor device
JP2022047966A (ja) * 2020-09-14 2022-03-25 株式会社ニコン フォトマスクブランクス、フォトマスクブランクスの製造方法、学習方法およびフォトマスクブランクスの検査方法
JP7494672B2 (ja) 2020-09-14 2024-06-04 株式会社ニコン フォトマスクブランクス、フォトマスクブランクスの製造方法、学習方法およびフォトマスクブランクスの検査方法

Also Published As

Publication number Publication date
KR20050052471A (ko) 2005-06-02
US20050250017A1 (en) 2005-11-10
KR20090033270A (ko) 2009-04-01
JP5409216B2 (ja) 2014-02-05
US8652306B2 (en) 2014-02-18
JPWO2004017140A1 (ja) 2005-12-08
DE10393131B4 (de) 2010-12-23
WO2004017140A1 (ja) 2004-02-26
AU2003257547A1 (en) 2004-03-03
KR20080086925A (ko) 2008-09-26
JP4488892B2 (ja) 2010-06-23
KR101140115B1 (ko) 2012-04-30
DE10393131T5 (de) 2005-08-11

Similar Documents

Publication Publication Date Title
JP5409216B2 (ja) マスクブランクの製造方法および転写マスクの製造方法
JP3722029B2 (ja) 位相シフトマスクブランクの製造方法、及び位相シフトマスクの製造方法
JP6823703B2 (ja) フォトマスクブランクおよびその製造方法、フォトマスクの製造方法、並びに表示装置の製造方法
JP4711317B2 (ja) 位相シフトマスクブランクの製造方法、位相シフトマスクの製造方法、及びパターン転写方法
JP6287932B2 (ja) ハーフトーン位相シフト型フォトマスクブランクの製造方法
JP4163331B2 (ja) 位相シフタ膜の製造方法、位相シフトマスク用ブランクスの製造方法、および、位相シフトマスクの製造方法
EP3196698A1 (en) Halftone phase shift photomask blank and making method
KR20040032065A (ko) 하프톤 위상 시프트 마스크 블랭크 및 그의 제조 방법
TW201610559A (zh) 相移光罩基底及其製造方法、與相移光罩
US7344806B2 (en) Method of producing phase shift mask blank, method of producing phase shift mask, phase shift mask blank, and phase shift mask
JP2005234209A (ja) ハーフトーン位相シフトマスクブランクの製造方法、ハーフトーン位相シフトマスクブランク、ハーフトーン位相シフトマスク及びパターン転写方法
JP2020160395A (ja) フォトマスクブランク、フォトマスクの製造方法及び表示装置の製造方法
JP2016194626A (ja) ハーフトーン位相シフト型フォトマスクブランクの製造方法
TWI807597B (zh) 半色調相移型空白光罩、其製造方法及半色調相移型光罩
KR101806583B1 (ko) 포토마스크 블랭크의 제조 방법, 포토마스크 블랭크, 포토마스크 및 패턴 전사 방법
TWI834914B (zh) 半色調相移型空白光罩、其製造方法及半色調相移型光罩
JPH10171096A (ja) 位相シフトマスク及び位相シフトマスクブランク
CN113406855A (zh) 光掩模坯料、光掩模的制造方法及显示装置的制造方法
JP4322848B2 (ja) 位相シフトマスクブランクの製造方法、位相シフトマスクの製造方法、及びパターン転写方法
JP2003201559A (ja) スパッタターゲット、該スパッタターゲットを用いた位相シフトマスクブランク及び位相シフトマスクの製造方法
JP2022023453A (ja) フォトマスクブランク、フォトマスクの製造方法及び表示装置の製造方法
JP6947207B2 (ja) ハーフトーン位相シフト型フォトマスクブランク及びハーフトーン位相シフト型フォトマスク
JP4177151B2 (ja) 位相シフトマスクブランクの製造方法および位相シフトマスクの製造方法
JP2021170128A (ja) ハーフトーン位相シフト型フォトマスクブランク及びハーフトーン位相シフト型フォトマスク
JP2004318085A (ja) 位相シフトマスクブランクおよび位相シフトマスク並びに位相シフトマスクブランクの製造方法および位相シフトマスクの製造方法

Legal Events

Date Code Title Description
A131 Notification of reasons for refusal

Free format text: JAPANESE INTERMEDIATE CODE: A131

Effective date: 20120703

A521 Request for written amendment filed

Free format text: JAPANESE INTERMEDIATE CODE: A523

Effective date: 20120808

A131 Notification of reasons for refusal

Free format text: JAPANESE INTERMEDIATE CODE: A131

Effective date: 20130730

A521 Request for written amendment filed

Free format text: JAPANESE INTERMEDIATE CODE: A523

Effective date: 20130924

TRDD Decision of grant or rejection written
A01 Written decision to grant a patent or to grant a registration (utility model)

Free format text: JAPANESE INTERMEDIATE CODE: A01

Effective date: 20131105

A61 First payment of annual fees (during grant procedure)

Free format text: JAPANESE INTERMEDIATE CODE: A61

Effective date: 20131105

R150 Certificate of patent or registration of utility model

Ref document number: 5409216

Country of ref document: JP

Free format text: JAPANESE INTERMEDIATE CODE: R150

R250 Receipt of annual fees

Free format text: JAPANESE INTERMEDIATE CODE: R250

R250 Receipt of annual fees

Free format text: JAPANESE INTERMEDIATE CODE: R250

R250 Receipt of annual fees

Free format text: JAPANESE INTERMEDIATE CODE: R250

R250 Receipt of annual fees

Free format text: JAPANESE INTERMEDIATE CODE: R250

R250 Receipt of annual fees

Free format text: JAPANESE INTERMEDIATE CODE: R250

R250 Receipt of annual fees

Free format text: JAPANESE INTERMEDIATE CODE: R250

R250 Receipt of annual fees

Free format text: JAPANESE INTERMEDIATE CODE: R250

EXPY Cancellation because of completion of term