JP2010016013A - 半導体デバイスの実装方法、半導体素子モジュールおよび電子情報機器 - Google Patents

半導体デバイスの実装方法、半導体素子モジュールおよび電子情報機器 Download PDF

Info

Publication number
JP2010016013A
JP2010016013A JP2008171815A JP2008171815A JP2010016013A JP 2010016013 A JP2010016013 A JP 2010016013A JP 2008171815 A JP2008171815 A JP 2008171815A JP 2008171815 A JP2008171815 A JP 2008171815A JP 2010016013 A JP2010016013 A JP 2010016013A
Authority
JP
Japan
Prior art keywords
semiconductor device
ball
substrate
semiconductor element
semiconductor
Prior art date
Legal status (The legal status is an assumption and is not a legal conclusion. Google has not performed a legal analysis and makes no representation as to the accuracy of the status listed.)
Granted
Application number
JP2008171815A
Other languages
English (en)
Other versions
JP5511156B2 (ja
Inventor
Shoichi Ishibe
祥一 石辺
Current Assignee (The listed assignees may be inaccurate. Google has not performed a legal analysis and makes no representation or warranty as to the accuracy of the list.)
Sharp Corp
Original Assignee
Sharp Corp
Priority date (The priority date is an assumption and is not a legal conclusion. Google has not performed a legal analysis and makes no representation as to the accuracy of the date listed.)
Filing date
Publication date
Application filed by Sharp Corp filed Critical Sharp Corp
Priority to JP2008171815A priority Critical patent/JP5511156B2/ja
Publication of JP2010016013A publication Critical patent/JP2010016013A/ja
Application granted granted Critical
Publication of JP5511156B2 publication Critical patent/JP5511156B2/ja
Active legal-status Critical Current
Anticipated expiration legal-status Critical

Links

Images

Classifications

    • H10W72/072
    • H10W72/073
    • H10W74/15
    • H10W90/724
    • H10W90/734

Landscapes

  • Solid State Image Pick-Up Elements (AREA)
  • Transforming Light Signals Into Electric Signals (AREA)
  • Wire Bonding (AREA)
  • Die Bonding (AREA)

Abstract

【課題】半田の接着強度と共に放熱効果を維持しつつ、基板面と撮像素子を水平に保ちながら容易かつ確実に実装できて画質不良を防止する。
【解決手段】表面側中央部分に固体撮像素子3が搭載されたセンサデバイス4を、センサデバイス4の裏面側の各金属接合端子4aと、各ペイスト状半田材料6aとをそれぞれ位置合せをして、4箇所のパールボール5上に載置する。周囲温度を摂氏230度にして、センサデバイス4の裏面側の各金属接合端子4aと、配線パターン2aの中央部側の各端部(ランド部)とをそれぞれ、各ペイスト状半田材料6aにより半田接合部6として接合する。このようにして、マウント基板2とセンサデバイス4との間に間隔保持用のパールボール5を介在させている。
【選択図】図1

Description

本発明は、基板上に半導体素子を有する半導体デバイスを実装する半導体デバイスの実装方法、この半導体デバイスの実装方法により実装され、被写体からの画像光を光電変換して撮像する複数の受光部を有する半導体素子としての撮像素子または、出射光を発生させるための半導体素子としての発光素子および入射光を受光するための半導体素子としての受光素子がモジュール化された半導体素子モジュール、この半導体素子モジュールとしての固体撮像モジュールを画像入力デバイスとして撮像部に用いた例えばデジタルビデオカメラおよびデジタルスチルカメラなどのデジタルカメラや、画像入力カメラ、スキャナ装置、ファクシミリ装置、カメラ付き携帯電話装置や、この半導体素子モジュールを情報記録再生部に用いたピックアップ装置などの電子情報機器に関する。
この種の従来の半導体素子モジュールとしての固体撮像モジュールは、主に、カメラモジュールとして、カメラ付き携帯電話装置や携帯端末装置(PDA)、さらにはカードカメラなどに用いられ、セラミックスやガラス入りエポキシ樹脂などのマウント基板上に、被写体からの画像光をそれぞれ光電変換して被写体を撮像する複数の受光部を有する半導体素子としての固体撮像素子を有する半導体デバイスとしての固体撮像チップと、入射光を撮像素子上に結像するための集光レンズを固定したホルダー部材とが設けられている。この場合に、固体撮像チップの各端子はマウント基板の配線パターン上に配設されて半田付けされ、互いに電気的に接続されている。また、これらの集光レンズと撮像素子との間の結像距離を正確に平行に固定して入射光を撮像素子上に精度よく結像させることは、鮮明な画像を得るために重要である。
このマウント基板上に、半導体デバイスとしてのセンサデバイスをマウント基板上に実装する場合について図12および図13を参照しながら説明する。
図12(a)〜図12(d)は、従来の固体撮像素子を有するセンサデバイスの実装方法について説明するための各工程を模式的に示す斜視図である。図13(a)〜図13(d)は、図12(a)〜図12(d)にそれぞれ対応した各工程の縦断面図である。
従来のセンサデバイスの実装方法は、図12(a)および図13(a)に示すように、まず、配線パターン150aが表面側に形成されたマウント基板150を実装装置の所定位置にセットする。
次に、配線150aの半田付け箇所に対応したランド位置に穴がパターニングされた樹脂製または金属製の薄板状のマスク(図示せず)を、マウント基板150上に重ねて置き、そのマスクの上からペイスト状半田材料を塗布する。その後、マスクをマウント基板150上から取り除くと、図12(b)および図13(b)に示すように、配線パターン150aの半田付け箇所に対応したランド位置に、ペイスト状半田材料151が配設される。ここでは、各ペイスト状半田材料151は、左右3本づつの配線150aの中央側の端部上に6箇所配置される。また、マスクの板厚は、0.5mm程度である。
さらに、図12(c)および図13(c)に示すように、ロボットアームにより、表面側中央部分に固体撮像素子152が搭載されたセンサデバイス153を、センサデバイス153の裏面側の各端子153aと各ペイスト状半田材料151とをそれぞれ位置合せをしてマウント基板150上に載置する。センサデバイス153がペイスト状半田材料151上に載置されると、ペイスト状半田材料151はペイスト状であるため、センサデバイス153の自重で、ある程度沈み込む。
その後、マウント基板150、各ペイスト状半田材料151および、固体撮像素子152が搭載されたセンサデバイス153に摂氏230度の温度をかけて、図12(d)および図13(d)に示すように各ペイスト状半田材料151を溶かして、センサデバイス153の裏面側の各金属端子153aと、配線パターン150aの中央側の各ランド部とをそれぞれ、各ペイスト状半田材料151による半田接合部151bにより電気的に接合する。
次に、別の従来の固体撮像モジュールの事例として、接着剤の充填材として、例えば1辺が2〜8μm(0.002〜0.008mm)の矩形画素よりも小さい微細なフィラーを用いたものが特許文献1に開示されている。
図14は、特許文献1に開示されている従来の撮像装置の要部構成例を示す縦断面図である。
図14において、特許文献1に開示されている従来の撮像装置100は、光軸Lに沿って配置された非球面レンズ103、光学フィルタ104および半導体撮像素子105と、これらを保持する立体基板102と、立体基板102に接続されるプリント基板(FPC)110とを有している。なお、立体基板102の開口部を取り囲む部分108は、ガラス強化PPA(ポリフタルアミド樹脂)などによって構成され、光の透過を防ぐため黒色にしてある。
立体基板102は、半導体撮像素子105を固定する役割を有すると共に光学フィルタ104を保持する保持部材としての役割を兼ね備えている。立体基板102は、筒形の鏡筒部102aと、鏡筒部102aの一端面に連続する底部102bとからなっている。
光学フィルタ104は、鉛ガラスからなる基材の片面にIR(InfraRed)カットコートが施され、他面に反射防止のAR(Anti Reflection)コートが施されている。
光学フィルタ104を立体基板102に接着するための接着剤106について説明する。立体基板102には、ガラス強化PPA(ポリフタルアミド樹脂)が用いられており、その線膨張係数は約40×10−6mm/℃である。一方、光学フィルタ104の線膨張係数は約10×10−6mm/℃である。この両者を適切に固定するため、接着剤106の線膨張係数が立体基板102の線膨張係数と光学フィルタ104の線膨張係数との間の値となるように、接着剤106には図示しないフィラーが含まれている。また、このフィラーは、光学用に適するように二酸化ケイ素(SiO)からなっている。さらに、接着剤106が硬化した後に異方性を有しないように、フィラーは球形のものを用いることが好ましい。
このフィラーの大きさは、その径が半導体撮像素子5の画素サイズより小さく、画素サイズの1/2以上である。以下、この大きさのフィラーを含む接着剤106を用いる理由について説明する。
フィラーの径についての説明に先立ってフィラーを含む接着剤106に起因する問題点について述べる。接着剤106が硬化する際には、接着剤106の中に含まれるフィラーが飛散したり、特に端面部分においてフィラーの一部がむき出しになったりすることがある。また、光学フィルタ104を立体基板102に取付けた後に、撮像素子105や光学系のレンズ103を取り付けたり、FPC110を実装し、必要によってはフォーカスの調整工程が行われるが、これらの工程におけるハンドリングや衝撃などによって端面部分におけるフィラーが脱落することがある。飛散・脱落したフィラーが撮像素子105の表面に付着して画素からの信号出力を低下させる原因になることが、撮像装置100の分析によって明らかになった。特に最近では、撮像装置100が小型化してきたことに伴って、装置分解のために必要な部分の寸法を確保することが困難となり、分解できない装置が多く見られる。このような撮像装置100では、飛散・脱落したフィラーが撮像素子105の表面に付着した場合、撮像装置100を廃棄せざるを得ない事態も起きていた。
この撮像装置100では、フィラーの径が画素サイズ以下の接着剤106を用いて光フィルタ104を接着したので、飛散・脱落したフィラーが半導体撮像素子105の表面に付着してもキズ補正によってフィラーのない状態と同じ画像を得ることができる。
このように、CCDの欠陥などによるキズを補正する機能(キズ補正機能)を用いて、フィラーに起因して生じ得る画像の黒点などを補正することができるので、工程・工法・設備などの変更をする必要がない。すなわち、撮像装置組み立ての作業性を低下させることなく、フィラーによる画質劣化を低減させることができる。
特許文献1の場合よりも大きさが大きい平均粒径が10〜80μm(0.01〜0.08mm)のフィラーを接着剤の充填材として用いたものが特許文献2に開示されている。
特許文献2に開示されている従来のダイボンディングペーストにおいて、エポキシ樹脂、このエポキシ樹脂の硬化剤、球形熱可塑性有機フィラーより平均粒径が小さい充填剤および平均粒径が10〜80μm(0.01〜0.08mm)で、その粒度分布が±5μm以下である球形熱可塑性有機フィラーを必須成分とする。また、そのダイボンディングペーストにおいて、熱可塑性有機フィラーが、成分の全合計量に対して0.1〜10重量%の割合で含有されている。
更に別の従来の固体撮像モジュールの事例として、接着剤の充填材として、粒状に丸い微細なバンプを用いたものが特許文献3、4にそれぞれ開示されている。
図15は、特許文献3に開示されている従来の撮像装置の要部構成例を示す縦断面図である。
図15において、特許文献3に開示されている従来の撮像装置200は、内側領域に開口部202が形成された枠状の平面形状を有し絶縁性材料からなる基台201と、基台201の一方の面に付設され開口部202側の領域から基台201の外周端に向かって延在する複数本の配線204と、基台201の配線が付設された面に、開口部202に受光領域205aが面するように搭載された撮像素子205とを備え、各配線における基台201の開口部201側および外周端側の各端部が各々内部端子部204aおよび外部端子部204bを形成し、撮像素子の電極と配線の内部端子部とが電気的に接続されている。配線は金属薄板リードにより形成され、基台201は金属薄板リードを埋め込んだ樹脂成型体により構成され、金属薄板リードは、端面の少なくとも一部が基台201中に埋設されている。なお、透光板206は、基台201の開口部201上を覆うように設けられている。
撮像素子205における受光領域205aと同一の面に、受光領域205aの回路と接続された電極パッド(図示せず)が配置され、電極パッド上にAuからなるバンプ208が設けられている。各配線204における開口部202に隣接した端部が内部端子部204aを形成しており、内部端子部204aがバンプ208を介して撮像素子205の電極パッドと電気的に接続されている。各配線204における、基台201の外周端部(凹部203の外側の部分)の下面に配置された部分が外部端子部204bを形成し、回路基板上の電極と接続するために用いられる。
図16は、特許文献4に開示されている従来の撮像装置の要部構成例を示す縦断面図である。
図16において、特許文献4に開示されている従来の撮像装置300の基台301は、絶縁性の材料、例えばエポキシ樹脂などの可塑性樹脂からなり、平面形状が中央部に矩形の開口部302を有する矩形枠状である。基台301の断面形状は、全体として実質的に一様な厚みを有する平板状である。基台301の下面には、開口部302の周縁から基台301の外周端に亘って、金属箔リードからなる複数本の配線303が配置されている。金属箔リードとしては、通常のリードフレームに使用される材料と同様な、例えばCu合金、42アロイ(Fe−Ni42合金)などが用られ、厚さは概ね2〜3μmである。
基台301における配線303が形成された面に、Si基板に形成されたCCDなどの撮像素子304が固定され、その電極が配線303と接続されている。各配線303における開口部302に隣接した端部が内部端子部303aを形成しており、内部端子部303aがバンプ307を介して撮像素子304の電極パッドと電気的に接続されている。各配線303における、基台301の外周端部の下面に配置された部分が外部端子部303bを形成し、回路基板上の電極と接続するために用いられる。撮像素子304の表面側の中央部分には受光領域304aが設けられ、撮像素子304の表面側の周囲部と内部端子部303aとの間にバンプ307が設けられている。撮像素子304と内部端子部303aとがシール樹脂306により接着されている。なお、透光板305は基台301の開口部302上を覆うように設けられている。
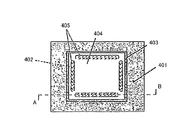
図17は、特許文献5に開示されている従来の半導体装置の要部構成例を示す平面図、図18は、図17のA−B線の縦断面図である。
図17および図18において、特許文献4に開示されている従来の半導体装置400は、樹脂基板401と、半導体チップ404と、樹脂基板401と半導体チップ404との間に配置されかつ粒子形状の揃った平均粒径が0.01〜0.08mmの粒子402と、樹脂基板401と半導体チップ404とを接着させるためのダイボンドペースト403とから構成されている。
樹脂基板401における半導体チップ404の搭載領域の外縁部分には溝405が形成されており、この溝405の内部が粒子402によって埋められている。半導体チップ404は平面視した場合、矩形であるため、4本の溝405が樹脂基板401に形成される。効果として粒子形状の揃った粒子402を入れることによりチップの均一高さ制御が可能になる。
樹脂基板401に掘り込まれた溝405の深さは粒子402の大きさよりも浅く、溝405の広さは粒子402の直径よりも広く設定されている。このため、溝405に粒子402を入れた場合、樹脂基板401の表面に対して粒子402の一部が突出するようになっている。樹脂基板401上にある粒子402を覆うようにダイボンドペースト403を塗布し、その上に半導体チップ404を押し付けるように配置する。
このとき、粒子402が溝405によって保持され、半導体チップ404と樹脂基板401との間には、粒子402の大きさと溝405の深さとの差分と略同じ分だけの均一高さのギャップが形成されることになる。
特開2004−327914号公報 特開2002−309065号公報 特開2004−327916号公報 特開2004−356226号公報 特開2006−165313号公報
上記従来の構成では、被写体を撮像する固体撮像素子152が設けられたセンサデバイス153をマウント基板150上に実装する場合には、マウント基板150上に印刷した配線パターン150aの半田位置にセンサデバイス153の各端子を位置合せして、センサデバイス153をマウントし、熱処理により半田をリフローさせている。ところが、センサデバイス153をマウント基板150上に密着させて実装すると、放熱効果が低減し、暗電流不良が発生するため、センサデバイス153はマウント基板150上から浮かして実装する。一方、半田の量は、配線パターン150aの印刷ばらつきや、配線パターン150aによって差があり、図19に示すように熱処理時に半田接合部151bの高さに差が発生する。この半田接合部151bの高さの差は、マウント基板150の表面に対してセンサデバイス153の表面に傾き(煽り)を発生させてしまい、カメラモジュール本体のレンズ焦点距離がセンサデバイス153の固体撮像素子152におけるの受光面の位置(中央部とその周辺部)により異なることによる画質不良(部分的にピンボケ)を引き起こす。
特許文献1、2のように、接着剤の充填材としての微細なフィラーでは、フィラーが微細過ぎてセンサデバイスの高さ制御をするのに、全く適していないし、センサデバイスをマウント基板上に密着させて実装してしまい、これによって、半田の接着強度と共に放熱効果が低減し、暗電流不良も発生する虞がある。
特許文献3、4では、バンプは均一な球形ではなく、大きさもそれぞれ異なることから、センサデバイスのマウント基板に対する高さ制御材として用いることは難しい。特許文献3、4では、軟らかい材料を用いて、別工程で平行に押さえ付けて高さ制御しているものと考えられるが、それでも、バンプのサイズが異なることから、センサデバイスの表面に平行度を出すことは困難でセンサデバイスが傾く虞がある。
特許文献5では、樹脂基板401上に多数の粒子402を介在させて半導体チップ404が配置されており、平面視矩形の半導体チップ404における4辺の内側に沿った溝405内に多数の粒子402を入れて半導体チップ404の高さ制御をしているが、樹脂基板401に形成される溝405の加工深さにばらつきがあると、粒子402の直径のばらつきだけでなく、半導体チップ404の高さ制御に誤差が生じて半導体チップ404の表面が傾く虞がある。この溝405の加工は、深さがばらつきやすく、加工精度が高いレーザ光で溝加工すると、コストの高いレーザ加工機を別途用意する必要が生じる。また、多数の粒子402を溝405内に入れるのに、溝405内に一つ一つ粒子402を入れると工数が多くなるし、樹脂基板401を傾けて一括して粒子402を溝405内に入れる場合には、工数が少なくなるものの、溝405内に入りきれない粒子402は、その傾きによって落ちて樹脂基板401の表面から排除されるが、樹脂基板401の表面に粒子402が残った場合には、溝405の深さだけ高さ制御に差が生じ、樹脂基板401上の半導体チップ404の表面に傾きが生じてしまう。しかも、この場合の樹脂基板401と半導体チップ404との隙間は極めて微小であり、半導体チップ404を樹脂基板401上に密着させて実装してしまい、これによって、半田の接着強度と共に放熱効果が低減し、暗電流不良も発生する虞がある。
本発明は、上記従来の問題を解決するもので、半田の接着強度と共に放熱効果を維持しつつ、基板面と撮像素子を水平に保ちながら容易かつ確実に実装できて画質不良を防止することができる半導体デバイスの実装方法、この半導体デバイスを用いた半導体素子モジュール、この半導体素子モジュールを画像入力デバイスとして撮像部に用いた例えばカメラ付き携帯電話装置や、この半導体素子モジュールを情報記録再生部に用いたピックアップ装置などの電子情報機器を提供することを目的とする。
本発明の半導体デバイスの実装方法は、基板上に半導体素子を有する半導体デバイスを実装する半導体デバイスの実装方法において、該基板と該半導体デバイスとの間に、目標間隔保持用のボールを介在させた状態で、該基板の配線パターンのランド部と該半導体デバイスの各端子とを接合部により接合する半導体デバイス実装工程を有するものであり、そのことにより上記目的が達成される。
また、好ましくは、本発明の半導体デバイスの実装方法における半導体デバイス実装工程は、前記配線パターンの各ランド部上にそれぞれ、各ペイスト状半田材料をそれぞれ配置する半田材料配置工程と、該各ペイスト状半田材料上の一部または全部にそれぞれ、前記ボールを載置するボール載置工程と、前記半導体デバイスを、該半導体デバイスの各端子と該配線パターンの各ランド部とをそれぞれ位置合せして、前記ボール上に載置する半導体デバイス載置工程と、該各ペイスト状半田材料を溶融させて、該半導体デバイスの各端子と該配線パターンの各ランド部とをそれぞれ接合する半導体デバイス接合工程とを有する。
さらに、好ましくは、本発明の半導体デバイスの実装方法における半導体デバイス実装工程は、前記基板上の半導体デバイス実装用の所定位置に、各ペイスト状熱硬化樹脂材料を一または複数箇所配置するペイスト状熱硬化樹脂材料配置工程と、該ペイスト状熱硬化樹脂材料上にそれぞれ、前記ボールを載置するボール載置工程と、前記半導体デバイスの各端子と該基板の配線パターンの各ランド部とをそれぞれ位置合せし、該半導体デバイスを該ボール上に載置する半導体デバイス載置工程と、該ペイスト状熱硬化樹脂材料を熱硬化させると共に、該半導体デバイスの各端子と該配線パターンの各ランド部とを半田によりそれぞれ接合する半導体デバイス接合工程とを有する。
さらに、好ましくは、本発明の半導体デバイスの実装方法における半導体デバイス実装用の所定位置は、前記配線パターンの各ランド部以外の位置である。
さらに、好ましくは、本発明の半導体デバイスの実装方法におけるボールは、樹脂製球体、該樹脂製球体の表面に金属めっきが施された球体および金属製球体のうちの少なくともいずれかである。
さらに、好ましくは、本発明の半導体デバイスの実装方法におけるボールが樹脂製球体の表面に金属めっきが施された球体または金属製球体の場合に、該金属めっきの金属材料または該金属製球体の金属材料が前記半田の材料と同じ材料である。
さらに、好ましくは、本発明の半導体デバイスの実装方法におけるボールは、前記配線パターンの複数のランド部のうち、最も支持面積が広く取れる4箇所以上のランド部の位置で前記半導体デバイスを支持している。
さらに、好ましくは、本発明の半導体デバイスの実装方法における半田の材料はペイスト状半田材料である。
さらに、好ましくは、本発明の半導体デバイスの実装方法における半導体デバイス実装工程の後に、前記基板と前記半導体デバイスとの間の隙間内に充填樹脂を注入する充填樹脂注入工程をさらに有する。
さらに、好ましくは、本発明の半導体デバイスの実装方法におけるボールの直径は、前記半田材料または前記ペイスト状熱硬化樹脂材料の厚さよりも大きく設定されている。
さらに、好ましくは、本発明の半導体デバイスの実装方法におけるボールの直径は0.2〜0.8mmである。
さらに、好ましくは、本発明の半導体デバイスの実装方法における目標間隔は、前記基板の配線パターンのランド部と前記半導体デバイスの各端子とを接合する接合部が所定の集中熱応力条件により接合不良にならない程度の間隔である。
本発明の半導体素子モジュールは、表面側に一または複数の配線パターンが形成された基板と、半導体素子が表面側に搭載された半導体デバイスと、該基板と該半導体デバイスとの間に介在して、該半導体デバイスの表面と該基板の表面を、平行に配置すると共に目標間隔に保持するためのボールと、該配線パターンの所定のランド部と該半導体デバイスの各端子を電気的に接合する接合部とを有するものであり、そのことにより上記目的が達成される。
また、好ましくは、本発明の半導体素子モジュールにおけるボールは、前記配線パターンの所定のランド部上に載置されているかまたは、該配線パターンのランド部以外の該基板上に載置されている。
さらに、好ましくは、本発明の半導体素子モジュールにおけるボールは、樹脂製球体、該樹脂製球体の表面に金属めっきが施された球体および金属製球体のうちの少なくともいずれかである。
さらに、好ましくは、本発明の半導体素子モジュールにおけるボールが樹脂製球体の表面に金属めっきが施された球体または金属製球体の場合で、前記接合部が半田接合部の場合に、該金属めっきの金属材料または該金属製球体の金属材料が該半田接合部の材料と同じ材料により構成されている。
さらに、好ましくは、本発明の半導体素子モジュールにおけるボールは、前記配線パターンの複数のランド部のうち、最も支持面積が広く取れる4箇所以上のランド部の位置で前記半導体デバイスを支持している。
さらに、好ましくは、本発明の半導体素子モジュールにおける接合部の半田材料はペイスト状半田材料である。
さらに、好ましくは、本発明の半導体素子モジュールにおいて、前記基板と前記半導体デバイスとの間の隙間内に充填樹脂が配設されている。
さらに、好ましくは、本発明の半導体素子モジュールにおけるボールの直径は、前記接合部の半田材料の厚さよりも大きく設定されている。
さらに、好ましくは、本発明の半導体素子モジュールにおけるボールが前記配線パターンの所定のランド部上に載置される場合は、該ボールがペイスト状半田材料内に配置されており、該ボールが該配線パターンのランド部以外の該基板上に載置される場合は該ボールがペイスト状熱硬化樹脂材料内に配置されている。
さらに、好ましくは、本発明の半導体素子モジュールにおけるボールの直径は、前記ペイスト状熱硬化樹脂材料の厚さよりも大きく設定されている。
さらに、好ましくは、本発明の半導体素子モジュールにおけるボールの直径は0.2〜0.8mmである。
さらに、好ましくは、本発明の半導体素子モジュールにおける目標間隔は、前記基板の配線パターンのランド部と前記半導体デバイスの各端子とを接合する接合部が所定の集中熱応力条件により接合不良にならない程度の間隔である。
さらに、好ましくは、本発明の半導体素子モジュールにおける半導体素子は、被写体からの画像光を光電変換して撮像する複数の受光部を有する撮像素子である。
さらに、好ましくは、本発明の半導体素子モジュールにおける半導体素子は、出射光を発生させるための発光素子および入射光を受光するための受光素子である。
さらに、好ましくは、本発明の半導体素子モジュールにおいて、本発明の上記半導体素子モジュールの基板上の所定位置に、前記撮像素子上に入射光を結像するための集光レンズを固定したホルダー部材が設けられている。
さらに、好ましくは、本発明の半導体素子モジュールにおいて、本発明の上記半導体素子モジュールの基板上に、出射光を直進させたり入射光を所定方向に曲げて導いたりする一または複数の光学機能素子を固定したホルダー部材が設けられている。
本発明の電子情報機器は、本発明の上記半導体素子モジュールを画像入力デバイスとして撮像部に用いたものであり、そのことにより上記目的が達成される。
本発明の電子情報機器は、本発明の上記半導体素子モジュールを情報記録再生部に用いたものであり、そのことにより上記目的が達成される。
上記構成により、以下、本発明の作用を説明する。
本発明においては、基板面と半導体デバイスとの間に間隔保持用のボールを介在させるので、基板面と半導体デバイスとがボールによって平行に位置している。これによって、半導体素子モジュールの半導体素子の受光面が基板面と平行になることにより、受光面の中央部とその周辺部など如何なる場所でもレンズ焦点距離が一定になり、受光面内のフォーカス差による画質不良が防止される。
また、基板面の配線パターンの接合部と半導体デバイスの各端子とを接合するための半田中に同一径のボールが埋め込まれているので、半導体デバイスの基板面に対する高さ制御と同時に、基板面の配線パターンの接合部(ランド部)と半導体デバイスの各端子とを半田により電気的に接合することが可能となる。
さらに、ボールの径に応じて基板面と半導体デバイスとの間に所望のクリアランスを設けることが可能となる。半導体デバイスの各端子と、基板の各配線パターンのランド部とが半田で接続される場合に、所望のクリアランスとは、半導体デバイスと基板の熱膨張の差が半田(フィレット)に影響しない隙間である。半田(フィレット)の体積によって、半導体デバイスと基板との熱応力緩和が可能な所望のクリアランスが必要になる。したがって、特許文献1〜5の粒子の大きさでは全く半導体デバイスと基板との熱集中応力の緩和ができない微細なクリアランスになってしまう。
この半導体デバイスと基板との熱集中応力の緩和のために、クリアランス内にエポキシ系の充填樹脂を介在させてもよい。この場合には、充填樹脂によって半導体デバイスと基板とが接合されるので、半導体デバイスと基板との半田接合部分の集中熱応力が大幅に緩和されて、半導体デバイスと基板の半田接合部分の破壊が防止される。
特許文献5のように溝加工する必要もなく、半導体デバイスの基板面に対する高さ制御がより容易かつ正確になるし、小さいチップを載置するノズルを共用すれば、ノズルを別途用意することなくボールを半田上または接着材上に容易かつ正確に置くことが可能となる。
以上により、本発明によれば、撮像素子を表面側に有する半導体デバイスを基板面上にマウントする前に、半田部上または、半導体デバイスを支持可能とする基板面の接着材上に、同一径のボールを載せて実装して、基板面と半導体デバイスとの間に間隔保持用のボールを介在させるため、基板面に対する半導体デバイスの撮像素子の傾きを、治具による補助的な制御や、実装後に修正などを施すことなく、半導体デバイスの撮像素子を基板面に対して所望の均一な目標高さに揃えることができる。これによって、半田の接着強度と共に放熱効果を維持しつつ、基板面と撮像素子を水平に保ちながら容易かつ確実に実装できて画質不良を防止することができる。
以下に、本発明の半導体デバイスの実装方法および、この半導体デバイスの実装方法により半導体デバイスが実装された半導体素子モジュールを撮像素子モジュールに適用した場合の撮像素子モジュールの実施形態1,2および、この撮像素子モジュールの実施形態1,2に更に光学部材をモジュール化した撮像素子モジュールの実施形態3、さらに、これらの撮像素子モジュールの実施形態1〜3のいずれかを撮像部に用いた電子情報機器の実施形態4について図面を参照しながら詳細に説明する。
(実施形態1)
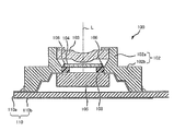
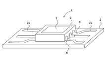
図1は、本発明の実施形態1に係る撮像素子モジュールの構成例を模式的に示す斜視図である。図2は、図1の撮像素子モジュールの要部縦断面図である。図3は、図1の撮像素子モジュールの要部の拡大縦断面図である。
図1〜図3において、本実施形態1の撮像素子モジュール1は、配線幅0.2〜1mm(ここでは0.5mm)の配線パターン2aが中央部分を空けて左右に3行づつ形成されたマウント基板2と、入射光を光電変換して信号電荷を生成する固体撮像素子3が表面側中央部分に搭載された半導体デバイスとしてのセンサデバイス4と、マウント基板2とセンサデバイス4との間に介在して、センサデバイス4をマウント基板2と平行に配置するためのボールとしてのパールボール5と、このパールボール5を内部に含み、マウント基板2の配線パターン2aとセンサデバイス4の各接続端子4aを電気的に接合している半田接合部6とを有している。
パールボール5は、樹脂製で球状のものでもよく、樹脂製の球体表面に金属めっきが為されているものでもよく、金属製の球体であってもよいが、ここでは、樹脂製の球体表面に金属めっき材料として、半田接合部6のペイスト状半田材料と同じすず(Sn)と銀(Ag)との合金メッキが施されている。要するに、パールボール5が樹脂製球体の表面に金属めっきが施された球体または金属製球体の場合に、金属めっきの材料または金属製球体の金属材料が半田材料と同じ材料により構成されていれば、半田材料と金属材料が互いに親和性があり、熱応力にも強く接合強度が高く、互いに剥がれ難い。
また、パールボール5は、センサデバイス4を、最も支持面積が広く取れる配線パターン2aの最も外側の4箇所で支持するようにしているが、最も支持面積が広く取れる3箇所または5箇所以上の複数箇所によるセンサデバイス4への支持でもよい。このパールボール5は、単に3箇所だけの支持では、センサデバイス4が倒れて傾く可能性も捨てきれず、センサデバイス4に対して、最も支持面積が広く取れる4箇所以上の複数箇所による支持が安定している。パールボール5は、半田接合部6となるペイスト状半田材料上に置かれると、ロボットアーム(搭載機)の搭載荷重およびパールボール5の自重によりパールボール5がペイスト状半田材料内を沈むので、パールボール5がペイスト状半田材料上から脱落し難い。
このパールボール5により、マウント基板2とセンサデバイス4との間に所望のクリアランスを設けている。このクリアランス内にエポキシ系の充填樹脂を介在させてもよく、この場合には、エポキシ系の充填樹脂によってセンサデバイス4とマウント基板2とが上下で接合されるので、センサデバイス4とマウント基板2の半田接合部6の集中熱応力が大幅に緩和されてセンサデバイス4とマウント基板2の半田接合部6の破壊が防止される。このクリアランスは、小さければ小さいほど、センサデバイス4とマウント基板2との間に充填樹脂が必要になるし、クリアランスが大きければ大きいほど、その充填樹脂が必要ではなくなる。流動性のよいエポキシ系の充填樹脂を細いノズル先端部から、センサデバイス4とマウント基板2との間に注入すると、毛細管現象で容易にそのクリアランス内部に流入する。
上記構成により、以下、半導体デバイスとしてのセンサデバイス4のマウント基板2への実装方法について説明する。
図5(a)〜図5(e)は、図1のセンサデバイス4のマウント基板2への実装方法について説明するための各工程を模式的に示す斜視図である。図6(a)〜図6(e)は、図5(a)〜図5(e)にそれぞれ対応した各工程の縦断面図である。
図1のセンサデバイス4のマウント基板2への実装方法は、図5(a)および図6(a)に示すように、まず、配線幅0.2〜1mm(ここでは0.5mm)の配線パターン2aが形成されたマウント基板2を実装装置のテーブル上の所定位置にセットする。
次に、配線パターン2aの半田付け箇所に対応したランド位置に穴がパターニングされた樹脂製または金属製の薄板状のマスク(図示せず)を、マウント基板2上に重ねて置き、そのマスクの上から半田接合部6となるペイスト状半田材料を塗布する。その後、マスクをマウント基板2上から取り除くと、図5(b)および図6(b)に示すように、配線パターン2aの半田付け箇所に対応したランド位置に、ペイスト状半田材料6aが配置される。ここでは、各ペイスト状半田材料6aは、左右3本づつの配線パターン2aの中央側の端部(ランド部またはフットパターン;半田が溶融して電気的に接着するための接着部分)上に厚さ0.1〜0.3mm(ここでは、0.25mm)高さで6箇所配置される。また、マスクの板厚は、ここでは、0.3mm程度である。
さらに、図5(c)および図6(c)に示すように、ロボットアームの先端部に設けられたノズルにより、左右の各3箇所のペイスト状半田材料6aのうち、外側の4箇所のペイスト状半田材料6a上にそれぞれ、直径が0.2〜0.8mm(ここでは0.3mm)の球状のパールボール5を吸引して移動させた後に排気して順次載置する。ロボットアーム(搭載機)の搭載荷重およびパールボール5の自重によりパールボール5がペイスト状半田材料内に沈む。このペイスト状半田材料6aの厚さ0.25mmよりも、パールボール5の直径0.3mmの方が大きく構成されており、ペイスト状半田材料6a内にパールボール5が自重で沈んでもパールボール5の上面部分が露出する寸法関係になっている。
さらに、図5(d)および図6(d)に示すように、ロボットアームの先端部に設けられたノズルにより、表面側中央部分に固体撮像素子3が搭載されたセンサデバイス4を、センサデバイス4の裏面側の各金属接合端子4aと、各ペイスト状半田材料6aとをそれぞれ位置合せをして、4箇所のパールボール5上に載置する。センサデバイス4がペイスト状半田材料6a上のパールボール5上に載置されると、ペイスト状半田材料6aはペイスト状であるため、センサデバイス4の自重で、パールボール5と共にある程度または完全にペイスト状半田材料6a内に沈み込む。
その後、マウント基板2、各ペイスト状半田材料6aおよび、固体撮像素子3が搭載されたセンサデバイス4をリフロー炉に入れて、周囲温度を摂氏230度にする。これによって、図5(e)および図6(e)に示すように各ペイスト状半田材料6aを溶かし、センサデバイス4の裏面側の各金属接合端子4aと、配線パターン2aの中央部側の各端部(ランド部)とをそれぞれ、各ペイスト状半田材料6aにより半田接合部6として電気的に接合する。
以上により、本実施形態1によれば、マウント基板2とセンサデバイス4との間に間隔保持用のパールボール5を介在させるため、マウント基板2とセンサデバイス4とをパールボール5によって目標とする間隔で平行に位置させることができる。これによって、半導体素子モジュールとしての撮像素子モジュール1の固体撮像素子3の受光面がマウント基板2の表面と平行になることにより、受光面の中央部とその周辺部など如何なる場所でもレンズ焦点距離が一定になり、受光面内のフォーカス差による画質不良を防止することができる。
また、マウント基板2の表面の配線パターン2aの接合部とセンサデバイス4の各端子とを接合するための半田中に同一径のパールボール5が埋め込まれているため、センサデバイス4の基板面に対する高さ制御と同時に、マウント基板2の表面の配線パターン2aの接合部(ランド部)とセンサデバイス4の各端子とを半田により電気的に接合することができる。
さらに、パールボール5の径に応じてマウント基板2の基板面とセンサデバイス4との間に所望のクリアランス(隙間)を設けることができる。センサデバイス4の各端子と、マウント基板2の各配線パターン2aのランド部とが半田で接続される場合に、所望のクリアランスとは、センサデバイス4とマウント基板2の熱膨張の差が半田(フィレット)に影響しない隙間である。
このセンサデバイス4とマウント基板2との熱集中応力の緩和のために、このクリアランス内にエポキシ系の充填樹脂を介在させてもよい。この場合には、充填樹脂によってセンサデバイス4とマウント基板2とが接合されるので、センサデバイス4とマウント基板2との半田接合部6の集中熱応力が大幅に緩和されて、センサデバイス4とマウント基板2の半田接合部分の破壊が防止される。このクリアランスが小さければ小さいほど、充填樹脂が必要になるし、クリアランスが大きければ大きいほど、充填樹脂が必要ではなくなる。流動性のよいエポキシ系の充填樹脂を細いノズル先端部から注入すると、毛細管現象で容易にクリアランス内部に流入する。
(実施形態2)
上記実施形態1では、マウント基板2の各配線パターン2a上にペイスト状半田材料6aを載置し、そのペイスト状半田材料6a上にパールボール5を載置し、マウント基板2の各配線パターン2aとセンサデバイス4の各金属接合端子4aとを半田により接合すると同時に、パールボール5によりマウント基板2とセンサデバイス4との距離を一定の目標距離に高さ制御したが、本実施形態2では、マウント基板2の各配線パターン2aとは別に、マウント基板2上の左右の各配線パターン2a間の中央部分に、後述する熱硬化型ペイスト状樹脂材料としての熱硬化型ペイスト状接着剤7を4箇所配置して、その上にパールボール5を載置し、更にその上にセンサデバイス4を置き、マウント基板2の各配線パターン2aとセンサデバイス4の各金属接合端子4aとの電気的な接続を、別途、ハンダ付けにより行う場合について説明する。
図7(a)〜図7(e)は、本発明の実施形態2に係る撮像素子モジュールのセンサデバイス4のマウント基板2への実装方法について説明するための各工程を模式的に示す斜視図である。図8(a)〜図8(e)は、図7(a)〜図7(e)にそれぞれ対応した各工程の縦断面図である。なお、上記図5と同様の作用効果を奏する部材には同一の符号番号を付けて説明する。
本実施形態2の撮像素子モジュール1Aのセンサデバイス4のマウント基板2への実装方法は、図7(a)および図8(a)に示すように、まず、配線幅0.2〜1mm(ここでは0.5mm)の配線パターン2aが形成されたマウント基板2を実装装置のテーブル上の所定位置にセットする。
次に、図7(b)および図8(b)に示すように、ピン転写方式(または注射器等によるディスペンス方式:微量時はピン転写方式を用い、それよりも多い量の時はディスペン方式を用いる。量に応じて両者を使い分ける。)により熱硬化型ペイスト状接着剤7をピン先端部分で掬い取って、配線パターン2aの半田付け箇所の内側中央領域に、熱硬化型ペイスト状接着剤7をそれぞれ順次塗布する。これによって、配線パターン2aの内側中央領域に、4つの熱硬化型ペイスト状接着剤7が配置されるとともに、更にこれらの中央位置に、これらよりも高く、センサデバイス4を固定するための一つの熱硬化型ペイスト状接着剤7aが配置される。ここでは、各熱硬化型ペイスト状接着剤7は、左右3本づつの配線パターン2aの内側の中央部(中央領域)上に厚さ0.1〜0.3mm(ここでは、0.25mm)高さで4箇所配置される。
さらに、図7(c)および図8(c)に示すように、ロボットアームの先端部に設けられたノズルにより、左右の4箇所の熱硬化型ペイスト状接着剤7上にそれぞれ、直径が0.2〜0.8mm(ここでは0.3mm)の球状のパールボール5を吸引して移動させた後に排気して順次載置する。ロボットアーム(搭載機)の搭載荷重およびパールボール5の自重によりパールボール5がペイスト状接着剤7内に沈む。この熱硬化型ペイスト状接着剤7の厚さ0.25mmよりも、パールボール5の直径0.3mmの方が大きく構成されており、熱硬化型ペイスト状接着剤7内に、パールボール5が、ロボットアームの搭載荷重およびパールボール5の自重により沈んでも、パールボール5の上面部分が露出する寸法関係になっている。また、中央部分の一つの熱硬化型ペイスト状接着剤7aの厚さは、このときのパールボール5の高さ位置(直径寸法)と略同等以上の高さになる厚さ寸法(熱硬化型ペイスト状接着剤7aの表面がセンサデバイス4の底面に必ず接着する厚さ寸法)に設定されている。
さらに、図7(d)および図8(d)に示すように、ロボットアームの先端部に設けられたノズルにより、表面側中央部分に固体撮像素子3が搭載されたセンサデバイス4を、センサデバイス4の裏面側の各金属接合端子4aと、マウント基板2の配線パターン2aとをそれぞれ位置合せをして、それらの内側の中央部分の4箇所のパールボール5上に載置すると共に、センサデバイス固定用の熱硬化型ペイスト状接着剤7a上に載置する。センサデバイス4が、熱硬化型ペイスト状接着剤7上のパールボール5上に載置されると共に、熱硬化型ペイスト状接着剤7a上に載置されると、熱硬化型ペイスト状接着剤7はペイスト状であるため、ロボットアーム(搭載機)の搭載荷重、パールボール5およびセンサデバイス4の自重で、更にパールボール5と共に熱硬化型ペイスト状接着剤7内に完全に沈み込む。
その後、マウント基板2、各熱硬化型ペイスト状接着剤7および、固体撮像素子3が搭載されたセンサデバイス4をリフロー炉(高温炉)に入れて、周囲温度を比較的低温度の摂氏120度にする。これによって、図7(e)および図8(e)に示すように各熱硬化型ペイスト状接着剤7を硬貨させてパールボール5をマウント基板2上に固定する。
続いて、センサデバイス4の裏面側の各金属接合端子4aと、配線パターン2aの中央部側の各端部(ランド部)とにそれぞれ、各ペイスト状半田材料を位置させてレーザ光によりスポット的に熱を加えて溶融させて電気的に接合して半田接合部6とする。
以上により、本実施形態2によれば、周囲温度を比較的低温度の摂氏120度に設定して各熱硬化型ペイスト状接着剤7を硬貨させてパールボール5をマウント基板2上に固定するため、センサデバイス4の固体撮像素子3に、上記実施形態1のような摂氏230度の高温度をかけないので固体撮像素子3の熱による変質が抑制される。
(実施形態3)
図9は、本発明の実施形態3に係る撮像素子モジュールの要部構成例を模式的に示す縦断面図である。図1と同様の作用効果を奏する部材には同一の部材番号を付して説明することにする。
図9において、本実施形態3の固体撮像モジュール10は、カメラモジュールとして、セラミックスやガラス入りエポキシ樹脂などのマウント基板2と、このマウント基板2上に、被写体からの画像光をそれぞれ光電変換して被写体を撮像する複数の受光部を有する半導体素子としての固体撮像素子3をパッケージ内に有するセンサデバイス4と、このマウント基板2とセンサデバイス4間に介在しているパールボール5と、入射光を撮像素子上に結像するための集光レンズ11を固定したホルダー部材12と、ホルダー部材12内の集光レンズ11とセンサデバイス4間に設けられ、表面に赤外線カットフィルタがコーティングされたガラス基板13とを有している。
(実施形態4)
図10は、本発明の実施形態4として、本発明の実施形態1〜3の固体撮像モジュール1または1Aまたは10を含む固体撮像装置を撮像部に用いた電子情報機器の概略構成例を示すブロック図である。
図10において、本実施形態4の電子情報機器90は、上記実施形態1〜3の固体撮像モジュール1または1Aまたは10からの撮像信号を各種信号処理してカラー画像信号を得る固体撮像装置91と、この固体撮像装置91からのカラー画像信号を記録用に所定の信号処理した後にデータ記録可能とする記録メディアなどのメモリ部92と、この固体撮像装置91からのカラー画像信号を表示用に所定の信号処理した後に液晶表示画面などの表示画面上に表示可能とする液晶表示装置などの表示手段93と、この固体撮像装置91からのカラー画像信号を通信用に所定の信号処理をした後に通信処理可能とする送受信装置などの通信手段94と、この固体撮像装置91からのカラー画像信号を印刷用に所定の信号処理をした後に印刷処理可能とする画像出力手段95とを有している。なお、この電子情報機器90として、これに限らず、固体撮像装置91の他に、メモリ部92と、表示手段93と、通信手段94と、プリンタなどの画像出力手段95とのうちの少なくともいずれかを有していてもよい。
この電子情報機器90としては、前述したように例えばデジタルビデオカメラ、デジタルスチルカメラなどのデジタルカメラや、監視カメラ、ドアホンカメラ、車載用後方監視カメラなどの車載用カメラおよびテレビジョン電話用カメラなどの画像入力カメラ、スキャナ装置、ファクシミリ装置、カメラ付き携帯電話装置および携帯端末装置(PDA)などの画像入力デバイスを有した電子機器が考えられる。
したがって、本実施形態4によれば、この固体撮像装置91からのカラー画像信号に基づいて、これを表示画面上に良好に表示したり、これを紙面にて画像出力手段95により良好にプリントアウト(印刷)したり、これを通信データとして有線または無線にて良好に通信したり、これをメモリ部92に所定のデータ圧縮処理を行って良好に記憶したり、各種データ処理を良好に行うことができる。
なお、上記実施形態4の電子情報機器90に限らず、図11に示すように、本発明の電子素子モジュール20を情報記録再生部に用いたピックアップ装置91Aなどの電子情報機器90Aであってもよい。この場合のピックアップ装置91Aの光学素子としては、出射光を直進させて出射させると共に、入射光を曲げて所定方向に入射させる光学機能素子(例えばホログラム光学素子)である。また、ピックアップ装置91Aの電子素子としては、出射光を発生させるための発光素子(例えば半導体レーザ素子またはレーザチップ)および入射光を受光するための受光素子(例えばフォトIC)を有している。したがって、電子素子モジュール20としての半導体素子モジュールは、光学機能素子(例えばホログラム光学素子)と、その下部に設けられた発光素子および受光素子とを有している。
この場合も同様に、電子情報機器90Aは、上記本発明の電子素子モジュール20を情報記録再生部に用いたピックアップ装置91Aと、このピックアップ装置91Aからのカラー画像信号を記録用に所定の信号処理した後にデータ記録可能とする記録メディアなどのメモリ部92と、このピックアップ装置91Aからのカラー画像信号を表示用に所定の信号処理した後に液晶表示画面などの表示画面上に表示可能とする液晶表示装置などの表示手段93と、このピックアップ装置91Aからのカラー画像信号を通信用に所定の信号処理をした後に通信処理可能とする送受信装置などの通信手段94と、このピックアップ装置91Aからのカラー画像信号を印刷用に所定の信号処理をした後に印刷処理可能とする画像出力手段95とを有している。なお、この電子情報機器90Aとして、これに限らず、ピックアップ装置91Aの他に、メモリ部92と、表示手段93と、通信手段94と、プリンタなどの画像出力手段95とのうちの少なくともいずれかを有していてもよい。
以上のように、本発明の好ましい実施形態1〜4を用いて本発明を例示してきたが、本発明は、この実施形態1〜4に限定して解釈されるべきものではない。本発明は、特許請求の範囲によってのみその範囲が解釈されるべきであることが理解される。当業者は、本発明の具体的な好ましい実施形態1〜4の記載から、本発明の記載および技術常識に基づいて等価な範囲を実施することができることが理解される。本明細書において引用した特許、特許出願および文献は、その内容自体が具体的に本明細書に記載されているのと同様にその内容が本明細書に対する参考として援用されるべきであることが理解される。
本発明は、基板上に半導体素子を有する半導体デバイスを実装する半導体デバイスの実装方法、この半導体デバイスの実装方法により実装され、被写体からの画像光を光電変換して撮像する複数の受光部を有する半導体素子としての撮像素子または、出射光を発生させるための半導体素子としての発光素子および入射光を受光するための半導体素子としての受光素子がモジュール化された半導体素子モジュール、この半導体素子モジュールとしての固体撮像モジュールを画像入力デバイスとして撮像部に用いた例えばデジタルビデオカメラおよびデジタルスチルカメラなどのデジタルカメラや、画像入力カメラ、スキャナ装置、ファクシミリ装置、カメラ付き携帯電話装置や、この半導体素子モジュールを情報記録再生部に用いたピックアップ装置などの電子情報機器の分野において、撮像素子を表面側に有する半導体デバイスを基板面上にマウントする前に、半田部上または、半導体デバイスを支持可能とする基板面の接着材上に、同一径のボールを載せて実装して、基板面と半導体デバイスとの間に間隔保持用のボールを介在させるため、基板面に対する半導体デバイスの撮像素子の傾きを、治具による補助的な制御や、実装後に修正などを施すことなく、半導体デバイスの撮像素子を基板面に対して所望の均一な目標高さに揃えることができる。これによって、半田の接着強度と共に放熱効果を維持しつつ、基板面と撮像素子を水平に保ちながら容易かつ確実に実装できて画質不良を防止することができる。
本発明の実施形態1に係る撮像素子モジュールの構成例を模式的に示す斜視図である。 図1の撮像素子モジュールの要部縦断面図である。 図1の撮像素子モジュールの要部の拡大縦断面図である。 (a)は図1のセンサデバイスの表面側を模式的に示す斜視図、(b)は図1のセンサデバイスの裏面側を模式的に示す平面図である。 (a)〜(e)は、図1のセンサデバイス4のマウント基板2への実装方法について説明するための各工程を模式的に示す斜視図である。 (a)〜(e)は、図5(a)〜図5(e)にそれぞれ対応した各工程の縦断面図である。 (a)〜(e)は、本発明の実施形態2に係る撮像素子モジュールのセンサデバイス4のマウント基板2への実装方法について説明するための各工程を模式的に示す斜視図である。 (a)〜(e)は、図7(a)〜図7(e)にそれぞれ対応した各工程の縦断面図である。 本発明の実施形態3に係る撮像素子モジュールの要部構成例を模式的に示す縦断面図である。 本発明の実施形態4として、本発明の実施形態1〜3の固体撮像モジュール1または1Aまたは10を含む固体撮像装置を撮像部に用いた電子情報機器の概略構成例を示すブロック図である。 本発明の実施形態4の変形例として、本発明の電子素子モジュールを含むピックアップ装置を情報記録再生部に用いた電子情報機器の概略構成例を示すブロック図である。 (a)〜(d)は、従来の固体撮像素子の実装方法について説明するための各工程を模式的に示す斜視図である。 (a)〜(d)は、図12(a)〜図12(d)にそれぞれ対応した各工程の縦断面図である。 特許文献1に開示されている従来の撮像装置の要部構成例を示す縦断面図である。 特許文献3に開示されている従来の撮像装置の要部構成例を示す縦断面図である。 特許文献4に開示されている従来の撮像装置の要部構成例を示す縦断面図である。 特許文献5に開示されている従来の半導体装置の要部構成例を示す平面図、 図17のA−B線の縦断面図である。 図12の従来の固体撮像素子の実装方法において、半田接合部の高さに差が発生する場合について説明するための要部縦断面図である。
符号の説明
1、1A、10 固体撮像モジュール
2 マウント基板(基板)
2a 配線パターン
3 固体撮像素子
4 センサデバイス
4a 接続端子(端子)
5 パールボール(ボール)
6 半田接合部
6a ペイスト状半田材料
7 熱硬化型ペイスト状接着剤(熱硬化型ペイスト状樹脂材料)
11 集光レンズ
12 ホルダー部材
13 ガラス基板
90、90A 電子情報機器
91 固体撮像装置
91A ピックアップ装置
20 電子素子モジュール(半導体素子モジュール)
92 メモリ部
93 表示手段
94 通信手段
95 画像出力手段

Claims (30)

  1. 基板上に半導体素子を有する半導体デバイスを実装する半導体デバイスの実装方法において、
    該基板と該半導体デバイスとの間に、目標間隔保持用のボールを介在させた状態で、該基板の配線パターンのランド部と該半導体デバイスの各端子とを接合部により接合する半導体デバイス実装工程を有する半導体デバイスの実装方法。
  2. 前記半導体デバイス実装工程は、
    前記配線パターンの各ランド部上にそれぞれ、各ペイスト状半田材料をそれぞれ配置する半田材料配置工程と、
    該各ペイスト状半田材料上の一部または全部にそれぞれ、前記ボールを載置するボール載置工程と、
    前記半導体デバイスを、該半導体デバイスの各端子と該配線パターンの各ランド部とをそれぞれ位置合せして、前記ボール上に載置する半導体デバイス載置工程と、
    該各ペイスト状半田材料を溶融させて、該半導体デバイスの各端子と該配線パターンの各ランド部とをそれぞれ接合する半導体デバイス接合工程とを有する請求項1に記載の半導体デバイスの実装方法。
  3. 前記半導体デバイス実装工程は、
    前記基板上の半導体デバイス実装用の所定位置に、各ペイスト状熱硬化樹脂材料を一または複数箇所配置するペイスト状熱硬化樹脂材料配置工程と、
    該ペイスト状熱硬化樹脂材料上にそれぞれ、前記ボールを載置するボール載置工程と、
    前記半導体デバイスの各端子と該基板の配線パターンの各ランド部とをそれぞれ位置合せし、該半導体デバイスを該ボール上に載置する半導体デバイス載置工程と、
    該ペイスト状熱硬化樹脂材料を熱硬化させると共に、該半導体デバイスの各端子と該配線パターンの各ランド部とを半田によりそれぞれ接合する半導体デバイス接合工程とを有する請求項1に記載の半導体デバイスの実装方法。
  4. 前記半導体デバイス実装用の所定位置は、前記配線パターンの各ランド部以外の位置である請求項3に記載の半導体デバイスの実装方法。
  5. 前記ボールは、樹脂製球体、該樹脂製球体の表面に金属めっきが施された球体および金属製球体のうちの少なくともいずれかである請求項1〜3のいずれかに記載の半導体デバイスの実装方法。
  6. 前記ボールが樹脂製球体の表面に金属めっきが施された球体または金属製球体の場合に、該金属めっきの金属材料または該金属製球体の金属材料が前記半田の材料と同じ材料である請求項2または3に記載の半導体デバイスの実装方法。
  7. 前記ボールは、前記配線パターンの複数のランド部のうち、最も支持面積が広く取れる4箇所以上のランド部の位置で前記半導体デバイスを支持している請求項1〜3のいずれかに記載の半導体デバイスの実装方法。
  8. 前記半田の材料はペイスト状半田材料である請求項2または3に記載の半導体デバイスの実装方法。
  9. 前記半導体デバイス実装工程の後に、前記基板と前記半導体デバイスとの間の隙間内に充填樹脂を注入する充填樹脂注入工程をさらに有する請求項1〜3のいずれかに記載の半導体デバイスの実装方法。
  10. 前記ボールの直径は、前記半田材料または前記ペイスト状熱硬化樹脂材料の厚さよりも大きく設定されている請求項2または3に記載の半導体デバイスの実装方法。
  11. 前記ボールの直径は0.2〜0.8mmである請求項1〜3のいずれかに記載の半導体デバイスの実装方法。
  12. 前記目標間隔は、前記基板の配線パターンのランド部と前記半導体デバイスの各端子とを接合する接合部が所定の集中熱応力条件により接合不良にならない程度の間隔である請求項1〜3のいずれかに記載の半導体デバイスの実装方法。
  13. 表面側に一または複数の配線パターンが形成された基板と、半導体素子が表面側に搭載された半導体デバイスと、該基板と該半導体デバイスとの間に介在して、該半導体デバイスの表面と該基板の表面を、平行に配置すると共に目標間隔に保持するためのボールと、該配線パターンの所定のランド部と該半導体デバイスの各端子を電気的に接合する接合部とを有する半導体素子モジュール。
  14. 前記ボールは、前記配線パターンの所定のランド部上に載置されているかまたは、該配線パターンのランド部以外の該基板上に載置されている請求項13に記載の半導体素子モジュール。
  15. 前記ボールは、樹脂製球体、該樹脂製球体の表面に金属めっきが施された球体および金属製球体のうちの少なくともいずれかである請求項13に記載の半導体素子モジュール。
  16. 前記ボールが樹脂製球体の表面に金属めっきが施された球体または金属製球体の場合で、前記接合部が半田接合部の場合に、該金属めっきの金属材料または該金属製球体の金属材料が該半田接合部の材料と同じ材料により構成されている請求項15に記載の半導体素子モジュール。
  17. 前記ボールは、前記配線パターンの複数のランド部のうち、最も支持面積が広く取れる4箇所以上のランド部の位置で前記半導体デバイスを支持している請求項13に記載の半導体素子モジュール。
  18. 前記接合部の半田材料はペイスト状半田材料である請求項13に記載の半導体素子モジュール。
  19. 前記基板と前記半導体デバイスとの間の隙間内に充填樹脂が配設されている請求項13に記載の半導体素子モジュール。
  20. 前記ボールの直径は、前記接合部の半田材料の厚さよりも大きく設定されている請求項13に記載の半導体素子モジュール。
  21. 前記ボールが前記配線パターンの所定のランド部上に載置される場合は、該ボールがペイスト状半田材料内に配置されており、該ボールが該配線パターンのランド部以外の該基板上に載置される場合は該ボールがペイスト状熱硬化樹脂材料内に配置されている請求項14に記載の半導体素子モジュール。
  22. 前記ボールの直径は、前記ペイスト状熱硬化樹脂材料の厚さよりも大きく設定されている請求項21に記載の半導体素子モジュール。
  23. 前記ボールの直径は0.2〜0.8mmである請求項13に記載の半導体素子モジュール。
  24. 前記目標間隔は、前記基板の配線パターンのランド部と前記半導体デバイスの各端子とを接合する接合部が所定の集中熱応力条件により接合不良にならない程度の間隔である請求項13に記載の半導体素子モジュール。
  25. 前記半導体素子は、被写体からの画像光を光電変換して撮像する複数の受光部を有する撮像素子である請求項13に記載の半導体素子モジュール。
  26. 前記半導体素子は、出射光を発生させるための発光素子および入射光を受光するための受光素子である請求項13に記載の半導体素子モジュール。
  27. 請求項25に記載の半導体素子モジュールの基板上の所定位置に、前記撮像素子上に入射光を結像するための集光レンズを固定したホルダー部材が設けられている半導体素子モジュール。
  28. 請求項26に記載の半導体素子モジュールの基板上に、出射光を直進させたり入射光を所定方向に曲げて導いたりする一または複数の光学機能素子を固定したホルダー部材が設けられている半導体素子モジュール。
  29. 請求項27に記載の半導体素子モジュールを画像入力デバイスとして撮像部に用いた電子情報機器。
  30. 請求項28に記載の半導体素子モジュールを情報記録再生部に用いた電子情報機器。
JP2008171815A 2008-06-30 2008-06-30 半導体デバイスの実装方法、半導体素子モジュールおよび電子情報機器 Active JP5511156B2 (ja)

Priority Applications (1)

Application Number Priority Date Filing Date Title
JP2008171815A JP5511156B2 (ja) 2008-06-30 2008-06-30 半導体デバイスの実装方法、半導体素子モジュールおよび電子情報機器

Applications Claiming Priority (1)

Application Number Priority Date Filing Date Title
JP2008171815A JP5511156B2 (ja) 2008-06-30 2008-06-30 半導体デバイスの実装方法、半導体素子モジュールおよび電子情報機器

Publications (2)

Publication Number Publication Date
JP2010016013A true JP2010016013A (ja) 2010-01-21
JP5511156B2 JP5511156B2 (ja) 2014-06-04

Family

ID=41701894

Family Applications (1)

Application Number Title Priority Date Filing Date
JP2008171815A Active JP5511156B2 (ja) 2008-06-30 2008-06-30 半導体デバイスの実装方法、半導体素子モジュールおよび電子情報機器

Country Status (1)

Country Link
JP (1) JP5511156B2 (ja)

Cited By (3)

* Cited by examiner, † Cited by third party
Publication number Priority date Publication date Assignee Title
JP2012028433A (ja) * 2010-07-21 2012-02-09 Nec Network Products Ltd 電子部品の実装方法
JP2019050418A (ja) * 2018-11-29 2019-03-28 株式会社ニコン 撮像装置
CN114271038A (zh) * 2019-08-23 2022-04-01 株式会社富士 电子电路装置及其制造方法

Citations (4)

* Cited by examiner, † Cited by third party
Publication number Priority date Publication date Assignee Title
JPH08139097A (ja) * 1994-11-10 1996-05-31 World Metal:Kk フリップチップ用接続ボール及び半導体チップの接合方法
JP2001094002A (ja) * 1999-09-21 2001-04-06 Nec Corp Bga実装方法およびその実装構造
JP2001110825A (ja) * 1999-10-08 2001-04-20 Nec Corp 半導体装置の製造方法
JP2009283628A (ja) * 2008-05-21 2009-12-03 Tamura Seisakusho Co Ltd 半導体素子実装方法

Patent Citations (4)

* Cited by examiner, † Cited by third party
Publication number Priority date Publication date Assignee Title
JPH08139097A (ja) * 1994-11-10 1996-05-31 World Metal:Kk フリップチップ用接続ボール及び半導体チップの接合方法
JP2001094002A (ja) * 1999-09-21 2001-04-06 Nec Corp Bga実装方法およびその実装構造
JP2001110825A (ja) * 1999-10-08 2001-04-20 Nec Corp 半導体装置の製造方法
JP2009283628A (ja) * 2008-05-21 2009-12-03 Tamura Seisakusho Co Ltd 半導体素子実装方法

Cited By (4)

* Cited by examiner, † Cited by third party
Publication number Priority date Publication date Assignee Title
JP2012028433A (ja) * 2010-07-21 2012-02-09 Nec Network Products Ltd 電子部品の実装方法
JP2019050418A (ja) * 2018-11-29 2019-03-28 株式会社ニコン 撮像装置
CN114271038A (zh) * 2019-08-23 2022-04-01 株式会社富士 电子电路装置及其制造方法
CN114271038B (zh) * 2019-08-23 2024-05-03 株式会社富士 电子电路装置及其制造方法

Also Published As

Publication number Publication date
JP5511156B2 (ja) 2014-06-04

Similar Documents

Publication Publication Date Title
US7780365B2 (en) Camera module and method of manufacturing the same
CN101432759B (zh) 在柔性衬底上安装图像记录装置的系统和方法
CN100484199C (zh) 照相机组件封装件
JP3695583B2 (ja) 撮像用半導体装置及びその製造方法
US7414663B2 (en) Imaging element, imaging device, camera module and camera system
JP2007288755A (ja) カメラモジュール
US20110299848A1 (en) Camera Module with Premolded Lens Housing and Method of Manufacture
JP2003348395A (ja) イメージセンサモジュールおよびその製造方法
CN1969539A (zh) 紧凑透镜塔形组件
JP2007208793A (ja) 小型カメラ
US7540672B2 (en) Digital still camera module
JP5511156B2 (ja) 半導体デバイスの実装方法、半導体素子モジュールおよび電子情報機器
JP2005242242A (ja) 画像センサパッケージおよびカメラモジュール
JP5732238B2 (ja) 固体撮像装置および電子情報機器
JP2009158873A (ja) 光学デバイスおよび光学デバイスの製造方法
TWI543613B (zh) 影像感測模組
JP2005051535A (ja) 撮像装置およびその製造方法
JPH04137663A (ja) 固体撮像装置
CN107360347A (zh) 影像模组结构
JP2012079984A (ja) 半導体デバイスの実装方法、半導体モジュール、および電子情報機器
WO2024009694A1 (ja) 半導体装置、電子機器および半導体装置の製造方法
JP2006294720A (ja) カメラモジュール
KR20100027857A (ko) 웨이퍼 레벨 카메라 모듈 및 이의 제조방법
JP2009088650A (ja) イメージセンサモジュールおよびイメージセンサモジュールの製造方法
KR20110116847A (ko) 카메라 모듈 및 그 제조방법

Legal Events

Date Code Title Description
A621 Written request for application examination

Free format text: JAPANESE INTERMEDIATE CODE: A621

Effective date: 20100826

A977 Report on retrieval

Free format text: JAPANESE INTERMEDIATE CODE: A971007

Effective date: 20110228

A131 Notification of reasons for refusal

Free format text: JAPANESE INTERMEDIATE CODE: A131

Effective date: 20120822

A521 Request for written amendment filed

Free format text: JAPANESE INTERMEDIATE CODE: A523

Effective date: 20120927

A131 Notification of reasons for refusal

Free format text: JAPANESE INTERMEDIATE CODE: A131

Effective date: 20130118

A521 Request for written amendment filed

Free format text: JAPANESE INTERMEDIATE CODE: A523

Effective date: 20130214

A02 Decision of refusal

Free format text: JAPANESE INTERMEDIATE CODE: A02

Effective date: 20130418

A521 Request for written amendment filed

Free format text: JAPANESE INTERMEDIATE CODE: A523

Effective date: 20130709

A911 Transfer to examiner for re-examination before appeal (zenchi)

Free format text: JAPANESE INTERMEDIATE CODE: A911

Effective date: 20130716

A912 Re-examination (zenchi) completed and case transferred to appeal board

Free format text: JAPANESE INTERMEDIATE CODE: A912

Effective date: 20130913

A521 Request for written amendment filed

Free format text: JAPANESE INTERMEDIATE CODE: A523

Effective date: 20140210

A61 First payment of annual fees (during grant procedure)

Free format text: JAPANESE INTERMEDIATE CODE: A61

Effective date: 20140325

R150 Certificate of patent or registration of utility model

Ref document number: 5511156

Country of ref document: JP

Free format text: JAPANESE INTERMEDIATE CODE: R150

RD04 Notification of resignation of power of attorney

Free format text: JAPANESE INTERMEDIATE CODE: R3D04