JP2010010077A - 両面接続型コネクタ - Google Patents
両面接続型コネクタ Download PDFInfo
- Publication number
- JP2010010077A JP2010010077A JP2008171004A JP2008171004A JP2010010077A JP 2010010077 A JP2010010077 A JP 2010010077A JP 2008171004 A JP2008171004 A JP 2008171004A JP 2008171004 A JP2008171004 A JP 2008171004A JP 2010010077 A JP2010010077 A JP 2010010077A
- Authority
- JP
- Japan
- Prior art keywords
- double
- connection terminal
- type connector
- sided
- connection type
- Prior art date
- Legal status (The legal status is an assumption and is not a legal conclusion. Google has not performed a legal analysis and makes no representation as to the accuracy of the status listed.)
- Granted
Links
Images
Classifications
-
- H—ELECTRICITY
- H05—ELECTRIC TECHNIQUES NOT OTHERWISE PROVIDED FOR
- H05K—PRINTED CIRCUITS; CASINGS OR CONSTRUCTIONAL DETAILS OF ELECTRIC APPARATUS; MANUFACTURE OF ASSEMBLAGES OF ELECTRICAL COMPONENTS
- H05K3/00—Apparatus or processes for manufacturing printed circuits
- H05K3/30—Assembling printed circuits with electric components, e.g. with resistor
- H05K3/32—Assembling printed circuits with electric components, e.g. with resistor electrically connecting electric components or wires to printed circuits
- H05K3/325—Assembling printed circuits with electric components, e.g. with resistor electrically connecting electric components or wires to printed circuits by abutting or pinching, i.e. without alloying process; mechanical auxiliary parts therefor
- H05K3/326—Assembling printed circuits with electric components, e.g. with resistor electrically connecting electric components or wires to printed circuits by abutting or pinching, i.e. without alloying process; mechanical auxiliary parts therefor the printed circuit having integral resilient or deformable parts, e.g. tabs or parts of flexible circuits
-
- H—ELECTRICITY
- H01—ELECTRIC ELEMENTS
- H01R—ELECTRICALLY-CONDUCTIVE CONNECTIONS; STRUCTURAL ASSOCIATIONS OF A PLURALITY OF MUTUALLY-INSULATED ELECTRICAL CONNECTING ELEMENTS; COUPLING DEVICES; CURRENT COLLECTORS
- H01R12/00—Structural associations of a plurality of mutually-insulated electrical connecting elements, specially adapted for printed circuits, e.g. printed circuit boards [PCB], flat or ribbon cables, or like generally planar structures, e.g. terminal strips, terminal blocks; Coupling devices specially adapted for printed circuits, flat or ribbon cables, or like generally planar structures; Terminals specially adapted for contact with, or insertion into, printed circuits, flat or ribbon cables, or like generally planar structures
- H01R12/50—Fixed connections
- H01R12/51—Fixed connections for rigid printed circuits or like structures
- H01R12/55—Fixed connections for rigid printed circuits or like structures characterised by the terminals
- H01R12/57—Fixed connections for rigid printed circuits or like structures characterised by the terminals surface mounting terminals
-
- H—ELECTRICITY
- H01—ELECTRIC ELEMENTS
- H01L—SEMICONDUCTOR DEVICES NOT COVERED BY CLASS H10
- H01L23/00—Details of semiconductor or other solid state devices
- H01L23/48—Arrangements for conducting electric current to or from the solid state body in operation, e.g. leads, terminal arrangements ; Selection of materials therefor
- H01L23/488—Arrangements for conducting electric current to or from the solid state body in operation, e.g. leads, terminal arrangements ; Selection of materials therefor consisting of soldered or bonded constructions
- H01L23/498—Leads, i.e. metallisations or lead-frames on insulating substrates, e.g. chip carriers
- H01L23/49827—Via connections through the substrates, e.g. pins going through the substrate, coaxial cables
-
- H—ELECTRICITY
- H01—ELECTRIC ELEMENTS
- H01L—SEMICONDUCTOR DEVICES NOT COVERED BY CLASS H10
- H01L24/00—Arrangements for connecting or disconnecting semiconductor or solid-state bodies; Methods or apparatus related thereto
- H01L24/01—Means for bonding being attached to, or being formed on, the surface to be connected, e.g. chip-to-package, die-attach, "first-level" interconnects; Manufacturing methods related thereto
- H01L24/10—Bump connectors ; Manufacturing methods related thereto
- H01L24/15—Structure, shape, material or disposition of the bump connectors after the connecting process
- H01L24/16—Structure, shape, material or disposition of the bump connectors after the connecting process of an individual bump connector
-
- H—ELECTRICITY
- H01—ELECTRIC ELEMENTS
- H01L—SEMICONDUCTOR DEVICES NOT COVERED BY CLASS H10
- H01L2224/00—Indexing scheme for arrangements for connecting or disconnecting semiconductor or solid-state bodies and methods related thereto as covered by H01L24/00
- H01L2224/01—Means for bonding being attached to, or being formed on, the surface to be connected, e.g. chip-to-package, die-attach, "first-level" interconnects; Manufacturing methods related thereto
- H01L2224/02—Bonding areas; Manufacturing methods related thereto
- H01L2224/04—Structure, shape, material or disposition of the bonding areas prior to the connecting process
- H01L2224/05—Structure, shape, material or disposition of the bonding areas prior to the connecting process of an individual bonding area
- H01L2224/0554—External layer
-
- H—ELECTRICITY
- H01—ELECTRIC ELEMENTS
- H01L—SEMICONDUCTOR DEVICES NOT COVERED BY CLASS H10
- H01L2224/00—Indexing scheme for arrangements for connecting or disconnecting semiconductor or solid-state bodies and methods related thereto as covered by H01L24/00
- H01L2224/01—Means for bonding being attached to, or being formed on, the surface to be connected, e.g. chip-to-package, die-attach, "first-level" interconnects; Manufacturing methods related thereto
- H01L2224/02—Bonding areas; Manufacturing methods related thereto
- H01L2224/04—Structure, shape, material or disposition of the bonding areas prior to the connecting process
- H01L2224/05—Structure, shape, material or disposition of the bonding areas prior to the connecting process of an individual bonding area
- H01L2224/0554—External layer
- H01L2224/0556—Disposition
- H01L2224/05568—Disposition the whole external layer protruding from the surface
-
- H—ELECTRICITY
- H01—ELECTRIC ELEMENTS
- H01L—SEMICONDUCTOR DEVICES NOT COVERED BY CLASS H10
- H01L2224/00—Indexing scheme for arrangements for connecting or disconnecting semiconductor or solid-state bodies and methods related thereto as covered by H01L24/00
- H01L2224/01—Means for bonding being attached to, or being formed on, the surface to be connected, e.g. chip-to-package, die-attach, "first-level" interconnects; Manufacturing methods related thereto
- H01L2224/02—Bonding areas; Manufacturing methods related thereto
- H01L2224/04—Structure, shape, material or disposition of the bonding areas prior to the connecting process
- H01L2224/05—Structure, shape, material or disposition of the bonding areas prior to the connecting process of an individual bonding area
- H01L2224/0554—External layer
- H01L2224/05573—Single external layer
-
- H—ELECTRICITY
- H01—ELECTRIC ELEMENTS
- H01L—SEMICONDUCTOR DEVICES NOT COVERED BY CLASS H10
- H01L2224/00—Indexing scheme for arrangements for connecting or disconnecting semiconductor or solid-state bodies and methods related thereto as covered by H01L24/00
- H01L2224/01—Means for bonding being attached to, or being formed on, the surface to be connected, e.g. chip-to-package, die-attach, "first-level" interconnects; Manufacturing methods related thereto
- H01L2224/10—Bump connectors; Manufacturing methods related thereto
- H01L2224/12—Structure, shape, material or disposition of the bump connectors prior to the connecting process
- H01L2224/13—Structure, shape, material or disposition of the bump connectors prior to the connecting process of an individual bump connector
- H01L2224/13001—Core members of the bump connector
- H01L2224/13099—Material
-
- H—ELECTRICITY
- H01—ELECTRIC ELEMENTS
- H01L—SEMICONDUCTOR DEVICES NOT COVERED BY CLASS H10
- H01L2224/00—Indexing scheme for arrangements for connecting or disconnecting semiconductor or solid-state bodies and methods related thereto as covered by H01L24/00
- H01L2224/01—Means for bonding being attached to, or being formed on, the surface to be connected, e.g. chip-to-package, die-attach, "first-level" interconnects; Manufacturing methods related thereto
- H01L2224/10—Bump connectors; Manufacturing methods related thereto
- H01L2224/15—Structure, shape, material or disposition of the bump connectors after the connecting process
- H01L2224/16—Structure, shape, material or disposition of the bump connectors after the connecting process of an individual bump connector
-
- H—ELECTRICITY
- H01—ELECTRIC ELEMENTS
- H01L—SEMICONDUCTOR DEVICES NOT COVERED BY CLASS H10
- H01L24/00—Arrangements for connecting or disconnecting semiconductor or solid-state bodies; Methods or apparatus related thereto
- H01L24/90—Methods for connecting semiconductor or solid state bodies using means for bonding not being attached to, or not being formed on, the body surface to be connected, e.g. pressure contacts using springs or clips
-
- H—ELECTRICITY
- H01—ELECTRIC ELEMENTS
- H01L—SEMICONDUCTOR DEVICES NOT COVERED BY CLASS H10
- H01L2924/00—Indexing scheme for arrangements or methods for connecting or disconnecting semiconductor or solid-state bodies as covered by H01L24/00
- H01L2924/0001—Technical content checked by a classifier
- H01L2924/00014—Technical content checked by a classifier the subject-matter covered by the group, the symbol of which is combined with the symbol of this group, being disclosed without further technical details
-
- H—ELECTRICITY
- H01—ELECTRIC ELEMENTS
- H01L—SEMICONDUCTOR DEVICES NOT COVERED BY CLASS H10
- H01L2924/00—Indexing scheme for arrangements or methods for connecting or disconnecting semiconductor or solid-state bodies as covered by H01L24/00
- H01L2924/01—Chemical elements
- H01L2924/01005—Boron [B]
-
- H—ELECTRICITY
- H01—ELECTRIC ELEMENTS
- H01L—SEMICONDUCTOR DEVICES NOT COVERED BY CLASS H10
- H01L2924/00—Indexing scheme for arrangements or methods for connecting or disconnecting semiconductor or solid-state bodies as covered by H01L24/00
- H01L2924/01—Chemical elements
- H01L2924/01006—Carbon [C]
-
- H—ELECTRICITY
- H01—ELECTRIC ELEMENTS
- H01L—SEMICONDUCTOR DEVICES NOT COVERED BY CLASS H10
- H01L2924/00—Indexing scheme for arrangements or methods for connecting or disconnecting semiconductor or solid-state bodies as covered by H01L24/00
- H01L2924/01—Chemical elements
- H01L2924/01013—Aluminum [Al]
-
- H—ELECTRICITY
- H01—ELECTRIC ELEMENTS
- H01L—SEMICONDUCTOR DEVICES NOT COVERED BY CLASS H10
- H01L2924/00—Indexing scheme for arrangements or methods for connecting or disconnecting semiconductor or solid-state bodies as covered by H01L24/00
- H01L2924/01—Chemical elements
- H01L2924/01029—Copper [Cu]
-
- H—ELECTRICITY
- H01—ELECTRIC ELEMENTS
- H01L—SEMICONDUCTOR DEVICES NOT COVERED BY CLASS H10
- H01L2924/00—Indexing scheme for arrangements or methods for connecting or disconnecting semiconductor or solid-state bodies as covered by H01L24/00
- H01L2924/01—Chemical elements
- H01L2924/01033—Arsenic [As]
-
- H—ELECTRICITY
- H01—ELECTRIC ELEMENTS
- H01L—SEMICONDUCTOR DEVICES NOT COVERED BY CLASS H10
- H01L2924/00—Indexing scheme for arrangements or methods for connecting or disconnecting semiconductor or solid-state bodies as covered by H01L24/00
- H01L2924/01—Chemical elements
- H01L2924/01046—Palladium [Pd]
-
- H—ELECTRICITY
- H01—ELECTRIC ELEMENTS
- H01L—SEMICONDUCTOR DEVICES NOT COVERED BY CLASS H10
- H01L2924/00—Indexing scheme for arrangements or methods for connecting or disconnecting semiconductor or solid-state bodies as covered by H01L24/00
- H01L2924/01—Chemical elements
- H01L2924/01047—Silver [Ag]
-
- H—ELECTRICITY
- H01—ELECTRIC ELEMENTS
- H01L—SEMICONDUCTOR DEVICES NOT COVERED BY CLASS H10
- H01L2924/00—Indexing scheme for arrangements or methods for connecting or disconnecting semiconductor or solid-state bodies as covered by H01L24/00
- H01L2924/01—Chemical elements
- H01L2924/01078—Platinum [Pt]
-
- H—ELECTRICITY
- H01—ELECTRIC ELEMENTS
- H01L—SEMICONDUCTOR DEVICES NOT COVERED BY CLASS H10
- H01L2924/00—Indexing scheme for arrangements or methods for connecting or disconnecting semiconductor or solid-state bodies as covered by H01L24/00
- H01L2924/01—Chemical elements
- H01L2924/01082—Lead [Pb]
-
- H—ELECTRICITY
- H01—ELECTRIC ELEMENTS
- H01L—SEMICONDUCTOR DEVICES NOT COVERED BY CLASS H10
- H01L2924/00—Indexing scheme for arrangements or methods for connecting or disconnecting semiconductor or solid-state bodies as covered by H01L24/00
- H01L2924/10—Details of semiconductor or other solid state devices to be connected
- H01L2924/11—Device type
- H01L2924/14—Integrated circuits
-
- H—ELECTRICITY
- H01—ELECTRIC ELEMENTS
- H01L—SEMICONDUCTOR DEVICES NOT COVERED BY CLASS H10
- H01L2924/00—Indexing scheme for arrangements or methods for connecting or disconnecting semiconductor or solid-state bodies as covered by H01L24/00
- H01L2924/30—Technical effects
- H01L2924/301—Electrical effects
- H01L2924/30107—Inductance
-
- H—ELECTRICITY
- H01—ELECTRIC ELEMENTS
- H01R—ELECTRICALLY-CONDUCTIVE CONNECTIONS; STRUCTURAL ASSOCIATIONS OF A PLURALITY OF MUTUALLY-INSULATED ELECTRICAL CONNECTING ELEMENTS; COUPLING DEVICES; CURRENT COLLECTORS
- H01R12/00—Structural associations of a plurality of mutually-insulated electrical connecting elements, specially adapted for printed circuits, e.g. printed circuit boards [PCB], flat or ribbon cables, or like generally planar structures, e.g. terminal strips, terminal blocks; Coupling devices specially adapted for printed circuits, flat or ribbon cables, or like generally planar structures; Terminals specially adapted for contact with, or insertion into, printed circuits, flat or ribbon cables, or like generally planar structures
- H01R12/70—Coupling devices
- H01R12/71—Coupling devices for rigid printing circuits or like structures
- H01R12/712—Coupling devices for rigid printing circuits or like structures co-operating with the surface of the printed circuit or with a coupling device exclusively provided on the surface of the printed circuit
- H01R12/714—Coupling devices for rigid printing circuits or like structures co-operating with the surface of the printed circuit or with a coupling device exclusively provided on the surface of the printed circuit with contacts abutting directly the printed circuit; Button contacts therefore provided on the printed circuit
-
- H—ELECTRICITY
- H05—ELECTRIC TECHNIQUES NOT OTHERWISE PROVIDED FOR
- H05K—PRINTED CIRCUITS; CASINGS OR CONSTRUCTIONAL DETAILS OF ELECTRIC APPARATUS; MANUFACTURE OF ASSEMBLAGES OF ELECTRICAL COMPONENTS
- H05K1/00—Printed circuits
- H05K1/02—Details
- H05K1/11—Printed elements for providing electric connections to or between printed circuits
- H05K1/111—Pads for surface mounting, e.g. lay-out
- H05K1/112—Pads for surface mounting, e.g. lay-out directly combined with via connections
- H05K1/114—Pad being close to via, but not surrounding the via
-
- H—ELECTRICITY
- H05—ELECTRIC TECHNIQUES NOT OTHERWISE PROVIDED FOR
- H05K—PRINTED CIRCUITS; CASINGS OR CONSTRUCTIONAL DETAILS OF ELECTRIC APPARATUS; MANUFACTURE OF ASSEMBLAGES OF ELECTRICAL COMPONENTS
- H05K2201/00—Indexing scheme relating to printed circuits covered by H05K1/00
- H05K2201/01—Dielectrics
- H05K2201/0104—Properties and characteristics in general
- H05K2201/0133—Elastomeric or compliant polymer
-
- H—ELECTRICITY
- H05—ELECTRIC TECHNIQUES NOT OTHERWISE PROVIDED FOR
- H05K—PRINTED CIRCUITS; CASINGS OR CONSTRUCTIONAL DETAILS OF ELECTRIC APPARATUS; MANUFACTURE OF ASSEMBLAGES OF ELECTRICAL COMPONENTS
- H05K2201/00—Indexing scheme relating to printed circuits covered by H05K1/00
- H05K2201/03—Conductive materials
- H05K2201/0332—Structure of the conductor
- H05K2201/0364—Conductor shape
- H05K2201/0367—Metallic bump or raised conductor not used as solder bump
-
- H—ELECTRICITY
- H05—ELECTRIC TECHNIQUES NOT OTHERWISE PROVIDED FOR
- H05K—PRINTED CIRCUITS; CASINGS OR CONSTRUCTIONAL DETAILS OF ELECTRIC APPARATUS; MANUFACTURE OF ASSEMBLAGES OF ELECTRICAL COMPONENTS
- H05K2201/00—Indexing scheme relating to printed circuits covered by H05K1/00
- H05K2201/10—Details of components or other objects attached to or integrated in a printed circuit board
- H05K2201/10227—Other objects, e.g. metallic pieces
- H05K2201/10378—Interposers
Landscapes
- Engineering & Computer Science (AREA)
- Microelectronics & Electronic Packaging (AREA)
- Computer Hardware Design (AREA)
- Power Engineering (AREA)
- Metallurgy (AREA)
- Manufacturing & Machinery (AREA)
- Physics & Mathematics (AREA)
- Condensed Matter Physics & Semiconductors (AREA)
- General Physics & Mathematics (AREA)
- Coupling Device And Connection With Printed Circuit (AREA)
- Connecting Device With Holders (AREA)
- Wire Bonding (AREA)
Abstract
【課題】パッケージやプリント基板の反りに起因する接触高さのばらつきや接続端子の高さのばらつきを吸収することができ、層間導通のための貫通孔に応力が集中するのを軽減し、この接点部の可動範囲を広く取ることができ、近年のファインピッチ化に対応することができる両面接続型コネクタを提供する。
【解決手段】絶縁部材1の表面1a及び裏面1bのスルーホール4の一端部に近接した位置に、表面1a及び裏面1b各々から突出する突起部5を設けるとともに導体部6の両端部に接続端子部7をそれぞれ設け、接続端子部7は、スルーホール4の周囲に形成されたランド部11と、ランド部11に形成された接続部12と、この接続部12の周縁部の一端に接続され突起部5に向かって斜め上方に延びる傾斜部13と、傾斜部13の一端に接続され突起部5の頂部を覆う略半球状の接点部14とを備えている。
【選択図】図2
【解決手段】絶縁部材1の表面1a及び裏面1bのスルーホール4の一端部に近接した位置に、表面1a及び裏面1b各々から突出する突起部5を設けるとともに導体部6の両端部に接続端子部7をそれぞれ設け、接続端子部7は、スルーホール4の周囲に形成されたランド部11と、ランド部11に形成された接続部12と、この接続部12の周縁部の一端に接続され突起部5に向かって斜め上方に延びる傾斜部13と、傾斜部13の一端に接続され突起部5の頂部を覆う略半球状の接点部14とを備えている。
【選択図】図2
Description
本発明は、両面接続型コネクタに関し、更に詳しくは、CPUやLSI等のICパッケージ、LGAパッケージ、BGAパッケージ等をプリント基板上に実装する際に好適に用いられ、これらのパッケージやプリント基板に反りが生じる虞がなく、接続端子の高さのばらつきを吸収することが可能な両面接続型コネクタに関するものである。
従来、CPUやLSI等のICパッケージを、ソケットを介してプリント基板に実装する技術が検討されており、例えば、パーソナルコンピュータやサーバのマザーボードの多くには、LGAパッケージやBGAパッケージのCPUを装着するためのソケットが実装されている。
CPUは、その機能及び性能を向上させるために、年々多ピン化、高速化が進んでおり、パッケージのサイズアップ、ファインピッチ化によって対応がなされている。
これらの対応に伴い、ソケットの多ピン化への対応が必要になると共に、パッケージのサイズアップによる反り量増大への対応、パッケージの接触ランドやボールの高さばらつき(コプラナリティ)への対応が必要になるため、ソケットコンタクトのストロークを確保することができる構造が求められている。
また、ファインピッチ化に対しては、ソケットコンタクトの小型化が重要であり、ICのピンとソケットのコンタクトとの適切な接圧での接触を確保できることが望まれている。
さらに、高速化に対しては、ソケットのコンタクトが低インダクタンスであることが重要であり、高速化による消費電流の増大に対応して接触抵抗が低く、許容電流も大きいことが求められている。
CPUは、その機能及び性能を向上させるために、年々多ピン化、高速化が進んでおり、パッケージのサイズアップ、ファインピッチ化によって対応がなされている。
これらの対応に伴い、ソケットの多ピン化への対応が必要になると共に、パッケージのサイズアップによる反り量増大への対応、パッケージの接触ランドやボールの高さばらつき(コプラナリティ)への対応が必要になるため、ソケットコンタクトのストロークを確保することができる構造が求められている。
また、ファインピッチ化に対しては、ソケットコンタクトの小型化が重要であり、ICのピンとソケットのコンタクトとの適切な接圧での接触を確保できることが望まれている。
さらに、高速化に対しては、ソケットのコンタクトが低インダクタンスであることが重要であり、高速化による消費電流の増大に対応して接触抵抗が低く、許容電流も大きいことが求められている。
現在用いられているLGAパッケージ用ソケットとしては、約lmmピッチで400〜800ピンのものが主流であり、金属板を複雑に折り曲げ加工して所定の形状のコンタクトとし、このコンタクトをソケットのハウジングに挿入した構造が用いられている(特許文献1、2等参照)。
これらの構造は、金属からなるコンタクトを板バネとして機能させ、所定のストロークにて適切な荷重を発生させることにより、安定した接触抵抗を得るものである。また、所定の接触圧を得る過程で、荷重を高めてゆくと、接点位置が移動して表面の異物を除去するワイピング効果も期待できる。
ところで、このようなLGAパッケージ用ソケットは、基本的な構造が片持ちバネであることから、ファイッピッチ化への対応が困難である。
このファインピッチ化のためには、コンタクト端子の片持ちバネ部分のバネ長を短くする必要があるが、バネ長を短くすると、同じ材料かつ同じ形状の片持ちバネの場合、所定のストロークを得るための荷重が高くなってしまう。そこで、荷重を適切な値に下げようとして片持ちバネのバネ線径を細くすると、所定の荷重でも塑性変形せず、必要な許容応力が小さくなってしまい、所定の荷重に耐えられなくなってしまう。これは、許容応力がバネの線径に比例するのに対し、荷重を決定する要因であるバネ定数が片持ちバネの線径の3乗に比例するからである。
これらの構造は、金属からなるコンタクトを板バネとして機能させ、所定のストロークにて適切な荷重を発生させることにより、安定した接触抵抗を得るものである。また、所定の接触圧を得る過程で、荷重を高めてゆくと、接点位置が移動して表面の異物を除去するワイピング効果も期待できる。
ところで、このようなLGAパッケージ用ソケットは、基本的な構造が片持ちバネであることから、ファイッピッチ化への対応が困難である。
このファインピッチ化のためには、コンタクト端子の片持ちバネ部分のバネ長を短くする必要があるが、バネ長を短くすると、同じ材料かつ同じ形状の片持ちバネの場合、所定のストロークを得るための荷重が高くなってしまう。そこで、荷重を適切な値に下げようとして片持ちバネのバネ線径を細くすると、所定の荷重でも塑性変形せず、必要な許容応力が小さくなってしまい、所定の荷重に耐えられなくなってしまう。これは、許容応力がバネの線径に比例するのに対し、荷重を決定する要因であるバネ定数が片持ちバネの線径の3乗に比例するからである。
そこで、片持ちバネによる荷重で所定の接触圧を得る構造に替えて、コンタクト部分の金属を塑性変形する領域で設計し、反発力をゴムやエラストマーで補う構造が提案されている。
例えば、コンタクト部分の機能をフレキシブルプリント基板で実現したものとして、2枚のフレキシブルプリント基板の間にエラストマーを挟み、フレキシブルプリント基板同士を金属ピンにて半田付けし、上下の層間導通を得る構造が提案されている(特許文献3)。
また、予め金型にて所定のドーム形状と貫通穴を成形したエラストマー上に金属めっきを施し、フォトリソグラフィにてスルーホールとドーム上の接続点とを電気的に接続する回路を形成した構造が提案されている(特許文献4)。
例えば、コンタクト部分の機能をフレキシブルプリント基板で実現したものとして、2枚のフレキシブルプリント基板の間にエラストマーを挟み、フレキシブルプリント基板同士を金属ピンにて半田付けし、上下の層間導通を得る構造が提案されている(特許文献3)。
また、予め金型にて所定のドーム形状と貫通穴を成形したエラストマー上に金属めっきを施し、フォトリソグラフィにてスルーホールとドーム上の接続点とを電気的に接続する回路を形成した構造が提案されている(特許文献4)。
近年、金型の微細加工技術が進歩し、ミクロンオーダーでの成形が可能な金型が設計できるようになっている。そこで、上記のような構造、すなわち、コンタクト部分の金属を塑性変形させると共に反発力をゴムやエラストマーで補う構造では、このような金型を用いることで、エラストマーの端子形状を全ピン、または複数ピンをー括で成形することは可能である。
また、めっきによる導体部分の形成、スルーホールをめっきすることによる層間導通、その後のフォトリソグラフィ及びエッチングによる各端子の金属接点部および導通回路部分の全ピンまたは複数ピンのー括形成により、全ての工程において、全ピンまたは複数ピンの一括形成が可能になるため、多ピン化が求められる市場動向に合っている。
また、フォトリソグラフィ及びエッチングによる回路形成技術を用いているので、ファインピッチ化の点から考えても有効なものである。
特開2004−158430号公報
特開2005−19284号公報
特開2004−71347号公報
特開2001−332321号公報
また、めっきによる導体部分の形成、スルーホールをめっきすることによる層間導通、その後のフォトリソグラフィ及びエッチングによる各端子の金属接点部および導通回路部分の全ピンまたは複数ピンのー括形成により、全ての工程において、全ピンまたは複数ピンの一括形成が可能になるため、多ピン化が求められる市場動向に合っている。
また、フォトリソグラフィ及びエッチングによる回路形成技術を用いているので、ファインピッチ化の点から考えても有効なものである。
ところで、従来の2枚のフレキシブルプリント基板の間にエラストマーを挟んだ構造では、2枚のフレキシブルプリント基板が必要になり、また、層間導通をとるための金属コンタクトが必要になり、さらに、フレキシブルプリント基板同士を金属ピンにて半田付けすることが必要になる等により製造工程が複雑になり、製造コストも高くなるという問題点があった。
また、ドーム形状及び貫通穴が成形されたエラストマーを用いた構造では、上下方向から加圧することでドーム形状の部分が荷重に応じて変形して潰れるので、ソケットの機能として求められるワイピングの効果を期待することができないという問題点があった。また、多ピッ化においては、接続するICパッケージやプリント基板の反りや、接触ランドの高さバらつきを吸収することが求められるが、この構造では、反りやコプラナリティを吸収可能な主な動作がドーム形状の高さにより制限されてしまうという問題点があった。
また、エラストマー上に金属めっきを施し、フォトリソグラフィにてスルーホールとドーム上の接続点とを電気的に接続する回路を形成した構造では、エラストマー上の金属めっき部分の一部に応力が集中してしまうという問題点があった。
さらに、エラストマー上に金属めっきを施した構造では、接点部の可動範囲がエラストマーの上下方向の変形する範囲に限られてしまうために、可動範囲を広く取ることができないという問題点があった。
また、ドーム形状及び貫通穴が成形されたエラストマーを用いた構造では、上下方向から加圧することでドーム形状の部分が荷重に応じて変形して潰れるので、ソケットの機能として求められるワイピングの効果を期待することができないという問題点があった。また、多ピッ化においては、接続するICパッケージやプリント基板の反りや、接触ランドの高さバらつきを吸収することが求められるが、この構造では、反りやコプラナリティを吸収可能な主な動作がドーム形状の高さにより制限されてしまうという問題点があった。
また、エラストマー上に金属めっきを施し、フォトリソグラフィにてスルーホールとドーム上の接続点とを電気的に接続する回路を形成した構造では、エラストマー上の金属めっき部分の一部に応力が集中してしまうという問題点があった。
さらに、エラストマー上に金属めっきを施した構造では、接点部の可動範囲がエラストマーの上下方向の変形する範囲に限られてしまうために、可動範囲を広く取ることができないという問題点があった。
本発明は、上記の課題を解決するためになされたものであって、パッケージやプリント基板の反りに起因する接触高さのばらつきや接続端子の高さのばらつきを吸収することができ、さらには、層間導通のための貫通孔の部分に応力が集中するのを軽減し、この接点部の可動範囲を広く取ることができ、近年のファインピッチ化に対応することができる両面接続型コネクタを提供することを目的とする。
本発明の請求項1に係る両面接続型コネクタは、絶縁基材の両面にエラストマーが一体成形され、これら絶縁基材及びエラストマーの厚み方向に1つ以上の貫通孔が形成された絶縁部材と、前記貫通孔の内面に形成されて両端部が前記両面にて露出する導電性部材とを備えた両面接続型コネクタにおいて、前記絶縁部材の少なくとも一方の面の前記貫通孔の一端部に近接した位置に、前記一方の面から突出する突起部を設け、前記導電性部材の一端部に接続端子部を設け、前記接続端子部は、前記貫通孔の少なくとも一方の端部の周囲に形成された環状部と、該環状部の周縁部の一端に接続され前記突起部に向かって斜め上方に延びる傾斜部と、該傾斜部の一端に接続され前記突起部の頂部を覆う略半球状の接点部とを備えてなることを特徴とする。
本発明の請求項2に係る両面接続型コネクタは、請求項1記載の両面接続型コネクタにおいて、前記絶縁部材の両面の前記貫通孔の両端部それぞれに近接した位置に、前記両面それぞれから突出する突起部を設け、前記接続端子部は、前記絶縁部材の両面それぞれに設けられていることを特徴とする。
本発明の請求項3に係る両面接続型コネクタは、請求項1記載の両面接続型コネクタにおいて、前記絶縁部材の他方の面の前記突起部に対応する位置に、前記導電性部材に電気的に接続する半田部を設けたことを特徴とする。
本発明の請求項4に係る両面接続型コネクタは、請求項1ないし3のいずれか1項記載の両面接続型コネクタにおいて、前記突起部の側面と前記一方の面との境界部は曲線であることを特徴とする。
本発明の請求項5に係る両面接続型コネクタは、請求項1ないし4のいずれか1項記載の両面接続型コネクタにおいて、前記接続端子部の前記貫通孔の近傍における直径は、この接続端子部の線幅より大であることを特徴とする。
本発明の請求項6に係る両面接続型コネクタは、請求項1ないし5のいずれか1項記載の両面接続型コネクタにおいて、前記接続端子部の傾斜部と前記一方の面とのなす角度は45°以下であることを特徴とする。
本発明の請求項7に係る両面接続型コネクタは、請求項1ないし6のいずれか1項記載の両面接続型コネクタにおいて、前記絶縁部材の少なくとも一方の面に複数の前記接続端子部を設け、これら接続端子部は、隣接するもの同士が相互に接続させることなく互いに独立していることを特徴とする。
本発明の請求項8に係る両面接続型コネクタは、請求項1ないし7のいずれか1項記載の両面接続型コネクタにおいて、前記接続端子部の長辺方向を、前記一方の面の一つの辺に対して傾斜させたことを特徴とする。
本発明の請求項9に係る両面接続型コネクタは、請求項1ないし8のいずれか1項記載の両面接続型コネクタにおいて、前記エラストマのうち前記接続端子部の側壁となる部分は、前記一方の面または前記両面に対して傾斜していることを特徴とする。
本発明によれば、絶縁部材の少なくとも一方の面の貫通孔の一端部に近接した位置に、この一方の面から突出する突起部を設け、導電性部材の一端部に接続端子部を設け、この接続端子部を、貫通孔の少なくとも一方の端部の周囲に形成された環状部と、環状部の周縁部の一端に接続され突起部に向かって斜め上方に延びる傾斜部と、傾斜部の一端に接続され突起部の頂部を覆う略半球状の接点部とを備えたので、絶縁部材を構成するエラストマーの弾性力により、接続端子部を構成する接点部を絶縁部材の一方の面に対して広い範囲で可動可能とすることができる。
また、接点部を略半球状としたので、この接点部に接触する相手側部材である導電部材との接点が点接触となり、この点接触の部分に荷重が集中することとなり、その結果、この接点部の点接触における接触圧力を確保することができる。しかも、接点部を略半球状としたので、剛性を十分確保することができ、荷重が集中しても潰れる虞がない。
また、接続端子部の可動部分と層間導通のための貫通孔との間が離れているので、これら可動部分や貫通孔に応力が集中することがなくなり、これらが破壊する虞もない。
したがって、この接点部の設計の自由度を制限することなく、可動範囲を広く取ることができ、その結果、パッケージやプリント基板に反りが生じる虞がなくなり、接続端子の高さのばらつきを吸収することができ、ファインピッチ化に対応することができる。
また、突起部を一括成形し、この突起部に設けられる略半球状の接点部についても一括成形可能であるから、部品点数が必要以上に多くなることもない。
また、接続端子部の可動部分と層間導通のための貫通孔との間が離れているので、これら可動部分や貫通孔に応力が集中することがなくなり、これらが破壊する虞もない。
したがって、この接点部の設計の自由度を制限することなく、可動範囲を広く取ることができ、その結果、パッケージやプリント基板に反りが生じる虞がなくなり、接続端子の高さのばらつきを吸収することができ、ファインピッチ化に対応することができる。
また、突起部を一括成形し、この突起部に設けられる略半球状の接点部についても一括成形可能であるから、部品点数が必要以上に多くなることもない。
また、絶縁部材の両面の貫通孔の両端部それぞれに近接した位置に、両面それぞれから突出する突起部を設け、接続端子部を絶縁部材の両面それぞれに設けたので、絶縁部材の両面それぞれにパッケージやプリント基板を配置した場合においても、パッケージやプリント基板に反りが生じる虞がなく、接続端子の高さのばらつきを吸収することができる。
また、絶縁部材の他方の面の前記突起部に対応する位置に、導電性部材に電気的に接続する半田部を設けたので、導電性部材との電気的接続がより確実になる。
また、接続端子部の傾斜部と前記一方の面とのなす角度を45°以下としたので、この傾斜部が前記一方の面と反対方向に可動して、前記一方の面から離間する虞がなくなり、したがって、接続端子部は、絶縁部材に対して所定の範囲内で確実に可動することができる。
また、接続端子部の傾斜部と前記一方の面とのなす角度を45°以下としたので、この傾斜部が前記一方の面と反対方向に可動して、前記一方の面から離間する虞がなくなり、したがって、接続端子部は、絶縁部材に対して所定の範囲内で確実に可動することができる。
また、絶縁部材の少なくとも一方の面に複数の前記接続端子部を設け、これら接続端子部を、隣接するもの同士が相互に接続させることなく互いに独立していることとしたので、接続端子部を互いに独立して可動させ、電気的に接続することができる。
また、接続端子部の長辺方向を、前記一方の面の一つの辺に対して傾斜させたので、接続端子部及び貫通孔を効率的に配置することができる。
本発明の両面接続型コネクタを実施するための最良の形態について説明する。
なお、この形態は、発明の趣旨をより良く理解させるために具体的に説明するものであり、特に指定のない限り、本発明を限定するものではない。
なお、この形態は、発明の趣旨をより良く理解させるために具体的に説明するものであり、特に指定のない限り、本発明を限定するものではない。
「第1の実施の形態」
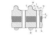
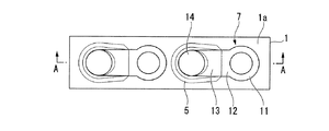
図1は、本発明の第1の実施形態の両面接続型コネクタを示す平面図、図2は、図1のA−A線に沿う断面図である。
図において、1は絶縁部材であり、予めスルーホール(貫通孔)を形成する位置に穴開け加工2aが施された絶縁基板(絶縁基材)2と、この絶縁基板2の穴開け加工2a部分を含む表面2b及び裏面2cに一体成形された所定の厚みを有するフィルム状あるいはシート状のエラストマー3とにより形成されている。
図1は、本発明の第1の実施形態の両面接続型コネクタを示す平面図、図2は、図1のA−A線に沿う断面図である。
図において、1は絶縁部材であり、予めスルーホール(貫通孔)を形成する位置に穴開け加工2aが施された絶縁基板(絶縁基材)2と、この絶縁基板2の穴開け加工2a部分を含む表面2b及び裏面2cに一体成形された所定の厚みを有するフィルム状あるいはシート状のエラストマー3とにより形成されている。
この絶縁部材1には、その厚み方向に貫通する複数のスルーホール(貫通孔)4(図1、2では2個)が形成され、この絶縁部材1の表面(一方の面)1a及び裏面1b各々のスルーホール4のそれぞれの端部に近接した位置には、この絶縁部材1の表面1a及び裏面1bそれぞれから突出する半球状のエラストマーからなる突起部5が形成されている。
ここでは、突起部5の隆起の基点、すなわち突起部5の下端と絶縁部材1の表面1a及び裏面1bとの境界は、スルーホール4の位置とは距離を置いた位置になるようにしている。
ここでは、突起部5の隆起の基点、すなわち突起部5の下端と絶縁部材1の表面1a及び裏面1bとの境界は、スルーホール4の位置とは距離を置いた位置になるようにしている。
この突起部5の形状としては、その側壁がある程度傾斜していることが好ましい。これは、後述する接続端子部7を形成する際に露光工程を経る必要があるが、その際に死角をなくすためである。通常、側壁は10°程度以上の傾斜角を有することが好ましい。この側壁の形状としては、シャープエッジは好ましくない。これは、接続端子部7を形成する際の現像工程、エッチング工程、レジスト剥離工程等において液回りを悪化させないためである。
また、この突起部5の底面部は曲率半径Rの曲線とされている。
また、この突起部5の底面部は曲率半径Rの曲線とされている。
また、このスルーホール4の内面には、銅、アルミニウム、銀−パラジウム合金等の金属(導電性部材)からなる導体部6が所定の厚みで形成され、この導体部6の両端部各々には、この導体部6と同一の金属からなるめっき膜をフォトリソグラフィ及びエッチングにより加工してなる接続端子部7が形成されている。
この接続端子部7は、表面1a及び裏面1b各々に、絶縁部材1に対して対称となる位置に形成されている。
この接続端子部7は、表面1a及び裏面1b各々に、絶縁部材1に対して対称となる位置に形成されている。
この接続端子部7は、図2及び図3に示すように、絶縁部材1のスルーホール4の表面1a及び裏面1b各々の端部に形成されたリング状の板部材からなるランド部(環状部)11と、このランド部11に形成され突起部5に向かって帯状かつ水平に延びる平坦面の接続部12と、この接続部12の周縁部の一端に形成され突起部5の頂点に向かって斜め上方に帯状に延びる傾斜部13と、この傾斜部13の一端に接続され突起部5の頂部を覆う略半球状の金属膜からなる接点部14とにより構成されている。
この接続端子部7全体の変形の状態が安定し、良好なワイピング効果を得るためには、傾斜部13と絶縁部材1の表面1a(または裏面1b)とのなす角度θ、すなわち傾斜部13と接続部12とのなす角度θは45°以下が好ましく、30°程度がより好ましい。なお、この角度θが30°程度より小さくなると、接続端子部7全体の高さを十分に確保することができなくなるので、好ましくない。
この角度θを45°以下とすることにより、この傾斜部13が絶縁部材1の表面1a(または裏面1b)と反対方向に可動して、基に復帰できなくなる等の不具合が生じるのを防止することができる。したがって、接続端子部7が絶縁部材1の表面1a(または裏面1b)に対して所定の範囲内で確実に可動することができる。
この角度θを45°以下とすることにより、この傾斜部13が絶縁部材1の表面1a(または裏面1b)と反対方向に可動して、基に復帰できなくなる等の不具合が生じるのを防止することができる。したがって、接続端子部7が絶縁部材1の表面1a(または裏面1b)に対して所定の範囲内で確実に可動することができる。
この接点部14は、例えば、2層以上の積層構造の金属膜からなるもので、例えば、突起部5上に形成された銅等の導電率の良い導電層と、この導電層上に形成されたニッケル等の中間金属層と、この中間金属層上に形成され接点に適した貴金属等の接点用金属層とからなる3層構造の金属膜が好適に用いられる。
この接点部14は、略半球状の金属膜により構成されているので、その剛性が強化されたものとなり、接点部14に荷重が掛かった際においても、接点部14が殆ど変形することなく、略半球状の形状を保持し続けることができる。
この接点部14は、略半球状の金属膜により構成されているので、その剛性が強化されたものとなり、接点部14に荷重が掛かった際においても、接点部14が殆ど変形することなく、略半球状の形状を保持し続けることができる。
また、この接点部14を略半球状としたことにより、この接点部14がパッケージやプリント基板の接続端子と接触する際においても、接点部14が接続端子に対して滑らかに摺動することとなり、接点部14の応力が接続端子の一部に集中することを防止することができる。
この接続端子部7に、例えば、50gfの荷重が掛かった場合、この荷重が接点部14に加わることで、この接点部14に接続する傾斜部13が接続部12との境界線を中心軸として回転する。この場合、接点部14及び傾斜部13は、接触しているエラストマー3の弾性力により外方に押圧されるので、この押圧力により接続端子に良好に接触し、電気的接続を良好に保持することができる。
この接続端子部7に、例えば、50gfの荷重が掛かった場合、この荷重が接点部14に加わることで、この接点部14に接続する傾斜部13が接続部12との境界線を中心軸として回転する。この場合、接点部14及び傾斜部13は、接触しているエラストマー3の弾性力により外方に押圧されるので、この押圧力により接続端子に良好に接触し、電気的接続を良好に保持することができる。
また、このエラストマー3は、圧縮永久歪みを考慮すると、歪み率25%以下が好ましい。特に、接点部14の下に位置するエラストマーの総厚に対して、使用する圧縮範囲を25%程度以下にすることが好ましい。
また、このエラストマ3のうち接続端子部7の側壁となる部分は、絶縁部材1の表面1a及び裏面1b各々に対して傾斜している。
また、このエラストマ3のうち接続端子部7の側壁となる部分は、絶縁部材1の表面1a及び裏面1b各々に対して傾斜している。
次に、本実施形態の両面接続型コネクタを用いた実装方法について、プリント基板上に半導体チップを搭載する場合を例にとり説明する。
まず、図4に示すように、プリント基板21の接続パッド22上に両面接続型コネクタの下面側の接点部14を載置し、この両面接続型コネクタの上面側の接点部14上に半導体チップ23の接続パッド24を載置する。
この時点では、接点部14には荷重が掛かっていないので、この接点部14及び及び傾斜部13は、接続部12との境界線を中心軸として回転することなく、初期の位置を保持している。したがって、接点部14は、プリント基板21の接続パッド22や半導体チップ23の接続パッド24に点接触している状態である。
まず、図4に示すように、プリント基板21の接続パッド22上に両面接続型コネクタの下面側の接点部14を載置し、この両面接続型コネクタの上面側の接点部14上に半導体チップ23の接続パッド24を載置する。
この時点では、接点部14には荷重が掛かっていないので、この接点部14及び及び傾斜部13は、接続部12との境界線を中心軸として回転することなく、初期の位置を保持している。したがって、接点部14は、プリント基板21の接続パッド22や半導体チップ23の接続パッド24に点接触している状態である。
次いで、図5に示すように、各々の接点部14がプリント基板21の接続パッド22や半導体チップ23の接続パッド24に点接触した状態で、半導体チップ23の上方からプリント基板21に向かって荷重25を加える。
このとき、接続端子部7の傾斜部13及び接点部14は、接続部12と傾斜部13との境界線部分が塑性変形することにより、この境界線部分を回転軸として回転し、この回転動作により接点部14が接続パッド22上を滑らかに摺動するとともに、接点部14がエラストマー3が圧縮される際の反発力を得る。
このとき、接続端子部7の傾斜部13及び接点部14は、接続部12と傾斜部13との境界線部分が塑性変形することにより、この境界線部分を回転軸として回転し、この回転動作により接点部14が接続パッド22上を滑らかに摺動するとともに、接点部14がエラストマー3が圧縮される際の反発力を得る。
その結果、プリント基板21の接続パッド22と点接触している接点部14の接触位置が接続パッド22上でずれ、この接点部14がエラストマー3の反発力により接続パッド22に押圧されることとなる。
同様に、半導体チップ23の接続パッド24に点接触している接点部14の位置も、この接続パッド24上でずれ、この接点部14がエラストマー3の反発力により接続パッド24に押圧されることとなる。
同様に、半導体チップ23の接続パッド24に点接触している接点部14の位置も、この接続パッド24上でずれ、この接点部14がエラストマー3の反発力により接続パッド24に押圧されることとなる。
このように、接点部14に荷重25が加わった際の動作は、この接点部14の半球状の部分が変形せずに、接点部14及び傾斜部13が接続部12と傾斜部13との境界線部分が塑性変形し、この境界線部分を回転軸として回転することで、接点部14及び傾斜部13の動きに応じて、その下のエラストマー3が圧縮されて変形することになる。また、接点部14は傾斜部13及び接続部12を介してランド部11に接続されているので、接点部14の接続パッド22(24)上の接点位置は、それとは反対方向に円弧を描くように移動することになり、ワイピング効果が得られる。
したがって、この摺動動作により、加重25を加えた際に接点部14が新しい面で接触するワイピング効果を得ることができる。
したがって、この摺動動作により、加重25を加えた際に接点部14が新しい面で接触するワイピング効果を得ることができる。
また、突起部5の下端と絶縁部材1の表面1a及び裏面1bとの境界が、スルーホール4の位置と距離をおいており、しかも接続端子部7の傾斜部13が斜め上方にせり上がる形状になっているので、接点部14に荷重25が加わった場合に傾斜部13が円弧を描くように変形する際の支点が鈍角となり、応力集中を避けることが可能である。
また、接続端子部7の傾斜部13が斜め上方にせり上がる形状であるから、スルーホール4近傍におけるエラストマー3の厚みより、接点部14の直下のエラストマー3の厚みを厚くすることが可能である。これにより、エラストマー3の一定のストロークを得るためにエラストマー3を圧縮しても、総厚に対する圧縮率を低くすることが可能であり、エラストマー3の圧縮永久歪みに対する耐性を向上させることができるだけでなく、スルーホール4近傍のエラストマー3の厚みを薄くすることで、繰り返し屈曲やヒートショックの耐性を向上させることが可能である。
以上説明したように、本実施形態の両面接続型コネクタによれば、絶縁部材1の表面1a及び裏面1b各々のスルーホール4のそれぞれの端部に近接した位置に半球状のエラストマーからなる突起部5を形成し、このスルーホール4の内面に導体部6を形成し、突起部5を含む絶縁部材1上に、ランド部11と、接続部12と、傾斜部13と、接点部14とからなる接続端子部7を形成したので、傾斜部13及び接点部14がランド部11及び接続部12に対して広い範囲で可動することができる。
また、接点部14が略半球状の形状をしているので、プリント基板21の接続パッド22や半導体チップ23の接続パッド24との接点が点接触となり、この点接触の部分に荷重が集中することとなり、その結果、この接点部14の点接触における接触圧力を確保することができる。しかも、接点部14を略半球状としたので、剛性を十分確保することができ、荷重が集中しても潰れる虞がない。
また、接続端子部7の可動部分である接続部12と傾斜部13との境界部分と層間導通のためのスルーホール4との間が離れているので、これら接続部12と傾斜部13との境界部分やスルーホール4に応力が集中することがなく、これらが破壊する虞もない。
また、接続端子部7の可動部分である接続部12と傾斜部13との境界部分と層間導通のためのスルーホール4との間が離れているので、これら接続部12と傾斜部13との境界部分やスルーホール4に応力が集中することがなく、これらが破壊する虞もない。
したがって、この接点部14の設計の自由度を制限することなく、この可動範囲を絶縁部材1の厚み方向に広く取ることができ、その結果、プリント基板21や半導体チップ23に反り等の不具合が生じる虞がなくなり、接続端子部7の高さのばらつきを吸収することができ、ファインピッチ化に対応することができる。
また、層間導通のためのスルーホール4の部分のエラストマー3の厚みを、突起部5のエラストマー3の厚みより薄くすることができる。
また、突起部5を一括成形により形成し、この突起部5に設けられる略半球状の接点部14についても一括成形可能であるから、部品点数が必要以上に多くなることもない。
また、突起部5の形状やエラストマー3の材質を変えることにより、荷重一変位特性を制御することができる。
また、接続端子部7のうち突起部5の頂点に位置する部分を接点に適した貴金属等の接点用金属層としたので、接点部14における接触抵抗を小さくすることができる。
また、突起部5を一括成形により形成し、この突起部5に設けられる略半球状の接点部14についても一括成形可能であるから、部品点数が必要以上に多くなることもない。
また、突起部5の形状やエラストマー3の材質を変えることにより、荷重一変位特性を制御することができる。
また、接続端子部7のうち突起部5の頂点に位置する部分を接点に適した貴金属等の接点用金属層としたので、接点部14における接触抵抗を小さくすることができる。
「第2の実施の形態」
図6は、本発明の第2の実施形態の両面接続型コネクタを示す平面図である。
ここで、本実施形態の両面接続型コネクタが第1の実施形態の両面接続型コネクタと異なる点は、絶縁部材1に、スルーホール4を端子間ピッチpにて4行×4列のマトリックス状に形成し、各スルーホール4の導体部6に接続端子部7を形成し、各接続端子部7を、隣接するもの同士が相互に接続させることなく互いに独立していることとし、この接続端子部7の長辺方向と、絶縁部材1の辺1cとのなす角度φを45度とした点である。
図6は、本発明の第2の実施形態の両面接続型コネクタを示す平面図である。
ここで、本実施形態の両面接続型コネクタが第1の実施形態の両面接続型コネクタと異なる点は、絶縁部材1に、スルーホール4を端子間ピッチpにて4行×4列のマトリックス状に形成し、各スルーホール4の導体部6に接続端子部7を形成し、各接続端子部7を、隣接するもの同士が相互に接続させることなく互いに独立していることとし、この接続端子部7の長辺方向と、絶縁部材1の辺1cとのなす角度φを45度とした点である。
端子間ピッチpは、例えば、1mmピッチであり、接続端子部7の幅は約0.5mmで実現可能である。これにより、接点部14の半径は0.25mmで実現可能となる。
また、接続端子部7の長辺方向と、絶縁部材1の辺1cとのなす角度φを45度としているが、これは、荷重が加わった際に接続端子部7が変形する際、変形の支点となる部分に発生する応力を極力低くするために、接続端子部7の帯状部分の長さを長くするためである。
また、接続端子部7の長辺方向と、絶縁部材1の辺1cとのなす角度φを45度としているが、これは、荷重が加わった際に接続端子部7が変形する際、変形の支点となる部分に発生する応力を極力低くするために、接続端子部7の帯状部分の長さを長くするためである。
このように、接続端子部7を、絶縁部材1の辺1cに対して45度傾斜するように配置したことで、接続端子部7及びスルーホール4を効率的に配置することができる。
また、各接続端子部7を、隣接するもの同士が相互に接続させることなく互いに独立していることとしたので、各接続端子部7を互いに独立して可動させ、電気的に接続することができる。
また、各接続端子部7を、隣接するもの同士が相互に接続させることなく互いに独立していることとしたので、各接続端子部7を互いに独立して可動させ、電気的に接続することができる。
「第3の実施の形態」
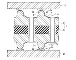
図7は、本発明の第3の実施形態の両面接続型コネクタを示す平面図、図8は、図7のB−B線に沿う断面図である。
ここで、本実施形態の両面接続型コネクタが第1の実施形態の両面接続型コネクタと異なる点は、絶縁部材1の裏面1b各々のスルーホール4のそれぞれの端部に近接した位置に、導体部6に接続される端子部31を形成し、この端子部31上に半田部32を形成した点である。
図7は、本発明の第3の実施形態の両面接続型コネクタを示す平面図、図8は、図7のB−B線に沿う断面図である。
ここで、本実施形態の両面接続型コネクタが第1の実施形態の両面接続型コネクタと異なる点は、絶縁部材1の裏面1b各々のスルーホール4のそれぞれの端部に近接した位置に、導体部6に接続される端子部31を形成し、この端子部31上に半田部32を形成した点である。
このように、絶縁部材1の裏面1bに半田部32を形成することで、上下両面が接点の構造だけではなく、片面が半田実装の場合にも適用可能となる。
1…絶縁部材、1a…表面、1b…裏面、2…絶縁基板、3…エラストマー、4…スルーホール、5…突起部、6…導体部、7…接続端子部、11…ランド部、12…接続部、13…傾斜部、14…接点部、21…プリント基板、22…接続パッド、23…半導体チップ、24…接続パッド、31…端子部、32…半田部。
Claims (9)
- 絶縁基材の両面にエラストマーが一体成形され、これら絶縁基材及びエラストマーの厚み方向に1つ以上の貫通孔が形成された絶縁部材と、前記貫通孔の内面に形成されて両端部が前記両面にて露出する導電性部材とを備えた両面接続型コネクタにおいて、
前記絶縁部材の少なくとも一方の面の前記貫通孔の一端部に近接した位置に、前記一方の面から突出する突起部を設け、
前記導電性部材の一端部に接続端子部を設け、
前記接続端子部は、前記貫通孔の少なくとも一方の端部の周囲に形成された環状部と、該環状部の周縁部の一端に接続され前記突起部に向かって斜め上方に延びる傾斜部と、該傾斜部の一端に接続され前記突起部の頂部を覆う略半球状の接点部とを備えてなることを特徴とする両面接続型コネクタ。 - 前記絶縁部材の両面の前記貫通孔の両端部それぞれに近接した位置に、前記両面それぞれから突出する突起部を設け、
前記接続端子部は、前記絶縁部材の両面それぞれに設けられていることを特徴とする請求項1記載の両面接続型コネクタ。 - 前記絶縁部材の他方の面の前記突起部に対応する位置に、前記導電性部材に電気的に接続する半田部を設けたことを特徴とする請求項1記載の両面接続型コネクタ。
- 前記突起部の側面と前記一方の面との境界部は曲線であることを特徴とする請求項1ないし3のいずれか1項記載の両面接続型コネクタ。
- 前記接続端子部の前記貫通孔の近傍における直径は、この接続端子部の線幅より大であることを特徴とする請求項1ないし4のいずれか1項記載の両面接続型コネクタ。
- 前記接続端子部の傾斜部と前記一方の面とのなす角度は45°以下であることを特徴とする請求項1ないし5のいずれか1項記載の両面接続型コネクタ。
- 前記絶縁部材の少なくとも一方の面に複数の前記接続端子部を設け、
これら接続端子部は、隣接するもの同士が相互に接続させることなく互いに独立していることを特徴とする請求項1ないし6のいずれか1項記載の両面接続型コネクタ。 - 前記接続端子部の長辺方向を、前記一方の面の一つの辺に対して傾斜させたことを特徴とする請求項1ないし7のいずれか1項記載の両面接続型コネクタ。
- 前記エラストマのうち前記接続端子部の側壁となる部分は、前記一方の面または前記両面に対して傾斜していることを特徴とする請求項1ないし8のいずれか1項記載の両面接続型コネクタ。
Priority Applications (5)
| Application Number | Priority Date | Filing Date | Title |
|---|---|---|---|
| JP2008171004A JP4294078B1 (ja) | 2008-06-30 | 2008-06-30 | 両面接続型コネクタ |
| KR1020080117890A KR101060290B1 (ko) | 2008-06-30 | 2008-11-26 | 양면 접속형 커넥터 |
| CN2008101877180A CN101621161B (zh) | 2008-06-30 | 2008-12-31 | 两面连接型连接器 |
| TW098102260A TWI373886B (en) | 2008-06-30 | 2009-01-21 | Double-face connector |
| US12/493,760 US7887336B2 (en) | 2008-06-30 | 2009-06-29 | Double-sided connector with protrusions |
Applications Claiming Priority (1)
| Application Number | Priority Date | Filing Date | Title |
|---|---|---|---|
| JP2008171004A JP4294078B1 (ja) | 2008-06-30 | 2008-06-30 | 両面接続型コネクタ |
Publications (2)
| Publication Number | Publication Date |
|---|---|
| JP4294078B1 JP4294078B1 (ja) | 2009-07-08 |
| JP2010010077A true JP2010010077A (ja) | 2010-01-14 |
Family
ID=40921875
Family Applications (1)
| Application Number | Title | Priority Date | Filing Date |
|---|---|---|---|
| JP2008171004A Expired - Fee Related JP4294078B1 (ja) | 2008-06-30 | 2008-06-30 | 両面接続型コネクタ |
Country Status (5)
| Country | Link |
|---|---|
| US (1) | US7887336B2 (ja) |
| JP (1) | JP4294078B1 (ja) |
| KR (1) | KR101060290B1 (ja) |
| CN (1) | CN101621161B (ja) |
| TW (1) | TWI373886B (ja) |
Cited By (2)
| Publication number | Priority date | Publication date | Assignee | Title |
|---|---|---|---|---|
| JP2014007110A (ja) * | 2012-06-26 | 2014-01-16 | Japan Aviation Electronics Industry Ltd | コネクタ |
| WO2022124134A1 (ja) * | 2020-12-11 | 2022-06-16 | 三井化学株式会社 | 異方導電性シートおよび電気検査方法 |
Families Citing this family (20)
| Publication number | Priority date | Publication date | Assignee | Title |
|---|---|---|---|---|
| JP2008021637A (ja) * | 2006-06-12 | 2008-01-31 | Fujikura Ltd | ソケットとその製造方法及び半導体装置 |
| US8264854B2 (en) * | 2009-11-12 | 2012-09-11 | Roche Diagnostics Operations, Inc. | Consumer electronic device with elastomeric mat |
| US8033835B2 (en) * | 2009-12-18 | 2011-10-11 | Tyco Electronics Corporation | Interconnect assembly having a separable mating interface |
| TWM393834U (en) * | 2010-03-18 | 2010-12-01 | Hon Hai Prec Ind Co Ltd | Electrical connector and assembly thereof |
| JP5462732B2 (ja) * | 2010-06-29 | 2014-04-02 | モレックス インコーポレイテド | シート状コネクタ、及びその製造方法 |
| EP2580814B1 (en) * | 2011-07-01 | 2024-02-14 | Samtec, Inc. | Transceiver and interconnect system comprising the same |
| US8491315B1 (en) * | 2011-11-29 | 2013-07-23 | Plastronics Socket Partners, Ltd. | Micro via adapter socket |
| US8974236B2 (en) * | 2012-07-26 | 2015-03-10 | Hon Hai Precision Industry Co., Ltd. | Low profile electrical connector |
| TWM468808U (zh) * | 2013-06-07 | 2013-12-21 | Kingston Digital Inc | 連接器及電子裝置 |
| US9660371B2 (en) * | 2013-08-19 | 2017-05-23 | Polymatech Japan Co., Ltd. | Conductive connector |
| JP6278726B2 (ja) * | 2014-02-04 | 2018-02-14 | 日本航空電子工業株式会社 | コネクタ |
| CN204927620U (zh) * | 2015-08-10 | 2015-12-30 | 正淩精密工业股份有限公司 | 连接器装置 |
| US10522930B2 (en) * | 2016-03-11 | 2019-12-31 | Dell Products L.P. | Systems and methods for frequency shifting resonance of connector stubs |
| CN107104298B (zh) * | 2017-04-28 | 2019-06-11 | 番禺得意精密电子工业有限公司 | 电连接器及其制造方法 |
| CN108258467B (zh) * | 2017-12-01 | 2020-08-28 | 番禺得意精密电子工业有限公司 | 电连接器 |
| CN110071385A (zh) * | 2019-03-29 | 2019-07-30 | 番禺得意精密电子工业有限公司 | 电连接器 |
| CN110957603A (zh) * | 2019-11-27 | 2020-04-03 | 苏州昀冢电子科技股份有限公司 | 压接电连接器 |
| US11509084B2 (en) * | 2020-07-24 | 2022-11-22 | Te Connectivity Solutions Gmbh | Electrical connector assembly having hybrid conductive polymer contacts |
| US12051865B2 (en) * | 2021-12-28 | 2024-07-30 | Te Connectivity Solutions Gmbh | Socket connector |
| TWI844382B (zh) * | 2023-06-02 | 2024-06-01 | 啟碁科技股份有限公司 | 電子裝置 |
Family Cites Families (20)
| Publication number | Priority date | Publication date | Assignee | Title |
|---|---|---|---|---|
| US4548451A (en) * | 1984-04-27 | 1985-10-22 | International Business Machines Corporation | Pinless connector interposer and method for making the same |
| JPH08287893A (ja) | 1995-04-11 | 1996-11-01 | Nec Eng Ltd | バッテリパック |
| JPH08287983A (ja) | 1995-04-14 | 1996-11-01 | Whitaker Corp:The | エラストマコネクタ |
| US5759047A (en) * | 1996-05-24 | 1998-06-02 | International Business Machines Corporation | Flexible circuitized interposer with apertured member and method for making same |
| US6142789A (en) * | 1997-09-22 | 2000-11-07 | Silicon Graphics, Inc. | Demateable, compliant, area array interconnect |
| US6299456B1 (en) * | 1998-04-10 | 2001-10-09 | Micron Technology, Inc. | Interposer with contact structures for electrical testing |
| AU2001232772A1 (en) * | 2000-01-20 | 2001-07-31 | Gryphics, Inc. | Flexible compliant interconnect assembly |
| DE10016132A1 (de) | 2000-03-31 | 2001-10-18 | Infineon Technologies Ag | Elektronisches Bauelement mit flexiblen Kontaktierungsstellen und Verfahren zu dessen Herstellung |
| JP2001332321A (ja) * | 2000-05-19 | 2001-11-30 | Citizen Electronics Co Ltd | 電気コネクタ及びその製造方法 |
| JP4003208B2 (ja) | 2001-10-15 | 2007-11-07 | 大宏電機株式会社 | 弾性電気接点 |
| JP4041868B2 (ja) | 2002-08-06 | 2008-02-06 | 株式会社フジクラ | 両面接点用コネクタ |
| US6857880B2 (en) | 2001-11-09 | 2005-02-22 | Tomonari Ohtsuki | Electrical connector |
| JP2004158430A (ja) | 2002-09-12 | 2004-06-03 | Tyco Electronics Amp Kk | Lgaソケット用コンタクト |
| US7005751B2 (en) | 2003-04-10 | 2006-02-28 | Formfactor, Inc. | Layered microelectronic contact and method for fabricating same |
| JP3860561B2 (ja) | 2003-06-27 | 2006-12-20 | タイコエレクトロニクスアンプ株式会社 | Icソケット |
| DE102004030140B3 (de) * | 2004-06-22 | 2006-01-19 | Infineon Technologies Ag | Flexible Kontaktierungsvorrichtung |
| JP2008021637A (ja) * | 2006-06-12 | 2008-01-31 | Fujikura Ltd | ソケットとその製造方法及び半導体装置 |
| TWI336156B (en) * | 2006-07-21 | 2011-01-11 | Fujikura Ltd | Ic socket and manufacturing method for the same |
| US7549870B2 (en) * | 2007-01-03 | 2009-06-23 | Tyco Electronics Corporation | Electrical interconnect device utilizing contact caps |
| US7549871B2 (en) * | 2007-09-19 | 2009-06-23 | Tyco Electronics Corporation | Connector with dual compression polymer and flexible contact array |
-
2008
- 2008-06-30 JP JP2008171004A patent/JP4294078B1/ja not_active Expired - Fee Related
- 2008-11-26 KR KR1020080117890A patent/KR101060290B1/ko not_active Expired - Fee Related
- 2008-12-31 CN CN2008101877180A patent/CN101621161B/zh not_active Expired - Fee Related
-
2009
- 2009-01-21 TW TW098102260A patent/TWI373886B/zh not_active IP Right Cessation
- 2009-06-29 US US12/493,760 patent/US7887336B2/en not_active Expired - Fee Related
Cited By (3)
| Publication number | Priority date | Publication date | Assignee | Title |
|---|---|---|---|---|
| JP2014007110A (ja) * | 2012-06-26 | 2014-01-16 | Japan Aviation Electronics Industry Ltd | コネクタ |
| WO2022124134A1 (ja) * | 2020-12-11 | 2022-06-16 | 三井化学株式会社 | 異方導電性シートおよび電気検査方法 |
| JPWO2022124134A1 (ja) * | 2020-12-11 | 2022-06-16 |
Also Published As
| Publication number | Publication date |
|---|---|
| TW201001818A (en) | 2010-01-01 |
| TWI373886B (en) | 2012-10-01 |
| JP4294078B1 (ja) | 2009-07-08 |
| KR20100003169A (ko) | 2010-01-07 |
| CN101621161A (zh) | 2010-01-06 |
| CN101621161B (zh) | 2012-02-01 |
| KR101060290B1 (ko) | 2011-08-29 |
| US20100081342A1 (en) | 2010-04-01 |
| US7887336B2 (en) | 2011-02-15 |
Similar Documents
| Publication | Publication Date | Title |
|---|---|---|
| JP4294078B1 (ja) | 両面接続型コネクタ | |
| US7748991B2 (en) | IC socket and manufacturing method for the same | |
| US8888525B2 (en) | Electrical connector with dual arm contact | |
| JP5500870B2 (ja) | 接続端子付き基板及び電子部品のソケット等 | |
| US7780456B2 (en) | Electrical connector having reinforced contacts arrangement | |
| US7938649B2 (en) | Electrical connector having improved contacts | |
| CN101640361B (zh) | 连接器以及具备该连接器的电子部件 | |
| US8177561B2 (en) | Socket contact terminal and semiconductor device | |
| JP5564328B2 (ja) | ソケット | |
| US9184520B2 (en) | Electrical connector | |
| JP3252255B2 (ja) | Icソケット | |
| US20140335705A1 (en) | Electrical connector | |
| KR101005767B1 (ko) | 전기적 접속을 위한 핀 | |
| JP2011009025A (ja) | スプリング接続端子及びその実装方法 | |
| JP2001291430A (ja) | 異方導電性シート及びその製造方法 | |
| JP4461226B2 (ja) | スパイラル状接触子 | |
| JP2007324030A (ja) | ソケットとその製造方法及び半導体装置 | |
| TWI545843B (zh) | 電連接器 | |
| JP2007328996A (ja) | ソケットとその製造方法及び半導体装置 | |
| JP2008027773A (ja) | Icソケットおよびその製造方法 | |
| JP2008027774A (ja) | Icソケットおよびその製造方法 | |
| JP2007335116A (ja) | ソケット及び半導体装置 | |
| JP2007335115A (ja) | ソケット及び半導体装置 |
Legal Events
| Date | Code | Title | Description |
|---|---|---|---|
| TRDD | Decision of grant or rejection written | ||
| A01 | Written decision to grant a patent or to grant a registration (utility model) |
Free format text: JAPANESE INTERMEDIATE CODE: A01 |
|
| A61 | First payment of annual fees (during grant procedure) |
Free format text: JAPANESE INTERMEDIATE CODE: A61 Effective date: 20090407 |
|
| FPAY | Renewal fee payment (event date is renewal date of database) |
Free format text: PAYMENT UNTIL: 20120417 Year of fee payment: 3 |
|
| FPAY | Renewal fee payment (event date is renewal date of database) |
Free format text: PAYMENT UNTIL: 20120417 Year of fee payment: 3 |
|
| LAPS | Cancellation because of no payment of annual fees |