JP2010005422A - 心臓弁修復のための送達装置および方法 - Google Patents

心臓弁修復のための送達装置および方法 Download PDF

Info

Publication number
JP2010005422A
JP2010005422A JP2009197009A JP2009197009A JP2010005422A JP 2010005422 A JP2010005422 A JP 2010005422A JP 2009197009 A JP2009197009 A JP 2009197009A JP 2009197009 A JP2009197009 A JP 2009197009A JP 2010005422 A JP2010005422 A JP 2010005422A
Authority
JP
Japan
Prior art keywords
anchor
annulus
tissue
item
housing
Prior art date
Legal status (The legal status is an assumption and is not a legal conclusion. Google has not performed a legal analysis and makes no representation as to the accuracy of the status listed.)
Granted
Application number
JP2009197009A
Other languages
English (en)
Other versions
JP5318710B2 (ja
Inventor
Niel F Starksen
エフ. スタークセン ニール
John To
トゥ ジョン
Mariel Fabro
ファブロ マリエル
Michael F Wei
エフ. ウェイ マイケル
Rodolfo A Morales
エー. モラレス ロドルフォ
Current Assignee (The listed assignees may be inaccurate. Google has not performed a legal analysis and makes no representation or warranty as to the accuracy of the list.)
Guided Delivery Systems Inc
Original Assignee
Guided Delivery Systems Inc
Priority date (The priority date is an assumption and is not a legal conclusion. Google has not performed a legal analysis and makes no representation as to the accuracy of the date listed.)
Filing date
Publication date
Priority claimed from US10/656,797 external-priority patent/US7753922B2/en
Priority claimed from US10/741,130 external-priority patent/US8287555B2/en
Priority claimed from US10/792,681 external-priority patent/US20040243227A1/en
Priority claimed from US10/901,455 external-priority patent/US7753858B2/en
Priority claimed from US10/901,019 external-priority patent/US7758637B2/en
Priority claimed from US10/901,555 external-priority patent/US7666193B2/en
Application filed by Guided Delivery Systems Inc filed Critical Guided Delivery Systems Inc
Publication of JP2010005422A publication Critical patent/JP2010005422A/ja
Application granted granted Critical
Publication of JP5318710B2 publication Critical patent/JP5318710B2/ja
Anticipated expiration legal-status Critical
Expired - Lifetime legal-status Critical Current

Links

Images

Classifications

    • AHUMAN NECESSITIES
    • A61MEDICAL OR VETERINARY SCIENCE; HYGIENE
    • A61FFILTERS IMPLANTABLE INTO BLOOD VESSELS; PROSTHESES; DEVICES PROVIDING PATENCY TO, OR PREVENTING COLLAPSING OF, TUBULAR STRUCTURES OF THE BODY, e.g. STENTS; ORTHOPAEDIC, NURSING OR CONTRACEPTIVE DEVICES; FOMENTATION; TREATMENT OR PROTECTION OF EYES OR EARS; BANDAGES, DRESSINGS OR ABSORBENT PADS; FIRST-AID KITS
    • A61F2/00Filters implantable into blood vessels; Prostheses, i.e. artificial substitutes or replacements for parts of the body; Appliances for connecting them with the body; Devices providing patency to, or preventing collapsing of, tubular structures of the body, e.g. stents
    • A61F2/02Prostheses implantable into the body
    • A61F2/24Heart valves ; Vascular valves, e.g. venous valves; Heart implants, e.g. passive devices for improving the function of the native valve or the heart muscle; Transmyocardial revascularisation [TMR] devices; Valves implantable in the body
    • A61F2/2427Devices for manipulating or deploying heart valves during implantation
    • A61F2/2436Deployment by retracting a sheath
    • AHUMAN NECESSITIES
    • A61MEDICAL OR VETERINARY SCIENCE; HYGIENE
    • A61BDIAGNOSIS; SURGERY; IDENTIFICATION
    • A61B17/00Surgical instruments, devices or methods
    • A61B17/00234Surgical instruments, devices or methods for minimally invasive surgery
    • AHUMAN NECESSITIES
    • A61MEDICAL OR VETERINARY SCIENCE; HYGIENE
    • A61BDIAGNOSIS; SURGERY; IDENTIFICATION
    • A61B17/00Surgical instruments, devices or methods
    • A61B17/04Surgical instruments, devices or methods for suturing wounds; Holders or packages for needles or suture materials
    • A61B17/0401Suture anchors, buttons or pledgets, i.e. means for attaching sutures to bone, cartilage or soft tissue; Instruments for applying or removing suture anchors
    • AHUMAN NECESSITIES
    • A61MEDICAL OR VETERINARY SCIENCE; HYGIENE
    • A61BDIAGNOSIS; SURGERY; IDENTIFICATION
    • A61B17/00Surgical instruments, devices or methods
    • A61B17/064Surgical staples, i.e. penetrating the tissue
    • AHUMAN NECESSITIES
    • A61MEDICAL OR VETERINARY SCIENCE; HYGIENE
    • A61BDIAGNOSIS; SURGERY; IDENTIFICATION
    • A61B17/00Surgical instruments, devices or methods
    • A61B17/064Surgical staples, i.e. penetrating the tissue
    • A61B17/0643Surgical staples, i.e. penetrating the tissue with separate closing member, e.g. for interlocking with staple
    • AHUMAN NECESSITIES
    • A61MEDICAL OR VETERINARY SCIENCE; HYGIENE
    • A61BDIAGNOSIS; SURGERY; IDENTIFICATION
    • A61B17/00Surgical instruments, devices or methods
    • A61B17/064Surgical staples, i.e. penetrating the tissue
    • A61B17/0644Surgical staples, i.e. penetrating the tissue penetrating the tissue, deformable to closed position
    • AHUMAN NECESSITIES
    • A61MEDICAL OR VETERINARY SCIENCE; HYGIENE
    • A61BDIAGNOSIS; SURGERY; IDENTIFICATION
    • A61B17/00Surgical instruments, devices or methods
    • A61B17/068Surgical staplers, e.g. containing multiple staples or clamps
    • AHUMAN NECESSITIES
    • A61MEDICAL OR VETERINARY SCIENCE; HYGIENE
    • A61BDIAGNOSIS; SURGERY; IDENTIFICATION
    • A61B17/00Surgical instruments, devices or methods
    • A61B17/068Surgical staplers, e.g. containing multiple staples or clamps
    • A61B17/0682Surgical staplers, e.g. containing multiple staples or clamps for applying U-shaped staples or clamps, e.g. without a forming anvil
    • AHUMAN NECESSITIES
    • A61MEDICAL OR VETERINARY SCIENCE; HYGIENE
    • A61FFILTERS IMPLANTABLE INTO BLOOD VESSELS; PROSTHESES; DEVICES PROVIDING PATENCY TO, OR PREVENTING COLLAPSING OF, TUBULAR STRUCTURES OF THE BODY, e.g. STENTS; ORTHOPAEDIC, NURSING OR CONTRACEPTIVE DEVICES; FOMENTATION; TREATMENT OR PROTECTION OF EYES OR EARS; BANDAGES, DRESSINGS OR ABSORBENT PADS; FIRST-AID KITS
    • A61F2/00Filters implantable into blood vessels; Prostheses, i.e. artificial substitutes or replacements for parts of the body; Appliances for connecting them with the body; Devices providing patency to, or preventing collapsing of, tubular structures of the body, e.g. stents
    • A61F2/02Prostheses implantable into the body
    • A61F2/24Heart valves ; Vascular valves, e.g. venous valves; Heart implants, e.g. passive devices for improving the function of the native valve or the heart muscle; Transmyocardial revascularisation [TMR] devices; Valves implantable in the body
    • A61F2/2442Annuloplasty rings or inserts for correcting the valve shape; Implants for improving the function of a native heart valve
    • A61F2/2445Annuloplasty rings in direct contact with the valve annulus
    • AHUMAN NECESSITIES
    • A61MEDICAL OR VETERINARY SCIENCE; HYGIENE
    • A61FFILTERS IMPLANTABLE INTO BLOOD VESSELS; PROSTHESES; DEVICES PROVIDING PATENCY TO, OR PREVENTING COLLAPSING OF, TUBULAR STRUCTURES OF THE BODY, e.g. STENTS; ORTHOPAEDIC, NURSING OR CONTRACEPTIVE DEVICES; FOMENTATION; TREATMENT OR PROTECTION OF EYES OR EARS; BANDAGES, DRESSINGS OR ABSORBENT PADS; FIRST-AID KITS
    • A61F2/00Filters implantable into blood vessels; Prostheses, i.e. artificial substitutes or replacements for parts of the body; Appliances for connecting them with the body; Devices providing patency to, or preventing collapsing of, tubular structures of the body, e.g. stents
    • A61F2/02Prostheses implantable into the body
    • A61F2/24Heart valves ; Vascular valves, e.g. venous valves; Heart implants, e.g. passive devices for improving the function of the native valve or the heart muscle; Transmyocardial revascularisation [TMR] devices; Valves implantable in the body
    • A61F2/2442Annuloplasty rings or inserts for correcting the valve shape; Implants for improving the function of a native heart valve
    • A61F2/2466Delivery devices therefor
    • AHUMAN NECESSITIES
    • A61MEDICAL OR VETERINARY SCIENCE; HYGIENE
    • A61BDIAGNOSIS; SURGERY; IDENTIFICATION
    • A61B17/00Surgical instruments, devices or methods
    • A61B17/00234Surgical instruments, devices or methods for minimally invasive surgery
    • A61B2017/00238Type of minimally invasive operation
    • A61B2017/00243Type of minimally invasive operation cardiac
    • AHUMAN NECESSITIES
    • A61MEDICAL OR VETERINARY SCIENCE; HYGIENE
    • A61BDIAGNOSIS; SURGERY; IDENTIFICATION
    • A61B17/00Surgical instruments, devices or methods
    • A61B2017/00743Type of operation; Specification of treatment sites
    • A61B2017/00778Operations on blood vessels
    • A61B2017/00783Valvuloplasty
    • AHUMAN NECESSITIES
    • A61MEDICAL OR VETERINARY SCIENCE; HYGIENE
    • A61BDIAGNOSIS; SURGERY; IDENTIFICATION
    • A61B17/00Surgical instruments, devices or methods
    • A61B2017/00831Material properties
    • A61B2017/00867Material properties shape memory effect
    • AHUMAN NECESSITIES
    • A61MEDICAL OR VETERINARY SCIENCE; HYGIENE
    • A61BDIAGNOSIS; SURGERY; IDENTIFICATION
    • A61B17/00Surgical instruments, devices or methods
    • A61B17/04Surgical instruments, devices or methods for suturing wounds; Holders or packages for needles or suture materials
    • A61B17/0401Suture anchors, buttons or pledgets, i.e. means for attaching sutures to bone, cartilage or soft tissue; Instruments for applying or removing suture anchors
    • A61B2017/0409Instruments for applying suture anchors
    • AHUMAN NECESSITIES
    • A61MEDICAL OR VETERINARY SCIENCE; HYGIENE
    • A61BDIAGNOSIS; SURGERY; IDENTIFICATION
    • A61B17/00Surgical instruments, devices or methods
    • A61B17/04Surgical instruments, devices or methods for suturing wounds; Holders or packages for needles or suture materials
    • A61B17/0401Suture anchors, buttons or pledgets, i.e. means for attaching sutures to bone, cartilage or soft tissue; Instruments for applying or removing suture anchors
    • A61B2017/0414Suture anchors, buttons or pledgets, i.e. means for attaching sutures to bone, cartilage or soft tissue; Instruments for applying or removing suture anchors having a suture-receiving opening, e.g. lateral opening
    • AHUMAN NECESSITIES
    • A61MEDICAL OR VETERINARY SCIENCE; HYGIENE
    • A61BDIAGNOSIS; SURGERY; IDENTIFICATION
    • A61B17/00Surgical instruments, devices or methods
    • A61B17/04Surgical instruments, devices or methods for suturing wounds; Holders or packages for needles or suture materials
    • A61B17/0401Suture anchors, buttons or pledgets, i.e. means for attaching sutures to bone, cartilage or soft tissue; Instruments for applying or removing suture anchors
    • A61B2017/044Suture anchors, buttons or pledgets, i.e. means for attaching sutures to bone, cartilage or soft tissue; Instruments for applying or removing suture anchors with a threaded shaft, e.g. screws
    • A61B2017/0443Suture anchors, buttons or pledgets, i.e. means for attaching sutures to bone, cartilage or soft tissue; Instruments for applying or removing suture anchors with a threaded shaft, e.g. screws the shaft being resilient and having a coiled or helical shape in the released state
    • AHUMAN NECESSITIES
    • A61MEDICAL OR VETERINARY SCIENCE; HYGIENE
    • A61BDIAGNOSIS; SURGERY; IDENTIFICATION
    • A61B17/00Surgical instruments, devices or methods
    • A61B17/04Surgical instruments, devices or methods for suturing wounds; Holders or packages for needles or suture materials
    • A61B2017/0496Surgical instruments, devices or methods for suturing wounds; Holders or packages for needles or suture materials for tensioning sutures
    • AHUMAN NECESSITIES
    • A61MEDICAL OR VETERINARY SCIENCE; HYGIENE
    • A61BDIAGNOSIS; SURGERY; IDENTIFICATION
    • A61B17/00Surgical instruments, devices or methods
    • A61B17/28Surgical forceps
    • A61B17/29Forceps for use in minimally invasive surgery
    • A61B2017/2901Details of shaft
    • A61B2017/2905Details of shaft flexible
    • AHUMAN NECESSITIES
    • A61MEDICAL OR VETERINARY SCIENCE; HYGIENE
    • A61FFILTERS IMPLANTABLE INTO BLOOD VESSELS; PROSTHESES; DEVICES PROVIDING PATENCY TO, OR PREVENTING COLLAPSING OF, TUBULAR STRUCTURES OF THE BODY, e.g. STENTS; ORTHOPAEDIC, NURSING OR CONTRACEPTIVE DEVICES; FOMENTATION; TREATMENT OR PROTECTION OF EYES OR EARS; BANDAGES, DRESSINGS OR ABSORBENT PADS; FIRST-AID KITS
    • A61F2/00Filters implantable into blood vessels; Prostheses, i.e. artificial substitutes or replacements for parts of the body; Appliances for connecting them with the body; Devices providing patency to, or preventing collapsing of, tubular structures of the body, e.g. stents
    • A61F2/02Prostheses implantable into the body
    • A61F2/24Heart valves ; Vascular valves, e.g. venous valves; Heart implants, e.g. passive devices for improving the function of the native valve or the heart muscle; Transmyocardial revascularisation [TMR] devices; Valves implantable in the body
    • A61F2/2427Devices for manipulating or deploying heart valves during implantation
    • AHUMAN NECESSITIES
    • A61MEDICAL OR VETERINARY SCIENCE; HYGIENE
    • A61FFILTERS IMPLANTABLE INTO BLOOD VESSELS; PROSTHESES; DEVICES PROVIDING PATENCY TO, OR PREVENTING COLLAPSING OF, TUBULAR STRUCTURES OF THE BODY, e.g. STENTS; ORTHOPAEDIC, NURSING OR CONTRACEPTIVE DEVICES; FOMENTATION; TREATMENT OR PROTECTION OF EYES OR EARS; BANDAGES, DRESSINGS OR ABSORBENT PADS; FIRST-AID KITS
    • A61F2/00Filters implantable into blood vessels; Prostheses, i.e. artificial substitutes or replacements for parts of the body; Appliances for connecting them with the body; Devices providing patency to, or preventing collapsing of, tubular structures of the body, e.g. stents
    • A61F2/02Prostheses implantable into the body
    • A61F2/24Heart valves ; Vascular valves, e.g. venous valves; Heart implants, e.g. passive devices for improving the function of the native valve or the heart muscle; Transmyocardial revascularisation [TMR] devices; Valves implantable in the body
    • A61F2/2442Annuloplasty rings or inserts for correcting the valve shape; Implants for improving the function of a native heart valve
    • AHUMAN NECESSITIES
    • A61MEDICAL OR VETERINARY SCIENCE; HYGIENE
    • A61FFILTERS IMPLANTABLE INTO BLOOD VESSELS; PROSTHESES; DEVICES PROVIDING PATENCY TO, OR PREVENTING COLLAPSING OF, TUBULAR STRUCTURES OF THE BODY, e.g. STENTS; ORTHOPAEDIC, NURSING OR CONTRACEPTIVE DEVICES; FOMENTATION; TREATMENT OR PROTECTION OF EYES OR EARS; BANDAGES, DRESSINGS OR ABSORBENT PADS; FIRST-AID KITS
    • A61F2/00Filters implantable into blood vessels; Prostheses, i.e. artificial substitutes or replacements for parts of the body; Appliances for connecting them with the body; Devices providing patency to, or preventing collapsing of, tubular structures of the body, e.g. stents
    • A61F2/02Prostheses implantable into the body
    • A61F2/24Heart valves ; Vascular valves, e.g. venous valves; Heart implants, e.g. passive devices for improving the function of the native valve or the heart muscle; Transmyocardial revascularisation [TMR] devices; Valves implantable in the body
    • A61F2/2442Annuloplasty rings or inserts for correcting the valve shape; Implants for improving the function of a native heart valve
    • A61F2/2454Means for preventing inversion of the valve leaflets, e.g. chordae tendineae prostheses

Landscapes

  • Health & Medical Sciences (AREA)
  • Life Sciences & Earth Sciences (AREA)
  • Surgery (AREA)
  • Veterinary Medicine (AREA)
  • Engineering & Computer Science (AREA)
  • Biomedical Technology (AREA)
  • Heart & Thoracic Surgery (AREA)
  • Animal Behavior & Ethology (AREA)
  • General Health & Medical Sciences (AREA)
  • Public Health (AREA)
  • Cardiology (AREA)
  • Medical Informatics (AREA)
  • Molecular Biology (AREA)
  • Nuclear Medicine, Radiotherapy & Molecular Imaging (AREA)
  • Oral & Maxillofacial Surgery (AREA)
  • Transplantation (AREA)
  • Vascular Medicine (AREA)
  • Rheumatology (AREA)
  • Prostheses (AREA)
  • Surgical Instruments (AREA)
  • Media Introduction/Drainage Providing Device (AREA)
  • External Artificial Organs (AREA)
  • Massaging Devices (AREA)
  • Measurement And Recording Of Electrical Phenomena And Electrical Characteristics Of The Living Body (AREA)
  • Materials For Medical Uses (AREA)
  • Infusion, Injection, And Reservoir Apparatuses (AREA)

Abstract

【課題】心臓弁輪治療処置効果を高めるための方法、装置およびシステムを改善する。
【解決手段】連結されたアンカー210を心臓弁輪に適用するための装置200であって、近位端および遠位端202を有する細長いシャフト204と、遠位端202に隣接するハウジング206と、ハウジング206内に配置された複数の連結されたアンカー210と、ハウジング206からアンカー210を送達させるための少なくとも1つのアンカー接触部材と、シャフト204の近位端あるいはその近くにある、アンカー210を弁輪に送達させるようアンカー210接触部材に作用するための少なくとも1つのアクチュエータ208と、を備える、連結されたアンカー210を心臓弁輪に適用するための装置200。
【選択図】図3

Description

(発明の背景)
1.技術分野。本発明は概して医療装置および方法に関連する。さらに具体的には、本発明は心臓血管弁修復、特に心臓僧帽弁および三尖弁といった心臓弁の修復に関連する。
近年、心臓手術の侵襲性低減において多くの進展があった。患者の高い罹患率および死亡率を伴う可能性、開心、停心の処置を避けようとする試みにおいて、比較的小さな切開口を通して心臓手術を行うため、鼓動している心臓に手術を行うため、また経血管アクセスでの心臓処置を行うためにいたるまで、数々の装置および方法が開発されてきた。心房細動に対処するための心臓切除技術、アテローム性動脈硬化症のためのステント挿入処置、および僧帽弁逆流といった症状の治療における弁修復処置等、あらゆる種類の心臓処置に有意な技術進展があった。侵襲性を最小限にとどめた多くの心臓手術技術、特に鼓動している心臓への処置技術の実施において、最も大いなる難関の一つは、処置を行うため、心臓の中または周囲の望ましい位置に治療装置を配置することである。別の難関は、装置が配置された後、目指す心臓組織に、ある特定の治療を効果的に展開することである。
侵襲性の低い技術から利益を受けると考えられる心臓手術の一種は、心臓弁修復である。僧帽弁または三尖弁逆流といった心臓弁狭窄症または心臓弁逆流の従来の治療には、通常、弁の置換または修復のために開心外科的処置が伴う。弁修復処置には通常、弁輪の形を復元し、弁輪を強化するために設計された一連の技術である、弁形成術が伴う。従来の弁形成手術では、概して患者の胸部の広範囲での切開(開胸術)、および時として胸骨正中切開術(胸骨の正中の切開)が必要である。これらの開心、開胸処置は通常、患者の心臓および肺が処置の間人工的に停止しているよう、患者に、持続した期間にわたって、心肺バイパス装置を使用することになる。さらには、弁修復および置換処置は通常、技術的に困難であり、弁にアクセスするために心臓壁を比較的広範囲で切開することが必要である。
開心弁修復または置換は元来侵襲性が高いため、高齢の患者、最近他の外科的処置を受けた患者、併存症を有する患者、子供、晩期心不全を有する患者等、多くの患者がしばしば心臓弁手術を受けるにあたりリスクが高過ぎると見なされ、悪化が進み、心肥大へとつながる。かかる患者の心臓弁状態への実行可能な代替治療法が存在しないことがしばしばある。
この状況を未然に防ぐために、侵襲性の低い方法での心臓弁修復のための装置および方法が数々説明されてきた。いくつかの装置が侵襲性を最小限にとどめた切開を通しての心臓弁修復のために提供されている一方で、鼓動している心臓、停止した心臓、もくしは双方での開心外科的処置での改善を提供している装置もある。上述のように、侵襲性を最小限にとどめた心臓内手術の難しさは、処置を行うために、望ましい位置に侵襲性を最小限にとどめた治療装置を配置すること、および、目指す心臓組織に、ある特定の治療を効果的に展開することである。例えば心臓弁修復処置においては、医師が弁輪組織に1つ以上の治療装置を固定することが必要不可欠である。弁輪組織は、周辺筋肉または弁尖組織と比較して、単に線維である傾向にあり、したがってアンカーといった心臓弁治療のための当該治療装置を固定するのに適した位置となる。アンカー送達装置を弁輪組織に隣接する望ましい位置に配置することは、特に当該の位置の可視化が制限される心臓内処置においては、しばしば困難となる可能性がある。
これらの難関に取り組んだ装置および方法は、米国特許出願番号10/792,681、10/741,130、10/656,797、10/461,043、60/388,935、60/429,288、60/445,890、60/462,502および60/524,622に記載されており、これらは参照することですでに組み込まれた。例として、これらの参考文献は、僧帽弁輪といった心臓弁輪への処置の暴露、安定化、および/または実施のための装置および方法について記述している。発明者達によって以前に記述されている装置や方法の多くは非常に効果的であるが、まだ改善の余地がある。
したがって、心臓弁輪治療処置効果を高めるための方法、装置およびシステムの改善は有益である。かかる方法、装置およびシステムが、心臓弁輪への処置を行うため、左心室またはその他の位置に1つ以上の装置を配置すること、弁輪の可視化すること、および/または同等のことを容易にすることが理想的である。また、かかる方法、装置およびシステムが経脈管的に導入できることが理想的である。これらの目標の内、少なくともいくつかは、本発明によって達成される。
2.背景技術の説明。特許文献1、特許文献2、特許文献3、特許文献4、特許文献5および特許文献6、ならびに特許文献7および特許文献8は、弁形成術を行うためのカテーテルベースの方法について記述している。特許文献9は、任意で連結片に装着される収縮可能なひだバンドを用いた心臓弁形成術について記述している。特許文献10は弁形成術を行うために、アンカーおよび係留紐を送達するために使用可能な遠隔操作式のカテーテルシステムについて記述している。その他の関連する特許公報には、WO01/26586、US2001/0005757、US2001/0014800、US2002/0013621、US2002/00290R0、US2002/0035361、US2002/0042621、US2002/0095167、US2003/0074012等がある。関連の米国特許には、014,492、4,042,979、4,043,504、4,055,86 L、4,700,250、5,366,479、5,450,860、5,571,215、5,674,279、5,709,695、5,752,518、5,845,969、5,860,992、5,904,651、5,961,539、5,972,004、6,165,183、6,197,017、6,250,308、6,260,552、6,283,993、6,269,819、6,312,447、6,332,893、6,524,338等がある。関連の発行物は、De Simone ら(1993) Am. J. Cardiol. 73:721−722およびDowningら(2001) Heart Surgery Forum, Abstract 7025などである。これら上述の引用参考文献は全て、参照することにより本出願に組み込まれる。
米国特許出願公開第2002/0156526号明細書 米国特許出願公開第2003/0220685号明細書 米国特許出願公開第2004/0019378号明細書 米国特許出願公開第2004/0003819号明細書 米国特許出願公開第2004/0030382号明細書 米国特許出願公開第2004/0039442号明細書 米国特許第6629534号明細書 米国特許第6619291号明細書 米国特許出願公開第2002/0042621号明細書 米国特許出願公開第2002/0087169号明細書
本発明は、例えば、以下を提供する:
(項目1)
連結されたアンカーを心臓弁輪に適用するための装置であって、
近位端および遠位端を有する細長いシャフトと、
上記遠位端に隣接するハウジングと、
上記ハウジング内に配置された複数の連結されたアンカーと、
上記ハウジングからアンカーを送達させるための少なくとも1つのアンカー接触部材と、上記シャフトの上記近位端あるいはその近くにある、上記アンカーを弁輪に送達させるよう上記アンカー接触部材に作用するための少なくとも1つのアクチュエータと、を備える、連結されたアンカーを心臓弁輪に適用するための装置。
(項目2)
上記細長いシャフトが、大動脈を通して左心室の中へと進め弁輪に接触させ得る柔軟性のあるカテーテルを備える、項目1に記載の装置。
(項目3)
上記ハウジングが約1.67mm以下の断面直径を有し、上記ハウジングから展開した際の各アンカーの半径が少なくとも約3mmである、項目2に記載の装置。
(項目4)
上記ハウジングが、上記弁輪に適合するに十分な柔軟性を有する、項目1に記載の装置。
(項目5)
上記ハウジングが、左心室壁と1つ以上の心臓僧帽弁弁尖との交差部分の上記弁輪に適合する、項目4に記載の装置。
(項目6)
上記ハウジングの上記弁輪との接触を促進するために、拡張して上記ハウジングを上記交差部分に向けて推進するための、上記ハウジングに連結した少なくとも1つの拡張可能部材をさらに備える、項目5に記載の装置。
(項目7)
上記ハウジングのアンカー送達表面が上記弁輪に接触するよう配向することができるように、上記ハウジングが長円または楕円形状を有する、項目5に記載の装置。
(項目8)
上記ハウジングが、上記ハウジングを変形させて上記弁輪に適合させるためのアクチュエータに連結される、項目4に記載の装置。
(項目9)
上記ハウジングが、上記ハウジングを変形させて上記弁輪に適合させるように拡張する成型された拡張可能部材に連結される、項目4に記載の装置。
(項目10)
上記ハウジングが形状変化部分を含む、項目4に記載の装置。
(項目11)
上記形状変化部分に張力を加えて少なくとも第一の方向に湾曲させるための、上記形状変化部分に連結した少なくとも第一の引張コードをさらに備える、項目10に記載の装置。
(項目12)
上記形状変化部分に張力を加えて少なくとも第二の方向に湾曲させるための、上記形状変化部分に連結した少なくとも第二の引張コードをさらに備える、項目11に記載の装置。
(項目13)
上記第一の方向が、上記弁輪に適合するための略C字形状を含み、上記第二の方向が、力を上記輪に加えるための上方向あるいは近位方向を含む、項目12に記載の装置。
(項目14)
上記形状変化部分が、上記弁輪の形状に適合する曲線となるよう湾曲を制御するための、少なくとも1つの側部に沿った複数のノッチを含む、項目11に記載の装置。
(項目15)
上記形状変化部分が、上記弁輪の形状となるよう湾曲を制御するための、少なくとも上記第一の引張部材に連結される複数の積層断片を備える、項目11に記載の装置。
(項目16)
上記形状変化部分が、上記弁輪の形状に適合するよう構成された形状記憶材料を含む、項目11に記載の装置。
(項目17)
上記形状変化部分が、流体を導入して上記形状記憶材料を上記弁輪の形状に適合させるための少なくとも1つの管腔をさらに備える、項目16に記載の装置。
(項目18)
上記ハウジングが、各開口部が上記複数のアンカーの1つを解放させるような大きさである複数の開口部を備える、項目1に記載の装置。
(項目19)
各アンカーが、少なくとも1つの保持部材により上記ハウジング内に拘束されている際には非展開形状であり、上記ハウジングから解放された際には弾性的に展開形状に広がる、項目1に記載の装置。
(項目20)
各アンカーの上記非展開形状が比較的直線であり、各アンカーは2つの鋭い先端を有し、展開時には各アンカーは屈曲し、2つの先端が反対方向に屈曲する、項目19に記載の装置。
(項目21)
各アンカーの上記展開形状が、二つの交差形状を含み、スライド可能な係留紐を通過させるための小穴が上記形状の交差部分に配置された、項目20に記載の装置。
(項目22)
上記交差形状が、円、半円、螺旋、重複螺旋、および長円からなる群より選択される、項目21に記載の装置。
(項目23)
各アンカーが、開いた弓形の非展開形状を有し、拘束から解放された後に末端が重なった閉じた形状をとる、項目19に記載の装置。
(項目24)
上記非展開形状が、鋭い2つの末端を有する略C字形状または半円であり、上記展開形状が、上記2つの末端が重なった閉じた円であり、送達装置からの解放時に、上記アンカーが上記末端により上記弁輪を貫通し、次に上記閉じた円の形状をとることにより上記弁輪に固定される、項目23に記載の装置。
(項目25)
上記アンカーがスライド可能に係留紐に連結される、項目1に記載の装置。
(項目26)
上記複数のアンカーのそれぞれが少なくとも1つの小穴を含み、上記係留紐が各アンカーの上記少なくとも1つの小穴を通過する、項目25に記載の装置。
(項目27)
上記係留紐が、上記アンカーが展開した際に上記アンカーと上記弁輪との間に位置するように上記アンカーに沿って配置される、項目25に記載の装置。
(項目28)
上記アンカーがさらに、各アンカーと固定連結される自己変形連結部材と連結され、上記自己変形部材は、上記ハウジングからの解放時に、非展開形状から展開形状に変形して上記アンカーを引き締め上記弁輪を締め付ける、項目25に記載の装置。
(項目29)
上記係留紐上をスライド可能に進む停止装置をさらに備え、上記停止装置は、
上記複数のアンカーの少なくとも1つの末端アンカーに上記係留紐を取り付けるための少なくとも1つの取付部材と、
引き締められ、係留されたアンカーを上記弁輪に固定されたままにするために上記係留紐を切るための、少なくとも1つ切断部材を備える、項目25に記載の装置。
(項目30)
上記連結されたアンカーを圧着して上記弁輪に固定するための少なくとも1つの圧着部材をさらに備える、項目1に記載の装置。
(項目31)
上記アンカーが、各アンカーと固定連結される自己変形連結部材と連結され、上記自己変形部材は、上記ハウジングからの解放時に、非展開形状から展開形状に変形して上記アンカーを引き締め上記弁輪を締め付ける、項目1に記載の装置。
(項目32)
上記少なくとも1つのアンカー接触部材が、上記ハウジングに対して近位に牽引した場合、上記アンカーに連続的に接触して上記アンカーに力を加え、それらが上記ハウジングの少なくとも1つの開口部を介して上記ハウジングから出るようにする、少なくとも1つの牽引力適用装置を備える、項目1に記載の装置。
(項目33)
上記少なくとも1つのアンカー接触部材が、上記アンカーを上記ハウジング内に保持するための少なくとも1つの保持部材を備え、上記少なくとも1つのアクチュエータが上記保持部材を動かして上記アンカーを上記ハウジングから解放する、項目1に記載の装置。
(項目34)
上記少なくとも1つのアクチュエータが、上記連結されたアンカーを引き締めて上記弁輪の外周を縮小させるための手段を含む、項目1に記載の装置。
(項目35)
上記ハウジングから上記アンカーを押し出すための、上記ハウジング内に配置された少なくとも1つの拡張可能部材をさらに備える、項目1に記載の装置。
(項目36)
上記係留紐を引き締めた後に上記係留紐を上記アンカーのうち少なくとも1つに固定するための、上記係留紐に連結された少なくとも1つのファスナーをさらに備える、項目1に記載の装置。
(項目37)
複数の引き締められたアンカーを心臓弁輪に適用するための装置であって、
上記引き締められたアンカーを送達するための、遠位部を有する柔軟性のある細長いカテーテルであって、上記遠位部は約1.67mm以下の断面直径を有するカテーテルと、
上記遠位部内に配置される複数の引き締められたアンカーであって、上記ハウジングから展開した際に各アンカーは少なくとも約3mmの半径を有するアンカーと、
上記カテーテルから上記アンカーを送達させるための、上記カテーテルに連結される少なくとも1つのアンカー送達部材と、を備える、装置。
(項目38)
心臓弁の輪状組織に取り付けられるための自己固定アンカーであって、1.67mm以下の断面直径を有する送達カテーテル内に上記アンカーを配置することができる、比較的細長い非展開形状を有し、上記送達装置からの解放時には少なくとも3mmの半径を有する展開形状をとる、超弾性的材料または形状記憶材料を備える、自己固定アンカー。
(項目39)
上記アンカーが上記送達装置から解放された際に、上記アンカーの2つの鋭い先端が反対方向に屈曲する、項目38に記載のアンカー。
(項目40)
上記アンカーが上記2つの鋭い先端の間に配置される小穴を備える、項目39に記載のアンカー。
(項目41)
心臓弁の輪状組織に取り付けられるための自己固定アンカーであって、開いた弓形の非展開形状を有し、拘束から解放された後に末端が重なった閉じた形状をとる、超弾性的材料または形状記憶材料を備える、自己固定アンカー。
(項目42)
上記非展開形状が、鋭い2つの末端を有する略C字形状または半円であり、上記展開形状が上記2つの末端が重なった閉じた円である、項目41に記載の装置。
(項目43)
上記輪状組織に固定された際に上記輪状組織と並んで位置する、項目41に記載のアンカー。
(項目44)
上記形状記憶材料がニチノールを含む、項目41に記載のアンカー。
(項目45)
患者体内での使用のためのアンカーアセンブリであって、
開いた内部を有し、血管を通って心臓内へと通過することができるよう構成された、カテーテル型のハウジングと、
上記ハウジング内に取り外し可能に収納された、組織に食い込み可能な一連のアンカーであって、上記ハウジングの上記開いた内部に遠位アンカーおよび近位アンカーを備えるアンカーと、
上記アンカーを互いに連続的に連結する係留紐と、を備えるアンカーアセンブリ。
(項目46)
上記ハウジングの少なくとも一部が柔軟性を有する、項目45に記載のアセンブリであって、上記ハウジングの柔軟性を有する一部を、第一の構成から、第二の、放射状に外側に拡張した、屈曲した構成へと推進するための手段をさらに備える、アセンブリ。
(項目47)
上記遠位アンカーが上記係留紐に固定され、上記近位アンカーが上記係留紐にスライド可能に連結される、項目45に記載のアセンブリ。
(項目48)
上記係留紐が上記カテーテル型ハウジングの実質的に外部に位置する、項目45に記載のアセンブリ。
(項目49)
上記アンカーが、自己形成かつ自己固定アンカーである、項目45に記載のアセンブリ。
(項目50)
上記アンカーの少なくとも1つが、電極および生体活性因子の少なくとも1つを含む、項目45に記載のアセンブリ。
(項目51)
患者体内での使用のためのアンカー装置であって、
長手方向軸を有する細長いハウジングと、
上記ハウジングにより担持され、またそこから展開可能である、自己形成型の、組織に食い込み可能なアンカーと、
第一の部分および第二の部分を有する上記アンカーであって、上記第二の部分は組織を刺し貫く先端を有する上記アンカーと、
上記ハウジングにより担持された際に、上記長手方向軸とほぼ平行な比較的直線の非展開状態に設置することができる上記アンカーと、
上記ハウジングから展開した後は自然に、屈曲した、組織に食い込む展開状態をとる上記アンカーと、を備えるアンカー装置。
(項目52)
上記細長いハウジングが開いた内部を有し、
上記アンカーが、上記開いた内部に担持され、またそこから展開可能であり、そして
上記ハウジングが、上記アンカーが上記ハウジングから展開した際に、上記アンカーが通過する大きさの開口部を有する、項目51に記載の装置。
(項目53)
上記アンカーが、上記第一の部分と、上記第一の部分から延在する上記第二の部分の少なくとも2つを備える、項目51に記載の装置。
(項目54)
上記第二の部分が、非展開状態の際にはほぼ互いに反対方向に延在する、項目53に記載の装置。
(項目55)
上記アンカーが、非展開状態の際には上記長手方向軸に対してほぼ垂直な方向を向いている、項目51に記載の装置。
(項目56)
上記アンカーの上記第二の部分が、非展開状態の際にはほぼ円または半円の形状を有する、項目51に記載の装置。
(項目57)
一連の上記アンカーであって、遠位アンカーと近位アンカーとを備えるアンカーと、
上記アンカーを互いに連続的に連結する係留紐と、をさらに備える、項目51に記載の装置。
(項目58)
上記ハウジングが直径寸法dを有し、展開状態における上記アンカーが直径寸法Dを有し、dに対するDの比が少なくとも3.5である、項目51に記載の装置。
(項目59)
上記ハウジングが直径寸法dを有し、展開状態における上記アンカーが直径寸法Dを有し、dに対するDの比が少なくとも4.4である、項目51に記載の装置。
(項目60)
上記ハウジングが直径寸法dを有し、展開状態における上記アンカーが直径寸法Dを有し、dに対するDの比が少なくとも7である、項目51に記載の装置。
(項目61)
上記ハウジングが直径寸法dを有し、展開状態における上記アンカーが直径寸法Dを有し、dに対するDの比が少なくとも8.8である、項目51に記載の装置。
(項目62)
組織アンカーアセンブリであって、
ベースと、
上記ベースから延在する、弾力的で、自己形成型の、組織に食い込む部分であって、組織を刺し貫く先端を備え、屈曲した非抑制状態と抑制状態との間で移動可能である、組織に食い込む部分と、を備えるアンカーと、
上記アンカーに連結される連結要素と、
ハウジングと、を備え、
上記アンカーは、上記組織に食い込む部分が上記抑制状態で上記ハウジングに解放可能に装備され、上記組織に食い込む部分は、上記アンカーが上記ハウジングから解放された際に、上記抑制状態から上記非抑制状態に転換可能であり、上記アンカーにさらなる力が加えられることなしに、上記組織に食い込む部分が、上記屈曲し、非抑制状態に移るときに、組織を通過する上記組織を刺し貫く先端が上記アンカーを上記組織に固定する、組織アンカーアセンブリ。
(項目63)
上記組織に食い込む部分が、上記抑制状態のときにまっすぐである、項目62に記載のアセンブリ。
(項目64)
上記アンカーが、第一および第二の上記組織に食い込む部分を備え、上記第一および第二の上記組織に食い込む部分がそれぞれ、上記非抑制状態のときにほぼ互いに反対方向に延在するフックを備える、項目62に記載のアセンブリ。
(項目65)
上記連結要素が各上記アンカーに連結された複数の上記アンカーをさらに備える、項目62に記載のアセンブリ。
(項目66)
少なくとも1つの上記アンカーがスライド可能に上記連結要素に連結され、他の上記アンカーが上記連結要素に留められる、項目65に記載のアセンブリ。
(項目67)
組織アンカーアセンブリであって、
複数のアンカーであって、それぞれのアンカーは、ベースと、上記ベースから延在する、第一および第二の、自己形成型の、組織に食い込む部分であって、それぞれが組織を刺し貫く先端を備え、屈曲した非抑制状態とまっすぐの抑制状態との間でそれぞれ移動可能であり、上記非抑制状態のときには、それぞれがほぼ円または半円の形状を有する、組織に食い込む部分と、を備える複数のアンカーと、
上記アンカーの上記ベースに連結される係留紐であって、少なくとも1つの上記アンカーがスライド可能に上記係留紐に連結され、他の上記アンカーが上記係留紐に留められる、係留紐と、
ハウジングと、を備え、
上記アンカーおよび係留紐は、上記組織に食い込む部分が上記抑制状態で上記ハウジングに解放可能に装備され、上記組織に食い込む部分は、上記アンカーおよび係留紐が上記ハウジングから解放された際に、上記抑制状態から上記非抑制状態に転換可能であり、上記アンカーにさらなる力が加えられることなしに、上記組織に食い込む部分が、上記屈曲した非抑制状態に移るときに、組織を通過する上記組織を刺し貫く先端が上記アンカーを上記組織に固定する、組織アンカーアセンブリ。
(項目68)
組織アンカーアセンブリであって、
ベースと、上記ベースから延在する、弾力的で、自己形成型の、組織に食い込む部分であって、組織を刺し貫く先端を備え、屈曲した非抑制状態と抑制状態との間で移動可能である、組織に食い込む部分と、を備えるアンカーと、
上記アンカーに連結される連結要素と、
ハウジングと、を備え、
上記アンカーは、上記組織に食い込む部分が上記抑制状態で上記ハウジングに解放可能に装備され、上記組織に食い込む部分は、上記アンカーが上記ハウジングから解放された際に、上記抑制状態から上記非抑制状態に転換可能であり、
上記組織に食い込む部分は、上記組織を刺し貫く先端が組織を通過し上記組織に食い込む部分が上記屈曲した非抑制状態に移るときに、上記アンカーを組織内に引っ張るための手段を備える、組織アンカーアセンブリ。
(項目69)
組織アンカーアセンブリであって、
複数のアンカーであって、それぞれのアンカーは、ベースと、上記ベースから延在する、第一および第二の、弾力的で、自己形成型の、組織に食い込む部分であって、それぞれが組織を刺し貫く先端を備え、屈曲した非抑制状態と抑制状態との間でそれぞれ移動可能であり、上記非抑制状態のときには、それぞれがほぼ円または半円の形状を有する、組織に食い込む部分と、を備える複数のアンカーと、
上記アンカーのそれぞれに連結される連結要素と、
管状ハウジングと、を備え、
上記アンカーは、上記組織に食い込む部分が上記抑制状態で上記ハウジング内に解放可能に装備され、上記組織に食い込む部分は、上記アンカーが上記ハウジングから解放された際に、上記抑制状態から上記非抑制状態に転換可能であり、
上記組織に食い込む部分は、上記組織を刺し貫く先端が組織を通過し上記組織に食い込む部分が上記屈曲し、非抑制状態に移るときに、上記アンカーを組織内に引っ張るための手段を備え、アンカー引張手段は、上記抑制状態のときにポテンシャルエネルギーを蓄えるための手段を備える、組織アンカーアセンブリ。
(項目70)
患者体内での使用のためのアンカー装置であって、
血管を通って心臓内へと通過することができるように構成された細長いキャリアと、
上記細長いキャリアにより解放可能に担持された、一連の組織に食い込み可能なアンカーであって、遠位アンカー、第一の中間アンカー、および近位アンカーを備えるアンカーと、
上記アンカーを互いに連続的に連結する係留紐であって、上記係留紐が近位方向に引っ張られた際に、上記遠位アンカーに固定されるかまたは遠位アンカーに食いこみ可能である遠位端を有し、少なくとも上記近位アンカーが上記係留紐にスライド可能に連結されている、係留紐と、
上記係留紐が引っ張られているときに上記アンカーの隣同士が互いに近付く程度を制限するための、上記アンカーの隣同士の間の上記係留紐に沿って位置するセパレータと、を備える、装置。
(項目71)
上記アンカーが自己形成型かつ自己固定型のアンカーである、項目70に記載の装置。
(項目72)
上記セパレータがほぼ管状の部材を備え、上記係留紐がほぼ管状の上記部材を通過する、項目70に記載の装置。
(項目73)
上記セパレータが、第一の長さから第二の圧縮長へ軸方向に圧縮可能である、項目70に記載の装置。
(項目74)
上記細長いキャリアが長手方向軸を有し、
上記アンカーが自己形成型の組織に食い込み可能なアンカーであり、
上記アンカーがそれぞれ、第一の部分および第二の部分を有し、上記第二の部分は組織を刺し貫く先端を有し、
上記細長いキャリアが、上記アンカーが通過する大きさの開口部を有し、
上記アンカーは、上記細長いキャリア内の上記長手方向軸とほぼ平行な比較的直線の非展開状態に設置することができ、
上記アンカーが、上記細長いキャリア内の上記開口部を通過した後は自然に、屈曲した、組織に食い込む展開状態をとる、項目70に記載の装置。
(項目75)
患者体内での使用のためのアンカー装置であって、
その少なくとも一部が柔軟性を有する、血管を通って心臓内へと通過することができるよう構成された長手方向軸を有する細長いキャリアと、
上記細長いキャリアにより開放可能に担持される一連の自己形成型、組織に食い込み可能なアンカーであって、遠位アンカー、第一の中間アンカー、および近位アンカーを備え、それぞれ第一の部分と、上記第一の部分から延在し、それぞれが組織を刺し貫く先端を有する少なくとも2つの上記第二の部分を有し、上記細長いキャリアは、上記アンカーが通過する大きさの開口部を有し、上記アンカーは、上記細長いキャリア内の上記長手方向軸とほぼ平行な比較的直線の非展開状態に設置することができ、上記アンカーは、上記細長いキャリア内の上記開口部を通過した後は自然に、屈曲した、組織に食い込む展開状態をとり、上記第二の部分は、展開状態の際にはほぼ円または半円の形状を有し、上記アンカーは、展開状態の際には上記長手方向軸に対してほぼ垂直な方向を向き、上記細長いキャリアは直径寸法dを有し、展開状態における上記アンカーは直径寸法Dを有し、dに対するDの比が少なくとも3.5である、アンカーと、
上記アンカーを互いに連続的に連結する係留紐であって、上記係留紐が近位方向に引っ張られた際に、上記遠位アンカーに固定されるかまたは遠位アンカーに食いこみ可能である遠位端を有し、少なくとも上記近位アンカーが上記係留紐にスライド可能に連結されている、係留紐と、
上記係留紐が引っ張られているときに上記アンカーの隣同士が互いに近付く程度を制限するための、上記アンカーの隣同士の間の上記係留紐に沿って位置するセパレータと、を備える、装置。
(項目76)
心臓弁輪と接触する1つ以上の装置の設置を容易にするための装置であって、
近位部分および遠位部分を持つ細長いカテーテル体と、
上記カテーテル体の近位部分に連結され、上記遠位部分に延在する少なくとも1つの引張部材と、
上記引張部材に張力を加えて上記遠位部分を変形することで、上記弁輪の形状にほぼ適合させるために上記近位部分と上記引張部材を連結する少なくとも1つの引張アクチュエータと、を備える装置。
(項目77)
少なくとも1つの引張部材が2つの引張部材を備え、上記遠位部分を少なくとも2つの異なる方向に変形させる、項目76に記載の装置。
(項目78)
上記遠位部分を上記弁輪に接触させるための上記カテーテル体の遠位部分に連結された促進部材をさらに備える、項目76に記載の装置。
(項目79)
上記促進部材が、(a)心臓の左心室壁、少なくとも1つの僧帽弁弁尖および腱索により形成される左心室内の空間で拡張する拡張可能部材と、(b)それ自体と上記弁輪に隣接する冠状静脈洞内に配置される対立電荷マグネットとの間に活性磁力を加えるための上記遠位部分に連結された少なくとも1つのマグネットとの少なくとも1つ、を備える、項目78に記載の装置。
(項目80)
1つ以上の装置を心臓弁輪と接触するように設置することを容易にするシステムであって、
上記僧帽弁の下位にある上記遠位端を位置決めするための遠位端に向けて少なくとも1つの屈曲を有する成形ガイドカテーテルと、
上記成形ガイドカテーテルを通過することができ、上記僧帽弁の下の上記弁輪の長さに沿って前進するための可動型遠位端を有する可動型ガイドカテーテルと、
上記成形ガイドカテーテルを通して上記可動型ガイドカテーテルを通過可能なガイドシースと、を備え、ここで1つ以上の上記装置が上記ガイドシースを通過して、上記僧帽弁輪と接触することができる、システム。
(項目81)
上記成形ガイドカテーテルの少なくとも1つの屈曲が、
上記成形ガイドカテーテルの中心軸に対してほぼ垂直であり、上記カテーテルの遠位端を上記僧帽弁の平面にほぼ平行な平面に接触させる近位屈曲と、
上記僧帽弁の曲率半径とほぼ同じ曲率半径を持つ遠位屈曲と、を備える、項目80に記載のシステム。
(項目82)
上記ガイドシースの遠位部分が上記ガイドシースの近位部分から取り外し可能であり、弁輪治療手順後も上記弁輪に取り付けられたまま残る、項目80に記載のシステム。
(項目83)
上記取り外し可能な遠位部分が上記僧帽弁輪を締め付けるように固定可能である、項目82に記載のシステム。
(項目84)
上記ガイドシースを通過することができ、上記僧帽弁輪と接触して連結したアンカーを上記僧帽弁に適用するアンカー送達装置をさらに備える、項目80に記載のシステム。
(項目85)
上記ガイドシースを通過することができ、上記僧帽弁輪の可視化を容易にする可視化装置をさらに備える、項目80に記載のシステム。
(項目86)
心臓弁輪に対して手順を実施する装置であって、
近位部分および成形遠位部分を持つ柔軟性のある細長いカテーテルであって、ここで上記遠位部は、組織アンカーの通過を可能にするための少なくとも1つの開口部を持つ、カテーテルと、
上記成形遠位部分に解放可能に格納された複数の組織アンカーと、
上記組織アンカーとスライド可能に連結される少なくとも1つの固定可能な係留紐と、
上記弁輪の組織に食い込むように少なくとも1つの上記開口部から上記アンカーを送達するための上記遠位部分に格納された少なくとも1つのアンカー送達部材と、を備える装置。
(項目87)
上記成形遠位部分が1.3mmと3.8mmとの間の半径を持つ第一の屈曲を備える、項目86に記載の装置。
(項目88)
上記成形遠位部分がさらに第二の屈曲を備える、項目87に記載の装置。
(項目89)
上記第一および第二の屈曲が、上記カテーテルの最遠位部分を、上記遠位部分にすぐ隣接する上記カテーテルの上記近位部分に対して45°と90°との間の方向に向ける、項目88に記載の装置。
(項目90)
上記第二の屈曲が上記心臓弁より大きい曲率半径を持ち、その大きい曲率半径により上記遠位部分が上記弁輪に対して外側に押し付けられる、項目88に記載の装置。
(項目91)
第一および第二の屈曲のうちの少なくとも1つが、上記細長いカテーテルを送達して上記弁輪と接触させるために使用されるガイドカテーテルにおいて対応する屈曲と同じ形状を持つ、項目88に記載の装置。
(項目92)
上記細長いカテーテルにおける第一および第二屈曲が、上記ガイドカテーテルにおいて対応する第一および第二屈曲に対応する、項目91に記載の装置。
(項目93)
上記細長いカテーテルが、上記ガイドカテーテルを前進する際に、上記少なくとも1つの開口部が上記弁輪組織と接触するような方向に向けられる、項目91に記載の装置。
(項目94)
上記遠位部分を弁輪組織と接触させて維持するための、上記細長いカテーテルに連結された少なくとも1つの安定化部材をさらに備える、項目86に記載の装置。
(項目95)
少なくとも1つの上記補強部材が、
上記遠位部分から延在して心臓壁組織に押し付けることで、上記遠位部分を上記輪組織に押し付けて推進する螺旋形の部材と、
上記遠位部分から延在して心臓壁組織に押し付けることで、上記遠位部分を上記輪組織に押し付けて推進するアーチ型形状記憶部材またはバネ付勢部材と、
上記遠位部分から延在して心臓壁組織に押し付けることで、上記遠位部分を上記輪組織に押し付けて推進する複数のバネと、
上記カテーテルの遠位部分に連結され、上記弁輪の曲率半径より大きい曲率半径を持つ屈曲バルーンであって、ここで、上記バルーンを膨張することにより上記遠位部分を上記弁組織に押し付けて推進する、バルーン、
のうちの少なくとも1つを備える、項目94に記載の装置。
(項目96)
末端組織アンカーの上記心臓弁輪への取り付けを強化するための少なくとも1つの停止部材をさらに備える、項目86に記載の装置。
(項目97)
少なくとも1つの上記停止部材が、上記係留紐にスライド可能に連結され得る、項目96に記載の装置。
(項目98)
上記組織アンカーがそれぞれ、上記係留紐が固定される際に上記アンカーが上記弁輪組織から引き抜かれることを避けるための少なくとも1つのサポート部材を備える、項目86に記載の装置。
(項目99)
上記組織アンカーがそれぞれ、上記組織アンカーの上記弁輪組織への取り付けを強化するための少なくとも1つの組織接着機能を備える、項目86に記載の装置。
(項目100)
上記組織接着機能が、材料の各アンカーの少なくとも一部に配置される1つ以上の材料を備え、該材料が、上記アンカーを上記弁輪組織に収容するために選択される、項目99に記載の装置。
(項目101)
少なくとも1つのアンカー送達部材が、
上記アンカーと接触して、少なくとも1つの開口部から推進するためのアンカー接触部材と、
上記アンカー接触部材に力を加えて上記アンカーと接触して推進するための、上記アンカー接触部材に連結された引張コードと、を備える、項目86に記載の装置。
(項目102)
心臓弁輪を締め付けるための装置であって、
スライド可能に連結された複数の組織アンカーであって、各アンカーが、上記アンカーの弁輪組織への取り付けを強化するための少なくとも1つの組織接着機能を含む、アンカーと、
少なくとも一部の組織アンカーにスライド可能に連結され、少なくとも第一の上記アンカーに固定して取り付けられる少なくとも1つの固定可能な係留紐と、を備える装置。
(項目103)
少なくとも1つの上記接着機能が、
各アンカーの少なくとも一部に沿った多孔質表面と、
各アンカーの少なくとも一部に沿った少なくとも1つの加工表面と、
各アンカーの少なくとも一部に沿ったコーティングされた表面と、
小さい曲率半径を持つ、各アンカーの少なくとも1つの円またはかぎ状部分と、
各アンカーの各末端にひげと、
のうちの少なくとも1つを備える、項目102に記載の装置。
(項目104)
ガイドシース軸を持つガイドシースと、
上記ガイドシース内でスライド可能に延在でき、細長い装置軸を持つ細長い装置と、を含み、
上記ガイドシースは、選択した形状で設置できるシース配向部分を備え、
上記細長い装置は、上記選択した形状で設置できる装置配向部分を備え、
これにより、上記選択した形状の上記シースおよび装置配向部分が軸方向に配列される際に、上記選択した形状の上記シースおよび装置配向部分に相補的な回転方向をとらせる傾向がある、カテーテルアセンブリ。
(項目105)
上記ガイドシースおよび細長い装置のうちの少なくとも1つの選択されたものが可動型である、項目104に記載のカテーテルアセンブリ。
(項目106)
上記シース配向部分が上記ガイドシースの遠位端に配置される、項目104に記載のカテーテルアセンブリ。
(項目107)
上記装置配向部分が上記細長い装置の遠位端から離れた位置に配置される、項目104に記載のカテーテルアセンブリ。
(項目108)
上記選択した形状が、第一平面の第一屈曲部分および第二平面の第二屈曲部分を備え、上記第一および第二平面は異なる平面である、項目104に記載のカテーテルアセンブリ。
(項目109)
方向探索内部部材および方向探索外部部材を有するカテーテルアセンブリを作製する方法であって、
シースのシース配向部分に対して第一選択位置を選択するステップと、
上記ガイドシース内にスライド可能に延在できる細長い装置の、上記細長い装置の配向部分に対する第二選択位置を選択するステップと、
選択した形状で設置できる上記シース配向部分を上記シースの第一選択位置に作製するステップと、
上記の選択形状で配置できる上記細長い装置配向部分を上記シースの第二選択位置に作製するステップと、を含み、上記選択した形状のシース配向部分および選択した形状の装置配向部分が軸方向に配列される際に、上記シース配向部分および装置配向部分に相補的な回転方向をとらせる傾向がある方法。
(項目110)
上記第一選択位置の選択ステップが、第一の選択位置として上記ガイドシースの遠位端を選択することを含む、項目109に記載の方法。
(項目111)
上記第二選択位置の選択ステップが、第二の選択位置として上記細長い装置の遠位端から離れた位置を選択することを含む、項目109に記載の方法。
(項目112)
上記シース配向部分の作製ステップが、第一の屈曲部分および第二の屈曲部分を形成することを含む、項目109に記載の方法。
(項目113)
カテーテルアセンブリの上記内部部材および外部部材を配向する方法であって、
ガイドシース軸および遠位端を持つガイドシースと、
細長い装置軸を持ち、上記ガイドシース内でスライド可能に延在できる細長い装置と、
上記選択した形状で設置できる上記装置配向部分を備える細長い装置と、を備え、上記ガイドシースが、選択した形状で設置できるシース配向部分を備える、カテーテルアセンブリを選択するステップと、
上記ガイドシースの遠位端を選択した位置に設置するステップと、
上記ガイドシースおよび細長い装置が選択した軸方向となるように、上記ガイドシースと細長い装置配向部分とを配列するステップと、
必要に応じて、上記シース配向部分および装置配向部分が相補的な回転方向となるまで、上記ガイドシースおよび細長い装置を上記選択軸方向から離したり、戻したりして軸方向に再配列するステップと、を含む方法。
(項目114)
アンカーを患者の組織に固定する方法であって、
アンカーキャリアにより運ばれるアンカーを備えるアンカーアセンブリを標的組織部位に向けるステップと、
上記アンカーを上記アンカーキャリアから解放するステップと、を含み、上記解放するステップは、上記アンカーの組織を刺し貫く先端を上記標的組織部位の組織に食い込むように設置するステップ、および上記アンカーが締め付け状態から非締め付け状態に移るにつれて、上記アンカーがそれ自体を組織に引き込むステップを含む、方法。
(項目115)
1つ以上の装置を心臓の左心室に前進させて僧帽弁輪と接触させる方法であって、
可動型ガイドカテーテルを上記左心室内および上記僧帽弁輪の少なくとも一部の周辺に前進させるステップと、
ガイドシースを上記可動型ガイドカテーテル上に通過させるステップと、
上記可動型ガイドカテーテルを上記ガイドシースから引き抜くステップと、
1つ以上の装置を上記ガイドシースを通じて前進させて上記僧帽弁輪と接触させるステップと、を含む方法。
(項目116)
1つ以上の装置を心臓の左心室に前進させて僧帽弁輪と接触させる方法であって、
成形ガイドカテーテルを、大動脈を通じて上記左心室内へと前進させるステップと、
可動型ガイドカテーテルを上記成形ガイドカテーテルを通して上記僧帽弁輪の長さの少なくとも一部周辺に通過させるステップと、
ガイドシースを上記成形ガイドカテーテル内の上記可動ガイドカテーテル上で通過させるステップと、
上記可動ガイドカテーテルを上記ガイドシースから引き抜くステップと、
1つ以上の装置を上記ガイドシースを通じて前進させて上記僧帽弁輪と接触させるステップと、を含む方法。
(項目117)
心臓の僧帽弁輪の治療方法であって、
可動型ガイドカテーテルを心臓の左心室内および上記僧帽弁輪の少なくとも一部の周辺に前進させるステップと、
上記可動型ガイドカテーテル上にガイドシース通過させるステップと、
上記ガイドシースから上記可動型ガイドカテーテルを引き抜くステップと、
アンカー送達装置を上記ガイドシースを通じて前進させて上記僧帽弁輪と接触させるステップと、
複数の連結アンカーを上記アンカー送達装置から送達して、上記アンカーを上記僧帽弁輪に固定するステップと、
上記アンカーをともに引っ張って、上記輪の円周を締め付けるステップと、を含む方法。
(項目118)
心臓の弁輪を締め付ける方法であって、
上記弁輪と、持つアンカー送達カテーテル装置の成形遠位部分とを接触させるステップと、
複数のスライド可能な連結アンカーを上記アンカー送達装置から送達して、上記アンカーを上記輪に固定するステップと、
上記アンカーをともに引っ張り、上記弁輪の円周を締め付けるステップと、
上記アンカーの弁輪組織への取り付けを促進して、上記アンカーの上記組織への固定を常に助けるステップと、を含む方法。
(項目119)
操作装置を心臓の左心室に前進させて僧帽弁輪と接触させる方法であって、
操作装置を左心室内および心臓の僧帽弁輪の少なくとも一部に沿って前進させるステップと、
上記操作装置を放射状に外側に推進して、上記操作装置を上記僧帽弁輪に対向して配置するステップと、
上記操作装置により上記僧帽弁輪に対して作用するステップと、を含む方法。
(項目120)
操作装置を心臓の左心室に前進させて、上記僧帽弁輪と接触させて周囲を締め付ける方法であって、
直径寸法dを有する細長いハウジング、および展開状態において直径寸法Dを有するアンカー備える操作装置を選択するステップであって、dに対するDの比が少なくとも3.5である、ステップと、
上記操作装置を大動脈を通じて左心室内および患者の心臓の僧帽弁輪の少なくとも一部に沿って前進させるステップであって、
長手方向軸および開いた内部を持つ細長いハウジングと、
上記ハウジングの開いた内部に遠位アンカーと近位アンカーを備える、一連の自己形成型の組織に食い込み可能なアンカーであって、第一の部分と、上記第一の部分から延在してそれぞれ組織を刺し貫く先端を持ち、展開状態である際にほぼ円または半円の形状を有する少なくとも2つの第二の部分を持つアンカーと、
上記近位アンカーを係留紐に連結し、そして遠位アンカーを上記係留紐に固定して、上記アンカーを互いに連続的に連結する係留紐と、
上記アンカーが先端から先に通過する大きさの開口部を有するハウジングと、
上記ハウジング内で、上記長手方向軸とほぼ平行な比較的直線の非展開状態に設置することができる上記各アンカーと、を備える、操作装置を使用して行われる、前進ステップと、
上記操作装置を放射状に外側に推進して上記僧帽弁輪に対向して配置するステップと、
上記ハウジングにおいて上記開口部を通過した後は自然に、屈曲した、組織に食い込む展開状態をとる上記アンカーを、その先端から先に上記開口部を通して操作するステップであって、上記アンカーが、展開状態の際に長手方向軸に対して垂直方向である、ステップと、
上記係留紐を引っ張って、上記近位アンカーおよび遠位アンカー間の周辺距離を低減し、上記僧帽弁輪の円周を締め付けるステップと、によって、上記連続的なアンカーを、上記僧帽弁輪に固定するステップと、を含む方法。
(項目121)
操作装置を心臓の左心室に前進させて上記僧帽弁輪と接触させる方法であって、
ガイドカテーテルを左心室内および心臓の僧帽弁輪の少なくとも一部に沿って前進させるステップと、
柔軟性を有するガイドシースを上記ガイドカテーテル上および上記僧帽弁輪の少なくとも一部に沿って通過させるステップと、
操作装置を上記ガイドシースを通じて前進させるステップと、
上記操作装置を放射状に外側に推進して上記僧帽弁輪に対向して配置するステップと、
上記操作装置により上記僧帽弁輪に対して作用するステップと、を含む方法。
(項目122)
操作装置を心臓の左心室に前進させて上記僧帽弁輪と接触させる方法であって、
操作装置を左心室内および心臓の僧帽弁輪の少なくとも一部に沿って前進させるステップと、
上記操作装置を放射状に外側に推進して上記僧帽弁輪に対向して配置するステップであって、上記推進ステップは、上記僧帽弁輪の曲率半径より大きい拡大状態の曲率半径を持つ上記操作装置により、少なくとも部分的に実施される、ステップと、
上記操作装置により上記僧帽弁輪に対して作用するステップと、を含む方法。
(項目123)
操作装置を心臓の左心室に前進させて上記僧帽弁輪と接触させる方法であって、
拡張可能な要素を備える操作装置を左心室内および心臓の僧帽弁輪の少なくとも一部に沿って前進させるステップであって、上記操作装置の操作を含む、ステップと、
放射状に外側に上記拡張可能な要素を拡張させて、上記操作装置を放射状に外側に推進して、上記操作装置を上記僧帽弁輪に対向して配置するステップと、
上記操作装置により上記僧帽弁輪に対して作用するステップと、を含む方法。
(項目124)
操作装置を心臓の左心室に前進させて上記僧帽弁輪と接触させる方法であって、
ガイドカテーテルを左心室内および僧帽弁輪半径を持つ心臓の僧帽弁輪の少なくとも一部に沿って前進させるステップと、
屈曲可能な部分を持ち柔軟性を有するガイドシースを選択するステップであって、上記屈曲可能な部分は外側に拡張した屈曲状態である際にガイドシースを持ち、上記ガイドシース半径は上記僧帽弁輪半径より大きい、ステップと、
上記ガイドシースを上記ガイドカテーテル上および上記僧帽弁輪の少なくとも一部に沿って通過させるステップと、
上記ガイドシース半径の少なくとも一部を利用して、屈曲状態にある上記ガイドシースの屈曲可能な部分を上記僧帽弁輪に向けて前進させるステップと、
操作装置を上記ガイドシースを通じて前進させるステップと、
上記操作装置により上記僧帽弁輪に対して作用するステップと、を含む方法。
(項目125)
操作装置を心臓の左心室に前進させて上記僧帽弁輪と接触させる方法であって、
外側に拡張した屈曲状態である際にガイドカテーテル半径の上記屈曲可能な部分を持つ柔軟性を有するガイドカテーテルを選択するステップと、
上記ガイドカテーテルを左心室内および僧帽弁輪の半径を持つ心臓の僧帽弁輪の少なくとも一部に沿って前進させるステップであって、上記僧帽弁輪半径より大きい上記ガイドカテーテル半径で実施される、ステップと、
ガイドシースの屈曲可能な部分を上記ガイドカテーテル上および上記僧帽弁輪の少なくとも一部に沿って通過させるステップと、
上記ガイドカテーテル半径の少なくとも一部を利用して、上記ガイドシースの屈曲可能な部分を上記僧帽弁輪に向けて推進するステップと、
操作装置を上記ガイドシースを通して前進させるステップと、
上記操作装置により上記僧帽弁輪に対して作用するステップと、を含む方法。
(項目126)
心臓の弁輪を締め付ける方法であって、
上記弁輪の長さを持つアンカー送達装置を接触させるステップと、
複数の連結したアンカーをアンカー送達装置から送達して、上記アンカーを上記輪に固定するステップと、
上記アンカーをともに引っ張って、上記弁輪の円周を締め付けるステップと、を含む方法。
(項目127)
心臓の弁輪を締め付ける方法であって、
上記弁輪の長さを持ち、断面直径が約1.67mm以下のアンカー送達装置を接触させるステップと、
複数の連結したアンカーをアンカー送達装置から送達して、半径が少なくとも約3mmの展開形状を持つ上記各アンカーを上記輪に固定するステップと、
上記アンカーをともに引っ張って、上記弁輪の円周を締め付けるステップと、を含む方法。
(発明の簡単な開示)
本発明の装置、システムおよび方法は概して、治療場所への治療装置送達を容易にすることで、経血管型、侵襲性を最小限にとどめた、およびその他の「侵襲性の低い」外科的処置を容易にするために用いられる。本出願の目的における「侵襲性の低い」とは、従来の、広範囲の切開、切開外科的処置よりも侵襲性の低い、あらゆる処置を意味する。したがって、侵襲性の低い処置とは、1つ以上の比較的低範囲での切開を伴う切開外科的処置、経血管型、経皮アクセスを介して行われる処置、静脈切開、腹腔鏡的もしくはその他内視鏡的処置を介する経血管型処置、または同等のものであってよい。概して、患者への侵襲性を最小限にとどめること、または低減させることを目的とするあらゆる処置が「侵襲性の低い」と考えられてよい。さらには、本出願においては「侵襲性の低い」と「侵襲性を最小限にとどめた」という用語は時としてほぼ同義語のように用いられることがあるが、これらの用語も、外科的もしくはその他処置の特定の部分集合を説明する上で用いられる用語も、いずれも本発明の範囲を制限するものとして解釈されてはならない。概して、本発明の装置および方法は、あらゆる適当な処置の実施または強化に用いられてよい。
本出願は一般的に、心臓弁修復処置実施のための装置、システムおよび方法について記載しており、さらに具体的には、僧帽弁逆流を治療するための僧帽弁形成といった心臓弁形成術について記載している。しかしながら、本発明の装置および方法は、心臓および非心臓系両方の、あらゆる適当な処置に使用することができる。これらは例として、頭弁の修復、心房中隔欠損症の修復、冠状静脈洞から(もしくは、冠状静脈洞を介した)弁修復もしくはその他の処置のアクセスおよび可能であれば実施、1つ以上のペースメーカーリードの設置、心房細動治療のための肺静脈周囲切除といった心臓切除処置、および/または同等のもののために使用することができる。他の実施形態では、本装置および方法は、膀胱、胃、胃食道接合部、血管系、胆嚢、その他といった、体のあらゆる部位における腹腔鏡的、またはその他の内視鏡的処置効果を高めるために使用されてよい。したがって、以下の説明は一般的に僧帽弁およびその他の心臓弁修復に重点を置いてはいるが、かかる説明は請求項にて定義される本発明の範囲を制限するものとして解釈されてはならない。
とは言え、本発明は概して、僧帽弁輪といった心臓弁輪の治療効果を高める装置、システムおよび方法を提供する。当該方法は概して、アンカー送達装置を弁輪の長さで接触させるステップ、アンカー送達装置から複数の連結されたアンカーを送達して前記アンカーを弁輪に固定させるステップ、および前記アンカーを弁輪周辺に締め付けるために前記アンカーを一斉に引くステップを伴う。1つの装置は概して、複数の連結されたアンカーを解放可能に収納するため、ハウジングを遠位端に、あるいはその近くに備える細長いカテーテルを含む。装置は、ハウジングが左心室壁と1つ以上の心臓僧帽弁弁尖との交差部分等、弁輪組織に隣接または近くなるよう配置されてよい。いくつかの実施形態は、非展開構造から展開構造へと変化できる自己固定アンカーを含む。アンカーは、スライド可能なようにアンカーに連結された係留紐をしっかりつかむことで、および/またはアンカーに連結された自己変形部材によって、弁輪を締め付けるために一斉に引っ張ることが可能である。別の装置は、弁輪治療のためにアンカー送達装置を配置することを容易にする、操縦可能なガイドカテーテルを含む。
多くの場合において、本発明の方法は鼓動している心臓に用いられる。鼓動している心臓へのアクセスは、血管内、経胸腔的、その他等のあらゆる可能な技術にて達成できる。心臓弁への血管内アクセスは、あらゆる適当な経路または方法を用いて達成することができる。例えば1つの実施形態では、僧帽弁への処置を実施するために、カテーテルは大腿動脈を通して大動脈へ、そして心臓の左心室へと到達し、僧帽弁の全長に接触することができる。代替的に、静脈系を通って中心静脈、心臓の右心房へ、そして心房中隔を横切り心臓の左側へと到達するアクセスにて、僧帽弁の全長に接触してもよい。これらの二種類の血管内アクセスはいずれも、カテーテルが心臓の左側に入った後は、カテーテルは容易に左心室壁、1つ以上の僧帽弁弁尖、左心室の腱索に規定されたスペースへと到達できることがほとんどである。このスペースは、僧帽弁修復を行うためにカテーテルを望みの位置までさらに進めるための便利な導管となる。代替の実施形態では、カテーテル装置は冠状静脈洞にアクセスすることができ、冠状静脈洞から直接、弁への処置を行うことができる。さらに、心臓を鼓動させた状態のアクセスに加え、本発明の方法は、停心開胸処置ならびに停心血管内アクセスにも用いることができる。あらゆる適当な血管内またはその他のアクセス方法が本発明の範囲内と考えられている。
本発明の1つの側面によると、連結されたアンカーを心臓弁輪に適用するための装置は、近位端および遠位端を有する細長いシャフトと、前記遠位端に隣接するハウジングと、前記ハウジング内に配置された複数の連結されたアンカーと、前記ハウジングからアンカーを送達させるための少なくとも1つのアンカー接触部材と、前記近位端あるいはその近くにある、前記アンカーを弁輪に送達させるよう前記アンカー接触部材に作用するための少なくとも1つのアクチュエータと、を備える。
いくつかの実施形態では、細長いシャフトは、血管内を通って心臓まで到達することができる柔軟性のあるカテーテルを備える。好適な実施形態においては、柔軟性のあるカテーテルの直径は約5フレンチ(1.67mm)以下であり、カテーテルは展開時の半径が約3mm以上のアンカーを展開する。ハウジングそのものはあらゆる適当な数のアンカーを収納することができる。例えば1つの実施形態では、ハウジングは1から20のアンカーを収納するが、さらに好ましくは約3から10アンカーであり、1つの実施形態では10アンカーである。またいくつかの実施形態では、ハウジングは弁輪に適合するに充分な柔軟性を備える。例えば、ハウジングは左心室壁と1つ以上の心臓僧帽弁弁尖との交差部分の前記弁輪に適合することができる。したがってハウジングは上述のように弁下部スペースを通って配置または到達することができるのである。いくつかの実施形態では、ハウジングを変形させて前記弁輪に適合させるためのアクチュエータに連結される。ハウジングはあらゆる適当な構造を有してよいが、いくつかの実施形態では、ハウジングの断面はおおよそ半円、円、長円、長円の一部、一部もしくは完全に楕円、または同等である。例えば、楕円形状のハウジングは時として、ハウジングのアンカー送達面が弁輪組織と接触することをさらに確実にするために使用されてよい。様々な実施形態において、ハウジングはアンカーが外に出られるよう、1つまたは複数の開口部を有している場合がある。例えば1つの実施形態では、ハウジングは複数の開口部を有しており、各開口部はアンカー1つの出口として適している。
いくつかの実施例では、ハウジングは、形状変化部分、通常は遠位部分を含む。このような実施例は、形状変化部分に張力を加えて少なくとも第一の方向に湾曲させるための、形状変化部分に連結した第一の引張コードをさらに備えることができる。任意で、形状変化部分に張力を加えて少なくとも第二の方向に湾曲させるための、形状変化部分に、第二の引張コードを連結することができる。例えば、第一の方向は、弁輪に適合するための略C字形状となることができ、かつ、第二の方向が、力を弁輪に加えるための上方向あるいは近位方向を含む。いくつかの実施例では、形状変化部分は、弁輪の形状に適合する曲線となるよう湾曲を制御するための、少なくとも1つの側に沿った複数のノッチを含む。あるいは、形状変化部分は、弁輪の形状となるよう湾曲を制御するための、少なくとも第一の引張部材に連結される複数の積層断片を備える。その他の実施例では、形状変化部分は、弁輪の形状に適合するよう構成された、形状記憶材料を備える。いくつかの実施例では、形状変化部分は、液体を導入して形状記憶材料を弁輪の形状に適合させるための少なくとも1つの管腔をさらに備える。あるいは、ハウジングの遠位部分は、遠位部分を変形させるための、拡張可能バルーンと結合させることができる。いくつかの実施例では、ハウジングは、拡張可能部材と結合できるため、拡張可能部材が膨張した時、ハウジングは、弁輪組織に対し、押し込み、押し詰めまたは押し付けられる。例えば、このような拡張可能部材は、室壁と弁弁尖によって形成される角に、ハウジングを押し込む働きができる。
上記で説明したように、装置のアンカーは、あらゆる適切な形状、大きさ、および特性を持つことができ、かつ、あらゆる適切な材料で作られることができる。アンカーは、いくつかの実施例では、自己変形することができるため、送達装置のハウジング内に拘束されている際には非展開形状となり、ハウジングから解放された後、展開形状が想定される。ある実施例では、各複数個の連結されたアンカーは、通常、2つの尖った先端、およびその2つの間に輪を持つ、直線構造である。配置の際、各先端が逆方向に曲がると共に、このようなアンカーは、湾曲し組織に埋め込まれる。輪は、順に、係留紐の穴としての役割を果たすことができる。別の実施例では、各アンカーは、C字形状または半円非展開形状、および重複円または鍵輪形状となることができる。このような実施例では、Cの開放端は通常、尖っており、弁輪の組織にアンカーが入ることができるようになる。C字形状のアンカーが、組織と接触しそこに入ると、C字形状のアンカーはまた閉じて、端部が重なり、円または鍵輪形状の展開アンカーを形成する。このようなアンカーは、尖った端部または他の部分が突き出ることなく、弁輪の表面と同一平面に置かれるよう利用できる。アンカーは、ニチノール、形状記憶ステンレススチール、もしくは他の超伸縮材料または形状記憶材料で作ることができる。あるいは、アンカーは、バネ付勢されることができ、そうでない場合、ハウジング内部に収容され、ハウジングから解放された時、非展開形状から展開形状に変化する。
いくつかの実施例では、アンカーは、係留紐とスライド可能なように結合される。このような実施例では、各複数個のアンカーは、各アンカーの小穴をスライド可能な状態で通過する係留紐と共に、少なくとも1つの小穴を含むことができる。あるいは、係留紐は、アンカーに沿って伸びることができ、配置の際、アンカーと環状組織の間に配置される。他の実施例では、アンカーは、各アンカーに固定して結合される自己変形結合部材によって、結合されることができる。例えば、結合部材(または「基幹」)は、直線に近い非展開形状、および複数の屈曲を持つ線の展開形状を持つニチノール部材を備えることができる。非展開形状から展開形状に変化する時、結合部材はアンカーをしっかりつかみ、弁輪の周辺を締め付けることができる。いくつかの実施例では、係留紐および自己変形結合部材の両方を含むことができ、その2つは、弁輪をしっかりとつかむために利用できる。
いくつかの実施例では、少なくとも1つのアンカー接触部材は、少なくとも1つの引込み式の力を加える装置を備え、ハウジングに対して近位で引き込まれた時、アンカーに順次に接触しアンカーに力を加え、ハウジングの少なくとも1つの開口部を介して、ハウジングから抜け出るようになる。このような力を加える装置は、例えば、コード、ワイヤ、係留紐、または同等のものに結合された、ボール、板、アンカー、フック、プランジャ、または同等のものを備えることができる。係留紐が、近位で引かれた場合、送達装置にある最末端のアンカーに、ボールが接触し、装置の開口部から強制的に押し出す。さらに引き込まれた時、ボールは、次のアンカーに接触し、それを強制的に押し出す、と続く。代替実施例では、少なくとも1つのアンカー接触部材は、少なくとも1つの移動可能な保持部材を備えている。例えば、このような移動可能な保持部材は、ハウジングにスライド可能なように配置された1つ以上のアンカー保持マンドレルを備えることができるため、マンドレルを引き込むことは、1つ以上のアンカーを解放することになる。時には、例えば、各アンカーの非展開形状がおおよそC字形状または半円の時、例えば、2つのマンドレルはハウジングに配置され、各アンカーの2つのアームを保持する。通常、マンドレルが引き込まれ、アンカーを一回につきグループごと、または同時にすべてを解放できる。
いくつかの実施例では、少なくとも1つのアクチュエータは、結合アンカーをしっかりとつかむための手段を含み、弁輪の周囲長を減少させる。このようなアクチュエータは、例えば、トリガー、ハンドル、プランジャ、圧迫作動装置、シリンジグリップ装置、足踏み式装置、または同等のものを備えることができる。また、装置のいくつかの実施例では、アンカーをハウジングから押し出すための、ハウジング内部に配置された少なくとも1つの拡張可能な部材を含む。
発明の別の側面では、複数の拘束されたアンカーを心臓弁輪に適合するための装置は、拘束されたアンカーを運ぶための遠位部分を持つ、柔軟性のある細長いカテーテルと、約1.67mm以下の断面の直径を持つ前述の遠位部分と、前述の遠位部分に配置された複数の拘束されたアンカーと、ハウジングから配置された時、少なくとも約3mmの半径を持つ各アンカーと、アンカーをカテーテルから運ぶための、カテーテルに結合された少なくとも1つのアンカー送達装置を備える。
発明の別の側面では、心臓弁の環状組織に取り付けるための、自己固定アンカーは、1.67mm以下の断面の直径を持つ送達カテーテル内に、アンカーを配置することができる、比較的細長い非展開形状を持ち、かつ、送達装置から解放された時、少なくとも3mmの半径を持つ展開形状を想定する、超伸縮または形状記憶材料を備える。一般に、このようなアンカーは、送達装置からアンカーが解放された時、逆方向に向いたアンカーの湾曲の尖った2つの先端を持つことができる。任意で、アンカーは、2つの尖った先端の間に配置された小穴を含むことができる。
本発明の別の側面では、心臓弁の環状組織に取り付けるための、自己固定アンカーは、開かれた作動非展開形状を持ち、かつ、拘束から解放された時、重なり合う端部と共に、閉じられた形状を想定する、形状記憶材料を備える。非展開形状および展開形状は、あらゆる適切な形状となり得る。ある実施例では、例えば、非展開形状は、2つの尖った端部を持つ、おおよそC字形状または半円で、また、展開形状は、2つの端部が重なり合う、閉ざされた円である。いくつかの実施例では、アンカーは、組織に固定された時、環状組織と同一平面に置かれるよう構成される。ニチノールやその他の適切な材料などの、超伸縮または形状記憶の材料は、アンカーを形成するために使用できる。
本発明のさらなる側面によると、患者の体内に使用されるアンカーアセンブリは、血管および心臓を通過可能なように構成された、開放された内部を持つ、カテーテルタイプのハウジングと、ハウジングに取り外しできるよう収容された、組織に係合可能なアンカーの一組であって、前記アンカーは、ハウジングの開放された内部にて、遠位アンカーおよび近位アンカーを備えるアンカーと、アンカーを互いに連続的に結合させる係留紐を含む。ある実施例では、ハウジングの少なくとも1つの部分は柔軟性がある。このような実施例は、ハウジングの柔軟性のある部分を、第一構造から、半径方向外向きに広がった湾曲の第二構造に強制するための手段をさらに任意で含む。
いくつかの実施例では、遠位アンカーは係留紐に固定され、近位アンカーは、スライド可能なように係留紐に結合される。また、いくつかの実施例では、係留紐は、カテーテルタイプのハウジングの外部に、実質的に配置されることができる。ある実施例では、アンカーは、自己形成および自己固定型である。ある実施例では、少なくとも1つのアンカーは、生体活性因子を備える。あるいは、少なくとも1つのアンカーは、電極を備える。例えば、このような電極は、インピーダンス、温度、および電気信号のうち少なくとも1つを検出できる。他の実施例では、電極は、エネルギー利用電極を備え、少なくとも切除および副切除の量のエネルギーを、組織に供給する。
本発明の別の側面では、患者の体内に使用されるアンカーアセンブリは、血管および心臓を通過可能なように構成された、開放された内部を持つ、カテーテルタイプのハウジングであって、前記ハウジングの少なくとも1つの部分は柔軟性があるハウジングと、ハウジングの柔軟性のある部分を、第一構造から、半径方向外向きに広がった湾曲の第二構造に強制するための手段と、ハウジングの開かれたハウジング内部に収容された、組織に係合可能なアンカーの一組であって、前記アンカーは、係留紐に固定された遠位アンカー、および係留紐にスライド可能なように結合された近位アンカーを備えるアンカーと、自己形成および自己固定型のアンカーである前記アンカーと、前記アンカーを互いに連続的に結合させる係留紐を含む。
発明の別の側面では、患者の体内に使用されるアンカー装置は、長手方向軸を持つ細長いハウジングと、ハウジングによって運ぶことができ、かつハウジングから配置可能な自己形成型組織に係合可能なアンカーと、第一部分および第二部分を持つアンカーであって、前述の第二部分は、組織を貫通する先端を持つ第二部分と、ハウジングによって運ばれる時、長手方向軸と通常平行である比較的まっすぐな非展開状態で配置可能なアンカーと、ハウジングから配置された後、湾曲した組織に係合する展開状態を自然に想定するアンカーを含む。ある実施例では、細長いハウジングは開放された内部を持つ。アンカーは、開放された内部で運ばれ、かつ開放された内部から配置可能である。そのため、ハウジングはアンカーがハウジングから配置された時、アンカーの通過と等しい大きさの開口部を持つ。
任意で、細長いハウジングの少なくとも1つの部分は、柔軟性を持たせることができる。いくつかの実施例では、細長いハウジングは可動型である。ある実施例では、第一部分および、第一部分から広がった第二部分の少なくとも2つを備える。ある実施例では、例えば、第二部分は、展開状態の時、通常は互いに反対方向に広がる。このような実施例では、前記アンカーの第二部分は、展開状態の時、通常は円または半円形状を持つ。
いくつかの実施例では、アンカーは、展開状態の時、長手方向軸に対して垂直の方向に置かれる。また、いくつかの実施例では、アンカーは、展開状態の時、通常は円または半円形状を持つことができる。いくつかの実施例では、装置はさらに、一組のアンカーを備えることができ、前述のアンカーは、遠位アンカーおよび近位アンカー、ならびにアンカーを互いに連続して結合させる係留紐を備える。いくつかの実施例では、ハウジングは直径dを持ち、かつ展開状態のアンカーは直径Dを持ち、D対dの比は最低3.5である。他の実施例では、D対dの比は最低4.4であり、好ましくは最低7であり、さらに好ましくは最低8.8である。上記で述べたように、いくつかの実施例では、アンカーは、生体活性因子または電極を備えることができる。
本発明の別の側面では、組織アンカーアセンブリは、土台、および土台から広がる弾力性のある自己形成型組織係合部であって、前記組織係合部は組織貫通部分を備える組織係合部であって、前記組織係合部は屈曲した無拘束状態および拘束状態を移動可能な組織係合部を備えるアンカーと、アンカーに結合された結合素子と、ハウジングとを備え、前記アンカーは、拘束状態の組織係合部と共に前記ハウジングに開放可能なように取り付けられたアンカーであって、前記組織係合部は、前記アンカーがハウジングから解放された時、拘束状態から無拘束状態に移動可能な組織係合部であり、そのため、前記組織係合部が屈曲した無拘束状態に移行するにつれ、アンカーに力がさらに加わることなく、組織を通過する前記組織貫通部分は前記アンカーを組織に固定できる。
いくつかの実施例では、組織係合部は無拘束状態の時、通常、円または半円形状である。いくつかの実施例では、組織係合部は拘束状態の時、まっすぐである。任意で、アンカーは第一および第二組織係合部を備えることができる。例えば、ある実施例では、第一組織係合部はフックを備える。別の実施例では、第一および第二組織係合部はそれぞれフックを備える。このような実施例では、フックは無拘束状態の時、通常互いに反対方向に伸びることができる。他の組織係合部も無拘束状態の時、通常互いに反対方向に伸びることができる。
いくつかの実施例において、連結する要素は、アンカーのベースに連結された係留紐を備える。一実施例において、係留紐はアンカーのベースにスライド可能に連結される。別の実施例において、連結する要素は柔軟性のある紐状の要素を備える。そのような実施例において、ハウジングは管状ハウジングを備える場合がある。状況に応じて、アンカーは、管状ハウジング内に解放可能に取り付けられる場合がある。状況に応じて、装置は、更に各アンカーに連結された連結する要素を伴う複数のアンカーを含む場合がある。いくつかの実施例において、少なくとも1つのアンカーが連結する要素にスライド可能に連結され、別のアンカーは連結する要素に引き締められる。
本発明の別の側面では、組織アンカーアセンブリは、複数のアンカー、係留紐、およびハウジングを備え、各アンカーは、ベース、ならびに前記ベースから延在している第一自己形成型組織食い込み部分および第二自己形成型組織食い込み部分を備え、各前記組織食い込み部分は、組織貫通チップを備え、各前記組織食い込み部分は、屈曲した非拘束状態と真っ直ぐな拘束状態との間で移動が可能であり、各前記組織食い込み部分は、非拘束状態時にほぼ円または半円形を有し;前記係留紐は、前記アンカーのベースと連結しており;少なくとも1つの前記アンカーが前記係留紐とスライド可能に連結し、別の前記アンカーは前記係留紐に固定されており;組織食い込み部分の拘束状態時にアンカーおよび係留紐がハウジングに解放可能に取り付けられており、アンカーおよび係留紐がハウジングから解放された際に組織食い込み部分が拘束状態から非拘束状態へと移動可能なので、アンカーへいかなる追加の力も適用されずに、組織食い込み部分が屈曲した非拘束状態へと移動する際に組織内を通過する組織貫通チップが、アンカーを組織に固定する。
本発明の別の側面では、組織アンカーアセンブリは、ベースおよびこのベースから拡張した弾性の自己形成型の組織食い込み部分を備えるアンカーと、アンカーに結合した連結する要素と、ハウジングと、を備え、この組織食い込み部分は、組織貫通チップを備え、この組織食い込み部分は、屈曲した非拘束状態および拘束状態の間で移動が可能であり、前記アンカーは組織食い込み部分が拘束状態にある場合にハウジングに解放可能に組み込まれ、前記組織食い込み部分は、アンカーがハウジングから解放される際に拘束状態から非拘束状態へと移動可能であり、そして組織食い込み部分は、組織貫通チップが組織内を通過し組織食い込み部分が屈曲した非拘束状態へと移動する際にアンカーを組織へと引き込む手段を備える。様々な実施例において、アセンブリはいかなる上記特徴をも含む場合がある。
いくつかの実施例において、アセンブリはむしろ各アンカーに結合した連結する要素を伴う複数のアンカーを含む場合がある。いくつかの実施例において、少なくとも1つのアンカーは連結要素にスライド可能に連結され、別の前記アンカーは連結する要素に引き締められる。いくつかの実施例において、アンカー引き込み手段は拘束状態時に位置エネルギーを保存する手段を含む。再度、様々な実施例において、アンカーは、生物活性材または電極を含む場合がある。例えば、電極は少なくとも1つのインピーダンス、温度、および電気信号を感知する場合がある。代わりに、少なくとも1つの切除および副切除量を組織へエネルギーを供給する電極はエネルギー印加電極を含む場合もある。
本発明の別の側面では、組織アンカーアセンブリは、複数のアンカー、アンカーの各々に連結された連結する要素、および管状ハウジングを備え、各アンカーは、ベースならびに前記ベースから拡張する第一および第二の弾力性の自己形成型の組織食い込み部分を備え、各前記組織食い込み部分は、組織貫通チップを含み、各前記組織食い込み部分は、屈曲した非拘束状態と拘束状態との間で移動が可能であり、各前記組織食い込み部分は、非拘束状態時にほぼ円または半円形を有し、組織食い込み部分の拘束状態時にアンカーがハウジング内で解放可能に取り付けられ、アンカーがハウジングから解放された際に組織食い込み部分が拘束状態から非拘束状態へと移動可能であり、組織食い込み部分が、組織貫通チップが組織内を通過し組織食い込み部分が屈曲した非拘束状態へと移動する際にアンカーを組織へと引き込む手段を備える手段を含み、そしてアンカー引き込み手段は拘束状態時に位置エネルギーを保存する手段を備える。
本発明の別の側面に従って、患者内で使用されるアンカー装置は、血管を通って心臓に入り得る構造である細長いキャリアと、一連の組織と係合可能なアンカーアセンブリと、係留紐と、セパレータとを備え、このアンカーアセンブリは、この細長いキャリアによって解放可能に運搬され、これらのアンカーは、遠位アンカー、第一中間アンカーおよび近位アンカーを備え、この係留紐は、これらのアンカーを相互に連続して結合し、この係留紐は、この係留紐が近位方向に引かれる場合に遠位アンカーに固定されるかもしくは遠位アンカーへと取り付け可能な遠位端を有し、少なくとも近位アンカーは、係留紐にスライド可能に連結されており、そしてこのセパレータは、係留紐が張力かにおかれる場合に、隣接するアンカーの1つをどれだけ近く別のアンカーへと接近できるかを制限するように、隣接するアンカーの間で、係留紐に沿って位置する。
いくつかの実施例において、細長いキャリアは、開放内部を有するカテーテル型ハウジングを含む。例えば、アンカーは、いくつかの実施例において、ハウジングの開放内部内に解放可能に収容される。いくつかの実施例において、隣接アンカーは、遠位および第一中間アンカーである。いくつかの実施例において、アンカーは自己形成および自己固定である。また、いくつかの実施例において、セパレータはほぼ管状の部材を含む。そのような実施例において、概して係留紐が管状部材を通過する場合がある。
いくつかの実施例において、セパレータは、折り目の入った外表を有する。また、いくつかの実施例において、セパレータは無孔性である。あるいは、セパレータが多孔性の場合もある。一実施例において、多孔性セパレータは孔を有し、これらの孔は、セパレータに形成された切り抜きにより提供される。別の実施例において、セパレータは織られたり編みこまれたりする場合がある。そのようなセパレータは、一実施例においてのみ制限される場合がある。いくつかの実施例において、セパレータは効果的に軸方向に非圧縮性である。別の実施例において、セパレータは第一長さから第二圧縮長さまで軸方向に圧縮性である。いくつかの実施例において、軸方向圧縮性のセパレータは相互に結合する。その他の実施例において、セパレータは係留紐に取り組まれた第一および第二部分、第一および第二部分に接続する第三部分を含む。例えば、第三部分は概して係留紐の片方へ平行に拡張する場合がある。
ある実施例では、細長いキャリアは長手方向軸を持ち、アンカーは、自己形成型の組織に係合可能なアンカーであって、前記アンカーはそれぞれ第一部分および第二部分を持ち、前記第二部分は組織を貫く先端を持つ第二部分であって、前記細長いキャリアは、開口部を通るアンカーの通過のための大きさの開口部を持つ細長いキャリアであって、前記アンカーは、前記細長いキャリア内で、長手方向軸とほぼ平行な、比較的まっすぐの非展開状態において配置可能な細長いキャリアであって、前記アンカーは、前記細長いキャリアの開口部を通過した後、組織に係合する湾曲した展開状態を自然にとるアンカーである。このようないくつかの実施例では、細長いキャリアの少なくとも一部分は柔軟性がある。また、いくつかの実施例では、細長いキャリアは可動型である。いくつかの実施例では、アンカーのうち少なくとも1つは第一部分を備え、かつ第二部分の少なくとも2つは、第一部分から拡張される。このような実施例では、第二部分は展開状態の時、ほぼ互いに反対方向に広がることができる。代わりに、第二部分は展開状態の時、ほぼ円または半円形状を持つことができる。
いくつかの実施例では、アンカーは通常展開状態の時、長手方向軸に対して垂直の方向に置かれる。いくつかの実施例では、各アンカーは展開状態の時、ほぼ円または半円形状を持つことができる。ある実施例では、細長いキャリアは直径dを持ち、かつ展開状態のアンカーは直径Dを持ち、D対dの比は最低3.5である。他の実施例では、D対dの比は最低4.4であり、好ましくは最低7であり、さらに好ましくは最低8.8である。いくつかの実施例では、細長いキャリアは近位および遠位部分を備え、前記アンカーは前記遠位部分によって運ばれるアンカーであって、前記遠位部分は、前記近位部分から解放可能な遠位部分であって、前記遠位部分は、前記アンカーによって貫通可能な遠位部分である。
本発明の別の側面では、患者体内での使用のためのアンカー装置は、長手方向軸を有する細長いキャリア、細長いキャリアによって解放可能に担持された一連の自己形成型の組織に食い込み可能なアンカー、係留紐、およびセパレータを備え、この細長いキャリアは、血管を通り心臓に到達するように構成され、その少なくとも一部は柔軟性があり、これらのアンカーは、遠位アンカー、第一中間アンカーおよび近位アンカーを備え、各アンカーは、第一の部分およびこの第一の部分から延在する少なくとも2つの第二の部分を有し、各第二の部分は組織を刺し貫く先端を有し、細長いキャリアは、アンカーが通る大きさの開口部を有し、アンカーは、細長いキャリア内で長手方向軸とほぼ平行な比較的直線の非展開状態に設置することができ、細長いキャリアの開口部を通った後、屈曲した、組織に食い込む展開状態を自然にとり、第二の部分は、展開状態においてほぼ円または半円の形状を有し、アンカーは、展開状態の際には長手方向軸に対してほぼ垂直な方向を向いており、細長いキャリアは、直径寸法dを有し、展開状態におけるアンカーが直径寸法Dを有し、dに対するDの比が少なくとも3.5であり、係留紐は、アンカーを互いに連続的に連結し、そして遠位アンカーに固定されたままであるかまたは係留紐が近位方向に引かれた際に遠位アンカーに食い込み可能な遠位端を有し、少なくとも近位アンカーは、係留紐にスライド可能に連結され、セパレータは、係留紐がピンと張って設置された際に隣接するアンカーがどの程度互いに近づくかを制限するために隣接するアンカー間で係留紐に沿って配置される。
本発明の別の側面によると、心臓弁輪と接触する1つ以上の装置の配置を容易にするための装置は、近位部および遠位部を有する細長いカテーテル本体と、カテーテル本体の近位部に連結され、遠位部まで延在する少なくとも1つの引張部材と、近位部および、引張部材に張力を加えて遠位部を変形させ、ほぼ弁輪の形状に一致させるための引張部材に連結された少なくとも1つのアクチュエータとを備える。通常、カテーテル本体は輪に接触するように心臓へ向かって脈管内に前進することができる。いくつかの実施例では、例えば、カテーテル本体は、大動脈を通して左心室の中へ到達させ弁論に接触することができる。
いくつかの実施例では、カテーテル本体の近位部は遠位部と比較して堅固である。また、いくつかの実施例では、カテーテル本体は、曲線的な、非外傷性の遠位先端をさらに含む。カテーテル本体は任意で可視化を増すため遠位先端またはその近くに少なくとも1つの放射線不透過性部分をさらに含むことができる。カテーテル本体はまた、1つ以上の液体を通すために近位部および遠位部を通って延在する少なくとも1つの管腔を含むことができる。
いくつかの実施例では、少なくとも1つの引張部材は、遠位部を少なくとも2つの異なる方向に変形させる2つの引張部材を備える。少なくとも1つの引張部材は、ニチノール、ポリエステル、ナイロン、ポリプロピレン、および/またはその他のポリマーあるがこれらに限定されない、適合する材料でできていてもよい。少なくとも1つの引張アクチュエータは、いくつかの実施例では、引張部材に連結したつまみを備え、ここで一方向につまみを回すと引張部材に張力が加わり遠位部を変形させ、逆方向につまみを回すと引張部材から張力を解放して遠位部を変形の少ない構造に戻す。
装置のいくつかの実施例は、遠位部を弁輪に接触させるためカテーテル本体に連結された少なくとも1つの促進部材をさらに含む。例えば、少なくとも1つの促進部材は、左心室壁、少なくとも1つの僧帽弁弁尖および心臓の腱索により形成された左心室の空間内で拡張するための拡張可能部材を備えることができる。代替実施例では、少なくとも1つの促進部材は、この促進部材自体と、弁輪に隣接する冠状静脈洞内に配置した逆に荷電した磁石との間に、引き合う磁力を適用するため、遠位部に連結された少なくとも1つの磁石を備える。
いくつかの実施例は、カテーテル本体の近位端に連結されたハウジングをさらに含み、ここで引張アクチュエータはハウジングに連結されている。任意で、ハウジングは、1つ以上の液体を管腔に導入するため、細長い軸内の少なくとも1つの管腔に液体連絡する少なくとも1つの液体注入ポートをさらに備えることができる。
本発明の別の側面では、心臓弁輪に接触する1つ以上の装置配置を容易にするためのシステムは、僧帽弁の下方位置における遠位端の位置決めのため、少なくとも1つの遠位端方向への湾曲を有する成形ガイドカテーテル、僧帽弁下方の弁輪の長さを延長するため、成形ガイドカテーテルに通すことができ可動型遠位端を有する可動型ガイドカテーテル、および成形ガイドカテーテルを通して可動型ガイドカテーテルに渡せるガイド鞘を含み、ここで1つ以上の装置はガイド鞘を通して僧帽弁輪に接触することができる。概して、成形ガイドカテーテル、可動型ガイドカテーテルおよびガイド鞘は、様々な実施例で上述した様々な機能および特徴のうちいずれかを有することができる。
ある実施例では、例えば、成形ガイドカテーテルは、カテーテルの遠位端を初期値の平面とほぼ平行である平面に移動させるため、成形ガイドカテーテルの中央軸に対しほぼ垂直である近位湾曲、および僧帽弁輪の曲率半径とほぼ同じ曲率半径を有する遠位湾曲を含む。ある実施例では、可動型ガイドカテーテルは、近位部および遠位部、カテーテル本体の近位部に連結し遠位部に延在する少なくとも1つの引張部材、ならびに引張部材に張力を加えて遠位部を変形させ、ほぼ弁輪の形状に一致させるため近位部および引張部材に連結する少なくとも1つの引張アクチュエータを有する細長いカテーテル本体を備える。様々な実施例では、この可動型カテーテルは、上述したカテーテルの特徴のうちいずれかを有することができる。
システムのいくつかの実施例では、ガイド鞘の遠位部は、輪治療処置後も弁輪に取り付けられたままにするため、ガイド鞘の近位部から取り外し可能である。例えば、取り外し可能な遠位部は、ダクロンまたは同様のものを含む管状部材を備えることができる。いくつかの実施例では、取り外し可能な遠位部は、僧帽弁輪を締めるために引き締め可能である。
いくつかの実施例において、前記システムは、さらに少なくとも1つの前記成形ガイドカテーテルに連結された少なくとも1つの促進部材、前記可動型ガイドカテーテルおよび前記ガイド鞘を含むことができる。例えば、前記促進部材は、左心室壁によって形成された左室内の空間で拡張するための拡張可能部材、少なくとも1つの僧帽弁弁尖、および心臓の腱索を含むことができる。または、前記促進部材は、少なくとも1つの成形ガイドカテーテルに連結された少なくとも1つの磁石、前記可動型ガイドカテーテル、およびこの促進部材自身と、弁輪に隣接した冠状静脈洞に配置された逆帯電した磁石との間に引き付ける磁力を適用するための、前記ガイド鞘を含むことができる。
適切な任意の装置、または装置の組合せは、さまざまな実施例において、僧帽弁輪との接触に発展できる。いくつかの実施例において、例えば前記システムは、僧帽弁輪に連結されたアンカーと接触し、適用するために前記ガイド鞘を通って通過できるアンカー送達装置を含む。前記システムは追加で、または代替で、僧帽弁輪の可視化を助けるために、前記ガイド鞘を通って通過できる可視化装置を含む。例えば、前記可視化装置は、超音波装置、カメラ、内視鏡、あるいは光ファイバー装置を含むことができるが、これに限定されない。
本発明のさらに進んだ側面によると、心臓弁輪に対して、ある手順を行うための装置には、近位部および成形遠位部を有する、柔軟性のある、細長いカテーテル、組織アンカーの通過を可能にする、少なくとも1つの開口を有する前記遠位部、前記成形遠位部に解放可能なように保管された複数の組織アンカー、前記組織アンカーとスライド可能なように連結された少なくとも1つの引き締めることのできる係留紐、および弁輪の問題に取り組むために、少なくとも1つの前記開口から前記アンカーを送達するために、前記遠位部に保管された少なくとも1つのアンカー送達部材が含まれる。
いくつかの実施例では、成形遠位部分は少なくとも第一の湾曲を備える。第一の湾曲は、第一の湾曲が1.27cmから3.81cmの曲率半径である1つの実施例のように、あらゆる適切な形状、曲率半径または同様のものを持つことができる。いくつかの実施例では、成形遠位部分は第二の湾曲をさらに備える。第一および第二の湾曲は、カテーテルの近位部が遠位部分に直接隣接するのに対して、カテーテルの最端部に45°から90°の角度で方向を合わせるように構成されることができる。いくつかの実施例では、第二の湾曲は、心臓弁の曲率半径に近い曲率半径を持つ。代替実施例では、第二の湾曲は心臓弁の曲率半径より大きい曲率半径を持ち、ここでそのより大きい曲率半径は遠位部分が弁輪に対し外側に押し付ける原因となる。任意で、第一および第二の湾曲のうち少なくとも1つは、細長いカテーテルを弁輪に接触するように送達するために使用されるガイドカテーテルにおいて類似の湾曲と同様の形状を持つことができる。例えば、細長いカテーテルにおける第一および第二の湾曲は、ガイドカテーテルにおける第一および第二の類似湾曲に該当する。このような実施例では、細長いカテーテルは、ガイドカテーテルを通して到達する場合、少なくとも1つ開口が弁輪組織に接触するように方向を合わせられる。
前記装置のいくつかの実施例は、遠位部分と弁輪組織の接触を維持するための細長いカテーテルに連結した少なくとも1つの補強材をさらに備える。いくつかの実施例では、例えば、補強材は心臓壁組織を押し付けるように遠位部分から広がり、従って遠位部分が輪組織を押し付けるよう強制する螺旋状部材を備える。任意で、螺旋状部材の遠位端は、1つ以上の乳頭筋および心臓壁組織の接合部に係合しこれを押し付けるように構成されることができる。別の実施例では、補強材は心臓壁組織を押し付けるように遠位部分から広がり、従って遠位部分が輪組織を押し付けるよう強制するアーチ型形状記憶またはバネ付勢部材を備える。ある実施例では、アーチ型部材の一部は1つ以上の乳頭筋および心臓壁組織の接合部に係合しこれを押し付けるように構成される。前記装置はさらに任意で心臓壁組織をさらに押し付けるために膨張するアーチ型部材に連結した拡張可能部材を含むことができる。別の実施例では、補強材は心臓壁組織を押し付けるように遠位部分から広がり、従って遠位部分が輪組織を押し付けるよう強制する多重バネを備える。あるいは、補強材はカテーテルの遠位部分と連結した湾曲バルーンを含むことができ、ここで前記湾曲バルーンは弁輪の曲率半径より大きい曲率半径を有する。バルーンを膨張させることは、従って遠位部分が輪組織を押し付けるように強制する。
いくつかの実施例では、前記装置は末端組織アンカーの心臓弁輪への取付を促進するための少なくとも1つの末端部材をさらに含む。いくつかの実施例では、末端部材は係留紐にスライド可能なように連結することができる。いくつかの実施例では、末端部材は末端カテーテル装置を介して係留紐に連結される。末端部材は、例えば弁輪組織への取付のために拡張された構造に送達するための陥没構造から配置可能な、少なくとも1つの配置可能組織取付部材を含むことができる。組織取付部材は、返し、先端部、針、フック、先叉、レーキ、ワイヤ、歯、および/または同様のもの等であるがこれらに限定されない複数の部材を含むことができる。いくつかの実施例では、組織取付部材は形状記憶材料または超伸縮材料を備える。組織取付部材は、例えば係留紐上をスライドするように構成された円筒部材の円周に配置されてもよい。あるいは、組織取付部材は係留紐上をスライドするように構成された円筒部材の一部に沿って配置されてもよい。
いくつかの実施例では、組織取付部材は、取付部材を押して細長いカテーテルから出し弁輪組織に入れるためのプッシャーをさらに含む。いくつかの実施例では、組織取付部材は末端組織アンカーを係合するように構成される。ある実施例では、組織取付部材は、末端組織アンカーから別の組織アンカーへの方向で弁輪組織に入るように構成される。任意で、組織取付部材は、前記組織取付部材における組織増加を促進するため、前記組織取付部材の少なくとも一部に配置されるファイバー、マトリックス、テキスタイル、またはメッシュをさらに含むことができる。
いくつかの実施例では、各組織アンカーは、係留紐が締められた際にアンカーが弁輪組織から引き抜かれるのを防止するため少なくとも1つの組織連結機構を備える。例えば、前記組織連結機構は各組織アンカーの両端にある返しを含むことができる。そのような返しはアンカーの中心に向かって内側、または中心から外側に向いていてもよい。別の実施例では、組織連結機構は各アンカーに複数の屈曲を備える。任意で、各組織アンカーは、係留紐が締められた際にアンカーが弁輪組織から引き抜かれるのを防止するため少なくとも1つの支持部材を含むことができる。例えば、支持部材は各アンカーの一方のアームと各アンカーの他方のアームとの取付点を備えることができ、ここで前記取付点はアンカーの小穴に隣接する。さらに支持を提供するため、任意で抑制部材を取付点上に配置してもよい。前記抑制部材は、例えばバンド、紐、スリーブ、ベルト等を含むことができる。装置のいくつかの実施例では、各組織アンカーは組織アンカーの弁輪組織への取付を促進するように構成された少なくとも1つ組織接着機構を備える。例えば、組織接着機構は各アンカーの少なくとも一部に配置された1つ以上の材料を備えることができ、前記材料は弁輪組織内でカプセル充填を推進するために選択されたものである。ある実施例では、アンカー送達部材は、アンカーを少なくとも1つの開口と、アンカーに接触し促すアンカー接触部材に適合するためのアンカー接触部材に連結した引張コードに接触させて出すよう強制するため、アンカー接触部材を備える。
発明の別の側面では、心臓内の弁輪を収縮するための装置は複数のスライド可能に連結した組織アンカーを含み、ここで各アンカーはアンカーの弁輪組織への取付を促進する少なくとも1つの組織取付機構、少なくともいくつかの組織アンカーとスライド可能なように連結され、少なくとも第一のアンカーに流動的に取り付けられた、少なくとも1つの締め付け可能な係留紐を含む。組織取付機構は、多くの適切な機構のうちいずれかを備えることができる。ある実施例において、例えば表面特徴は、多孔性の、織り目加工された、またはコーティングした表面等、各アンカーの少なくとも一部の間に含まれる。別の実施例では、取付機構は少なくとも1つの小さい曲率半径を有する各アンカーの円形またはかぎ状部分を備える。代替として、または追加で、取付機構は各アンカーの両端に返しを備えることができる。
本発明の別の側面によると、カテーテルアセンブリは、ガイド鞘軸を有するガイド鞘、ガイド鞘内でスライドして拡張可能な細長い装置、細長い装置軸を有する細長い装置、選ばれた形状に配置できる鞘位置付け部分を備えるガイド鞘、および前記選ばれた形状に配置できる装置位置付け部分を備える細長い装置を含む。発明のこの側面では、鞘および装置位置付け部分の選ばれた形状は、鞘および装置位置付け部分が軸方向に一直線に並んでいる場合に、鞘および装置位置付け部分に相補的な回転位置付けを想定させる傾向がある。
いくつかの実施例では、少なくとも1つの選ばれたガイド鞘または細長い装置は可動型である。いくつかの実施例では、鞘位置付け部分はガイド鞘の遠位端に配置される。また、いくつかの実施例では、装置位置付け部分は細長い装置の遠位端から間隔を空けた位置に配置される。いくつかの実施例では、選ばれた形状は第一湾曲部分および第二湾曲部分を備える。いくつかの実施例では、選ばれた形状は第一の平面に第一の湾曲、第二の平面に第二の湾曲を備える。あるいは、前記選ばれた形状は第一の平面に第一の湾曲、第二の平面に第二の湾曲を備えることができ、ここで前記第一および第二の平面は異なる平面である。いくつかの実施例では、鞘位置付け部分はリラックス状態の場合に選ばれた形状を想定する。いくつかの実施例では、鞘位置付け部分および装置位置付け部分はそれぞれリラックス状態の場合に選ばれた形状を想定する。
本発明の別の側面では、位置付け模索内部部材および外部部材を有するカテーテルアセンブリを作製するための方法は、鞘の鞘位置付け部分の第一選択位置を選択するステップと、細長い装置の細長い装置位置付け部分の第二選択位置を選択し、ここで細長い装置はガイド鞘内にスライドして拡張可能であるステップと、鞘の第一選択位置で鞘位置付け部分を作製し、ここで鞘位置付け部分は選ばれた形状に配置できるステップと、鞘の第二選択位置で細長い装置位置付け部分を作製し、ここで装置位置付け部分は前記選ばれた形状に配置できるステップを含み、それによって鞘および装置位置付け部分の選ばれた形状は、鞘および装置位置付け部分が軸方向に一直線に並んでいる場合に、鞘および装置位置付け部分に相補的な回転位置付けを想定させる傾向がある。
いくつかの実施例では、第一選択位置の選択ステップは、ガイド鞘の遠位端を第一選択位置として選択するステップを含む。また、いくつかの実施例では、第二選択位置の選択ステップは、細長い装置から間隔を空けた位置を第二選択位置として選択するステップを含む。その他の実施例では、鞘位置付け部分作製ステップは、第一湾曲部分および第二湾曲部分を形成するステップを含む。任意で、鞘位置付け部分作製ステップは、第一湾曲部分を第一平面に、第二湾曲部分を第二平面に形成するステップを伴ってもよい。いくつかの実施例では、形成ステップは、異なる平面である前記第一および第二平面とともに得られる。いくつかの実施例では、鞘位置付け部分作製ステップは、リラックス状態の場合に選ばれた形状を自然に想定する鞘位置付け部分を用いて実行される。
本発明の別の側面では、カテーテルアセンブリの内側および外側部材を方向づける方法は、ガイド鞘軸および遠位端を有するガイド鞘、ガイド鞘内でスライドして拡張可能な細長い装置軸を有する細長い装置、選ばれた形状に配置されることができる鞘位置付け部分を備えるガイド鞘、および前記選ばれた形状に配置されることができる装置位置付け部分を備える細長い装置、を含むカテーテルアセンブリを選択するステップと、ガイド鞘の遠位端を選ばれた位置に配置するステップと、ガイド鞘および細長い装置が選ばれた軸方向にあるように、鞘および装置位置付け部分を軸方向に一直線に並べるステップと、ガイド鞘および細長い装置を、選ばれた軸方向から離れ逆方向にある鞘および装置位置付け部分が相補的な回転位置付けを想定するまで必要に応じて軸方向に再配置するステップとを伴う。いくつかの実施例では、カテーテルアセンブリ選択ステップは、ガイド鞘の遠位端にある第一選択位置を用いて実行される。いくつかの実施例では、軸方向に一直線に並べるステップは、ガイド鞘の遠位端の位置にある細長い装置の遠位端を用いて実行される。
本発明の別の側面では、位置付け模索内部および外部部材を有するカテーテルアセンブリを作製するための方法は、鞘の鞘位置付け部分の第一選択位置を選択するステップと、細長い装置の細長い装置位置付け部分の第二選択位置を選択し、ここで細長い装置はガイド鞘内にスライドして拡張可能であるステップと、鞘の第一選択位置で鞘位置付け部分を作製し、ここで鞘位置付け部分は選ばれた形状に配置できるステップと、鞘の第二選択位置で細長い装置位置付け部分を作製し、ここで装置位置付け部分は前記選ばれた形状に配置できるステップを含み、それによって鞘および装置位置付け部分の選ばれた形状は、鞘および装置位置付け部分が軸方向に一直線に並んでいる場合に、鞘および装置位置付け部分に相補的な回転位置付けを想定させる傾向がある。
いくつかの実施例では、第一選択位置の選択ステップは、ガイド鞘の遠位端を第一選択位置として選択するステップを含む。また、いくつかの実施例では、第二選択位置の選択ステップは、細長い装置から間隔を空けた位置を第二選択位置として選択するステップを含む。その他の実施例では、鞘位置付け部分作製ステップは、第一湾曲部分および第二湾曲部分を形成するステップを含む。任意で、鞘位置付け部分作製ステップは、第一湾曲部分を第一平面に、第二湾曲部分を第二平面に形成するステップを伴ってもよい。いくつかの実施例では、形成ステップは、異なる平面である前記第一および第二平面とともに得られる。いくつかの実施例では、鞘位置付け部分作製ステップは、リラックス状態の場合に選ばれた形状を自然に想定する鞘位置付け部分を用いて実行される。
本発明の別の側面では、カテーテルアセンブリの内側および外側部材を方向づける方法は、ガイド鞘軸および遠位端を有するガイド鞘、ガイド鞘内でスライドして拡張可能な細長い装置軸を有する細長い装置、選ばれた形状に配置されることができる鞘位置付け部分を備えるガイド鞘、および前記選ばれた形状に配置されることができる装置位置付け部分を備える細長い装置、を含むカテーテルアセンブリを選択するステップと、ガイド鞘の遠位端を選ばれた位置に配置するステップと、ガイド鞘および細長い装置が選ばれた軸方向にあるように、鞘および装置位置付け部分を軸方向に一直線に並べるステップと、ガイド鞘および細長い装置を、選ばれた軸方向から離れ逆方向にある鞘および装置位置付け部分が相補的な回転位置付けを想定するまで必要に応じて軸方向に再配置するステップとを伴う。いくつかの実施例では、カテーテルアセンブリ選択ステップは、ガイド鞘の遠位端にある第一選択位置を用いて実行される。いくつかの実施例では、軸方向に一直線に並べるステップは、ガイド鞘の遠位端の位置にある細長い装置の遠位端を用いて実行される。
これらのおよびその他の側面および実施例を、作図を参照し、以下でより完全に説明する。
図1は、本発明のある実施例に従って、僧帽弁輪の治療のために配置された柔軟性のあるアンカー送達装置を有する心臓の断面図である。 図2Aおよび2Bは、本発明のある実施例に従って、僧帽弁輪の治療のための柔軟性のある装置の位置決めを図式的に示す心臓の一部の断面図である。 図2Aおよび2Bは、本発明のある実施例に従って、僧帽弁輪の治療のための柔軟性のある装置の位置決めを図式的に示す心臓の一部の断面図である。 図2Cおよび2Dは、本発明のある実施例に従って、僧帽弁輪の治療のための柔軟性のあるアンカー送達装置の位置決めを示す心臓の一部の断面図である。 図2Cおよび2Dは、本発明のある実施例に従って、僧帽弁輪の治療のための柔軟性のあるアンカー送達装置の位置決めを示す心臓の一部の断面図である。 図3は、本発明のある実施例に従って、アンカー送達装置の遠位部分の斜視図である。 図4は、非展開形状および位置にあるアンカーを有する、アンカー送達装置の遠位部分の断片の斜視図である。 図5は、図4に示す装置の断片の、異なる斜視図である。 図6は、展開形状および位置にあるアンカーを有する、アンカー送達装置の遠位部分の断片の斜視図である。 図7A−7Eは、発明のある実施例に従って、アンカーを弁輪に送達する方法を図解する、アンカー送達装置の断面図である。 図7A−7Eは、発明のある実施例に従って、アンカーを弁輪に送達する方法を図解する、アンカー送達装置の断面図である。 図7A−7Eは、発明のある実施例に従って、アンカーを弁輪に送達する方法を図解する、アンカー送達装置の断面図である。 図7A−7Eは、発明のある実施例に従って、アンカーを弁輪に送達する方法を図解する、アンカー送達装置の断面図である。 図7A−7Eは、発明のある実施例に従って、アンカーを弁輪に送達する方法を図解する、アンカー送達装置の断面図である。 図8Aおよび図8Bは、自己変形連結部材または「基幹」に連結する複数のアンカーの上方図であり、基幹は非展開形状および展開形状で示されている。 図8Aおよび図8Bは、自己変形連結部材または「基幹」に連結する複数のアンカーの上方図であり、基幹は非展開形状および展開形状で示されている。 図9A−9Cは、本発明のある実施例に従って、柔軟性のあるアンカー送達装置の遠位部分の様々な斜視図である。 図9A−9Cは、本発明のある実施例に従って、柔軟性のあるアンカー送達装置の遠位部分の様々な斜視図である。 図9A−9Cは、本発明のある実施例に従って、柔軟性のあるアンカー送達装置の遠位部分の様々な斜視図である。 図10A−10Fは、発明のある実施例に従って、アンカー送達装置を使用してアンカーを弁輪に適用し、そのアンカーを引き締め輪を締め付ける方法を明示するものである。 図10A−10Fは、発明のある実施例に従って、アンカー送達装置を使用してアンカーを弁輪に適用し、そのアンカーを引き締め輪を締め付ける方法を明示するものである。 図10A−10Fは、発明のある実施例に従って、アンカー送達装置を使用してアンカーを弁輪に適用し、そのアンカーを引き締め輪を締め付ける方法を明示するものである。 図10A−10Fは、発明のある実施例に従って、アンカー送達装置を使用してアンカーを弁輪に適用し、そのアンカーを引き締め輪を締め付ける方法を明示するものである。 図10A−10Fは、発明のある実施例に従って、アンカー送達装置を使用してアンカーを弁輪に適用し、そのアンカーを引き締め輪を締め付ける方法を明示するものである。 図10A−10Fは、発明のある実施例に従って、アンカー送達装置を使用してアンカーを弁輪に適用し、そのアンカーを引き締め輪を締め付ける方法を明示するものである。 図11は、発明のある実施例に従って、大動脈を通して左心室の中へ到達したガイドカテーテル装置とともに心臓を横断面で示すものである。 図11Aは、発明のある実施例に従って、ガイドカテーテルを通過するアンカー送達装置の遠心端を示すものである。 図11Bは、発明のある実施例に従って、アンカー送達装置の中間部分および類似の位置付け部分を有するガイドカテーテルを示すものである。 図12A−12Dは、弁輪に対しアンカー送達装置を支持するための支持部材の様々な実施例を示すものである。 図12A−12Dは、弁輪に対しアンカー送達装置を支持するための支持部材の様々な実施例を示すものである。 図12A−12Dは、弁輪に対しアンカー送達装置を支持するための支持部材の様々な実施例を示すものである。 図12A−12Dは、弁輪に対しアンカー送達装置を支持するための支持部材の様々な実施例を示すものである。 図13A−13Cは、発明のある実施例に従って、一連のアンカーの停止および負荷分散を容易にするための装置および方法を示すものである。 図13A−13Cは、発明のある実施例に従って、一連のアンカーの停止および負荷分散を容易にするための装置および方法を示すものである。 図13A−13Cは、発明のある実施例に従って、一連のアンカーの停止および負荷分散を容易にするための装置および方法を示すものである。 図14A−14Fは、発明のある実施例に従って、心臓弁の処置を行うための位置にアンカー送達装置を到達させる方法を明示するものである。 図14A−14Fは、発明のある実施例に従って、心臓弁の処置を行うための位置にアンカー送達装置を到達させる方法を明示するものである。 図14A−14Fは、発明のある実施例に従って、心臓弁の処置を行うための位置にアンカー送達装置を到達させる方法を明示するものである。 図14A−14Fは、発明のある実施例に従って、心臓弁の処置を行うための位置にアンカー送達装置を到達させる方法を明示するものである。 図14A−14Fは、発明のある実施例に従って、心臓弁の処置を行うための位置にアンカー送達装置を到達させる方法を明示するものである。 図14A−14Fは、発明のある実施例に従って、心臓弁の処置を行うための位置にアンカー送達装置を到達させる方法を明示するものである。 図15Aおよび15Bは、発明のある実施例に従って、アンカー送達装置の位置決めを容易にするためのガイドカテーテル装置の側断面図である。 図15Aおよび15Bは、発明のある実施例に従って、アンカー送達装置の位置決めを容易にするためのガイドカテーテル装置の側断面図である。 図16A−16Eは、本発明の様々な実施例に従って、改善した組織アンカーを示すものである。 図16A−16Eは、本発明の様々な実施例に従って、改善した組織アンカーを示すものである。 図16A−16Eは、本発明の様々な実施例に従って、改善した組織アンカーを示すものである。 図16A−16Eは、本発明の様々な実施例に従って、改善した組織アンカーを示すものである。 図16A−16Eは、本発明の様々な実施例に従って、改善した組織アンカーを示すものである。 図17A−17Cは、本発明のある実施例に従って、弁輪の組織に取り付けられている自己成形アンカーを示すものである。 図17A−17Cは、本発明のある実施例に従って、弁輪の組織に取り付けられている自己成形アンカーを示すものである。 図17A−17Cは、本発明のある実施例に従って、弁輪の組織に取り付けられている自己成形アンカーを示すものである。 図18は、本発明の別の実施例に従って、弁輪の組織に取り付けられている自己成形アンカーを示すものである。 図19Aは、発明のある実施例に従って、2つの隣接するアンカーの間にスリーブを有するアンカー装置を示すものである。 図19Bは、発明のある実施例に従って、3つのアンカーの間にスリーブを有するアンカー装置を示すものである。
(発明の詳細な説明)
本発明の装置、システムおよび方法は一般的に、治療が必要な部位での治療装置の送達を容易にすることによって、経血管型、低侵襲およびその他の「さらに侵襲性が低い」外科手術を容易にするために使用される。以下の説明は僧帽弁の治療に関する本発明の装置および方法に焦点を当てているが、その装置および方法は心臓病およびそれ以外に対する適切な手術で使用される場合がある。本発明が心臓弁輪の治療に使用される場合、本発明の方法は一般的に、弁輪の長さを有するアンカー送達装置の接触、複数の連結されたアンカーのアンカー送達装置からの送達および弁輪を一斉に引き弁輪を締め付けることを含む。装置は複数の連結されたアンカーが解放可能となるように覆うために遠位端あるいは近くにハウジングを有する細長いカテーテル、およびアンカー送達装置の前進を促進するため、および/または配置するための送達装置を含む。装置は、左心室壁、僧帽弁弁尖および腱索によって輪郭を示される左心室の中など、ハウジングが弁の環状組織を接触するよう、あるいは近くなるように配置される場合がある。いくつもの異なる構成を有する自己固定アンカーは、いくつかの実施例で使用される場合がある。追加装置は、治療が必要な部位でアンカー送達装置の到達および/または配置を容易にするための送達装置を含む。
多くの場合、本発明の方法は、機能している心臓に対して行われる。機能している心臓への接近手段として、血管内からの方法、経胸腔的方法および同等のものなど有効な方法がある。機能している心臓への接近手段に加えて、本発明の方法は、停止した心臓への血管内での接近手段、および停止した心臓の開胸手術に対して使用される場合がある。
図1を参照すると、心臓Hは断面図で示されており、心臓H内に挿入する細長いアンカー送達装置100を有する。一般的に、送達装置100はアンカーを心臓弁輪へ送達するよう構成された遠位部102を有する細長い本体で構成される(図1、2Aおよび2Bでは、図をより明確にするため、アンカーまたはアンカー送達構造なしで遠位部102を図式的に示す)。いくつかの実施例では、前記細長い本体は剛性軸で構成され、一方その他の実施例では、経血管型の手法により、遠位部102が心臓Hの中、および弁輪に食い込むよう1つ以上の弁尖の下に配置されるように、柔軟性のあるカテーテルで構成される。例えば、経血管型の接近手段は、内頸静脈(図示せず)から上大静脈SVC、右心房RAへ行き、心房中隔を越えて左心房LAへ行き、そして1つ以上の僧帽弁弁尖MVLの下にある弁輪(図示せず)の下の左心室(LV)の中の位置へ到達することで行われてもよい。あるいは、心臓への接近手段は、大腿静脈および下大静脈を通しても行うことができる。他の実施例では、接近手段は、冠状静脈洞(図示せず)および心房壁から左心房へと通ることによって行うことができる。さらに他の実施例では、接近手段は、大腿動脈および大動脈から左心室、そして僧帽弁の下へと通ることによって行うことができる。この接近経路については、さらに詳しく下記で説明する。その他の適切な接近経路が、本発明の範囲内で考えられる。
その他の実施例では、心臓Hへの接近手段として、切開あるいは心臓壁のポートによって挿入された送達装置100を使用した経胸腔的方法がある。また、心臓切開の外科手術に対して本発明の方法および装置は有効であるかもしれない。さらに、いくつかの実施例は、三尖弁尖TVLに隣接した三尖弁輪あるいはその他の心臓または血管の弁の手術を強化するために使用される場合がある。したがって、以下の説明は主として、低侵襲またはさらに侵襲性が低い僧帽弁の僧帽弁逆流の治療に焦点を合わせるが、本発明はその使用に限定されるものではない。
図2Aおよび2Bを参照すると、僧帽弁VAの治療用の送達装置100を配置するための方法は、断面図で図式的に示される。まず図2Aのように、遠位部102は、僧帽弁弁尖Lの下、心室壁VWの隣と、好ましい位置に配置されている(ここでも遠位部102は表示のため、アンカーまたはアンカー送達構造なしで示される)。弁輪VAは一般的に、心室壁VWと比較的繊維質である心房壁AWが交差する位置にある心臓壁の組織の部分で構成されるので、弁尖の組織および心臓壁の組織よりかなり丈夫である。
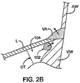
遠位部102は、適切な方法によって弁輪の下の位置へ前進することが可能であり、その方法については下記でさらに詳しく説明する。一般的に遠位部102は、アンカーを弁輪まで送達する、弁輪を固定する、および/または見えるようにする、あるいはその両方のために使用される。ある実施例では、図1で示される柔軟性のある細長い本体を有する送達装置を使用して、柔軟性のある遠位部102は、右心房RAから卵円孔の部分(表示せず。大動脈Aの後ろ)にある心房中隔を通って左心房LAそして左心室LVへ通される。あるいは、柔軟性のある遠位部102は、例えば大腿動脈を通る接近手段によって、大動脈Aを通って左心室LVへ前進する。多くの場合、遠位部102はさらに移動した後、後部の弁尖Lで左心室壁VWの内面、僧帽弁弁尖Lの下面、心室壁VWおよび弁尖Lにつながる腱索CTによって囲まれた空間として、本願の目的で概略で示される弁下部の空間104の上で輪郭が示される空間へと自然に前進する。本発明の送達装置など柔軟性のあるアンカー送達カテーテルが血管内で接近して僧帽弁の下を通る際、比較的簡単に弁下部の空間104へ頻繁に入り、弁の外周を部分的または全体的に空間104に沿って前進することが明らかになっている。空間104に入ると、遠位部102は弁尖および心室壁VWの交差部分に都合よく配置され、その交差部分は図2Aで示されるように、弁輪VAのすぐ隣または非常に近い位置にある。これらは弁輪への可能な(アンカー送達装置の)接近経路の例に過ぎず、その他の接近経路も使用される。
いくつかの実施例では、遠位部102は形状変化部分を含み、それによって遠位部102が弁輪の形状に適合する。カテーテルは通常、直線で柔軟性のある構造をした形状変化遠位部で脈管構造を通って挿入される。弁尖と内側の心室壁の間の交差部分にある弁尖の下に配置されると、遠位部102の形状は弁輪に適合するように変形し、通常、その形状は遠位部102から弁輪へかかる力を可能にするための十分な堅さ、あるいは剛性を与えるために「固定」される。遠位部102の成形および状況に応じた固定は、多くの方法で行うことができる。例えばいくつかの実施例では、形状変化部分は区分、切欠き、すり割り、または分節される場合があり、形状変化部分に連結された引張コード、ワイヤまたは引張装置などの引張部材が遠位部102の成形および剛性化に使用される。例えば分節された遠位部は、それぞれ異なる方向のアーティキュレーションを遠位部に与える2つの引張部材に連結された複数の断片を含む場合がある。第一の屈曲は、弁輪に適合するよう遠位部にC字形状あるいは同様の形状を与えるために第一の部材を引っ張ることによって形成され、一方、第二の屈曲はC字形状の部材を弁輪の方向へ上に折り曲げるように第二の部材を引っ張ることによって形成される。他の実施例では、バルーンなどの形成された拡張可能部材は、形状変化・変形に備えて遠位部102に連結される。多くの実施例では、任意の構成および組み合わせを使用して遠位部102を好ましい形状にする。
経胸腔的なその他の実施例では、遠位部102は成形され、方法は単に遠位部102を弁尖の下に挿入することを含む。成形された遠位部102は堅く、ニチノール、バネステンレススチールまたは同等のものなど、適切な超弾性的材料または形状記憶材料によって作られる場合がある。
アンカーを弁輪VAへ送達することに加えて、送達装置100(および特に遠位部102)は、弁輪VAを固定および/または見えるようにするために使用される場合がある。当該の固定および露出は、既に参照により組み込まれた米国特許出願番号10/656797で詳しく記述されている。例えば遠位部102が弁輪の下に配置されると、遠位部102に力がかかり、図2Bで示されるように、弁輪VAを固定する。当該の力は、弁輪を露出、配置および/または固定するためにいかなる適切な方向にもかかる。例えば斜め上向きの力が、図2Bで遠位部102の中心から描かれた塗りつぶされた矢印によって示される。その他の場合、上向きのみ、横向きのみ、あるいはその他の適切な力がかかる場合がある。遠位部102へかかる力によって、弁輪VAは持ち上げられ外側に突き出し、したがってより良い観察および接近手段を得るために弁輪が見えるようになる。かかる力によっても弁輪VAが固定され、外科手術および可視化を容易にする。
いくつかの実施例は、アンカー送達部品だけではなく固定部品も含む場合がある。例えばいくつかの実施例は、2つの柔軟性のある部材を含む場合があり、1つは弁輪の心房側に接触するためのもので、もう1つは心室側に接触するためのものである。いくつかの実施例では、当該の柔軟性のある部材は、その間にある弁輪を「クランプ」するために使用される。例えば当該の部材の1つはアンカー送達部材で、もう1つは固定部材でる場合がある。固定および/またはアンカー送達部材のいかなる組み合わせおよび構成も考えられる。
図2Cおよび2Dを参考にすると、アンカー送達装置108は、アンカー110を弁輪VAに送達していることが示される。もちろん、これらも表示用の図であり、実物大ではない。まず、アンカー110は送達装置108の中にあることが示され(図2C)、次に、弁輪VAへ送達されていることが示される(図2D)。示されるように、ある実施例では、アンカー110は送達装置108の中にある場合、比較的直線的な構造を有し、恐らく2つの尖った先端およびその先端の間に輪を有する。送達装置108から展開すると、アンカー110の先端は反対方向に屈曲し、2つの半円、円、長円、重複螺旋または同等のものを形成する。これは単に弁輪へ送達される種類の自己固定アンカーの一例である。通常、複数の連結されたアンカー110は送達され、弁輪を締め付けるよう一斉に引かれる。アンカー送達およびアンカーを一斉に引く方法について、下記でさらに説明する。
送達装置108は、図2Cおよび2Dでは円形の断面形状を有するように示されるが、代替として、その他の適切な形状を有する場合がある。例えばある実施例では、卵形あるいは楕円形の断面形状を有する送達装置を備えていることが有利である場合がある。心室壁および弁尖で形成された角に配置されている場合、当該の形状によって、アンカーが弁輪の組織へ送達されるよう送達装置の1つ以上の開口部を方向付けるために装置が調整されていることを確認しやすくなる。弁輪の接触および/または送達装置の位置付けをさらに強化するために、いくつかの実施例は送達装置と連結される拡張可能部材をさらに含む場合があり、それは送達装置を心室壁および弁尖で形成された角へと強制、圧迫または押し込むために拡張し、弁輪に接触する。当該の強化について、下記でさらに説明する。
図3を参照すると、アンカー送達装置200の一部分の実施例は、係留紐212と連結される複数のアンカー210を弁輪の組織へ送達するように構成された遠位部202を有する細長いシャフト204を適切に含む。係留アンカー210は、1つ以上のアンカー保持マンドレル214および拡張可能部材208とともに遠位部202のハウジング206の中にある。これらの1つ以上の機能には多くのパターンがあり、本発明の範囲で多くの部品が加えられたり省かれたりする場合がある。これらのいくつかのパターンについて下記でさらに説明するが、添付の請求によって定義されるように、どの実施例も本発明の範囲を制限するものではない。
多くの実施例では、ハウジング206は柔軟性あるいは剛性である。例えばいくつかの実施例では、柔軟性のあるハウジング206は、複数の断片で構成される場合があり、それらは断片に連結される引張部材を引くことによってハウジング206が変形可能になるよう構成される。いくつかの実施例では、ハウジング206は、連動し状況に応じて弁輪を形成したり収縮したりするよう選択された形状を有する弾性材料で形成される。例えば輪は、ニチノール、バネステンレススチールまたは同等のものなど、形状記憶合金、超伸縮材料で形成される場合がある。その他の例では、ハウジング206は膨らますことができるもので形成することが可能であり、グースネック、固定可能な部品シャフトなど、前述した堅くなる構造物あるいはその他の堅くなる構造物がそのままの状態で選択的に硬くなることがある。
本願の目的で「アンカー」はファスナーを意味するよう定義される。したがって、アンカー210はC字形状あるいは半円のフック、その他の形状の屈曲したフック、真っ直ぐなフック、かかりのついたフック、いかなる種類のクリップ、T字タグまたはその他の適切なファスナーで構成される。ある実施例では、上述のように、アンカーは展開した後、2つの交差する半円、円、長円、螺旋または同等のものを形成するよう反対方向に屈曲する2つの先端で構成される。いくつかの実施例では、アンカー210は自己変形する。「自己変形」は、アンカー210がハウジング206での拘束から解放された後、第一の非展開形状から第二の展開形状へ変形することを意味する。当該の自己変形アンカー210は、ハウジング206から解放され弁輪の組織に入る際に変形し、組織に固定される。したがって、アンカー210に力をかけ形状組織に取り付けるための圧着装置またはその他の同様の構造は、遠位端202には必要ない。
自己変形アンカー210は、ニチノールまたはバネステンレススチールのような超伸縮あるいは形状記憶材料などで作られる場合がある。他の実施例では、アンカー210は非形状記憶材料で作られ、解放時に形状を変えられるようにハウジング206へ装備されることができる。あるいは、自己変形型ではないアンカー210が使用される場合があり、当該のアンカーは圧着、焼き入れまたは同等のものによって組織に固定される場合がある。また、いくつかの実施例では、自己固定アンカーは圧着され、より強く組織に取り付く。いくつかの実施例では、アンカー210は1つ以上の生体活性因子で構成される。他の実施例では、アンカー210は電極で構成される。例えば当該の電極は、電気抵抗、温度、電気信号などに限定するものではないが、多くのパラメータを感知する場合がある。他の実施例では、当該電極は、切除または副切除量のエネルギーを組織に供給するために使用される場合がある。アンカーの送達は、適切な装置および下記で詳しく記述されるような水圧バルーン送達によって単にアンカーを解放するなどの方法によって遂行することができる。いかなる数、サイズ、形状のアンカー210がハウジング206に含まれる。
ある実施例では、アンカー210は一般的に非展開形状において、C字形状あるいは半円であり、C字の先端は組織を貫通するよう鋭い。C字形状のアンカー210の途中には、係留紐212がスライドして通過できるように小穴が形成されている。アンカー210を展開状態でC字形状に保つために、アンカー210は2つのマンドレル214によってハウジング206に保持され、マンドレル214の1つはアンカー210のC字形状の2つのアームをそれぞれ保持する。マンドレル214は細長いカテーテル本体204の中で引込み式となり、アンカー210を解放し、非展開のC字形状から展開形状へ変える。例えば、展開形状はほぼ完全な円または末端が重なった円であり、後者は鍵輪と同様に見える。当該のアンカーについて下記で詳しく説明するが、一般的に非展開形状から展開形状へ変化することによって環状組織に固定する能力において有利である。いくつかの実施例では、アンカー210も展開時には組織表面とぴったり重なっている状態になるよう構成される。「重なる」ということは、少量は突き出るかもしれないが、アンカーは表面からほとんど突き出ないことを意味する。
係留紐212は1つの長い材料、2つまたはそれ以上の材料であり、縫合糸、縫合糸のような材料、ダクロン製ストリップまたは同等のものなど適切な材料で構成される。保持マンドレル214もいかなる適切な構成を有し、ステンレススチール、チタニウム、ニチノールまたは同等のものなど、適切な材料で作られる。多くの実施例では1つのマンドレル、2つのマンドレルあるいは2つ以上のマンドレルを有する場合がある。
いくつかの実施例では、アンカー210は送達装置200からのさらなる力なしで、環状組織に接触し固定するためにマンドレル214から解放される。しかし、いくつかの実施例は1つ以上の拡張可能部材208を有する場合もあり、それは拡張してアンカー210を組織へと押し詰める。拡張可能部材208は適切なサイズおよび構成を有し、適切な材料で作られる。拡張可能部材などの水圧システムはこの分野の人々には知られており、既知あるいはまだ知られていない拡張可能部材が本発明の一部としてハウジング206に含まれる。
図4および5を参照すると、アンカー送達装置の遠位部302の断片は、ハウジング306に張力をかけ形状を変化させる複数の引張部材320、スライド可能なようにハウジング306に配置された2つのアンカー保持マンドレル314、スライド可能なように係留紐312に連結された複数のアンカー310およびアンカー310とハウジング306の間に配置された拡張可能部材308を適切に含む。図4および5で見られるように、ハウジング306は複数の断片を含み、引張部材320へ張力をかけることによってハウジング306の全体の形状を変えることが可能となる。また、図からわかるように、「C字形状」アンカー310は、ハウジング306のマンドレル314によって保持される際、実際にほぼ直線構造となる。したがって、本願の目的で、「G字形状」または「半円」は円の一部、わずかに屈曲した線、線上の一点に小穴を有するわずかに屈曲した線および同等のものなど非常に幅広い形状を言及している。
図6を参照すると、遠位部302の同じ断片が示されるが、マンドレル314は、アンカー310をハウジング306から解放するための2つのマンドレル開口322から引っ張られている。さらに、拡張可能部材308はアンカーをハウジング306から押し出すように拡張している。マンドレル314から解放されたアンカー310は、非展開の保持された形状から展開し解放された形状に変化し始めている。
図7Aから7Eを参照すると、アンカーを弁輪VAの組織へ送達している様々な段階で、アンカー送達装置の遠位部402横断面が示される。図7Aでは、遠位部402は弁輪に接触して配置され、アンカー410は2つのマンドレル414に保持され、係留紐412はアンカー410の小穴を通ってスライド可能なように配置され、拡張可能部材408はアンカー410をハウジング406から押し出すような位置でハウジング406に連結する。マンドレル414に保持される際、アンカー410は非展開形状にある。上記での説明と同様、マンドレル414は図7Aの塗りつぶされた矢印で示されるように、アンカー410を解放するためのスライド可能な引込み式である。多くの実施例では、マンドレル414をゆっくりと引き込むなどによって、アンカー410は一度に1つ解放されたり、マンドレル414の速い引き込みなどによって群で解放あるいはすべて同時に解放されたりする場合がある。
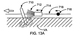
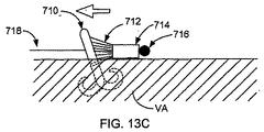
図7Bでは、アンカー410は非展開形状から展開形状へ変わり始め(塗りつぶされていない矢印で示される)、また環状組織VAを貫通し始めている。空になったマンドレル開口422は、マンドレル414が少なくともアンカー410が後方されるまで遠くに引き込まれたことを示す。図7Bでは、拡張可能部材408は拡張し、アンカー410を部分的にハウジング406から押し出し、弁輪VAへ押し入れている。また、塗りつぶされていない矢印で示されるように、アンカー410は非展開形状から展開形状へ移り続ける。図7Dでは、アンカー410は展開形状になり、それはほぼ完全な末端が重なった円または「鍵輪」の形状である。図7Eでは、送達装置402は係留アンカーを弁輪の中に残した状態で取り外された。もちろん通常では、複数の係留アンカーが環状組織に固定される。係留紐412はアンカー410に力をかけるためにしっかり締められ、弁輪をつかみ締め付ける。
図8Aおよび8Bを参照すると、連結されたアンカーのその他の実施例が図式によって表示される。ここで、アンカー510は自己変形または変形可能な連結部材あるいは基幹505に連結する。例えば、基幹505はニチノール、バネステンレススチールまたは同等のものから作られ、適切なサイズまたは構成を有する。ある実施例では、図8Aのように、アンカー送達装置のハウジングの中で拘束されている場合など展開状態で保たれている際、基幹505は一般的に直線形状である。送達装置から解放される際、図8のように基幹505は複数の屈曲を有する展開形状へ変化する。図8Bの塗りつぶされた矢印で示されるように、屈曲によって基幹505はアンカー間の長手方向の距離が短くなる。この短縮過程が、アンカー510が固定される弁輪をしっかりつかむ役割をする。したがって、基幹505に連結するアンカー510は、係留紐あるいは係留の力なしに弁輪をしっかりつかむために使用される。あるいは、係留紐もアンカー510に連結し、さらに弁輪をしっかりとつかむ。そのような実施例では、係留紐を通してアンカー510および基幹505に力がかかる際に、基幹505が屈曲しさらに弁輪をしっかりとつかめるように、基幹505は少なくとも部分的に適合可能あるいはしっかりつかめるようになる。
図9Aから9Cを参照すると、ある実施例では、アンカー送達装置520の柔軟性のある遠位部は、拡張可能部材524に連結されたハウジング522を適切に含む。ハウジング522は、複数の連結されたアンカー526および引張コード532に連結された部材530に接触するアンカーを覆うように構成される。ハウジング522はまた、アンカー526を外に出させる複数の開口528を含む。わかりやすくするために、図9Aおよび9Cでは、送達装置520は係留紐なしで示されるが、図9Bは、係留紐534が各アンカー526の小穴、輪あるいはその他の部分から延在し、複数のアンカー526を解放するために各開口528から抜け出ることを示す。本実施例の多くの機能について、下記で詳しく説明する。
図9Aから9Cで示される実施例では、アンカー526は比較的直線で、比較的送達装置522の長軸と比較的平行した状態である。ボール、板、フック、結び、プランジャ、ピストンまたは同等のものなどの適切な装置で構成されるアンカー接触部材530は一般的に、ハウジング522の内径とほぼ同じ、あるいはわずかに少ない外径を有する。接触部材530は、最末端のアンカー526より遠位のハウジングの中に配置され、引張コード532を引くことによってハウジング522に対して引き込まれる。引き込まれる際、アンカー接触部材530は最末端のアンカー526に接触し力をかけ、アンカー526が開口528の1つを通ってハウジング522を抜け出させるよう解放する。そして接触部材530は、滑らかなアンカー526に接触し力をかけるために近位でさらに遠くへ引かれ、そのアンカー526を展開していく。
アンカー526を開口528から押し出す引き込み接触部材530は、アンカー526が隣接組織に固定することのみできるように促進する。非展開の際に比較的直線・平らなアンカー526を使用することによって、比較的大きなサイズのアンカー526を比較的小さいハウジング522に配置(およびそこからの送達)することが可能となる。例えばある実施例では、近似の2つの交差する半円、円、長円、螺旋または同等の形状に展開し、半径が約3mmの1つの半円を有するアンカー526は、約5フレンチ(1.67mm)およびさらに好ましくは4フレンチ(1.35mm)あるいはそれ以下の直径を有するハウジングの中に配置される。当該のアンカー526は、最も広い寸法で約6mmまたはそれ以上である。いくつかの実施例では、展開状態でハウジング522は直径寸法(「d」)を有し、アンカー526は直径寸法 (「D」)を有し、D対dの割合は少なくとも約3.5である。他の実施例では、D対dの割合は少なくとも約4.4で、さらに好ましくは少なくとも約7、そしてより好ましくは少なくとも約8.8である。しかしこれらは単に例であり、その他のより大きいあるいは小さいアンカー526はより大きいあるいは小さいハウジング522の中に配置される。さらに、都合のよい数のアンカー526がハウジング522の中に配置される。例えばある実施例では、ハウジング522は約1から20のアンカー526、さらに好ましくは約3から10のアンカー526を持つ。その他の実施例では、より多い数のアンカー526を持つ。
アンカー接触部材530および引張コード532は適切な構成を有し、いかなる材料または材料のいかなる組み合わせで製造される。代替の実施例では、接触部材530は押し部材によって押され、アンカー526に接触してアンカー526が展開する。あるいは、前述したいかなるアンカー展開装置および方法も使用される。
図9Bで示される係留紐534は、既に上述されたいかなる係留紐534または係留紐のような装置、あるいはその他の適切な装置で構成される。係留紐534は一般的に、付着点536にある最末端のアンカー526に取り付けられる。取り付け自体は、結び、溶接、接着剤またはその他の適切な取り付け手段によって行われる。そして、係留紐234は、アンカー526とスライド可能なように連結するよう、各アンカー526上にある小穴、輪またはその他の同様な構成物を通って延在する。示される実施例では、係留紐534は各開口528を抜け出てから、次に最も近い開口に挿入し、アンカー526の輪をスライド可能なように通り、同じ開口528を抜け出る。係留紐534が各開口528に挿入したり抜け出たりすることによって、複数のアンカー526は組織で展開し、しっかりつかむ。ハウジング522、アンカー526および係留紐534のその他の構成も代替として使用される。例えば、ハウジング522は係留紐534が通る縦のスリットを含み、そのため展開する前に係留紐534がハウジングの中で完全に存在できるようになる。
拡張可能部材524はアンカー送達装置520のオプション機能なので、それを含む実施例と含まない実施例がある。すなわち、アンカー送達装置520の遠位部はハウジング、ハウジングの内容物、取り付けられた拡張可能部材付きのその他の機能または付いていない機能を含む。拡張可能部材524は現在知られている、または将来出てくる適切な拡張可能部材で構成され、拡張可能部材524を拡張するためにいかなる方法および材料も使用される。通常、拡張可能部材524はハウジング522の表面に連結され、ハウジング522より大きい半径を有し、ハウジング522が弁輪に接近したり接触したりして拡張する際、拡張可能部材524がハウジング522を押して、弁輪とさらに強く接触させるように構成される。例えば拡張可能部材524は、左心室壁および僧帽弁弁尖で成形された角の付近にある空間内で拡張するよう構成される。
図10Aから10Fを参照すると、心臓内で複数の係留アンカー526を弁輪VAに適用する方法を示す。図10Aで示されるように、アンカー送達装置520はまず、開口部528を位置付けてアンカー526が弁輪へ展開するよう弁輪VAに接触する。当該の位置付けは、適切な方法で行うことができる。例えば、ある実施例では、楕円形の断面形状を有するハウジング522が開口部528を位置付けるために使用される場合がる。説明のように、ハウジング522と弁輪VAとの間での接触は、拡張可能部材524を拡張することによって強化され、弁輪に隣接する角の中にあるハウジングを押し込む。
一般的に、送達装置520は適切な前進方法あるいは装置交換方法によって弁を治療するための適切な位置へ前進する。例えば、血管内の手術を行うための多くのカテーテルをベースにした低侵襲装置および方法は有名で、そのような装置および方法、そして後に改善されるその他の装置または方法によって、目的とする位置に送達装置520を前進または配置するために使用される。例えばある実施例では、可動型ガイドカテーテルはまず、通常、大腿動脈からの接近手段で逆行性に大動脈を通って前進する。可動型カテーテルは心臓の左心室に入り、左心室の僧帽弁弁尖、心室壁および腱索によって形成される空間に入る。この空間に入ると、可動型カテーテルは僧帽弁の外周の一部(または全部)に沿って簡単に前進する。鞘のような覆いは、弁尖の下にある空間の中で可動型カテーテルを越えて前進し、可動型カテーテルは鞘のような覆いを通って取り外される。そして、アンカー送達装置520は鞘のような覆いを通り空間の中の目的とした位置へ前進し、鞘のような覆いは取り外される。場合によっては、送達装置520に連結された拡張可能部材が拡張し、弁輪との接触を強化するために左心室壁と弁尖で形成された角へ送達装置を520押し込み、そうでなければ移動させる。もちろん、これは単に送達装置520を弁の治療をするための位置に前進させる方法の一例であり、その他の適切な方法、装置の組み合わせなどが使用される。
図10Bで示されるように、アンカー526を展開することを目的とした位置に送達装置520が位置付けられる際、アンカー接触部材530は最末端のアンカー526に接触して力をかけるために引き込まれ、開口528を通って弁輪VAの組織へアンカー526を展開し始める。図10Cはアンカー526が開口528から弁輪 VAへさらに展開していることを示す。図10Dはアンカー526のさらなる展開が見えるように弁輪VAを透過的に示す。示されるように、本発明のある実施例では、アンカー526は、ハウジング522からの解放時および弁輪VAに接触する際に反対方向へ動く2つの尖った先端を含む。2つの尖った先端の間でアンカー526は輪になり、または係留紐534とのスライド可能な連結を可能にするためのその他の適切な小穴あるいは装置を有する。
図10Eを参照すると、アンカー526は円または半円を形成するために屈曲した各アンカー526の各鋭いリップ(または「アーム」)とともに、完全展開形状またはほとんど展開した形状に見える。もちろん多くの実施例では、上記でさらに十分に説明したように、アンカー526はその他の適切な展開形状および非展開形状を有する。図10Fは弁輪VAへ展開し係留紐534に連結したアンカー526を示し、最末端のアンカー526が付着点536にある係留紐524に固定されるように連結され取り付けられている。この段階では、係留紐534が弁輪を締め付けるためにしっかり締められるので、弁逆流が軽減している。いくつかの実施例では、弁の機能は心エコー図および/または蛍光透視などの手段でモニターされ、係留紐534は締められ、緩められ、使用された可視化技術でわかる好ましい程度の締め付けを得るために調整される。好ましい程度の締め付けが得られたら、係留紐534は最も近いアンカー526(または2つあるいはそれ以上の最も近いアンカー526)に適切な方法で取り付けられてから、最も近いアンカー526の近位で切られ、そして、しっかり締められた係留アンカー526を弁輪VAに沿った位置に寄り掛からせる。係留紐534の最も近いアンカー526への取り付けは、接着剤、節止め、圧着、結び、またはその他の方法で行われ、また、係留紐534の切断はハウジング522に連結された切断部材などのいかなる方法でも行われる。
ある実施例では、係留紐534をしっかり締めること、係留紐534の最も近いアンカー526への取り付け、および係留紐534の切断は終了装置(図示せず)を使用して行われる。例えば、終了装置は切断部材およびニチノールナットまたは係留紐534を最も近いアンカーへ取り付けるためのその他の取付部材を含む係留紐534を超えて前進可能なカテーテルで構成される。終了カテーテルは、係留アンカー526の近位端あるいはその付近にある位置へ係留紐534を超えて前進する。そして、係留紐534がしっかり締められる間、最も近いアンカー526へ反対の力をかけるために使用される場合がある。そして、取り付けおよび切断部材は、最も近いアンカー526に係留紐534を取り付けるために使用され、最も近いアンカー526のちょうど近位で係留紐534を切断するために使用される。そのような終了装置は締め付け、取り付け切断を行うための可能な方法の1つであり、その他の適切な装置(あるいは方法)も使用される。
いくつかの実施例では、一番目のアンカー526を弁輪VAの一番目の部分に沿って展開し、弁輪のその部分を締め付けるために一番目のアンカーをしっかりつかみ、送達装置520を弁輪の他の部分に移動させ、2番目のアンカー526を弁輪の2番目の部分に沿って展開・しっかりつかむことが有利な場合がある。場合によっては、そのような方法は、送達装置520を弁輪の全外周あるいは外周のほとんどに延在させるよりも便利で、使用するハウジング522はより短く、操縦しやすくなる。
図10Aから10Fで示される実施例と同様の実施例では、類似している方法が使用されるが、アンカー526は送達装置520に取り付けられた生体適合性材料を通して送達装置520から押し出され、その結果、生体適合性材料が弁輪VAに取り付けられる。例えばある実施例では、ダクロン製ストリップは送達装置520に取り付けられ、装置520に沿って延在し、開口528を覆う。そして、アンカー526はダクロン製ストリップを通って送達装置520から弁輪VAへと押し出されるので、ダクロン製ストリップは装置520から離され、弁輪VAに取り付けられる。そのような生体適合性材料はアンカー526の組織成長を促進し、通常、弁輪VAへの取り付けを強化する場合がある。代替の実施例では、各開口528の上に配置された別々の材料など、複数の生体適合性材料が使用される場合がある。例えばある実施例では、ダクロン材料の複数の円板が複数の開口528の上に配置される。
他の実施例では、送達装置520の遠位部は送達装置520の近位部から分離可能である。そのような実施例は、アンカー526が装置520から展開される際、装置520の遠位部は近位部から離れ、アンカー526によって弁輪VAへ取り付けられるように構成される。例えばある実施例では、アンカー526は開口528を通って装置520から抜け出るのではなく、装置520の遠位部を貫通する。遠位部はせん孔または同等のものなどの適切な手段によって分離可能となる。
図11を参照すると、心臓Hの断面描写が示され、アンカー送達装置ガイド カテーテル550が大動脈Aを通り左心室LVへ前進している。好ましい実施例では、弁輪下部スペースおよび弁輪へのこの接近手段経路が使用される場合がある。ガイドカテーテル550は一般的に、柔軟性のある細長いカテーテルで、弁輪下部スペース552でのカテーテル550の遠位端の交換を容易にするために、その遠位端に向けて1つ以上の湾曲部または屈曲を有する。上記で詳しく上述した弁輪下部スペース552は一般的に、左心室壁、僧帽弁弁尖MVLおよび腱索によって輪郭が示され、弁輪の全外周または外周のほとんどに沿って移動する。ガイドカテーテル550の遠位端は、次のカテーテル装置がガイドカテーテル550から空間552へと通るように、開口部から空間552または空間552の中へ位置付けられるよう構成される。いくつかの実施例では、弁輪の半径より大きい拡張した屈曲した状態での半径を有する屈曲可能な部分をガイドカテーテル550に与えることが有利である。例えばある実施例では、拡張した状態でのガイドカテーテル550は、弁輪より約25%から50%大きい半径を有する。
図11Aを参照すると、ガイドカテーテル550の遠位部が示され、アンカー送達装置558はそれを通ってその遠位端から延在している。示されるように、ある実施例では、ガイドカテーテル550は少なくとも1つの屈曲551または湾曲を含み、アンカー送達装置558は少なくとも1つのガイドカテーテル550の屈曲551とほぼ同じ曲率半径を有する対応する屈曲553を含むためにあらかじめ形成される。いくつかの実施例では(図示せず)、ガイドカテーテル550は複数の屈曲551を有し、アンカー送達装置558は複数の対応する屈曲553を有する。示される実施例では、アンカー送達装置558はガイドカテーテル550の屈曲551に対応する近位の屈曲553および遠位の屈曲555を含む。近位の屈曲553の曲率半径とガイドカテーテルの屈曲551を一致させることによって、1つ以上のアンカー送達開口557が弁輪(図示せず)に接触するようにアンカー送達装置558の遠位部は自動的に方向付けられる(ガイドカテーテル550を通って前進する際)。さらに、遠位の屈曲555は、弁輪の曲率半径にほぼ一致する曲率半径を有する。あるいは、遠位の屈曲555は、アンカー送達装置558の遠位部が半径方向に外側に向かって押される傾向となり、その結果として装置558の弁輪の組織との接触が強化されるよう、弁輪の曲率半径より大きい曲率半径を有する。湾曲のそのような大きい半径について、下記でさらに詳しく説明する。したがって、近位の屈曲553および遠位の屈曲555はお互いに対して、およびアンカー送達装置558のさらに近い部分に対して適切な角度を有する。いくつかの実施例では、また、アンカー送達装置558は可動型である。
次に図11Bを参照すると、直前の実施例および/または別の実施例において、アンカー送達装置588、およびガイドカテーテル590は、それらに沿って他の位置に1つ以上の対応する(あるいは「位置合わせ」)屈曲、あるいは方位付け部分592a、592bを含むことができる。すなわち、屈曲551、553、555は、図11Aにおいて、ガイドカテーテル550およびアンカー送達装置558の遠位端、またはその付近に示してあるが、類似の屈曲を、より近位置で形成する可能性がある。例えば、図11Bは、緩めた時に選ばれた形状を持つ方位付け部分592aの付いたガイドカテーテル590を示している。その選ばれた形状は、二次元または三次元の軌道に沿うことができる。アンカー送達装置588は、それに沿って、方位付け部分592aの形状と相補的な、対応する方位付け部分592bを有する。選ばれた形状はまた、エネルギー、機械的な操作などを利用して作ることもできる。そのような方位付け部分592a、592bは、送達装置588を望ましい方向に位置合わせあるいは方位付けするために利用する可能性がある。一般的に、方位付け部分592a、592bが軸方向に並んでいる場合、患者の体外で、ガイドカテーテル590およびアンカー送達装置588の近位端にある方位目印によって示すことができるが、適切な回転方向は、アンカー送達装置588の遠位端が確実に正しく方位付けするのを助けるために、医師によって手探りで知覚できる。送達装置588は、望ましい方向を得るために、ガイドカテーテル590内で、任意の適切な状態に回転、前進、または移動することができる。1つ以上の相補的な方位付け部分592x、592bが、ガイドカテーテルおよびアンカー送達装置の多数のさまざまな実施例を用いて使用できる。
多くの場合、また今度は図12A‐12Dを参照すると、装置653を弁輪組織に対して支持するため、および/またはその組織との接触を向上させ、その組織に送達を固定するために装置658を弁輪組織に対して押し付けるために、アンカー送達装置658にさらに支持を与えると有利である場合がある。一実施例において、図12Aに示す通り、螺旋状支持部材652アンカー送達装置658の遠位端に連結することができ、心臓壁651と接触し、よってアンカー送達装置658を弁輪組織に対して支持するため、左心室(あるいは他の実施例においては他の心腔)の中まで延在することができる。代替の実施例において、螺旋状支持部材651は、心臓壁651と接触し、アンカー送達装置658を支持するために、ガイドカテーテル650の外に延在することができる。適切な任意の手段が、左室またはその他の心室に螺旋状部材652を延在するために使用できる。例えば螺旋状部材652は、一実施例においてガイドカテーテル650の外へ押し出されるが、その代わりにアンカー送達装置658の外へ延在することもできる。螺旋状部材652は、ニチノール、ステンレススチールなどの任意の適切な材料から作ることができるが、これに限定されない。
代替の実施例において、図12Bに描かれている通り、展開可能なU型支持部材662は、アンカー送達装置668の遠位部に可動的に連結でき、その両方はガイドカテーテル660を通じて前進できる。ガイドカテーテル660の遠位端外に前進させると、U型部材662は自動的に広がる、あるいはその代わりに、心臓壁の内表面に接触するため、および/または乳頭筋663に接触するために、外側に延在するよう手動で操作することができる。図12Bに示す通り、一実施例においてU型部材663は乳頭筋663と心臓壁の交差部分に接触し、よってアンカー送達装置668に上方向の支持(先端塗りつぶし矢印)を提供する。この場合もやはり、そのようなU型部材662は、例えば部材662が、ニチノールやバネステンレススチール、または他の形状記憶あるいは超伸縮材料から作られている場合、ガイドカテーテル660を通じて送達するため、直線構造からU型構造に自動的に変形することができる。または、U型部材662はアンカー送達装置668の遠位端、あるいはその付近に接続できる、あるいはU型部材662をU型に拡張させるために遠位に押しやることができる。代替の実施例において、U型部材662は近位に取り付けることができ、その拡張構造に引っ張ることができる。U型部材662の形状を直線からU型に変えるために、さまざまな実施例で適切な任意の方法が使用できる。
図12Cに示す通り、U型部材662は、場合によっては膨らませることのできるバルーンのような、拡張可能部材667を含むことができる。拡張可能部材667は、前記弁輪組織との接触を向上させるために、アンカー送達装置668に対してさらに力、および支持を供給するために拡張することができる。別の実施例において、図12Dに示す通り、心臓壁の内表面(先端塗りつぶし矢印)に対して力を提供し、よってアンカー送達装置678を弁輪組織(先端白抜き矢印)に対して支持するために、複数のバネ部材672をアンカー送達装置678の遠位端に連結できる。従って、本発明のさまざまな実施例には、弁輪組織に対するアンカー送達装置の支持を向上させ、よって前記送達装置が組織アンカーを弁倫に送達する能力を向上させるために、多数の適切な支持装置を含むことができる。
今度は図13A−13Cを参照すると、いくつかの実施例において、末端組織アンカー710の弁輪組織VAへの取付を向上させる1つ以上の装置を提供すると有利な場合がある。一般的に、組織アンカーを弁輪組織VAに取り付けるには、まず係留されたアンカー(図示せず)が取り付けられた後、次のアンカーが取り付けられ、最終あるいは末端アンカー710で終了する。その後係留紐718を引き締め、取り付けられたアンカー間に力を加え(白抜き矢印)、よって弁輪VAを引き締める。係留紐718は、一般的にはその後、末端アンカー710に適切な任意の手段で取り付けられ、そして切断される、またはそうでなければ引き締められ、係留されたアンカーを所定の位置に、弁輪VAに取り付けたままにして、末端アンカー710の近接に取り外される。末端アンカー710に置かれた張力をいくらか和らげるため、および/またはさらに係留されたアンカーの終端に取付アンカー力を提供するために、1つ以上の施錠部材714を、終端、またはその付近で展開することができる。例えば、一実施例において施錠部材714は係留紐718上にスライド可能なように配置されたシリンダーを含み、そのシリンダーの一端からはプロング712が伸びている。施錠部材714は、停止カテーテル、ガイドカテーテルなど(図示せず)の遠位端から展開し、そして係留紐718に沿って、プロング712が弁輪組織VAと接触し、中に入るようにスライドする。一実施例において、係留紐718上にスライド可能なように配置されたボールのような押し込み部材716は、図13Bに先端塗りつぶし矢印で指定されている通り、施錠部材714を前に押しやり、組織にはめ込むために使用できる。いくつかの実施例において、施錠部材714は、図13Bおよび13Cに示す通り末端アンカー710とかみあっているが、そのようなかみ合わせは必要とされてはいない。一旦施錠部材714が弁組織VAと完全にかみ合うと、係留紐718は施錠部材714に近位で切断される。いくつかの実施例において、押し込み部材716は所定の位置に残るが、別の実施例では、係留紐718の切断の前に取り除くことができる。
さまざまな実施例において、施錠部材に多数の異なる変化を与えることが考えられる。例えば、二又の部材が使用でき、そのプロングは送達位置から拡張構造へ展開でき、またそのプロングは場合によっては末端アンカー710とかみ合う。別の実施例において、複数のプロングは、例えば熊手のような構造で、施錠部材に沿って直線的に並ばせることもできる。また別の実施例は、末端アンカー710とかみ合う2つのプロング、および弁輪組織VAとかみ合うもう一つのプロングを含む。従って、任意の多数の異なる実施例が、本発明の一部として利用できる。そのような施錠部材は、ニチノール、バネステンレススチールおよび/またはその他の形状記憶あるいは超伸縮材料のような、任意の適した材料、あるいはその組合せから組み立てることができる。
図14A−14Fは、アンカー送達装置を僧帽弁MVを治療するための位置へ前進させる方法を示している。僧帽弁弁尖MVLを含む僧帽弁MVは、下から上を見るように図式的に表されており、装置を環状空間下部552に送達する方法を表している。図14Aでは、図11と同様第一ガイドカテーテル550は、環状空間下部552まで、あるいはその中に拡張していくよう示されている。図14Bに示す通り、1つの方法では、第二ガイドカテーテル554は、第一ガイドカテーテル550を介し、環状空間下部554を通じて/沿って通過するように前進させることができる。この第二ガイドカテーテル554は、一実施例において舵がきき、以下で述べる通り第二ガイドカテーテル554が環状空間下部552に適合するのを助ける。
次に図14Cの通り、ガイド鞘556は第二ガイドカテーテル554を超えて通過し、環状空間下部に沿って延在することができる。鞘556は一般的に、ガイドカテーテル554を超えて第一ガイドカテーテル550内を通過できる、柔軟性のある管状部材である。通過および交換を向上させるために、これらおよびその他で記載の任意のカテーテル部材、鞘部材、または同等のものが、1つ以上の摩擦耐性のある材料から製造、および/またはそういった材料で覆われることができる。一旦鞘556が所定の位置に来ると、第二ガイドカテーテル554は図14Dに示す通り、後退してよい。図14Eに示す通り、その後アンカー送達装置558は、鞘556を通じて、僧帽弁MVを治療する位置へ前進させることができる。そして鞘556は、図14Fの通り、アンカー送達装置558を治療を行うための位置に残して、後退させることができる。弁輪の治療が行われ、広範囲に渡り上述した通り、アンカー送達装置558を後退させることができる。いくつかの実施例において、アンカー送達装置558は弁輪の一部分の治療に使用され、その後別の部分、一般的には反対側に移動し、弁輪の他の部分を治療する。そのような実施例において、今述べた1つ以上の任意の段階を繰り返すことができる。いくつかの実施例において、アンカー送達装置558は第一ガイドカテーテル550を通じて後退し、今度は第一ガイドカテーテル550が後退する。代替の実施例において、第一ガイドカテーテル550は、アンカー送達装置558の前に後退させることもできる。
さまざまな実施例において、アンカー送達装置558を前記弁輪と接触させるために、代替の手段を使用することもできる。例えば、一実施例において、拡張可能部材をアンカー送達装置558に連結させ、環状空間下部552内で拡張させる。代替の実施例において、アンカー送達装置558に磁石を連結させることもでき、また別のアンカーを最初の磁石の近位の、冠状静脈洞内に配置することもできる。2つの磁石が互いに引きつけ合い、それにより、アンカー送達装置558を弁輪により強く接触させる。別の実施例において、延在(あるいは展開)状態のアンカー送達装置558は僧帽弁輪の曲率半径より大きい曲率半径を持つことができ、従って装置558は弁輪に対して働き掛けるようになる。一実施例において、例えば、延在/展開状態の装置558の曲率半径は、僧帽弁輪の曲率半径より約25%−50%大きい。
さまざまな実施例はまた、アンカー送達装置558に連結された、あるいは装置558と分離した可視化部材を用いて弁輪を可視化することを含むことができる。いくつかの実施例において、アンカーは、アンカー送達装置558に連結された、しかし弁輪にアンカーを介して貼り付けるために取り外せる、ダクロンのような、取り外し可能な、生体適合性材料でできた細長い一片を通じて操作できる。いくつかの実施例において、前記一片は、弁輪を固定するために引き締めることができる。その他の実施例において、アンカーは、取り外し可能な、生体適合性のある、前記ガイド鞘556の遠位部を通じて動かすことができ、そしてガイド鞘556はアンカーを介して弁輪に取り付けられたままでよい。この場合もやはり、いくつかの実施例において、取り外された鞘は弁輪固定するために引き締めることができる。
もちろん、今述べた方法は、アンカー送達装置を弁輪を治療するための場所へ送達する方法の一実施例にすぎない。様々な代替の実施例において、同様の結果を得るために、1つ以上の段階を追加、削除、または修正することができる。いくつかの実施例において、上部/右心房の位置から僧帽弁を治療するため、あるいは他の心臓弁の治療に、同様の方法を使用できる。加えて、今述べたシステムのその他の装置または修正を、他の実施例で使用することができる。
図15Aおよび15Bを参照すると、舵がきくカテーテル装置560の一実施例が示されている。舵がきくカテーテル装置560は、図14A−14Fを参照して今述べたような方法に使用できる。例えば、第二ガイドカテーテル554で行ったものと同様な機能を行う際である。その他の実施例において、カテーテル装置560は、他の適切な任意の機能を行うことができる。示したとおり、カテーテル装置560は、適切に近位部562および遠位部564を持つ細長いカテーテル本体を含む。引張コードのような、しかにこれに限定されない、少なくとも一つの引張部材568が近位部562から遠位部564に伸び、遠位部564および近位部上の少なくとも一つの引張アクチュエータ570/572と連結される。引張アクチュエータ570/572は、張力を適用、また取り除くために、例えば引張部材568を包み、また包みを開くための取っ手570およびバレル572を含むことができる。引張部材568は、遠位部564と1つ以上の接続点580で連結される。いくつかの実施例において、カテーテル装置560は、近位ハウジング571、柄あるいは同等のものを含み、ハブ576あるいはその他の手段を介して、近位部562の近位端に連結される。ハウジング571は、引張アクチュエータ570/572と連結され、液体を注入する、あるいはその他の機能のために、1つ以上のアーム574を含むことができる。前記の実施例において、アーム574およびハウジング571は、カテーテル本体の液体管腔566と液体が伝達する管腔567を含む。装置560の可視化を向上させるために、例えばカテーテル装置560の遠位先端で対照材料を与えるために、手順中に、液体管腔566を通過して、アーム574を通じて、液体を導入することができる。他の任意の適切な単数または複数の液体は、その他の任意の目的のために管腔567/566を通過させることができる。別の管腔578は、遠位部564に含まれ、それを通じ、引張部材568が、遠位部564に沿って遠位置に取り付ける前に通過する。
図15Bは、取っ手570およびバレル572を介して、引張部材568に張力を適用することにより、遠位部564に張力が適用された後の、変形/屈曲構造のカテーテル装置560を示している。遠位部564の屈曲により、弁輪により容易に適合する一方、直線構造のカテーテル装置560は、患者の脈管構造を通じて通過するために、より従順であろう。引張部材568は、ニチノール、ポリエステル、ナイロン、ポリプロピレンおよび/またはその他のポリマーのような、しかしそれに限定されない、任意の適切な材料またはその組合せから製造される。いくつかの実施例は、遠位部564の形状を複数の方向に変更するために、2つ以上の引張部材56Rおよび/または2つ以上の引張アクチュエータ570/572を含むことができる。代替の実施例において、取っ手570およびバレル572は、プルコード、ボタン、レバー、あるいは他のアクチュエータのような、適切な任意の装置で代用できる。また、多様な代替物がさまざまな実施例において、引張部材568に代用できる。例えば、拡張可能部材、形状記憶部材、および/または同等のものが、遠位部564の形状を変更するために使用できる。
概して、カテーテル本体の近位部562は、遠位部564ほど柔軟ではない。近位部562は、PEBAX、FEP、ナイロン、ポリエチレン、および/または同等のものといった適切な任意の材料から作られ、剛性および強度を提供するために、ステンレススチールのような網状の材料を含むことができる。遠位部564は、類似のまたはその他の材料で作ることができるが、より柔軟性を提供するために、一般的には網状の材料は含まれない。近位部および遠位部562/564の両方は、適切な任意の長さ、直径、全体の構造などを持つことができる。一実施例において、前記カテーテル本体は、長さが約140cmで、直径が6フレンチであるが、他の実施例では、その他の適切な任意のサイズを使用することができる。近位部562あるいは遠位部564のどちらか、あるいは好ましくは両方が、装置560の導入カテーテルの通過を向上させる、および/または鞘、あるいはその他の装置のカテーテル装置560の通過を向上させるために、1つ以上の摩擦耐性のある材料、または減摩剤で作る、あるいは覆うことができる。
図16A−16Eを参照すると、本発明の別の側面には、アンカーの弁輪組織への取付を向上させるために、改善された組織アンカーが含まれる。そのような改善されたアンカーには、一般的にアンカーが引き締められた係留紐からの張力下に置かれる場合、アンカーが組織から引き抜かれるのを防ぐのを助ける、および/またはさらに取付を向上させるために、アンカーの組織成長を向上させるのを助ける、1つ以上の特徴が含まれる。一実施例において、図16Aに示す通り、組織アンカー810は、外向きに面したフック812、あるいはアンカー810の2つのアームの両端に屈曲を含む。別の実施例において、図16Bの通り、組織アンカー820は内向きに面したフック822を含む。関連する実施例において、図16Dに示す通り、組織アンカー840は、複数の屈曲842を含む。これらの実施例のいずれにおいても、フック812、822、または屈曲842は、アンカー810、820、840の組織への取付を向上させ、従ってアンカーの引き抜きを防ぐことが分かった。別の実施例において、図16Cに示す通り、組織アンカー830の2つのアームは、取付点832に取り付けられる。取付点832は、はんだ付け、あるいは同等のものといった適切な任意の技術によって形成することができる。別の実施例において、図16Eの通り、ベルト852は、アンカーの2つのアームを一緒に保持するために、組織アンカー850上に配置することができる。図16Cおよび16Eに示した実施例のいずれにおいても、アンカーの2つのアームを一緒に保持することで、アンカー830、850の組織からの引き抜きが減少することが分かった。
今述べた実施例、あるいは代替の実施例において、組織アンカーはまた、アンカーの細胞内への成長および/または封入を向上させるためにデザインされた1つ以上の特徴を有することができる。そのような特徴には、例えば塗面、多孔性の表面、および/または粗面、ポリエステルのバンドまたはベルトのような取付部分、あるいはその他の適切な任意の表面特徴、あるいは追加特徴を含むことができる。組織アンカーの封入を促進することにより、アンカーの組織への取付強度が向上する。
今度は図17A−17Cを参照すると、多くの実施例において、自己形成アンカー900は、図17Aに示す通り、送達装置に直線構造で、係留紐902に連結されて、保存される。基本的にアンカー900は、それらの自然な構造では湾曲しているが、直線構造に保持、あるいは抑制される。従って、直線にされたアンカー900が前記送達装置から組織Tに解放されると、アンカー900は図17Bに示す通り、直線にされた状態で潜在的にエネルギーが保存され、またアンカー900のそれぞれのアーム901が、図解の通りアームの先端を組織内に動かす傾向性のため、それ自身を組織T内に引き込む。アーム901は接点903で交わる。それぞれのアーム901は、もう一方のアームに支えられ、各アーム901上に組織Tによって加えられた力は、もう一方のアーム901に対抗し、ここで前記アームは、互いに交わる。これにより、ホチキスなどを使用する際に必要な、アンカーを操作する装置の必要性がなくなり、従って、アセンブリや方法が大幅に簡素化できる。加えて、またアーム901を互いに支えあうことで、組織のたわみに関連する問題を減らす、あるいは解消するのに役立つ。図17Bの先端白抜き矢印で示す通り、前記アンカー900は、その自然の湾曲した形状をとり、垂直、水平、また湾曲した方向に力を加えるため、それ自身を組織Tに引き込む。最後に、組織内に自身を引き込み、自然な形状をとった後、図17Cの通り、アンカー900は組織Tに埋め込まれる。
代替の実施例において、図18に示す通り、アンカー910は、1つの湾曲したアームと1つの真っ直ぐなアームを持つこともできる。そのようなアンカー910は、やはりそれ自身を組織Tに引き込むであろうし、それによってそれ自身を埋め込み、係留紐912を組織Tと同一平面上に位置する。
今度は図19Aを参照すると、弁輪アンカー装置のいくつかの実施例は、アンカー922、係留紐924、係留紐924に連結された遠位で力を加える部材927、停止部材926、そして係留紐924上および近接したアンカー922間に配置された1つ以上の力を分配するスリーブ420を含むことができる。一実施例において、示す通り、個別のスリーブ920を、2つの近接するアンカー922aと922bの間に配置することもできる。場合によっては追加のスリーブ920を、アンカー922bや922cのような、別の1組の2つのアンカーの間に配置することもできる。図19Aでは、簡素化するために3つのアンカー922のみを示してあるが、アンカー間の任意の数のアンカー922およびスリーブ920を、さまざまな実施例で使用することができる。スリーブ920は、2つの近接するアンカー922の間に加えられた力を分配するために働き、係留紐924に力が加えられた際、そのようなアンカー922が組織から引き抜かれるのを防ぐのを助ける。スリーブ922は、金属のような、しかしそれに限定されない、ニチノール、ポリマー、繊維や同等のもののような、適切な任意の材料から作ることができる。スリーブ922は、中身のつまった円筒形の部材であってもよいし、あるいは代わって、ステントのように、切り抜きのある形態でもよく、あるいはうねのある、織られた、網状の、多孔性、非多孔性あるいはその他の適切な任意の材料、形態、構造あるいは同等のもので作ることもできる。スリーブ920は基本的に硬く、軸方向には非圧縮性を持ってもよいが、他の実施例においては、軸方向に圧縮できてもよい。一実施例において、スリーブ920は、係留紐924はスリーブ922によって取り囲まれないように、2つの輪からなり、近接する2つのアンカー922を配置し、前記輪は棒あるいはシャフトで接続されることもできる。
今度は図19Bを参照すると、代替の実施例において、スリーブ930は1つ以上のアンカー932間に伸びるよう、係留紐934上に位置することができる。そのようなスリーブ930は、従って、アンカーが組織から引き抜かれるのを防ぐのを助けるために、停止部材936と力を加える部材937との間に加えられた力を分配することができる。そのようなスリーブ930は、1つ以上の開口部を含むことができ、そこから1つ以上の中間アンカーが延長できる。この場合もやはり、スリーブ930は適切な、任意の構造、サイズ、形状あるいは同等のものを有することができ、適切な任意の材料あるいは材料の組み合わせから作ることができる。スリーブ930は、さまざまな実施例において、3つ、4つ、5つ、あるいは適切な任意の数のアンカー932間に延長できる。代替の実施例において、スリーブ930は、1つ以上のアンカー932により貫通され、よって弁輪組織に取り付けられる。
前述は本発明の完全で正確な説明であるが、上記の説明は、例を示す目的のために提供されているだけであり、本発明の適用範囲から外れることなく、述べた実施例に変化を与えることができる。従って、上記の説明は、添付の請求項で述べている通り、本発明の適用範囲を制限するように理解されるべきではない。

Claims (1)

  1. 本明細書中に記載される装置。
JP2009197009A 2003-09-04 2009-08-27 心臓弁修復のための送達装置および方法 Expired - Lifetime JP5318710B2 (ja)

Applications Claiming Priority (20)

Application Number Priority Date Filing Date Title
US10/656,797 US7753922B2 (en) 2003-09-04 2003-09-04 Devices and methods for cardiac annulus stabilization and treatment
US10/656,797 2003-09-04
US52492203P 2003-11-24 2003-11-24
US60/524,922 2003-11-24
US10/741,130 2003-12-19
US10/741,130 US8287555B2 (en) 2003-02-06 2003-12-19 Devices and methods for heart valve repair
US10/792,681 2004-03-02
US10/792,681 US20040243227A1 (en) 2002-06-13 2004-03-02 Delivery devices and methods for heart valve repair
US10/901,555 2004-07-27
US10/900,980 2004-07-27
US10/901,554 2004-07-27
US10/901,554 US9226825B2 (en) 2002-06-13 2004-07-27 Delivery devices and methods for heart valve repair
US10/901,019 2004-07-27
US10/901,455 US7753858B2 (en) 2002-06-13 2004-07-27 Delivery devices and methods for heart valve repair
US10/901,444 2004-07-27
US10/901,455 2004-07-27
US10/901,444 US7753924B2 (en) 2003-09-04 2004-07-27 Delivery devices and methods for heart valve repair
US10/901,019 US7758637B2 (en) 2003-02-06 2004-07-27 Delivery devices and methods for heart valve repair
US10/901,555 US7666193B2 (en) 2002-06-13 2004-07-27 Delivery devices and methods for heart valve repair
US10/900,980 US20050107811A1 (en) 2002-06-13 2004-07-27 Delivery devices and methods for heart valve repair

Related Parent Applications (1)

Application Number Title Priority Date Filing Date
JP2006525413A Division JP2007514455A (ja) 2003-09-04 2004-09-01 心臓弁修復のための送達装置および方法

Related Child Applications (1)

Application Number Title Priority Date Filing Date
JP2011280284A Division JP2012101094A (ja) 2003-09-04 2011-12-21 心臓弁修復のための送達装置および方法

Publications (2)

Publication Number Publication Date
JP2010005422A true JP2010005422A (ja) 2010-01-14
JP5318710B2 JP5318710B2 (ja) 2013-10-16

Family

ID=34317879

Family Applications (2)

Application Number Title Priority Date Filing Date
JP2006525413A Pending JP2007514455A (ja) 2003-09-04 2004-09-01 心臓弁修復のための送達装置および方法
JP2009197009A Expired - Lifetime JP5318710B2 (ja) 2003-09-04 2009-08-27 心臓弁修復のための送達装置および方法

Family Applications Before (1)

Application Number Title Priority Date Filing Date
JP2006525413A Pending JP2007514455A (ja) 2003-09-04 2004-09-01 心臓弁修復のための送達装置および方法

Country Status (9)

Country Link
US (5) US20050107811A1 (ja)
EP (4) EP2377469B1 (ja)
JP (2) JP2007514455A (ja)
AT (1) ATE506014T1 (ja)
AU (2) AU2004271987B2 (ja)
CA (1) CA2536412C (ja)
DE (1) DE602004032362D1 (ja)
IL (1) IL173685A0 (ja)
WO (1) WO2005025644A2 (ja)

Cited By (1)

* Cited by examiner, † Cited by third party
Publication number Priority date Publication date Assignee Title
JP2022538842A (ja) * 2019-06-28 2022-09-06 ボストン サイエンティフィック サイムド,インコーポレイテッド 弁輪形成術のための手動内部ガイドワイヤナビゲーション

Families Citing this family (487)

* Cited by examiner, † Cited by third party
Publication number Priority date Publication date Assignee Title
US6332893B1 (en) 1997-12-17 2001-12-25 Myocor, Inc. Valve to myocardium tension members device and method
US6626899B2 (en) 1999-06-25 2003-09-30 Nidus Medical, Llc Apparatus and methods for treating tissue
US6440164B1 (en) 1999-10-21 2002-08-27 Scimed Life Systems, Inc. Implantable prosthetic valve
US6723038B1 (en) 2000-10-06 2004-04-20 Myocor, Inc. Methods and devices for improving mitral valve function
US6602286B1 (en) 2000-10-26 2003-08-05 Ernst Peter Strecker Implantable valve system
US8202315B2 (en) 2001-04-24 2012-06-19 Mitralign, Inc. Catheter-based annuloplasty using ventricularly positioned catheter
US6764510B2 (en) 2002-01-09 2004-07-20 Myocor, Inc. Devices and methods for heart valve treatment
DE60207893T2 (de) 2002-03-14 2006-08-17 Yeung, Teresa T., San Jose Nahtanker und adaptationsvorrichtung
US6752828B2 (en) 2002-04-03 2004-06-22 Scimed Life Systems, Inc. Artificial valve
US7007698B2 (en) * 2002-04-03 2006-03-07 Boston Scientific Corporation Body lumen closure
US9949829B2 (en) 2002-06-13 2018-04-24 Ancora Heart, Inc. Delivery devices and methods for heart valve repair
US7758637B2 (en) 2003-02-06 2010-07-20 Guided Delivery Systems, Inc. Delivery devices and methods for heart valve repair
US8287555B2 (en) 2003-02-06 2012-10-16 Guided Delivery Systems, Inc. Devices and methods for heart valve repair
US20060122633A1 (en) 2002-06-13 2006-06-08 John To Methods and devices for termination
US20050216078A1 (en) * 2002-06-13 2005-09-29 Guided Delivery Systems, Inc. Delivery devices and methods for heart valve repair
US7588582B2 (en) 2002-06-13 2009-09-15 Guided Delivery Systems Inc. Methods for remodeling cardiac tissue
US7883538B2 (en) 2002-06-13 2011-02-08 Guided Delivery Systems Inc. Methods and devices for termination
US20060241656A1 (en) * 2002-06-13 2006-10-26 Starksen Niel F Delivery devices and methods for heart valve repair
US8641727B2 (en) 2002-06-13 2014-02-04 Guided Delivery Systems, Inc. Devices and methods for heart valve repair
US7753922B2 (en) 2003-09-04 2010-07-13 Guided Delivery Systems, Inc. Devices and methods for cardiac annulus stabilization and treatment
US20040243227A1 (en) * 2002-06-13 2004-12-02 Guided Delivery Systems, Inc. Delivery devices and methods for heart valve repair
US7666193B2 (en) * 2002-06-13 2010-02-23 Guided Delivery Sytems, Inc. Delivery devices and methods for heart valve repair
AU2003245507A1 (en) 2002-06-13 2003-12-31 Guided Delivery Systems, Inc. Devices and methods for heart valve repair
US20050107811A1 (en) 2002-06-13 2005-05-19 Guided Delivery Systems, Inc. Delivery devices and methods for heart valve repair
US7753858B2 (en) * 2002-06-13 2010-07-13 Guided Delivery Systems, Inc. Delivery devices and methods for heart valve repair
US7175660B2 (en) 2002-08-29 2007-02-13 Mitralsolutions, Inc. Apparatus for implanting surgical devices for controlling the internal circumference of an anatomic orifice or lumen
US8758372B2 (en) 2002-08-29 2014-06-24 St. Jude Medical, Cardiology Division, Inc. Implantable devices for controlling the size and shape of an anatomical structure or lumen
CN1705462A (zh) 2002-10-21 2005-12-07 米特拉利根公司 利用局部皱襞实施导管瓣环成形术的方法和装置
US8979923B2 (en) * 2002-10-21 2015-03-17 Mitralign, Inc. Tissue fastening systems and methods utilizing magnetic guidance
AU2003285943B2 (en) * 2002-10-24 2008-08-21 Boston Scientific Limited Venous valve apparatus and method
US7247134B2 (en) 2002-11-12 2007-07-24 Myocor, Inc. Devices and methods for heart valve treatment
US7112219B2 (en) 2002-11-12 2006-09-26 Myocor, Inc. Devices and methods for heart valve treatment
US6945957B2 (en) 2002-12-30 2005-09-20 Scimed Life Systems, Inc. Valve treatment catheter and methods
EP1608272B1 (en) 2003-03-11 2017-01-25 Covidien LP Clip applying apparatus with angled jaw
US7840270B2 (en) * 2003-07-23 2010-11-23 Synapse Biomedical, Inc. System and method for conditioning a diaphragm of a patient
US7534204B2 (en) * 2003-09-03 2009-05-19 Guided Delivery Systems, Inc. Cardiac visualization devices and methods
US8128681B2 (en) 2003-12-19 2012-03-06 Boston Scientific Scimed, Inc. Venous valve apparatus, system, and method
US7854761B2 (en) * 2003-12-19 2010-12-21 Boston Scientific Scimed, Inc. Methods for venous valve replacement with a catheter
US20050273138A1 (en) * 2003-12-19 2005-12-08 Guided Delivery Systems, Inc. Devices and methods for anchoring tissue
US7431726B2 (en) 2003-12-23 2008-10-07 Mitralign, Inc. Tissue fastening systems and methods utilizing magnetic guidance
US8864822B2 (en) 2003-12-23 2014-10-21 Mitralign, Inc. Devices and methods for introducing elements into tissue
US7976539B2 (en) 2004-03-05 2011-07-12 Hansen Medical, Inc. System and method for denaturing and fixing collagenous tissue
US9713465B1 (en) 2004-04-19 2017-07-25 Granit Medical Innovation Llc Surgical closure device and associated method
US7833238B2 (en) * 2004-04-19 2010-11-16 Granit Medical Innovations, Llc Endoscopic anchoring device and associated method
US7962215B2 (en) 2004-07-23 2011-06-14 Synapse Biomedical, Inc. Ventilatory assist system and methods to improve respiratory function
US7566343B2 (en) 2004-09-02 2009-07-28 Boston Scientific Scimed, Inc. Cardiac valve, system, and method
US7637917B2 (en) 2004-10-08 2009-12-29 Tyco Healthcare Group Lp Endoscopic surgical clip applier
US9763668B2 (en) 2004-10-08 2017-09-19 Covidien Lp Endoscopic surgical clip applier
US8409222B2 (en) 2004-10-08 2013-04-02 Covidien Lp Endoscopic surgical clip applier
ES2616731T3 (es) 2004-10-08 2017-06-14 Covidien Lp Aparato para aplicar sujetadores quirúrgicos
US7819886B2 (en) 2004-10-08 2010-10-26 Tyco Healthcare Group Lp Endoscopic surgical clip applier
WO2006050459A2 (en) * 2004-10-28 2006-05-11 Cook Incorporated Methods and systems for modifying vascular valves
US7854755B2 (en) 2005-02-01 2010-12-21 Boston Scientific Scimed, Inc. Vascular catheter, system, and method
US20060173490A1 (en) * 2005-02-01 2006-08-03 Boston Scientific Scimed, Inc. Filter system and method
US7878966B2 (en) 2005-02-04 2011-02-01 Boston Scientific Scimed, Inc. Ventricular assist and support device
US7780722B2 (en) 2005-02-07 2010-08-24 Boston Scientific Scimed, Inc. Venous valve apparatus, system, and method
US7670368B2 (en) 2005-02-07 2010-03-02 Boston Scientific Scimed, Inc. Venous valve apparatus, system, and method
US7867274B2 (en) 2005-02-23 2011-01-11 Boston Scientific Scimed, Inc. Valve apparatus, system and method
WO2006097931A2 (en) 2005-03-17 2006-09-21 Valtech Cardio, Ltd. Mitral valve treatment techniques
AU2006230162B2 (en) 2005-03-25 2011-09-29 St. Jude Medical, Cardiology Division, Inc. Methods and apparatus for controlling the internal circumference of an anatomic orifice or lumen
US8864823B2 (en) 2005-03-25 2014-10-21 StJude Medical, Cardiology Division, Inc. Methods and apparatus for controlling the internal circumference of an anatomic orifice or lumen
US7722666B2 (en) 2005-04-15 2010-05-25 Boston Scientific Scimed, Inc. Valve apparatus, system and method
US20060241746A1 (en) * 2005-04-21 2006-10-26 Emanuel Shaoulian Magnetic implants and methods for reshaping tissue
US8333777B2 (en) 2005-04-22 2012-12-18 Benvenue Medical, Inc. Catheter-based tissue remodeling devices and methods
US20060247672A1 (en) * 2005-04-27 2006-11-02 Vidlund Robert M Devices and methods for pericardial access
US7896891B2 (en) 2005-05-20 2011-03-01 Neotract, Inc. Apparatus and method for manipulating or retracting tissue and anatomical structure
US9504461B2 (en) 2005-05-20 2016-11-29 Neotract, Inc. Anchor delivery system
US8333776B2 (en) 2005-05-20 2012-12-18 Neotract, Inc. Anchor delivery system
US8603106B2 (en) 2005-05-20 2013-12-10 Neotract, Inc. Integrated handle assembly for anchor delivery system
US8668705B2 (en) 2005-05-20 2014-03-11 Neotract, Inc. Latching anchor device
US7645286B2 (en) * 2005-05-20 2010-01-12 Neotract, Inc. Devices, systems and methods for retracting, lifting, compressing, supporting or repositioning tissues or anatomical structures
US8425535B2 (en) 2005-05-20 2013-04-23 Neotract, Inc. Multi-actuating trigger anchor delivery system
US10925587B2 (en) 2005-05-20 2021-02-23 Neotract, Inc. Anchor delivery system
US8216254B2 (en) 2005-05-20 2012-07-10 Neotract, Inc. Anchor delivery system with replaceable cartridge
US9364212B2 (en) 2005-05-20 2016-06-14 Neotract, Inc. Suture anchoring devices and methods for use
US8394113B2 (en) 2005-05-20 2013-03-12 Neotract, Inc. Coiled anchor device
US7909836B2 (en) * 2005-05-20 2011-03-22 Neotract, Inc. Multi-actuating trigger anchor delivery system
US7758594B2 (en) 2005-05-20 2010-07-20 Neotract, Inc. Devices, systems and methods for treating benign prostatic hyperplasia and other conditions
US8945152B2 (en) * 2005-05-20 2015-02-03 Neotract, Inc. Multi-actuating trigger anchor delivery system
US8834492B2 (en) 2005-05-20 2014-09-16 Neotract, Inc. Continuous indentation lateral lobe apparatus and method
US8157815B2 (en) * 2005-05-20 2012-04-17 Neotract, Inc. Integrated handle assembly for anchor delivery system
US10195014B2 (en) 2005-05-20 2019-02-05 Neotract, Inc. Devices, systems and methods for treating benign prostatic hyperplasia and other conditions
US8628542B2 (en) 2005-05-20 2014-01-14 Neotract, Inc. Median lobe destruction apparatus and method
US8491606B2 (en) 2005-05-20 2013-07-23 Neotract, Inc. Median lobe retraction apparatus and method
US9549739B2 (en) 2005-05-20 2017-01-24 Neotract, Inc. Devices, systems and methods for treating benign prostatic hyperplasia and other conditions
US8529584B2 (en) 2005-05-20 2013-09-10 Neotract, Inc. Median lobe band implant apparatus and method
US9149266B2 (en) 2005-05-20 2015-10-06 Neotract, Inc. Deforming anchor device
US8012198B2 (en) 2005-06-10 2011-09-06 Boston Scientific Scimed, Inc. Venous valve, system, and method
US8951285B2 (en) 2005-07-05 2015-02-10 Mitralign, Inc. Tissue anchor, anchoring system and methods of using the same
US20070027533A1 (en) * 2005-07-28 2007-02-01 Medtronic Vascular, Inc. Cardiac valve annulus restraining device
US8029535B2 (en) * 2005-08-05 2011-10-04 Ethicon Endo-Surgery, Inc. Fasteners for use with gastric restriction
US20070055206A1 (en) * 2005-08-10 2007-03-08 Guided Delivery Systems, Inc. Methods and devices for deployment of tissue anchors
US9050005B2 (en) 2005-08-25 2015-06-09 Synapse Biomedical, Inc. Method and apparatus for transgastric neurostimulation
US9492277B2 (en) * 2005-08-30 2016-11-15 Mayo Foundation For Medical Education And Research Soft body tissue remodeling methods and apparatus
US7569071B2 (en) 2005-09-21 2009-08-04 Boston Scientific Scimed, Inc. Venous valve, system, and method with sinus pocket
US8123795B1 (en) * 2005-10-03 2012-02-28 Cardica, Inc. System for attaching an abdominal aortic stent or the like
US7632308B2 (en) * 2005-11-23 2009-12-15 Didier Loulmet Methods, devices, and kits for treating mitral valve prolapse
US7799038B2 (en) 2006-01-20 2010-09-21 Boston Scientific Scimed, Inc. Translumenal apparatus, system, and method
US7749249B2 (en) 2006-02-21 2010-07-06 Kardium Inc. Method and device for closing holes in tissue
US8454683B2 (en) 2006-04-12 2013-06-04 Medtronic Vascular, Inc. Annuloplasty device having a helical anchor and methods for its use
US7699892B2 (en) 2006-04-12 2010-04-20 Medtronic Vascular, Inc. Minimally invasive procedure for implanting an annuloplasty device
US20070244494A1 (en) * 2006-04-18 2007-10-18 Downing Stephen W Methods and devices for treating atrial septal defects
WO2007136532A2 (en) * 2006-05-03 2007-11-29 St. Jude Medical, Inc. Soft body tissue remodeling methods and apparatus
US8449605B2 (en) 2006-06-28 2013-05-28 Kardium Inc. Method for anchoring a mitral valve
JP2009543610A (ja) * 2006-07-12 2009-12-10 ティグラン・カラピャン 弁輪形成システム及び手術方法
US20080126131A1 (en) * 2006-07-17 2008-05-29 Walgreen Co. Predictive Modeling And Risk Stratification Of A Medication Therapy Regimen
US7837610B2 (en) 2006-08-02 2010-11-23 Kardium Inc. System for improving diastolic dysfunction
US8430926B2 (en) 2006-08-11 2013-04-30 Japd Consulting Inc. Annuloplasty with enhanced anchoring to the annulus based on tissue healing
US20080097153A1 (en) * 2006-08-24 2008-04-24 Ignagni Anthony R Method and apparatus for grasping an abdominal wall
EP2314232B1 (en) 2006-10-17 2015-03-25 Covidien LP Apparatus for applying surgical clips
US8388680B2 (en) * 2006-10-18 2013-03-05 Guided Delivery Systems, Inc. Methods and devices for catheter advancement and delivery of substances therethrough
US9974653B2 (en) 2006-12-05 2018-05-22 Valtech Cardio, Ltd. Implantation of repair devices in the heart
US11259924B2 (en) 2006-12-05 2022-03-01 Valtech Cardio Ltd. Implantation of repair devices in the heart
WO2008085814A2 (en) 2007-01-03 2008-07-17 Mitralsolutions, Inc. Implantable devices for controlling the size and shape of an anatomical structure or lumen
US8133270B2 (en) 2007-01-08 2012-03-13 California Institute Of Technology In-situ formation of a valve
US20080177380A1 (en) * 2007-01-19 2008-07-24 Starksen Niel F Methods and devices for heart tissue repair
US9079016B2 (en) * 2007-02-05 2015-07-14 Synapse Biomedical, Inc. Removable intramuscular electrode
EP2109417B1 (en) 2007-02-05 2013-11-06 Boston Scientific Limited Percutaneous valve and delivery system
WO2008097999A2 (en) 2007-02-05 2008-08-14 Mitralsolutions, Inc. Minimally invasive system for delivering and securing an annular implant
EP2117468A1 (en) * 2007-02-05 2009-11-18 Boston Scientific Limited Systems and methods for valve delivery
US20080221599A1 (en) * 2007-03-06 2008-09-11 Starksen Niel F Devices, methods, and kits for gastrointestinal procedures
US11660190B2 (en) 2007-03-13 2023-05-30 Edwards Lifesciences Corporation Tissue anchors, systems and methods, and devices
US8845723B2 (en) 2007-03-13 2014-09-30 Mitralign, Inc. Systems and methods for introducing elements into tissue
US8911461B2 (en) 2007-03-13 2014-12-16 Mitralign, Inc. Suture cutter and method of cutting suture
WO2008118928A2 (en) 2007-03-26 2008-10-02 Tyco Healthcare Group Lp Endoscopic surgical clip applier
CN102327136B (zh) 2007-04-11 2014-04-23 柯惠Lp公司 手术施夹器
US9820671B2 (en) * 2007-05-17 2017-11-21 Synapse Biomedical, Inc. Devices and methods for assessing motor point electromyogram as a biomarker
US8758366B2 (en) * 2007-07-09 2014-06-24 Neotract, Inc. Multi-actuating trigger anchor delivery system
US8828079B2 (en) 2007-07-26 2014-09-09 Boston Scientific Scimed, Inc. Circulatory valve, system and method
WO2009026419A1 (en) * 2007-08-23 2009-02-26 Saint-Gobain Abrasives, Inc. Optimized cmp conditioner design for next generation oxide/metal cmp
DE102007043831B4 (de) * 2007-09-13 2009-07-02 Lozonschi, Lucian, Madison Katheter
DE102007043830A1 (de) 2007-09-13 2009-04-02 Lozonschi, Lucian, Madison Herzklappenstent
EP3854315A1 (en) * 2007-10-19 2021-07-28 Ancora Heart, Inc. Systems for cardiac remodeling
WO2009059033A1 (en) * 2007-10-30 2009-05-07 Synapse Biomedical, Inc. Method of improving sleep disordered breathing
US8428726B2 (en) 2007-10-30 2013-04-23 Synapse Biomedical, Inc. Device and method of neuromodulation to effect a functionally restorative adaption of the neuromuscular system
US9131928B2 (en) * 2007-12-20 2015-09-15 Mor Research Applications Ltd. Elongated body for deployment in a heart
US7892276B2 (en) 2007-12-21 2011-02-22 Boston Scientific Scimed, Inc. Valve with delayed leaflet deployment
US20090171456A1 (en) * 2007-12-28 2009-07-02 Kveen Graig L Percutaneous heart valve, system, and method
EP2249711B1 (en) 2008-02-06 2021-10-06 Ancora Heart, Inc. Multi-window guide tunnel
EP2259740A2 (en) * 2008-02-20 2010-12-15 Guided Delivery Systems, Inc. Electrophysiology catheter system
US8177836B2 (en) * 2008-03-10 2012-05-15 Medtronic, Inc. Apparatus and methods for minimally invasive valve repair
US8382829B1 (en) 2008-03-10 2013-02-26 Mitralign, Inc. Method to reduce mitral regurgitation by cinching the commissure of the mitral valve
WO2009120764A2 (en) * 2008-03-25 2009-10-01 Ellipse Technologies, Inc. Systems and methods for adjusting an annuloplasty ring with an integrated magnetic drive
US11202707B2 (en) 2008-03-25 2021-12-21 Nuvasive Specialized Orthopedics, Inc. Adjustable implant system
FR2930137B1 (fr) * 2008-04-18 2010-04-23 Corevalve Inc Materiel de traitement d'une valve cardiaque, en particulier d'une valve mitrale.
US7972370B2 (en) 2008-04-24 2011-07-05 Medtronic Vascular, Inc. Stent graft system and method of use
WO2009137712A1 (en) * 2008-05-07 2009-11-12 Guided Delivery Systems Inc. Deflectable guide
US20090287304A1 (en) * 2008-05-13 2009-11-19 Kardium Inc. Medical Device for Constricting Tissue or a Bodily Orifice, for example a mitral valve
US8163010B1 (en) * 2008-06-03 2012-04-24 Cardica, Inc. Staple-based heart valve treatment
US9192472B2 (en) 2008-06-16 2015-11-24 Valtec Cardio, Ltd. Annuloplasty devices and methods of delivery therefor
WO2010014825A1 (en) 2008-07-30 2010-02-04 Neotract, Inc. Slotted anchor device
US8465502B2 (en) 2008-08-25 2013-06-18 Covidien Lp Surgical clip applier and method of assembly
US8056565B2 (en) 2008-08-25 2011-11-15 Tyco Healthcare Group Lp Surgical clip applier and method of assembly
US20110208212A1 (en) 2010-02-19 2011-08-25 Zergiebel Earl M Surgical clip applier
US8267944B2 (en) 2008-08-29 2012-09-18 Tyco Healthcare Group Lp Endoscopic surgical clip applier with lock out
US8409223B2 (en) 2008-08-29 2013-04-02 Covidien Lp Endoscopic surgical clip applier with clip retention
US8585717B2 (en) 2008-08-29 2013-11-19 Covidien Lp Single stroke endoscopic surgical clip applier
US9358015B2 (en) 2008-08-29 2016-06-07 Covidien Lp Endoscopic surgical clip applier with wedge plate
KR20110084911A (ko) 2008-10-10 2011-07-26 가이디드 딜리버리 시스템즈 인코퍼레이티드 종결 장치 및 관련 방법
EP2349020B1 (en) 2008-10-10 2020-06-03 Ancora Heart, Inc. Tether tensioning device
US20100125189A1 (en) * 2008-11-17 2010-05-20 Northwestern University Systems and methods for catheter stability
EP2385809B1 (en) * 2008-12-04 2016-08-31 Georgia Tech Research Corporation Apparatus for minimally invasive heart valve procedures
US8911494B2 (en) 2009-05-04 2014-12-16 Valtech Cardio, Ltd. Deployment techniques for annuloplasty ring
WO2012176195A2 (en) * 2011-06-23 2012-12-27 Valtech Cardio, Ltd. Closure element for use with annuloplasty structure
CN102341063B (zh) 2008-12-22 2015-11-25 瓦尔泰克卡迪欧有限公司 可调瓣环成形装置及其调节机构
US8241351B2 (en) 2008-12-22 2012-08-14 Valtech Cardio, Ltd. Adjustable partial annuloplasty ring and mechanism therefor
US8715342B2 (en) 2009-05-07 2014-05-06 Valtech Cardio, Ltd. Annuloplasty ring with intra-ring anchoring
US8147542B2 (en) 2008-12-22 2012-04-03 Valtech Cardio, Ltd. Adjustable repair chords and spool mechanism therefor
US8940044B2 (en) 2011-06-23 2015-01-27 Valtech Cardio, Ltd. Closure element for use with an annuloplasty structure
US10517719B2 (en) 2008-12-22 2019-12-31 Valtech Cardio, Ltd. Implantation of repair devices in the heart
US9011530B2 (en) 2008-12-22 2015-04-21 Valtech Cardio, Ltd. Partially-adjustable annuloplasty structure
US8926697B2 (en) 2011-06-23 2015-01-06 Valtech Cardio, Ltd. Closed band for percutaneous annuloplasty
US20100198208A1 (en) * 2009-01-20 2010-08-05 Napp Malte I Diagnostic catheters, guide catheters, visualization devices and chord manipulation devices, and related kits and methods
US20100198192A1 (en) 2009-01-20 2010-08-05 Eugene Serina Anchor deployment devices and related methods
BRPI1007070A2 (pt) 2009-01-22 2016-02-10 St Jude Medical Cardiology Div sistema de dispositivo implantável.
US8821532B2 (en) * 2009-01-30 2014-09-02 Cook Medical Technologies Llc Vascular closure device
US10258471B2 (en) 2009-02-11 2019-04-16 Vdyne, Llc Catheter
US8353956B2 (en) 2009-02-17 2013-01-15 Valtech Cardio, Ltd. Actively-engageable movement-restriction mechanism for use with an annuloplasty structure
US8764777B2 (en) * 2009-04-09 2014-07-01 Medtronic Vascular, Inc. Endoventricular stay and delivery system
US9968452B2 (en) 2009-05-04 2018-05-15 Valtech Cardio, Ltd. Annuloplasty ring delivery cathethers
US12485010B2 (en) 2009-05-07 2025-12-02 Edwards Lifesciences Innovation (Israel) Ltd. Multiple anchor delivery tool
US20100305428A1 (en) * 2009-05-29 2010-12-02 Medtronic, Inc. Ultrasonic guidance of subcutaneous tunneling
US20110082538A1 (en) 2009-10-01 2011-04-07 Jonathan Dahlgren Medical device, kit and method for constricting tissue or a bodily orifice, for example, a mitral valve
US8734469B2 (en) 2009-10-13 2014-05-27 Covidien Lp Suture clip applier
US9180007B2 (en) 2009-10-29 2015-11-10 Valtech Cardio, Ltd. Apparatus and method for guide-wire based advancement of an adjustable implant
US9011520B2 (en) 2009-10-29 2015-04-21 Valtech Cardio, Ltd. Tissue anchor for annuloplasty device
US10098737B2 (en) 2009-10-29 2018-10-16 Valtech Cardio, Ltd. Tissue anchor for annuloplasty device
US8734467B2 (en) 2009-12-02 2014-05-27 Valtech Cardio, Ltd. Delivery tool for implantation of spool assembly coupled to a helical anchor
EP4643824A3 (en) 2009-12-08 2026-01-07 Avalon Medical Ltd. Device and system for transcatheter mitral valve replacement
US8870950B2 (en) 2009-12-08 2014-10-28 Mitral Tech Ltd. Rotation-based anchoring of an implant
US9186136B2 (en) 2009-12-09 2015-11-17 Covidien Lp Surgical clip applier
US8545486B2 (en) 2009-12-15 2013-10-01 Covidien Lp Surgical clip applier
US8758257B2 (en) * 2009-12-24 2014-06-24 Renzo Cecere Instrument including a movement sensor for positioning an effective portion and method of using same
US8961596B2 (en) 2010-01-22 2015-02-24 4Tech Inc. Method and apparatus for tricuspid valve repair using tension
US10058323B2 (en) 2010-01-22 2018-08-28 4 Tech Inc. Tricuspid valve repair using tension
US8475525B2 (en) * 2010-01-22 2013-07-02 4Tech Inc. Tricuspid valve repair using tension
US9307980B2 (en) 2010-01-22 2016-04-12 4Tech Inc. Tricuspid valve repair using tension
EP2351540A1 (en) * 2010-01-27 2011-08-03 Jönsson, Anders Device and method for reducing cardiac valve regurgitation
US9107749B2 (en) 2010-02-03 2015-08-18 Edwards Lifesciences Corporation Methods for treating a heart
US9072603B2 (en) * 2010-02-24 2015-07-07 Medtronic Ventor Technologies, Ltd. Mitral prosthesis and methods for implantation
US8403945B2 (en) 2010-02-25 2013-03-26 Covidien Lp Articulating endoscopic surgical clip applier
US8357195B2 (en) 2010-04-15 2013-01-22 Medtronic, Inc. Catheter based annuloplasty system and method
US9795482B2 (en) 2010-04-27 2017-10-24 Medtronic, Inc. Prosthetic heart valve devices and methods of valve repair
US8579964B2 (en) 2010-05-05 2013-11-12 Neovasc Inc. Transcatheter mitral valve prosthesis
US9050066B2 (en) 2010-06-07 2015-06-09 Kardium Inc. Closing openings in anatomical tissue
US11653910B2 (en) 2010-07-21 2023-05-23 Cardiovalve Ltd. Helical anchor implantation
US8403946B2 (en) 2010-07-28 2013-03-26 Covidien Lp Articulating clip applier cartridge
US8968337B2 (en) 2010-07-28 2015-03-03 Covidien Lp Articulating clip applier
WO2012031204A2 (en) 2010-09-03 2012-03-08 Guided Delivery Systems Inc. Devices and methods for anchoring tissue
US8940002B2 (en) 2010-09-30 2015-01-27 Kardium Inc. Tissue anchor system
US9011464B2 (en) 2010-11-02 2015-04-21 Covidien Lp Self-centering clip and jaw
US9186153B2 (en) 2011-01-31 2015-11-17 Covidien Lp Locking cam driver and jaw assembly for clip applier
EP2675515B1 (en) * 2011-02-18 2020-07-15 Ancora Heart, Inc. Systems and methods for variable stiffness tethers
US8454656B2 (en) 2011-03-01 2013-06-04 Medtronic Ventor Technologies Ltd. Self-suturing anchors
US9445898B2 (en) 2011-03-01 2016-09-20 Medtronic Ventor Technologies Ltd. Mitral valve repair
US9072511B2 (en) 2011-03-25 2015-07-07 Kardium Inc. Medical kit for constricting tissue or a bodily orifice, for example, a mitral valve
US9161749B2 (en) 2011-04-14 2015-10-20 Neotract, Inc. Method and apparatus for treating sexual dysfunction
US9554897B2 (en) 2011-04-28 2017-01-31 Neovasc Tiara Inc. Methods and apparatus for engaging a valve prosthesis with tissue
US9308087B2 (en) 2011-04-28 2016-04-12 Neovasc Tiara Inc. Sequentially deployed transcatheter mitral valve prosthesis
US9775623B2 (en) 2011-04-29 2017-10-03 Covidien Lp Surgical clip applier including clip relief feature
EP2709559B1 (en) * 2011-05-17 2015-01-21 Boston Scientific Scimed, Inc. Annuloplasty ring with anchors fixed by curing polymer
US8747462B2 (en) 2011-05-17 2014-06-10 Boston Scientific Scimed, Inc. Corkscrew annuloplasty device
WO2012158258A1 (en) 2011-05-17 2012-11-22 Boston Scientific Scimed, Inc. Annuloplasty ring with piercing wire and segmented wire lumen
US9918840B2 (en) 2011-06-23 2018-03-20 Valtech Cardio, Ltd. Closed band for percutaneous annuloplasty
US10792152B2 (en) 2011-06-23 2020-10-06 Valtech Cardio, Ltd. Closed band for percutaneous annuloplasty
WO2013011502A2 (en) 2011-07-21 2013-01-24 4Tech Inc. Method and apparatus for tricuspid valve repair using tension
US9668859B2 (en) 2011-08-05 2017-06-06 California Institute Of Technology Percutaneous heart valve delivery systems
CA2957442C (en) 2011-08-11 2019-06-04 Tendyne Holdings, Inc. Improvements for prosthetic valves and related inventions
US8858623B2 (en) 2011-11-04 2014-10-14 Valtech Cardio, Ltd. Implant having multiple rotational assemblies
EP3970627B1 (en) 2011-11-08 2023-12-20 Edwards Lifesciences Innovation (Israel) Ltd. Controlled steering functionality for implant-delivery tool
US20130131697A1 (en) 2011-11-21 2013-05-23 Covidien Lp Surgical clip applier
CA2858149C (en) 2011-12-12 2017-04-18 David Alon Heart valve repair device
US10398555B2 (en) 2011-12-12 2019-09-03 Cardiac Implants Llc Magnetically coupled cinching of a loop installed in a valve annulus
US9827092B2 (en) 2011-12-16 2017-11-28 Tendyne Holdings, Inc. Tethers for prosthetic mitral valve
US9364239B2 (en) 2011-12-19 2016-06-14 Covidien Lp Jaw closure mechanism for a surgical clip applier
US9364216B2 (en) 2011-12-29 2016-06-14 Covidien Lp Surgical clip applier with integrated clip counter
US10076414B2 (en) 2012-02-13 2018-09-18 Mitraspan, Inc. Method and apparatus for repairing a mitral valve
CA2900930A1 (en) 2012-02-13 2013-08-22 Mitraspan, Inc. Method and apparatus for repairing a mitral valve
US9579198B2 (en) 2012-03-01 2017-02-28 Twelve, Inc. Hydraulic delivery systems for prosthetic heart valve devices and associated methods
GB2500646A (en) * 2012-03-28 2013-10-02 Joseph John Cefai Miniature mechanical driver for moving a reciprocating piston in a micro-pump
US10292801B2 (en) 2012-03-29 2019-05-21 Neotract, Inc. System for delivering anchors for treating incontinence
WO2013163762A1 (en) 2012-05-02 2013-11-07 The Royal Institution For The Advancement Of Learning/Mcgill University Device for soft tissue support and method for anchoring
US9408610B2 (en) 2012-05-04 2016-08-09 Covidien Lp Surgical clip applier with dissector
US9345573B2 (en) 2012-05-30 2016-05-24 Neovasc Tiara Inc. Methods and apparatus for loading a prosthesis onto a delivery system
US9532787B2 (en) 2012-05-31 2017-01-03 Covidien Lp Endoscopic clip applier
US8961594B2 (en) 2012-05-31 2015-02-24 4Tech Inc. Heart valve repair system
DE102012010798A1 (de) * 2012-06-01 2013-12-05 Universität Duisburg-Essen Implantierbare Vorrichtung zur Verbesserung oder Behebung einer Herzklappeninsuffizienz
US10130353B2 (en) 2012-06-29 2018-11-20 Neotract, Inc. Flexible system for delivering an anchor
WO2014022124A1 (en) 2012-07-28 2014-02-06 Tendyne Holdings, Inc. Improved multi-component designs for heart valve retrieval device, sealing structures and stent assembly
US9675454B2 (en) 2012-07-30 2017-06-13 Tendyne Holdings, Inc. Delivery systems and methods for transcatheter prosthetic valves
US9445899B2 (en) 2012-08-22 2016-09-20 Joseph M. Arcidi Method and apparatus for mitral valve annuloplasty
WO2014052818A1 (en) 2012-09-29 2014-04-03 Mitralign, Inc. Plication lock delivery system and method of use thereof
EP2911593B1 (en) 2012-10-23 2020-03-25 Valtech Cardio, Ltd. Percutaneous tissue anchor techniques
WO2014064694A2 (en) 2012-10-23 2014-05-01 Valtech Cardio, Ltd. Controlled steering functionality for implant-delivery tool
US9730793B2 (en) 2012-12-06 2017-08-15 Valtech Cardio, Ltd. Techniques for guide-wire based advancement of a tool
US9113892B2 (en) 2013-01-08 2015-08-25 Covidien Lp Surgical clip applier
US9968362B2 (en) 2013-01-08 2018-05-15 Covidien Lp Surgical clip applier
WO2014108903A1 (en) 2013-01-09 2014-07-17 4Tech Inc. Soft tissue anchors
US9750500B2 (en) 2013-01-18 2017-09-05 Covidien Lp Surgical clip applier
US9681952B2 (en) 2013-01-24 2017-06-20 Mitraltech Ltd. Anchoring of prosthetic valve supports
EP2961351B1 (en) 2013-02-26 2018-11-28 Mitralign, Inc. Devices for percutaneous tricuspid valve repair
CN105263443B (zh) * 2013-03-14 2017-11-14 心肺医疗股份有限公司 无缝线瓣膜假体递送装置及其使用方法
US10449333B2 (en) 2013-03-14 2019-10-22 Valtech Cardio, Ltd. Guidewire feeder
JP6329570B2 (ja) 2013-03-14 2018-05-23 4テック インコーポレイテッド テザーインターフェースを有するステント
EP2967945B1 (en) 2013-03-15 2020-10-28 California Institute of Technology Handle mechanism and functionality for repositioning and retrieval of transcatheter heart valves
CN105283214B (zh) 2013-03-15 2018-10-16 北京泰德制药股份有限公司 平移导管、系统及其使用方法
US9486306B2 (en) 2013-04-02 2016-11-08 Tendyne Holdings, Inc. Inflatable annular sealing device for prosthetic mitral valve
US11224510B2 (en) 2013-04-02 2022-01-18 Tendyne Holdings, Inc. Prosthetic heart valve and systems and methods for delivering the same
US10463489B2 (en) 2013-04-02 2019-11-05 Tendyne Holdings, Inc. Prosthetic heart valve and systems and methods for delivering the same
US9572665B2 (en) 2013-04-04 2017-02-21 Neovasc Tiara Inc. Methods and apparatus for delivering a prosthetic valve to a beating heart
US10478293B2 (en) 2013-04-04 2019-11-19 Tendyne Holdings, Inc. Retrieval and repositioning system for prosthetic heart valve
US9610159B2 (en) 2013-05-30 2017-04-04 Tendyne Holdings, Inc. Structural members for prosthetic mitral valves
EP3597151B1 (en) * 2013-06-06 2024-08-07 David Alon Heart valve repair and replacement
EP3013281B1 (en) 2013-06-25 2018-08-15 Tendyne Holdings, Inc. Thrombus management and structural compliance features for prosthetic heart valves
CA2919379C (en) 2013-08-01 2021-03-30 Tendyne Holdings, Inc. Epicardial anchor devices and methods
PT3545906T (pt) * 2013-08-14 2021-01-27 Mitral Valve Tech Sa Rl Aparelho para uma válvula cardíaca de substituição
US9775624B2 (en) 2013-08-27 2017-10-03 Covidien Lp Surgical clip applier
US10070857B2 (en) 2013-08-31 2018-09-11 Mitralign, Inc. Devices and methods for locating and implanting tissue anchors at mitral valve commissure
WO2015058039A1 (en) 2013-10-17 2015-04-23 Robert Vidlund Apparatus and methods for alignment and deployment of intracardiac devices
US10299793B2 (en) 2013-10-23 2019-05-28 Valtech Cardio, Ltd. Anchor magazine
AU2014342935B2 (en) 2013-10-28 2019-05-16 Tendyne Holdings, Inc. Prosthetic heart valve and systems and methods for delivering the same
US9526611B2 (en) 2013-10-29 2016-12-27 Tendyne Holdings, Inc. Apparatus and methods for delivery of transcatheter prosthetic valves
US10022114B2 (en) 2013-10-30 2018-07-17 4Tech Inc. Percutaneous tether locking
EP3062709A2 (en) 2013-10-30 2016-09-07 4Tech Inc. Multiple anchoring-point tension system
US10052095B2 (en) 2013-10-30 2018-08-21 4Tech Inc. Multiple anchoring-point tension system
US9610162B2 (en) 2013-12-26 2017-04-04 Valtech Cardio, Ltd. Implantation of flexible implant
WO2015120122A2 (en) 2014-02-05 2015-08-13 Robert Vidlund Apparatus and methods for transfemoral delivery of prosthetic mitral valve
US9986993B2 (en) 2014-02-11 2018-06-05 Tendyne Holdings, Inc. Adjustable tether and epicardial pad system for prosthetic heart valve
CN106068109B (zh) 2014-03-10 2019-07-23 坦迪尼控股股份有限公司 用于定位和监测假体二尖瓣的系绳负荷的装置和方法
WO2015193728A2 (en) 2014-06-19 2015-12-23 4Tech Inc. Cardiac tissue cinching
US9730694B2 (en) * 2014-07-01 2017-08-15 Covidien Lp Loading unit including shipping assembly
CN104055604B (zh) 2014-07-07 2016-06-01 宁波健世生物科技有限公司 一种带锚定装置的心脏瓣膜植入器械
US10194897B2 (en) * 2014-07-18 2019-02-05 Ethicon, Inc. Mechanical retraction via tethering for lung volume reduction
US10524910B2 (en) 2014-07-30 2020-01-07 Mitraltech Ltd. 3 Ariel Sharon Avenue Articulatable prosthetic valve
GB2536538B (en) 2014-09-17 2018-07-18 Cardiomech As Anchor for implantation in body tissue
US10195030B2 (en) 2014-10-14 2019-02-05 Valtech Cardio, Ltd. Leaflet-restraining techniques
EP3068311B1 (en) 2014-12-02 2017-11-15 4Tech Inc. Off-center tissue anchors
US10702278B2 (en) 2014-12-02 2020-07-07 Covidien Lp Laparoscopic surgical ligation clip applier
JP6826035B2 (ja) 2015-01-07 2021-02-03 テンダイン ホールディングス,インコーポレイテッド 人工僧帽弁、並びにその送達のための装置及び方法
US9931124B2 (en) 2015-01-07 2018-04-03 Covidien Lp Reposable clip applier
JP6498303B2 (ja) 2015-01-15 2019-04-10 コヴィディエン リミテッド パートナーシップ 内視鏡リポーザブル外科手術用クリップアプライヤ
US10292712B2 (en) 2015-01-28 2019-05-21 Covidien Lp Surgical clip applier with integrated cutter
ES2978714T3 (es) 2015-02-05 2024-09-18 Cardiovalve Ltd Válvula protésica con marcos de deslizamiento axial
EP3253331B1 (en) 2015-02-05 2021-04-07 Tendyne Holdings, Inc. Prosthetic heart valve with tether and expandable epicardial pad
US20160256269A1 (en) 2015-03-05 2016-09-08 Mitralign, Inc. Devices for treating paravalvular leakage and methods use thereof
WO2016141358A1 (en) 2015-03-05 2016-09-09 Guided Delivery Systems Inc. Devices and methods of visualizing and determining depth of penetration in cardiac tissue
US10159491B2 (en) 2015-03-10 2018-12-25 Covidien Lp Endoscopic reposable surgical clip applier
CA2983002C (en) 2015-04-16 2023-07-04 Tendyne Holdings, Inc. Apparatus and methods for delivery, repositioning, and retrieval of transcatheter prosthetic valves
WO2016174669A1 (en) 2015-04-30 2016-11-03 Valtech Cardio Ltd. Annuloplasty technologies
WO2016183386A1 (en) 2015-05-12 2016-11-17 Guided Delivery Systems Inc. Device and method for releasing catheters from cardiac structures
DE102015005934A1 (de) * 2015-05-12 2016-11-17 Coramaze Technologies Gmbh Implantierbare Vorrichtung zur Verbesserung oder Behebung einer Herzklappeninsuffizienz
JP7082052B2 (ja) 2015-09-03 2022-06-07 ネプチューン メディカル インク. 小腸内での内視鏡前進の為の器具
US10327894B2 (en) 2015-09-18 2019-06-25 Tendyne Holdings, Inc. Methods for delivery of prosthetic mitral valves
CN108348259B (zh) 2015-11-03 2020-12-11 柯惠有限合伙公司 内窥镜手术夹具施加器
CN108348261B (zh) 2015-11-10 2021-03-16 柯惠有限合伙公司 可重复使用的内窥镜外科手术施夹器
US10390831B2 (en) 2015-11-10 2019-08-27 Covidien Lp Endoscopic reposable surgical clip applier
CN108348255B (zh) 2015-11-10 2020-11-27 柯惠有限合伙公司 可重复使用的内窥镜外科手术施夹器
ES2777609T3 (es) 2015-12-03 2020-08-05 Tendyne Holdings Inc Características del marco para válvulas mitrales protésicas
CN108601645B (zh) 2015-12-15 2021-02-26 内奥瓦斯克迪亚拉公司 经中隔递送系统
CN108366859B (zh) 2015-12-28 2021-02-05 坦迪尼控股股份有限公司 用于假体心脏瓣膜的心房囊袋闭合件
US10828160B2 (en) 2015-12-30 2020-11-10 Edwards Lifesciences Corporation System and method for reducing tricuspid regurgitation
US10751182B2 (en) 2015-12-30 2020-08-25 Edwards Lifesciences Corporation System and method for reshaping right heart
CA3009420A1 (en) 2016-01-11 2017-07-20 Peng YI Endoscopic reposable surgical clip applier
US11833034B2 (en) 2016-01-13 2023-12-05 Shifamed Holdings, Llc Prosthetic cardiac valve devices, systems, and methods
US10765431B2 (en) 2016-01-18 2020-09-08 Covidien Lp Endoscopic surgical clip applier
DE112017000541T5 (de) 2016-01-29 2018-10-18 Neovasc Tiara Inc. Klappenprothese zum verhindern einer abflussobstruktion
US10531866B2 (en) 2016-02-16 2020-01-14 Cardiovalve Ltd. Techniques for providing a replacement valve and transseptal communication
CA2958160A1 (en) 2016-02-24 2017-08-24 Covidien Lp Endoscopic reposable surgical clip applier
US10470877B2 (en) 2016-05-03 2019-11-12 Tendyne Holdings, Inc. Apparatus and methods for anterior valve leaflet management
US10702274B2 (en) 2016-05-26 2020-07-07 Edwards Lifesciences Corporation Method and system for closing left atrial appendage
US11039921B2 (en) 2016-06-13 2021-06-22 Tendyne Holdings, Inc. Sequential delivery of two-part prosthetic mitral valve
US11090157B2 (en) 2016-06-30 2021-08-17 Tendyne Holdings, Inc. Prosthetic heart valves and apparatus and methods for delivery of same
GB201611910D0 (en) 2016-07-08 2016-08-24 Valtech Cardio Ltd Adjustable annuloplasty device with alternating peaks and troughs
EP3484411A1 (en) 2016-07-12 2019-05-22 Tendyne Holdings, Inc. Apparatus and methods for trans-septal retrieval of prosthetic heart valves
US20190231525A1 (en) 2016-08-01 2019-08-01 Mitraltech Ltd. Minimally-invasive delivery systems
CA3031187A1 (en) 2016-08-10 2018-02-15 Cardiovalve Ltd. Prosthetic valve with concentric frames
WO2018027788A1 (en) 2016-08-11 2018-02-15 Covidien Lp Endoscopic surgical clip applier and clip applying systems
WO2019232354A1 (en) 2018-05-31 2019-12-05 Neptune Medical Inc. Device and method for enhanced visualization of the small intestine
CN110191667B (zh) 2016-08-18 2022-06-03 海王星医疗公司 用于增强小肠视觉效果的装置和方法
US20190240024A1 (en) * 2016-08-18 2019-08-08 4Tech Inc. Tissue Anchors with Flexible Tips for Insertion into the Pericardial Cavity
US11071553B2 (en) 2016-08-25 2021-07-27 Covidien Lp Endoscopic surgical clip applier and clip applying systems
US10537316B2 (en) * 2016-09-30 2020-01-21 Boston Scientific Scimed, Inc. Tissue retraction device
US10660651B2 (en) 2016-10-31 2020-05-26 Covidien Lp Endoscopic reposable surgical clip applier
US10639044B2 (en) 2016-10-31 2020-05-05 Covidien Lp Ligation clip module and clip applier
US10610236B2 (en) 2016-11-01 2020-04-07 Covidien Lp Endoscopic reposable surgical clip applier
US10426489B2 (en) 2016-11-01 2019-10-01 Covidien Lp Endoscopic reposable surgical clip applier
US10492795B2 (en) 2016-11-01 2019-12-03 Covidien Lp Endoscopic surgical clip applier
AU2017357804B2 (en) 2016-11-13 2023-06-01 Anchora Medical Ltd. Minimally-invasive tissue suturing device
CN110381850B (zh) 2016-11-18 2023-06-30 复心公司 用于促进lv功能的心肌植入物负荷分担装置和方法
CA3042588A1 (en) 2016-11-21 2018-05-24 Neovasc Tiara Inc. Methods and systems for rapid retraction of a transcatheter heart valve delivery system
US10709455B2 (en) 2017-02-02 2020-07-14 Covidien Lp Endoscopic surgical clip applier
US10758244B2 (en) 2017-02-06 2020-09-01 Covidien Lp Endoscopic surgical clip applier
WO2018141110A1 (en) 2017-02-06 2018-08-09 Covidien Lp Surgical clip applier with user feedback feature
US10660725B2 (en) 2017-02-14 2020-05-26 Covidien Lp Endoscopic surgical clip applier including counter assembly
US10603038B2 (en) 2017-02-22 2020-03-31 Covidien Lp Surgical clip applier including inserts for jaw assembly
US10548602B2 (en) 2017-02-23 2020-02-04 Covidien Lp Endoscopic surgical clip applier
US11583291B2 (en) 2017-02-23 2023-02-21 Covidien Lp Endoscopic surgical clip applier
US10575950B2 (en) 2017-04-18 2020-03-03 Twelve, Inc. Hydraulic systems for delivering prosthetic heart valve devices and associated methods
US11045627B2 (en) 2017-04-18 2021-06-29 Edwards Lifesciences Corporation Catheter system with linear actuation control mechanism
US10675043B2 (en) 2017-05-04 2020-06-09 Covidien Lp Reposable multi-fire surgical clip applier
US10722235B2 (en) 2017-05-11 2020-07-28 Covidien Lp Spring-release surgical clip
US10646338B2 (en) 2017-06-02 2020-05-12 Twelve, Inc. Delivery systems with telescoping capsules for deploying prosthetic heart valve devices and associated methods
US10660723B2 (en) 2017-06-30 2020-05-26 Covidien Lp Endoscopic reposable surgical clip applier
US10639032B2 (en) 2017-06-30 2020-05-05 Covidien Lp Endoscopic surgical clip applier including counter assembly
EP3651695B1 (en) 2017-07-13 2023-04-19 Tendyne Holdings, Inc. Prosthetic heart valves and apparatus for delivery of same
KR20200042468A (ko) * 2017-07-13 2020-04-23 엠아이티알엑스, 인크. 심장 시술을 위해 좌심방으로 접근하기 위한 디바이스들 및 방법들
WO2019018682A1 (en) 2017-07-20 2019-01-24 Neptune Medical Inc. DYNAMICALLY RIGIDING SURFACE
US12064347B2 (en) 2017-08-03 2024-08-20 Cardiovalve Ltd. Prosthetic heart valve
US11793633B2 (en) 2017-08-03 2023-10-24 Cardiovalve Ltd. Prosthetic heart valve
US10675112B2 (en) 2017-08-07 2020-06-09 Covidien Lp Endoscopic surgical clip applier including counter assembly
US10863992B2 (en) 2017-08-08 2020-12-15 Covidien Lp Endoscopic surgical clip applier
US10932790B2 (en) 2017-08-08 2021-03-02 Covidien Lp Geared actuation mechanism and surgical clip applier including the same
US10786262B2 (en) 2017-08-09 2020-09-29 Covidien Lp Endoscopic reposable surgical clip applier
US10786263B2 (en) 2017-08-15 2020-09-29 Covidien Lp Endoscopic reposable surgical clip applier
CN111263622A (zh) 2017-08-25 2020-06-09 内奥瓦斯克迪亚拉公司 顺序展开的经导管二尖瓣假体
WO2019046099A1 (en) 2017-08-28 2019-03-07 Tendyne Holdings, Inc. PROSTHETIC CARDIAC VALVES WITH ATTACHMENT COUPLING ELEMENTS
US10835341B2 (en) 2017-09-12 2020-11-17 Covidien Lp Endoscopic surgical clip applier and handle assemblies for use therewith
US10835260B2 (en) 2017-09-13 2020-11-17 Covidien Lp Endoscopic surgical clip applier and handle assemblies for use therewith
US10758245B2 (en) 2017-09-13 2020-09-01 Covidien Lp Clip counting mechanism for surgical clip applier
US10653429B2 (en) 2017-09-13 2020-05-19 Covidien Lp Endoscopic surgical clip applier
US12458493B2 (en) 2017-09-19 2025-11-04 Cardiovalve Ltd. Prosthetic heart valve and delivery systems and methods
WO2019079788A1 (en) 2017-10-20 2019-04-25 Boston Scientific Scimed, Inc. CARDIAC VALVE REPAIR IMPLANT FOR THE TREATMENT OF TRICUSPID REGURGITATION
US10835221B2 (en) 2017-11-02 2020-11-17 Valtech Cardio, Ltd. Implant-cinching devices and systems
US10828036B2 (en) 2017-11-03 2020-11-10 Covidien Lp Endoscopic surgical clip applier and handle assemblies for use therewith
US10932791B2 (en) 2017-11-03 2021-03-02 Covidien Lp Reposable multi-fire surgical clip applier
US10945734B2 (en) 2017-11-03 2021-03-16 Covidien Lp Rotation knob assemblies and surgical instruments including the same
US11376015B2 (en) 2017-11-03 2022-07-05 Covidien Lp Endoscopic surgical clip applier and handle assemblies for use therewith
US11116513B2 (en) 2017-11-03 2021-09-14 Covidien Lp Modular surgical clip cartridge
US11135062B2 (en) 2017-11-20 2021-10-05 Valtech Cardio Ltd. Cinching of dilated heart muscle
US10722236B2 (en) 2017-12-12 2020-07-28 Covidien Lp Endoscopic reposable surgical clip applier
US10959737B2 (en) 2017-12-13 2021-03-30 Covidien Lp Reposable multi-fire surgical clip applier
US10743887B2 (en) 2017-12-13 2020-08-18 Covidien Lp Reposable multi-fire surgical clip applier
US10849630B2 (en) 2017-12-13 2020-12-01 Covidien Lp Reposable multi-fire surgical clip applier
AU2018389236B2 (en) 2017-12-23 2021-05-20 Teleflex Life Sciences Llc Expandable tissue engagement apparatus and method
US11051827B2 (en) 2018-01-16 2021-07-06 Covidien Lp Endoscopic surgical instrument and handle assemblies for use therewith
EP3743015A1 (en) 2018-01-24 2020-12-02 Valtech Cardio, Ltd. Contraction of an annuloplasty structure
WO2019145941A1 (en) 2018-01-26 2019-08-01 Valtech Cardio, Ltd. Techniques for facilitating heart valve tethering and chord replacement
US11026791B2 (en) 2018-03-20 2021-06-08 Medtronic Vascular, Inc. Flexible canopy valve repair systems and methods of use
US11285003B2 (en) 2018-03-20 2022-03-29 Medtronic Vascular, Inc. Prolapse prevention device and methods of use thereof
WO2019195860A2 (en) 2018-04-04 2019-10-10 Vdyne, Llc Devices and methods for anchoring transcatheter heart valve
US10993721B2 (en) 2018-04-25 2021-05-04 Covidien Lp Surgical clip applier
SG11202013066PA (en) 2018-07-12 2021-01-28 Valtech Cardio Ltd Annuloplasty systems and locking tools therefor
US10786273B2 (en) 2018-07-13 2020-09-29 Covidien Lp Rotation knob assemblies for handle assemblies
CA3106275A1 (en) 2018-07-19 2020-01-23 Neptune Medical Inc. Dynamically rigidizing composite medical structures
US11259887B2 (en) 2018-08-10 2022-03-01 Covidien Lp Feedback mechanisms for handle assemblies
US11278267B2 (en) 2018-08-13 2022-03-22 Covidien Lp Latch assemblies and surgical instruments including the same
US11033256B2 (en) 2018-08-13 2021-06-15 Covidien Lp Linkage assembly for reusable surgical handle assemblies
US11246601B2 (en) 2018-08-13 2022-02-15 Covidien Lp Elongated assemblies for surgical clip appliers and surgical clip appliers incorporating the same
US11051828B2 (en) 2018-08-13 2021-07-06 Covidien Lp Rotation knob assemblies and surgical instruments including same
US11219463B2 (en) 2018-08-13 2022-01-11 Covidien Lp Bilateral spring for surgical instruments and surgical instruments including the same
US11344316B2 (en) 2018-08-13 2022-05-31 Covidien Lp Elongated assemblies for surgical clip appliers and surgical clip appliers incorporating the same
US11253267B2 (en) 2018-08-13 2022-02-22 Covidien Lp Friction reduction mechanisms for handle assemblies
CA3109642C (en) 2018-08-21 2025-11-25 Shifamed Holdings, Llc DEVICES, SYSTEMS AND METHODS FOR PROSTHETIC HEART VALVES
US11071627B2 (en) 2018-10-18 2021-07-27 Vdyne, Inc. Orthogonally delivered transcatheter heart valve frame for valve in valve prosthesis
US12310850B2 (en) 2018-09-20 2025-05-27 Vdyne, Inc. Transcatheter deliverable prosthetic heart valves and methods of delivery
US11278437B2 (en) 2018-12-08 2022-03-22 Vdyne, Inc. Compression capable annular frames for side delivery of transcatheter heart valve replacement
US11344413B2 (en) 2018-09-20 2022-05-31 Vdyne, Inc. Transcatheter deliverable prosthetic heart valves and methods of delivery
US10321995B1 (en) 2018-09-20 2019-06-18 Vdyne, Llc Orthogonally delivered transcatheter heart valve replacement
US12186187B2 (en) 2018-09-20 2025-01-07 Vdyne, Inc. Transcatheter deliverable prosthetic heart valves and methods of delivery
US11147566B2 (en) 2018-10-01 2021-10-19 Covidien Lp Endoscopic surgical clip applier
EP3860519A4 (en) 2018-10-05 2022-07-06 Shifamed Holdings, LLC HEART VALVE PROSTHESIS, SYSTEMS AND PROCEDURES
JP7489975B2 (ja) 2018-10-19 2024-05-24 シファメド・ホールディングス・エルエルシー 調整可能な医療デバイス
US11109969B2 (en) 2018-10-22 2021-09-07 Vdyne, Inc. Guidewire delivery of transcatheter heart valve
US12440301B2 (en) 2018-11-07 2025-10-14 Teleflex Life Sciences Llc System for delivery of a fiducial marker
JP7260930B2 (ja) 2018-11-08 2023-04-19 ニオバスク ティアラ インコーポレイテッド 経カテーテル僧帽弁人工補綴物の心室展開
JP2022509309A (ja) 2018-11-29 2022-01-20 カーディオメク アクティーゼルスカブ 心臓修復デバイス
US11253359B2 (en) 2018-12-20 2022-02-22 Vdyne, Inc. Proximal tab for side-delivered transcatheter heart valves and methods of delivery
WO2020146842A1 (en) 2019-01-10 2020-07-16 Vdyne, Llc Anchor hook for side-delivery transcatheter heart valve prosthesis
US11185409B2 (en) 2019-01-26 2021-11-30 Vdyne, Inc. Collapsible inner flow control component for side-delivered transcatheter heart valve prosthesis
US11273032B2 (en) 2019-01-26 2022-03-15 Vdyne, Inc. Collapsible inner flow control component for side-deliverable transcatheter heart valve prosthesis
US11471683B2 (en) 2019-01-29 2022-10-18 Synapse Biomedical, Inc. Systems and methods for treating sleep apnea using neuromodulation
EP3934583B1 (en) 2019-03-05 2023-12-13 Vdyne, Inc. Tricuspid regurgitation control devices for orthogonal transcatheter heart valve prosthesis
CN113747863B (zh) 2019-03-08 2024-11-08 内奥瓦斯克迪亚拉公司 可取回假体递送系统
US11076956B2 (en) 2019-03-14 2021-08-03 Vdyne, Inc. Proximal, distal, and anterior anchoring tabs for side-delivered transcatheter mitral valve prosthesis
US11173027B2 (en) 2019-03-14 2021-11-16 Vdyne, Inc. Side-deliverable transcatheter prosthetic valves and methods for delivering and anchoring the same
US11524398B2 (en) 2019-03-19 2022-12-13 Covidien Lp Gear drive mechanisms for surgical instruments
US11471282B2 (en) 2019-03-19 2022-10-18 Shifamed Holdings, Llc Prosthetic cardiac valve devices, systems, and methods
CA3135753C (en) 2019-04-01 2023-10-24 Neovasc Tiara Inc. Controllably deployable prosthetic valve
AU2020271896B2 (en) 2019-04-10 2022-10-13 Neovasc Tiara Inc. Prosthetic valve with natural blood flow
US11793392B2 (en) 2019-04-17 2023-10-24 Neptune Medical Inc. External working channels
CN121465488A (zh) 2019-04-17 2026-02-06 海王星医疗公司 动态刚性化复合医疗结构
JP7529689B2 (ja) 2019-05-04 2024-08-06 ブイダイン,インコーポレイテッド 生来の弁輪での側方送達される人工心臓弁を展開するための締め付けデバイス及び方法
AU2020279750B2 (en) 2019-05-20 2023-07-13 Neovasc Tiara Inc. Introducer with hemostasis mechanism
EP3741327B1 (en) * 2019-05-21 2024-03-06 HVR Cardio Oy A medical arrangement for introducing an object into an anatomical target position
MX2021013554A (es) 2019-05-29 2021-12-10 Valtech Cardio Ltd Sistemas y metodos de manejo de anclajes de tejidos.
CN114144144B (zh) 2019-06-20 2026-01-13 内奥瓦斯克迪亚拉公司 低轮廓假体二尖瓣
EP3763328B1 (en) * 2019-07-08 2024-08-21 HVR Cardio Oy A medical arrangement for introducing an object into an anatomical target position
EP3763329A1 (en) * 2019-07-08 2021-01-13 Medtentia International Ltd Oy A medical arrangement for introducing an object into an anatomical target position
CN119791750A (zh) 2019-07-15 2025-04-11 复心公司 系绳切割装置和方法
CN119606458A (zh) 2019-07-16 2025-03-14 爱德华兹生命科学公司 组织重塑的系统和方法
EP4003231B1 (en) 2019-07-23 2024-12-25 Edwards Lifesciences Innovation (Israel) Ltd. Contraction of an annuloplasty structure
US12364606B2 (en) 2019-07-23 2025-07-22 Edwards Lifesciences Innovation (Israel) Ltd. Fluoroscopic visualization of heart valve anatomy
WO2021035032A1 (en) 2019-08-20 2021-02-25 Vdyne, Inc. Delivery and retrieval devices and methods for side-deliverable transcatheter prosthetic valves
US11672661B2 (en) 2019-08-22 2023-06-13 Silara Medtech Inc. Annuloplasty systems and methods
CN120531525A (zh) 2019-08-26 2025-08-26 维迪内股份有限公司 可侧面输送的经导管假体瓣膜及其输送和锚定方法
CA3143177A1 (en) 2019-08-28 2021-03-04 Valtech Cardio, Ltd. Low-profile steerable catheter
CN114423381A (zh) 2019-08-30 2022-04-29 瓦尔泰克卡迪欧有限公司 锚通道尖端
US12208006B2 (en) 2019-09-25 2025-01-28 Edwards Lifesciences Corporation Constricting a cardiac valve annulus using a cord that has a loop portion and a single second portion
CN121337517A (zh) 2019-10-29 2026-01-16 爱德华兹生命科学创新(以色列)有限公司 瓣环成形术和组织锚固技术
US11648110B2 (en) 2019-12-05 2023-05-16 Tendyne Holdings, Inc. Braided anchor for mitral valve
US11648114B2 (en) 2019-12-20 2023-05-16 Tendyne Holdings, Inc. Distally loaded sheath and loading funnel
US11779340B2 (en) 2020-01-02 2023-10-10 Covidien Lp Ligation clip loading device
WO2021142100A1 (en) 2020-01-07 2021-07-15 Sharma Virender K Methods and devices for endoscopic resection
US11723669B2 (en) 2020-01-08 2023-08-15 Covidien Lp Clip applier with clip cartridge interface
US11344416B2 (en) * 2020-01-15 2022-05-31 Medtentia International Ltd Oy Medical arrangement for introducing an object into an anatomical target position
US11234813B2 (en) 2020-01-17 2022-02-01 Vdyne, Inc. Ventricular stability elements for side-deliverable prosthetic heart valves and methods of delivery
US12114866B2 (en) 2020-03-26 2024-10-15 Covidien Lp Interoperative clip loading device
US11951002B2 (en) 2020-03-30 2024-04-09 Tendyne Holdings, Inc. Apparatus and methods for valve and tether fixation
US11744443B2 (en) 2020-03-30 2023-09-05 Neptune Medical Inc. Layered walls for rigidizing devices
US12023247B2 (en) 2020-05-20 2024-07-02 Edwards Lifesciences Corporation Reducing the diameter of a cardiac valve annulus with independent control over each of the anchors that are launched into the annulus
CN115916069A (zh) 2020-06-19 2023-04-04 爱德华兹生命科学创新(以色列)有限公司 自停式组织锚固件
JP7296522B2 (ja) 2020-08-03 2023-06-22 テレフレックス ライフ サイエンシズ リミテッド 医学的介入のためのハンドルカートリッジシステム
US11857417B2 (en) 2020-08-16 2024-01-02 Trilio Medical Ltd. Leaflet support
EP4199860A1 (en) 2020-08-19 2023-06-28 Tendyne Holdings, Inc. Fully-transseptal apical pad with pulley for tensioning
US12053371B2 (en) 2020-08-31 2024-08-06 Shifamed Holdings, Llc Prosthetic valve delivery system
US12357459B2 (en) 2020-12-03 2025-07-15 Cardiovalve Ltd. Transluminal delivery system
US12329635B2 (en) 2020-12-04 2025-06-17 Shifamed Holdings, Llc Flared prosthetic cardiac valve delivery devices and systems
JP2024505529A (ja) 2021-01-29 2024-02-06 ネプチューン メディカル インク. 動的に剛体化する装置の意図しない運動を防止するデバイスおよび方法
CA3209108A1 (en) * 2021-02-09 2022-08-18 Edwards Lifesciences Innovation (Israel) Ltd. Tissue anchors and techniques for use therewith
EP4304441A4 (en) 2021-03-10 2025-01-22 Neptune Medical Inc. CONTROL OF DYNAMICALLY STIFFENED, COMPOSITE, ROBOTIC MEDICAL STRUCTURES
IT202100006632A1 (it) * 2021-03-19 2022-09-19 Movi S P A Kit per un’operazione chirurgica mini invasiva
US12201521B2 (en) 2021-03-22 2025-01-21 Shifamed Holdings, Llc Anchor position verification for prosthetic cardiac valve devices
CN119233783A (zh) 2022-04-27 2024-12-31 海王星医疗公司 用于内窥镜检查的卫生护套
EP4572684A1 (en) 2022-08-16 2025-06-25 Boston Scientific Scimed, Inc. Medical device for occluding a left atrial appendage
US12419648B2 (en) 2022-09-26 2025-09-23 Covidien Lp Two-part fasteners for surgical clip appliers and surgical clip appliers for deploying the same
US12458210B2 (en) 2023-09-07 2025-11-04 Neptune Medical Inc. Pressure rigidization apparatuses and methods
US12330292B2 (en) 2023-09-28 2025-06-17 Neptune Medical Inc. Telescoping robot

Citations (1)

* Cited by examiner, † Cited by third party
Publication number Priority date Publication date Assignee Title
WO2002034167A2 (en) * 2000-10-23 2002-05-02 St. Jude Medical, Inc. Mitral and tricuspid valve repair

Family Cites Families (328)

* Cited by examiner, † Cited by third party
Publication number Priority date Publication date Assignee Title
US2108206A (en) * 1937-03-09 1938-02-15 Lillian Pearl Mecker Tenaculum
NL143127B (nl) * 1969-02-04 1974-09-16 Rhone Poulenc Sa Versterkingsorgaan voor een defecte hartklep.
US3727614A (en) 1971-05-13 1973-04-17 Merck & Co Inc Multiple dosage inoculator
US3773034A (en) 1971-11-24 1973-11-20 Itt Research Institute Steerable catheter
US3727615A (en) * 1971-11-26 1973-04-17 Kimberly Clark Co Soft, drapable nonwoven material
US3976079A (en) 1974-08-01 1976-08-24 Samuels Peter B Securing devices for sutures
FR2306671A1 (fr) 1975-04-11 1976-11-05 Rhone Poulenc Ind Implant valvulaire
US4014492A (en) * 1975-06-11 1977-03-29 Senco Products, Inc. Surgical staple
US3961419A (en) 1975-06-30 1976-06-08 Boris Schwartz Method of cutting and removing sutures
US4034473A (en) 1975-12-23 1977-07-12 International Paper Company Suture cutter
US4053979A (en) 1975-12-23 1977-10-18 International Paper Company Suture cutter
US4069825A (en) 1976-01-28 1978-01-24 Taichiro Akiyama Surgical thread and cutting apparatus for the same
US4043504A (en) * 1976-03-09 1977-08-23 Senco Products, Inc. Staple cartridge and feed means for use with a surgical stapling instrument
US4042979A (en) 1976-07-12 1977-08-23 Angell William W Valvuloplasty ring and prosthetic method
ES244903Y (es) 1979-07-31 1980-12-01 Protesis anular regulable para cirugia cardiaca
US4384406A (en) 1981-03-05 1983-05-24 Cordis Corporation Combination suture cutter and remover
US4726371A (en) 1982-02-09 1988-02-23 Gibbens Everett N Surgical cutting instrument
CA1176130A (en) 1982-03-31 1984-10-16 Mary K. Lee Suture cutter and extractor
US4445892A (en) * 1982-05-06 1984-05-01 Laserscope, Inc. Dual balloon catheter device
US4489446A (en) 1982-07-14 1984-12-25 Reed Charles C Heart valve prosthesis
US4619247A (en) 1983-03-31 1986-10-28 Sumitomo Electric Industries, Ltd. Catheter
JPS6190079U (ja) 1984-11-16 1986-06-11
US4758221A (en) 1986-02-18 1988-07-19 St. Louis University Catheter with a tip manipulation feature
GB8628090D0 (en) 1986-11-25 1986-12-31 Ahmad R Clipon surgical suture cutter
US4976710A (en) 1987-01-28 1990-12-11 Mackin Robert A Working well balloon method
US4784133A (en) 1987-01-28 1988-11-15 Mackin Robert A Working well balloon angioscope and method
US4961738A (en) 1987-01-28 1990-10-09 Mackin Robert A Angioplasty catheter with illumination and visualization within angioplasty balloon
US5437680A (en) 1987-05-14 1995-08-01 Yoon; Inbae Suturing method, apparatus and system for use in endoscopic procedures
US4850354A (en) 1987-08-13 1989-07-25 Baxter Travenol Laboratories, Inc. Surgical cutting instrument
US4798594A (en) * 1987-09-21 1989-01-17 Cordis Corporation Medical instrument valve
US4845851A (en) 1987-12-09 1989-07-11 Milliken Research Corporation Synthetic suture cutting device
US5372138A (en) 1988-03-21 1994-12-13 Boston Scientific Corporation Acousting imaging catheters and the like
US4917102A (en) 1988-09-14 1990-04-17 Advanced Cardiovascular Systems, Inc. Guidewire assembly with steerable adjustable tip
US4955377A (en) 1988-10-28 1990-09-11 Lennox Charles D Device and method for heating tissue in a patient's body
US5108368A (en) 1990-01-04 1992-04-28 Pilot Cardiovascular System, Inc. Steerable medical device
US5053047A (en) 1989-05-16 1991-10-01 Inbae Yoon Suture devices particularly useful in endoscopic surgery and methods of suturing
US4969893A (en) 1989-06-16 1990-11-13 Swor G Michael Disposable suture cutter and needle holder
US5290300A (en) 1989-07-31 1994-03-01 Baxter International Inc. Flexible suture guide and holder
US5221255A (en) 1990-01-10 1993-06-22 Mahurkar Sakharam D Reinforced multiple lumen catheter
US5254088A (en) 1990-02-02 1993-10-19 Ep Technologies, Inc. Catheter steering mechanism
US5084058A (en) 1990-04-25 1992-01-28 Mitek Surgical Products, Inc. Suture rundown tool and cutter system
US5133723A (en) 1990-04-25 1992-07-28 Mitek Surgical Products, Inc. Suture rundown tool and cutter system
US5078731A (en) 1990-06-05 1992-01-07 Hayhurst John O Suture clip
US5103804A (en) * 1990-07-03 1992-04-14 Boston Scientific Corporation Expandable tip hemostatic probes and the like
US5221269A (en) * 1990-10-15 1993-06-22 Cook Incorporated Guide for localizing a nonpalpable breast lesion
US5064431A (en) 1991-01-16 1991-11-12 St. Jude Medical Incorporated Annuloplasty ring
US5571215A (en) 1993-02-22 1996-11-05 Heartport, Inc. Devices and methods for intracardiac procedures
US5769812A (en) 1991-07-16 1998-06-23 Heartport, Inc. System for cardiac procedures
US5584803A (en) * 1991-07-16 1996-12-17 Heartport, Inc. System for cardiac procedures
US5735290A (en) * 1993-02-22 1998-04-07 Heartport, Inc. Methods and systems for performing thoracoscopic coronary bypass and other procedures
US5289963A (en) 1991-10-18 1994-03-01 United States Surgical Corporation Apparatus and method for applying surgical staples to attach an object to body tissue
US5290310A (en) 1991-10-30 1994-03-01 Howmedica, Inc. Hemostatic implant introducer
US5242456A (en) 1991-11-21 1993-09-07 Kensey Nash Corporation Apparatus and methods for clamping tissue and reflecting the same
US5358514A (en) 1991-12-18 1994-10-25 Alfred E. Mann Foundation For Scientific Research Implantable microdevice with self-attaching electrodes
US5522873A (en) * 1991-12-26 1996-06-04 Webster Laboratories, Inc. Catheter having electrode with annular recess and method of using same
US6183469B1 (en) * 1997-08-27 2001-02-06 Arthrocare Corporation Electrosurgical systems and methods for the removal of pacemaker leads
US5306296A (en) * 1992-08-21 1994-04-26 Medtronic, Inc. Annuloplasty and suture rings
JP2002509448A (ja) 1992-01-27 2002-03-26 メドトロニック インコーポレーテッド 輪状形成及び縫合リング
US5417700A (en) 1992-03-30 1995-05-23 Thomas D. Egan Automatic suturing and ligating device
US5242457A (en) 1992-05-08 1993-09-07 Ethicon, Inc. Surgical instrument and staples for applying purse string sutures
WO1994003227A1 (en) 1992-07-31 1994-02-17 Christodoulos Stefanadis Steerable cardiac catheter
US5312341A (en) * 1992-08-14 1994-05-17 Wayne State University Retaining apparatus and procedure for transseptal catheterization
US5257975A (en) 1992-08-14 1993-11-02 Edward Weck Incorporated Cannula retention device
US5383905A (en) 1992-10-09 1995-01-24 United States Surgical Corporation Suture loop locking device
AU5356894A (en) 1992-10-09 1994-05-09 Li Medical Technologies, Inc. Suture throw rundown tool
US5324298A (en) * 1992-11-03 1994-06-28 Edward H. Phillips Endoscopic knot pushing instrument
US5718725A (en) * 1992-12-03 1998-02-17 Heartport, Inc. Devices and methods for intracardiac procedures
AU5987494A (en) 1993-01-07 1994-08-15 Hayhurst, John O. Clip for suture
US5409483A (en) * 1993-01-22 1995-04-25 Jeffrey H. Reese Direct visualization surgical probe
US5346500A (en) 1993-02-16 1994-09-13 Sood Suchart Suture cutting scissor apparatus
US6125852A (en) 1993-02-22 2000-10-03 Heartport, Inc. Minimally-invasive devices and methods for treatment of congestive heart failure
US6010531A (en) 1993-02-22 2000-01-04 Heartport, Inc. Less-invasive devices and methods for cardiac valve surgery
US5527323A (en) * 1993-06-02 1996-06-18 General Surgical Innovations, Inc. Surgical instrument for tying a knot in a length of suture at a remote location
US6572529B2 (en) 1993-06-17 2003-06-03 Wilk Patent Development Corporation Intrapericardial assist method
US5409499A (en) * 1993-06-18 1995-04-25 Ethicon, Inc. Biocompatible suture knot clip
US5385514A (en) * 1993-08-11 1995-01-31 Excelermalic Inc. High ratio planetary transmission
US5450860A (en) 1993-08-31 1995-09-19 W. L. Gore & Associates, Inc. Device for tissue repair and method for employing same
US5991650A (en) 1993-10-15 1999-11-23 Ep Technologies, Inc. Surface coatings for catheters, direct contacting diagnostic and therapeutic devices
US5713950A (en) 1993-11-01 1998-02-03 Cox; James L. Method of replacing heart valves using flexible tubes
US5640955A (en) * 1995-02-14 1997-06-24 Daig Corporation Guiding introducers for use in the treatment of accessory pathways around the mitral valve using a retrograde approach
US5507760A (en) 1993-11-09 1996-04-16 Devices For Vascular Intervention, Inc. Cutter device
US5358479A (en) 1993-12-06 1994-10-25 Electro-Catheter Corporation Multiform twistable tip deflectable catheter
US5423837A (en) 1993-12-14 1995-06-13 Advanced Surgical, Inc. Surgical knot pusher
US5391173A (en) * 1994-02-10 1995-02-21 Wilk; Peter J. Laparoscopic suturing technique and associated device
US5591194A (en) * 1994-02-18 1997-01-07 C. R. Bard, Inc. Telescoping balloon catheter and method of use
US5520702A (en) 1994-02-24 1996-05-28 United States Surgical Corporation Method and apparatus for applying a cinch member to the ends of a suture
US5536270A (en) 1994-02-24 1996-07-16 Pioneer Laboratories, Inc. Cable system for bone securance
CA2141911C (en) 1994-02-24 2002-04-23 Jude S. Sauer Surgical crimping device and method of use
US5545168A (en) 1994-03-11 1996-08-13 Burke; Dennis W. Apparatus for both tensioning and crimping a surgical wire
US5364407A (en) 1994-03-21 1994-11-15 Poll Wayne L Laparoscopic suturing system
GB9405791D0 (en) 1994-03-23 1994-05-11 Univ London Device for use in cutting threads
FR2718645B1 (fr) * 1994-04-15 1996-07-12 Nycomed Lab Sa Cathéter de dilatation à échange rapide.
US5630824A (en) 1994-06-01 1997-05-20 Innovasive Devices, Inc. Suture attachment device
US5452513A (en) 1994-06-29 1995-09-26 Eric Hulsman Suture cutter
US5593435A (en) * 1994-07-29 1997-01-14 Baxter International Inc. Distensible annuloplasty ring for surgical remodelling of an atrioventricular valve and nonsurgical method for post-implantation distension thereof to accommodate patient growth
US5593424A (en) * 1994-08-10 1997-01-14 Segmed, Inc. Apparatus and method for reducing and stabilizing the circumference of a vascular structure
JPH10508504A (ja) * 1994-09-16 1998-08-25 バイオプシス メディカル インコーポレイテッド 組織を特定しおよびマーキングする方法および装置
AU3683995A (en) 1994-09-28 1996-04-19 Innovasive Devices, Inc. Suture tensioning device
US6171329B1 (en) * 1994-12-19 2001-01-09 Gore Enterprise Holdings, Inc. Self-expanding defect closure device and method of making and using
US5665109A (en) 1994-12-29 1997-09-09 Yoon; Inbae Methods and apparatus for suturing tissue
US5695505A (en) * 1995-03-09 1997-12-09 Yoon; Inbae Multifunctional spring clips and cartridges and applicators therefor
US5596990A (en) 1995-06-06 1997-01-28 Yock; Paul Rotational correlation of intravascular ultrasound image with guide catheter position
US5643169A (en) * 1995-06-06 1997-07-01 Baker Hughes Incorporated Decanter centrifuge with adjustable gate control
EP0836423A1 (en) 1995-06-07 1998-04-22 Heartport, Inc. Less invasive devices and methods for treatment of cardiac valves
US5935149A (en) * 1995-06-07 1999-08-10 Smith & Nephew Inc. Suturing tissue
IL151563A0 (en) 1995-10-13 2003-04-10 Transvascular Inc A longitudinal compression apparatus for compressing tissue
US5626614A (en) 1995-12-22 1997-05-06 Applied Medical Resources Corporation T-anchor suturing device and method for using same
US5817107A (en) 1995-12-28 1998-10-06 Schaller; Guenter Grasping instrument with a guided-on, attachable modified knot pusher
US5810853A (en) 1996-01-16 1998-09-22 Yoon; Inbae Knotting element for use in suturing anatomical tissue and methods therefor
US5860992A (en) * 1996-01-31 1999-01-19 Heartport, Inc. Endoscopic suturing devices and methods
US5972004A (en) 1996-02-23 1999-10-26 Cardiovascular Technologies, Llc. Wire fasteners for use in minimally invasive surgery and apparatus and methods for handling those fasteners
US5716370A (en) * 1996-02-23 1998-02-10 Williamson, Iv; Warren Means for replacing a heart valve in a minimally invasive manner
US5735877A (en) 1996-02-28 1998-04-07 Pagedas; Anthony C. Self locking suture lock
US5868703A (en) 1996-04-10 1999-02-09 Endoscopic Technologies, Inc. Multichannel catheter
US5752964A (en) 1996-04-16 1998-05-19 Mericle; Robert W. Surgical knot pusher with flattened spatulated tip
EP0906128A1 (en) 1996-05-28 1999-04-07 1218122 Ontario Inc. Resorbable implant biomaterial made of condensed calcium phosphate particles
US5919208A (en) 1996-06-27 1999-07-06 Valenti; Gabriele Suture block for surgical sutures
US5904147A (en) 1996-08-16 1999-05-18 University Of Massachusetts Intravascular catheter and method of controlling hemorrhage during minimally invasive surgery
US5810848A (en) 1996-08-21 1998-09-22 Hayhurst; John O. Suturing system
WO1998007375A1 (en) 1996-08-22 1998-02-26 The Trustees Of Columbia University Endovascular flexible stapling device
US5860993A (en) 1996-09-25 1999-01-19 Medworks Corp. Suture cutter
US5766240A (en) 1996-10-28 1998-06-16 Medtronic, Inc. Rotatable suturing ring for prosthetic heart valve
US5848969A (en) 1996-10-28 1998-12-15 Ep Technologies, Inc. Systems and methods for visualizing interior tissue regions using expandable imaging structures
US5752518A (en) * 1996-10-28 1998-05-19 Ep Technologies, Inc. Systems and methods for visualizing interior regions of the body
US5904651A (en) * 1996-10-28 1999-05-18 Ep Technologies, Inc. Systems and methods for visualizing tissue during diagnostic or therapeutic procedures
US5722403A (en) 1996-10-28 1998-03-03 Ep Technologies, Inc. Systems and methods using a porous electrode for ablating and visualizing interior tissue regions
US5827171A (en) 1996-10-31 1998-10-27 Momentum Medical, Inc. Intravascular circulatory assist device
US5782861A (en) 1996-12-23 1998-07-21 Sub Q Inc. Percutaneous hemostasis device
US6077214A (en) 1998-07-29 2000-06-20 Myocor, Inc. Stress reduction apparatus and method
US6406420B1 (en) 1997-01-02 2002-06-18 Myocor, Inc. Methods and devices for improving cardiac function in hearts
US5961440A (en) 1997-01-02 1999-10-05 Myocor, Inc. Heart wall tension reduction apparatus and method
US6050936A (en) * 1997-01-02 2000-04-18 Myocor, Inc. Heart wall tension reduction apparatus
US6045497A (en) * 1997-01-02 2000-04-04 Myocor, Inc. Heart wall tension reduction apparatus and method
US6149658A (en) 1997-01-09 2000-11-21 Coalescent Surgical, Inc. Sutured staple surgical fasteners, instruments and methods for minimally invasive vascular and endoscopic surgery
US6074401A (en) 1997-01-09 2000-06-13 Coalescent Surgical, Inc. Pinned retainer surgical fasteners, instruments and methods for minimally invasive vascular and endoscopic surgery
US5879371A (en) 1997-01-09 1999-03-09 Elective Vascular Interventions, Inc. Ferruled loop surgical fasteners, instruments, and methods for minimally invasive vascular and endoscopic surgery
US5961539A (en) 1997-01-17 1999-10-05 Segmed, Inc. Method and apparatus for sizing, stabilizing and/or reducing the circumference of an anatomical structure
DE19704580C2 (de) 1997-02-07 1999-04-01 Storz Karl Gmbh & Co Chirurgischer Fadenschneider
US6099547A (en) 1997-02-13 2000-08-08 Scimed Life Systems, Inc. Method and apparatus for minimally invasive pelvic surgery
US5989284A (en) 1997-02-18 1999-11-23 Hearten Medical, Inc. Method and device for soft tissue modification
US5752966A (en) 1997-03-07 1998-05-19 Chang; David W. Exovascular anastomotic device
US5843169A (en) 1997-04-08 1998-12-01 Taheri; Syde A. Apparatus and method for stapling graft material to a blood vessel wall while preserving the patency of orifices
US6090096A (en) 1997-04-23 2000-07-18 Heartport, Inc. Antegrade cardioplegia catheter and method
US6015428A (en) 1997-06-03 2000-01-18 Anthony C. Pagedas Integrally formed suture and suture lock
JP4162270B2 (ja) 1997-06-27 2008-10-08 ザ トラスティーズ オブ コロンビア ユニバーシティー イン ザ シティー オブ ニューヨーク 循環弁修復のための装置
US5899921A (en) 1997-07-25 1999-05-04 Innovasive Devices, Inc. Connector device and method for surgically joining and securing flexible tissue repair members
US6332893B1 (en) * 1997-12-17 2001-12-25 Myocor, Inc. Valve to myocardium tension members device and method
US5940651A (en) * 1998-02-13 1999-08-17 Advanced Micro Devices, Inc. Drip catching apparatus for receiving excess photoresist developer solution
US20020087148A1 (en) 1998-02-24 2002-07-04 Brock David L. Flexible instrument
US7371210B2 (en) * 1998-02-24 2008-05-13 Hansen Medical, Inc. Flexible instrument
US20020087048A1 (en) 1998-02-24 2002-07-04 Brock David L. Flexible instrument
US6197017B1 (en) * 1998-02-24 2001-03-06 Brock Rogers Surgical, Inc. Articulated apparatus for telemanipulator system
WO2002051329A1 (en) 2000-12-21 2002-07-04 Endovia Medical Inc Tendon actuated articulated members for a telemanipulator system
US5947983A (en) 1998-03-16 1999-09-07 Boston Scientific Corporation Tissue cutting and stitching device and method
US6890330B2 (en) 2000-10-27 2005-05-10 Viacor, Inc. Intracardiovascular access (ICVATM) system
US6099553A (en) 1998-05-21 2000-08-08 Applied Medical Resources Corporation Suture clinch
US6613059B2 (en) 1999-03-01 2003-09-02 Coalescent Surgical, Inc. Tissue connector apparatus and methods
US6641593B1 (en) 1998-06-03 2003-11-04 Coalescent Surgical, Inc. Tissue connector apparatus and methods
US6514265B2 (en) * 1999-03-01 2003-02-04 Coalescent Surgical, Inc. Tissue connector apparatus with cable release
US6607541B1 (en) 1998-06-03 2003-08-19 Coalescent Surgical, Inc. Tissue connector apparatus and methods
US6250308B1 (en) * 1998-06-16 2001-06-26 Cardiac Concepts, Inc. Mitral valve annuloplasty ring and method of implanting
US6423088B1 (en) * 1998-07-08 2002-07-23 Axya Medical, Inc. Sharp edged device for closing wounds without knots
US6409743B1 (en) * 1998-07-08 2002-06-25 Axya Medical, Inc. Devices and methods for securing sutures and ligatures without knots
US6165183A (en) 1998-07-15 2000-12-26 St. Jude Medical, Inc. Mitral and tricuspid valve repair
US6260552B1 (en) 1998-07-29 2001-07-17 Myocor, Inc. Transventricular implant tools and devices
US6461327B1 (en) 1998-08-07 2002-10-08 Embol-X, Inc. Atrial isolator and method of use
US6168586B1 (en) 1998-08-07 2001-01-02 Embol-X, Inc. Inflatable cannula and method of using same
US6648903B1 (en) 1998-09-08 2003-11-18 Pierson, Iii Raymond H. Medical tensioning system
US6355030B1 (en) * 1998-09-25 2002-03-12 Cardiothoracic Systems, Inc. Instruments and methods employing thermal energy for the repair and replacement of cardiac valves
US6102945A (en) 1998-10-16 2000-08-15 Sulzer Carbomedics, Inc. Separable annuloplasty ring
US6066160A (en) 1998-11-23 2000-05-23 Quickie Llc Passive knotless suture terminator for use in minimally invasive surgery and to facilitate standard tissue securing
US6258118B1 (en) 1998-11-25 2001-07-10 Israel Aircraft Industries Ltd. Removable support device
ATE324072T1 (de) 1998-12-30 2006-05-15 Ethicon Inc Fadensicherungsgerät
US6221084B1 (en) * 1999-01-15 2001-04-24 Pare Surgical, Inc. Knot tying apparatus having a notched thread cover and method for using same
US6228096B1 (en) 1999-03-31 2001-05-08 Sam R. Marchand Instrument and method for manipulating an operating member coupled to suture material while maintaining tension on the suture material
US7226467B2 (en) * 1999-04-09 2007-06-05 Evalve, Inc. Fixation device delivery catheter, systems and methods of use
WO2006116558A2 (en) 1999-04-09 2006-11-02 Evalve, Inc. Device and methods for endoscopic annuloplasty
US10327743B2 (en) 1999-04-09 2019-06-25 Evalve, Inc. Device and methods for endoscopic annuloplasty
WO2000060995A2 (en) * 1999-04-09 2000-10-19 Evalve, Inc. Methods and apparatus for cardiac valve repair
US6752813B2 (en) 1999-04-09 2004-06-22 Evalve, Inc. Methods and devices for capturing and fixing leaflets in valve repair
US6723107B1 (en) * 1999-04-19 2004-04-20 Orthopaedic Biosystems Ltd. Method and apparatus for suturing
DE60045660D1 (de) 1999-05-10 2011-04-07 Hansen Medical Inc Chirurgisches instrument
US6602289B1 (en) 1999-06-08 2003-08-05 S&A Rings, Llc Annuloplasty rings of particular use in surgery for the mitral valve
US20050192629A1 (en) 1999-06-25 2005-09-01 Usgi Medical Inc. Methods and apparatus for creating and regulating a gastric stoma
US6669687B1 (en) 1999-06-25 2003-12-30 Vahid Saadat Apparatus and methods for treating tissue
US6626899B2 (en) * 1999-06-25 2003-09-30 Nidus Medical, Llc Apparatus and methods for treating tissue
US6991643B2 (en) * 2000-12-20 2006-01-31 Usgi Medical Inc. Multi-barbed device for retaining tissue in apposition and methods of use
SE514718C2 (sv) * 1999-06-29 2001-04-09 Jan Otto Solem Anordning för behandling av bristande tillslutningsförmåga hos mitralisklaffapparaten
EP1207789A4 (en) 1999-08-30 2006-05-31 Applied Med Resources IMPROVED SURGICAL CLIP
AU7373700A (en) 1999-09-13 2001-04-17 Rex Medical, Lp Vascular closure
US6231561B1 (en) 1999-09-20 2001-05-15 Appriva Medical, Inc. Method and apparatus for closing a body lumen
FR2799364B1 (fr) 1999-10-12 2001-11-23 Jacques Seguin Dispositif d'annuloplastie utilisable par voie mini-invasive
US6312447B1 (en) 1999-10-13 2001-11-06 The General Hospital Corporation Devices and methods for percutaneous mitral valve repair
US6378289B1 (en) 1999-11-19 2002-04-30 Pioneer Surgical Technology Methods and apparatus for clamping surgical wires or cables
US6391048B1 (en) * 2000-01-05 2002-05-21 Integrated Vascular Systems, Inc. Integrated vascular device with puncture site closure component and sealant and methods of use
US6402781B1 (en) 2000-01-31 2002-06-11 Mitralife Percutaneous mitral annuloplasty and cardiac reinforcement
GB2359024A (en) * 2000-02-09 2001-08-15 Anson Medical Ltd Fixator for arteries
AU2001233526A1 (en) 2000-02-11 2001-08-20 Novo Rps Ulc Stent delivery system and method of use
US6306149B1 (en) 2000-02-15 2001-10-23 Microline, Inc. Medical clip device with cyclical pusher mechanism
US7993368B2 (en) 2003-03-13 2011-08-09 C.R. Bard, Inc. Suture clips, delivery devices and methods
US6551332B1 (en) * 2000-03-31 2003-04-22 Coalescent Surgical, Inc. Multiple bias surgical fastener
US6533753B1 (en) * 2000-04-07 2003-03-18 Philip Haarstad Apparatus and method for the treatment of an occluded lumen
US6840246B2 (en) 2000-06-20 2005-01-11 University Of Maryland, Baltimore Apparatuses and methods for performing minimally invasive diagnostic and surgical procedures inside of a beating heart
AU2001271411A1 (en) * 2000-06-23 2002-01-08 Viacor Incorporated Automated annular plication for mitral valve repair
US6419696B1 (en) 2000-07-06 2002-07-16 Paul A. Spence Annuloplasty devices and related heart valve repair methods
US6409758B2 (en) * 2000-07-27 2002-06-25 Edwards Lifesciences Corporation Heart valve holder for constricting the valve commissures and methods of use
US6524338B1 (en) * 2000-08-25 2003-02-25 Steven R. Gundry Method and apparatus for stapling an annuloplasty band in-situ
AU2001288435A1 (en) 2000-08-25 2002-03-04 Sutura, Inc. Suture cutter
US20040093024A1 (en) * 2000-09-01 2004-05-13 James Lousararian Advanced wound site management systems and methods
US6716243B1 (en) 2000-09-13 2004-04-06 Quickie, Inc. Concentric passive knotless suture terminator
US6602288B1 (en) 2000-10-05 2003-08-05 Edwards Lifesciences Corporation Minimally-invasive annuloplasty repair segment delivery template, system and method of use
US6723038B1 (en) * 2000-10-06 2004-04-20 Myocor, Inc. Methods and devices for improving mitral valve function
US6918917B1 (en) * 2000-10-10 2005-07-19 Medtronic, Inc. Minimally invasive annuloplasty procedure and apparatus
US6913608B2 (en) 2000-10-23 2005-07-05 Viacor, Inc. Automated annular plication for mitral valve repair
AU2002228930B2 (en) * 2000-12-06 2006-10-05 Cook Medical Technologies Llc Ligating band delivery apparatus
US7235086B2 (en) 2001-02-02 2007-06-26 Lsi Solutions, Inc. Crimping instrument with motion limiting feature
US6997931B2 (en) 2001-02-02 2006-02-14 Lsi Solutions, Inc. System for endoscopic suturing
AU2002243851A1 (en) 2001-02-05 2002-08-19 Viacor, Inc. Apparatus and method for reducing mitral regurgitation
AU2002240288B2 (en) 2001-02-05 2006-05-18 Viacor, Inc. Method and apparatus for improving mitral valve function
JP4578708B2 (ja) 2001-03-26 2010-11-10 オリンパス株式会社 生体組織のクリップ装置
US7186264B2 (en) * 2001-03-29 2007-03-06 Viacor, Inc. Method and apparatus for improving mitral valve function
US6524328B2 (en) 2001-04-12 2003-02-25 Scion International, Inc. Suture lock, lock applicator and method therefor
JP4282994B2 (ja) 2001-04-24 2009-06-24 ミトラリグン インコーポレイテッド 局所的ひだ形成術を使用するカテーテルベースの輪状形成術のための方法および装置
US7037334B1 (en) 2001-04-24 2006-05-02 Mitralign, Inc. Method and apparatus for catheter-based annuloplasty using local plications
US20060069429A1 (en) 2001-04-24 2006-03-30 Spence Paul A Tissue fastening systems and methods utilizing magnetic guidance
US6619291B2 (en) 2001-04-24 2003-09-16 Edwin J. Hlavka Method and apparatus for catheter-based annuloplasty
US20050125011A1 (en) * 2001-04-24 2005-06-09 Spence Paul A. Tissue fastening systems and methods utilizing magnetic guidance
US20020173803A1 (en) * 2001-05-01 2002-11-21 Stephen Ainsworth Self-closing surgical clip for tissue
US6676702B2 (en) 2001-05-14 2004-01-13 Cardiac Dimensions, Inc. Mitral valve therapy assembly and method
JP2002358949A (ja) * 2001-05-30 2002-12-13 Nec Tokin Corp 電池の製造方法
US7033379B2 (en) 2001-06-08 2006-04-25 Incisive Surgical, Inc. Suture lock having non-through bore capture zone
WO2003020179A1 (en) * 2001-08-31 2003-03-13 Mitral Interventions Apparatus for valve repair
US20050267495A1 (en) 2004-05-17 2005-12-01 Gateway Medical, Inc. Systems and methods for closing internal tissue defects
US6802851B2 (en) 2001-09-20 2004-10-12 Gordia Neurovascular, Inc. Stent aneurysm embolization method using collapsible member and embolic coils
US20030060813A1 (en) 2001-09-22 2003-03-27 Loeb Marvin P. Devices and methods for safely shrinking tissues surrounding a duct, hollow organ or body cavity
US7144363B2 (en) * 2001-10-16 2006-12-05 Extensia Medical, Inc. Systems for heart treatment
US20030078601A1 (en) 2001-10-22 2003-04-24 Oleg Shikhman Crimping and cutting device
US7052487B2 (en) 2001-10-26 2006-05-30 Cohn William E Method and apparatus for reducing mitral regurgitation
US6575971B2 (en) * 2001-11-15 2003-06-10 Quantum Cor, Inc. Cardiac valve leaflet stapler device and methods thereof
US20050177180A1 (en) 2001-11-28 2005-08-11 Aptus Endosystems, Inc. Devices, systems, and methods for supporting tissue and/or structures within a hollow body organ
US7749157B2 (en) 2001-12-04 2010-07-06 Estech, Inc. (Endoscopic Technologies, Inc.) Methods and devices for minimally invasive cardiac surgery for atrial fibrillation
US6908478B2 (en) 2001-12-05 2005-06-21 Cardiac Dimensions, Inc. Anchor and pull mitral valve device and method
US6976995B2 (en) 2002-01-30 2005-12-20 Cardiac Dimensions, Inc. Fixed length anchor and pull mitral valve device and method
US6746457B2 (en) 2001-12-07 2004-06-08 Abbott Laboratories Snared suture trimmer
US7238203B2 (en) 2001-12-12 2007-07-03 Vita Special Purpose Corporation Bioactive spinal implants and method of manufacture thereof
WO2003053289A1 (en) * 2001-12-21 2003-07-03 Simcha Milo Implantation system for annuloplasty rings
US6652562B2 (en) 2001-12-28 2003-11-25 Ethicon, Inc. Suture anchoring and tensioning device
US6764510B2 (en) * 2002-01-09 2004-07-20 Myocor, Inc. Devices and methods for heart valve treatment
US20050209690A1 (en) 2002-01-30 2005-09-22 Mathis Mark L Body lumen shaping device with cardiac leads
US7048754B2 (en) 2002-03-01 2006-05-23 Evalve, Inc. Suture fasteners and methods of use
US7004958B2 (en) * 2002-03-06 2006-02-28 Cardiac Dimensions, Inc. Transvenous staples, assembly and method for mitral valve repair
US20030225420A1 (en) 2002-03-11 2003-12-04 Wardle John L. Surgical coils and methods of deploying
US6699263B2 (en) 2002-04-05 2004-03-02 Cook Incorporated Sliding suture anchor
US20030199974A1 (en) 2002-04-18 2003-10-23 Coalescent Surgical, Inc. Annuloplasty apparatus and methods
US8105342B2 (en) 2002-05-08 2012-01-31 Apollo Endosurgery, Inc. Apparatus for ligating/suturing living tissues and system for resecting/suturing living tissues
EP1870018A3 (en) * 2002-05-30 2008-08-06 The Board of Trustees of The Leland Stanford Junior University Apparatus and methods for coronary sinus access
US7056330B2 (en) 2002-05-31 2006-06-06 Ethicon Endo-Surgery, Inc. Method for applying tissue fastener
EP1521550A4 (en) 2002-06-12 2011-02-23 Mitral Interventions Inc PROCESS FOR JOINING FABRICS
US20050107811A1 (en) 2002-06-13 2005-05-19 Guided Delivery Systems, Inc. Delivery devices and methods for heart valve repair
US8287555B2 (en) 2003-02-06 2012-10-16 Guided Delivery Systems, Inc. Devices and methods for heart valve repair
US20060122633A1 (en) * 2002-06-13 2006-06-08 John To Methods and devices for termination
US20040243227A1 (en) 2002-06-13 2004-12-02 Guided Delivery Systems, Inc. Delivery devices and methods for heart valve repair
US8641727B2 (en) 2002-06-13 2014-02-04 Guided Delivery Systems, Inc. Devices and methods for heart valve repair
US7883538B2 (en) * 2002-06-13 2011-02-08 Guided Delivery Systems Inc. Methods and devices for termination
US7758637B2 (en) * 2003-02-06 2010-07-20 Guided Delivery Systems, Inc. Delivery devices and methods for heart valve repair
US20050216078A1 (en) 2002-06-13 2005-09-29 Guided Delivery Systems, Inc. Delivery devices and methods for heart valve repair
US20060241656A1 (en) 2002-06-13 2006-10-26 Starksen Niel F Delivery devices and methods for heart valve repair
US7666193B2 (en) * 2002-06-13 2010-02-23 Guided Delivery Sytems, Inc. Delivery devices and methods for heart valve repair
US7753922B2 (en) 2003-09-04 2010-07-13 Guided Delivery Systems, Inc. Devices and methods for cardiac annulus stabilization and treatment
AU2003245507A1 (en) 2002-06-13 2003-12-31 Guided Delivery Systems, Inc. Devices and methods for heart valve repair
US7753858B2 (en) * 2002-06-13 2010-07-13 Guided Delivery Systems, Inc. Delivery devices and methods for heart valve repair
US7588582B2 (en) 2002-06-13 2009-09-15 Guided Delivery Systems Inc. Methods for remodeling cardiac tissue
US7727247B2 (en) 2002-08-21 2010-06-01 Olympus Corporation Living tissue ligation device
CN1705462A (zh) 2002-10-21 2005-12-07 米特拉利根公司 利用局部皱襞实施导管瓣环成形术的方法和装置
US8979923B2 (en) * 2002-10-21 2015-03-17 Mitralign, Inc. Tissue fastening systems and methods utilizing magnetic guidance
US7316708B2 (en) 2002-12-05 2008-01-08 Cardiac Dimensions, Inc. Medical device delivery system
DE10259411A1 (de) 2002-12-19 2004-07-08 Forschungszentrum Karlsruhe Gmbh Medizinischer Clip und Vorrichtung zum Applizieren eines solchen
US6866673B2 (en) 2002-12-20 2005-03-15 Ran Oren Suture manipulating and/or cutting implement
US7381210B2 (en) 2003-03-14 2008-06-03 Edwards Lifesciences Corporation Mitral valve repair system and method for use
US20040186566A1 (en) 2003-03-18 2004-09-23 Hindrichs Paul J. Body tissue remodeling methods and apparatus
US7824391B2 (en) 2003-03-21 2010-11-02 Cardiac Pacemakers, Inc. Articulating guide catheter
US20050107871A1 (en) * 2003-03-30 2005-05-19 Fidel Realyvasquez Apparatus and methods for valve repair
US20040236372A1 (en) 2003-05-20 2004-11-25 Anspach William E. Suture clamp
US7182769B2 (en) * 2003-07-25 2007-02-27 Medtronic, Inc. Sealing clip, delivery systems, and methods
US8216252B2 (en) 2004-05-07 2012-07-10 Usgi Medical, Inc. Tissue manipulation and securement system
US7534204B2 (en) * 2003-09-03 2009-05-19 Guided Delivery Systems, Inc. Cardiac visualization devices and methods
US7837710B2 (en) * 2003-09-10 2010-11-23 Linvatec Corporation Knotless suture anchor
US7850600B1 (en) 2003-09-23 2010-12-14 Tyco Healthcare Group Lp Laparoscopic instrument and trocar system and related surgical method
US7556647B2 (en) * 2003-10-08 2009-07-07 Arbor Surgical Technologies, Inc. Attachment device and methods of using the same
US7655040B2 (en) * 2003-11-12 2010-02-02 Medtronic Vascular, Inc. Cardiac valve annulus reduction system
US20050273138A1 (en) * 2003-12-19 2005-12-08 Guided Delivery Systems, Inc. Devices and methods for anchoring tissue
US7431726B2 (en) 2003-12-23 2008-10-07 Mitralign, Inc. Tissue fastening systems and methods utilizing magnetic guidance
US8603160B2 (en) 2003-12-23 2013-12-10 Sadra Medical, Inc. Method of using a retrievable heart valve anchor with a sheath
US20050228452A1 (en) 2004-02-11 2005-10-13 Mourlas Nicholas J Steerable catheters and methods for using them
US8828025B2 (en) 2004-02-13 2014-09-09 Ethicon Endo-Surgery, Inc. Methods and devices for reducing hollow organ volume
US20050251208A1 (en) 2004-05-07 2005-11-10 Usgi Medical Inc. Linear anchors for anchoring to tissue
US8444657B2 (en) 2004-05-07 2013-05-21 Usgi Medical, Inc. Apparatus and methods for rapid deployment of tissue anchors
US8057511B2 (en) 2004-05-07 2011-11-15 Usgi Medical, Inc. Apparatus and methods for positioning and securing anchors
US8257394B2 (en) 2004-05-07 2012-09-04 Usgi Medical, Inc. Apparatus and methods for positioning and securing anchors
US7390329B2 (en) 2004-05-07 2008-06-24 Usgi Medical, Inc. Methods for grasping and cinching tissue anchors
US20050251159A1 (en) 2004-05-07 2005-11-10 Usgi Medical Inc. Methods and apparatus for grasping and cinching tissue anchors
US7695493B2 (en) 2004-06-09 2010-04-13 Usgi Medical, Inc. System for optimizing anchoring force
US7736379B2 (en) 2004-06-09 2010-06-15 Usgi Medical, Inc. Compressible tissue anchor assemblies
US8206417B2 (en) 2004-06-09 2012-06-26 Usgi Medical Inc. Apparatus and methods for optimizing anchoring force
US20060015144A1 (en) * 2004-07-19 2006-01-19 Vascular Control Systems, Inc. Uterine artery occlusion staple
WO2006034243A2 (en) 2004-09-17 2006-03-30 0783963 Bc Ltd. Hydrocarbon processing devices and systems for engines and combustion equipment
AU2005289474B2 (en) 2004-09-27 2010-12-09 Evalve, Inc. Methods and devices for tissue grasping and assessment
US20060135970A1 (en) 2004-11-15 2006-06-22 Laurent Schaller Catheter-based tissue remodeling devices and methods
US8109945B2 (en) 2005-02-04 2012-02-07 St. Jude Medical Puerto Rico Llc Percutaneous suture path tracking device with cutting blade
WO2006097931A2 (en) 2005-03-17 2006-09-21 Valtech Cardio, Ltd. Mitral valve treatment techniques
US7344544B2 (en) * 2005-03-28 2008-03-18 Cardica, Inc. Vascular closure system
US8038687B2 (en) 2005-05-17 2011-10-18 St. Jude Medical Puerto Rico Llc Suture loop closure device
US8628541B2 (en) 2005-05-26 2014-01-14 Usgi Medical, Inc. Methods and apparatus for securing and deploying tissue anchors
US8579933B2 (en) 2005-06-02 2013-11-12 Cordis Corporation Patent foramen ovale closure device
WO2006133290A2 (en) 2005-06-07 2006-12-14 Uptodate Inc. Method and apparatus for managing information sets related to administering medical care to one or more patients
JP5186366B2 (ja) 2005-06-20 2013-04-17 スーチュラ,インコーポレイテッド 縫合糸に結び目を作る装置
US8252005B2 (en) 2005-06-30 2012-08-28 Edwards Lifesciences Corporation System, apparatus, and method for fastening tissue
US8951285B2 (en) 2005-07-05 2015-02-10 Mitralign, Inc. Tissue anchor, anchoring system and methods of using the same
US20070055206A1 (en) 2005-08-10 2007-03-08 Guided Delivery Systems, Inc. Methods and devices for deployment of tissue anchors
US9492277B2 (en) 2005-08-30 2016-11-15 Mayo Foundation For Medical Education And Research Soft body tissue remodeling methods and apparatus
US8764820B2 (en) 2005-11-16 2014-07-01 Edwards Lifesciences Corporation Transapical heart valve delivery system and method
JP2009519784A (ja) 2005-12-15 2009-05-21 ジョージア テック リサーチ コーポレイション 心臓弁の寸法を制御するシステム及び方法
EP2222232B1 (en) * 2007-10-19 2018-12-12 Ancora Heart, Inc. Devices for locking and/or cutting tethers
EP3854315A1 (en) 2007-10-19 2021-07-28 Ancora Heart, Inc. Systems for cardiac remodeling
EP2249711B1 (en) 2008-02-06 2021-10-06 Ancora Heart, Inc. Multi-window guide tunnel
US9314335B2 (en) 2008-09-19 2016-04-19 Edwards Lifesciences Corporation Prosthetic heart valve configured to receive a percutaneous prosthetic heart valve implantation
EP2349020B1 (en) * 2008-10-10 2020-06-03 Ancora Heart, Inc. Tether tensioning device
KR20110084911A (ko) * 2008-10-10 2011-07-26 가이디드 딜리버리 시스템즈 인코퍼레이티드 종결 장치 및 관련 방법

Patent Citations (2)

* Cited by examiner, † Cited by third party
Publication number Priority date Publication date Assignee Title
WO2002034167A2 (en) * 2000-10-23 2002-05-02 St. Jude Medical, Inc. Mitral and tricuspid valve repair
JP2004530451A (ja) * 2000-10-23 2004-10-07 セント・ジュード・メディカル・インコーポレーテッド 僧帽弁および三尖弁の修復

Cited By (4)

* Cited by examiner, † Cited by third party
Publication number Priority date Publication date Assignee Title
JP2022538842A (ja) * 2019-06-28 2022-09-06 ボストン サイエンティフィック サイムド,インコーポレイテッド 弁輪形成術のための手動内部ガイドワイヤナビゲーション
JP7357083B2 (ja) 2019-06-28 2023-10-05 ボストン サイエンティフィック サイムド,インコーポレイテッド 弁輪形成術のための手動内部ガイドワイヤナビゲーション
JP2023164735A (ja) * 2019-06-28 2023-11-10 ボストン サイエンティフィック サイムド,インコーポレイテッド 弁輪形成術のための手動内部ガイドワイヤナビゲーション
JP7631459B2 (ja) 2019-06-28 2025-02-18 ボストン サイエンティフィック サイムド,インコーポレイテッド 弁輪形成術のための手動内部ガイドワイヤナビゲーション

Also Published As

Publication number Publication date
WO2005025644A2 (en) 2005-03-24
DE602004032362D1 (de) 2011-06-01
AU2010257360B2 (en) 2012-11-01
US20050107812A1 (en) 2005-05-19
US20080243150A1 (en) 2008-10-02
JP2007514455A (ja) 2007-06-07
US20060025784A1 (en) 2006-02-02
IL173685A0 (en) 2006-07-05
EP2377469A1 (en) 2011-10-19
US8343173B2 (en) 2013-01-01
AU2004271987A1 (en) 2005-03-24
US9226825B2 (en) 2016-01-05
US20050107811A1 (en) 2005-05-19
EP1667750B1 (en) 2011-04-20
US7753924B2 (en) 2010-07-13
CA2536412C (en) 2013-08-06
AU2004271987B2 (en) 2010-10-07
EP3424436A1 (en) 2019-01-09
CA2536412A1 (en) 2005-03-24
EP1667750A4 (en) 2008-12-10
EP1667750A2 (en) 2006-06-14
AU2010257360A1 (en) 2011-01-20
EP2377469B1 (en) 2018-05-02
WO2005025644A3 (en) 2007-05-03
US20080234704A1 (en) 2008-09-25
EP2374415A1 (en) 2011-10-12
ATE506014T1 (de) 2011-05-15
JP5318710B2 (ja) 2013-10-16

Similar Documents

Publication Publication Date Title
JP5318710B2 (ja) 心臓弁修復のための送達装置および方法
US7666193B2 (en) Delivery devices and methods for heart valve repair
US10624741B2 (en) Delivery devices and methods for heart valve repair
US7753858B2 (en) Delivery devices and methods for heart valve repair
US7588582B2 (en) Methods for remodeling cardiac tissue
US20060241656A1 (en) Delivery devices and methods for heart valve repair
US20040243227A1 (en) Delivery devices and methods for heart valve repair
US20050216078A1 (en) Delivery devices and methods for heart valve repair
JP2010131404A (ja) 組織を固定するための装置および方法
JP2010115503A (ja) 終端のための方法と装置
JP2012101094A (ja) 心臓弁修復のための送達装置および方法
HK40002754A (en) Delivery devices for heart valve repair

Legal Events

Date Code Title Description
A521 Request for written amendment filed

Free format text: JAPANESE INTERMEDIATE CODE: A523

Effective date: 20100820

A131 Notification of reasons for refusal

Free format text: JAPANESE INTERMEDIATE CODE: A131

Effective date: 20110922

A521 Request for written amendment filed

Free format text: JAPANESE INTERMEDIATE CODE: A523

Effective date: 20111221

A131 Notification of reasons for refusal

Free format text: JAPANESE INTERMEDIATE CODE: A131

Effective date: 20120622

A601 Written request for extension of time

Free format text: JAPANESE INTERMEDIATE CODE: A601

Effective date: 20120920

A602 Written permission of extension of time

Free format text: JAPANESE INTERMEDIATE CODE: A602

Effective date: 20120925

A521 Request for written amendment filed

Free format text: JAPANESE INTERMEDIATE CODE: A523

Effective date: 20121221

TRDD Decision of grant or rejection written
A01 Written decision to grant a patent or to grant a registration (utility model)

Free format text: JAPANESE INTERMEDIATE CODE: A01

Effective date: 20130613

A61 First payment of annual fees (during grant procedure)

Free format text: JAPANESE INTERMEDIATE CODE: A61

Effective date: 20130710

R150 Certificate of patent or registration of utility model

Ref document number: 5318710

Country of ref document: JP

Free format text: JAPANESE INTERMEDIATE CODE: R150

Free format text: JAPANESE INTERMEDIATE CODE: R150

R250 Receipt of annual fees

Free format text: JAPANESE INTERMEDIATE CODE: R250

S533 Written request for registration of change of name

Free format text: JAPANESE INTERMEDIATE CODE: R313533

R350 Written notification of registration of transfer

Free format text: JAPANESE INTERMEDIATE CODE: R350

R250 Receipt of annual fees

Free format text: JAPANESE INTERMEDIATE CODE: R250

R250 Receipt of annual fees

Free format text: JAPANESE INTERMEDIATE CODE: R250

R250 Receipt of annual fees

Free format text: JAPANESE INTERMEDIATE CODE: R250

R250 Receipt of annual fees

Free format text: JAPANESE INTERMEDIATE CODE: R250

R250 Receipt of annual fees

Free format text: JAPANESE INTERMEDIATE CODE: R250

R250 Receipt of annual fees

Free format text: JAPANESE INTERMEDIATE CODE: R250

R250 Receipt of annual fees

Free format text: JAPANESE INTERMEDIATE CODE: R250

R250 Receipt of annual fees

Free format text: JAPANESE INTERMEDIATE CODE: R250

EXPY Cancellation because of completion of term