JP2010004002A - 極端紫外光を用いる半導体露光装置 - Google Patents

極端紫外光を用いる半導体露光装置 Download PDF

Info

Publication number
JP2010004002A
JP2010004002A JP2008226548A JP2008226548A JP2010004002A JP 2010004002 A JP2010004002 A JP 2010004002A JP 2008226548 A JP2008226548 A JP 2008226548A JP 2008226548 A JP2008226548 A JP 2008226548A JP 2010004002 A JP2010004002 A JP 2010004002A
Authority
JP
Japan
Prior art keywords
mirror
light
extreme ultraviolet
ultraviolet light
exposure apparatus
Prior art date
Legal status (The legal status is an assumption and is not a legal conclusion. Google has not performed a legal analysis and makes no representation as to the accuracy of the status listed.)
Granted
Application number
JP2008226548A
Other languages
English (en)
Other versions
JP5061069B2 (ja
Inventor
Masato Moriya
正人 守屋
Osamu Wakabayashi
理 若林
Soumagne George
スマン ゲオルグ
Current Assignee (The listed assignees may be inaccurate. Google has not performed a legal analysis and makes no representation or warranty as to the accuracy of the list.)
Komatsu Ltd
Gigaphoton Inc
Original Assignee
Komatsu Ltd
Gigaphoton Inc
Priority date (The priority date is an assumption and is not a legal conclusion. Google has not performed a legal analysis and makes no representation as to the accuracy of the date listed.)
Filing date
Publication date
Application filed by Komatsu Ltd, Gigaphoton Inc filed Critical Komatsu Ltd
Priority to JP2008226548A priority Critical patent/JP5061069B2/ja
Priority to US12/469,176 priority patent/US8227778B2/en
Publication of JP2010004002A publication Critical patent/JP2010004002A/ja
Priority to US13/494,778 priority patent/US8507885B2/en
Application granted granted Critical
Publication of JP5061069B2 publication Critical patent/JP5061069B2/ja
Active legal-status Critical Current
Anticipated expiration legal-status Critical

Links

Images

Landscapes

  • Exposure And Positioning Against Photoresist Photosensitive Materials (AREA)
  • Exposure Of Semiconductors, Excluding Electron Or Ion Beam Exposure (AREA)
  • X-Ray Techniques (AREA)
  • Microscoopes, Condenser (AREA)
  • Optical Elements Other Than Lenses (AREA)
  • Optical Filters (AREA)
  • Diffracting Gratings Or Hologram Optical Elements (AREA)

Abstract

【課題】本発明の露光装置は、EUV光以外の他の光を取り除き、EUV光のみをマスクに供給することができる。
【解決手段】ミラー510の表面には、Mo/Siの多層膜が設けられており、この多層膜にブレーズド溝513が形成される。EUV光源装置1から入射する光203,301は、ミラー510に入射し、反射または回折する。EUV反射光204(EUV回折光を含む)と、他の波長の光302とは、反射角度または回折角度が異なるため、進行方向が異なる。アパーチャやダンパによって他の光302を除去することにより、純度の高いEUV光をマスク600に照射することができる。
【選択図】図1

Description

本発明は、極端紫外光を用いる半導体露光装置に関する。
例えば、レジストを塗布したウェハ上に、回路パターンの描かれたマスクを縮小投影し、エッチングや薄膜形成等の処理を繰り返すことにより、半導体チップが生成される。半導体プロセスの微細化に伴い、より短い波長の光が求められている。
そこで、13.5nmという極端に波長の短い光と縮小光学系とを使用する、半導体露光技術が研究されている。この技術は、EUVL(Extreme Ultra Violet Lithography:極端紫外線露光)と呼ばれる。以下、極端紫外光をEUV光と呼ぶ。EUV光を用いるEUV露光システムは、EUV光を出力する光源装置と、EUV光をマスクに照射して半導体ウエハに回路パターンを形成する露光装置とを備える(特許文献1)。
EUV光源としては、LPP(Laser Produced Plasma:レーザ生成プラズマ)式の光源と、DPP(Discharge Produced Plasma)式の光源と、SR(Synchrotron Radiation)式の光源との三種類が知られている。LPP式光源とは、ターゲット物質にレーザ光を照射してプラズマを生成し、このプラズマから放射されるEUV光を利用する光源である。DPP式光源とは、放電によって生成されるプラズマを利用する光源である。SR式光源とは、軌道放射光を使用する光源である。以上三種類の光源のうち、LPP式光源は、他の方式に比べてプラズマ密度を高くすることができ、かつ、捕集立体角を大きくできるため、高出力のEUV光を得られる可能性が高い。
ここで、EUV光は波長が短く、物質に吸収されやすいため、EUVLでは、反射光学系が採用される。反射光学系は、例えば、モリブデン(Mo)とシリコン(Si)とを用いた多層膜を使用して構築される。Mo/Siの多層膜は、13.5nm付近の反射率が高いため、EUVLでは13.5nmのEUV光を使用する。
しかし、多層膜の反射率は70%程度のため、反射を繰り返すにつれて出力が次第に低下する。露光装置内でEUV光は十数回反射するため、EUV光源装置は、高出力のEUV光を露光装置に供給する必要がある。そこで、EUV光源装置として、LPP式の光源に期待が寄せられている(特許文献2)。LPP式の光源装置では、例えば、ターゲット供給装置から真空チャンバ内に、ターゲットとして、錫(Sn)の液滴を供給し、炭酸ガスレーザ光を錫液滴に照射してプラズマ化させ、プラズマから放射されるEUV光を集光ミラーで集めて露光機へ導く。
ところで、EUV露光システムは、より純度の高いEUV光を露光装置に供給しなければならない。マスクに照射される光の中に、EUV光以外の他の光が混入していると、露光コントラストが低下したり、パターニングの精度が低下する。例えば、プラズマから放射される光のスペクトラムのうち、波長130nm(DUV:Deep Ultraviolet)〜400nm(UV:Ultraviolet)の光は、露光装置で使用される露光用レジストを感光させてしまい、露光コントラストを下げる原因となる。また、赤外光(IR:Infrared)は、マスクやウエハ等に吸収されて熱的膨張を引き起こし、パターニングの精度を低下させる可能性がある。
特に、炭酸ガスパルスレーザ(波長10.6μmの赤外光。以下、CO2レーザと表記)を錫ターゲットの励起源とするEUV光源装置の場合、高出力のCO2レーザ光がターゲットにおいて散乱、反射するため、この散乱するCO2レーザ光を除去する必要がある。例えば、中心波長13.5nmのEUV光の強度を1とした場合、CO2レーザ光の強度を0.01以下に抑える必要がある。
そこで、第2従来技術(特許文献3)では、反射型の平面回折格子を設けて、EUV光とそれ以外の光とを分離し、EUV光のみを供給する。EUV光以外の光は、ダンパによって吸収され、熱エネルギに変換される。
反射型回折格子を用いるSPF(Spectrum Purity Filter)の場合、EUVの回折光の効率を高めるべく、ブレーズド溝を設ける必要がある。しかし、ピッチが数μm、溝の高さが数十nmという非常に微細な溝を形成する必要があり、かつ、回折するEUV光の収差を排除するために、ピッチの変化する湾曲した溝が必要である(非特許文献1)。
従って、第4従来技術(特許文献4)に記載されているように、ミラーの表面にコーティングされたMo/Si多層膜をブレーズド溝状に加工することにより、反射型SPFを生成することが提案されている。
特開2005−64135号公報 特開2006−80255号公報 米国特許第6,469,827号明細書 米国特許第7,050,237号明細書 "EUV spectral purity filter: optical and mechanical design, gratingfabrication, and testing" H.Kierey, et al., Advances in Mirror Technology for X-Ray, EUV Lithography, Laser andOther Applications, edited by Ali M.Khounsary, Udo Dinnger, Kazuya Ohta,Proceeding of SPIE Vol.5193
多層膜にブレーズド加工する従来技術では、Mo/Si多層膜を合計2000層以上積み重ねる必要がある。EUVの回折光と他の光の正反射光とを確実に分離するために、ブレーズド角を大きく設定する必要がある。ブレーズド角を大きくするために2000層以上の多層膜が必要とされる。
薄膜フィルム状のSPFを用いる場合、EUV光の透過率が低いため、EUV光の伝達効率が低下する。さらに、薄膜フィルム状のSPFの場合、赤外光等を吸収して変形したり、破れたりする可能性があり、信頼性や使い勝手が低い。
本発明は、上記問題に着目してなされたもので、その目的は、純度の高い極端紫外光をマスクに照射できる、半導体露光装置を提供することにある。本発明の他の目的は、多層膜の層数及び形状の異なる複数の領域を積層化してなるミラーを用いることにより、複数種類の回折効果を利用して、極端紫外光の純度を高めることができるようにした半導体露光装置を提供することにある。本発明の更なる目的は、後述する実施形態の記載から明らかになるであろう。
上記課題を解決するために、本発明の第1の側面に従う半導体露光装置は、極端紫外光を用いる照明光学系を備える半導体露光装置であって、照明光学系は、極端紫外光を反射させるための極端紫外光用ミラーを複数備えており、各極端紫外光用ミラーのうち少なくとも一つの所定の極端紫外光用ミラーは、極端紫外光と他の波長の光とを分離させるものであって、基板部と、基板部の一面側に設けられる基礎部であって、基板部の一面側に設けられる第1多層膜から形成される基礎部と、基礎部の一面側に一体的に設けられる反射部であって、基礎部の一面側に設けられる第2多層膜に所定形状の溝を形成することにより生成される反射部と、を備える。
所定の極端紫外光用ミラーは、入射した極端紫外光をほぼ平行光として反射させるための凹面を有するミラーとして構成してもよい。
所定の極端紫外光用ミラーは、入射した極端紫外光を反射させるための平面を有するミラーとして構成してもよい。
照明光学系は、極端紫外光が集光される中間的な集光点を含み、中間的な集光点の近傍には、極端紫外光を通過させるための開口部を有する遮光部材を設けてもよい。
第1多層膜及び第2多層膜は一体的に形成されており、第1多層膜及び第2多層膜をそれぞれ構成する複数のペア層の厚み寸法は、入射する極端紫外光の角度に応じて設定することができる。
所定形状の溝は、ブレーズド状の溝として形成してもよい。所定形状の溝は、三角波状の溝として形成してもよい。所定形状の溝は、波状の溝として形成してもよい。
所定形状の溝は、同心円状または平行線状に設けることができる。
第1多層膜及び第2多層膜を構成するペア層の合計数は、100以上1000以下の範囲にすることができる。
本発明の第2の側面に従う半導体露光装置は、極端紫外光を用いる照明光学系を備える半導体露光装置であって、極端紫外光を出力する光源装置の出力側に接続されるチャンバと、光源装置から入射する極端紫外光を平行光として反射する第1ミラーと、第1ミラーにより反射される極端紫外光が入射する第2ミラーであって、極端紫外光の強度を均一化させる第2ミラーと、第2ミラーによって強度の均一化された極端紫外光を集光し、マスクに照射するための第3ミラーと、第2ミラーと第3ミラーとの間、あるいは第1ミラーと第2ミラーとの間に位置して設けられ、極端紫外光以外の他の波長の光線を吸収ないし減衰させる遮光部材と、を備えており、第1ミラーは、基板部と、基板部の一面側に設けられる基礎部であって、基板部の一面側に設けられる第1多層膜から形成される基礎部と、基礎部の一面側に一体的に設けられる反射部であって、基礎部の一面側に設けられる第2多層膜に所定形状の溝を形成することにより生成される反射部と、を備えて構成される。
第1ミラーは、極端紫外光の入射角度が0度から30度までの範囲内、または、60度から80度までの範囲内となるように、設けることができる。
遮光部材は、極端紫外光のみを通過させ、他の波長の光線を吸収または減衰させる、ピンホール部材として構成できる。
遮光部材は、他の波長の光線を吸収するダンパ部材として構成できる。
本発明の第3の側面に従う半導体露光装置は、極端紫外光を用いる照明光学系を備える半導体露光装置であって、極端紫外光を出力する光源装置の出力側に接続されるチャンバと、入射する極端紫外光を平行光として反射する第1ミラーと、第1ミラーにより反射される極端紫外光が入射する第2ミラーであって、極端紫外光の強度を均一化させる第2ミラーと、第2ミラーによって強度の均一化された極端紫外光を集光し、マスクに照射するための第3ミラーと、光源装置の出力側と第1ミラーとの間に設けられ、光源装置から入射する極端紫外光を第1ミラーに向けて反射する第4ミラーと、第2ミラーと第3ミラーとの間に位置して設けられ、極端紫外光以外の他の波長の光線を吸収ないし減衰させる遮光部材と、を備えており、第4ミラーは、基板部と、基板部の一面側に設けられる基礎部であって、基板部の一面側に設けられる第1多層膜から形成される基礎部と、基礎部の一面側に一体的に設けられる反射部であって、基礎部の一面側に設けられる第2多層膜に所定形状の溝を形成することにより生成される反射部と、を備えて構成される。
本発明によれば、極端紫外光を反射するミラーは、第1多層膜からなる基礎部と、第2多層膜に所定形状の溝を形成してなる反射部とを備えることができる。従って、複数種類の反射作用を利用して、極端紫外光を他の光から分離させることができる。そして、焦点近傍に位置する遮光部材によって、極端紫外光だけを通過させ、他の光の通過を阻止することにより、純度の高い極端紫外光を得ることができる。
以下、図を参照しながら本発明の実施形態を詳細に説明する。本実施形態では、EUV光を用いる露光システム1を例に挙げて説明する。本実施形態では、以下に述べるように、EUV光を反射するミラーとして、露光装置3の照明光学系500内に含まれるミラー510等を例示する。本実施形態では、照明光学系500内のミラー510に反射型回折格子を一体的に設ける。これにより、そのミラー510に、本来の機能とSPF機能とを同時に実現させる。ミラー510の本来の機能とは、入射するEUV光を平行光として反射させる機能である。本実施形態では、ミラー510上の多層膜に所定形状の溝を設けることにより、基礎部分の多層膜及び所定形状の溝が設けられた部分の多層膜によるブラッグ反射と、所定形状の溝の表面に出現する多層膜の繰り返し模様による回折と、所定形状の溝そのものによる回折との3種類の回折作用を利用できる。本実施形態では、所定形状の溝の例として、ブレーズド状の溝、三角波状の溝、波状の溝を説明する。
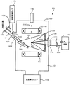
図1〜図10に基づいて第1実施例を説明する。図1は、EUV露光システム1の全体構成を模式的に示す説明図である。露光システム1は、例えば、EUV光源装置2と、露光装置3とを備える。
EUV光源装置2の詳細は図を改めて後述するが、先に概略を述べる。EUV光源装置2は、EUV光を生成して露光装置3に供給する装置である。ターゲット供給器120は、錫等のターゲット200を真空チャンバ100内に供給する。駆動用レーザ光源110は、ターゲット200に駆動用レーザを照射してプラズマ化する。プラズマ201から発生したEUV光は、EUV集光ミラー130によって集められ、露光装置3に向けて送り出される。
露光装置3は、例えば、照明光学系500と、マスク600と、投影光学系700とを備える。照明光学系500は、EUV光源装置2から供給されるEUV光をマスク500に入射させるための光学系であり、複数のミラーを備えている。マスク600には、回路パターンが形成されている。投影光学系700は、マスク600で反射したEUV光を半導体ウエハに入射させることにより、回路パターンを形成させる光学系である。
図1の下側に拡大して示すように、本実施例では、照明光学系500の有する複数のミラーのうち少なくとも一つのミラー510に、平坦な基礎部512と、所定形状の溝を有する反射部513とを、一体的に形成する。ミラー510は、EUV光の反射光204の方向と、EUV光以外の反射光301A,301B(全体として、その他の光301と呼ぶ場合がある)の方向とを異ならせる。これにより、EUV光の反射光204と、EUV光以外の反射光301A,301Bとを分離し、EUV光のみをマスク600に向けて送り出すようになっている。
図2を用いて、EUV光源装置2の構成を説明する。EUV光源装置2は、後述するように、例えば、真空チャンバ100と、駆動用レーザ光源110と、ターゲット供給器120と、EUV集光ミラー130と、磁場発生用コイル140,141と、アパーチャ160と、真空排気ポンプ170,171と、ゲートバルブ180とを備えている。
真空チャンバ100は、容積の大きい第1チャンバ101と、容積の小さい第2チャンバ102とを接続することにより構成される。第1チャンバ101は、プラズマの生成等を行うメインチャンバである。第2チャンバ102は、プラズマから放射されるEUV光を露光装置に供給するための接続用チャンバである。
第1チャンバ101には第1真空排気ポンプ170が接続されており、第2チャンバ102には第2真空排気ポンプ171が接続されている。これにより、各チャンバ101,102は、それぞれ真空状態に保たれている。各真空排気ポンプ170,171をそれぞれ別々のポンプとして構成してもよいし、同一のポンプを利用する構成でもよい。
ターゲット供給器120は、例えば、錫(Sn)等の材料を加熱溶解することにより、固体または液体のドロップレットとして、ターゲット200を供給する。なお、本実施例では、ターゲット物質として錫を例に挙げて説明するが、これに限らず、例えば、リチウム(Li)等の他の物質を用いてもよい。あるいは、アルゴン(Ar)、キセノン(Xe)、クリプトン(Kr)、水、アルコール等の材料を用い、気体、液体または固体のいずれかの状態でターゲットを供給する構成でもよい。さらには、スタナン(SnH4)、四塩化錫(SnCl4)等を液体または氷のドロップレットとして供給してもよい。
駆動用レーザ光源110は、ターゲット供給器120から供給されるターゲット200を励起させるためのパルスレーザを出力する。駆動用レーザ光源110は、例えば、CO2(炭酸ガス)パルスレーザ光源として構成される。駆動用レーザ光源110は、例えば、波長10.6μm、出力20kW、パルス繰り返し周波数100kHz、パルス幅20nsecの仕様を有するレーザ光を出射する。なお、レーザ光源としてCO2パルスレーザを例に挙げるが、本発明はこれに限定されない。
駆動用レーザ光源110から出力される励起用のレーザ光300は、集光レンズ111と入射窓112を介して、第1チャンバ101内に入射する。第1チャンバ101内に入射したレーザ光300は、EUV集光ミラー130に設けられた入射穴132を介して、ターゲット供給器120から供給されるターゲット200を照射する。
ターゲットにレーザ光が照射されると、ターゲットプラズマ201が発生する。以下、便宜上、単にプラズマ201と呼ぶ。プラズマ201は、中心波長13.5nmのEUV光202を放射する。プラズマ201から放射されたEUV光202は、EUV集光ミラー130に入射して反射される。反射光203は、「焦点」としての中間集光点(IF:Intermediate Focus)に集光する。IFに集光されたEUV光は、開状態のゲートバルブ180を介して、露光装置へ導かれる。
第1チャンバ101と第2チャンバ102との間を区切るようにして、IFの近傍に、アパーチャ160が設けられている。アパーチャ160は、例えば、小孔を備える板状の部材として構成される。アパーチャ160は、EUV光以外の光(DUV、UV、VIS(Visible:可視光)、IR)を吸収して熱に変換する。これにより、EUV光以外の光やデブリが露光装置3側に送られるのを、できるだけ阻止する。
プラズマ201からEUV集光ミラー130を介してIFに向かうEUV光202,203の光路を上下から挟むようにして、一対の磁場発生用コイル140,141が設けられている。各コイル140,141の軸心は一致する。各コイル140,141は、例えば、超伝導コイルを有する電磁石のように構成される。各コイル140,141に同方向の電流を流すと、磁場が発生する。この磁場は、コイル140,141の近傍では磁束密度が高く、コイル140とコイル141の中間点では磁束密度が低い。
ターゲットにレーザ光が照射されると、デブリが発生する。電荷を帯びているデブリ(プラズマ等のイオン)は、各コイル140,141によって発生する磁場に捕捉され、ローレンツ力により螺旋運動しながら図1中の下側に向けて移動する。下側に移動したデブリは、第1真空排気ポンプ170により吸引されて第1チャンバ101の外部で回収される。磁場発生装置(本例では、コイル140,141)の設置場所は、それらが作る磁力線によりイオン性のデブリが光学部品を回避して排出される位置であればよい。従って、図示する配置に限定されない。
また、コイル140あるいは141のどちらかの磁束密度を相対的に弱くして、磁束密度の低い側に電荷を帯びているデブリが流れるようにしてもよい。
各コイル140,141へ電流を供給する電源装置、配線、アパーチャ160及びEUV集光ミラー130を冷却するための機構等は、説明の便宜上、図示を省略する。しかし、いわゆる当業者であれば、通電構造や冷却構造等を容易に理解することができ、実際に製作できる。
第1チャンバ101内は第1真空排気ポンプ170によって高真空状態に保持され、第2チャンバ102内は第2真空排気ポンプ171によって真空状態に保持される。第1チャンバ101内の圧力は、第2チャンバ102内の圧力よりも低く設定される。さらに、第1チャンバ101内のイオン(帯電しているデブリ)は、コイル140,141により発生する磁場に捕捉される。
従って、第1チャンバ101内で生じたデブリが第2チャンバ102内に流入するのを抑制することができる。さらに、第2チャンバ102内にデブリ等が流入した場合でも、このデブリ等を第2真空排気ポンプ171によって第2チャンバ102の外部で回収することができる。これにより、デブリ等が露光装置に流入するのを防止できる。
本実施例では、デブリから各種光学素子を保護するための保護手段として、コイル140,141による磁場を利用する。各種光学素子とは、EUV集光ミラー130、入射窓112、真空チャンバ100内の現象を観測するために設けられた各種光学センサの入射窓等である。
プラズマ201から放出されるデブリのうちイオンは、電荷を有するため、磁場に捕捉されて第1真空排気ポンプ170によって排出される。しかし、電荷を有さない中性のデブリは、磁場で拘束することができない。
従って、もしも何らの対策も施さない場合、中性デブリは、真空チャンバ100内の各種光学素子を徐々に汚染し、ダメージを与える。さらに、第1チャンバ101内の中性デブリが第2チャンバ102を介して露光装置内に流入すると、露光装置内の各種光学素子までが汚染される。
これに対し、本実施例では、真空チャンバ100を大容積の第1チャンバ101と小容積の第2チャンバ102とに分けて構成し、かつ、第1チャンバ101内の圧力を第2チャンバ102内の圧力よりも低く設定している。さらに、第1チャンバ101と第2チャンバ102との間をアパーチャ160によって区切り、第1チャンバ101から第2チャンバ102への空間移動に制限を加えて、中性のデブリが第2チャンバ102内に流入する確率を低減させている。第2チャンバ102内に中性のデブリが侵入した場合でも、そのデブリは第2真空排気ポンプ171により外部に排出される。従って、本実施例では、EUV光源装置2内のデブリが露光装置内に侵入するのを未然に防止できる。
露光装置がデブリで汚染されるのを防止することはできるが、真空チャンバ100内には中性のデブリが徐々に拡散し堆積していく。従って、時間の経過に応じて、EUV集光ミラー130の表面131がデブリで徐々に汚染される可能性がある。その場合は、メンテナンス作業を行えばよい。
メンテナンス作業では、例えば、EUV光源装置2の運転を停止し、ゲートバルブ180を閉じて露光装置3と真空チャンバ100との間を完全に遮断し、エッチャントガスによってEUV集光ミラー130を清掃する。
エッチャントガスとしては、例えば、水素ガス、ハロゲンガス、ハロゲン化水素ガス、アルゴンガス、あるいは、それらの混合ガスを用いることができる。EUV集光ミラー130を図示せぬ加熱装置によって加熱し、クリーニングを促進しても良い。さらに、RF(Radio Frequency)やマイクロ波によりエッチャントガスを励起して、クリーニングを促進させる構成でも良い。
クリーニングが終了した場合、真空チャンバ100へのエッチャントガスの供給を停止し、各真空排気ポンプ170,171によって十分な真空度を得た後で、ゲートバルブ180を開き、EUV光源装置2の運転を再開する。
図3は、露光装置3の構成を示す説明図である。以下、照明光学系500を中心に説明する。露光装置3のチャンバ400内には、照明光学系500と、マスク600と、投影光学系700とが設けられている。図2で説明したように、チャンバ400には、EUV光源装置2のチャンバ100がゲートバルブ180を介して接続されている。
照明光学系500は、例えば、コリメートミラー510と、フライアイミラーアレイ520と、ピンホールアレイ530と、コンデンサミラー540と、を備える。コリメートミラー510は、EUV光源装置2から入射するEUV光203を、平行光として反射させるためのミラーである。EUV光源装置2内の集光ミラー130をC1ミラー、照明光学系500内のコリメートミラー510をC2ミラーと呼ぶことがある。
EUV光源装置2から入射する光には、EUV光203以外に、他の波長の光301も含まれる。他の波長の光とは、上述の通り、DUV、UV、VIS、IRである。また、ターゲットを励起するCO2レーザ光がターゲットにおいて散乱、反射するため、CO2レーザ光もEUV光源装置2から入射する。コリメートミラー510は、後述のように本発明に特有の構成を備えるため、EUV光204の反射方向と、EUV光以外の光301の反射方向とを違える。
フライアイミラーアレイ520は、平面上に複数の凹面ミラー521(図9参照)が配置されたミラーアレイである。フライアイミラーアレイ520は、ビームホモジナイザとして機能する。つまり、フライアイミラーアレイ520は、EUV光の強度を均一化させて、マスク600に入射させるようになっている。
各凹面ミラーにより反射されるEUV光205は、各凹面ミラー521の焦点にいったん集まった後、拡散する。そこで、本実施例では、フライアイミラーアレイ520の焦点群の近傍に、ピンホールアレイ530を設けている。フライアイミラーアレイ520の焦点群とは、各凹面ミラー521の焦点の集合体である。ピンホールアレイ530は、各凹面ミラー521の焦点に対応する小孔を備えている。
コンデンサミラー540は、フライアイミラーアレイ520から入射するEUV光205を、マスク600に向けて反射(206)するためのミラーである。マスク600で反射されたEUV光207は、投影光学系700に送られる。
次に、図4〜図6を参照してコリメートミラー510を説明する。図6を先に参照する。図6は、コリメートミラー510の断面を模式的に示す説明図である。コリメートミラー510の表面には、所定の波長を選択的に反射する多層膜が形成されている。本実施例では、所定の波長は13.5nmである。多層膜は、モリブデンとシリコンとから構成されるペア層(Mo/Si)を多数積層させることにより構成される。ミラー510の表面を覆う多層膜には、多数のブレーズド溝513が形成される。
図5および図6中に断面を拡大して示すように、本実施例のブレーズド溝513は、平行線状に形成されている。なお、ブレーズド溝513の形状は、図6に示すものに限定されない。後述の実施例で示すように、種々の形状でブレーズド溝513を形成することができる。
図4は、コリメートミラー510の一部を拡大して示す断面図である。図4中、軸線AX1は、コリメートミラー510の基板部511に垂直な軸を示し、他の軸線AX2は、ブレーズド溝513の斜面に垂直な軸を示す。
コリメートミラー510の基板部511は、例えば、シリコンやSiC、ニッケル合金等の熱伝導性の良い材料から形成される。基板部511の表面(図4中の上面であり、「一面」に該当する)には、所定数の多層膜(Mo/Siペア層)がコーティングされる。
本実施例では、100層以上1000層以下の範囲で、Mo/Siペア層をコーティングする。好ましくは、本実施例では、Mo/Siペア層を、基板部511の表面に、300個程度積み上げる。Mo/Siペア層とは、一つのモリブデン膜と一つのシリコン膜から構成される層であり、多数のMo/Siペア層を積層することにより、多層膜が形成される。
300層(厚みH0)の多層膜のうち表面から250層分(厚みH)の多層膜にブレーズド溝513を加工し、底面側の50層はそのままにする。底面側の50層の多層膜(厚みΔH分の多層膜)は、「第1多層膜」に該当する。基礎部512によってEUV光をブラッグ反射させるために、基礎部512を40−60層程度のMo/Siペア層で構成する。基礎部512の上側に位置する250層の多層膜(厚みH分の多層膜)は、「第2多層膜」に該当し、ブレーズド溝513は「反射部」に該当する。
なお、上述の300層、250層及び50層という各数値は、説明のための好ましい一例に過ぎず、本発明は上記の数値に限定されない。要するに、基礎部512および反射部がEUV光をブラッグ反射させる機能を発揮でき、反射部がEUV光以外の光をEUV光と異なる方向に正反射し、反射部のブレーズド溝表面の多層膜の模様による回折機能及びブレーズド溝そのものによる回折機能をそれぞれ発揮することができるのであれば、100〜1000層の範囲で設定可能である。
100層未満の場合は、必要なブレーズド角θBを得られず、EUV光を他の光から十分に分離できない場合がある。1000層を超える場合は、製造に手間がかかり、さらに、内部応力が増大して多層膜が剥離する可能性もある。
そこで、本実施例では、100層〜1000層の範囲から300層という値を一例として選択し、コリメートミラー510上に反射型回折格子を一体的に設けている。多層膜をより多く積むほど、ブレーズド角θBを大きくすることができ、EUV反射光204と他の光301A,301Bとを容易に分離することができる。
本実施例では、Mo/Si層の積層数を100〜1000内で設定することができ、多層膜内に生じる応力を減少させて、多層膜の剥離を防止することができる。さらに、EUV光の反射効率として、従来のミラーと同等の60%〜70%という性能を維持できる。
つまり、本実施例のコリメートミラー510は、本来のEUV光を平行光にして約60%〜70%の反射率で反射する機能に加え、SPFの機能を備えるため、一回の反射でEUV光の損失を従来と同じ30%程度に留め、且つ、EUV光の純度を高めることができる。
なお、ブレーズド溝513を加工した後のミラーの最表面をルテニウム(Ru)等でコーティングし、加工したMo/Si層の露出部分が酸化しないようにして、EUV光の回折効率の低下を防止する構成としてもよい。また、Mo/Siペア層の厚みは、図7で後述するように、EUV光の入射角度に応じて設定するのが好ましい。
図4で示すコリメートミラー510に入射するEUV光203の入射角度をαとすると、反射光204は、ほぼ角度αで反射してフライアイミラーアレイ520(図3)に入射する。これに対し、CO2レーザ光を始めとして、DUV、UV、VIS、IRの各光(301)は、α+2θBの角度で正反射(302A)する。従って、ピンホールアレイ530(図3)の位置では、EUV反射光204とCO2レーザ光等の正反射光302Aとは、分離する。
つまり、ブレーズド溝513(ブレーズド角θB)により、EUV光203を除く、DUV、UV、VIS、IRは、角度θBの面によってα+2θBの角度で正反射(302A)する。従って、ほぼ角度αで反射または回折するEUV光204と、その他の光(DUV、UV、VIS、IR)とを分離させることができる。ひいてはコリメートミラー510は、SPFの機能を果たす。後述のように、EUV光204と異なる方向に進む他の光302Aは、ピンホールアレイ530(図3)の壁部に吸収される。
さらに、図4においてCO2レーザ光のようなIR光は、ブレーズド溝513によって、α+θd(または、α−θd(図示せず))の角度で回折(302B)する。本実施例では、波長10.6μmのレーザ光を使用するため、図4中の角度θdは、27.6mrad
となる。つまりEUV光204とは27.6mradだけ異なる角度で回折(302B)する。回折光(302B)もピンホールアレイ530(図3)の壁部に吸収される。
便宜上図示を省略するが、ミラー510に入射するDUV、UV、VIS(301)については、ブレーズド溝513の斜面に現れるモリブデンとシリコンの周期的な縞模様(本実施例では、1.54μmピッチの縞模様となる)により形成されるグレーティングによって回折し、EUV光204とは異なる角度で進む。この回折光もピンホールアレイ530(図3)の壁部に吸収される。上記のごとくミラー510によってEUV光以外の異なる角度で分離して進む光(301A、302B、ブレーズド溝513の斜面に現れるモリブデンとシリコンの周期的な縞模様による回折光)を総称してEUV光外の光302とする。
図7は、コリメートミラー510に入射するEUV光の角度(α)に応じて、Mo/Siペア層の厚みを設定するための特性図を示す。図7に示す通り、入射角度が0度から50度に増加するにつれて、ペア層の厚みは6nm程度から10nm程度に増加する。入射角度αが12度の場合、ペア層の厚みは6.9nmとなる。入射角度50度を超えた付近からペア層の厚みの増加率が大きくなる。入射角度70度程度の場合に、ペア層の厚みは20nm程度となる。なお図7に示す特性は一例であって、本発明は図7に示す特性に限定されない。
図8は、EUV光203の入射角度と反射率との関係を示すグラフである。図8中の縦軸は反射率を、横軸は入射角度を示す。
入射角度が0度(ミラー510に垂直)から20度までの範囲では、入射角度の増加に応じて反射率が75%程度から70%程度に緩やかに低下する。入射角度が20度から30度までの範囲では、入射角度の増加に応じて、反射率が70%程度から55%程度まで低下する。さらに、入射角度30度から45度までの範囲では、入射角度の増加に応じて、反射率は55%程度から40%程度まで、急激に低下する。入射角度45度から60度までの範囲では、入射角度の増加に応じて、反射率は40%程度から60%程度まで上昇する。図8中では入射角度70度までを示すが、入射角度60度〜80度の範囲では、反射率は60%程度から65%程度まで緩やかに増加する。
そこで、本実施例では、EUV光の入射角度が0−30度または60−80度の範囲となるように、ミラー510の角度を設定する。なお、入射角度が80度を超えると、EUV光がペア層の中に入り込まないため、本発明の作用となるEUV光203と他の光301とを分離できない。
本実施例のコリメートミラー510は、それぞれMo/Siの多層膜から形成される基礎部512及びブレーズド溝513を備えるため、複数の回折作用を利用することができる。
図9はフライアイミラーアレイ520によるビームホモジナイザ機能と、ピンホールアレイ530の作用とを示す説明図である。フライアイミラーアレイ520の有する各凹面ミラー521には、ミラー510により反射されるEUV光204及び他の光302が、それぞれ入射する。
各凹面ミラー521で反射された光205(1),205(2)は、中間的な焦点に集まった後、コンデンサミラー540に入射し、マスク600に供給される。つまり、各凹面ミラー521で反射される光205(1),205(2)は、コンデンサミラー540を反射(光206(1),206(2))して、マスク600の表面に重ね合わせられる。これにより、マスク600に入射するEUV光の強度を均一化させることができる。
図9中、EUV光204(1)は、右の凹面ミラー521に入射するEUV光を、EUV光204(2)は、左の凹面ミラー521に入射するEUV光をそれぞれ示す。同様に、右側の凹面ミラー521に入射する他の光に符号302(1)が、左側の凹面ミラー521に入射する他の光に符号302(2)が、それぞれ与えられている。便宜上、中央の凹面ミラー521に入射する光は、省略されている。
フライアイミラーアレイ520により形成される集光点群の位置にピンホールアレイ530を配置する。図10の拡大図に示すように、各凹面ミラー521の集光点F(521)とピンホール531の位置とを一致させる。凹面ミラー521から来るEUV光205はピンホール531を通過し、EUV光以外の光302はピンホールアレイ530の壁部で遮断される。すなわち、ミラー510で方向を分離したEUV光204のみをコンデンサミラー540に入射させることができ、EUV光以外の光301をピンホールアレイ530の壁部で遮断して熱に変換することができ、ひいてはSPFの機能が達成される。
このように構成される本実施例では、コリメートミラー510に所定数のMo/Siペア層を積み上げてブレーズド溝513を形成するため、コリメートミラー510に、EUV光を反射させるミラーとしての機能のみならず、EUV光と他の光とを分離するSPF機能も持たせることができる。さらに、本実施例では、フライアイミラーアレイ520とコンデンサミラー540との間にピンホールアレイ530を設けるため、EUV光のみをマスク600に供給できる。これにより、本実施例では、別体の反射型回折格子を用いる場合に比べて、より多くのEUV光をマスク600に供給することができ、かつ、部品点数を低減して露光装置3の製造コストを下げることができる。
本実施例では、Mo/Siペア層を100〜1000層の範囲で基板部511に積層し、ブレーズド溝513を形成する。従って、2000層以上のMo/Siペア層を積み上げる従来技術に比べて、多層膜内の応力で多層膜が剥離するおそれがなく、信頼性及び使い勝手が向上する。また、層数が少ないため、コリメートミラー510の製造コストを低減することができる。
本実施例では、コリメートミラー510がSPF機能を備えるため、一回の反射で純度の高いEUV光を露光装置に供給することができる。従って、EUV光を複数回反射させる従来技術よりも高い効率を有する。
また、本実施例のコリメートミラー510は、露光装置3の照明光学系500に使用されるため、デブリの影響を受けることがない。従って、図4に示したような特殊構造のミラー510を採用した場合でも、長期間にわたって使用することができる。
図11〜図13に基づいて第2実施例を説明する。以下に述べる各実施例は、第1実施例の変形例に相当する。従って、第1実施例との相違点を中心に説明する。本実施例と第1実施例との相違点は、ブレーズド溝が同心円状であり、その角度がミラー510の周辺に向かうほど盛り上がるようにして形成されている点と、その相違点に伴ってダンパ560が新たに設けられている点とにある。
図11は、本実施例による露光装置3Aの説明図である。ダンパ560は、コリメートミラー510Aとフライアイミラーアレイ520との間に位置して、SPF機能を持ったミラー510Aで分離される他の光302の集まる位置に設けられている。ダンパ560は、ブレーズド溝513により偏向した、レーザ光をはじめとするEUV光以外の波長域の光302を吸収して熱エネルギに変換する。ダンパ560は、水冷ジャケット等の冷却機構によって冷却されるのが好ましい。一方EUV光203に対しては、ミラー510Aは従来のC2ミラーとして機能し、反射して平行光204となる。
図12は、本実施例によるコリメートミラー510Aの拡大図である。本実施例のブレーズド溝513は、図6に示すブレーズド溝と異なり、図12(b)に示すように、ミラーの内側から外側に向けて盛り上がるように形成されている。換言すれば、外側から内側に向けて下り坂となるように、ブレーズド溝513が形成される。さらに、図13の平面図に示すように、本実施例のブレーズド溝513は、同心円状に形成されている。
ミラー510Aでの作用は第1実施例と共通なので、図4を用いて説明する。本実施例では、基板部511の上にMo/Siペア層を850層積み上げる。1層の厚みを6.9nmとすると、寸法H0は5.865μmとなる。そして、本実施例では、上から800層(この場合、5.520μmの厚みとなる)について、400μmのピッチでブレーズド溝513を形成する。この結果、θB
は13.8mradとなり、2θB は27.6mrad となる。
コリメートミラー510Aに入射する光203の入射角度をαとすると、EUV光204は角度αで反射してフライアイミラーアレイ520に向かい、レーザ光を始めとするDUV、UV、VIS、IRの光302Aは、α+2θBの角度で正反射する。
CO2レーザ光のようなIR光は、ブレーズド溝(ピッチ400μm)によって、α+θd(またはα−θd)の角度で回折する(302B)。本実施例では、CO2レーザの波長を10.6μmに設定しているので、θdは27.6mradとなる。
便宜上図示はしないが、DUV、UV、VIS光は、ブレーズド溝状にカットした表面に現れるモリブデンとシリコンとの周期的な縞(実施例では、0.5μmピッチ)により形成されるグレーティングで回折し、EUV光204とは異なる角度で進む。このように構成される本実施例も第1実施例と同様の効果を奏する。ちなみに、第1実施例と同じく、フライアイミラーアレイ520により形成される集光点群の位置にピンホールアレイ530をこの第2実施例に追加配置して、EUV光以外の光302はピンホールアレイ530の壁部で遮断し、SPFの効果をより一層強化してもよい。
図14に基づいて第3実施例を説明する。図14は、本実施例による露光装置3Bを示す説明図である。本実施例では、EUV光源装置2からの光が最初に入射する入口ミラー570に、ブレーズド溝を形成する。本実施例のコリメートミラー510Bは、前記各実施例のコリメートミラー510,510Aとは異なり、ブレーズド溝513を備えていない。つまり、本実施例の集光ミラー510Bは、入射する光を平行光として反射させるだけのミラーであり、SPF機能を備えていない。
入口ミラー570は、第1実施例で述べたコリメートミラー510と同様に、平行なブレーズド溝を複数備えている。つまり、平板な基板上にMo/Si層のペア膜を300層程度積層し、下側の50層をそのまま残し、上側の250層にブレーズド溝を形成することにより、入口ミラー570が形成される。
さらに、本実施例では、フライアイミラーアレイ530とコンデンサミラー540との間の光路上に、第2のフライアイミラーアレイ580を設けている。第2のフライアイミラーアレイ580には、ピンホールアレイ530Aが近接して配置される。本実施例では、複数のフライアイミラーアレイ530,580を設けるため、より一層、マスク600に入射するEUV光の強度を均一にすることができる。
EUV光は、第2のフライアイミラーアレイ580で反射されてコンデンサミラー540に入射する。これに対し、EUV光以外の他の光302は、第1のフライアイミラーアレイ580で反射された後に、ピンホールアレイ530Aによって行く手を遮られ、熱に変換される。
このように構成される本実施例も前記各実施例と同様の効果を奏する。但し、本実施例では、新たに追加される入口ミラー570にSPF機能を持たせるため、反射回数が1回増加する。従って、マスク600に入射するEUV光の光量は、前記各実施例に比べて低下する。しかし、本実施例の入口ミラー570は、平面ミラーとして構成されるため、第1,第2実施例の集光ミラーに比べて、製造が容易であり、製造コストを低減することができる。
図15に基づいて第4実施例を説明する。本実施例の露光装置3Cは、第3実施例と同様に、平面ミラーとして構成される入口ミラー570Cを備える。入口ミラー570Cは、第2実施例と同様に、ブレーズド溝の方向を変えられている。入口ミラー570Cは、図13に示すように同心円状のブレーズド溝を備えている。さらに、露光装置3Cには、コリメートミラー510Bとフライアイミラーアレイ530との間に、ダンパ561が設けられている。
本実施例では、平面ミラー570CによってEUV光と他の光の進行方向とが変えられ、他の光302はダンパ561によって吸収される。このように構成される本実施例も第3実施例と同様の効果を奏する。
図16に基づいて第5実施例を説明する。これは第2実施例のSPF機能を有するミラー510Aの製造方法である。
図16(a)に示すように、所定数の多層膜を基板部にコーティングしてなるミラー部材137を回転台400に載せて回転Fさせる。イオンミリング装置410及びマスク420を用いて、イオンビーム430を多層膜に照射することにより、ブレーズド溝を形成するための切削加工を行う。
図16(b)に示すように、マスク420には、イオンビーム430を透過させる三角形状のパターン421が形成されている。従って、パターン421とイオンビーム430との相対的位置関係によって、ブレーズド溝の幅P(図4)を図16(b)に示すごとくP1、P2のように調整できる。
図16(b)の左側に示すように、三角形状のパターン421とイオンビーム430とが重なる面積を小さくすると、その下側に示すように、幅P1の狭いブレーズド溝を形成することができる。図16(b)の右側に示すように、三角形状のパターン421の全面にイオンビーム430を重ねると、幅P2の広いブレーズド溝を形成できる。
イオンミリング装置410及びマスク420は、一つのブレーズド溝を形成し終わるたびに、溝のピッチ分だけ径方向(図16中の横方向)に移動し、イオンビームを照射して新たなブレーズド溝を形成する。
図4に示すようなブレーズド溝を形成する場合は、図16(c)に示すように、三角形状のパターン421の向きを変えたマスク420を用いる。このように構成される本実施例では、第2実施例で述べたコリメートミラー510Aを容易に製造できる。
第1実施例で述べたコリメートミラー510の場合、本実施例で述べたように多層膜付きミラー部材137を回転台400に載せてF方向に回転させるのではなく、次の方法で製造できる。ミラー部材137を水平方向に移動可能な2軸の直交ステージに載せて移動させ、直線状の溝を加工することで、第1実施例のコリメートミラー510を製作することができる。さらに、第3および第4の実施例で述べたミラー570およびミラー570Cは、ミラー部材137が平面状である点が上記製法と異なるだけであり、上記製法と実質的に同一の方法で製作可能である。
図17に基づいて第6実施例を説明する。本実施例は、多層膜付きミラー部材137のミラー面が曲面である場合に有効な実施例である。例えば、曲面をもつ第2実施例のコリメートミラー510Aを製造する場合には、EUV光以外の光302の集まる集光点に対応する位置を回動軸412とし、イオンミリング装置410及びマスク420を回動させる。
イオンミリング装置410及びマスク420は、長い筒状あるいは棒状の支持装置411に、軸方向に移動可能に取り付けられている。支持装置411は、回動軸412を中心に、図17中の左右方向に回動可能となっている。回動軸412は、ミラー部材137のミラー面(完成予定のミラー面)の中心からIFだけ離れた距離に設定される。イオンミリング装置410及びマスク420は、軸方向及び左右方向に移動しながら、ブレーズド溝を形成する。
回動軸412は、コリメートミラー510Aが反射して集光するEUV光以外の光302の集光点と同一の位置に設定される。これにより、イオンビームが多層膜に入射する角度を一定にすることができ、ブレーズド溝を一定形状で安定して加工することができる。これにより、EUV光がブレーズド溝の縁に邪魔されて入射できなくなるという影の部分が、コリメートミラー510Aに生じるのを防止することができる。
同様に、回動軸412は加工対象のミラー面の曲率中心と一致させてもよい。回動軸412を加工対象のミラー面の曲率中心と一致させた場合も、イオンビームが多層膜に入射する角度を一定にすることができ、ブレーズド溝を一定形状で安定して加工することができ、効果的である。また、第1実施例で述べたコリメートミラー510は、本実施例において多層膜付きミラー部材137を回転台400に載せて回転させる代わりに、ミラー部材137を水平方向に移動できる2軸の直交ステージ載せて移動させ、直線状の溝を加工することにより製作できる。
図18に基づいて第2実施例のSPF機能を有するミラー510Aの他の製造方法として第7実施例を説明する。本実施例では、図17(a)に示すように、回動412の位置を、ミラー面の曲率中心と一致させた位置に設定する。さらに、図18(b)に示すように、コリメートミラー510Aの半径に相当する長さのマスク420Aを用い、この長いマスク420Aには各ブレーズド溝に対応するパターン421をそれぞれ設けておく。従って、イオンミリング装置410を径方向に揺動させながらイオンビームを照射するだけで、各ブレーズド溝を形成することができる。
このように構成される本実施例も第6実施例と同様に、いわゆる影の部分の発生を抑制することができ、EUV光をより効率よく集光し選別することができる。また、イオンビームが多層膜に入射する角度を一定にし、かつ、マスク420Aとミラー面の距離を一定にすることができ、ブレーズド溝をより一定形状で安定して加工できる。また、第1実施例で述べたコリメートミラー510は、本実施例において多層膜付きミラー部材137を回転台400に載せて回転させる代わりに、ミラー部材137を水平方向に移動できる2軸の直交ステージ載せて移動させ、直線状の溝を加工することによって製作できる。さらに、第3および第4の実施例で述べたミラー570およびミラー570Cは、ミラー部材137が平面状である点が上記製法と異なり、上記製法と実質的に同一の方法で製作することができる。
図19に基づいて第8実施例を説明する。本実施例のミラー510Cは、ブレーズド溝に代えて、三角波状の溝513Cを備える。本実施例のミラー510Cでは、基板部511の表面を覆う多層膜に、三角波状の溝513Cを一体的に形成する。第1実施例と同様に、本実施例においても、Mo/Siペア層の多層膜を例えば300層積層し、表面から250層分を三角波状または三角屋根型に形成する。図19中、軸線AX1a,AX1bは、基板部511に垂直な軸を示し、他の軸線AX2a,AX2bは、三角波状の溝513Cの斜面に垂直な軸を示す。
三角波状の溝513Cは、2つの斜面513C1,513C2を備える。各斜面513C1,513C2の傾斜角θb2は、同一に設定することができる。説明の便宜上、図19中左側の斜面を第1斜面513C1と、図13中右側の斜面を第2斜面513C2と、それぞれ呼ぶ。
三角波状の溝513Cは、例えば、800μm程度のピッチP10で形成することができる。この場合、第1斜面513C1と第2斜面513C2とは、基板部511に平行な方向に400μm(=P10/2)間隔で出現する。換言すれば、本実施例のコリメートミラー510Cでは、ピッチP10/2毎に、斜面の向きが反対方向に変化する。
各斜面513C1,513C2の傾きに応じて、EUV光以外の他の光(駆動用レーザ光、DUV、UV、VIS、IR)は、斜面で正反射し、EUV光の反射光204とは異なる方向(302A)に向かう。EUV光は、基礎部512および三角波状の溝513Cが施された部分の表面に積まれた10層〜50層のMo/Siペア層により、ブラッグ回折する。この回折の効率は、Mo/Siペア層が設けられたミラーと同様である。
さらに、三角波状または三角屋根型の800um周期のグレーティング構造によって、上述のVISやIR光は、EUV光と異なる方向に回折する。さらに、各斜面513C1,513C2に露出するMo/Siペア層の縞模様によって形成されるグレーティングにより、EUV光及びIR以外の比較的短い波長の光(DUV、UV、VIS)は、EUV光の反射光204とは異なる方向に回折する。
800μmに代えて、ピッチP10を400μm等の他の値に設定してもよい。さらに、ピッチは一定である必要はなく、三角波状の溝513Cの形成される位置に応じて変化させてもよい。また、513C1と513C2のピッチを例えば、其々300μmと500μmというように異なるものにしても良い。このように構成される本実施例のミラーを照明光学系500に組み込むことにより、第1から第4の実施例と同様の作用効果を得ることができる。
図20に基づいて第9実施例を説明する。本実施例のミラー510Dは、波状の溝513Dを備える。波状の例として、正弦波状を挙げることができる。本実施例においても、Mo/Siペア層の多層膜を例えば300層積層し、表面から250層分を波状に形成する。図20中、軸線AX1L,AX1Rは、基板部511に垂直な軸を示し、他の軸線AX2L,AX2Rは、円弧状の面に垂直な軸を示す。符号513D1は波の頂上を、符号513D2は波の谷をそれぞれ示す。
本実施例のミラー510Dでは、正弦波のように、面の傾きがピッチP11(例えば600μm)毎に連続して変化する。円弧状の面の傾きに応じて、EUV光以外の光(駆動用レーザ光、DUV、UV、VIS、IR)は、EUV光の反射光204と異なる方向に反射(302A)する。
但し、頂上513D1や谷513D2のように、その傾きが部分的に水平に近い場所では、EUV光とその他の光(駆動用レーザ光、DUV、UV、VIS、IR)は、EUV光と同じ方向に正反射する。
上述の通り、EUV光は、基礎部512および三角波状の溝513Cが施された部分の表面に積まれた10層〜50層のMo/Siペア層により、ブラッグ回折する。回折の効率は、Mo/Siペア層が設けられたミラーと同様である。また、波状の600um周期のグレーティング構造によって、他の光は、EUV光と異なる方向に回折する。さらに、円弧状の面に露出するMo/Siペア層の縞模様から形成されるグレーティングにより、EUV光及びIR以外の比較的短い波長の光(DUV、UV、VIS)は、EUV光の反射光204とは異なる方向に回折する。
このように構成される本実施例のミラーを照明光学系500に組み込むことにより、第1から第4の実施例と同様の作用効果を得ることができる。
図21に基づいて第10実施例を説明する。本実施例では、EUV光源装置2A内に、図4で述べたような構成を有する平面ミラー190を設ける。平面ミラー190で反射されたEUV光204は、アパーチャ160を通過して、露光装置に供給される。EUV光以外の他の光302は、平面ミラー190で反射されてアパーチャ160に入射し、アパーチャ160に吸収されて熱に変わる。凹面ミラー190へのEUV光203の入射角度は図8を用いて示したように30度以内が望ましい。
図22に基づいて第11実施例を説明する。本実施例では、EUV光源装置2Bの第2チャンバ102B内に、図4で述べたような構成を有する凹面ミラー191を設ける。アパーチャ160を介して第2チャンバ102B内に入射したEUV光203は、凹面ミラー191により反射(204)され、他のアパーチャ161を介して露光装置に供給される。EUV光以外の他の光は、凹面ミラー191により反射(302)されて、アパーチャ161に入射し、吸収される。凹面ミラー191へのEUV光203の入射角度は、図8を用いて示したように30度以内が望ましい。
なお、本発明は、上述した各実施例に限定されない。当業者であれば、本発明の範囲内で、種々の追加や変更等を行うことができる。例えば、露光装置とEUV光源装置の両方に、所定形状の溝がMo/Si層に形成されているミラーをそれぞれ設ける構成としてもよい。
EUV露光システムの全体構成を示す説明図。 EUV光源装置の説明図。 露光装置の構成を示す説明図。 ミラーのブレーズド溝を拡大して示す断面図。 ミラーのブレーズド溝を示す平面図。 ミラーのブレーズド溝の方向を拡大して示す説明図。 入射角度に応じてMo/Siペア層の厚みを設定するための特性図。 EUV光の入射角度と反射率との関係を示す特性図。 EUV光の強度を均一化するための光学系とピンホールアレイとの関係を示す説明図。 ピンホールアレイの作用を示す説明図。 第2実施例に係る露光装置の説明図。 ミラーのブレーズド溝の方向を拡大して示す断面図。 ミラーのブレーズド溝を示す平面図。 第3実施例に係る露光装置の説明図。 第4実施例に係る露光装置の説明図。 第5実施例に係るミラーの製造法を示す説明図。 第6実施例に係るミラーの製造法を示す説明図。 第7実施例に係るミラーの製造法を示す説明図。 第8実施例に係るミラーを拡大して示す断面図。 第9実施例に係るミラーを拡大して示す断面図。 第10実施例に係るミラーを有するEUV光源装置の説明図。 第11実施例に係るミラーを有するEUV光源装置の説明図。
符号の説明
1:EUV露光システム、2,2A,2B:EUV光源装置、3,3A,3B,3C:露光装置、α:入射角度、θB:ブレーズド角、100:真空チャンバ、101:第1チャンバ、102,102B:第2チャンバ、105:ダンパ、110:駆動用レーザ光源、111:集光レンズ、112:入射窓、120:ターゲット供給器、130:EUV集光ミラー、132:入射穴、511:ミラー部材、137:多層膜付きミラー部材、140,141:磁場発生用コイル、160,161:アパーチャ、170,171:真空排気ポンプ、180:ゲートバルブ、200:ドロップレット、201:ターゲットプラズマ、410:イオンミリング装置、411:支持装置、412:回動軸、420,420A:マスク、421:パターン、430:イオンビーム、400:チャンバ、500:照明光学系、510,510A,510B:ミラー、513,513C,513D:所定形状の溝、520:フライアイミラーアレイ、530:ピンホールアレイ、540:コンデンサミラー、570,570C:入口ミラー、600:マスク、700:投影光学系

Claims (16)

  1. 極端紫外光を用いる照明光学系を備える半導体露光装置であって、
    前記照明光学系は、前記極端紫外光を反射させるための極端紫外光用ミラーを複数備えており、
    前記各極端紫外光用ミラーのうち少なくとも一つの所定の極端紫外光用ミラーは、極端紫外光と他の波長の光とを分離させるものであって、
    基板部と、
    前記基板部の前記一面側に設けられる基礎部であって、前記基板部の前記一面側に設けられる第1多層膜から形成される基礎部と、
    前記基礎部の一面側に一体的に設けられる反射部であって、前記基礎部の前記一面側に設けられる第2多層膜に所定形状の溝を形成することにより生成される反射部と、
    を備える、半導体露光装置。
  2. 所定の前記極端紫外光用ミラーは、入射した極端紫外光をほぼ平行光として反射させるための凹面を有するミラーとして構成される、請求項1に記載の半導体露光装置。
  3. 所定の前記極端紫外光用ミラーは、入射した極端紫外光を反射させるための平面を有するミラーとして構成される、請求項1に記載の半導体露光装置。
  4. 前記照明光学系は、前記極端紫外光が集光される中間的な集光点を含んでおり、前記中間的な集光点の近傍には、前記極端紫外光を通過させるための開口部を有する遮光部材が設けられる、請求項1〜請求項3のいずれかに記載の半導体露光装置。
  5. 前記第1多層膜及び前記第2多層膜は一体的に形成されており、前記第1多層膜及び前記第2多層膜をそれぞれ構成する複数のペア層の厚み寸法は、入射する極端紫外光の角度に応じて設定される請求項1〜請求項3のいずれかに記載の半導体露光装置。
  6. 前記所定形状の溝は、ブレーズド状の溝として形成される請求項1〜請求項3のいずれかに記載の半導体露光装置。
  7. 前記所定形状の溝は、三角波状の溝として形成される請求項1〜請求項3のいずれかに記載の半導体露光装置。
  8. 前記所定形状の溝は、波状の溝として形成される請求項1〜請求項3のいずれかに記載の半導体露光装置。
  9. 前記所定形状の溝は、同心円状または平行線状に設けられる請求項1〜請求項3のいずれかに記載の半導体露光装置。
  10. 前記第1多層膜及び前記第2多層膜を構成するペア層の合計数は、100以上1000以下の範囲である請求項1〜請求項3のいずれかに記載の半導体露光装置。
  11. 極端紫外光を用いる照明光学系を備える半導体露光装置であって、
    極端紫外光を出力する光源装置の出力側に接続されるチャンバと、
    前記光源装置から入射する極端紫外光を平行光として反射する第1ミラーと、
    前記第1ミラーにより反射される前記極端紫外光が入射する第2ミラーであって、前記極端紫外光の強度を均一化させる第2ミラーと、
    前記第2ミラーによって強度の均一化された前記極端紫外光を集光し、マスクに照射するための第3ミラーと、
    前記第2ミラーと前記第3ミラーとの間、あるいは前記第1ミラーと前記第2ミラーとの間に位置して設けられ、前記極端紫外光以外の他の波長の光線を吸収ないし減衰させる遮光部材と、を備えており、
    前記第1ミラーは、基板部と、前記基板部の前記一面側に設けられる基礎部であって、前記基板部の前記一面側に設けられる第1多層膜から形成される基礎部と、前記基礎部の一面側に一体的に設けられる反射部であって、前記基礎部の前記一面側に設けられる第2多層膜に所定形状の溝を形成することにより生成される反射部と、
    を備えて構成される、半導体露光装置。
  12. 前記第1ミラーは、前記極端紫外光の入射角度が0度から30度までの範囲内、または、60度から80度までの範囲内となるように、設けられている、請求項11に記載の半導体露光装置。
  13. 前記所定形状の溝は、ブレーズド状の溝、または、三角波状の溝として形成される請求項11に記載の極端紫外光源装置。
  14. 前記遮光部材は、前記極端紫外光のみを通過させ、前記他の波長の光線を吸収または減衰させる、ピンホール部材として構成される請求項11〜請求項13のいずれかに記載の半導体露光装置。
  15. 前記遮光部材は、前記他の波長の光線を吸収するダンパ部材として構成される請求項11〜請求項13のいずれかに記載の半導体露光装置。
  16. 極端紫外光を用いる照明光学系を備える半導体露光装置であって、
    極端紫外光を出力する光源装置の出力側に接続されるチャンバと、
    入射する極端紫外光を平行光として反射する第1ミラーと、
    前記第1ミラーにより反射される前記極端紫外光が入射する第2ミラーであって、前記極端紫外光の強度を均一化させる第2ミラーと、
    前記第2ミラーによって強度の均一化された前記極端紫外光を集光し、マスクに照射するための第3ミラーと、
    前記光源装置の出力側と前記第1ミラーとの間に設けられ、前記光源装置から入射する極端紫外光を前記第1ミラーに向けて反射する第4ミラーと、
    前記第2ミラーと前記第3ミラーとの間に位置して設けられ、前記極端紫外光以外の他の波長の光線を吸収ないし減衰させる遮光部材と、を備えており、
    前記第4ミラーは、基板部と、前記基板部の前記一面側に設けられる基礎部であって、前記基板部の前記一面側に設けられる第1多層膜から形成される基礎部と、前記基礎部の一面側に一体的に設けられる反射部であって、前記基礎部の前記一面側に設けられる第2多層膜に所定形状の溝を形成することにより生成される反射部と、
    を備えて構成される、半導体露光装置。
JP2008226548A 2008-05-20 2008-09-04 極端紫外光を用いる半導体露光装置 Active JP5061069B2 (ja)

Priority Applications (3)

Application Number Priority Date Filing Date Title
JP2008226548A JP5061069B2 (ja) 2008-05-20 2008-09-04 極端紫外光を用いる半導体露光装置
US12/469,176 US8227778B2 (en) 2008-05-20 2009-05-20 Semiconductor exposure device using extreme ultra violet radiation
US13/494,778 US8507885B2 (en) 2008-05-20 2012-06-12 Semiconductor exposure device using extreme ultra violet radiation

Applications Claiming Priority (3)

Application Number Priority Date Filing Date Title
JP2008132479 2008-05-20
JP2008132479 2008-05-20
JP2008226548A JP5061069B2 (ja) 2008-05-20 2008-09-04 極端紫外光を用いる半導体露光装置

Related Child Applications (1)

Application Number Title Priority Date Filing Date
JP2012132145A Division JP5439541B2 (ja) 2008-05-20 2012-06-11 極端紫外光を用いる半導体露光装置

Publications (2)

Publication Number Publication Date
JP2010004002A true JP2010004002A (ja) 2010-01-07
JP5061069B2 JP5061069B2 (ja) 2012-10-31

Family

ID=41585446

Family Applications (4)

Application Number Title Priority Date Filing Date
JP2008226548A Active JP5061069B2 (ja) 2008-05-20 2008-09-04 極端紫外光を用いる半導体露光装置
JP2012132161A Active JP5362076B2 (ja) 2008-05-20 2012-06-11 極端紫外光用ミラー、極端紫外光用ミラーの製造方法及び極端紫外光生成装置
JP2012132160A Pending JP2012182492A (ja) 2008-05-20 2012-06-11 極端紫外光用ミラー、極端紫外光用ミラーの製造方法及び極端紫外光源装置
JP2012132145A Active JP5439541B2 (ja) 2008-05-20 2012-06-11 極端紫外光を用いる半導体露光装置

Family Applications After (3)

Application Number Title Priority Date Filing Date
JP2012132161A Active JP5362076B2 (ja) 2008-05-20 2012-06-11 極端紫外光用ミラー、極端紫外光用ミラーの製造方法及び極端紫外光生成装置
JP2012132160A Pending JP2012182492A (ja) 2008-05-20 2012-06-11 極端紫外光用ミラー、極端紫外光用ミラーの製造方法及び極端紫外光源装置
JP2012132145A Active JP5439541B2 (ja) 2008-05-20 2012-06-11 極端紫外光を用いる半導体露光装置

Country Status (1)

Country Link
JP (4) JP5061069B2 (ja)

Cited By (3)

* Cited by examiner, † Cited by third party
Publication number Priority date Publication date Assignee Title
JP2012227526A (ja) * 2011-04-15 2012-11-15 Asml Netherlands Bv オブジェクトによる使用のために放射ビームを調整するための光学装置、リソグラフィ装置、およびデバイスを製造する方法
JP2015519009A (ja) * 2012-05-23 2015-07-06 カール・ツァイス・エスエムティー・ゲーエムベーハー ファセットミラー
JP2017526007A (ja) * 2014-08-15 2017-09-07 カール・ツァイス・エスエムティー・ゲーエムベーハー 反射光学素子

Families Citing this family (5)

* Cited by examiner, † Cited by third party
Publication number Priority date Publication date Assignee Title
JPWO2014098181A1 (ja) * 2012-12-20 2017-01-12 ギガフォトン株式会社 極端紫外光生成システム及び極端紫外光生成装置
US9442387B2 (en) 2013-02-01 2016-09-13 Taiwan Semiconductor Manufacturing Company, Ltd. Extreme ultraviolet lithography process
DE102014117453A1 (de) * 2014-11-27 2016-06-02 Carl Zeiss Smt Gmbh Kollektorspiegel für Mikrolithografie
TWI800855B (zh) * 2016-06-20 2023-05-01 日商尼康股份有限公司 具有失真匹配的密集線極紫外光微影系統以及將圖案轉移至工件上的方法
DE102020206107A1 (de) * 2020-05-14 2021-11-18 Carl Zeiss Smt Gmbh Verfahren zum Herstellen eines optischen Elements

Citations (20)

* Cited by examiner, † Cited by third party
Publication number Priority date Publication date Assignee Title
JPS62502145A (ja) * 1985-09-19 1987-08-20 ヒユ−ズ・エアクラフト・カンパニ− 放射線源
US4915463A (en) * 1988-10-18 1990-04-10 The United States Of America As Represented By The Department Of Energy Multilayer diffraction grating
JPH04120717A (ja) * 1990-09-12 1992-04-21 Nec Corp X線露光装置
JPH07297103A (ja) * 1994-04-22 1995-11-10 Hitachi Ltd パターン形成方法、投影露光装置、光学系及びその設計方法
JPH0921900A (ja) * 1995-07-04 1997-01-21 Canon Inc 照明装置とこれを有する露光装置や顕微鏡装置、ならびにデバイス生産方法
JP2000346817A (ja) * 1999-06-07 2000-12-15 Nikon Corp 測定装置、照射装置および露光方法
JP2002184691A (ja) * 2000-10-10 2002-06-28 Asm Lithography Bv リソグラフィ装置、デバイス製造方法、およびそれにより製造したデバイス
US6469827B1 (en) * 1998-08-06 2002-10-22 Euv Llc Diffraction spectral filter for use in extreme-UV lithography condenser
JP2003084095A (ja) * 2001-09-13 2003-03-19 Nikon Corp 多層膜反射鏡、その製造方法、x線露光装置、半導体デバイスの製造方法及びx線光学系
US20040007902A1 (en) * 2002-05-03 2004-01-15 Inalfa Roof Systems Group B.V. Open roof construction for a vehicle, and method of moving a closure element thereof
JP2004108876A (ja) * 2002-09-17 2004-04-08 Canon Inc 多層膜ミラーの検査修正装置
JP2004207730A (ja) * 2002-12-20 2004-07-22 Asml Netherlands Bv リソグラフィック装置、デバイス製造方法およびその方法を使用して製造されたデバイス
JP2004258423A (ja) * 2003-02-27 2004-09-16 Nitto Denko Corp 三角溝及び光学素子の製造方法
JP2005049845A (ja) * 2003-07-09 2005-02-24 Asml Netherlands Bv ミラー及びミラーを備えたリソグラフィック装置
JP2005142569A (ja) * 2003-11-06 2005-06-02 Asml Netherlands Bv 光学素子、このような光学素子を備えたリソグラフィ装置及びデバイス製造方法
JP2005302998A (ja) * 2004-04-12 2005-10-27 Canon Inc Euv光を用いた露光装置および露光方法
US20060087738A1 (en) * 2004-06-02 2006-04-27 The Regents Of The University Of Ca High-efficiency spectral purity filter for euv lithography
WO2006126444A1 (ja) * 2005-05-23 2006-11-30 Nikon Corporation センサの校正方法、露光方法、露光装置、デバイス製造方法、および反射型マスク
JP2007273749A (ja) * 2006-03-31 2007-10-18 Canon Inc 光源装置、及びそれを用いた露光装置、デバイス製造方法
JP2009272622A (ja) * 2008-05-02 2009-11-19 Asml Netherlands Bv ダイクロイックミラー、ダイクロイックミラーを製造するための方法、リソグラフィ装置、半導体デバイス、およびそれらのための製造方法

Family Cites Families (8)

* Cited by examiner, † Cited by third party
Publication number Priority date Publication date Assignee Title
JPH07120607A (ja) * 1993-10-22 1995-05-12 Hitachi Ltd 光学素子及びその製造方法
JPH0817720A (ja) * 1994-06-30 1996-01-19 Nikon Corp 投影露光装置
KR100931335B1 (ko) * 2000-09-29 2009-12-11 칼 짜이스 에스엠티 아게 격자 엘리먼트를 구비한 조명 시스템
US6809327B2 (en) * 2002-10-29 2004-10-26 Intel Corporation EUV source box
JP4578901B2 (ja) * 2004-09-09 2010-11-10 株式会社小松製作所 極端紫外光源装置
US7196343B2 (en) * 2004-12-30 2007-03-27 Asml Netherlands B.V. Optical element, lithographic apparatus including such an optical element, device manufacturing method, and device manufactured thereby
EP1995767B1 (en) * 2006-03-10 2017-08-16 Nikon Corporation Projection optical system, aligner and method for fabricating semiconductor device
CN102047151B (zh) * 2008-05-30 2014-07-16 Asml荷兰有限公司 辐射系统、辐射收集器、辐射束调节系统、用于辐射系统的光谱纯度滤光片以及用于形成光谱纯度滤光片的方法

Patent Citations (21)

* Cited by examiner, † Cited by third party
Publication number Priority date Publication date Assignee Title
JPS62502145A (ja) * 1985-09-19 1987-08-20 ヒユ−ズ・エアクラフト・カンパニ− 放射線源
US4915463A (en) * 1988-10-18 1990-04-10 The United States Of America As Represented By The Department Of Energy Multilayer diffraction grating
JPH04120717A (ja) * 1990-09-12 1992-04-21 Nec Corp X線露光装置
JPH07297103A (ja) * 1994-04-22 1995-11-10 Hitachi Ltd パターン形成方法、投影露光装置、光学系及びその設計方法
JPH0921900A (ja) * 1995-07-04 1997-01-21 Canon Inc 照明装置とこれを有する露光装置や顕微鏡装置、ならびにデバイス生産方法
US6469827B1 (en) * 1998-08-06 2002-10-22 Euv Llc Diffraction spectral filter for use in extreme-UV lithography condenser
JP2000346817A (ja) * 1999-06-07 2000-12-15 Nikon Corp 測定装置、照射装置および露光方法
JP2004506315A (ja) * 2000-08-04 2004-02-26 イーユーヴィー リミテッド リアビリティ コーポレーション 超紫外線リソグラフィーコンデンサに用いる回折スペクトルフィルタ
JP2002184691A (ja) * 2000-10-10 2002-06-28 Asm Lithography Bv リソグラフィ装置、デバイス製造方法、およびそれにより製造したデバイス
JP2003084095A (ja) * 2001-09-13 2003-03-19 Nikon Corp 多層膜反射鏡、その製造方法、x線露光装置、半導体デバイスの製造方法及びx線光学系
US20040007902A1 (en) * 2002-05-03 2004-01-15 Inalfa Roof Systems Group B.V. Open roof construction for a vehicle, and method of moving a closure element thereof
JP2004108876A (ja) * 2002-09-17 2004-04-08 Canon Inc 多層膜ミラーの検査修正装置
JP2004207730A (ja) * 2002-12-20 2004-07-22 Asml Netherlands Bv リソグラフィック装置、デバイス製造方法およびその方法を使用して製造されたデバイス
JP2004258423A (ja) * 2003-02-27 2004-09-16 Nitto Denko Corp 三角溝及び光学素子の製造方法
JP2005049845A (ja) * 2003-07-09 2005-02-24 Asml Netherlands Bv ミラー及びミラーを備えたリソグラフィック装置
JP2005142569A (ja) * 2003-11-06 2005-06-02 Asml Netherlands Bv 光学素子、このような光学素子を備えたリソグラフィ装置及びデバイス製造方法
JP2005302998A (ja) * 2004-04-12 2005-10-27 Canon Inc Euv光を用いた露光装置および露光方法
US20060087738A1 (en) * 2004-06-02 2006-04-27 The Regents Of The University Of Ca High-efficiency spectral purity filter for euv lithography
WO2006126444A1 (ja) * 2005-05-23 2006-11-30 Nikon Corporation センサの校正方法、露光方法、露光装置、デバイス製造方法、および反射型マスク
JP2007273749A (ja) * 2006-03-31 2007-10-18 Canon Inc 光源装置、及びそれを用いた露光装置、デバイス製造方法
JP2009272622A (ja) * 2008-05-02 2009-11-19 Asml Netherlands Bv ダイクロイックミラー、ダイクロイックミラーを製造するための方法、リソグラフィ装置、半導体デバイス、およびそれらのための製造方法

Cited By (4)

* Cited by examiner, † Cited by third party
Publication number Priority date Publication date Assignee Title
JP2012227526A (ja) * 2011-04-15 2012-11-15 Asml Netherlands Bv オブジェクトによる使用のために放射ビームを調整するための光学装置、リソグラフィ装置、およびデバイスを製造する方法
JP2015519009A (ja) * 2012-05-23 2015-07-06 カール・ツァイス・エスエムティー・ゲーエムベーハー ファセットミラー
US10599041B2 (en) 2012-05-23 2020-03-24 Carl Zeiss Smt Gmbh Facet mirror
JP2017526007A (ja) * 2014-08-15 2017-09-07 カール・ツァイス・エスエムティー・ゲーエムベーハー 反射光学素子

Also Published As

Publication number Publication date
JP5439541B2 (ja) 2014-03-12
JP2012212904A (ja) 2012-11-01
JP5061069B2 (ja) 2012-10-31
JP2012216854A (ja) 2012-11-08
JP2012182492A (ja) 2012-09-20
JP5362076B2 (ja) 2013-12-11

Similar Documents

Publication Publication Date Title
JP5061063B2 (ja) 極端紫外光用ミラーおよび極端紫外光源装置
US8507885B2 (en) Semiconductor exposure device using extreme ultra violet radiation
JP5439541B2 (ja) 極端紫外光を用いる半導体露光装置
CN102150084B (zh) 辐射源、光刻设备以及器件制造方法
TWI311695B (en) Multi-layer spectral purity filter, lithographic apparatus including such a spectral purity filter, device manufacturing method, and device manufactured thereby
US10001709B2 (en) Lithographic apparatus, spectral purity filter and device manufacturing method
EP2283388B1 (en) Radiation system, radiation collector, radiation beam conditioning system, spectral purity filter for a radiation system and method of forming a spectral purity filter
US12164221B2 (en) Extreme ultraviolet light reflective structure including nano-lattice and manufacturing method thereof
KR20150143802A (ko) 방사선 수집기, 냉각 시스템 및 리소그래피 장치
JP2012216743A (ja) スペクトル純度フィルタ及びそれを備える極端紫外光生成装置
US20250321506A1 (en) Euv lithography apparatus and operating method for mitigating contamination
JP2010533973A (ja) デブリ防止システム、放射システム、及びリソグラフィ装置
JP6232210B2 (ja) ミラー装置、極端紫外光生成装置及び極端紫外光生成システム
EA042061B1 (ru) Плазменный источник экстремального ультрафиолетового излучения и литографическая система с его использованием

Legal Events

Date Code Title Description
A621 Written request for application examination

Free format text: JAPANESE INTERMEDIATE CODE: A621

Effective date: 20110608

RD02 Notification of acceptance of power of attorney

Free format text: JAPANESE INTERMEDIATE CODE: A7422

Effective date: 20111006

RD04 Notification of resignation of power of attorney

Free format text: JAPANESE INTERMEDIATE CODE: A7424

Effective date: 20111019

A977 Report on retrieval

Free format text: JAPANESE INTERMEDIATE CODE: A971007

Effective date: 20120404

A131 Notification of reasons for refusal

Free format text: JAPANESE INTERMEDIATE CODE: A131

Effective date: 20120410

A521 Request for written amendment filed

Free format text: JAPANESE INTERMEDIATE CODE: A523

Effective date: 20120611

A711 Notification of change in applicant

Free format text: JAPANESE INTERMEDIATE CODE: A711

Effective date: 20120611

TRDD Decision of grant or rejection written
A01 Written decision to grant a patent or to grant a registration (utility model)

Free format text: JAPANESE INTERMEDIATE CODE: A01

Effective date: 20120717

A01 Written decision to grant a patent or to grant a registration (utility model)

Free format text: JAPANESE INTERMEDIATE CODE: A01

A61 First payment of annual fees (during grant procedure)

Free format text: JAPANESE INTERMEDIATE CODE: A61

Effective date: 20120806

FPAY Renewal fee payment (event date is renewal date of database)

Free format text: PAYMENT UNTIL: 20150810

Year of fee payment: 3

R150 Certificate of patent or registration of utility model

Ref document number: 5061069

Country of ref document: JP

Free format text: JAPANESE INTERMEDIATE CODE: R150

Free format text: JAPANESE INTERMEDIATE CODE: R150

R250 Receipt of annual fees

Free format text: JAPANESE INTERMEDIATE CODE: R250

R250 Receipt of annual fees

Free format text: JAPANESE INTERMEDIATE CODE: R250

R250 Receipt of annual fees

Free format text: JAPANESE INTERMEDIATE CODE: R250

R250 Receipt of annual fees

Free format text: JAPANESE INTERMEDIATE CODE: R250

R250 Receipt of annual fees

Free format text: JAPANESE INTERMEDIATE CODE: R250

R250 Receipt of annual fees

Free format text: JAPANESE INTERMEDIATE CODE: R250

R250 Receipt of annual fees

Free format text: JAPANESE INTERMEDIATE CODE: R250

R250 Receipt of annual fees

Free format text: JAPANESE INTERMEDIATE CODE: R250

R250 Receipt of annual fees

Free format text: JAPANESE INTERMEDIATE CODE: R250

R250 Receipt of annual fees

Free format text: JAPANESE INTERMEDIATE CODE: R250