JP2010002302A - 検査用接触構造体 - Google Patents

検査用接触構造体 Download PDF

Info

Publication number
JP2010002302A
JP2010002302A JP2008161559A JP2008161559A JP2010002302A JP 2010002302 A JP2010002302 A JP 2010002302A JP 2008161559 A JP2008161559 A JP 2008161559A JP 2008161559 A JP2008161559 A JP 2008161559A JP 2010002302 A JP2010002302 A JP 2010002302A
Authority
JP
Japan
Prior art keywords
ground conductor
contact
wiring layer
conductor portion
inspection
Prior art date
Legal status (The legal status is an assumption and is not a legal conclusion. Google has not performed a legal analysis and makes no representation as to the accuracy of the status listed.)
Granted
Application number
JP2008161559A
Other languages
English (en)
Other versions
JP5374079B2 (ja
Inventor
Jun Mochizuki
純 望月
Current Assignee (The listed assignees may be inaccurate. Google has not performed a legal analysis and makes no representation or warranty as to the accuracy of the list.)
Tokyo Electron Ltd
Original Assignee
Tokyo Electron Ltd
Priority date (The priority date is an assumption and is not a legal conclusion. Google has not performed a legal analysis and makes no representation as to the accuracy of the date listed.)
Filing date
Publication date
Application filed by Tokyo Electron Ltd filed Critical Tokyo Electron Ltd
Priority to JP2008161559A priority Critical patent/JP5374079B2/ja
Priority to KR1020107028137A priority patent/KR101186915B1/ko
Priority to US12/999,375 priority patent/US8866506B2/en
Priority to PCT/JP2009/061003 priority patent/WO2009154217A1/ja
Priority to TW98120527A priority patent/TWI403724B/zh
Publication of JP2010002302A publication Critical patent/JP2010002302A/ja
Application granted granted Critical
Publication of JP5374079B2 publication Critical patent/JP5374079B2/ja
Expired - Fee Related legal-status Critical Current
Anticipated expiration legal-status Critical

Links

Images

Classifications

    • GPHYSICS
    • G01MEASURING; TESTING
    • G01RMEASURING ELECTRIC VARIABLES; MEASURING MAGNETIC VARIABLES
    • G01R1/00Details of instruments or arrangements of the types included in groups G01R5/00 - G01R13/00 and G01R31/00
    • G01R1/02General constructional details
    • G01R1/06Measuring leads; Measuring probes
    • G01R1/067Measuring probes
    • G01R1/073Multiple probes
    • G01R1/07307Multiple probes with individual probe elements, e.g. needles, cantilever beams or bump contacts, fixed in relation to each other, e.g. bed of nails fixture or probe card
    • G01R1/07364Multiple probes with individual probe elements, e.g. needles, cantilever beams or bump contacts, fixed in relation to each other, e.g. bed of nails fixture or probe card with provisions for altering position, number or connection of probe tips; Adapting to differences in pitch
    • G01R1/07371Multiple probes with individual probe elements, e.g. needles, cantilever beams or bump contacts, fixed in relation to each other, e.g. bed of nails fixture or probe card with provisions for altering position, number or connection of probe tips; Adapting to differences in pitch using an intermediate card or back card with apertures through which the probes pass
    • GPHYSICS
    • G01MEASURING; TESTING
    • G01RMEASURING ELECTRIC VARIABLES; MEASURING MAGNETIC VARIABLES
    • G01R1/00Details of instruments or arrangements of the types included in groups G01R5/00 - G01R13/00 and G01R31/00
    • G01R1/02General constructional details
    • G01R1/06Measuring leads; Measuring probes
    • G01R1/067Measuring probes
    • G01R1/06772High frequency probes

Landscapes

  • Physics & Mathematics (AREA)
  • General Physics & Mathematics (AREA)
  • Testing Or Measuring Of Semiconductors Or The Like (AREA)
  • Measuring Leads Or Probes (AREA)
  • Testing Of Individual Semiconductor Devices (AREA)

Abstract

【課題】被検査体の電気的特性の検査を高い精度で安定的に行う。
【解決手段】接地された接地導体部12の下面には、弾性接触部13が設けられている。弾性接触部13は、絶縁層15と、配線層16と、接触子17と、接触子17に対応した位置に設けられた弾性体18を有している。弾性体18は、弾性接触部13に電極Pに接触する際の弾性を付加している。弾性接触部13は、接地導体部12に平行に配置されている。配線層16と、接地導体部12とは、マイクロストリップ線路を形成する。
【選択図】図2

Description

本発明は、回路基板の下面に設けられ、被検査体の電気的特性を検査する検査用接触構造体に関する。
半導体ウェハ(以下、「ウェハ」という。)上に形成されたIC、LSIなどのデバイス(以下、「デバイス」という。)の電気的特性の検査には、回路基板や接触子としてのプローブを有するプローブカードが用いられ、例えば回路基板の下面に配置されたプローブを、ウェハ上のデバイスに設けられた電極に接触することによって行われている。
このデバイスの電極は異なる高さで配置されることがある。したがって、プローブには、このばらつきを吸収するため、弾性といった機械的特性が要求される。また、プローブには、電圧損失を低く抑えるために、優れた電気的特性も同時に要求される。
そのため従来では、プローブの材料として、電気的特性に優れた材料を使用し、同時に、プローブの上方であって、デバイスの電極に対向する位置に弾性体を配置することで、プローブに弾性を付加することが提案されている(特許文献1)。
特開2001−33486号広報
しかしながら、上述のプローブカードは、プローブまで含めた厳密なインピーダンス整合は行われていない。このため、検査時にプローブに送られる電気信号には、インピーダンスの不整合に起因する信号波形の乱れや、信号の遅れといった信号波形の劣化が見られ、検査の精度が低下する。
本発明は、かかる点に鑑みてなされたものであり、被検査体の電気的特性の検査を高い精度で安定的に行うことを目的とする。
上記目的を達成するための本発明は、回路基板の下面に設けられ、被検査体の電気的特性を検査する検査用接触構造体であって、接地された接地導体部と、前記被検査体と接触する弾性接触部と、前記回路基板と前記弾性接触部とを電気的に接続する導電線と、を有し、前記弾性接触部は前記接地導体部の下面に設けられ、前記弾性接触部は、被検査体と接触する接触子と、前記接触子と前記導電線とを電気的に接続する配線層と、前記配線層と前記接地導体部の間に設けられた絶縁層と、前記接触子を挟んで、被検査体と対向する位置に設けられた弾性体と、を備え、前記配線層は、前記接地導体部と平行に配置されていることを特徴とする。
本発明によれば、検査用接触構造体の配線層は、接地導体部と平行に配置され、マイクロストリップ線路を形成している。これにより、配線層の幅と、配線層と接地導体部の距離、すなわち配線層と接地導体部との間に挿置された絶縁層の厚みを変化させることで、配線層の特性インピーダンスを調整することができる。したがって、前記検査用接触構造体は、弾性接触部まで含めたインピーダンス整合が可能となり、被検査体の電気的特性の検査を、高い精度で安定的に行うことができる。また、前記弾性接触部は、接触子に対応する位置に配置された弾性体により弾性を付加されているため、被検査体と接触する際に要求される弾性も備えている。
なお、前記接地導体部は、金属性の基板であってもよく、絶縁体基板の表面に接合された導体であってもよい。さらに、前記弾性接触部の配線層は、前記接地導体部に電気的に接続されていてもよい。
また、前記接地導体部には、上下方向に貫通する貫通孔が形成され、前記導電線は、前記貫通孔内において当該貫通孔と同軸状に設けられていてもよい。
前記接地導体部の上面には、他の弾性接触部がさらに設けられ、前記他の弾性接触部は、前記回路基板に接触する他の接触子と、前記他の接触子と前記導電線とを電気的に接続する他の配線層と、前記他の配線層と前記接地導体部の間に設けられた他の絶縁層と、前記他の接触子を挟んで、前記回路基板と対向する位置に設けられた他の弾性体とを備え、前記回路基板と前記導電線とは、前記他の弾性接触部の接触子が、前記回路基板に接触することで、電気的に接続されていてもよい。
前記弾性体は、前記接地導体部の下面に形成された窪み部に配置されていてもよい。また、前記接地導体部の下面に形成された、他の窪み部には、前記配線層に接続されるノイズ除去用のコンデンサが配置されていてもよい。
本発明によれば、被検査体の電気的特性の検査を高い精度で安定的に行うことができる。
以下、本発明の実施の形態について説明する。図1は本実施の形態にかかる検査用接触構造体を有するプローブ装置1の構成の概略を示す説明図である。
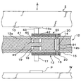
プローブ装置1にはプローブカード2と、被検査体としてのウェハWを載置する載置台3が設けられている。プローブカード2は、例えば全体が円盤状に形成されており、ウェハWに検査用の電気信号を送るための回路基板10と、回路基板10の下面側に、回路基板10に平行に配置された検査用接触構造体11を有している。検査用接触構造体11は、図示しない配線により接地された接地導体部12と、弾性接触部13とを有している。弾性接触部13は、接地導体部12の下面に配置されている。
載置台3は左右及び上下に移動自在に構成されており、載置したウェハWを三次元移動させ、プローブカード2の弾性接触部13をウェハWの所望の位置、すなわちデバイスの電極Pに適切に接触させることができる。
回路基板10は、例えば円盤状に形成されている。回路基板10には、図示しないテスターからの検査用信号を、弾性接触部13との間で伝送するための、図示しない電子回路が実装されている。回路基板10の下面には図2に示すとおり接続端子10aが配置されている。
接地導体部12は、例えば方盤状に形成されている。接地導体部12は、例えば金属性の基板である。接地導体部12には、接地導体部12の本体12aを上下方向に貫通する貫通孔12bが形成されており、貫通孔12bには、回路基板10と弾性接触部13とを電気的に接続する、導電線14が配置されている。なお、接地導体部12には、導電性セラミックの基板や導電性ガラスの基板などの使用も可能である。
導電線14は、貫通孔12bにおいて、図3に示すように本体12aと同軸状に配置されている。したがって、導電線14の表面と、本体12aの内周部表面との距離d、すなわち貫通孔12bの径を変化させることにより、本体12aを貫通する導電線14の特性インピーダンスを調整することができる。
導電線14は、接地導体部12の本体12aの上下面から突出している。導電線14は、接地導体部12の上面側において、接続端子10aと電気的に接続されている。導電線14は、接地導体部12の下面側において、後述する弾性接触部13の配線層16と電気的に接続されている。
貫通孔12bの内周面には円筒状に絶縁層21が設けられている。円筒状の絶縁層21は、本体12aの上下方向に延伸し、接地導体部12の下面側において、絶縁層15と当接している。これにより絶縁層21は、導電線14と、接地導体部12とを絶縁している。なお、図2から図5において、絶縁層21の厚みは、導電線14の表面と、本体12aの内周部表面との距離dより薄くなっているが、状況に応じて自由に設定されるべきものであり、本図により限定されるものではない。
弾性接触部13は、絶縁層15と、配線層16と、接触子17と、弾性体18とを有している。絶縁層15は、接地導体部12の下面に平行に配置されたシート状の絶縁体である。絶縁層15には、例えばポリイミドなどが使用できる。絶縁層15の下面には、絶縁層15に平行に、すなわち接地導体部12と平行にシート状の導体である配線層16が配置されている。配線層16は貫通孔12bの直下まで延伸し、配線層16と導電線14は、導体20によって電気的に接続されている。導体20には、例えば導電性接着剤や半田が用いられる。
配線層16の下面であってデバイスの電極Pに対応する位置には、電極Pと接触する接触子17が設けられている。接触子17は、配線層16を介して、導電線14と電気的に接続されている。接触子17は、デバイスの電極Pより硬質の、例えばニッケルやコバルトのような機械的特性に優れた、導電性の金属により形成されている。接地導体部12の下面には、接触子17を挟んで電極Pに対向する位置に窪み部19が形成されており、当該窪み部19には、弾性体18が配置されている。接触子17は、この弾性体18により、電極Pと接触する際に要求される弾性を付加されている。本実施の形態では、弾性体の材質は、例えばシリコンゴムである。
接地導体部12と、弾性接触部13の配線層16とは、絶縁層15をはさんで水平に配置された、マイクロストリップ線路を形成している。したがって、配線層16の幅と、配線層16と接地導体部12との距離、すなわち絶縁層15の厚みを変化させることで配線層16の特性インピーダンスを調整することができる。これにより、弾性接触部13のインピーダンス整合を行うことができる。かかる場合、回路基板10から弾性接触部13までの、プローブカード全体のインピーダンス整合を行うことができる。
以上のように構成されたプローブカード2を用いて、ウェハW上のデバイスの電気的特性を検査する際には、ウェハWが載置された載置台3が移動し、弾性接触部13がウェハWに近づけられ、デバイス上の電極Pに接触させられる。そしてテスターからの電気信号が回路基板10、弾性接触部13を介して、デバイスに検査用の電気信号が印加され、デバイスの電気的特性が検査される。
以上の実施の形態によれば、検査用接触構造体11の配線層16は、接地導体部12と平行に配置され、マイクロストリップ線路を形成している。これにより、配線層16の幅と、配線層16と接地導体部12の距離、すなわち絶縁層15の厚さを変化させることで、弾性接触部13の特性インピーダンスを調整することができる。したがって、検査用接触構造体11は、弾性接触部13まで含めたインピーダンス整合が可能となり、信号波形の乱れや、信号の遅れといった信号波形の劣化のない、安定した検査を行うことができる。また、弾性接触部13の接触子17は、接地導体部12の、接触子17に対応する位置に配置された弾性体18により弾性を付加されているため、電極Pと接触する際に要求される弾性も備えている。
また、以上の実施の形態によれば、導電線14は、接地導体部12の貫通孔12b内に、本体12aと空隙dを保ち、同軸状に配置されている。このため、空隙dの間隔、すなわち貫通孔12bの径を調整することで、導電線14の特性インピーダンスも調整することができる。かかる場合、回路基板10から弾性接触部13までの、プローブカード全体のインピーダンス整合を行うことができる。
以上の実施の形態では、弾性接触部13を接地導体部12の下面のみに配置したが、図4に示すように接地導体部12の上面に、弾性接触部13と同一の構成の弾性接触部40を設けても良い。弾性接触部40は、絶縁層41と、配線層42と、接触子43と、弾性体44とを有している。絶縁層41は、接地導体部12の上面に平行に配置されたシート状の絶縁体である。
絶縁層41の上面には、絶縁層41に平行に、すなわち接地導体部12と平行にシート状の導体である配線層42が配置されている。配線層42の上であって回路基板10の接続端子10aに対応する位置には、接続端子10aと接触する接触子43が設けられている。接触子43は、配線層42を介して、導電線14と電気的に接続されている。接地導体部12の上面には、接触子43を挟んで接続端子10aに対向する位置に窪み部45が形成されており、当該窪み部45には、弾性体44が配置されている。接触子43は、この弾性体44により、接続端子10aと接触する際に要求される弾性を付加されている。なお、接触子43及び弾性体44の材質は、弾性接触部13で使用する材質と同様である。
かかる場合、弾性接触部40も弾性接触部12と同様に、マイクロストリップ線路を形成するため、配線層42の特性インピーダンスを調整することができる。したがって、導電線14が本体12aと同軸構造を形成していない箇所、すなわち導電線14の特性インピーダンスを調整できない箇所を、特性インピーダンスの調整が可能な、弾性接触部40におきかえることができる。したがって、検査用接触構造体11のインピーダンス整合を、さらに厳密に行うことができる。
なお、図4において接地導体部12の上面に配置された弾性接触部45の接触子42は、接地導体部12の下面に配置された接触子17に対向する位置に設けられているが、接触子42は、回路基板10の接続端子10aの位置にあわせて配置されるものであり、本図によりその配置が限定されるものではない。
以上の実施の形態では、接地導体部12は金属性の基板であったが、例えばガラス基板やセラミック基板といった絶縁体の表面にシート状の導体を接合することで形成されていてもよい。また、接地導体部12は、検査用接触構造体11の接地用として用いられても良い。かかる場合、図5に示すように、接地導体部12の下面に設けられた、接地用の弾性接触部50と、接地導体部12とが電気的に接続される。
弾性接触部50は、絶縁層15と、配線層51と、接触子52と、弾性体53とを有している。本実施の形態では、絶縁層15を弾性接触部13と、弾性接触部50とで共有しているが、各弾性接触部ごとに絶縁層を設けてもよい。なお、弾性接触部50の構成については、上述した弾性接触部13と同様であるので、説明を省略する。そして、弾性接触部50と、接地導体部12とは、絶縁層15を上下に貫通するように形成された接続口54を介して、導体20と電気的に接続されている。これにより、弾性接触部50の接地用の配線が短くでき、且つ接地導体部12を、各弾性接触部50のフレームグランドとして用いることができる。従って、接地の共通インピーダンスを低下させ、検査信号のノイズを低減することができる。
以上の実施の形態では、絶縁層15は絶縁体であったが、誘電体であってもよい。かかる場合、配線層16の幅及び配線層16と絶縁層15との距離だけでは所定の特性インピーダンスを得られない場合においても、適切な誘電率の誘電体を選定することで、所定の特性インピーダンスを得ることができる。
また、接地導体部12の下面であって、接触子17と貫通孔12bの中間に形は窪み部60が形成され、窪み部60には、ノイズ除去用のコンデンサ61が配置されていてもよい。図5に示すように、コンデンサ61は、絶縁層15の上面に配置された絶縁板62上に、絶縁板62の上面に形成された配線63をブリッジするように実装されている。絶縁板62には、絶縁板62を上下に貫通するように、図示しない貫通孔が形成されている。配線63は、この図示しない貫通孔を貫通して、コンデンサ61が、配線層16と、配線層51に並列に接続されるように、配線層16と、配線層51にそれぞれ電気的に接続される。かかる場合、接触子17の先端近傍にコンデンサ61を配置できるため、弾性接触部13の先端近傍まで、検査用電気信号のノイズを除去することができる。これにより、さらに検査の精度を高めることができる。なお、本実施の形態においては、コンデンサ61は、絶縁板62を介して絶縁層15に配置したが、窪み部60の下面や側面に接合することで配置してもよい。
以上、添付図面を参照しながら本発明の好適な実施の形態について説明したが、本発明はかかる例に限定されない。当業者であれば、特許請求の範囲に記載された思想の範疇内において、各種の変更例または修正例に想致し得ることは明らかであり、それらについても当然に本発明の技術的範囲に属するものと了解される。本発明はこの例に限らず、種々の様態を採りうるものである。本発明は、被検査体が半導体以外のFPD(フラットパネルディスプレイ)、フォトマスク用のマスクレチクルなどの他の基板である場合にも適用できる。
本発明は、例えば半導体ウェハ等の被検査体の電気的特性を検査するためのプローブ装置に有用である。
本実施の形態にかかる検査用接触構造体を有するプローブ装置を示す側面図である。 本実施の形態にかかる検査用接触構造体の構成の概略を示す側面図である。 接地導体部と導電線との同軸構造を示す模式図である。 他の実施の形態にかかる検査用接触構造体の構成の概略を示す側面図である。 他の実施の形態にかかる検査用接触構造体の構成の概略を示す側面図である。
符号の説明
1 プローブ装置
2 プローブカード
3 載置台
10 回路基板
10a 接続端子
11 検査用接触構造体
12 接地導体部
12a 本体
12b 貫通孔
13 弾性接触部
14 導電線
15 絶縁層
16 配線層
17 接触子
18 弾性体
19 窪み部
20 導体
21 絶縁層
40 弾性接触部
41 絶縁層
42 配線層
43 接触子
44 弾性体
45 窪み部
50 弾性接触体
51 配線層
52 接触子
53 弾性体
54 接続口
W ウェハ
P 検査用電極

Claims (8)

  1. 回路基板の下面に設けられ、被検査体の電気的特性を検査する検査用接触構造体であって、
    接地された接地導体部と、前記被検査体と接触する弾性接触部と、前記回路基板と前記弾性接触部とを電気的に接続する導電線と、を有し、
    前記弾性接触部は前記接地導体部の下面に設けられ、
    前記弾性接触部は、
    被検査体と接触する接触子と、
    前記接触子と前記導電線とを電気的に接続する配線層と、
    前記配線層と前記接地導体部の間に設けられた絶縁層と、
    前記接触子を挟んで、被検査体と対向する位置に設けられた弾性体と、を備え、
    前記配線層は、前記接地導体部と平行に配置されていることを特徴とする、検査用接触構造体。
  2. 前記接地導体部は、金属性の基板であることを特徴とする、請求項1に記載の検査用接触構造体。
  3. 前記接地導体部は、絶縁体と、前記絶縁体の表面に接合された導体と、を有することを特徴とする、請求項1に記載の検査用接触構造体。
  4. 前記接地導体部には、上下方向に貫通する貫通孔が形成され、
    前記導電線は、前記貫通孔内において当該貫通孔と同軸状に設けられていることを特徴とする、請求項1〜3のいずれかに記載の検査用接触構造体。
  5. 前記接地導体部の上面には、他の弾性接触部がさらに設けられ、
    前記他の弾性接触部は、
    前記回路基板に接触する他の接触子と、
    前記他の接触子と前記導電線とを電気的に接続する他の配線層と、
    前記他の配線層と前記接地導体部の間に設けられた他の絶縁層と、
    前記他の接触子を挟んで、前記回路基板と対向する位置に設けられた他の弾性体と、を備え、
    前記回路基板と前記導電線とは、前記他の弾性接触部の接触子が、前記回路基板に接触することで、電気的に接続されていることを特徴とする、請求項1〜4のいずれかに記載の検査用接触構造体。
  6. 前記接地導体部の下面には、窪み部が形成され、
    前記弾性体は、前記窪み部に配置されていることを特徴とする、請求項1〜5のいずれかに記載の検査用接触構造体。
  7. 前記接地導体部の下面には、他の窪み部が形成され、
    当該他の窪み部には、前記配線層に接続されるノイズ除去用のコンデンサが配置されていることを特徴とする、請求項1〜6のいずれかに記載の検査用接触構造体。
  8. 前記弾性接触部の配線層は、前記接地導体部に電気的に接続されていることを特徴とする、請求項1〜7のいずれかに記載の検査用接触構造体。
JP2008161559A 2008-06-20 2008-06-20 検査用接触構造体 Expired - Fee Related JP5374079B2 (ja)

Priority Applications (5)

Application Number Priority Date Filing Date Title
JP2008161559A JP5374079B2 (ja) 2008-06-20 2008-06-20 検査用接触構造体
KR1020107028137A KR101186915B1 (ko) 2008-06-20 2009-06-17 검사용 접촉 구조체
US12/999,375 US8866506B2 (en) 2008-06-20 2009-06-17 Contact structure for inspection
PCT/JP2009/061003 WO2009154217A1 (ja) 2008-06-20 2009-06-17 検査用接触構造体
TW98120527A TWI403724B (zh) 2008-06-20 2009-06-19 Inspection contact structure

Applications Claiming Priority (1)

Application Number Priority Date Filing Date Title
JP2008161559A JP5374079B2 (ja) 2008-06-20 2008-06-20 検査用接触構造体

Publications (2)

Publication Number Publication Date
JP2010002302A true JP2010002302A (ja) 2010-01-07
JP5374079B2 JP5374079B2 (ja) 2013-12-25

Family

ID=41434134

Family Applications (1)

Application Number Title Priority Date Filing Date
JP2008161559A Expired - Fee Related JP5374079B2 (ja) 2008-06-20 2008-06-20 検査用接触構造体

Country Status (5)

Country Link
US (1) US8866506B2 (ja)
JP (1) JP5374079B2 (ja)
KR (1) KR101186915B1 (ja)
TW (1) TWI403724B (ja)
WO (1) WO2009154217A1 (ja)

Cited By (3)

* Cited by examiner, † Cited by third party
Publication number Priority date Publication date Assignee Title
JP2011226963A (ja) * 2010-04-21 2011-11-10 Shinko Electric Ind Co Ltd プローブカード及びその製造方法
JP2012198194A (ja) * 2011-03-09 2012-10-18 Shinko Electric Ind Co Ltd プローブカード及びその製造方法
US9622344B2 (en) 2012-04-11 2017-04-11 Kabushiki Kaisha Nihon Micronics Multilayer wiring board with enclosed Ur-variant dual conductive layer

Families Citing this family (7)

* Cited by examiner, † Cited by third party
Publication number Priority date Publication date Assignee Title
KR101410991B1 (ko) * 2012-11-20 2014-06-23 리노정밀(주) 지그 장치
JP6221358B2 (ja) * 2013-06-04 2017-11-01 日本電産リード株式会社 基板検査方法、及び基板検査装置
KR102061669B1 (ko) * 2018-07-25 2020-01-03 주식회사 이노글로벌 양방향 도전성 모듈
TWI867799B (zh) * 2019-08-15 2024-12-21 優顯科技股份有限公司 光電探測模組與電子探測方法
CN113466499B (zh) * 2021-05-27 2024-04-09 国网浙江省电力有限公司金华供电公司 一种线路接线试验箱
TWI834270B (zh) * 2022-08-31 2024-03-01 中華精測科技股份有限公司 探針卡結構及其製作方法
KR102551965B1 (ko) 2022-12-02 2023-07-06 주식회사 피엠티 다단구조 접촉팁이 형성된 프로브 시트 및 그 제조 방법

Citations (8)

* Cited by examiner, † Cited by third party
Publication number Priority date Publication date Assignee Title
JPH02216467A (ja) * 1989-02-17 1990-08-29 Tokyo Electron Ltd プローバ
JPH0555553U (ja) * 1991-12-24 1993-07-23 横河電機株式会社 半導体ウエハー検査装置
JPH0750324A (ja) * 1993-08-03 1995-02-21 Tokyo Electron Ltd プローブ装置
JPH11352149A (ja) * 1998-06-05 1999-12-24 Tokyo Electron Ltd プロービングカード
JP2001033486A (ja) * 1999-07-19 2001-02-09 Micronics Japan Co Ltd プローブユニット及びプローブカード
JP2003043069A (ja) * 2001-07-31 2003-02-13 Sharp Corp 端子接続構造、および、それを用いた電子デバイスの電気特性測定装置、ならびに、電子デバイスの電気特性測定装置の使用方法
JP2004117247A (ja) * 2002-09-27 2004-04-15 Advantest Corp 半導体試験装置のプローバインタフェース装置及び半導体試験装置のデバイスインターフェース装置
WO2007125974A1 (ja) * 2006-04-28 2007-11-08 Nhk Spring Co., Ltd. 導電性接触子ホルダ

Family Cites Families (15)

* Cited by examiner, † Cited by third party
Publication number Priority date Publication date Assignee Title
JP2739726B2 (ja) * 1990-09-27 1998-04-15 インターナシヨナル・ビジネス・マシーンズ・コーポレーシヨン 多層プリント回路板
JPH04267586A (ja) * 1991-02-22 1992-09-24 Nec Corp 同軸配線パターンおよびその形成方法
JPH0555553A (ja) 1991-08-29 1993-03-05 Sanyo Electric Co Ltd 半導体集積回路
JP3302059B2 (ja) * 1992-10-30 2002-07-15 ジェイエスアール株式会社 バーン・イン・テスト用治具
US6343369B1 (en) * 1998-09-15 2002-01-29 Microconnect, Inc. Methods for making contact device for making connection to an electronic circuit device and methods of using the same
JP4527267B2 (ja) 2000-11-13 2010-08-18 東京エレクトロン株式会社 コンタクタの製造方法
TWI236723B (en) * 2002-10-02 2005-07-21 Renesas Tech Corp Probe sheet, probe card, semiconductor inspection device, and manufacturing method for semiconductor device
US20040211590A1 (en) * 2003-04-25 2004-10-28 Matsushita Electric Industrial Co., Ltd. Multilayer printed wiring board and integrated circuit using the same
JP4197659B2 (ja) * 2003-05-30 2008-12-17 富士通マイクロエレクトロニクス株式会社 電子部品用コンタクタ及びこれを用いた試験方法
US6967557B2 (en) * 2003-08-26 2005-11-22 International Business Machines Corporation Wafer test space transformer
JP2005241275A (ja) * 2004-02-24 2005-09-08 Japan Electronic Materials Corp プローブカード
WO2008070673A2 (en) * 2006-12-04 2008-06-12 Nanonexus, Inc. Construction structures and manufacturing processes for integrated circuit wafer probe card assemblies
US20060250149A1 (en) * 2005-05-04 2006-11-09 Unitech Printed Circuit Board Corp. Complex printed circuit board testing tool
US20070075717A1 (en) * 2005-09-14 2007-04-05 Touchdown Technologies, Inc. Lateral interposer contact design and probe card assembly
JP5008005B2 (ja) * 2006-07-10 2012-08-22 東京エレクトロン株式会社 プローブカード

Patent Citations (8)

* Cited by examiner, † Cited by third party
Publication number Priority date Publication date Assignee Title
JPH02216467A (ja) * 1989-02-17 1990-08-29 Tokyo Electron Ltd プローバ
JPH0555553U (ja) * 1991-12-24 1993-07-23 横河電機株式会社 半導体ウエハー検査装置
JPH0750324A (ja) * 1993-08-03 1995-02-21 Tokyo Electron Ltd プローブ装置
JPH11352149A (ja) * 1998-06-05 1999-12-24 Tokyo Electron Ltd プロービングカード
JP2001033486A (ja) * 1999-07-19 2001-02-09 Micronics Japan Co Ltd プローブユニット及びプローブカード
JP2003043069A (ja) * 2001-07-31 2003-02-13 Sharp Corp 端子接続構造、および、それを用いた電子デバイスの電気特性測定装置、ならびに、電子デバイスの電気特性測定装置の使用方法
JP2004117247A (ja) * 2002-09-27 2004-04-15 Advantest Corp 半導体試験装置のプローバインタフェース装置及び半導体試験装置のデバイスインターフェース装置
WO2007125974A1 (ja) * 2006-04-28 2007-11-08 Nhk Spring Co., Ltd. 導電性接触子ホルダ

Cited By (4)

* Cited by examiner, † Cited by third party
Publication number Priority date Publication date Assignee Title
JP2011226963A (ja) * 2010-04-21 2011-11-10 Shinko Electric Ind Co Ltd プローブカード及びその製造方法
US8922234B2 (en) 2010-04-21 2014-12-30 Shinko Electric Industries Co., Ltd. Probe card and method for manufacturing probe card
JP2012198194A (ja) * 2011-03-09 2012-10-18 Shinko Electric Ind Co Ltd プローブカード及びその製造方法
US9622344B2 (en) 2012-04-11 2017-04-11 Kabushiki Kaisha Nihon Micronics Multilayer wiring board with enclosed Ur-variant dual conductive layer

Also Published As

Publication number Publication date
TWI403724B (zh) 2013-08-01
US20110121846A1 (en) 2011-05-26
KR101186915B1 (ko) 2012-10-02
JP5374079B2 (ja) 2013-12-25
KR20110018903A (ko) 2011-02-24
WO2009154217A1 (ja) 2009-12-23
US8866506B2 (en) 2014-10-21
TW201011301A (en) 2010-03-16

Similar Documents

Publication Publication Date Title
JP5374079B2 (ja) 検査用接触構造体
JP4242199B2 (ja) Icソケット
KR101384714B1 (ko) 반도체 검사장치
KR100915643B1 (ko) 프로브 카드
JP2001159642A (ja) シリコン・フィンガ・コンタクタを有するコンタクトストラクチャおよびそれを用いた総合組立構造
JP5079806B2 (ja) 検査用構造体
JP5016892B2 (ja) 検査装置及び検査方法
KR101467383B1 (ko) 커패시터가 구비된 반도체 검사 장치
JP2010025765A (ja) 検査用接触構造体
JPH11248748A (ja) プローブカード
US9915682B2 (en) Non-permanent termination structure for microprobe measurements
JP6199010B2 (ja) プローブカード
JPH05218149A (ja) プローブ装置
JP2008226880A (ja) 回路基板およびこれを用いた電気的接続装置
JP5164543B2 (ja) プローブカードの製造方法
JPH08111438A (ja) 集積回路素子用プローバ
US7425837B2 (en) Spatial transformer for RF and low current interconnect
JP2015078955A (ja) 検査装置および検査方法
JP4418883B2 (ja) 集積回路チップの試験検査装置、集積回路チップの試験検査用コンタクト構造体及びメッシュコンタクト
JP2005180922A (ja) 検査装置用ケーブルの配線構造
CN115932335A (zh) 电连接装置
JPH09102521A (ja) プローブカード
JP2006308528A (ja) プローブカード
JP2008002804A (ja) プローブカード及びその製造方法
JP2002181871A (ja) プリント配線板の検査装置

Legal Events

Date Code Title Description
A621 Written request for application examination

Free format text: JAPANESE INTERMEDIATE CODE: A621

Effective date: 20110328

A131 Notification of reasons for refusal

Free format text: JAPANESE INTERMEDIATE CODE: A131

Effective date: 20120626

A521 Written amendment

Free format text: JAPANESE INTERMEDIATE CODE: A523

Effective date: 20120827

TRDD Decision of grant or rejection written
A01 Written decision to grant a patent or to grant a registration (utility model)

Free format text: JAPANESE INTERMEDIATE CODE: A01

Effective date: 20130910

A61 First payment of annual fees (during grant procedure)

Free format text: JAPANESE INTERMEDIATE CODE: A61

Effective date: 20130920

R150 Certificate of patent or registration of utility model

Free format text: JAPANESE INTERMEDIATE CODE: R150

LAPS Cancellation because of no payment of annual fees