JP2010002148A - 空調設備とict機器の連係制御方法 - Google Patents

空調設備とict機器の連係制御方法 Download PDF

Info

Publication number
JP2010002148A
JP2010002148A JP2008162673A JP2008162673A JP2010002148A JP 2010002148 A JP2010002148 A JP 2010002148A JP 2008162673 A JP2008162673 A JP 2008162673A JP 2008162673 A JP2008162673 A JP 2008162673A JP 2010002148 A JP2010002148 A JP 2010002148A
Authority
JP
Japan
Prior art keywords
air conditioner
ict
air
data processing
equipment
Prior art date
Legal status (The legal status is an assumption and is not a legal conclusion. Google has not performed a legal analysis and makes no representation as to the accuracy of the status listed.)
Granted
Application number
JP2008162673A
Other languages
English (en)
Other versions
JP4630356B2 (ja
Inventor
Shisei Waratani
至誠 藁谷
Tsuneo Uekusa
常雄 植草
Ryuichi Nishida
龍一 西田
Current Assignee (The listed assignees may be inaccurate. Google has not performed a legal analysis and makes no representation or warranty as to the accuracy of the list.)
NTT Facilities Inc
Original Assignee
NTT Facilities Inc
Priority date (The priority date is an assumption and is not a legal conclusion. Google has not performed a legal analysis and makes no representation as to the accuracy of the date listed.)
Filing date
Publication date
Application filed by NTT Facilities Inc filed Critical NTT Facilities Inc
Priority to JP2008162673A priority Critical patent/JP4630356B2/ja
Publication of JP2010002148A publication Critical patent/JP2010002148A/ja
Application granted granted Critical
Publication of JP4630356B2 publication Critical patent/JP4630356B2/ja
Active legal-status Critical Current
Anticipated expiration legal-status Critical

Links

Images

Landscapes

  • Air Conditioning Control Device (AREA)

Abstract

【課題】情報通信機械室において空調設備故障又は停電が発生した場合の、空調設備とICT機器の連係制御方法を提供する。
【解決手段】例えば、空調機5-1に故障が発生すると(S1203)、直ちに予め定められた回数、運転リトライが行われる(S1204)。この間、統合制御装置7への運転信号送信は途絶するが、直ちに分担負荷の変更は行われない。リトライにより、規定時間(例えば4分)以内に運転復旧したときは(S1205)、運転信号送信が再開される(S1206)。一方、空調機側からの運転信号途絶後、規定時間内に運転復旧信号を受信しない場合、統合制御装置7はゾーンZ1以外の処理サーバを対象として最適データ処理分担を演算し(S1104)、各処理サーバに対して再配分した分担負荷のデータ処理を指令する(S1105)。
【選択図】図3

Description

本発明は空調設備とICT機器の連係制御方法に係り、特に、情報通信機械室において空調設備故障又は停電が発生した場合の、空調設備とICT機器の連係制御方法に関する。
情報通信サービスを提供するICT機器の多くは、自らが多量に排熱するにもかかわらず、高温環境に対して脆弱である。したがって、ICT機器を収容する機械室には、ICT機器周辺温度を適切に保つために、空調機が設置されるのが一般的である(例えば特許文献1)。しかしながら、この空調機が故障等を原因として停止して冷気の供給が途絶するとICT機器周辺の温度が高くなり、ICT機器は熱暴走を生じて正常な動作が確保できなくなったり、あるいは最悪の場合にはオーバーヒートにより損壊したりしてしまう場合がある。
このような高温環境での熱暴走や、機器の損壊を未然に防ぐために、「ICT機器の周辺温度が所定の値より上昇したことを検知」した場合には、該当するICT機器のデータ処理を停止する制御(シャットダウン制御)が採用される場合がある。
一方、近年、データセンタにおけるICT機器・装置の省エネ対策として、「仮想化技術」が注目されている。これは、多数のICT機器に低い稼働率で負荷を分散処理させることが多いICT機器のデータ処理方法の現状を改善するものであり、一部のICT機器にデータ処理負荷を集約させる負荷制御を行うことによって、ICT機器群トータルとして消費電力削減や、ICT機器の設置台数低減を図ることができる。
特開平5−26500号公報
しかしながら、上記対応によりICT機器群トータルでの消費電力は削減されるものの、集約データ処理を行うラックについては消費電力がでは10−20kWに達することもあり、局所的に発熱密度が極端に高くなるケースが生じうる。このような状況下において、集約データ処理を行うICT機器周辺を冷却している空調機が運転停止した場合、当該ICT機器周辺の温度は短時間のうちに急激に上昇し、最悪の場合には上記のような熱暴走や機器の損壊を招くおそれもある。
このような不具合を防ぐ為の技術として、前記の通りICT機器の周辺温度を判定指標としたシャットダウン制御があるが、急激な温度上昇に対応するためには、シャットダウン判定の温度しきい値を低く設定せざるを得ない。このため、実際には問題のない温度においてシャットダウンするケースも考えられ、好ましくない。
また、シャットダウン制御が奏功したとしても、情報・通信サービスの停止という事態は免れ得ない。
本発明は、このような課題を解決するためのものであって、故障や停電などの原因により空調機が停止した場合においても、ICT機器のデータ処理継続を極力可能とする、空調設備とICT機器の連係制御方法を提供するものである。
本発明は以下の内容をその要旨とする。すなわち、本発明に係る空調設備とICT機器データ処理の連係制御方法は、
(1)情報通信機械室内において、一以上の空調機の運転情報に基づいて、それぞれの空調機の冷却対象ゾーンに属するICT機器のデータ処理負荷配分を制御する、空調設備とICT機器の連係制御方法であって、いずれかの空調機が運転停止しときに、所定の負荷移管条件に該当する場合には、当該空調機の冷却対象ゾーンに属する一以上のICT機器のデータ処理負荷の一部もしくは全てを、当該空調機以外の空調機の冷却対象ゾーンに属する一以上の他のICT機器に負荷移管する、ことを特徴とする。
本発明により、冷房能力が欠乏状態となっているゾーンでの発熱量を低減し、ICT機器周辺の急激温度上昇を回避できる。これにより、データ処理サービスを途絶させることなく、空調停止時におけるICT機器の熱暴走や損壊という最悪の事態を回避できる。
本発明において、「ICT機器」とは、サーバ、ストレージ、ルータ等の情報通信機器・装置をいう。
また、空調機の「運転停止」とは、故障や停電などの原因による停止をいい、サーモオフによる停止を除く。
また、「当該空調機以外の空調機の冷却対象ゾーン」は、故障した空調機が設置されている機械室内のゾーンであっても、他の機械室内のゾーンであっても良い。
(2)上記(1)において、「所定の負荷移管条件」が、運転停止した空調機が予め定めた標準復旧時間以内に運転復旧しない場合、であることを特徴とする。
空調機の停止原因には、大別すると、空調機自体の故障によるものと、空調機への給電が停止(停電)することによるもの、の2種類がある。
さらに空調機自体の故障の態様には、構成部品の致命的な損壊等によるものと、停止後に何らの処置をすることなく、改めて運転させた場合に支障なく運転復旧できるものと、がある。前者には、例えば圧縮機や送風機の故障、冷媒の漏洩があり、一方、後者には、例えば過渡的な過電流などで発生するインバータトリップがある。
前者のような故障を生じた場合には部品交換対応等が必要となり、復旧までに比較的長い時間を要することとなるが、後者を原因とした空調機停止の場合には、短時間での運転復旧が期待できる。実際には、空調故障の総数の半数弱は、一旦停止後の再運転指令(以下、リトライ)により解消するという統計もある。
本発明によれば、例えば平均的なリトライ所要時間を想定した標準復旧時間を設定し、この時間を超えても運転復旧しない場合のみ負荷移管を実行する制御を行うことにより、効率的なデータ処理制御が可能となる。
(3)上記(1)において、「所定の負荷移管条件」が、運転停止原因ごとに設定した復旧想定時間が、予め定めた標準復旧時間を超えているときであることを特徴とする。
上述のように、一概に空調機運転停止といっても、その後の復旧までに要する時間は一様ではない。他方、復旧までに要する時間は停止原因に基づいて推定することができる。従って、停止原因をもとに推定した復旧時間を用いてデータ処理負荷の転送要否を判定することにより、より迅速なデータ処理制御が可能となる。なお、空調機の停止原因は、例えば、自己診断機能等を有する空調機から送出される運転情報によって把握できる。
このような制御により、例えば、極めて短時間のうちに復旧することが予測される場合には、熱環境への影響は微少なため負荷移管制御は実施しないと判断する。また、運転停止が長時間にわたることが予想される場合には、熱環境への影響が大きくなるため負荷移管制御を実施することにより熱環境の悪化を鈍化させる、のような運用が考えられる。
さらに復旧の目処が立たない致命的な故障による停止の場合には、負荷移管制御を実施しないという運用も可能である。最終的なシャットダウン制御によりサービス停止するまでの間、可能な限り長くサービス維持を図る趣旨である。
(4)上記(1)乃至(3)において、空調機の運転停止後に室内温度が上限温度を超えた場合に限り、前記負荷移管制御を行うことを特徴とする。
冬期における外壁から熱量流出や、停止した空調機に隣接する空調機からの冷気供給、が充分な場合には、空調機が停止したとしても、ICT機器周辺の温度が上昇しない、あるいは許容範囲の温度上昇しか生じない場合がある。
本発明は、このような負荷移管の必要性が低い場合を制御対象から除くために、負荷移管制御の実施要否判断の基準に、温度のファクターを加えたものである。これにより、リスクを伴う負荷移管制御のより正確な実施要否判断が可能となる。
(5)上記(1)乃至(4)において、負荷移管先のICT機器の選定条件を追加し、「当該空調機以外の空調機であって、かつ、負荷移管したときに最大容量に達しない空調機の冷却対象ゾーンに属する一以上の他のICT機器」であることを特徴とする。
負荷移管制御によって、停止した空調機の冷却対象ゾーンの発熱量は低減されることになるが、その分負荷が移管されるICT機器が属する空調ゾーンの発熱量は、当然増加することになる。
本発明は、他のゾーンの空調機の冷却能力の余裕度から、負荷移管先として適切なICT機器を選定し、移管先のゾーンの温熱環境の健全性を担保するものである。
なお、いずれかの空調機の冷却能力に余裕があるか否かの判断は、負荷移管したときのICT機器発熱量を勘案して、空調機が最大容量に達するか否かで判定し、容量は、例えば圧縮機運転周波数により判定することができる。
(6)情報通信機械室内において、一以上の空調機の運転情報と、それぞれの空調機の冷却対象ゾーンに属するICT機器のデータ処理制御と、を連係させて制御する連係制御方法であって、
いずれかの空調機が最大容量に達しているときは、
当該空調機の冷却対象ゾーンに属する一以上のICT機器に対しては、既に処理している以上のデータ処理負荷を新たに配分しないことを特徴とする。
いずれかの空調機が既に最大容量状態となっている場合において、当該空調機の冷却対象ゾーンに属するICT機器のデータ処理負荷をさらに増大させると、それに伴って生じる当該ゾーンの発熱の増加に冷房能力が追従できないことが生じ得る。
本発明は、冷房能力の余裕度の観点でデータ処理負荷を負うICT機器を選定し、新たな負荷分配により、冷房能力の不足が生じることを回避するものである。
(7)上記(1)乃至(5)において、「負荷移管制御」に代えて、「ICT機器のデータ処理を停止させる」ことを特徴とする。
本発明は、停止した空調機の冷却対象以外のゾーンに属する空調機が、全て最大容量状態である場合などに効果がある。また、空調機の運転状態がシャットダウン可否の判定要素として含まれていることにより、室温のみで判定していた従前のシャットダウン制御より、信頼性を高めることができる。
(8)情報通信機械室内において、一以上の空調機の運転情報に基づいて、それぞれの空調機の冷却対象ゾーンに属するICT機器のデータ処理負荷配分を制御する、空調設備とICT機器の連係制御方法であって、停電により全ての空調機が運転停止したときは、引き続き無停電電源装置によりICT機器のデータ処理を継続させ、 停電後、所定時間内に空調機が運転復旧しない場合に限り、ICT機器のデータ処理を停止させることを特徴とする。
通常、情報通信機械室においては、ICT機器は無停電電源装置により、また、空調機は予備発電機により、バックアップ給電される構成となっている。このような電源構成の場合、停電が発生してもICT機器のデータ処理は継続される。また、空調機は一旦停止するが、その時間は予備発電機起動までのごく短い時間である。
本発明によれば、停電により全ての空調機が運転停止した場合であっても、データ処理サービス停止リスクを低減でき、データ処理サービスの信頼性向上に資する。
本発明によれば、情報通信機械室において一部の空調機に故障が発生した場合であっても、当該空調機の冷却対象ゾーンのサーバ群のデータ処理サービスを停止させることなく、高温時に生じうる障害を回避することができる。
また、負荷移管の実施要否判断基準に温度のファクターを加えた発明にあっては、ICT機器のデータ処理負荷分配を、温熱環境の観点で適正化することができる。
以下、本発明の各実施形態について、図1乃至7を参照してさらに詳細に説明する。重複説明を避けるため、各図において同一構成には同一符号を用いて示している。なお、本発明の範囲は特許請求の範囲記載のものであって、以下の実施形態に限定されないことはいうまでもない。
(第一の実施形態)
本実施形態は、空調障害が発生したゾーン内のICT機器・装置のデータ処理負荷を、正常な空調ゾーン内のICT機器・装置に転送するものである。
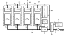
図1は、本発明の一実施形態に係る空調設備とICT機器の連係制御システム(以下、連係制御システム)1の全体構成を示す図である。図2は、ラック型空調機5-1の冷却対象ゾーンZ1の詳細構成を示す図である。図3は、本実施形態における連係制御フローを示す図である。図4は、正常時及び空調機故障時におけるデータ処理負荷配分の概念図である。
図1、2を参照して、連係制御システム1は、情報通信機械室2内のサーバラック(以下、ラック)4に格納される複数のICT機器・装置(以下、処理サーバと総称)4aと、処理サーバ群を冷却するためのアンビエント空調機3、及び各ラック列6に配設されるローカル空調機(ラック型空調機5-1乃至5-4)と、空調機運転と処理サーバ群のデータ処理とを連係させて統合的に制御する統合制御装置7と、を主要構成として備えている。
アンビエント空調機3は、いずれも不図示の蒸発器、送風機等を備えた室内ユニット3aと、圧縮機、凝縮器等を備えた室外ユニット3bと、を主要構成とし、室内ユニット3a内に吸い込んだ機械室内空気を、冷凍サイクル運転で発生させた冷熱と熱交換器させて冷却し、送風機により二重床空間2aを介して室内に供給する。
ラック列6は、横一列に並んだ同一モジュールの複数のサーバラック4により構成されている。ラック4内には複数のICT機器・装置(以下、処理サーバと総称)4aが積層されており、各処理サーバ4aはそれぞれ冷却ファン4bを備えている。これにより、ラック全体として前面から冷気を吸込み、機器内部を冷却したのち高温空気を背面から排気するように構成されている。
各ラック4は、隣接する列の吸気面と吸気面、排気面と排気面が対向するように配置されており、これにより、吸気面側にはコールドアイル9が、排気面側にはホットアイル10が形成されている。コールドアイル9床面の開口部2cには穴あきパネル2dが敷設されており、空調機3から供給される冷気をコールドアイル9に吹き出すように構成されている。
各ラック列6において、内部発熱の大きな処理サーバを格納するラック近傍には、ローカル空調機としてラック型空調機5-1乃至5-4が配置されている。各ラック型空調機はラック4と同一モジュール、かつ、吸排気方向が各ラック4とは逆向きに置かれている。すなわち、ホットアイル空間の高温排気を吸込み、コールドアイル側に冷却空気を吹き出すように配置されている。
ラック型空調機5-1は、蒸発器5e、送風機5b、制御部5dを主要構成として備えた室内機5aと、いずれも不図示の圧縮機、凝縮器を主要構成として備えた室外機(図示せず)と、これらを接続する冷媒配管5cを備えている。
コールドアイル9内には、ラック型空調機5-1乃至5-4がそれぞれ分担する冷却対象ゾーンZ1乃至Z4が設定されている。各ラック型空調機は、分担する制御対象空間の冷熱・風量収支バランスを維持するように冷気を供給する。ゾーンZ1を例にとると、床面から供給されるアンビエント空調機3の冷房出力Waは一定であり、一方、ラック型空調機5-1の冷房能力Wsは、ゾーン内サーバ群のCPU稼働率に対応して可変に設定されている。
次に、連係制御システム1のデータ処理制御部の構成について説明する。統合制御装置7は、ICT機器管理サーバ(以下、管理サーバという)7bと、空調機制御サーバ7cと、及びこれらの連係させるための連係制御サーバ7aと、により構成されている。また、統合制御装置7は、各処理サーバに対する処理負荷配分のためのCPU稼働率−消費電力テーブルを備えている。かかる構成により、統合制御装置7はホストコンピュータ(図示せず)から指令されるデータ処理負荷を、所定のタイムスパンごとに室内サーバ群の総消費電力を最小とするように各処理サーバに配分する。さらに所定の場合には、後述するように一部の処理負荷を転送する制御を行う。
連係制御システム1は以上のように構成されており、次に図3、4をも参照して、ラック型空調機故障時におけるデータ処理制御フローについて説明する。
統合制御装置7は、所定のタイムスパンごとに各処理サーバの現在CPU稼働率を把握する(S1101)。さらに次タイムスパンについて、全体の消費電力を最小とする最適負荷分担を演算し(S1102)、各処理サーバに対して分担負荷のデータ処理を指令する(S1103)。各処理サーバは、指令された分担負荷のデータ処理を実行する(S1301)。図4(a)は、ゾーンZ1に負荷を集中させた状態を示している。
一方、ラック型空調機5-1乃至5-4は、吸い込み空気温度(又は吹き出し空気温度)に基づき、ゾーン内の風量、温度制御により運転されている(S1201)。この間、運転信号を統合制御装置7に送信している(S1202)。
いずれかのラック型空調機(例えば、空調機5-1)に故障が発生すると(S1203)、直ちに予め定められた回数、運転リトライが行われる(S1204)。この間、統合制御装置7への運転信号送信は途絶するが、直ちに分担負荷の変更は行われない。リトライにより、規定時間(例えば4分)以内に運転復旧したときは(S1205)、運転信号送信が再開される(S1206)。
一方、空調機側からの運転信号途絶後、規定時間内に運転復旧信号を受信しない場合、統合制御装置7はゾーンZ1以外の処理サーバを対象として最適データ処理分担を演算し(S1104)、各処理サーバに対して再配分した分担負荷のデータ処理を指令する(S1105)。各処理サーバは、指令された分担負荷のデータ処理を実行する(S1302)。図4(b)はこの状態を示し、ゾーンZ1の処理負荷を分散するとともに、ゾーンZ2に負荷を集中させている。
以上の制御により、例え空調機に故障が発生した場合であっても、当該ゾーンのデータ処理を停止することなく、他のゾーンに振り分け、かつ、全体の消費電力を最小とする最適負荷分担に基づいてデータ処理を継続することができる。
なお、本実施形態では空調機故障時の場合の連係制御方法を示したが、いずれかの空調機の圧縮機運転周波数が最大能力に達した場合についても、同様の制御により他の空調機の冷却対象ゾーンにデータ処理を転送する形態とすることができる。
また、統合制御装置7が規定時間内に運転復旧信号を受信しない場合に、当該ゾーン以外の処理サーバに対し再分担する例を示したが、空調機側からの運転復旧不可信号送信し、これをトリガーとして再分担するする形態としてもよい。
また、本実施形態では、ベース(アンビエント)空調機とローカル(ラック型)空調機の両方で室内を空調する例を示したが、ベース空調機のみ、又はローカ空調機のみ空調する形態であってもよい。
さらに、本実施形態では空調機5-1に故障が発生した場合に、他のゾーンのICT機器群に処理負荷を振り分けて、全体の消費電力を最小とする制御形態を示したが、以下に示すように、空調機の冷却能力余裕度を考慮して移管先を決定する形態とすることもできる。
図9は、このような制御フロー例を示すものである。空調機5-1が故障発生した場合(S401)、ゾーンZ1内のICT機器を空調機5-2に処理移管したと仮定したときの、ゾーンZ2のICT機器群予測消費電力(発熱量)Wfを演算する(S402)。ついで、Wfと空調機5-2の冷房容量(Rm)とを比較する(S403)。予測発熱量(Rf)が冷房容量(Rm)以下の場合には(S404においてYES)、空調機5-2の冷却対象ゾーンZ2に属するICT機器群に処理移管する(S405)。
RfがRmをオーバーしている場合には、空調機5-3、5-4について上記フロー(S403−S404)を実行し(S406)、ゾーンZ3、Z4のいずれかのICT機器群に処理移管可能な場合は(S407においてYES)、ゾーンZ3又はZ4に属するICT機器群に処理移管する(S408)。いずれのゾーンでも対応不可の場合は(S407においてNO)、他の機械室内のICT機器群に処理移管する(S409)。
(第二の実施形態)
次に、図5乃至7を参照して本発明の第二の実施形態について説明する。本実施形態は、停電発生の場合のデータ処理継続又は停止の判定制御に関するものである。
図5は、本実施形態に係る連係制御システム20の電力供給系統を示す図である。図6は、停電時における電力供給系統を示す図である。図7は、本実施形態における連係制御フローを示す図である。
本実施形態に係る連係制御システム20の構成が、上述の連係制御システム1と異なる点は、非常用電源としてエンジン発電機21、電力供給系統を商用電源から非常用電源に、適宜切り替え可能とする系統連係装置22、及びバッテリー、整流器、インバータ(いずれも不図示)を主要構成とする無停電電源装置(UPS)23を備えていることである。以上の構成により、通常時は全ての機器、装置が商用電源から電力供給を受ける(図5太線)。また、停電時等、商用電源遮断時においては、図6太線に示すようにアンビエント空調機3及びラック型空調機5-1乃至5-4は、電力ラインE2、E3を介してエンジン発電機21側から電力供給を受ける。一方、統合制御装置7及び処理サーバ群4-1乃至4-4については、電力ラインE4を介してUPS23から電力供給を受ける。
その他の構成は上述の実施形態と同一であるので、重複説明を省略する。
次に図7を参照して、停電時における連係制御フローについて説明する。統合制御装置7は、上述の実施形態と同様に各処理サーバに対して分担負荷のデータ処理を指令し(S2101)、各処理サーバは指令された分担負荷のデータ処理を実行する(S2301)。各ラック型空調機についても、上述の実施形態と同様の制御方式により運転され(S2201)、運転信号を統合制御装置7に送信する(S2202)。
制御中に停電発生により商用電源が遮断すると(S2102)、統合制御装置7及び処理サーバ群4-1乃至4-4については、直ちにUPS系統に切り替えられ(S2103)、各処理サーバのデータ処理は従前どおり継続される(S2302)。
一方、空調機側については、商用電源遮断に伴い運転停止する(S2202)。同時に、非常用エンジン発電機21の始動シーケンスが開始される(S2203)。その後、エンジンによる発電が開始されて(S2204)、所定時間内(例えば4分間)に各空調機が運転復旧したときは(S2205)、運転信号が再度送信される(S2206)。
これに対して、発電不調により空調機が運転復旧しないときは(S2206)、運転信号が送信されない。統合制御装置7側が所定時間以内に運転信号を受信しないときは(S2104)、空調機停止のままデータ処理を継続することによる処理サーバ群の過熱を回避するため、統合制御装置7は各処理サーバに対してデータ処理停止を指令する(S2105)。これを受けて、各処理サーバはデータ処理を停止する(S2303)。
以上の制御により、停電時におけるデータ処理渋滞回避と、ICT機器・装置の高温障害回避を両立させることができる。
(第三の実施形態)
さらに、本発明の他の実施形態について説明する。本実施形態は、空調機の有する自己診断機能に基づいて停止原因を判定し、復旧想定時間に基づいてデータ処理負荷の転送要否を判定するものである。
本実施形態に係る連係制御システムの構成が第一の実施形態と異なる点は、機器制御部5dが故障原因を自ら判定する自己診断機能を備えていることである。さらに、統合制御装置7の空調機制御サーバ7cが、空調機の故障原因ごとの復旧想定時間情報を格納した復旧想定時間テーブル(図示せず)を備えていることである。その他の構成は第一の実施形態と同一であるので、重複説明を省略する。
図8は、本実施形態における連係制御フローを示す図である。同図を参照して、統合制御装置7についてS3101からS3103迄、各処理サーバについてS3301、ゾーン空調機についてはS3201からS3202迄は、第一の実施形態における対応ステップと同一である。
次に、いずれかのラック型空調機(例えば、空調機5-1)に故障が発生すると(S3203)、当該空調機の機器制御部5d内の自己診断機能に基づいて、運転停止(故障)原因情報を統合制御装置7に送信する(S3204)。当該情報を受けた統合制御装置7は、復旧想定時間テーブルに基づいて該当する故障原因の想定復旧時間(ta)を特定する(S3104)。さらに、ta>ts、ずなわち、標準復旧時間(ts)(例えば4分間)以内に運転復旧できないと想定されるときは(S3105)、統合制御装置7はゾーンZ1以外の処理サーバを対象として最適データ処理分担を演算し(S3106)、各処理サーバに対して再配分した分担負荷のデータ処理を指令する(S3107)。各処理サーバは、指令された分担負荷のデータ処理を実行する(S3302)。
一方、ta≦tm、すなわち、標準復旧時間内に運転復旧可と想定されるときは(S3108)、以下、同図点線のフローに従い進行する。すなわち、統合制御装置7側では負荷移行制御は行われない。一方、各処理サーバについてはデータ処理が継続されるが(S3303)、その間空調機5-1が運転復旧することなく(S3206)、さらにゾーンZ1が上限温度を超えた場合には(S3304においてYES)、シャットダウン制御に伴いデータ処理が停止されることになる(S3305)。
第一の実施形態に係る連係制御システム1の全体構成を示す図である。 ラック型空調機5-1の冷却対象ゾーンZ1の詳細構成を示す図である。 第一の実施形態の連係制御フローを示す図である。 正常時及び空調機故障時におけるデータ処理負荷配分の概念図である。 第二の実施形態における連係制御システム20の電力供給系統を示す図である。 連係制御システム20の停電時における電力供給系統を示す図である。 停電時におけるデータ処理・空調連係制御フローを示す図である。 第三の実施形態の連係制御フローを示す図である。 第一の実施形態において、の連係制御フローを示す図である。
符号の説明
1、20・・・・連係制御システム
2・・・・情報通信機械室
2a・・・二重床空間
3・・・・アンビエント空調機
4・・・・サーバラック
4a・・・サーバ
5−1〜5−4・・・・ラック型空調機
6・・・・ラック列
7・・・・統合制御装置
9・・・・コールドアイル
10・・・ホットアイル
21・・・ 非常用エンジン発電機
22・・・ 系統連係装置
E1〜E4・・・電力ライン
Z1〜Z4・・・冷却対象ゾーン

Claims (8)

  1. 情報通信機械室内において、一以上の空調機の運転情報に基づいて、それぞれの空調機の冷却対象ゾーンに属するICT機器のデータ処理負荷配分を制御する、空調設備とICT機器の連係制御方法であって、
    いずれかの空調機が運転停止したときに、所定の負荷移管条件に該当する場合には、
    当該空調機の冷却対象ゾーンに属する一以上のICT機器のデータ処理負荷の一部もしくは全てを、当該空調機以外の空調機の冷却対象ゾーンに属する一以上の他のICT機器に負荷移管する、
    ことを特徴とする空調設備とICT機器の連係制御方法。
  2. 前記所定の負荷移管条件が、運転停止した空調機が予め定めた標準復旧時間以内に復旧しない場合、であることを特徴とする請求項1に記載の空調設備とICT機器データ処理の連係制御方法。
  3. 前記所定の負荷移管条件が、運転停止原因ごとに設定した復旧想定時間が、予め定めた標準復旧時間を超えているときである、ことを特徴とする請求項1に記載の空調設備とICT機器データ処理の連係制御方法。
  4. 請求項1乃至3において、さらに、空調機の運転停止後に室内温度が上限温度を超えた場合に限り、前記負荷移管を行うことを特徴とする空調設備とICT機器の連係制御方法。
  5. 請求項1乃至4において、
    「当該空調機以外の空調機」に替えて、
    「当該空調機以外の空調機であって、かつ、負荷移管したときに最大容量に達しない空調機」であることを特徴とする空調設備とICT機器の連係制御方法。
  6. 情報通信機械室内において、一以上の空調機の運転情報に基づいて、それぞれの空調機の冷却対象ゾーンに属するICT機器のデータ処理負荷配分を制御する、空調設備とICT機器の連係制御方法であって、
    いずれかの空調機が最大容量に達しているときは、
    当該空調機の冷却対象ゾーンに属する一以上のICT機器に対しては、現に処理している以上のデータ処理負荷を新たに配分しない、ことを特徴とする空調設備とICT機器の連係制御方法。
  7. 請求項1乃至5において、
    「当該空調機の冷却対象ゾーンに属する一以上のICT機器のデータ処理負荷の一部もしくは全てを、当該空調機以外の空調機の冷却対象ゾーンに属する一以上の他のICT機器に移管する」ことに代えて、
    「当該空調機の冷却対象ゾーンに属する一以上のICT機器のデータ処理を停止させる」、
    ことを特徴とする空調設備とICT機器データ処理の連係制御方法。
  8. 情報通信機械室内において、一以上の空調機の運転情報に基づいて、それぞれの空調機の冷却対象ゾーンに属するICT機器のデータ処理負荷配分を制御する、空調設備とICT機器の連係制御方法であって、
    停電により全ての空調機が運転停止したときは、引き続き無停電電源装置によりICT機器のデータ処理を継続させ、
    停電後、所定時間内に空調機が運転復旧しない場合に限り、ICT機器のデータ処理を停止させることを特徴とする空調設備とICT機器の連係制御方法。
JP2008162673A 2008-06-23 2008-06-23 空調設備とict機器の連係制御方法 Active JP4630356B2 (ja)

Priority Applications (1)

Application Number Priority Date Filing Date Title
JP2008162673A JP4630356B2 (ja) 2008-06-23 2008-06-23 空調設備とict機器の連係制御方法

Applications Claiming Priority (1)

Application Number Priority Date Filing Date Title
JP2008162673A JP4630356B2 (ja) 2008-06-23 2008-06-23 空調設備とict機器の連係制御方法

Publications (2)

Publication Number Publication Date
JP2010002148A true JP2010002148A (ja) 2010-01-07
JP4630356B2 JP4630356B2 (ja) 2011-02-09

Family

ID=41584012

Family Applications (1)

Application Number Title Priority Date Filing Date
JP2008162673A Active JP4630356B2 (ja) 2008-06-23 2008-06-23 空調設備とict機器の連係制御方法

Country Status (1)

Country Link
JP (1) JP4630356B2 (ja)

Cited By (15)

* Cited by examiner, † Cited by third party
Publication number Priority date Publication date Assignee Title
JP2010133626A (ja) * 2008-12-04 2010-06-17 Ntt Facilities Inc 空調設備とict機器の連係制御方法
WO2011142344A1 (ja) * 2010-05-14 2011-11-17 株式会社 東芝 空調装置及び空調システム
JP2012104576A (ja) * 2010-11-09 2012-05-31 Ntt Facilities Inc 空調機とデータ処理分配の連係制御方法
WO2012124712A1 (ja) * 2011-03-14 2012-09-20 富士電機株式会社 外気利用空調システム
WO2012124723A1 (ja) * 2011-03-14 2012-09-20 富士電機株式会社 外気利用空調システム、その空調装置
JP2012193877A (ja) * 2011-03-15 2012-10-11 Ntt Facilities Inc 空調機とデータ処理負荷分配の連係制御方法
JP2013096657A (ja) * 2011-11-02 2013-05-20 Ntt Facilities Inc 空調システムにおけるグループ補完制御方法
JP2015001366A (ja) * 2013-06-18 2015-01-05 株式会社Nttファシリティーズ 装置冷却システム
JP2015161489A (ja) * 2014-02-28 2015-09-07 富士通株式会社 データセンタ、制御装置の制御プログラムおよびデータセンタの制御方法
WO2016088613A1 (ja) * 2014-12-02 2016-06-09 株式会社日立製作所 空調制御装置及び空調制御方法
JP2017010439A (ja) * 2015-06-25 2017-01-12 株式会社Nttファシリティーズ 統合型設備管理システム
JP2017142055A (ja) * 2017-04-12 2017-08-17 株式会社Nttファシリティーズ 装置冷却システム
JP2018116098A (ja) * 2017-01-16 2018-07-26 コニカミノルタ株式会社 印刷システム、同システムにおける印刷装置の管理方法、管理装置及び管理プログラム
JP2022061210A (ja) * 2020-10-06 2022-04-18 株式会社Nttファシリティーズ 情報処理システム
JP7551048B2 (ja) 2021-12-28 2024-09-17 Solution Creators株式会社 サーバの冷却方法および再生可能エネルギー熱活用型データセンター

Citations (10)

* Cited by examiner, † Cited by third party
Publication number Priority date Publication date Assignee Title
JPS63286644A (ja) * 1987-05-19 1988-11-24 Mitsubishi Electric Corp 空気調和機の異常動作制御装置
JPH03257513A (ja) * 1990-03-07 1991-11-18 Nec Corp 強制保守方式
JPH04299720A (ja) * 1991-03-28 1992-10-22 Mitsubishi Electric Corp 稼動環境保全機能付き電子計算機
JP2003035441A (ja) * 2001-05-15 2003-02-07 Takasago Thermal Eng Co Ltd 通信機器等を搭載したラックの顕熱負荷処理方法及び通信機器等を搭載するためのラック
JP2003233883A (ja) * 2002-02-12 2003-08-22 Fujitsu Ltd ラックシステム
JP2006064254A (ja) * 2004-08-25 2006-03-09 Ntt Power & Building Facilities Inc 空調機監視システム、および空調機監視方法
JP2006285317A (ja) * 2005-03-31 2006-10-19 Tokyo Electric Power Co Inc:The 負荷判定システム、負荷分散システムおよび異常検出システム
JP2007505285A (ja) * 2003-05-29 2007-03-08 ヒューレット−パッカード デベロップメント カンパニー エル.ピー. 空気再循環指標
JP2007179437A (ja) * 2005-12-28 2007-07-12 Fujitsu Ltd 管理システム、管理プログラムおよび管理方法
JP2008128599A (ja) * 2006-11-22 2008-06-05 Ntt Facilities Inc 空調システムの診断方法

Patent Citations (10)

* Cited by examiner, † Cited by third party
Publication number Priority date Publication date Assignee Title
JPS63286644A (ja) * 1987-05-19 1988-11-24 Mitsubishi Electric Corp 空気調和機の異常動作制御装置
JPH03257513A (ja) * 1990-03-07 1991-11-18 Nec Corp 強制保守方式
JPH04299720A (ja) * 1991-03-28 1992-10-22 Mitsubishi Electric Corp 稼動環境保全機能付き電子計算機
JP2003035441A (ja) * 2001-05-15 2003-02-07 Takasago Thermal Eng Co Ltd 通信機器等を搭載したラックの顕熱負荷処理方法及び通信機器等を搭載するためのラック
JP2003233883A (ja) * 2002-02-12 2003-08-22 Fujitsu Ltd ラックシステム
JP2007505285A (ja) * 2003-05-29 2007-03-08 ヒューレット−パッカード デベロップメント カンパニー エル.ピー. 空気再循環指標
JP2006064254A (ja) * 2004-08-25 2006-03-09 Ntt Power & Building Facilities Inc 空調機監視システム、および空調機監視方法
JP2006285317A (ja) * 2005-03-31 2006-10-19 Tokyo Electric Power Co Inc:The 負荷判定システム、負荷分散システムおよび異常検出システム
JP2007179437A (ja) * 2005-12-28 2007-07-12 Fujitsu Ltd 管理システム、管理プログラムおよび管理方法
JP2008128599A (ja) * 2006-11-22 2008-06-05 Ntt Facilities Inc 空調システムの診断方法

Cited By (25)

* Cited by examiner, † Cited by third party
Publication number Priority date Publication date Assignee Title
JP2010133626A (ja) * 2008-12-04 2010-06-17 Ntt Facilities Inc 空調設備とict機器の連係制御方法
WO2011142344A1 (ja) * 2010-05-14 2011-11-17 株式会社 東芝 空調装置及び空調システム
JP2011242009A (ja) * 2010-05-14 2011-12-01 Toshiba Corp 空調装置及び空調システム
CN102439372A (zh) * 2010-05-14 2012-05-02 株式会社东芝 空调装置及空调系统
US9033776B2 (en) 2010-05-14 2015-05-19 Kabushiki Kaisha Toshiba Air conditioning apparatus and air conditioning system
JP2012104576A (ja) * 2010-11-09 2012-05-31 Ntt Facilities Inc 空調機とデータ処理分配の連係制御方法
WO2012124723A1 (ja) * 2011-03-14 2012-09-20 富士電機株式会社 外気利用空調システム、その空調装置
CN103261805A (zh) * 2011-03-14 2013-08-21 富士电机株式会社 利用室外空气的空调系统
JPWO2012124723A1 (ja) * 2011-03-14 2014-07-24 富士電機株式会社 外気利用空調システム、その空調装置
JP5641130B2 (ja) * 2011-03-14 2014-12-17 富士電機株式会社 外気利用空調システム
CN103261805B (zh) * 2011-03-14 2016-01-20 富士电机株式会社 利用室外空气的空调系统
WO2012124712A1 (ja) * 2011-03-14 2012-09-20 富士電機株式会社 外気利用空調システム
US9605855B2 (en) 2011-03-14 2017-03-28 Fuji Electric Co., Ltd. Air conditioning system using outside air
JP2012193877A (ja) * 2011-03-15 2012-10-11 Ntt Facilities Inc 空調機とデータ処理負荷分配の連係制御方法
JP2013096657A (ja) * 2011-11-02 2013-05-20 Ntt Facilities Inc 空調システムにおけるグループ補完制御方法
JP2015001366A (ja) * 2013-06-18 2015-01-05 株式会社Nttファシリティーズ 装置冷却システム
JP2015161489A (ja) * 2014-02-28 2015-09-07 富士通株式会社 データセンタ、制御装置の制御プログラムおよびデータセンタの制御方法
WO2016088613A1 (ja) * 2014-12-02 2016-06-09 株式会社日立製作所 空調制御装置及び空調制御方法
JP2016109311A (ja) * 2014-12-02 2016-06-20 株式会社日立製作所 空調制御装置及び空調制御方法
JP2017010439A (ja) * 2015-06-25 2017-01-12 株式会社Nttファシリティーズ 統合型設備管理システム
JP2018116098A (ja) * 2017-01-16 2018-07-26 コニカミノルタ株式会社 印刷システム、同システムにおける印刷装置の管理方法、管理装置及び管理プログラム
JP2017142055A (ja) * 2017-04-12 2017-08-17 株式会社Nttファシリティーズ 装置冷却システム
JP2022061210A (ja) * 2020-10-06 2022-04-18 株式会社Nttファシリティーズ 情報処理システム
JP7544554B2 (ja) 2020-10-06 2024-09-03 株式会社Nttファシリティーズ 情報処理システム
JP7551048B2 (ja) 2021-12-28 2024-09-17 Solution Creators株式会社 サーバの冷却方法および再生可能エネルギー熱活用型データセンター

Also Published As

Publication number Publication date
JP4630356B2 (ja) 2011-02-09

Similar Documents

Publication Publication Date Title
JP4630356B2 (ja) 空調設備とict機器の連係制御方法
US9313931B2 (en) Multi-level redundant cooling method for continuous cooling of an electronic system(s)
JP5341383B2 (ja) ラック空調システム
CN101936591B (zh) 空调设施和控制方法
JP5268072B2 (ja) 空調制御システム及びその運転方法
JP4503083B2 (ja) 空調機及びその運転方法
JP2010085011A (ja) 空調制御システム及び空調制御方法
CN103154850B (zh) 用于数据中心的资源管理的方法和系统
JP4931965B2 (ja) 情報通信機械室における空調機制御方法
CN114183882B (zh) 制冷机组控制方法、装置、电子设备及存储介质
WO2011114573A1 (ja) 局所空調システム、その制御装置
JP4180589B2 (ja) 空気調和システム及びその非常用電源給電時における運転方法
JP4920027B2 (ja) 空調設備とict機器の連係制御方法
JP6598986B2 (ja) 空調システム、空調制御方法およびプログラム
JP2017062109A (ja) 台数制御装置および台数制御方法
JP4688112B2 (ja) Ict機器とファシリティの連係制御システム及び連係制御方法
JP6373706B2 (ja) 空調システム
JP4905992B2 (ja) ラック型空調機及びその運転方法
JP2017010439A (ja) 統合型設備管理システム
US20260025959A1 (en) Energy efficient cooling methods for data centers and server racks
CN109556225B (zh) 一种冷却系统的制冷量的控制方法及冷却系统
CN115451524B (zh) 故障处理方法、装置、电子设备和计算机可读存储介质
CN114076341A (zh) 数据中心热回收系统
JP2014190549A (ja) 空調機台数制御方法
JP2921667B2 (ja) 氷蓄熱制御装置

Legal Events

Date Code Title Description
A977 Report on retrieval

Free format text: JAPANESE INTERMEDIATE CODE: A971007

Effective date: 20100408

A131 Notification of reasons for refusal

Free format text: JAPANESE INTERMEDIATE CODE: A131

Effective date: 20100420

A521 Request for written amendment filed

Free format text: JAPANESE INTERMEDIATE CODE: A523

Effective date: 20100614

A131 Notification of reasons for refusal

Free format text: JAPANESE INTERMEDIATE CODE: A131

Effective date: 20100803

A521 Request for written amendment filed

Free format text: JAPANESE INTERMEDIATE CODE: A523

Effective date: 20100922

TRDD Decision of grant or rejection written
A01 Written decision to grant a patent or to grant a registration (utility model)

Free format text: JAPANESE INTERMEDIATE CODE: A01

Effective date: 20101109

A01 Written decision to grant a patent or to grant a registration (utility model)

Free format text: JAPANESE INTERMEDIATE CODE: A01

A61 First payment of annual fees (during grant procedure)

Free format text: JAPANESE INTERMEDIATE CODE: A61

Effective date: 20101112

FPAY Renewal fee payment (event date is renewal date of database)

Free format text: PAYMENT UNTIL: 20131119

Year of fee payment: 3

R150 Certificate of patent or registration of utility model

Ref document number: 4630356

Country of ref document: JP

Free format text: JAPANESE INTERMEDIATE CODE: R150

Free format text: JAPANESE INTERMEDIATE CODE: R150

R250 Receipt of annual fees

Free format text: JAPANESE INTERMEDIATE CODE: R250

R250 Receipt of annual fees

Free format text: JAPANESE INTERMEDIATE CODE: R250

R250 Receipt of annual fees

Free format text: JAPANESE INTERMEDIATE CODE: R250

R250 Receipt of annual fees

Free format text: JAPANESE INTERMEDIATE CODE: R250

R250 Receipt of annual fees

Free format text: JAPANESE INTERMEDIATE CODE: R250

R250 Receipt of annual fees

Free format text: JAPANESE INTERMEDIATE CODE: R250

R250 Receipt of annual fees

Free format text: JAPANESE INTERMEDIATE CODE: R250

R250 Receipt of annual fees

Free format text: JAPANESE INTERMEDIATE CODE: R250

R250 Receipt of annual fees

Free format text: JAPANESE INTERMEDIATE CODE: R250

R250 Receipt of annual fees

Free format text: JAPANESE INTERMEDIATE CODE: R250

R250 Receipt of annual fees

Free format text: JAPANESE INTERMEDIATE CODE: R250

R250 Receipt of annual fees

Free format text: JAPANESE INTERMEDIATE CODE: R250

R250 Receipt of annual fees

Free format text: JAPANESE INTERMEDIATE CODE: R250