JP2008166301A - 電子部品及びその実装構造 - Google Patents
電子部品及びその実装構造 Download PDFInfo
- Publication number
- JP2008166301A JP2008166301A JP2006350490A JP2006350490A JP2008166301A JP 2008166301 A JP2008166301 A JP 2008166301A JP 2006350490 A JP2006350490 A JP 2006350490A JP 2006350490 A JP2006350490 A JP 2006350490A JP 2008166301 A JP2008166301 A JP 2008166301A
- Authority
- JP
- Japan
- Prior art keywords
- electronic component
- layers
- conductive resin
- conductor layer
- ceramic capacitor
- Prior art date
- Legal status (The legal status is an assumption and is not a legal conclusion. Google has not performed a legal analysis and makes no representation as to the accuracy of the status listed.)
- Granted
Links
Images
Landscapes
- Ceramic Capacitors (AREA)
- Fixed Capacitors And Capacitor Manufacturing Machines (AREA)
Abstract
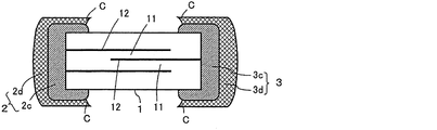
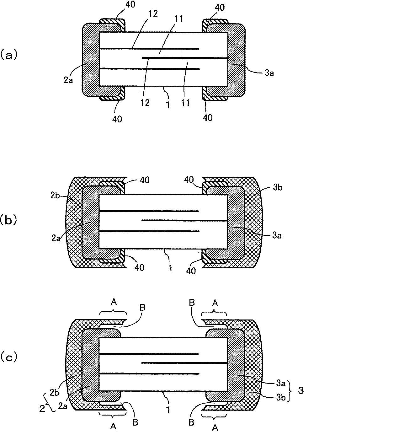
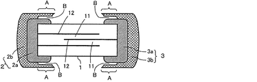
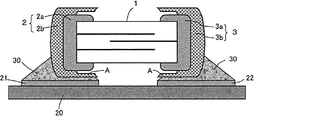
【解決手段】 電子部品素体(積層セラミックコンデンサチップ1)の端部に端子電極2,3を備えた電子部品である。端子電極2,3を構成する導体層の一部が他の部材から離間して形成されている。例えば、端子電極2,3の上層側の導体層として導電性樹脂層2b,3bを有し、導電性樹脂層2b,3bの端部が逆傾斜面とされている。あるいは、導電性樹脂層2b,3bの端部において、導電性樹脂層2b,3bとその下に形成された導体層(下地電極層2a,3a)の間に空間Bが形成されている。
【選択図】 図3
Description
卑金属であるNi内部電極を有するチップコンデンサ(容量10μF±20%)の端子電極形成部分にAgPd合金(Pd30質量%含有)を導電金属材料とする導電ぺーストを塗布し、大気中350℃で脱バインダを行った。さらに、320℃で水素還元処理を行い、窒素中、950℃で焼き付けを行って端子電極を形成した。
前記AgPd合金の焼結層上に導電性樹脂塗料を用いて図3に示すような形状の導電性樹脂層を形成した。導電性樹脂層の形成に際しては、樹脂材料としてエポキシ樹脂、フェノール樹脂、エポキシ・フェノール樹脂、及びウレタン樹脂を用い、4種類のチップコンデンサ(実施例1〜実施例4)を作製した。
卑金属であるNi内部電極を有するチップコンデンサ(容量10μF±20%)の端子電極形成部分にCuとガラスを含む第1導電ペーストを塗布し、さらにその上にCuのみからなる第2導体ペーストを塗布した。次いで、大気中350℃で脱バインダを行い、さらに、320℃で水素還元処理を行い、窒素中、950℃で焼き付けを行ってガラスを含有する導体層とガラスを含有しない導体層を形成した。作製したチップコンデンサの形態は、図6に示すようなものであり、ガラスを含有しない導体層の端部がチップコンデンサやガラスを含有する導体層から離間して形成されていた。これを実施例5とする。
Claims (7)
- 電子部品素体の端部に端子電極を備えた電子部品であって、前記端子電極を構成する導体層の一部が他の部材から離間して形成されていることを特徴とする電子部品。
- 前記端子電極が複数の導体層から構成され、少なくとも最外層の導体層を含む上層側の導体層の一部が他の部材から離間して形成されていることを特徴とする請求項1記載の電子部品。
- 前記上層側の導体層の一部が下層の導体層から離間して形成されていることを特徴とする請求項2記載の電子部品。
- 前記上層側の導体層として導電性樹脂により形成された導体層を有することを特徴とする請求項2または3記載の電子部品。
- 前記導電性樹脂により形成された導体層の端部が逆傾斜面とされていることを特徴とする請求項4記載の電子部品。
- 前記導電性樹脂により形成された導体層の端部において、当該導体層とその下に形成された導体層の間に空間が形成されていることを特徴とする請求項4記載の電子部品。
- 請求項1から6のいずれか1項記載の電子部品が端子電極をはんだ付けすることにより実装基板に実装されていることを特徴とする電子部品の実装構造。
Priority Applications (1)
| Application Number | Priority Date | Filing Date | Title |
|---|---|---|---|
| JP2006350490A JP4803451B2 (ja) | 2006-12-26 | 2006-12-26 | 電子部品及びその実装構造 |
Applications Claiming Priority (1)
| Application Number | Priority Date | Filing Date | Title |
|---|---|---|---|
| JP2006350490A JP4803451B2 (ja) | 2006-12-26 | 2006-12-26 | 電子部品及びその実装構造 |
Publications (2)
| Publication Number | Publication Date |
|---|---|
| JP2008166301A true JP2008166301A (ja) | 2008-07-17 |
| JP4803451B2 JP4803451B2 (ja) | 2011-10-26 |
Family
ID=39695439
Family Applications (1)
| Application Number | Title | Priority Date | Filing Date |
|---|---|---|---|
| JP2006350490A Active JP4803451B2 (ja) | 2006-12-26 | 2006-12-26 | 電子部品及びその実装構造 |
Country Status (1)
| Country | Link |
|---|---|
| JP (1) | JP4803451B2 (ja) |
Cited By (7)
| Publication number | Priority date | Publication date | Assignee | Title |
|---|---|---|---|---|
| JP2010109238A (ja) * | 2008-10-31 | 2010-05-13 | Murata Mfg Co Ltd | セラミック電子部品 |
| JPWO2014038066A1 (ja) * | 2012-09-07 | 2016-08-08 | 三菱電機株式会社 | パワー半導体装置 |
| EP2991108A4 (en) * | 2013-04-22 | 2017-04-12 | Mitsubishi Electric Corporation | Semiconductor device and method of manufacture thereof |
| CN112188730A (zh) * | 2019-07-05 | 2021-01-05 | 英飞凌科技股份有限公司 | 缓冲器电路以及具有缓冲器电路的功率半导体模块 |
| CN113632187A (zh) * | 2019-03-28 | 2021-11-09 | 株式会社村田制作所 | 芯片型陶瓷电子部件及其制造方法 |
| WO2025069398A1 (ja) * | 2023-09-29 | 2025-04-03 | 株式会社村田製作所 | 積層セラミックコンデンサ |
| WO2025225164A1 (ja) * | 2024-04-25 | 2025-10-30 | 株式会社村田製作所 | 電子部品 |
Citations (7)
| Publication number | Priority date | Publication date | Assignee | Title |
|---|---|---|---|---|
| JPS5571018A (en) * | 1978-11-16 | 1980-05-28 | Avx Corp | Method of manufacturing unit ceramic capacitor and capacitor unit |
| JPH04352407A (ja) * | 1991-05-30 | 1992-12-07 | Toshiba Corp | 積層セラミックコンデンサ |
| JPH05283280A (ja) * | 1992-02-25 | 1993-10-29 | Nec Kansai Ltd | チップ型積層セラミックコンデンサ |
| JPH08162357A (ja) * | 1994-11-30 | 1996-06-21 | Murata Mfg Co Ltd | セラミック電子部品 |
| JP2006310618A (ja) * | 2005-04-28 | 2006-11-09 | Murata Mfg Co Ltd | セラミック電子部品及びその製造方法 |
| JP2007234820A (ja) * | 2006-02-28 | 2007-09-13 | Tdk Corp | セラミック電子部品 |
| JP2008028064A (ja) * | 2006-07-20 | 2008-02-07 | Murata Mfg Co Ltd | 電子部品及びその製造方法 |
-
2006
- 2006-12-26 JP JP2006350490A patent/JP4803451B2/ja active Active
Patent Citations (7)
| Publication number | Priority date | Publication date | Assignee | Title |
|---|---|---|---|---|
| JPS5571018A (en) * | 1978-11-16 | 1980-05-28 | Avx Corp | Method of manufacturing unit ceramic capacitor and capacitor unit |
| JPH04352407A (ja) * | 1991-05-30 | 1992-12-07 | Toshiba Corp | 積層セラミックコンデンサ |
| JPH05283280A (ja) * | 1992-02-25 | 1993-10-29 | Nec Kansai Ltd | チップ型積層セラミックコンデンサ |
| JPH08162357A (ja) * | 1994-11-30 | 1996-06-21 | Murata Mfg Co Ltd | セラミック電子部品 |
| JP2006310618A (ja) * | 2005-04-28 | 2006-11-09 | Murata Mfg Co Ltd | セラミック電子部品及びその製造方法 |
| JP2007234820A (ja) * | 2006-02-28 | 2007-09-13 | Tdk Corp | セラミック電子部品 |
| JP2008028064A (ja) * | 2006-07-20 | 2008-02-07 | Murata Mfg Co Ltd | 電子部品及びその製造方法 |
Cited By (12)
| Publication number | Priority date | Publication date | Assignee | Title |
|---|---|---|---|---|
| JP2010109238A (ja) * | 2008-10-31 | 2010-05-13 | Murata Mfg Co Ltd | セラミック電子部品 |
| JPWO2014038066A1 (ja) * | 2012-09-07 | 2016-08-08 | 三菱電機株式会社 | パワー半導体装置 |
| EP2894952A4 (en) * | 2012-09-07 | 2017-01-25 | Mitsubishi Electric Corporation | Power semiconductor device |
| US9620444B2 (en) | 2012-09-07 | 2017-04-11 | Mitsubishi Electric Corporation | Power semiconductor device |
| EP2991108A4 (en) * | 2013-04-22 | 2017-04-12 | Mitsubishi Electric Corporation | Semiconductor device and method of manufacture thereof |
| CN113632187A (zh) * | 2019-03-28 | 2021-11-09 | 株式会社村田制作所 | 芯片型陶瓷电子部件及其制造方法 |
| CN113632187B (zh) * | 2019-03-28 | 2023-06-27 | 株式会社村田制作所 | 芯片型陶瓷电子部件及其制造方法 |
| CN112188730A (zh) * | 2019-07-05 | 2021-01-05 | 英飞凌科技股份有限公司 | 缓冲器电路以及具有缓冲器电路的功率半导体模块 |
| EP3761492A1 (en) * | 2019-07-05 | 2021-01-06 | Infineon Technologies AG | Snubber circuit and power semiconductor module with snubber circuit |
| US11631974B2 (en) | 2019-07-05 | 2023-04-18 | Infineon Technologies Ag | Snubber circuit and power semiconductor module with snubber circuit |
| WO2025069398A1 (ja) * | 2023-09-29 | 2025-04-03 | 株式会社村田製作所 | 積層セラミックコンデンサ |
| WO2025225164A1 (ja) * | 2024-04-25 | 2025-10-30 | 株式会社村田製作所 | 電子部品 |
Also Published As
| Publication number | Publication date |
|---|---|
| JP4803451B2 (ja) | 2011-10-26 |
Similar Documents
| Publication | Publication Date | Title |
|---|---|---|
| JP7567146B2 (ja) | 積層セラミック電子部品及びその実装基板 | |
| JP5206440B2 (ja) | セラミック電子部品 | |
| JP6351159B2 (ja) | 積層セラミック電子部品及びその実装基板並びに製造方法 | |
| CN101944435A (zh) | 电子元件 | |
| KR101886332B1 (ko) | 전자부품 및 전자부품 내장형 기판 | |
| JP6487364B2 (ja) | 積層セラミック電子部品の製造方法 | |
| JP6777065B2 (ja) | 積層電子部品 | |
| KR101719838B1 (ko) | 도전성 수지 조성물 및 이를 포함하는 적층 세라믹 전자 부품 | |
| JP2004259991A (ja) | 積層セラミック部品 | |
| JP2022067931A (ja) | 電子部品 | |
| JP2016012689A (ja) | セラミック電子部品 | |
| JP4803451B2 (ja) | 電子部品及びその実装構造 | |
| US11776746B2 (en) | Multilayer capacitor | |
| JP6911754B2 (ja) | 電子部品および積層セラミックコンデンサ | |
| CN112397309A (zh) | 多层电容器和其上安装有该多层电容器的板 | |
| JP6777066B2 (ja) | 積層電子部品 | |
| CN110890219B (zh) | 层叠陶瓷电子部件 | |
| JP6911755B2 (ja) | 電子部品および積層セラミックコンデンサ | |
| US12308173B2 (en) | Ceramic electronic component including insulating layer | |
| JP3716746B2 (ja) | 積層セラミック電子部品及びその製造方法 | |
| CN115223791B (zh) | 陶瓷电子元件和基板装置 | |
| JP3391286B2 (ja) | セラミック電子部品 | |
| JP2020095996A (ja) | 積層セラミック電子部品およびその製造方法 | |
| JPH07201637A (ja) | 積層セラミック電子部品 | |
| JP6602925B2 (ja) | セラミック電子部品及びその製造方法 |
Legal Events
| Date | Code | Title | Description |
|---|---|---|---|
| A621 | Written request for application examination |
Free format text: JAPANESE INTERMEDIATE CODE: A621 Effective date: 20090824 |
|
| A977 | Report on retrieval |
Free format text: JAPANESE INTERMEDIATE CODE: A971007 Effective date: 20101228 |
|
| A131 | Notification of reasons for refusal |
Free format text: JAPANESE INTERMEDIATE CODE: A131 Effective date: 20110113 |
|
| A521 | Request for written amendment filed |
Free format text: JAPANESE INTERMEDIATE CODE: A523 Effective date: 20110310 |
|
| TRDD | Decision of grant or rejection written | ||
| A01 | Written decision to grant a patent or to grant a registration (utility model) |
Free format text: JAPANESE INTERMEDIATE CODE: A01 Effective date: 20110714 |
|
| A01 | Written decision to grant a patent or to grant a registration (utility model) |
Free format text: JAPANESE INTERMEDIATE CODE: A01 |
|
| A61 | First payment of annual fees (during grant procedure) |
Free format text: JAPANESE INTERMEDIATE CODE: A61 Effective date: 20110727 |
|
| R150 | Certificate of patent or registration of utility model |
Ref document number: 4803451 Country of ref document: JP Free format text: JAPANESE INTERMEDIATE CODE: R150 |
|
| FPAY | Renewal fee payment (event date is renewal date of database) |
Free format text: PAYMENT UNTIL: 20140819 Year of fee payment: 3 |
|
| R250 | Receipt of annual fees |
Free format text: JAPANESE INTERMEDIATE CODE: R250 |
|
| R250 | Receipt of annual fees |
Free format text: JAPANESE INTERMEDIATE CODE: R250 |
