JP2006158181A - 三相磁石式発電機 - Google Patents

三相磁石式発電機 Download PDF

Info

Publication number
JP2006158181A
JP2006158181A JP2005219318A JP2005219318A JP2006158181A JP 2006158181 A JP2006158181 A JP 2006158181A JP 2005219318 A JP2005219318 A JP 2005219318A JP 2005219318 A JP2005219318 A JP 2005219318A JP 2006158181 A JP2006158181 A JP 2006158181A
Authority
JP
Japan
Prior art keywords
terminal
core
lead wire
phase magnet
magnet generator
Prior art date
Legal status (The legal status is an assumption and is not a legal conclusion. Google has not performed a legal analysis and makes no representation as to the accuracy of the status listed.)
Granted
Application number
JP2005219318A
Other languages
English (en)
Other versions
JP4660310B2 (ja
Inventor
Norikazu Takeuchi
則和 竹内
Current Assignee (The listed assignees may be inaccurate. Google has not performed a legal analysis and makes no representation or warranty as to the accuracy of the list.)
Denso Corp
DensoTrim Corp
Original Assignee
Denso Corp
DensoTrim Corp
Priority date (The priority date is an assumption and is not a legal conclusion. Google has not performed a legal analysis and makes no representation as to the accuracy of the date listed.)
Filing date
Publication date
Application filed by Denso Corp, DensoTrim Corp filed Critical Denso Corp
Priority to JP2005219318A priority Critical patent/JP4660310B2/ja
Priority to US11/256,165 priority patent/US7501729B2/en
Publication of JP2006158181A publication Critical patent/JP2006158181A/ja
Application granted granted Critical
Publication of JP4660310B2 publication Critical patent/JP4660310B2/ja
Anticipated expiration legal-status Critical
Expired - Fee Related legal-status Critical Current

Links

Images

Classifications

    • HELECTRICITY
    • H02GENERATION; CONVERSION OR DISTRIBUTION OF ELECTRIC POWER
    • H02KDYNAMO-ELECTRIC MACHINES
    • H02K3/00Details of windings
    • H02K3/46Fastening of windings on the stator or rotor structure
    • H02K3/52Fastening salient pole windings or connections thereto
    • H02K3/521Fastening salient pole windings or connections thereto applicable to stators only
    • H02K3/522Fastening salient pole windings or connections thereto applicable to stators only for generally annular cores with salient poles

Landscapes

  • Engineering & Computer Science (AREA)
  • Power Engineering (AREA)
  • Insulation, Fastening Of Motor, Generator Windings (AREA)
  • Permanent Magnet Type Synchronous Machine (AREA)

Abstract

【課題】大出力かつ低発熱で、しかもコイル引出線と出力用リード線との接続が容易な三相磁石式発電機を提供すること。
【解決手段】端子板セット30は、貫通取付孔27A、27B、27Cに取付脚部32a、32b、32cを圧入固定したとき、各端子板31A、31B、31Cの横棒部31aの2つのターミナル部31c、31dが回転子1の奥側に位置するとともに各端子板31A、31B、31Cの縦棒部31bの1つのターミナル部31eが回転子1の開放側に位置するよう構成され、かつ、各端子板31A、31B、31Cの横棒部31aの2つのターミナル部31c、31dが各々当該ターミナル部31c、31dに結線されるコイル引出線25a、25bの端部近くに位置するよう横棒部31aの長さが予め調節されている。
【選択図】図9

Description

本発明は、三相磁石式発電機、特に、大出力かつ低発熱で、しかもコイル引出線と出力用リード線との接続が容易な三相磁石式発電機に関する。
エンジンクランクシャフトの回転数が最大10000rpm以下で使用される大型クルーザー用オートバイは、ヘッドライトの他にステレオやヒータ等、多くの電気負荷が装着されるため、大出力を出すことができる励磁コイル式発電機(オルタネーター)が使用されている。
この励磁コイル式発電機は、エンジンの後背部に取り付けられ、クランクシャフトから駆動機構を介して増速して回転すると同時に、ファンで発電コイルを冷却する構造のため、大出力を出すことが可能である。
しかし、エンジンのレイアウト上、励磁コイル式発電機に代わって、クランクシャフトに直に装着する高出力の磁石式発電機を使用することが要請されている。
磁石式発電機において、コアの外径及び希土類磁石の体積を増大させることにより高出力を得ることが可能である。一方、出力電流が増大すると、コイルの温度が上昇するため、コイルの温度を下げるためにはコイルの径を太くする必要がある。
従来のように、出力電流が最大で35A程度であれば、コイルの径φは1.2mm程度あればよく細いため、図30に示すように巻線した後、巻き始めa,b,c及び巻き終わりa´,b´,c´を図27に示す位置Aまで図28に示すようにコイル26間を波状に這い回して集めた後、6本のコイル引出線25を図27の位置Aで束ねる作業を手作業で行うことは可能であった。その後、位置Aに集めたコイル引出線25と出力用リード線41を図27に示す位置Bで筒状のスリーブ61内に入れて固定した後、半田付けにより結線し、その上から保護チューブ42を被せクリップ43で3本の出力用リード線41を束ねてコア21にねじ44でねじ締め固定していた。
[問題点1]
しかし、出力電流が40A以上になると、コイル26の径φは1.3mm以上必要になり太くなるため、コイル引出線25を這い回して位置Aに集める作業を手作業で行ったり、図27,28に示すようにコイル26にコイル引出線25を固定するためにコイル引出線25を互いに巻きつけて束ねる作業を手作業で行うと、作業者の手が痛くなるという問題が発生する。
ここで、コイル引出線25を位置Aに集めて固定する目的は、コイル引出線25と出力用リード線41を結線した後、図29に示すクリップ43からグロメット62までの寸法L4のばらつきを小さくするためである。位置Aでコイル引出線25をコイル26に固定しない場合には、コイル引出線25が容易に動き、図28,29に示す寸法L1が定まらず、ばらつくようになる。出力用リード線41の長さL2は、リード線製作時に予め決まっており、寸法L1がばらつくと、クリップ43に対する結線部先端までの寸法L3が同じようにばらつき、それにつれて寸法L4もばらつくことになる。寸法L4がばらつくと、図26に示すようにエンジンカバー300にグロメット62を装着するときに問題が生じる。つまり、寸法L4が短くなり過ぎると、グロメット62がエンジンカバー300の溝302に嵌らなくなる。逆に、長くなり過ぎると、グロメット62とクリップ43間の弛みが大きくなってリード線カバー63が回転子1側に押し出され、回転子1の外周と接触するおそれが生じる。
また、他の目的は、コイル引出線25をコイル26に固定しない場合には、振動し易くなりコイル引出線25の耐振性が低下するため、コイル引出線25をコイル26に固定することによってコイル引出線25の耐振性を確保することにある。
[問題点2]
また、出力電流を増大させると出力用リード線41も太くする必要があるため、2本の太いコイル引出線25と1本の太い出力用リード線41とを一体に結線すると結線箇所の剛性が増大し、この結線箇所に半田付けを行う作業やこの結線箇所を図29に示すようなクリップ43で固定する作業を手作業で行う際、コイル引出線25が硬くて容易に動かないため作業者の手が痛くなるという問題が発生する。
なお、本発明者は、先行技術調査により特許文献1を発見した。この特許文献1には、ボビンに端子を打ち込み、端子を介してコイル引出線と出力用リード線を接続する構造が開示されている。しかし、この構造には、下記1〜3のような問題がある。
1.コアにボビンを挿入するためには、寸法公差を考慮した隙間が必要となり、また、ボビンを成形するためには、約0.7mmの肉厚が必要となる。このため、ボビンからコアへの熱伝導が悪く、コイルからコアへの放熱が少なく、コイル温度が上昇する。
2.同時に、巻線スペースが減少してその分、細い銅線しか巻けなくなり、コイル温度が上昇する。
3.樹脂に端子を圧入しただけのため、太いコイル引出線や出力用リード線の振動に耐えられず、端子の緩みが発生するおそれがある。
特開2003−259588公報(図4)
本発明は、上記のような従来技術の問題点を解決し、端子板セットを用いて太いコイル引出線と出力用リード線との接続を行うことにより、大出力かつ低発熱で、しかもコイル引出線と出力用リード線との接続が容易な三相磁石式発電機を提供することを目的とする。
本発明による三相磁石式発電機は、希土類磁石を用い極数が4n(n:4〜8のいずれかの整数)の回転子と、3つのコイル群を有し極数が3nの固定子とを備え、前記各コイル群は、粉体樹脂塗装されたコアの巻線部に径φが1.3mm〜2mmの銅線を2コイル飛びに同じ方向に集中巻して構成されるとともに、電気角位相差が約240°となるよう互いにデルタ結線される三相磁石式発電機であって、前記コアの巻線部の基端側の環状部に貫通取付孔を形成するとともに、該貫通取付孔に固着される端子板セットを設け、前記端子板セットは、各々横棒部と縦棒部とからなる略T字形の3個の端子板と、該3個の端子板を固定保持する樹脂成形体とにより構成され、前記各端子板は、前記横棒部にコイル引出線結線用の2つのターミナル部を有するとともに前記縦棒部の先端に出力用リード線結線用の1つのターミナル部を有し、前記樹脂成形体は、前記横棒部の2つのターミナル部と前記縦棒部の1つのターミナル部とを除いて前記3個の端子板を囲包み固定するとともに前記縦棒部の周囲に前記貫通取付孔に圧入固定される取付脚部が形成されており、前記端子板セットは、前記貫通取付孔に前記取付脚部を圧入固定したとき、前記各端子板の横棒部の2つのターミナル部が回転子の奥側に位置するとともに前記各端子板の縦棒部の1つのターミナル部が回転子の開放側に位置するよう構成され、かつ、前記各端子板の横棒部の2つのターミナル部が各々当該ターミナル部に結線されるコイル引出線の端部近くに位置するよう横棒部の長さが予め調節されて構成されていることを特徴とする。
本発明の三相磁石式発電機において、回転子の極数は4n(n:4〜8のいずれかの整数)であり、かつ固定子の極数は3nである。このようにnを4〜8に設定した理由は、nを3以下に設定すると、回転子の極数は12極以下となり発生周波数が低下するため、コイルの巻数を増やす必要が生じ、その結果太い銅線を巻けなくなるからであり、また、nを9以上に設定すると、固定子の極数は27極以上となり、隣り合う極同士の間隔が狭くなり過ぎて太い銅線を巻けなくなるからである。
nを4に設定した場合、回転子の極数は16極となり、最大回転数10000rpmで使用した場合の発生周波数は1333Hzになる。このため、三相磁石式発電機の出力電圧を制御するレギュレータとしてSCR素子を使用したもので良いため、安価なレギュレータを使用することが可能になる。nを5以上に設定した場合、レギュレータとしてSCR素子よりも高価なFET素子を使用する必要があるが、発生周波数が高くなるため巻数を低減できる効果がある。
また、回転子の極数を2n、固定子の極数を3nに設定した場合には、コイルの巻数が多くなり太い銅線を巻けなくなる。
上記のような考察に基づき、本発明の三相磁石式発電機は、回転子の極数を4n(n:4〜8のいずれかの整数)に、固定子の極数を3nに設定した。このため、本発明によると、大出力かつ低発熱の三相磁石式発電機を提供できる。また、本発明によると、端子板セットをコアに固着したとき、端子板の2つのターミナル部が当該ターミナル部に結線されるコイル引出線の端部近くに位置するようになるため、太いコイル引出線を容易にターミナル部に結線することができ、端子板を介してコイル引出線と出力用リード線とを容易に接続することができるようになる。
ここで、前記各端子板に、樹脂が充填された結合孔が形成されている。この結合孔には、樹脂成形体の成形時に樹脂材料が充填されるようになり、このため、各端子板と樹脂成形体との結合強度が増大する。
さらに、本発明による三相磁石式発電機は、上記のような三相磁石式発電機、つまり、希土類磁石を用い極数が4n(n:4〜8のいずれかの整数)の回転子と、3つのコイル群を有し極数が3nの固定子とを備え、各コイル群は、粉体樹脂塗装されたコアの巻線部に径φが1.3mm〜2mmの銅線を2コイル飛びに同じ方向に集中巻して構成されるとともに、電気角位相差が約240°となるよう互いにデルタ結線される三相磁石式発電機に限定されるものではなく、広く三相磁石式発電機に適用可能であり、本発明による三相磁石式発電機は、コイル引出線の集約部をコアの一端側に配すると共に、出力用リード線との接続をコアの他端側で行う三相磁石式発電機であって、前記集約部から前記コア他端側に接続するための複数のターミナル部と、このターミナル部を一体的に結合する結合部とを備えることを特徴とする。
ここで、前記結合部は、該結合部を前記コアに固定するための保持金具部を有している。
また、前記ターミナル部は、該ターミナル部の前記コアへの結合強度を高めるための圧入樹脂部を有している。
また、前記出力用リード線の切口部はシール材で覆われる。
以下、本発明の実施形態を図面に基づいて説明する。
図1は、本発明の一実施形態に係る三相磁石式発電機をエンジンに装着した状態を示す断面図、図2は、同三相磁石式発電機を回転子の開放側から見たときの平面図、図3は、同三相磁石式発電機の固定子を回転子の奥側から見たときの平面図、図4は、同三相磁石式発電機の端子板セットの平面図、図5は、同端子板セットの側面図、図6は、同端子板セットが固着されるコアの貫通取付孔の孔形状を示す部分詳細図、図7は、同端子板セットの断面図であって図3図示X-X断面図、図8は、上記貫通取付孔の断面図であって図3図示X-X断面図、図9は、上記端子板セットを上記貫通取付孔に固着した状態の断面図であって図3図示X-X断面図、図10は、上記固定子の巻線図、図11は、同三相磁石式発電機の出力電圧のベクトル図、図12は、図3図示の固定子の結線図、図13は、変形例に係る固定子の結線図、図14は、同固定子を回転子の奥側から見たときの平面図をそれぞれ示す。
図1〜図14において、本実施形態に係る三相磁石式発電機100は、エンジンのクランクシャフト200に固定された回転子1と、エンジンカバー300に固定され、回転子1の内周側に配置された固定子2とにより構成される。
回転子1の極数は4n(n=5)つまり20極であり、固定子2の極数は3nつまり15極である。
回転子1は、磁性体からなる回転部材11を備える。回転部材11は、熱間鍛造後切削により仕上げ加工されている。回転部材11の中央のボス部11aの内側には、テーパ部11bが形成されており、テーパ部11bは、ボルト51によってクランクシャフト200の端部に嵌合、固着されている。回転部材11の端面部11cには、冷却用貫通孔11dが複数設けられている。回転部材11の円筒状の外周部11eはヨークを構成している。回転部材外周部11eの内側に、非磁性体からなるリング状のスペーサ12、14、及び、円周方向に等間隔に配置された20個の希土類磁石13が、クランクシャフト200の軸方向に沿って配設されている。希土類磁石13は、その内側に磁石保護リング15を配置し回転部材外周部11eの先端部11fを巻きかしめすることによって回転部材外周部11eの内周面に固定されている。なお、磁石保護リング15は、ステンレス板をプレス加工して形成されている。
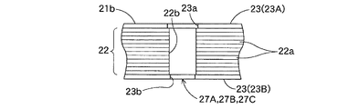
固定子2はコア21を備える。コア21は、電磁鋼板をプレス加工したコアシート22aを複数枚積層した積層コアシート22の両側に、コアシート22aよりも若干厚いコアエンドプレート23を配置し、リベット52(図2,3)をかしめることによって一体化されている。
コア21の巻線部21a(図10)の表面はエポキシ樹脂による粉体樹脂塗装層24で絶縁されており、この粉体樹脂塗装層24に径φが1.3mm〜2mmの銅線25A、25B、25C(図10)を巻線して3つのコイル群26A、26B、26Cが形成されている。各コイル群26A、26B、26Cは、図10に示すように、銅線25A、25B、25Cを巻き始めa,b,cから2コイル飛びに同じ方向に巻き終わりa´、b´、c´まで集中巻して構成され、図11,12に示すように、電気角位相差が約240°となるよう互いにデルタ結線され、結果として各コイル群26A、26B、26Cは、電気角位相差が120°の三相出力が得られる。
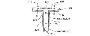
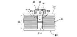
コア21の巻線部21aの基端側の環状部21bには、図6,8に示すような貫通取付孔27A、27B、27Cが形成されている。各貫通取付孔27A、27B、27Cは、図8に示すように、回転子1の奥側に位置するコアエンドプレート23(23A)の孔23aが積層コアシート22の孔22bより若干大きく形成されており、また、回転子1の開放側に位置するコアエンドプレート23(23B)の孔23bが積層コアシート22の孔22bより若干小さく形成されている。3つの貫通取付孔27A、27B、27Cには、図3,4,5,7,9などに示すような端子板セット30が固着される。
端子板セット30は、3個の端子板31A、31B、31Cと、3個の端子板31A、31B、31Cを固定保持する樹脂成形体32とにより構成される。
各端子板31A、31B、31Cは、図7に示すように、横棒部31aと縦棒部31bとからなり略T字形をしている。横棒部31aには、コイル引出線結線用の2つのターミナル部31c、31dが形成されている。縦棒部31bの先端には、出力用リード線結線用の1つのターミナル部31eが形成されている。
樹脂成形体32は、図5,7,9に示すように、横棒部31aの2つのターミナル部31c、31dと縦棒部31bの1つのターミナル部31eとを除いて3個の端子板31A、31B、31Cを囲包み固定する。そして、樹脂成形体32には、その成形時、金型にセットした3個の端子板31A、31B、31C同士が成形圧力によって接触しないよう位置決め手段を用いたことによる溝部32f(図4,5)が形成されている。また、各端子板31A、31B、31Cには、結合孔31fが形成されており、樹脂成形体32の成形時に結合孔31fに樹脂材料が充填されることにより、各端子板31A、31B、31Cと樹脂成形体32との結合強度が増大する。縦棒部31bの周囲には、貫通取付孔27A、27B、27Cに圧入固定される取付脚部32a、32b、32cが形成されている。
各取付脚部32a、32b、32cは、基端側に形成された幅広部32dと先端側に形成された幅狭部32eとを有しており、幅広部32dは積層コアシート22の孔22bに圧入固定され、また、幅狭部32eは回転子1の開放側に位置するコアエンドプレート23(23B)の孔23bに圧入固定される。したがって、各取付脚部32a、32b、32cは、コア21の貫通取付孔27A、27B、27C内の上下二箇所で強固に固定される。また、端子板セット30を回転子1の奥側に配されるコアエンドプレート23(23A)側から挿入する際、該コアエンドプレート23(23A)の孔23aが積層コアシート22の孔22bよりも大きいため、取付脚部32a、32b、32cを容易に貫通取付孔27A、27B、27Cに案内することができる。
端子板セット30は、貫通取付孔27A、27B、27Cに取付脚部32a、32b、32cを圧入固定したとき、図2,3に示すように、各端子板31A、31B、31Cの横棒部31aの2つのターミナル部31c、31dが回転子1の奥側に位置するとともに各端子板31A、31B、31Cの縦棒部31bの1つのターミナル部31eが回転子1の開放側に位置するよう構成され、また、図3に示すように、各端子板31A、31B、31Cの横棒部31aの2つのターミナル部31c、31dが各々当該ターミナル部31c、31dに結線されるコイル引出線25a(巻き始めa,b,c)、25b(巻き終わりa´、b´、c´)の端部近くに位置するよう横棒部31aの長さが予め調節されて構成されている。
各端子板31A、31B、31Cの2つのターミナル部31c、31dは、それぞれ略U字溝に形成されており、一方のU字溝に1つのコイル群のコイル引出線(巻き始め)を挟んで固定した後に半田付けが行われ、他方のU字溝に他の1つのコイル群のコイル引出線(巻き終わり)を挟んで固定した後に半田付けが行われる。例えば、端子板31Aのターミナル部31cにコイル群26Aのコイル引出線25a(巻き始めa)が結線されるとともに端子板31Aのターミナル部31dにコイル群26Cのコイル引出線25b(巻き終わりc´)が結線され、また、端子板31Bのターミナル部31cにコイル群26Bのコイル引出線25a(巻き始めb)が結線されるとともに端子板31Bのターミナル部31dにコイル群26Aのコイル引出線25b(巻き終わりa´)が結線され、また、端子板31Cのターミナル部31cにコイル群26Cのコイル引出線25a(巻き始めc)が結線されるとともに端子板31Cのターミナル部31dにコイル群26Bのコイル引出線25b(巻き終わりb´)が結線され、これにより、図12に示すような3つのコイル群26A、26B、26Cのデルタ結線が得られる。
また、各端子板31A、31B、31Cの1つのターミナル部31eは、同様に略U字溝に形成されており、このU字溝に、出力用リード線41A、41B、41Cの芯線41aを挟んで固定した後に半田付けが行われる。例えば、端子板31Aのターミナル部31eに出力用リード線41A(U相)が結線され、また、端子板31Bのターミナル部31eに出力用リード線41B(V相)が結線され、また、端子板31Cのターミナル部31eに出力用リード線41C(W相)が結線される。3本の出力用リード線41A、41B、41Cは、保護チューブ42を介してクリップ43で固定され、クリップ43は締付ねじ44でコア21にねじ締め固定される。
固定子2は、コア21に形成されたねじ挿通用貫通孔21cに締付ねじ53を通し、エンジンカバー300に形成されたねじ穴301にねじ込むことによって、エンジンカバー300に固定されている。
なお、端子板セット30の各端子板31A、31B、31Cを図14に示すように構成し、各端子板31A、31B、31Cの2つのターミナル部31c、31dと各コイル群26A、26B、26Cのコイル引出線25a、25bとの結線を図14に示すように行った場合、図13に示すような3つのコイル群26A、26B、26Cのデルタ結線が得られる。また、極数の変数nは、4〜8のいずれかの整数でよい。また、コア21の貫通取付孔27A、27B、27Cの断面形状は、図6に示したような四角形状に限定されるものではなく、その他、楕円形状等であってもよい。また、端子板セット30の取付脚部32a、32b、32cの幅広部32dは、図5に示すように端子板31A、31B、31Cの四面すべてに設けてもよいし、図示しないが、対向する二面のみに設けるようにしてもよい。
以上説明したように、本実施形態に係る三相磁石式発電機100は、希土類磁石13を用い極数が4n(n=5)の回転子1と、3つのコイル群26A、26B、26Cを有し極数が3nの固定子2とを備え、各コイル群26A、26B、26Cは、粉体樹脂塗装されたコア21の巻線部21aに径φが1.3mm〜2mmの銅線25A、25B、25Cを2コイル飛びに同じ方向に集中巻して構成されるとともに、電気角位相差が約240°となるよう互いにデルタ結線される三相磁石式発電機であって、コア21の巻線部21aの基端側の環状部21bに貫通取付孔27A、27B、27Cを形成するとともに、貫通取付孔27A、27B、27Cに固着される端子板セット30を設け、端子板セット30は、各々横棒部31aと縦棒部31bとからなる略T字形の3個の端子板31A、31B、31Cと、3個の端子板31A、31B、31Cを固定保持する樹脂成形体32とにより構成され、各端子板31A、31B、31Cは、横棒部31aにコイル引出線結線用の2つのターミナル部31c、31dを有するとともに縦棒部31bの先端に出力用リード線結線用の1つのターミナル部31eを有し、樹脂成形体32は、横棒部31aの2つのターミナル部31c、31dと縦棒部31bの1つのターミナル部31eとを除いて3個の端子板31A、31B、31Cを囲包み固定するとともに縦棒部31bの周囲に貫通取付孔27A、27B、27Cに圧入固定される圧入樹脂部つまり取付脚部32a、32b、32cが形成されており、端子板セット30は、貫通取付孔27A、27B、27Cに取付脚部32a、32b、32cを圧入固定したとき、各端子板31A、31B、31Cの横棒部31aの2つのターミナル部31c、31dが回転子1の奥側に位置するとともに各端子板31A、31B、31Cの縦棒部31bの1つのターミナル部31eが回転子1の開放側に位置するよう構成され、かつ、各端子板31A、31B、31Cの横棒部31aの2つのターミナル部31c、31dが各々当該ターミナル部31c、31dに結線されるコイル引出線25a、25bの端部近くに位置するよう横棒部31aの長さが予め調節されて構成されている。
本実施形態に係る三相磁石式発電機100は、回転子1の極数を4n(本実施形態ではn=5、ただし4〜8のいずれかの整数であればよい)に設定し、かつ固定子2の極数を3nに設定した。nを3以下に設定すると、回転子1の極数は12極以下となり発生周波数が低下するため、コイル群26A、26B、26Cの巻数を増やす必要が生じ、その結果太い銅線25A、25B、25Cを巻けなくなるが、nを4以上に設定したため、回転子1の極数は16極以上となり、発生周波数が上昇してコイル群26A、26B、26Cの巻数を減らすことができ、その結果太い銅線25A、25B、25Cを巻けるようになる。また、nを9以上に設定すると、固定子2の極数は27極以上となり、隣り合う極同士の間隔が狭くなり過ぎて太い銅線25A、25B、25Cを巻けなくなるが、nを8以下に設定したため、固定子2の極数は24極以下となり、隣り合う極同士の間隔が狭くなり過ぎることにならず、太い銅線25A、25B、25Cを巻けるようになる。また、nを4に設定した場合には、回転子1の極数が16極となり、最大回転数10000rpmで使用した場合の発生周波数は1333Hzになるため、三相磁石式発電機の出力電圧を制御するレギュレータとしてSCR素子を使用した安価なレギュレータを使用することが可能になる。また、nを5以上に設定した場合、レギュレータとしてSCR素子よりも高価なFET素子を使用する必要があるが、発生周波数が高くなるため巻数を低減できる。したがって、本実施形態によると、大出力かつ低発熱の三相磁石式発電機を提供できる。
また、本実施形態によると、端子板セット30をコア21に固着したとき、端子板31A、31B、31Cの2つのターミナル部31c、31dが当該ターミナル部31c、31dに結線されるコイル引出線25a、25bの端部近くに位置するようになるため、太いコイル引出線25a、25bを容易にターミナル部31c、31dに結線することができ、端子板31A、31B、31Cを介してコイル引出線25a、25bと出力用リード線41A、41B、41Cとを容易に接続することができるようになる。
また、各端子板31A、31B、31Cに、樹脂が充填された結合孔31fが形成されている。この結合孔31fには、樹脂成形体32の成形時に樹脂材料が充填されるようになり、このため、各端子板31A、31B、31Cと樹脂成形体32との結合強度が増大する。
換言するならば、上述した本実施形態に係る三相磁石式発電機100は、コイル引出線25a、25bの集約部換言するとコイル引出線25a、25b同士の接続部をコア21の一端側つまり図3に示すコア21の端面側に配すると共に、出力用リード線41A、41B、41Cとの接続をコア21の他端側つまり図2に示すコア21の端面側で行う三相磁石式発電機であって、集約部からコア他端側に接続するための複数のターミナル部31c、31d、31eと、このターミナル部31c、31d、31eを一体的に結合する結合部つまり樹脂成形体32とを備える。このため、結合部つまり樹脂成形体32を介してコイル引出線25a、25bと出力用リード線41A、41B、41Cとを容易に接続することができる。
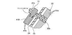
図17〜図20は、図1〜図14に示した三相磁石式発電機の改良タイプを示し、この改良タイプの三相磁石式発電機は、図1〜図14に示した三相磁石式発電機の以下の問題点を解決することを目的としてなされたものである。つまり、図1から図14に示した三相磁石式発電機の場合、図15の切断線A-Aによる断面図を代表的に表した図16に示すように、出力用リード線41Bとターミナル部31eとの接続部に、噴出されたコイル冷却用のエンジンオイルあるいは攪拌により飛散したコイル冷却用のエンジンオイルが付着し、この付着したエンジンオイルが出力用リード線41Bの芯線41bと芯線41bとの間に浸入し、毛細管現象によりエンジンカバー300の外側に位置するコネクタ(図示せず)から洩れ出るという不具合が発生し得る。また、他の出力用リード線41A、41Cにおいても上記と同様であり、コネクタからエンジンオイルが洩れ出る不具合が発生し得る。このようなエンジンオイルの洩れを防止する対策として、出力用リード線41A、41B、41C内にワニスを含浸させ芯線41b間の隙間を無くすことが考えられるが、ワニスの含浸によって出力用リード線41A、41B、41Cが硬くなり、組付作業などにおいて取扱いにくくなる。図17〜図20に示した改良タイプの三相磁石式発電機は、上記のような問題点を解決し、出力用リード線41A、41B、41Cの柔軟性を確保しつつエンジンオイル洩れを防止することを目的としてなされたものである。なお、図16において、符号71は、半田付け部を表している。
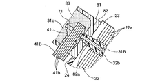
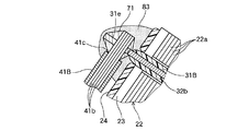
図17及び図18に示す第1の改良タイプの三相磁石式発電機は、端子絶縁カップ81を備え、この端子絶縁カップ81の底部82の貫通孔82aに端子板31A、31B、31Cのターミナル部31eを挿入し、その後、出力用リード線41A、41B、41Cをターミナル部31eに半田付けし、出力用リード線41A、41B、41Cの切口部41cをシール材83で覆うようにして構成される。シール材83が、流動性が有り垂れるものである場合、シール材83は端子絶縁カップ81内に留まることができ、出力用リード線41A、41B、41Cの切口部41cを良好にシールすることができる。一方、シール材83が、流動性が無く垂れることのないものである場合には、端子絶縁カップ81を設ける必要性は乏しく、第2の改良タイプの三相磁石式発電機を示した図19及び図20に示すように、端子絶縁カップ81を取り除き、出力用リード線41A、41B、41Cの切口部41cをシール材83で覆うことができ、上記と同様、出力用リード線41A、41B、41Cの切口部41cを良好にシールすることができる。
図21〜図25は、端子板セット30及びコア21の変形例を示す。
図21〜図25において、端子板セット30は、図1〜図14に示した三相磁石式発電機の端子板セット30に複数例えば2個の保持金具部91を設けて構成される。つまり、集約部(換言するとコイル引出線25a、25b同士の接続部からコア他端側に接続するための複数のターミナル部31c、31d)を一体的に結合する結合部つまり樹脂成形体32に、複数の保持金具部91が付加されている。また、コア21には、各保持金具部91が圧入固定される係止孔21dが形成されている。
保持金具部91は、頭部91aに貫通孔91bを有しており、保持金具部91をインサート体として端子板セット30をインサート成形する際、上記貫通孔91bに樹脂材料が流入して固化することにより、保持金具部91は樹脂成形体32によって強固に保持される。また、保持金具部91は、脚部91cの中間部に突出部91d及び逃し孔91eを有し、保持金具部91をコア21の係止孔21dに圧入したとき、保持金具部91の突出部91dが変形して保持金具部91の脚部91cが係止孔21dと圧着状態となり、保持金具部91がコア21に強固に保持されるようになる。保持金具部91の逃し孔91eは、この圧入時の突出部91dの変形を助ける役割を果たす。
上記のように保持金具部91を結合部つまり樹脂成形体32に設けたことにより、三相磁石式発電機に大きな冷熱が加わって樹脂成形体32の取付脚部32a、32b、32cにクリープが発生し、コア21との結合強度が低下しても、保持金具部91によって結合強度を保持することが可能になる。また、保持金具部91に部分的に形成した突出部91dによってコア21の係止孔21dへの圧入が行われるため、少ない圧入力で圧入作業を行うことができる。また、圧入時に、保持金具部91の逃し孔91eが内側に変形するため、さらに少ない圧入力で圧入作業を行うことができる。また、保持金具部91の貫通孔91bに樹脂材料が充填されることから、保持金具部91と樹脂成形体32との結合強度を向上させることができる。
本発明の一実施形態に係る三相磁石式発電機をエンジンに装着した状態を示す断面図である。 同三相磁石式発電機を回転子の開放側から見たときの平面図である。 同三相磁石式発電機を回転子の奥側から見たときの平面図である。 同三相磁石式発電機の端子板セットの平面図である。 同端子板セットの側面図である。 同端子板セットが固着されるコアの貫通取付孔の孔形状を示す部分詳細図である。 同端子板セットの断面図であって図3図示X-X断面図である。 上記貫通取付孔の断面図であって図3図示X-X断面図である。 上記端子板セットを上記貫通取付孔に固着した状態の断面図であって図3図示X-X断面図である。 上記三相磁石式発電機の固定子の巻線図である。 同三相磁石式発電機の出力電圧のベクトル図である。 図3図示の固定子の結線図である。 変形例に係る固定子の結線図である。 同固定子を回転子の奥側から見たときの平面図である。 図1〜図14に示した三相磁石式発電機の問題点を説明するための説明図であり、同三相磁石式発電機を回転子の開放側から見たときの平面図である。 図15図示A-A断面図である。 第1の改良タイプの三相磁石式発電機を回転子の開放側から見たときの平面図である。 図17図示B-B断面図である。 第2の改良タイプの三相磁石式発電機を回転子の開放側から見たときの平面図である。 図19図示C-C断面図である。 変形例に係る端子板セットの平面図である。 同端子板セットの側面図である。 同端子板セットが固着されるコアの貫通取付孔の孔形状を示す部分詳細図である。 同端子板セットを同コアへ圧入する前の状態を示す断面図である。 同端子板セットの同コアへの圧入状態を示す断面図である。 従来の磁石式発電機をエンジンに装着した状態を示す断面図である。 同三相磁石式発電機の固定子を回転子の開放側から見たときの平面図である。 同固定子のコイル引出線の這い回しを説明するための説明図である。 上記従来の三相磁石式発電機における出力用リード線の長さのばらつきを説明するための説明図である。 同三相磁石式発電機の固定子の巻線図である。
符号の説明
100 三相磁石式発電機
1 回転子
2 固定子
13 希土類磁石
21 コア
21a 巻線部
21b 環状部
25A、25B、25C 銅線
25a、25b コイル引出線
26A、26B、26C コイル群
27A、27B、27C 貫通取付孔
30 端子板セット
31A、31B、31C 端子板
31a 横棒部
31b 縦棒部
31c、31d ターミナル部
31e ターミナル部
31f 結合孔
32 樹脂成形体(結合部)
32a、32b、32c 取付脚部(圧入樹脂部)
41A、41B、41C 出力用リード線
41c 切口部
83 シール材
91 保持金具部

Claims (6)

  1. 希土類磁石を用い極数が4n(n:4〜8のいずれかの整数)の回転子と、3つのコイル群を有し極数が3nの固定子とを備え、前記各コイル群は、粉体樹脂塗装されたコアの巻線部に径φが1.3mm〜2mmの銅線を2コイル飛びに同じ方向に集中巻して構成されるとともに、電気角位相差が約240°となるよう互いにデルタ結線される三相磁石式発電機であって、
    前記コアの巻線部の基端側の環状部に貫通取付孔を形成するとともに、該貫通取付孔に固着される端子板セットを設け、
    前記端子板セットは、
    各々横棒部と縦棒部とからなる略T字形の3個の端子板と、該3個の端子板を固定保持する樹脂成形体とにより構成され、
    前記各端子板は、前記横棒部にコイル引出線結線用の2つのターミナル部を有するとともに前記縦棒部の先端に出力用リード線結線用の1つのターミナル部を有し、
    前記樹脂成形体は、前記横棒部の2つのターミナル部と前記縦棒部の1つのターミナル部とを除いて前記3個の端子板を囲包み固定するとともに前記縦棒部の周囲に前記貫通取付孔に圧入固定される取付脚部が形成されており、
    前記端子板セットは、前記貫通取付孔に前記取付脚部を圧入固定したとき、前記各端子板の横棒部の2つのターミナル部が回転子の奥側に位置するとともに前記各端子板の縦棒部の1つのターミナル部が回転子の開放側に位置するよう構成され、かつ、前記各端子板の横棒部の2つのターミナル部が各々当該ターミナル部に結線されるコイル引出線の端部近くに位置するよう横棒部の長さが予め調節されて構成されている
    ことを特徴とする三相磁石式発電機。
  2. 前記各端子板に、樹脂が充填された結合孔が形成されていることを特徴とする請求項1に記載の三相磁石式発電機。
  3. コイル引出線の集約部をコアの一端側に配すると共に、出力用リード線との接続をコアの他端側で行う三相磁石式発電機であって、
    前記集約部から前記コア他端側に接続するための複数のターミナル部と、このターミナル部を一体的に結合する結合部とを備えることを特徴とする三相磁石式発電機。
  4. 前記結合部は、該結合部を前記コアに固定するための保持金具部を有していることを特徴とする請求項3に記載の三相磁石式発電機。
  5. 前記ターミナル部は、該ターミナル部の前記コアへの結合強度を高めるための圧入樹脂部を有していることを特徴とする請求項3又は4に記載の三相磁石式発電機。
  6. 前記出力用リード線の切口部はシール材で覆われることを特徴とする請求項3に記載の三相磁石式発電機。
JP2005219318A 2004-11-04 2005-07-28 三相磁石式発電機 Expired - Fee Related JP4660310B2 (ja)

Priority Applications (2)

Application Number Priority Date Filing Date Title
JP2005219318A JP4660310B2 (ja) 2004-11-04 2005-07-28 三相磁石式発電機
US11/256,165 US7501729B2 (en) 2004-11-04 2005-10-24 Three-phase magnetic generator

Applications Claiming Priority (2)

Application Number Priority Date Filing Date Title
JP2004320629 2004-11-04
JP2005219318A JP4660310B2 (ja) 2004-11-04 2005-07-28 三相磁石式発電機

Publications (2)

Publication Number Publication Date
JP2006158181A true JP2006158181A (ja) 2006-06-15
JP4660310B2 JP4660310B2 (ja) 2011-03-30

Family

ID=36260997

Family Applications (1)

Application Number Title Priority Date Filing Date
JP2005219318A Expired - Fee Related JP4660310B2 (ja) 2004-11-04 2005-07-28 三相磁石式発電機

Country Status (2)

Country Link
US (1) US7501729B2 (ja)
JP (1) JP4660310B2 (ja)

Cited By (7)

* Cited by examiner, † Cited by third party
Publication number Priority date Publication date Assignee Title
JP2009189156A (ja) * 2008-02-06 2009-08-20 Mitsuba Corp 回転電機及び回転電機のシール方法
JP2010273482A (ja) * 2009-05-22 2010-12-02 Denso Trim Kk 三相磁石発電機
JP2013158144A (ja) * 2012-01-30 2013-08-15 Mitsuba Corp インシュレータ、及び回転電機
WO2016129287A1 (ja) * 2015-02-12 2016-08-18 デンソートリム株式会社 内燃機関用回転電機およびそのステータ
JP2016171641A (ja) * 2015-03-12 2016-09-23 本田技研工業株式会社 多極三相式回転電機
WO2017154466A1 (ja) * 2016-03-10 2017-09-14 デンソートリム株式会社 回転電機
JP2018029478A (ja) * 2015-10-28 2018-02-22 デンソートリム株式会社 内燃機関用回転電機

Families Citing this family (17)

* Cited by examiner, † Cited by third party
Publication number Priority date Publication date Assignee Title
JP4081100B2 (ja) * 2005-03-28 2008-04-23 松下電器産業株式会社 三相dcブラシレスモータ及び巻線方法
US7615899B2 (en) * 2005-12-13 2009-11-10 Mitsubishi Electric Corporation Magneto generator with arrangements for lead wires of three-phase windings
US7808137B2 (en) * 2006-10-05 2010-10-05 Remy Technologies, L.L.C. Single track layer stator terminal assembly
CN101826761B (zh) * 2009-03-05 2012-11-07 中山大洋电机股份有限公司 一种注塑定子
US9318936B2 (en) * 2010-07-21 2016-04-19 Romaine Electric Alternator stator lead and terminal insulator assembly
JP2012110188A (ja) * 2010-11-19 2012-06-07 Nippon Densan Corp 中間接続部材、ステータ及びモータ
KR101750116B1 (ko) * 2010-11-30 2017-06-22 엘지이노텍 주식회사 후크 터미널
JP5263368B2 (ja) * 2011-03-08 2013-08-14 株式会社豊田自動織機 電動圧縮機、及び電動圧縮機の組付方法
JP5506836B2 (ja) * 2012-02-10 2014-05-28 デンソートリム株式会社 磁石式発電機
WO2013146401A1 (ja) * 2012-03-30 2013-10-03 本田技研工業株式会社 回転電機
JP5490290B1 (ja) 2013-06-06 2014-05-14 三菱電機株式会社 電動パワーアシスト用モータ装置の給電部構造
JP5897062B2 (ja) * 2014-05-08 2016-03-30 三菱電機株式会社 圧縮機用電動機及び圧縮機及び冷凍サイクル装置及び圧縮機用電動機の製造方法
JP6382698B2 (ja) * 2014-11-26 2018-08-29 トヨタ自動車株式会社 三相回転電機
CN107689700B (zh) * 2016-08-05 2021-06-04 德昌电机(深圳)有限公司 定子及应用该定子的电机
WO2018105596A1 (ja) * 2016-12-06 2018-06-14 デンソートリム株式会社 内燃機関用回転電機およびそのステータ
KR102852657B1 (ko) * 2021-01-29 2025-08-29 현대모비스 주식회사 모터용 터미널 블록
US12451756B2 (en) * 2022-06-16 2025-10-21 Ford Global Technologies, Llc Electric machine

Citations (3)

* Cited by examiner, † Cited by third party
Publication number Priority date Publication date Assignee Title
JPS59162756A (ja) * 1983-03-03 1984-09-13 Nippon Denso Co Ltd 磁石発電機の固定子
JPH02303341A (ja) * 1989-05-17 1990-12-17 Kusatsu Denki Kk 電動機
JP2003047189A (ja) * 2001-07-30 2003-02-14 Tamagawa Seiki Co Ltd プリント基板を有するステータ構造

Family Cites Families (5)

* Cited by examiner, † Cited by third party
Publication number Priority date Publication date Assignee Title
JP2528848Y2 (ja) * 1988-09-29 1997-03-12 株式会社三協精機製作所 外転型ブラシレスモータ
MY109836A (en) * 1991-04-30 1997-08-30 Kk Sankyo Seiki Seisakusho Stator of rotating electric machine.
JP3491510B2 (ja) * 1997-12-05 2004-01-26 国産電機株式会社 磁石発電機用固定子
JPH11103551A (ja) * 1997-09-29 1999-04-13 Sawafuji Electric Co Ltd アウタロータ型多極発電機におけるコイル接続構造
JP2003259588A (ja) 2002-02-28 2003-09-12 Mitsuba Corp ターミナル挿通部を有するコイルボビン

Patent Citations (3)

* Cited by examiner, † Cited by third party
Publication number Priority date Publication date Assignee Title
JPS59162756A (ja) * 1983-03-03 1984-09-13 Nippon Denso Co Ltd 磁石発電機の固定子
JPH02303341A (ja) * 1989-05-17 1990-12-17 Kusatsu Denki Kk 電動機
JP2003047189A (ja) * 2001-07-30 2003-02-14 Tamagawa Seiki Co Ltd プリント基板を有するステータ構造

Cited By (13)

* Cited by examiner, † Cited by third party
Publication number Priority date Publication date Assignee Title
JP2009189156A (ja) * 2008-02-06 2009-08-20 Mitsuba Corp 回転電機及び回転電機のシール方法
JP2010273482A (ja) * 2009-05-22 2010-12-02 Denso Trim Kk 三相磁石発電機
JP2013158144A (ja) * 2012-01-30 2013-08-15 Mitsuba Corp インシュレータ、及び回転電機
JP6079944B2 (ja) * 2015-02-12 2017-02-15 デンソートリム株式会社 内燃機関用回転電機およびそのステータ
WO2016129287A1 (ja) * 2015-02-12 2016-08-18 デンソートリム株式会社 内燃機関用回転電機およびそのステータ
CN107210660A (zh) * 2015-02-12 2017-09-26 电装多利牡株式会社 内燃机用旋转电机及其定子
JP2016171641A (ja) * 2015-03-12 2016-09-23 本田技研工業株式会社 多極三相式回転電機
CN105978205A (zh) * 2015-03-12 2016-09-28 本田技研工业株式会社 多极三相式旋转电机
JP2018029478A (ja) * 2015-10-28 2018-02-22 デンソートリム株式会社 内燃機関用回転電機
CN108352757A (zh) * 2015-10-28 2018-07-31 电装多利牡株式会社 内燃机用旋转电机
CN108352757B (zh) * 2015-10-28 2020-03-31 电装多利牡株式会社 内燃机用旋转电机
WO2017154466A1 (ja) * 2016-03-10 2017-09-14 デンソートリム株式会社 回転電機
JPWO2017154466A1 (ja) * 2016-03-10 2018-09-13 デンソートリム株式会社 回転電機

Also Published As

Publication number Publication date
US7501729B2 (en) 2009-03-10
JP4660310B2 (ja) 2011-03-30
US20060091746A1 (en) 2006-05-04

Similar Documents

Publication Publication Date Title
JP4660310B2 (ja) 三相磁石式発電機
US11444502B2 (en) Coil bobbin, stator core of distributed winding radial gap-type rotating electric machine, and distributed winding radial gap-type rotating electric machine
KR101865230B1 (ko) 분할 코어 형 모터 및 분할 코어 형 모터의 전기자의 제조 방법
US6566779B2 (en) Coil winding for DC machine
US6664677B2 (en) Vehicle-onboard AC generator
JP5506836B2 (ja) 磁石式発電機
US6137198A (en) Stator for a magneto generator
US6278206B1 (en) Electrical connection apparatus and method for connecting an alternator stator
JP4344695B2 (ja) アウタロータ型多極発電機用ステータ及びその組立方法
JP6499371B2 (ja) 回転電機
WO2013118777A1 (ja) 磁石式発電機
JP2011055654A (ja) 電動機の冷却構造
JP2008029127A (ja) 車両用回転電機
EP1168570A2 (en) Coil winding for DC machine
JP2013027118A (ja) ステータおよび回転電機
US7095144B2 (en) Rectifying apparatus of AC generator for vehicle
JP2010074877A (ja) 回転電機および整流器用ヒートシンクの製造方法
JP7150171B2 (ja) 回転電機の固定子、端子台及び回転電機
JP5159658B2 (ja) 回転電機
JP7774498B2 (ja) 回転電機のステータ構造
CN106921265B (zh) 转子及其制造方法、以及dc电动机
JP2020171110A (ja) 回転電機
JP7768812B2 (ja) アウタロータ型回転電機用ステータおよびその組立方法
JP7787006B2 (ja) 回転電機のステータ構造
WO2024185370A1 (ja) 回転電機、回転電機用ステータ、回転電機用ステータの中性点ターミナル、及び回転電機用ステータの製造方法

Legal Events

Date Code Title Description
A621 Written request for application examination

Free format text: JAPANESE INTERMEDIATE CODE: A621

Effective date: 20071011

A977 Report on retrieval

Free format text: JAPANESE INTERMEDIATE CODE: A971007

Effective date: 20100706

A131 Notification of reasons for refusal

Free format text: JAPANESE INTERMEDIATE CODE: A131

Effective date: 20100713

A521 Written amendment

Free format text: JAPANESE INTERMEDIATE CODE: A523

Effective date: 20100903

TRDD Decision of grant or rejection written
A01 Written decision to grant a patent or to grant a registration (utility model)

Free format text: JAPANESE INTERMEDIATE CODE: A01

Effective date: 20101207

A01 Written decision to grant a patent or to grant a registration (utility model)

Free format text: JAPANESE INTERMEDIATE CODE: A01

A61 First payment of annual fees (during grant procedure)

Free format text: JAPANESE INTERMEDIATE CODE: A61

Effective date: 20101228

FPAY Renewal fee payment (event date is renewal date of database)

Free format text: PAYMENT UNTIL: 20140107

Year of fee payment: 3

R150 Certificate of patent or registration of utility model

Free format text: JAPANESE INTERMEDIATE CODE: R150

LAPS Cancellation because of no payment of annual fees