JP2005299631A - 自動車排気ガス浄化システム - Google Patents
自動車排気ガス浄化システム Download PDFInfo
- Publication number
- JP2005299631A JP2005299631A JP2004307258A JP2004307258A JP2005299631A JP 2005299631 A JP2005299631 A JP 2005299631A JP 2004307258 A JP2004307258 A JP 2004307258A JP 2004307258 A JP2004307258 A JP 2004307258A JP 2005299631 A JP2005299631 A JP 2005299631A
- Authority
- JP
- Japan
- Prior art keywords
- ccc
- catalyst
- flow path
- exhaust gas
- purification system
- Prior art date
- Legal status (The legal status is an assumption and is not a legal conclusion. Google has not performed a legal analysis and makes no representation as to the accuracy of the status listed.)
- Pending
Links
Images
Classifications
-
- B—PERFORMING OPERATIONS; TRANSPORTING
- B01—PHYSICAL OR CHEMICAL PROCESSES OR APPARATUS IN GENERAL
- B01D—SEPARATION
- B01D53/00—Separation of gases or vapours; Recovering vapours of volatile solvents from gases; Chemical or biological purification of waste gases, e.g. engine exhaust gases, smoke, fumes, flue gases, aerosols
- B01D53/34—Chemical or biological purification of waste gases
- B01D53/92—Chemical or biological purification of waste gases of engine exhaust gases
- B01D53/94—Chemical or biological purification of waste gases of engine exhaust gases by catalytic processes
- B01D53/9495—Controlling the catalytic process
-
- F—MECHANICAL ENGINEERING; LIGHTING; HEATING; WEAPONS; BLASTING
- F01—MACHINES OR ENGINES IN GENERAL; ENGINE PLANTS IN GENERAL; STEAM ENGINES
- F01N—GAS-FLOW SILENCERS OR EXHAUST APPARATUS FOR MACHINES OR ENGINES IN GENERAL; GAS-FLOW SILENCERS OR EXHAUST APPARATUS FOR INTERNAL-COMBUSTION ENGINES
- F01N9/00—Electrical control of exhaust gas treating apparatus
-
- B—PERFORMING OPERATIONS; TRANSPORTING
- B01—PHYSICAL OR CHEMICAL PROCESSES OR APPARATUS IN GENERAL
- B01D—SEPARATION
- B01D53/00—Separation of gases or vapours; Recovering vapours of volatile solvents from gases; Chemical or biological purification of waste gases, e.g. engine exhaust gases, smoke, fumes, flue gases, aerosols
- B01D53/34—Chemical or biological purification of waste gases
- B01D53/92—Chemical or biological purification of waste gases of engine exhaust gases
- B01D53/94—Chemical or biological purification of waste gases of engine exhaust gases by catalytic processes
- B01D53/9445—Simultaneously removing carbon monoxide, hydrocarbons or nitrogen oxides making use of three-way catalysts [TWC] or four-way-catalysts [FWC]
- B01D53/9454—Simultaneously removing carbon monoxide, hydrocarbons or nitrogen oxides making use of three-way catalysts [TWC] or four-way-catalysts [FWC] characterised by a specific device
-
- F—MECHANICAL ENGINEERING; LIGHTING; HEATING; WEAPONS; BLASTING
- F01—MACHINES OR ENGINES IN GENERAL; ENGINE PLANTS IN GENERAL; STEAM ENGINES
- F01N—GAS-FLOW SILENCERS OR EXHAUST APPARATUS FOR MACHINES OR ENGINES IN GENERAL; GAS-FLOW SILENCERS OR EXHAUST APPARATUS FOR INTERNAL-COMBUSTION ENGINES
- F01N13/00—Exhaust or silencing apparatus characterised by constructional features
- F01N13/009—Exhaust or silencing apparatus characterised by constructional features having two or more separate purifying devices arranged in series
-
- F—MECHANICAL ENGINEERING; LIGHTING; HEATING; WEAPONS; BLASTING
- F01—MACHINES OR ENGINES IN GENERAL; ENGINE PLANTS IN GENERAL; STEAM ENGINES
- F01N—GAS-FLOW SILENCERS OR EXHAUST APPARATUS FOR MACHINES OR ENGINES IN GENERAL; GAS-FLOW SILENCERS OR EXHAUST APPARATUS FOR INTERNAL-COMBUSTION ENGINES
- F01N13/00—Exhaust or silencing apparatus characterised by constructional features
- F01N13/009—Exhaust or silencing apparatus characterised by constructional features having two or more separate purifying devices arranged in series
- F01N13/0097—Exhaust or silencing apparatus characterised by constructional features having two or more separate purifying devices arranged in series the purifying devices are arranged in a single housing
-
- F—MECHANICAL ENGINEERING; LIGHTING; HEATING; WEAPONS; BLASTING
- F01—MACHINES OR ENGINES IN GENERAL; ENGINE PLANTS IN GENERAL; STEAM ENGINES
- F01N—GAS-FLOW SILENCERS OR EXHAUST APPARATUS FOR MACHINES OR ENGINES IN GENERAL; GAS-FLOW SILENCERS OR EXHAUST APPARATUS FOR INTERNAL-COMBUSTION ENGINES
- F01N13/00—Exhaust or silencing apparatus characterised by constructional features
- F01N13/011—Exhaust or silencing apparatus characterised by constructional features having two or more purifying devices arranged in parallel
-
- F—MECHANICAL ENGINEERING; LIGHTING; HEATING; WEAPONS; BLASTING
- F01—MACHINES OR ENGINES IN GENERAL; ENGINE PLANTS IN GENERAL; STEAM ENGINES
- F01N—GAS-FLOW SILENCERS OR EXHAUST APPARATUS FOR MACHINES OR ENGINES IN GENERAL; GAS-FLOW SILENCERS OR EXHAUST APPARATUS FOR INTERNAL-COMBUSTION ENGINES
- F01N3/00—Exhaust or silencing apparatus having means for purifying, rendering innocuous, or otherwise treating exhaust
- F01N3/08—Exhaust or silencing apparatus having means for purifying, rendering innocuous, or otherwise treating exhaust for rendering innocuous
- F01N3/0807—Exhaust or silencing apparatus having means for purifying, rendering innocuous, or otherwise treating exhaust for rendering innocuous by using absorbents or adsorbents
- F01N3/0828—Exhaust or silencing apparatus having means for purifying, rendering innocuous, or otherwise treating exhaust for rendering innocuous by using absorbents or adsorbents characterised by the absorbed or adsorbed substances
- F01N3/0835—Hydrocarbons
-
- F—MECHANICAL ENGINEERING; LIGHTING; HEATING; WEAPONS; BLASTING
- F01—MACHINES OR ENGINES IN GENERAL; ENGINE PLANTS IN GENERAL; STEAM ENGINES
- F01N—GAS-FLOW SILENCERS OR EXHAUST APPARATUS FOR MACHINES OR ENGINES IN GENERAL; GAS-FLOW SILENCERS OR EXHAUST APPARATUS FOR INTERNAL-COMBUSTION ENGINES
- F01N3/00—Exhaust or silencing apparatus having means for purifying, rendering innocuous, or otherwise treating exhaust
- F01N3/08—Exhaust or silencing apparatus having means for purifying, rendering innocuous, or otherwise treating exhaust for rendering innocuous
- F01N3/0807—Exhaust or silencing apparatus having means for purifying, rendering innocuous, or otherwise treating exhaust for rendering innocuous by using absorbents or adsorbents
- F01N3/0828—Exhaust or silencing apparatus having means for purifying, rendering innocuous, or otherwise treating exhaust for rendering innocuous by using absorbents or adsorbents characterised by the absorbed or adsorbed substances
- F01N3/0842—Nitrogen oxides
-
- F—MECHANICAL ENGINEERING; LIGHTING; HEATING; WEAPONS; BLASTING
- F01—MACHINES OR ENGINES IN GENERAL; ENGINE PLANTS IN GENERAL; STEAM ENGINES
- F01N—GAS-FLOW SILENCERS OR EXHAUST APPARATUS FOR MACHINES OR ENGINES IN GENERAL; GAS-FLOW SILENCERS OR EXHAUST APPARATUS FOR INTERNAL-COMBUSTION ENGINES
- F01N3/00—Exhaust or silencing apparatus having means for purifying, rendering innocuous, or otherwise treating exhaust
- F01N3/08—Exhaust or silencing apparatus having means for purifying, rendering innocuous, or otherwise treating exhaust for rendering innocuous
- F01N3/0807—Exhaust or silencing apparatus having means for purifying, rendering innocuous, or otherwise treating exhaust for rendering innocuous by using absorbents or adsorbents
- F01N3/0871—Exhaust or silencing apparatus having means for purifying, rendering innocuous, or otherwise treating exhaust for rendering innocuous by using absorbents or adsorbents using means for controlling, e.g. purging, the absorbents or adsorbents
- F01N3/0878—Bypassing absorbents or adsorbents
-
- F—MECHANICAL ENGINEERING; LIGHTING; HEATING; WEAPONS; BLASTING
- F01—MACHINES OR ENGINES IN GENERAL; ENGINE PLANTS IN GENERAL; STEAM ENGINES
- F01N—GAS-FLOW SILENCERS OR EXHAUST APPARATUS FOR MACHINES OR ENGINES IN GENERAL; GAS-FLOW SILENCERS OR EXHAUST APPARATUS FOR INTERNAL-COMBUSTION ENGINES
- F01N3/00—Exhaust or silencing apparatus having means for purifying, rendering innocuous, or otherwise treating exhaust
- F01N3/08—Exhaust or silencing apparatus having means for purifying, rendering innocuous, or otherwise treating exhaust for rendering innocuous
- F01N3/10—Exhaust or silencing apparatus having means for purifying, rendering innocuous, or otherwise treating exhaust for rendering innocuous by thermal or catalytic conversion of noxious components of exhaust
- F01N3/18—Exhaust or silencing apparatus having means for purifying, rendering innocuous, or otherwise treating exhaust for rendering innocuous by thermal or catalytic conversion of noxious components of exhaust characterised by methods of operation; Control
- F01N3/20—Exhaust or silencing apparatus having means for purifying, rendering innocuous, or otherwise treating exhaust for rendering innocuous by thermal or catalytic conversion of noxious components of exhaust characterised by methods of operation; Control specially adapted for catalytic conversion
- F01N3/2006—Periodically heating or cooling catalytic reactors, e.g. at cold starting or overheating
-
- F—MECHANICAL ENGINEERING; LIGHTING; HEATING; WEAPONS; BLASTING
- F01—MACHINES OR ENGINES IN GENERAL; ENGINE PLANTS IN GENERAL; STEAM ENGINES
- F01N—GAS-FLOW SILENCERS OR EXHAUST APPARATUS FOR MACHINES OR ENGINES IN GENERAL; GAS-FLOW SILENCERS OR EXHAUST APPARATUS FOR INTERNAL-COMBUSTION ENGINES
- F01N3/00—Exhaust or silencing apparatus having means for purifying, rendering innocuous, or otherwise treating exhaust
- F01N3/08—Exhaust or silencing apparatus having means for purifying, rendering innocuous, or otherwise treating exhaust for rendering innocuous
- F01N3/10—Exhaust or silencing apparatus having means for purifying, rendering innocuous, or otherwise treating exhaust for rendering innocuous by thermal or catalytic conversion of noxious components of exhaust
- F01N3/18—Exhaust or silencing apparatus having means for purifying, rendering innocuous, or otherwise treating exhaust for rendering innocuous by thermal or catalytic conversion of noxious components of exhaust characterised by methods of operation; Control
- F01N3/20—Exhaust or silencing apparatus having means for purifying, rendering innocuous, or otherwise treating exhaust for rendering innocuous by thermal or catalytic conversion of noxious components of exhaust characterised by methods of operation; Control specially adapted for catalytic conversion
- F01N3/2053—By-passing catalytic reactors, e.g. to prevent overheating
-
- B—PERFORMING OPERATIONS; TRANSPORTING
- B01—PHYSICAL OR CHEMICAL PROCESSES OR APPARATUS IN GENERAL
- B01D—SEPARATION
- B01D2255/00—Catalysts
- B01D2255/20—Metals or compounds thereof
- B01D2255/202—Alkali metals
- B01D2255/2022—Potassium
-
- B—PERFORMING OPERATIONS; TRANSPORTING
- B01—PHYSICAL OR CHEMICAL PROCESSES OR APPARATUS IN GENERAL
- B01D—SEPARATION
- B01D2255/00—Catalysts
- B01D2255/50—Zeolites
-
- B—PERFORMING OPERATIONS; TRANSPORTING
- B01—PHYSICAL OR CHEMICAL PROCESSES OR APPARATUS IN GENERAL
- B01D—SEPARATION
- B01D2255/00—Catalysts
- B01D2255/90—Physical characteristics of catalysts
- B01D2255/91—NOx-storage component incorporated in the catalyst
-
- B—PERFORMING OPERATIONS; TRANSPORTING
- B01—PHYSICAL OR CHEMICAL PROCESSES OR APPARATUS IN GENERAL
- B01D—SEPARATION
- B01D2255/00—Catalysts
- B01D2255/90—Physical characteristics of catalysts
- B01D2255/912—HC-storage component incorporated in the catalyst
-
- F—MECHANICAL ENGINEERING; LIGHTING; HEATING; WEAPONS; BLASTING
- F01—MACHINES OR ENGINES IN GENERAL; ENGINE PLANTS IN GENERAL; STEAM ENGINES
- F01N—GAS-FLOW SILENCERS OR EXHAUST APPARATUS FOR MACHINES OR ENGINES IN GENERAL; GAS-FLOW SILENCERS OR EXHAUST APPARATUS FOR INTERNAL-COMBUSTION ENGINES
- F01N13/00—Exhaust or silencing apparatus characterised by constructional features
- F01N13/14—Exhaust or silencing apparatus characterised by constructional features having thermal insulation
-
- F—MECHANICAL ENGINEERING; LIGHTING; HEATING; WEAPONS; BLASTING
- F01—MACHINES OR ENGINES IN GENERAL; ENGINE PLANTS IN GENERAL; STEAM ENGINES
- F01N—GAS-FLOW SILENCERS OR EXHAUST APPARATUS FOR MACHINES OR ENGINES IN GENERAL; GAS-FLOW SILENCERS OR EXHAUST APPARATUS FOR INTERNAL-COMBUSTION ENGINES
- F01N2410/00—By-passing, at least partially, exhaust from inlet to outlet of apparatus, to atmosphere or to other device
- F01N2410/02—By-passing, at least partially, exhaust from inlet to outlet of apparatus, to atmosphere or to other device in case of high temperature, e.g. overheating of catalytic reactor
-
- F—MECHANICAL ENGINEERING; LIGHTING; HEATING; WEAPONS; BLASTING
- F01—MACHINES OR ENGINES IN GENERAL; ENGINE PLANTS IN GENERAL; STEAM ENGINES
- F01N—GAS-FLOW SILENCERS OR EXHAUST APPARATUS FOR MACHINES OR ENGINES IN GENERAL; GAS-FLOW SILENCERS OR EXHAUST APPARATUS FOR INTERNAL-COMBUSTION ENGINES
- F01N2570/00—Exhaust treating apparatus eliminating, absorbing or adsorbing specific elements or compounds
- F01N2570/12—Hydrocarbons
-
- F—MECHANICAL ENGINEERING; LIGHTING; HEATING; WEAPONS; BLASTING
- F01—MACHINES OR ENGINES IN GENERAL; ENGINE PLANTS IN GENERAL; STEAM ENGINES
- F01N—GAS-FLOW SILENCERS OR EXHAUST APPARATUS FOR MACHINES OR ENGINES IN GENERAL; GAS-FLOW SILENCERS OR EXHAUST APPARATUS FOR INTERNAL-COMBUSTION ENGINES
- F01N2570/00—Exhaust treating apparatus eliminating, absorbing or adsorbing specific elements or compounds
- F01N2570/14—Nitrogen oxides
-
- F—MECHANICAL ENGINEERING; LIGHTING; HEATING; WEAPONS; BLASTING
- F01—MACHINES OR ENGINES IN GENERAL; ENGINE PLANTS IN GENERAL; STEAM ENGINES
- F01N—GAS-FLOW SILENCERS OR EXHAUST APPARATUS FOR MACHINES OR ENGINES IN GENERAL; GAS-FLOW SILENCERS OR EXHAUST APPARATUS FOR INTERNAL-COMBUSTION ENGINES
- F01N3/00—Exhaust or silencing apparatus having means for purifying, rendering innocuous, or otherwise treating exhaust
- F01N3/08—Exhaust or silencing apparatus having means for purifying, rendering innocuous, or otherwise treating exhaust for rendering innocuous
- F01N3/0807—Exhaust or silencing apparatus having means for purifying, rendering innocuous, or otherwise treating exhaust for rendering innocuous by using absorbents or adsorbents
- F01N3/0814—Exhaust or silencing apparatus having means for purifying, rendering innocuous, or otherwise treating exhaust for rendering innocuous by using absorbents or adsorbents combined with catalytic converters, e.g. NOx absorption/storage reduction catalysts
-
- Y—GENERAL TAGGING OF NEW TECHNOLOGICAL DEVELOPMENTS; GENERAL TAGGING OF CROSS-SECTIONAL TECHNOLOGIES SPANNING OVER SEVERAL SECTIONS OF THE IPC; TECHNICAL SUBJECTS COVERED BY FORMER USPC CROSS-REFERENCE ART COLLECTIONS [XRACs] AND DIGESTS
- Y02—TECHNOLOGIES OR APPLICATIONS FOR MITIGATION OR ADAPTATION AGAINST CLIMATE CHANGE
- Y02A—TECHNOLOGIES FOR ADAPTATION TO CLIMATE CHANGE
- Y02A50/00—TECHNOLOGIES FOR ADAPTATION TO CLIMATE CHANGE in human health protection, e.g. against extreme weather
- Y02A50/20—Air quality improvement or preservation, e.g. vehicle emission control or emission reduction by using catalytic converters
-
- Y—GENERAL TAGGING OF NEW TECHNOLOGICAL DEVELOPMENTS; GENERAL TAGGING OF CROSS-SECTIONAL TECHNOLOGIES SPANNING OVER SEVERAL SECTIONS OF THE IPC; TECHNICAL SUBJECTS COVERED BY FORMER USPC CROSS-REFERENCE ART COLLECTIONS [XRACs] AND DIGESTS
- Y02—TECHNOLOGIES OR APPLICATIONS FOR MITIGATION OR ADAPTATION AGAINST CLIMATE CHANGE
- Y02T—CLIMATE CHANGE MITIGATION TECHNOLOGIES RELATED TO TRANSPORTATION
- Y02T10/00—Road transport of goods or passengers
- Y02T10/10—Internal combustion engine [ICE] based vehicles
- Y02T10/12—Improving ICE efficiencies
Landscapes
- Engineering & Computer Science (AREA)
- Chemical & Material Sciences (AREA)
- Combustion & Propulsion (AREA)
- Mechanical Engineering (AREA)
- General Engineering & Computer Science (AREA)
- Chemical Kinetics & Catalysis (AREA)
- Health & Medical Sciences (AREA)
- Biomedical Technology (AREA)
- Toxicology (AREA)
- Environmental & Geological Engineering (AREA)
- Analytical Chemistry (AREA)
- General Chemical & Material Sciences (AREA)
- Oil, Petroleum & Natural Gas (AREA)
- Exhaust Gas After Treatment (AREA)
- Exhaust Silencers (AREA)
- Exhaust Gas Treatment By Means Of Catalyst (AREA)
Abstract
【課題】排気ガスの浄化能力が高く、製造コスト低減が可能で、CCC触媒の耐熱性及び耐久性のよい自動車排気ガス浄化システムを提供する。
【解決手段】本発明は、自動車排気ガス浄化システムであって、ハウジング内部にHC吸着触媒とNOx吸着触媒が直列に内装されて排気経路上でエンジン排気マニフォールドの方に近く設けられ、排気ガスが前記2つの吸着触媒を介さずに直ちに排出されるバイパス流路を有するCCCと;該CCCの後方に車体フロアの下側の排気パイプの途中に設けられるUCCと;前記UCC内の触媒の温度を検出するための温度感知センサと;該温度感知センサの信号を入力され、前記CCC内の排気経路を前記バイパス流路に切り換えるための制御信号を出力するECUと;該ECUの制御信号によって前記CCC内の吸着触媒側の流路とバイパス流路間の排気経路を切り換える流路切換手段と;を含むことを特徴とする。
【選択図】図1
【解決手段】本発明は、自動車排気ガス浄化システムであって、ハウジング内部にHC吸着触媒とNOx吸着触媒が直列に内装されて排気経路上でエンジン排気マニフォールドの方に近く設けられ、排気ガスが前記2つの吸着触媒を介さずに直ちに排出されるバイパス流路を有するCCCと;該CCCの後方に車体フロアの下側の排気パイプの途中に設けられるUCCと;前記UCC内の触媒の温度を検出するための温度感知センサと;該温度感知センサの信号を入力され、前記CCC内の排気経路を前記バイパス流路に切り換えるための制御信号を出力するECUと;該ECUの制御信号によって前記CCC内の吸着触媒側の流路とバイパス流路間の排気経路を切り換える流路切換手段と;を含むことを特徴とする。
【選択図】図1
Description
本発明は、自動車排気ガス浄化システムに関し、エンジン排気マニフォールド近くに設けられるCCC(Close Catalytic Converter)と、車体フロアの下側に設けられるUCC(Underfloor Catalytic Converter)と、CCC内に貴金属担持量が低いHC吸着触媒とNOx吸着触媒を設ける一方、バイパス流路と流路切換手段を含む可変流路システムを備えることを特徴とする自動車排気ガス浄化システムに関する。
自動車の排気ガスは、エンジンで混合器の燃焼によって生成され、排気パイプを介して大気中に放出されるガスであり、排気ガスには一酸化炭素(CO)、窒素酸化物(NOx)、未燃焼炭化水素(HC)など、人体に有害な物質が多量含まれている。
したがって、自動車排気ガスによる大気汚染を防止することが環境衛生上重要な問題とされており、自動車では排気ガスを排出する前に必ず浄化処理を行うよう規制している。
したがって、自動車排気ガスによる大気汚染を防止することが環境衛生上重要な問題とされており、自動車では排気ガスを排出する前に必ず浄化処理を行うよう規制している。
自動車において排気ガスを浄化するために主に用いられる装置は、3元触媒(three way catalyst)を用いた触媒コンバーターであるが、これは排気パイプの途中に取り付けられ、車両によって排気ガス排出量が異なるため、触媒の仕様は異なる。
ここで、3元触媒は、排気ガスの有害成分である一酸化炭素、窒素酸化物及び炭化水素系化合物と同時に反応してこれらの化合物を除去する触媒を意味し、主にPt(白金)/Rh(ロジウム)、Pd(パラジウム)/RhまたはPt/Pd/Rh系の3元触媒が使用される。
一方、ガソリン乗用車の場合、排気ガスの後処理装置として大部分車体フロアの下側に設けられる触媒コンバーター、すなわちUCC(Underfloor Catalytic Converter)が適用されており、現在浄化率を高めるために触媒の体積を大きくする趨勢にあるが、車体の地上高が低いため、横断面形状が左右両側方に長く形成された楕円形(oval or racetrack形態)の触媒が主に使用されている。
ここで、3元触媒は、排気ガスの有害成分である一酸化炭素、窒素酸化物及び炭化水素系化合物と同時に反応してこれらの化合物を除去する触媒を意味し、主にPt(白金)/Rh(ロジウム)、Pd(パラジウム)/RhまたはPt/Pd/Rh系の3元触媒が使用される。
一方、ガソリン乗用車の場合、排気ガスの後処理装置として大部分車体フロアの下側に設けられる触媒コンバーター、すなわちUCC(Underfloor Catalytic Converter)が適用されており、現在浄化率を高めるために触媒の体積を大きくする趨勢にあるが、車体の地上高が低いため、横断面形状が左右両側方に長く形成された楕円形(oval or racetrack形態)の触媒が主に使用されている。
現在、前記ガソリン車両の排気ガス浄化システムの最大目標は初期始動時の有害成分の排出を最小にすることである。初期始動時には排気ガスが触媒を通過するが、触媒が十分ウォーミングアップ(warm−up)されていない状態であり、触媒の温度が排気ガスの有害成分を無害に変換できるほど十分に高くない状態であるため、初期始動時の有害成分の排出を最小にするには、触媒の温度を出来るだけ速く昇温させることが必要である。
特に、全体的にHC及びNoxの2/3以上が初期始動時である触媒が十分ウォーミングアップされていない状態で排出されるので、初期始動時のHC及びNoxの低減が排気ガス低減技術の最優先課題となっている。
特に、全体的にHC及びNoxの2/3以上が初期始動時である触媒が十分ウォーミングアップされていない状態で排出されるので、初期始動時のHC及びNoxの低減が排気ガス低減技術の最優先課題となっている。
このため、触媒コンバーターをエンジンの排気マニフォールドに最大限近く設けるか(CCC:Close Catalytic Converter)、または特開平9−222009号及び特開平5−86845号に開示されているように、電気的に或いは燃焼によって触媒を加熱して強制的にウォーミングアップさせる方法が提案されている(EHC: Electrically Heated Catalyst, BHC:Burner Heated Catalyst)。
また他の方法としては、CCCの触媒に貴金属担持量を高めて触媒自体のウォーミングアップ時間を短縮させるか、触媒の熱容量を減らすために超薄壁担体や金属担体を使用する方法もあり、熱損失を減らすために二重管パイプ或いは二重管排気マニフォールドを適用する方法もある。
また他の方法としては、CCCの触媒に貴金属担持量を高めて触媒自体のウォーミングアップ時間を短縮させるか、触媒の熱容量を減らすために超薄壁担体や金属担体を使用する方法もあり、熱損失を減らすために二重管パイプ或いは二重管排気マニフォールドを適用する方法もある。
しかし、このような従来の排気ガス浄化システムには次のような問題がある。
まず、CCCのように触媒をエンジン側に近く位置する場合では、触媒の耐久性及び耐熱性に悪い影響を与えるという問題がある。
また、EHCやBHCの場合は、過多な電気容量(バッテリーやオルタネーター)を要求しており、また、触媒の加熱のために別途の燃料を使用する必要があり、触媒に甚だしい熱を加えて触媒に致命的な熱的損傷を与えることもある。
触媒の貴金属担持量を高める場合には、高価な貴金属使用量が増えるため、触媒の製造コストが高くなるという問題がある。
特開平9−222009号公報
特開平5−86845号公報
まず、CCCのように触媒をエンジン側に近く位置する場合では、触媒の耐久性及び耐熱性に悪い影響を与えるという問題がある。
また、EHCやBHCの場合は、過多な電気容量(バッテリーやオルタネーター)を要求しており、また、触媒の加熱のために別途の燃料を使用する必要があり、触媒に甚だしい熱を加えて触媒に致命的な熱的損傷を与えることもある。
触媒の貴金属担持量を高める場合には、高価な貴金属使用量が増えるため、触媒の製造コストが高くなるという問題がある。
本発明は、前記のような問題を解決するためになされたものであって、CCCとUCCを設けるが、CCC内には貴金属担持量が低いHC吸着触媒とNOx吸着触媒を設ける。一方、バイパス流路と流路切換手段を含む可変流路システムを備えることによって、初期始動時にはCCC内の前記吸着触媒に排気ガスが流れるようにしてこれらの吸着触媒が排気ガスを浄化するようにし、以降後方UCC触媒のウォーミングアップ状態ではCCC内の吸着触媒への流路は遮断し、UCC触媒にのみ排気ガスが流れるようにする。これにより、該UCC触媒が正常に排気ガスを浄化するようにして、浄化性能の向上はもちろん、貴金属をほとんど使用しないHC吸着触媒及びNOx吸着触媒をCCC内に使用することで、製造コストの節減が可能となる。また、可変流路を用いてCCC触媒を始動初期にのみ短時間使用するので、CCC触媒の耐熱性及び耐久性の問題が生じない。
すなわち、本発明は、排気ガスの浄化能力が高く、製造コスト低減が可能で、CCC触媒の耐熱性及び耐久性のよい自動車排気ガス浄化システムを提供することにその目的がある。
すなわち、本発明は、排気ガスの浄化能力が高く、製造コスト低減が可能で、CCC触媒の耐熱性及び耐久性のよい自動車排気ガス浄化システムを提供することにその目的がある。
本発明は、自動車排気ガス浄化システムであって、ハウジング内部にHC吸着触媒とNOx吸着触媒が直列に内装されて排気経路上でエンジン排気マニフォールドの方に近く設けられ、排気ガスが前記2つの吸着触媒を介さずに直ちに排出されるようにするバイパス流路を有するCCCと;該CCCの後方に車体フロアの下側の排気パイプの途中に設けられるUCCと;前記UCC内の触媒の温度を検出するための温度感知センサと;該温度感知センサの信号を入力され、既に設定された温度以上の場合、前記UCC内の触媒のウォーミングアップ状態であることを判断して前記CCC内の排気経路を前記バイパス流路に切り換えるための制御信号を出力するECUと;該ECUの制御信号によって前記CCC内の吸着触媒側の流路とバイパス流路間の排気経路を切り換える流路切換手段と;を含むことを特徴とする。
本発明に係る自動車排気ガス浄化システムによれば、UCC触媒が正常に排気ガスを浄化するようにすることによって、浄化性能の向上はもちろん、貴金属をほとんど使用しないHC吸着触媒及びNOx吸着触媒をCCC内に使用することによって、製造コストの節減が可能であり、可変流路を用いてCCC触媒を始動初期にのみ短時間使用するので、CCC触媒の耐熱性及び耐久性の問題が生じないという効果がある。
以下、添付の図面を参照して本発明を詳しく説明する。
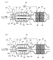
図1(a)及び図1(b)は、本発明に係る排気ガス浄化システムの構成及び作動状態を示す断面図であり、図2(a)及び図2(b)、図3(a)及び図3(b)は本発明において、ボールバルブの回転位置によるCCC入口通路の流路開閉状態を示す断面図である。
また、図4(a)及び図4(b)は、本発明において、ボールバルブの回転位置による中間パイプ流路の開閉状態を示す斜視図である。
また、図4(a)及び図4(b)は、本発明において、ボールバルブの回転位置による中間パイプ流路の開閉状態を示す斜視図である。
図示するように、エンジンの排気マニフォールドからの排気ガスを大気に放出するための車体後尾までの排気経路上にCCC110とUCC120が直列配置される。
従来と同様に、CCC110は排気経路上で排気マニフォールドに出来る限り近く設け、UCC120は車体フロアの下側に位置する排気パイプの途中に設ける。UCC120を排気マニフォールド側に近接して設けることも可能であり、この際、UCC120は第2CCCと称する。
CCC110は、ハウジング111の内部にHC吸着触媒112とNOx吸着触媒113を前後直列配置する。前方に位置するHC吸着触媒112としては、ゼオライト系触媒としてAl/Si比が非常に低いため耐熱性が大きい触媒を使用することが好ましく、その後方のNOx吸着触媒113にはカリウム系触媒を使用してもよい。
従来と同様に、CCC110は排気経路上で排気マニフォールドに出来る限り近く設け、UCC120は車体フロアの下側に位置する排気パイプの途中に設ける。UCC120を排気マニフォールド側に近接して設けることも可能であり、この際、UCC120は第2CCCと称する。
CCC110は、ハウジング111の内部にHC吸着触媒112とNOx吸着触媒113を前後直列配置する。前方に位置するHC吸着触媒112としては、ゼオライト系触媒としてAl/Si比が非常に低いため耐熱性が大きい触媒を使用することが好ましく、その後方のNOx吸着触媒113にはカリウム系触媒を使用してもよい。
また、各吸着触媒112,113の中央には、CCC入口通路111aを介して入った排気ガスを2つの吸着触媒112,113を通過せずに直ちにCCC出口通路111bを介して排出させて一種のバイパス流路として、中間パイプ114を縦方向に貫設させる。
中間パイプ114は、CCC110内の2つの吸着触媒112,113の中央ホール112a,113aを介して前後に長く挿設され、CCCハウジング111の内部を通過して、その入口と出口がそれぞれCCC吸着触媒112,113の前方と後方、より明確には、CCCハウジング111の入口通路111aと出口通路111bに位置する流路を形成する。特に、中間パイプ114の内部に流れる排気ガスはCCC内のHC吸着触媒112とNOx吸着触媒113を通過せずに直ちにCCC110の後端に排出された後UCC120に流れるようになる。
なお、2つの吸着触媒112,113の中央ホール112a,113aの内面と中間パイプ114の外面との間にはインシュレータ(insulator;115)が設けられる。
中間パイプ114は、CCC110内の2つの吸着触媒112,113の中央ホール112a,113aを介して前後に長く挿設され、CCCハウジング111の内部を通過して、その入口と出口がそれぞれCCC吸着触媒112,113の前方と後方、より明確には、CCCハウジング111の入口通路111aと出口通路111bに位置する流路を形成する。特に、中間パイプ114の内部に流れる排気ガスはCCC内のHC吸着触媒112とNOx吸着触媒113を通過せずに直ちにCCC110の後端に排出された後UCC120に流れるようになる。
なお、2つの吸着触媒112,113の中央ホール112a,113aの内面と中間パイプ114の外面との間にはインシュレータ(insulator;115)が設けられる。
一方、UCC120は、ハウジング121の内部に従来と同様に2つの触媒、すなわち第1触媒122と第2触媒123を前後直列に配置してもよく、第1触媒122には温度感知センサ130が設けられる。
温度感知センサ130は第1触媒122の温度を検出し、それによる電気的信号を出力するもので、これはUCC触媒のウォーミングアップ状態を感知するための手段となる。
温度感知センサ130は熱電対(thermocouple)で、この際、第1触媒122の担体に別途の挿入空間を設け、該挿入空間に熱電対を長く挿入する。
温度感知センサ130は第1触媒122の温度を検出し、それによる電気的信号を出力するもので、これはUCC触媒のウォーミングアップ状態を感知するための手段となる。
温度感知センサ130は熱電対(thermocouple)で、この際、第1触媒122の担体に別途の挿入空間を設け、該挿入空間に熱電対を長く挿入する。
また、本発明に係る排気ガス浄化システムはCCC110のハウジング111の内部で中間パイプ114によって区分される2つの流路、すなわち中間パイプ114の内側の内部流路114aと中間パイプ114の外側の外部流路116間で排気ガスの流れを切り換える流路切換手段150を含む。流路切換手段150はUCC120内の温度感知センサ130の出力信号を受けてUCC触媒122のウォーミングアップ状態を判断するECU140の制御信号によって駆動が制御される。
流路切換手段150はECU140の制御信号によって駆動が制御されるモータ151と、モータ151の駆動によって2つの流路114a,116間の排気ガスの流れを切り換えるバルブ152を含む。
流路切換手段150はECU140の制御信号によって駆動が制御されるモータ151と、モータ151の駆動によって2つの流路114a,116間の排気ガスの流れを切り換えるバルブ152を含む。
好ましい実施形態として、バルブ152はモータ151の回転軸151aの先端に固定設置されたボールバルブで実施可能であり、このようなボールバルブ152を採用した流路切換手段150についてさらに詳しく説明すると次の通りである。
まず、モータ151はCCC入口通路111aの外側にCCCハウジング111または隣りの車体側の所定位置に取り付けられ、ボールバルブ152はCCC入口通路111aの内部に設けられる。
この際、CCC入口通路111aの内径と同一直径のボールバルブ152が用いられるが、ボールバルブ152はCCC入口通路111aを塞いでいる状態で中間パイプ114の前端入口に位置するように設けられる。
まず、モータ151はCCC入口通路111aの外側にCCCハウジング111または隣りの車体側の所定位置に取り付けられ、ボールバルブ152はCCC入口通路111aの内部に設けられる。
この際、CCC入口通路111aの内径と同一直径のボールバルブ152が用いられるが、ボールバルブ152はCCC入口通路111aを塞いでいる状態で中間パイプ114の前端入口に位置するように設けられる。
また、モータ151の回転軸151aの先端がボールバルブ152の上端中心に連結され、モータ151によりボールバルブ152が回転するようになっている。
ボールバルブ152は中央を貫通して形成したガス流路153を有し、ガス流路153の両端部側には内側に凹んだ形状の凹部153a,153bが形成されている。後述のように、ガス流路153と中間パイプ114が互いに横方向に配置されるボールバルブの位置では、凹部153a,153bがボールバルブ152の両側方でCCC入口通路111aの内面と排気ガス流路を形成するようになっている(図2(a)及び図2(b)参照)。
ボールバルブ152は中央を貫通して形成したガス流路153を有し、ガス流路153の両端部側には内側に凹んだ形状の凹部153a,153bが形成されている。後述のように、ガス流路153と中間パイプ114が互いに横方向に配置されるボールバルブの位置では、凹部153a,153bがボールバルブ152の両側方でCCC入口通路111aの内面と排気ガス流路を形成するようになっている(図2(a)及び図2(b)参照)。
このような流路切換手段150では、ボールバルブ152の回転位置に応じて流路の切り換えがなされる。モータ151はECU140から出力される制御信号で駆動されボールバルブ152を回転軸151aを介して0°または90°位置に回転させて流路114a,116間の切り換えを行う。0°から360°に回転しながら流路を切り換えることが可能である。
ボールバルブ152が0°位置にある場合(初期始動時である)、中間パイプ114の内部流路114aがボールバルブ152によって遮断され、中間パイプ114外部の流路116が開く状態となる。図2(a)及び図2(b)に示すように、ボールバルブ152のガス流路153が中間パイプ114とは横方向に配置されるとともに中間パイプ114の前端入口がボールバルブ152によって塞がれた状態となる。また、ガス流路153の両端部側には凹部153a,153bによってCCC入口通路111aの内面とボールバルブ152との間に排気ガスが通過できる流路が生じるようになる。
ボールバルブ152が0°位置にある場合(初期始動時である)、中間パイプ114の内部流路114aがボールバルブ152によって遮断され、中間パイプ114外部の流路116が開く状態となる。図2(a)及び図2(b)に示すように、ボールバルブ152のガス流路153が中間パイプ114とは横方向に配置されるとともに中間パイプ114の前端入口がボールバルブ152によって塞がれた状態となる。また、ガス流路153の両端部側には凹部153a,153bによってCCC入口通路111aの内面とボールバルブ152との間に排気ガスが通過できる流路が生じるようになる。
また、凹部153a,153bなしでも、ガス流路のサイズ及び形状によって中間パイプ114とガス流路113を横方向に配置する場合、CCC入口通路の内面とガス流路の両端部の間に流路が形成される。この空間を通過した排気ガスは、中間パイプ114外側のHC吸着触媒112とNOx吸着触媒113を順次通過した後、CCC出口通路111bを介して排出され、排気パイプを介してUCC120に流れるようになる。
反面、ボールバルブ152がモータの駆動によって90°位置に回転した状態(UCC触媒のウォーミングアップ状態)では、中間パイプ114外部の流路116がボールバルブ152によって遮断され、中間パイプ114の内部流路114aが開く状態となる。図3(a)及び図3(b)に示すように、ボールバルブ152のガス流路153が中間パイプ114と同一方向に配置され、中間パイプ114の前端入口がボールバルブ152によって開くとともに、ボールバルブ152のガス流路153と中間パイプ114の内部流路114aが互いに連結された状態となる。
この状態では、CCC入口通路111aから入った排気ガスがボールバルブ152のガス流路153及び中間パイプ114の内部流路114aを順次通過した後、CCC出口通路111bを経て排気パイプに排出されUCC120に流れるようになる。
すなわち、ボールバルブ152が90°回転位置に置かれた状態では、中間パイプ114外部の流路116が遮断されることにより、CCC入口通路111aから入った排気ガスがHC吸着触媒112とNOx吸着触媒113を通過せずにUCC120に流れるようになる。
本発明の他の実施形態では、ボールバルブの位置が0°であるとき、ボールバルブのガス流路153と中間パイプ114の内部流路が連結されるようにし、90°であるとき、中間パイプ114の内部流路114aがボールバルブ152によって遮断され、中間パイプ114の外部の流路116が開くように設定することもできる。
すなわち、ボールバルブ152が90°回転位置に置かれた状態では、中間パイプ114外部の流路116が遮断されることにより、CCC入口通路111aから入った排気ガスがHC吸着触媒112とNOx吸着触媒113を通過せずにUCC120に流れるようになる。
本発明の他の実施形態では、ボールバルブの位置が0°であるとき、ボールバルブのガス流路153と中間パイプ114の内部流路が連結されるようにし、90°であるとき、中間パイプ114の内部流路114aがボールバルブ152によって遮断され、中間パイプ114の外部の流路116が開くように設定することもできる。
排気ガス流路の切り換え状態を図4(a)及び図4(b)の斜視図を介して説明する。
ボールバルブ152のガス流路153が中間パイプ114と横方向に配置された状態(ボールバルブの0°位置)では、ガス流路153の両端部側の凹部153a,153bを通過して中間パイプの外側流路116に排気ガスが流れるようになる(図4(a))。その後ボールバルブ152が90°回転してガス流路153が中間パイプ114と同一方向に配置される場合、ガス流路153と中間パイプの内部流路114aを介して排気ガスが流れるようになる。
ボールバルブ152のガス流路153が中間パイプ114と横方向に配置された状態(ボールバルブの0°位置)では、ガス流路153の両端部側の凹部153a,153bを通過して中間パイプの外側流路116に排気ガスが流れるようになる(図4(a))。その後ボールバルブ152が90°回転してガス流路153が中間パイプ114と同一方向に配置される場合、ガス流路153と中間パイプの内部流路114aを介して排気ガスが流れるようになる。
図4(a)及び図4(b)において、図面符号114bは中間パイプ114の前端入口で両側方に形成された羽根部であり、羽根部114bはガス流路153の後端部側の凹部153bを完全に覆うようになる。
すなわち、ボールバルブ152において凹部153a,153bは両側方に広く形成されているが、ガス流路153を通過した排気ガスが外部に漏れず、中間パイプ114の内部にすべて流れるようにするためには、羽根部114bがボールバルブ152の後端部側の凹部153bを完全に覆う必要がある。
また、ボールバルブ152が回転するとき、ボールバルブ152の表面が中間パイプ114の羽根部114bの前面と互いに接触した状態でスライドしなければ排気ガスが漏れるため、羽根部114bはボールバルブ152の表面曲率と同じ曲率の曲面とする必要がある。
すなわち、ボールバルブ152において凹部153a,153bは両側方に広く形成されているが、ガス流路153を通過した排気ガスが外部に漏れず、中間パイプ114の内部にすべて流れるようにするためには、羽根部114bがボールバルブ152の後端部側の凹部153bを完全に覆う必要がある。
また、ボールバルブ152が回転するとき、ボールバルブ152の表面が中間パイプ114の羽根部114bの前面と互いに接触した状態でスライドしなければ排気ガスが漏れるため、羽根部114bはボールバルブ152の表面曲率と同じ曲率の曲面とする必要がある。
以下、本発明に係る排気ガス浄化システムの全体的な作動状態を説明する。
本発明の排気ガス浄化システムは、可変流路を適用し、初期始動時にはCCC110内のHC吸着触媒112及びNOx吸着触媒113に排気ガスが流れるようにしてこれらを介して排気ガスが浄化されるようにし、以降、後方のUCC120内の触媒122,123が十分にウォーミングアップ状態(例、触媒温度が200℃以上)になった場合は、HC吸着触媒112及びNOx吸着触媒113への流路116は遮断し、UCC120内の触媒にのみ排気ガスが流れるようにし、UCC120が正常に排気ガスを浄化するようにしたシステムである。
本発明の排気ガス浄化システムは、可変流路を適用し、初期始動時にはCCC110内のHC吸着触媒112及びNOx吸着触媒113に排気ガスが流れるようにしてこれらを介して排気ガスが浄化されるようにし、以降、後方のUCC120内の触媒122,123が十分にウォーミングアップ状態(例、触媒温度が200℃以上)になった場合は、HC吸着触媒112及びNOx吸着触媒113への流路116は遮断し、UCC120内の触媒にのみ排気ガスが流れるようにし、UCC120が正常に排気ガスを浄化するようにしたシステムである。
まず、始動がかかるとエンジンから排気ガスが排出される。
この際、ボールバルブ152の状態は図2(a)、図2(b)及び図4(a)の状態となって、中央の排気ガス流路、すなわち中間パイプ114の内部流路114aが前端入口側でボールバルブ152によって塞がれて遮断され、ボールバルブ152の左右側の凹部153a,153bの流路が開くようになる。
該流路を通り排気ガスはCCC110内で中間パイプの外部の流路116に流れてHC吸着触媒112とNOx吸着触媒113を順次通過するようになり、その後、CCC出口通路111bを通って排気パイプに排出されてUCC120を通過するようになる(図1(a)における矢印P1の経路である)。
この際、ボールバルブ152の状態は図2(a)、図2(b)及び図4(a)の状態となって、中央の排気ガス流路、すなわち中間パイプ114の内部流路114aが前端入口側でボールバルブ152によって塞がれて遮断され、ボールバルブ152の左右側の凹部153a,153bの流路が開くようになる。
該流路を通り排気ガスはCCC110内で中間パイプの外部の流路116に流れてHC吸着触媒112とNOx吸着触媒113を順次通過するようになり、その後、CCC出口通路111bを通って排気パイプに排出されてUCC120を通過するようになる(図1(a)における矢印P1の経路である)。
ここで、排気ガスは2つの吸着触媒112,113を通過しながら排気ガス成分中のHCとNoxは各吸着触媒に吸着され、UCC120にはHCとNoxが除去された状態の排気ガスが流れるようになる。
このように排気ガスがUCC120を通過することにより、UCC内の第1触媒122と第2触媒123の温度は上昇し、温度が十分上昇するまで(触媒が活性を有する温度まで;例:活性化温度200℃)CCC110内のHC吸着触媒112とNOx吸着触媒113が引続いてHC及びNoxを吸着するが、これらの有害成分がテールパイプ側に流れて大気中に排出されないようにする。
このように排気ガスがUCC120を通過することにより、UCC内の第1触媒122と第2触媒123の温度は上昇し、温度が十分上昇するまで(触媒が活性を有する温度まで;例:活性化温度200℃)CCC110内のHC吸着触媒112とNOx吸着触媒113が引続いてHC及びNoxを吸着するが、これらの有害成分がテールパイプ側に流れて大気中に排出されないようにする。
その後UCC120内の触媒の温度が引続き上昇して活性化温度以上に十分にウォーミングアップした状態となると、ECU140はボールバルブ152を90°回転位置に回転させるためモータ制御信号を出力する。
ここで、ECU140はUCC120内の第1触媒122に設けた温度感知センサ130の信号を受け、触媒温度が既に設定された活性化温度以上になり、ウォーミングアップ状態であることを判断すると中間パイプの外部の流路(CCCハウジング内のHC吸着触媒及びNOx吸着触媒側への流路;116)を遮断するとともに、中間パイプ114の内部流路114aを開くための制御信号、すなわちボールバルブ152を90°回転の位置に回転させるためのモータ制御信号を出力する。
ここで、ECU140はUCC120内の第1触媒122に設けた温度感知センサ130の信号を受け、触媒温度が既に設定された活性化温度以上になり、ウォーミングアップ状態であることを判断すると中間パイプの外部の流路(CCCハウジング内のHC吸着触媒及びNOx吸着触媒側への流路;116)を遮断するとともに、中間パイプ114の内部流路114aを開くための制御信号、すなわちボールバルブ152を90°回転の位置に回転させるためのモータ制御信号を出力する。
ボールバルブ152が90°回転位置に回転すると、ボールバルブの状態は図3(a)及び図3(b)、図4(b)の状態となって、中間パイプ114の外部の流路116がボールバルブ152によって遮断されるとともに、中間パイプ114の内部流路114aはボールバルブ152のガス流路153と連結されながら開く。
この位置で排気ガスはボールバルブ152のガス流路153と中間パイプ114の内部流路114aを通過し、CCC110内の2つの吸着触媒112,113を通らず排気パイプを通って直ちにUCC120に流れ込む(図1(b)において矢印P2の経路である)。
この位置で排気ガスはボールバルブ152のガス流路153と中間パイプ114の内部流路114aを通過し、CCC110内の2つの吸着触媒112,113を通らず排気パイプを通って直ちにUCC120に流れ込む(図1(b)において矢印P2の経路である)。
このようになると、排気ガスは正常にウォーミングアップされたUCC120内の触媒122,123を通過して浄化される。
また、初期始動時、HC吸着触媒112及びNOx吸着触媒113に吸着されていたHC及びNoxは中間パイプ114の内部流路114aを通過する排気ガスの熱によってHC吸着触媒112及びNOx吸着触媒113で自然脱着され、結局、後方に開いている流路を通ってUCC120に流れて活性化された第1触媒122及び第2触媒123によって浄化される。
また、初期始動時、HC吸着触媒112及びNOx吸着触媒113に吸着されていたHC及びNoxは中間パイプ114の内部流路114aを通過する排気ガスの熱によってHC吸着触媒112及びNOx吸着触媒113で自然脱着され、結局、後方に開いている流路を通ってUCC120に流れて活性化された第1触媒122及び第2触媒123によって浄化される。
本発明の浄化システムは貴金属をほとんど使用しないHC吸着触媒112及びNOx吸着触媒113をCCC110内で使用し、ウォーミングアップ時間の短縮のために貴金属担持量を高めていた従来のCCC触媒を代替することによって、製造コストが低減できるという長所がある。
さらに、本発明の浄化システムでは、可変流路を採用し高温に多少弱いHC吸着触媒112及びNOx吸着触媒113をCCC触媒として使用しても始動初期の短時間使用であるため、HC吸着触媒及びNOx吸着触媒の耐久性及び耐熱性の問題は生じない。
さらに、本発明の浄化システムでは、主触媒であるUCC触媒122,123が後側に位置することによって、耐毒性及び耐熱性が確保され、UCC120のみで排気規制を満足でき、コスト節減にも寄与することができる。
さらに、本発明の浄化システムでは、可変流路を採用し高温に多少弱いHC吸着触媒112及びNOx吸着触媒113をCCC触媒として使用しても始動初期の短時間使用であるため、HC吸着触媒及びNOx吸着触媒の耐久性及び耐熱性の問題は生じない。
さらに、本発明の浄化システムでは、主触媒であるUCC触媒122,123が後側に位置することによって、耐毒性及び耐熱性が確保され、UCC120のみで排気規制を満足でき、コスト節減にも寄与することができる。
なお、図5は、ゼオライト系HC吸着触媒とカリウム系NOx吸着触媒の温度変化による脱着特性を示す図であり、これはHC吸着触媒とNOx吸着触媒に一定濃度のHCとNoxを吸着させた後温度を上げながら脱着されるHCとNoxの濃度を測定したものである。
図示するように、各吸着触媒はHC及びNoxを吸着した後(但し、吸着量は各吸着触媒の体積に依存する)、温度が上がりながら図5のグラフのように脱着し、少なくとも300℃以上ではHC及びNoxが徐々に脱着し始める。
本発明では、UCC触媒122,123がウォーミングアップしてから、中間パイプ114の内部流路114aが開いた状態でUCCの触媒122,123が十分な温度に上昇するまでCCC110内の各吸着触媒112,113からHC及びNoxが脱着されるのを遅延させる必要がある。
図示するように、各吸着触媒はHC及びNoxを吸着した後(但し、吸着量は各吸着触媒の体積に依存する)、温度が上がりながら図5のグラフのように脱着し、少なくとも300℃以上ではHC及びNoxが徐々に脱着し始める。
本発明では、UCC触媒122,123がウォーミングアップしてから、中間パイプ114の内部流路114aが開いた状態でUCCの触媒122,123が十分な温度に上昇するまでCCC110内の各吸着触媒112,113からHC及びNoxが脱着されるのを遅延させる必要がある。
このため、中間パイプ114の外周面と各吸着触媒112,113の中央ホール112a,113aの内周面との間にインシュレータ115を設けている。インシュレータ115は中間パイプ114の内部流路114aと吸着触媒112,113間の完全な断熱を図ると言うよりも、熱伝達を妨げる目的から設けるものであり、特定の断熱部材を設ける外に、中間パイプ114と吸着触媒112,113との間にエアギャップ(air gap)を設けることも可能である。
すなわち、UCC触媒122,123がウォーミングアップ状態に到達した後、初期にはUCC触媒がより高い温度状態になるまでCCC吸着触媒112,113におけるHC及びNoxの脱着を遅延させる必要があるが、インシュレータ115またはエアギャップは中間パイプの内部流路114aの排気ガス熱がHC及びNOx吸着触媒112,113に伝達されることをある程度妨げるため、吸着されていたHC及びNoxが熱によって自然脱着するのを時間的に遅延させる。
すなわち、UCC触媒122,123がウォーミングアップ状態に到達した後、初期にはUCC触媒がより高い温度状態になるまでCCC吸着触媒112,113におけるHC及びNoxの脱着を遅延させる必要があるが、インシュレータ115またはエアギャップは中間パイプの内部流路114aの排気ガス熱がHC及びNOx吸着触媒112,113に伝達されることをある程度妨げるため、吸着されていたHC及びNoxが熱によって自然脱着するのを時間的に遅延させる。
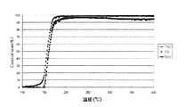
図6は一般のUCC触媒の温度増加による触媒の活性(浄化率)を示すものであり、200℃以下ですべての排気ガス浄化率が100%に近くなるため、ECUがUCC触媒のウォーミングアップ状態を判断する温度を基準に略200℃に設定すると本発明の達成が可能である。
図7(a)及び図7(b)は、本発明の可変流路型排気ガス浄化システムと従来の‘CCC+UCC’方式の排気ガス浄化システムに関して250℃で浄化性能を評価した結果を示すものである。本発明の浄化システムでは初期始動モードから正常運転モードに流路を切り換えた後(ボールバルブ90°位置)、250℃で浄化性能を評価した。
本発明のシステムでは、従来のシステムに比べて初期始動モード(bag1)では1/5水準の排気ガスが排出され、全体的な評価結果ではSULEV基準値であるHC:0.01g/mile、NOx:0.02g/mileを満足した。
図7(a)及び図7(b)は、本発明の可変流路型排気ガス浄化システムと従来の‘CCC+UCC’方式の排気ガス浄化システムに関して250℃で浄化性能を評価した結果を示すものである。本発明の浄化システムでは初期始動モードから正常運転モードに流路を切り換えた後(ボールバルブ90°位置)、250℃で浄化性能を評価した。
本発明のシステムでは、従来のシステムに比べて初期始動モード(bag1)では1/5水準の排気ガスが排出され、全体的な評価結果ではSULEV基準値であるHC:0.01g/mile、NOx:0.02g/mileを満足した。
110:CCC
112:HC吸着触媒
113:NOx吸着触媒
114:中間パイプ
114b:羽根部
115:インシュレータ
120:UCC
130:温度感知センサ
140:ECU
150:流路切換手段
151:モータ
152:ボールバルブ
153:ガス流路
153a,153b:凹部
112:HC吸着触媒
113:NOx吸着触媒
114:中間パイプ
114b:羽根部
115:インシュレータ
120:UCC
130:温度感知センサ
140:ECU
150:流路切換手段
151:モータ
152:ボールバルブ
153:ガス流路
153a,153b:凹部
Claims (8)
- 自動車排気ガス浄化システムであって、
ハウジング内部にHC吸着触媒とNOx吸着触媒が直列に内装されて排気経路上でエンジン排気マニフォールドの方に近く設けられ、排気ガスが前記2つの吸着触媒を介さずに直ちに排出されるようにするバイパス流路を有するCCCと;
該CCCの後方に車体フロアの下側の排気パイプの途中に設けられるUCCと;
前記UCC内の触媒の温度を検出するための温度感知センサと;
該温度感知センサの信号を入力され、既に設定された温度以上の場合、前記UCC内の触媒のウォーミングアップ状態であることを判断して前記CCC内の排気経路を前記バイパス流路に切り換えるための制御信号を出力するECUと;
該ECUの制御信号によって前記CCC内の吸着触媒側の流路とバイパス流路間の排気経路を切り換える流路切換手段と;
を含むことを特徴とする自動車排気ガス浄化システム。 - 前記バイパス流路として、前記CCCハウジング内で前記2つの吸着触媒の中央に貫通して形成された中央ホールに挿設され、その入口と出口がCCCハウジングの入口通路と出口通路に位置する中間パイプが設けられることを特徴とする請求項1記載の自動車排気ガス浄化システム。
- 前記吸着触媒の中央ホールの内面と中間パイプの外周面との間にはインシュレータが設けられることを特徴とする請求項2記載の自動車排気ガス浄化システム。
- 前記流路切換手段は、前記CCC入口通路の外側にCCCハウジングまたは隣りの車体側の所定位置に取り付けられ、前記ECUの制御信号によって駆動が制御されるモータと、該モータの駆動によって回転して前記2つの流路間の排気ガスの流れを切り換えるバルブを含んでなることを特徴とする請求項1記載の自動車排気ガス浄化システム。
- 前記バルブは、ボール形態の構造であり、中央を貫通するガス流路を有することを特徴とする自動車排気ガス浄化システム。
- 前記バルブは、前記バイパス流路の前端入口に位置することを特徴とする請求項4記載の自動車排気ガス浄化システム。
- 前記バルブのガス流路の両端部の少なくとも一端部にはCCC凹部を形成したことを特徴とする請求項5記載の自動車排気ガス浄化システム。
- 前記中間パイプの前端入口には羽根部をさらに形成したことを特徴とする請求項2記載の自動車排気ガス浄化システム。
Applications Claiming Priority (1)
| Application Number | Priority Date | Filing Date | Title |
|---|---|---|---|
| KR1020040023423A KR100590960B1 (ko) | 2004-04-06 | 2004-04-06 | 자동차 배기가스 정화시스템 |
Publications (1)
| Publication Number | Publication Date |
|---|---|
| JP2005299631A true JP2005299631A (ja) | 2005-10-27 |
Family
ID=35054501
Family Applications (1)
| Application Number | Title | Priority Date | Filing Date |
|---|---|---|---|
| JP2004307258A Pending JP2005299631A (ja) | 2004-04-06 | 2004-10-21 | 自動車排気ガス浄化システム |
Country Status (4)
| Country | Link |
|---|---|
| US (1) | US20050220679A1 (ja) |
| JP (1) | JP2005299631A (ja) |
| KR (1) | KR100590960B1 (ja) |
| CN (1) | CN1680693A (ja) |
Cited By (3)
| Publication number | Priority date | Publication date | Assignee | Title |
|---|---|---|---|---|
| JP2008133743A (ja) * | 2006-11-27 | 2008-06-12 | Toyota Motor Corp | 内燃機関の排気浄化装置 |
| DE112008000975T5 (de) | 2007-04-13 | 2010-02-04 | Toyota Jidosha Kabushiki Kaisha, Toyota-shi | Abgasreinigungsvorrichtung für Verbrennungsmotor |
| US8261534B2 (en) | 2007-05-14 | 2012-09-11 | Toyota Jidosha Kabushiki Kaisha | Exhaust gas purifying apparatus for internal combustion engine |
Families Citing this family (35)
| Publication number | Priority date | Publication date | Assignee | Title |
|---|---|---|---|---|
| KR100734899B1 (ko) | 2006-05-29 | 2007-07-03 | 한국기계연구원 | Hc흡착촉매를 갖는 디젤엔진용 후처리시스템 및후처리방법 |
| KR100844562B1 (ko) * | 2006-12-13 | 2008-07-08 | 현대자동차주식회사 | 차량의 배기가스 정화장치 및 그 방법 |
| JP4501935B2 (ja) * | 2006-12-28 | 2010-07-14 | トヨタ自動車株式会社 | 内燃機関の排気ガス浄化装置 |
| JP4710856B2 (ja) * | 2007-03-15 | 2011-06-29 | トヨタ自動車株式会社 | 内燃機関の排気浄化装置 |
| JP4321615B2 (ja) * | 2007-03-28 | 2009-08-26 | トヨタ自動車株式会社 | 内燃機関装置およびその制御方法並びに内燃機関装置を搭載する車両 |
| KR100911587B1 (ko) * | 2007-12-14 | 2009-08-10 | 현대자동차주식회사 | 유로 가변형 배기장치 및 이를 이용한 배기가스 처리방법 |
| JP5157739B2 (ja) * | 2008-08-11 | 2013-03-06 | 日産自動車株式会社 | 排ガス浄化システム及びこれを用いた排ガス浄化方法 |
| JP5351476B2 (ja) * | 2008-09-18 | 2013-11-27 | 富士フイルム株式会社 | 多孔フィルムの製造方法 |
| US9131535B2 (en) * | 2010-08-23 | 2015-09-08 | Toyota Jidosha Kabushiki Kaisha | Electric heating catalyst |
| DE102010056281A1 (de) | 2010-12-24 | 2012-06-28 | Volkswagen Ag | Abgasanlage mit HC-Adsorber und parallelem Abgaskatalysator sowie Fahrzeug mit einer solchen Abgasanlage |
| US20120204539A1 (en) * | 2011-02-10 | 2012-08-16 | GM Global Technology Operations LLC | Hybrid vehicle thermal management using a bypass path in a catalytic converter unit |
| US20120204536A1 (en) * | 2011-02-10 | 2012-08-16 | GM Global Technology Operations LLC | Catalytic converter combustion strategy for a hybrid vehicle |
| DE102011117090B4 (de) * | 2011-10-27 | 2023-01-26 | Volkswagen Aktiengesellschaft | Abgasreinigungsvorrichtung |
| US8733084B2 (en) * | 2011-11-22 | 2014-05-27 | GM Global Technology Operations LLC | Bypass HC-NOx adsorber strategy |
| DE102014106386B4 (de) * | 2014-05-07 | 2016-08-11 | Benteler Automobiltechnik Gmbh | Abgaswärmetauscher mit Bypassrohr |
| CN105464759A (zh) * | 2014-09-03 | 2016-04-06 | 葛洲坝能源重工有限公司 | 一种可控式尾气脱销装置 |
| CN106894862B (zh) * | 2015-12-18 | 2019-04-02 | 乔英电机有限公司 | 智能型排烟改善装置 |
| EP3184767B1 (en) * | 2015-12-23 | 2019-07-03 | Volvo Car Corporation | Catalytic converter and exhaust-gas aftertreatment arrangement |
| CN105822890A (zh) * | 2016-06-01 | 2016-08-03 | 吴本刚 | 润滑油净化循环装置 |
| CN105927328A (zh) * | 2016-06-01 | 2016-09-07 | 吴本刚 | 用于柴油机废气的过滤器 |
| CN105927329A (zh) * | 2016-06-01 | 2016-09-07 | 吴本刚 | 废气处理催化转化系统 |
| CN105927327A (zh) * | 2016-06-01 | 2016-09-07 | 吴本刚 | 高温尾气的热量回收节能装置 |
| CN105927331A (zh) * | 2016-06-01 | 2016-09-07 | 吴本刚 | 拱形隧道挖掘机 |
| CN105952511A (zh) * | 2016-06-01 | 2016-09-21 | 吴本刚 | 矩形混凝土灌注桩成孔机 |
| CN105927332A (zh) * | 2016-06-01 | 2016-09-07 | 吴本刚 | 新型船舶尾气处理装置 |
| CN105927330A (zh) * | 2016-06-01 | 2016-09-07 | 吴本刚 | 多轴搅拌桩钻机 |
| CN106076110A (zh) * | 2016-06-01 | 2016-11-09 | 吴本刚 | 高速发酵有机垃圾处理机 |
| CN106076026B (zh) * | 2016-08-26 | 2017-12-15 | 赛洛克流体设备成都有限公司 | 一种带检测装置可切换泄放口的排放装置 |
| JP6935787B2 (ja) * | 2018-08-23 | 2021-09-15 | トヨタ自動車株式会社 | 内燃機関の排気浄化装置及び排気浄化方法 |
| JP2020029841A (ja) * | 2018-08-24 | 2020-02-27 | トヨタ自動車株式会社 | 内燃機関の排気浄化装置及び排気浄化方法 |
| KR102586451B1 (ko) * | 2018-10-18 | 2023-10-06 | 현대자동차주식회사 | 머플러용 가변 밸브 및 이를 포함하는 듀얼 머플러 |
| DE102020119057B3 (de) * | 2020-07-20 | 2021-08-26 | Dr. Ing. H.C. F. Porsche Aktiengesellschaft | Abgastrakt für eine Verbrennungskraftmaschine |
| CN113181971B (zh) * | 2021-03-23 | 2024-07-12 | 渠晓东 | 一种催化剂载体 |
| CN113565606B (zh) * | 2021-08-31 | 2022-09-16 | 易典军 | 一种汽车尾气处理用三元催化器 |
| CN114837775B (zh) * | 2022-04-01 | 2024-05-31 | 湖北丰盈节能环保科技股份有限公司 | 一种智能控制的节能减排装置及其方法 |
Family Cites Families (9)
| Publication number | Priority date | Publication date | Assignee | Title |
|---|---|---|---|---|
| US5051244A (en) * | 1990-07-20 | 1991-09-24 | Uop | Use of a molecular sieve bed to minimize emissions during cold start of internal combustion engines |
| JP3083599B2 (ja) * | 1991-09-30 | 2000-09-04 | 株式会社日立製作所 | 排気ガス浄化システム |
| US5373696A (en) * | 1993-10-04 | 1994-12-20 | Ford Motor Company | Automotive engine with exhaust hydrocarbon adsorber having oxygen sensor regeneration control |
| DE4400202C1 (de) * | 1994-01-05 | 1995-04-06 | Daimler Benz Ag | Verfahren zur Reduzierung von Kohlenwasserstoff-Emissionen einer Brennkraftmaschine |
| EP0691459B1 (en) * | 1994-07-05 | 1998-11-11 | Ford Motor Company Limited | A catalyst system |
| US5766559A (en) * | 1997-02-03 | 1998-06-16 | General Motors Corporation | Exhaust gas management apparatus and method |
| JP3680244B2 (ja) * | 1999-02-12 | 2005-08-10 | トヨタ自動車株式会社 | 内燃機関の未燃燃料成分吸着材の吸着量算出装置 |
| US6167696B1 (en) * | 1999-06-04 | 2001-01-02 | Ford Motor Company | Exhaust gas purification system for low emission vehicle |
| US7117667B2 (en) * | 2002-07-11 | 2006-10-10 | Fleetguard, Inc. | NOx adsorber aftertreatment system for internal combustion engines |
-
2004
- 2004-04-06 KR KR1020040023423A patent/KR100590960B1/ko not_active Expired - Fee Related
- 2004-10-21 JP JP2004307258A patent/JP2005299631A/ja active Pending
- 2004-12-23 US US11/022,238 patent/US20050220679A1/en not_active Abandoned
- 2004-12-31 CN CNA2004101031836A patent/CN1680693A/zh active Pending
Cited By (5)
| Publication number | Priority date | Publication date | Assignee | Title |
|---|---|---|---|---|
| JP2008133743A (ja) * | 2006-11-27 | 2008-06-12 | Toyota Motor Corp | 内燃機関の排気浄化装置 |
| DE112008000975T5 (de) | 2007-04-13 | 2010-02-04 | Toyota Jidosha Kabushiki Kaisha, Toyota-shi | Abgasreinigungsvorrichtung für Verbrennungsmotor |
| US8327622B2 (en) | 2007-04-13 | 2012-12-11 | Toyota Jidosha Kabushiki Kaisha | Exhaust gas purifying apparatus for internal combustion engine |
| DE112008000975B4 (de) * | 2007-04-13 | 2014-06-05 | Toyota Jidosha Kabushiki Kaisha | Abgasreinigungsvorrichtung für Verbrennungsmotor |
| US8261534B2 (en) | 2007-05-14 | 2012-09-11 | Toyota Jidosha Kabushiki Kaisha | Exhaust gas purifying apparatus for internal combustion engine |
Also Published As
| Publication number | Publication date |
|---|---|
| CN1680693A (zh) | 2005-10-12 |
| KR20050098107A (ko) | 2005-10-11 |
| US20050220679A1 (en) | 2005-10-06 |
| KR100590960B1 (ko) | 2006-06-19 |
Similar Documents
| Publication | Publication Date | Title |
|---|---|---|
| JP2005299631A (ja) | 自動車排気ガス浄化システム | |
| KR100413551B1 (ko) | 내연 기관의 배기 정화 장치 | |
| JP3546294B2 (ja) | 内燃機関の排気浄化装置 | |
| JP3395442B2 (ja) | 排気ガス用切替弁装置 | |
| JPH0763048A (ja) | 排ガス浄化システム及び排ガス浄化方法 | |
| JP4408554B2 (ja) | 排気ガス還流系の状態判定装置 | |
| JP4456732B2 (ja) | 内燃機関の排気ガス特性検出装置 | |
| JPH11343840A (ja) | 内燃機関の排気浄化装置 | |
| US6792749B2 (en) | Exhaust gas purifying apparatus for internal combustion engine | |
| US6945034B2 (en) | Exhaust gas purifying apparatus for internal combustion engine | |
| US6820416B2 (en) | Exhaust emission control system for an internal combustion engine | |
| JP3667559B2 (ja) | 自動車用排ガス浄化装置 | |
| JP3587670B2 (ja) | 自動車用排気ガス浄化装置 | |
| KR100844562B1 (ko) | 차량의 배기가스 정화장치 및 그 방법 | |
| JP2000073747A (ja) | 触媒システム | |
| JP2010048112A (ja) | 排気ガス浄化システム及び排気ガス浄化方法 | |
| JP3715134B2 (ja) | 自動車用排ガス浄化装置 | |
| JP2008215277A (ja) | 排気浄化触媒システム | |
| JP3849183B2 (ja) | エンジンの排ガス浄化装置 | |
| JP4178379B2 (ja) | 内燃機関の排気浄化装置 | |
| JPH0771237A (ja) | 内燃機関の排気浄化装置 | |
| JP3774918B2 (ja) | 自動車用排気ガス浄化装置 | |
| JP4410976B2 (ja) | 排気浄化装置 | |
| JP3116627B2 (ja) | 排気ガス浄化装置 | |
| JP3433461B2 (ja) | 排気ガス浄化装置 |