JP2005298077A - 乗客コンベアの踏段 - Google Patents

乗客コンベアの踏段 Download PDF

Info

Publication number
JP2005298077A
JP2005298077A JP2004112449A JP2004112449A JP2005298077A JP 2005298077 A JP2005298077 A JP 2005298077A JP 2004112449 A JP2004112449 A JP 2004112449A JP 2004112449 A JP2004112449 A JP 2004112449A JP 2005298077 A JP2005298077 A JP 2005298077A
Authority
JP
Japan
Prior art keywords
cleat
demarcation
demarcation member
passenger conveyor
nut
Prior art date
Legal status (The legal status is an assumption and is not a legal conclusion. Google has not performed a legal analysis and makes no representation as to the accuracy of the status listed.)
Pending
Application number
JP2004112449A
Other languages
English (en)
Inventor
Shingo Tada
信吾 多田
Current Assignee (The listed assignees may be inaccurate. Google has not performed a legal analysis and makes no representation or warranty as to the accuracy of the list.)
Toshiba Elevator and Building Systems Corp
Original Assignee
Toshiba Elevator Co Ltd
Priority date (The priority date is an assumption and is not a legal conclusion. Google has not performed a legal analysis and makes no representation as to the accuracy of the date listed.)
Filing date
Publication date
Application filed by Toshiba Elevator Co Ltd filed Critical Toshiba Elevator Co Ltd
Priority to JP2004112449A priority Critical patent/JP2005298077A/ja
Publication of JP2005298077A publication Critical patent/JP2005298077A/ja
Pending legal-status Critical Current

Links

Images

Landscapes

  • Escalators And Moving Walkways (AREA)

Abstract

【課題】 乗客コンベアの踏段において、クリートに対し着脱可能に取り付けられたデマケーション部材を、組み立て時又は交換時にクリートに取り付ける際の作業性を向上させる。
【解決手段】 踏段1の乗客が乗降可能な踏面にはクリート2が設けられている。前記クリート2に対してデマケーション部材3が着脱可能に組み合わされている。デマケーション部材3をクリート2に固定するために、前記デマケーション部材3又は前記クリート2のいずれか一方に位置決め固定された被締結手段4aと、前記被締結手段4aと螺合して前記デマケーション部材と前記クリートとを固定する締結手段5とを備えている。
【選択図】 図4

Description

本発明は、エスカレータや動く歩道といった乗客コンベアの踏段、特に、踏段に取り付けられたデマケーション部材を容易に固定することのできる踏段に関する。
乗客コンベアの踏段は、複数個が連結された状態で循環移動することにより、踏段上に乗る乗客を一方の乗降口から他方の乗降口まで搬送する。かような踏段の乗客が乗降可能な踏面には、進行方向に延びる多数の溝が形成されたクリートが設けられており、また、クリートの両側端部及び前端部には、乗客の足などが隙間に挟まれないように、乗客に対して注意喚起させるための黄色等の注意標色線(デマケーションライン)が形成されている。
クリートの注意標色線が形成された部分は、小石などの異物が挟まれ易いことから、クリートの他の部分に比べて破損し易い。そのため、注意標色線の部分のみを交換できるように、クリートとは別の部材として樹脂製のデマケーション部材を用意し、このデマケーション部材をクリートに対して着脱可能に組み合わせることが行われている。
図8は、このようにして形成された従来の踏段81の右側端部近傍の要部断面図である。同図において、クリート82の右側端部は、デマケーション部材83を取り付けるために厚みが薄肉化されており、この薄肉化された領域の上にデマケーション部材83が重ねて取り付けられている。また、クリート82の薄肉部及びこれに重ねられたデマケーション部材83の端部には、それぞれ厚み方向に貫く貫通孔82a、83aが形成されている。
これらの貫通孔82a、83aの軸線が同一直線上になるようにクリート82とデマケーション部材83とを位置決めした後、これらの貫通孔82a、83aにネジ85を上方から挿入して、このネジ85の先端部をクリート82の下面よりも下方に突出させてナット88を螺合させることにより、クリート82とデマケーション部材83とを固定している。なお、クリート82の左側端部近傍及び前端部近傍においても、図8に示した右側端部近傍と同様にしてデマケーション部材が取り付け固定されている。
このように従来の踏段81では、デマケーション部材83をクリート82に取り付ける際は、固定用のネジ85及びナット88をそれぞれ用意し、デマケーション部材83の貫通孔83aとクリート82の貫通孔82aとを位置合わせし、これらの貫通孔82a、83aにネジ85を挿入し、次いでネジ85の先端部の位置までナット88を持ってきて螺合させるという作業を要していた。かようなデマケーション部材83の取り付け作業は煩雑なものであり、作業能率の向上及び作業コスト低減の観点から、取り付け作業をいっそう簡単にして作業性を改善することが望まれていた。
この作業性を改善する一つの手段としては、ナット88の使用を省略すべく、ネジ85と螺合するネジ孔をクリート82に設け、このネジ孔にネジ85を螺合させることが考えられる。しかし、近年では、踏段がダイカストなどによる一体成形により製造されているため、一体成形の時点ではネジ85と螺合するネジ孔をクリート82に設けることができず、単なる貫通孔を設けるしかなかった。
そこで、一体成形の後に、クリート82に形成された貫通孔の内面にタップ加工によりネジ溝を形成し、このネジ溝とネジ85とを螺合させることにより、デマケーション部材83をクリート82に固定することが行われている。しかし、貫通孔にタップ加工を行うことは、デマケーション部材83の取り付け時の作業性は向上するものの、タップ加工という別途の作業を要することから、労力と作業コストが嵩んでいた。
さらに、従来の踏段は、デマケーション部材83をクリート82に取り付ける際、デマケーション部材83に設けた貫通孔83aと、クリート82に設けた貫通孔82aとを位置決めするのに労力を要する場合があり、簡便に位置決めできることが望まれていた。
本発明は、上記の問題を有利に解決するもので、デマケーション部材をクリートに対し容易に取り付け固定することができるようにして、作業性を向上し、かつ、作業コストを低減することができる乗客コンベアの踏段を提供することを目的とする。
本発明は、乗客が乗降可能な踏面に設けられたクリートと、前記クリートに対し着脱可能に組み合わされるデマケーション部材と、前記デマケーション部材又は前記クリートのいずれか一方に位置決め固定された被締結手段と、前記被締結手段と螺合して前記デマケーション部材と前記クリートとを固定する締結手段と、を具備することを特徴とする乗客コンベアの踏段である。
また、本発明は、乗客が乗降可能な踏面に設けられたクリートと、前記クリートに対し着脱可能に組み合わされるデマケーション部材と、前記デマケーション部材又は前記クリートのいずれか一方に設けられ、前記クリート又は前記デマケーション部材のいずれか他方に係脱自在に係合する係止部材と、を具備することを特徴とする乗客コンベアの踏段である。
本発明の乗客コンベアの踏段によれば、デマケーション部材又はクリートのいずれか一方に位置決め固定された被締結手段(例えばナット)に締結手段(例えばネジ)を螺合させることによって、デマケーション部材がクリートに対して着脱可能に取り付けられ、もしくは、デマケーション部材又はクリートのいずれか一方に設けられて他方のクリート又はデマケーション部材に係脱自在に係合する係止部材で係合させることによって着脱可能に取り付けられている。したがって、従来のようにナットをネジの先端部の位置まで持ってきて位置決めする作業が簡略化されることから、作業性が向上する。また、クリートにタップ加工を施す必要がないので、作業コストが嵩むことがない。
図1は、本発明の一実施形態の踏段の全体を示す平面図、図2はその正面図、図3はその右側面図である。図1ないし図3において、踏段1は、アルミニウム等によって成形されており、踏段1における乗客が乗降可能な踏面には、クリート2が一体的に設けられている。そして、クリート2の周縁部のうち、両側端部及び前端部には、樹脂製のコの字形のデマケーション部材3が着脱可能に取り付けられている。すなわち、このデマケーション部材3は、黄色等の着色により乗客に対して足の挟まれ等を注意喚起するためのものであって、前端部と隣接する踏段との隙間、あるいは両側端部に隣接する欄干部材(スカートガードパネルなど)との隙間に異物等が挟まれることによって破損し易いため、交換できるようにクリート2とは別途の部材として取り付けられている。
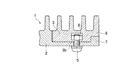
図4は、本発明の第1の実施形態に係る踏段1の右側端部近傍の要部断面図である。本実施形態においては、クリート2に対しデマケーション部材3を取り付けるために、クリップナット4を用いている。すなわち、クリップナット4は、被締結手段としてのナット4aを、断面がコの形状になるクリップ4bの底面に固着させたものであって、クリップ4bの頂壁と底壁にはそれぞれ後述する締結手段としてのネジ5を貫通させる貫通孔が形成されている。クリート2におけるナット4aを取り付けようとする部位をクリップ4bで挟み込むように装着することによって、簡便にナット4aの位置決めをすることができるものである。
クリップナット4を取り付けた後は、従来同様に、クリート2の貫通孔2aの軸線とデマケーション部材3の貫通孔3aの軸線とが同一直線上になるように、クリート2とデマケーション部材3とを位置決めし、次いで、これらの貫通孔2a、3aにネジ5を上方から挿入して、クリップナット4のナット4aと螺合させることにより、デマケーション部材3をクリート2に取り付け固定する。
本実施形態によれば、クリップナット4を用いることでナット4aが、簡便に位置決め固定される。したがって、従来技術のようにナットをネジの先端部の位置まで持ってきて位置合わせするという作業が省略できるので、作業性を向上させることができる。
また、本実施形態においては、デマケーション部材3の下面に凹部6が設けられている一方、クリート2の前記凹部6と対向する上面には、この凹部と嵌まり合う凸部7が設けられている。そして、デマケーション部材3をクリート2に取り付ける際に、デマケーション部材3の凹部6とクリート2の凸部7とを嵌め合わせることによって、クリート2に対してデマケーション部材3を容易に位置決めすることができるので、作業性がいっそう向上する。
次に、本発明の第2の実施形態の踏段を図5に基づいて説明する。図5に示す本実施形態においては、樹脂製のデマケーション部材3に被締結手段としてのナット8が埋設されていて、このナット8のネジ孔に連通する開口3bがデマケーション部材3の下面に設けられている。このようにナット8が埋設されたデマケーション部材3は、例えば、デマケーション部材3を、インサート成形することにより製造することができる。
本実施形態の踏段において、デマケーション部材3をクリート2に取り付ける際には、クリート2とデマケーション部材3とを、クリート2を一体成形した時に設けられた貫通孔2aと、デマケーション部材3に設けられた開口3bとを位置合わせした後、締結手段としてのネジ5の軸部をクリート2の下面から貫通孔2aを通してナット8と螺合させる。
本実施形態においては、ナット8がデマケーション部材3に埋設されることにより位置決め固定されているから、デマケーション部材3をクリート2に取り付ける際には、従来技術のようにナットをネジの先端部の位置まで持ってきて位置合わせするという作業が省略できるので、作業性を向上させることができる。
また、本実施形態においては、デマケーション部材3の右側端部に凹部6が設けられている一方、クリート2の前記凹部6と対向する右側端部には、この凹部と嵌まり合う凸部7が設けられている。そして、デマケーション部材3の取り付け時に、デマケーション部材3の凹部6とクリート2の凸部7とを嵌め合わせることによって、クリート2に対してデマケーション部材3を容易に位置決めすることできるので、作業性がいっそう向上する。
次に、本発明の第3の実施形態の踏段を、図6に基づいて説明する。図6に示す本実施形態においては、デマケーション部材3の下面でクリート2の一体成形時に設けられた貫通孔2aと対向する位置に、弾性変形可能な矢尻形の係止部材9が下向きに突設されている。そして、デマケーション部材3をクリート2に取り付ける際には、係止部材9を、貫通孔2aに押し付けて弾性変形させて貫通させ、クリート2の下面よりも下方に突出させる。そうすれば、弾性復帰した係止部材9の末広がり部分9aが貫通孔2aの周囲に当接してクリート2の下面と係止するので、クリート2に対してデマケーション部材3を容易に位置決め固定することできる。このように、デマケーション部材3に設けられた係止部材9をクリート2の貫通孔2aに挿入するだけで、デマケーション部材3を位置決め固定することができるので、作業性を向上させることができる。
また、本実施形態においては、デマケーション部材3の右側端部に凹部6が設けられている一方、クリート2の前記凹部6と対向する右側端部には、この凹部と嵌まり合う凸部7が設けられている。そして、デマケーション部材3の取り付け時に、デマケーション部材3の凹部6とクリート2の凸部7とを嵌め合わせることによって、クリート2に対してデマケーション部材3を容易に位置決めすることできるようになるので、作業性がいっそう向上する。
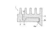
次に、本発明の第4の実施形態の踏段を、図7に基づいて説明する。図7に示す本実施形態においては、デマケーション部材3の右側端部に、可撓性を有する鉤状の係止部材10が、デマケーション部材の側面から下向きに延出するように設けられている。そして、デマケーション部材3をクリート2に取り付ける際には、係止部材10の斜面10aをクリート2の右側縁2bに押し付けると、係止部材10がクリート2の右側端部から離れる方向に弾性変形し、斜面10aの上端がクリート2の下面の位置に達すると、係止部材10が弾性復帰してクリート2の下面と係合する。このように、鉤状の係止部材10をクリート2の下面に係合させることにより、デマケーション部材3がクリート2に対する垂直方向への移動が規制されるとともに、デマケーション部材3を容易に位置決め固定することができるので、作業性を向上させることができる。
また、図7に示した本実施形態においては、クリート2のデマケーション部材3と対向する上面に溝11が設けられている一方、デマケーション部材3には溝11と嵌まり合う凸部12が設けられている。デマケーション部材3をクリート2に取り付ける際に、クリート2の溝11にデマケーション部材3の凸部12を嵌め合わせることにより、デマケーション部材3の水平方向への移動が規制されるとともに、デマケーション部材3を容易に位置決め固定することができる。
また、デマケーション部材3をクリート2から取り外す際には、デマケーション部材3の係止部材10をクリート2の端部から離れる方向(図面右方向)に撓ませて、クリート2との係合を解除することにより、容易に取り外すことが可能である。
なお、本発明は、図1〜7を用いて説明した第1ないし第4の実施形態に限られるものではない。例えば、第1ないし第3の実施形態においては、前記した凸部をクリート2に、凹部をデマケーション部材3に設けているが、逆に、凸部をデマケーション部材3に設ける一方、その凸部に嵌り合う凹部をクリート2に設けるようにすることもできる。
本発明の実施形態の踏段の全体を示す平面図である。 本発明の実施形態の踏段の全体を示す正面図である。 本発明の実施形態の踏段の全体を示す右側面図である。 本発明の第1の実施形態に係る踏段の右側端部近傍の要部断面図である。 本発明の第2の実施形態に係る踏段の右側端部近傍の要部断面図である。 本発明の第3の実施形態に係る踏段の右側端部近傍の要部断面図である。 本発明の第4の実施形態に係る踏段の右側端部近傍の要部断面図である。 従来の踏段の右側端部近傍の要部断面図である。
符号の説明
1 踏段
2 クリート
2a 貫通孔
3 デマケーション部材
4 クリップナット
4a ナット(被締結手段)
5 ネジ(締結手段)
6 凹部
7 凸部
8 ナット(被締結手段)
9、10 係止部材

Claims (7)

  1. 乗客が乗降可能な踏面に設けられたクリートと、
    前記クリートに対し着脱可能に組み合わされるデマケーション部材と、
    前記デマケーション部材又は前記クリートのいずれか一方に位置決め固定された被締結手段と、
    前記被締結手段と螺合して前記デマケーション部材と前記クリートとを固定する締結手段と、
    を具備することを特徴とする乗客コンベアの踏段。
  2. 前記デマケーション部材又は前記クリートのいずれか一方に装着可能なクリップに前記被締結手段が固着されたことを特徴とする請求項1記載の乗客コンベアの踏段。
  3. 前記被締結手段が、前記デマケーション部材又は前記クリートのいずれか一方に埋設されたことを特徴とする請求項1記載の乗客コンベアの踏段。
  4. 乗客が乗降可能な踏面に設けられたクリートと、
    前記クリートに対し着脱可能に組み合わされるデマケーション部材と、
    前記デマケーション部材又は前記クリートのいずれか一方に設けられ、前記クリート又は前記デマケーション部材のいずれか他方に係脱自在に係合する係止部材と、
    を具備することを特徴とする乗客コンベアの踏段。
  5. 前記係止部材が、前記デマケーション部材の下面から下向きに突設され、前記クリートに設けられた貫通孔に係脱自在に係合する弾性変形可能な突起物である請求項4記載の乗客コンベアの踏段。
  6. 前記係止部材が、前記デマケーション部材の側面から下向きに延出され、前記クリートの端部と係脱自在に係合する可撓性を有する鉤状の突起物である請求項4記載の乗客コンベアの踏段。
  7. 前記クリート及び前記デマケーション部材のいずれか一方に位置決め用の凹部が設けられ、他方に前記凹部と嵌まり合う凸部が設けられていることを特徴とする請求項1〜6のいずれか1項に記載の乗客コンベアの踏段。
JP2004112449A 2004-04-06 2004-04-06 乗客コンベアの踏段 Pending JP2005298077A (ja)

Priority Applications (1)

Application Number Priority Date Filing Date Title
JP2004112449A JP2005298077A (ja) 2004-04-06 2004-04-06 乗客コンベアの踏段

Applications Claiming Priority (1)

Application Number Priority Date Filing Date Title
JP2004112449A JP2005298077A (ja) 2004-04-06 2004-04-06 乗客コンベアの踏段

Publications (1)

Publication Number Publication Date
JP2005298077A true JP2005298077A (ja) 2005-10-27

Family

ID=35330096

Family Applications (1)

Application Number Title Priority Date Filing Date
JP2004112449A Pending JP2005298077A (ja) 2004-04-06 2004-04-06 乗客コンベアの踏段

Country Status (1)

Country Link
JP (1) JP2005298077A (ja)

Cited By (9)

* Cited by examiner, † Cited by third party
Publication number Priority date Publication date Assignee Title
JP2011105456A (ja) * 2009-11-17 2011-06-02 Mitsubishi Electric Corp 乗客コンベアの踏段
JP2012126513A (ja) * 2010-12-15 2012-07-05 Hitachi Ltd 乗客コンベア及び乗客コンベアの踏段
JP2012126510A (ja) * 2010-12-15 2012-07-05 Hitachi Ltd 乗客コンベア及び乗客コンベア用の踏段
JP2014148380A (ja) * 2013-01-31 2014-08-21 Toshiba Elevator Co Ltd マンコンベアの踏段
JP2015054764A (ja) * 2013-09-12 2015-03-23 株式会社日立製作所 乗客コンベアのステップ及び乗客コンベア
JP2016016980A (ja) * 2014-07-11 2016-02-01 東芝エレベータ株式会社 乗客コンベアの踏段とその製造方法
JP2021031225A (ja) * 2019-08-22 2021-03-01 株式会社日立製作所 踏段及び乗客コンベア
US11066275B2 (en) 2019-01-23 2021-07-20 Otis Elevator Company Conveyance belt for a conveyor
JP7571574B2 (ja) 2021-01-28 2024-10-23 三菱電機株式会社 乗客コンベアの踏段本体、デマケーションコムおよび乗客コンベアの踏段

Citations (8)

* Cited by examiner, † Cited by third party
Publication number Priority date Publication date Assignee Title
JPS55147365U (ja) * 1979-04-10 1980-10-23
JPS5723769U (ja) * 1980-07-15 1982-02-06
JPS6422795A (en) * 1987-07-01 1989-01-25 Inventio Ag Escalator having safety frame on side section of step
JPH07157263A (ja) * 1993-12-08 1995-06-20 Hitachi Ltd 乗客コンベアの欄干
JPH11278782A (ja) * 1998-03-26 1999-10-12 Kazunori Ueda エスカレータステップのデマケーションの固定方法
JP2000211870A (ja) * 1998-11-04 2000-08-02 Moessner Ag エスカレ―タ―ステップ
JP2001130857A (ja) * 1999-11-04 2001-05-15 Mitsubishi Electric Corp エスカレータのステップ
JP2002128439A (ja) * 2000-10-23 2002-05-09 Toshiba Corp エレベータ乗場の幕板付三方枠取付構造

Patent Citations (8)

* Cited by examiner, † Cited by third party
Publication number Priority date Publication date Assignee Title
JPS55147365U (ja) * 1979-04-10 1980-10-23
JPS5723769U (ja) * 1980-07-15 1982-02-06
JPS6422795A (en) * 1987-07-01 1989-01-25 Inventio Ag Escalator having safety frame on side section of step
JPH07157263A (ja) * 1993-12-08 1995-06-20 Hitachi Ltd 乗客コンベアの欄干
JPH11278782A (ja) * 1998-03-26 1999-10-12 Kazunori Ueda エスカレータステップのデマケーションの固定方法
JP2000211870A (ja) * 1998-11-04 2000-08-02 Moessner Ag エスカレ―タ―ステップ
JP2001130857A (ja) * 1999-11-04 2001-05-15 Mitsubishi Electric Corp エスカレータのステップ
JP2002128439A (ja) * 2000-10-23 2002-05-09 Toshiba Corp エレベータ乗場の幕板付三方枠取付構造

Cited By (11)

* Cited by examiner, † Cited by third party
Publication number Priority date Publication date Assignee Title
JP2011105456A (ja) * 2009-11-17 2011-06-02 Mitsubishi Electric Corp 乗客コンベアの踏段
JP2012126513A (ja) * 2010-12-15 2012-07-05 Hitachi Ltd 乗客コンベア及び乗客コンベアの踏段
JP2012126510A (ja) * 2010-12-15 2012-07-05 Hitachi Ltd 乗客コンベア及び乗客コンベア用の踏段
JP2014148380A (ja) * 2013-01-31 2014-08-21 Toshiba Elevator Co Ltd マンコンベアの踏段
JP2015054764A (ja) * 2013-09-12 2015-03-23 株式会社日立製作所 乗客コンベアのステップ及び乗客コンベア
JP2016016980A (ja) * 2014-07-11 2016-02-01 東芝エレベータ株式会社 乗客コンベアの踏段とその製造方法
CN105314517A (zh) * 2014-07-11 2016-02-10 东芝电梯株式会社 乘客输送机的梯级框架、其制造方法及乘客输送机的梯级
US11066275B2 (en) 2019-01-23 2021-07-20 Otis Elevator Company Conveyance belt for a conveyor
JP2021031225A (ja) * 2019-08-22 2021-03-01 株式会社日立製作所 踏段及び乗客コンベア
JP7158354B2 (ja) 2019-08-22 2022-10-21 株式会社日立製作所 踏段及び乗客コンベア
JP7571574B2 (ja) 2021-01-28 2024-10-23 三菱電機株式会社 乗客コンベアの踏段本体、デマケーションコムおよび乗客コンベアの踏段

Similar Documents

Publication Publication Date Title
JP2005298077A (ja) 乗客コンベアの踏段
US9409520B1 (en) Automotive running board
US20080121568A1 (en) Screening module retaining assembly
JP5085676B2 (ja) 乗客コンベア
JP2014162604A (ja) 乗客コンベアの踏段
KR20070058024A (ko) 에스컬레이터용 계단부
JP2010235107A (ja) アウタールーフ用防水構造
JP5017341B2 (ja) 乗客コンベア
JP5473994B2 (ja) 乗客コンベア及びこれに用いられるガイドシュー
JP5441610B2 (ja) 乗客コンベアの欄干装置
JP4675473B2 (ja) 取り外し可能な境界画定インサートを有するエスカレータ踏段
JP6168939B2 (ja) 乗客コンベアのステップ及び乗客コンベア
JP6731745B2 (ja) 手摺り
KR101038545B1 (ko) 수지 그레이팅
CN103964286B (zh) 乘客传送设备以及乘客传送设备的梯级
US20090059547A1 (en) Control apparatus
JP3760236B2 (ja) 階段用手摺ユニット
JP5028029B2 (ja) 乗客コンベア
KR200362207Y1 (ko) 엘리베이터의 핸드레일
JP2008100834A (ja) 乗客コンベアのスカートガード安全装置
KR100542049B1 (ko) 자동차용 페달의 발판
KR100370288B1 (ko) 건축물의 마감장치
JP4091826B2 (ja) 手摺用ブラケットの取付構造
JPS5834915Y2 (ja) 建物用手摺
JP2010248825A (ja) 門柱等のキャップの取付構造

Legal Events

Date Code Title Description
A621 Written request for application examination

Effective date: 20070320

Free format text: JAPANESE INTERMEDIATE CODE: A621

A977 Report on retrieval

Free format text: JAPANESE INTERMEDIATE CODE: A971007

Effective date: 20090916

A131 Notification of reasons for refusal

Effective date: 20090929

Free format text: JAPANESE INTERMEDIATE CODE: A131

A521 Written amendment

Free format text: JAPANESE INTERMEDIATE CODE: A523

Effective date: 20091130

A131 Notification of reasons for refusal

Free format text: JAPANESE INTERMEDIATE CODE: A131

Effective date: 20100323

A521 Written amendment

Effective date: 20100519

Free format text: JAPANESE INTERMEDIATE CODE: A523

A02 Decision of refusal

Effective date: 20100921

Free format text: JAPANESE INTERMEDIATE CODE: A02