JP2005298055A - 易引き裂き性を有する包装フィルム及びその包装フィルムを用いた容器 - Google Patents
易引き裂き性を有する包装フィルム及びその包装フィルムを用いた容器 Download PDFInfo
- Publication number
- JP2005298055A JP2005298055A JP2004121158A JP2004121158A JP2005298055A JP 2005298055 A JP2005298055 A JP 2005298055A JP 2004121158 A JP2004121158 A JP 2004121158A JP 2004121158 A JP2004121158 A JP 2004121158A JP 2005298055 A JP2005298055 A JP 2005298055A
- Authority
- JP
- Japan
- Prior art keywords
- packaging film
- film
- polyolefin resin
- packaging
- layer
- Prior art date
- Legal status (The legal status is an assumption and is not a legal conclusion. Google has not performed a legal analysis and makes no representation as to the accuracy of the status listed.)
- Pending
Links
Images
Landscapes
- Packages (AREA)
- Wrappers (AREA)
- Laminated Bodies (AREA)
- Containers Having Bodies Formed In One Piece (AREA)
Abstract
【解決手段】製膜可能なポリオレフィン系樹脂aに、環状ポリオレフィン系樹脂を3〜50重量%を含有するポリオレフィン系樹脂層bを少なくとも有する包装フィルム1(d)であって、包装フィルム1(d)の水蒸気透過度が3.5g/m2/day以下であり、かつ、JIS K7128 A法に準拠する引き裂き強度が5.0N以下である易引き裂き性を有する包装フィルム1(d)およびその包装フィルムを用いた容器1(d)である。
【選択図】図1
Description
分野におけるソフトブリスター形態からなる包装容器等において、ノッチ部からの開封時の易引き裂き性(直線カット性)、特に横易引き裂き性と、内容物が目視できる程度の透明性と、内容物の水蒸気飛散を防止するための水蒸気バリア性を有する易引き裂き性を有する包装フィルム及びそのフィルムを用いた容器を提供することを目的とする。
請求項1に係る発明は、製膜可能なポリオレフィン系樹脂に、環状ポリオレフィン系樹脂を3〜50重量%混合した混合樹脂からなるポリオレフィン系樹脂層を少なくとも有する包装フィルムであって、
前記包装フィルムの水蒸気透過度が3.5g/m2/day以下であり、かつ、JIS
K7128 A法に準拠する引き裂き強度が5.0N以下であることを特徴とする易引き裂き性を有する包装フィルムである。
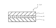
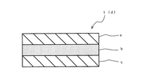
(a)層:ポリエチレン層(50μm):低密度ポリエチレン(三井化学(株)、M401P)
(b)層:ブレンド層(50μm):低密度ポリエチレン(三井化学(株)、M401P、80重量%)+環状ポリオレフィンコポリマー(三井化学(株)、APL8008T、20重量%)
(c)層:ポリエチレン層(50μm):低密度ポリエチレン(三井化学(株)、M401P)
(b)層:アイオノマー層(50μ)(三井デュポン(株)、HM1601)
(c)層:ポリエチレン層(50μm):低密度ポリエチレン(三井化学(株)、M40
1P)
(a)層:ポリエチレン層(30μm):低密度ポリエチレン(三井化学(株)、M401P)
(b)層:ブレンド層(90μm):低密度ポリエチレン(三井化学(株)、M401P、80%)+環状ポリオレフィンコポリマー(三井化学(株)、APL8008T、20%)、
(c)層:ポリエチレン層(30μm):低密度ポリエチレン(三井化学(株)、M401P)
上記の実施例1における本発明の易引き裂き性を有する包装フィルム、および本発明の比較例としての実施例2〜4で得られた包装フィルムについて加工適性(製膜適性)を確認した。その結果を表1に示す。
光線透過率計(日本電色(株)製、Σ80)を使用して測定。
JIS K7129に準拠、PERMATRAN(Mocon社、測定条件40℃−90%RH)単位g/m2/day
<引き裂き強度>
JIS K7128 A法に準拠、引き裂き速度200mm/min.幅方向の引き裂き強度、単位N。
目視で直線性確認。
ション等の製膜加工適性があり、また真空圧空成形適性もあり、さらに水蒸気透過度が3.5g/m2/day以下、かつ、引き裂き強度が5.0N以下の物性値を満たすものであることが確認できた。
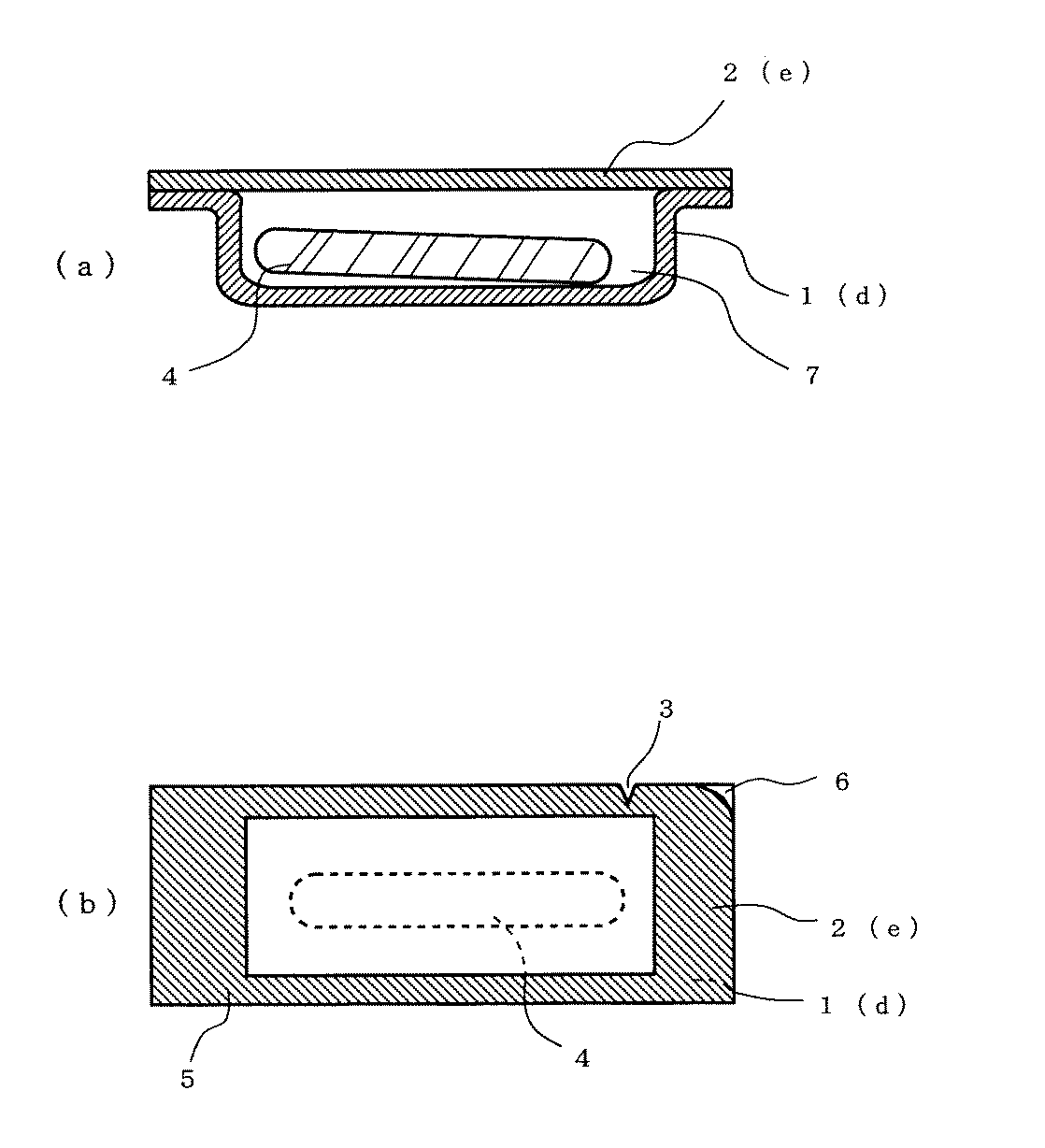
(f)印刷基材層(16μm):2軸延伸ポリエチレンテレフタレートフィルム(東洋紡績(株)、E5100)
(g)接着層(20μm):低密度ポリエチレン(三井化学(株)、M14P)
(h)ピール材層(30μm):ポリエチレン系イージーピールフィルム(東レ合成フィルム(株)、CF7601E)
得られた包装体は、蓋材のイージーピール層の機能により容易に蓋材を容器本体から剥離することができるものであった。また、包装体のヒートシール部にノッチを設け、容器本体と蓋材を一緒に引き裂いたところ、容器本体の引き裂き性により、容易に引き裂き開封することができた。
b・・・環状ポリオレフィン系樹脂を含有するポリオレフィン系樹脂層
c・・・ポリオレフィン系樹脂層
d、1・・・容器本体(底材)
e、2・・・蓋材
f・・・印刷基材層
g・・・接着層
h・・・ピール材
3・・・ノッチ
4・・・内容物
5・・・ヒートシール部
6・・・未シール部
7・・・収納部
Claims (5)
- 製膜可能なポリオレフィン系樹脂に、環状ポリオレフィン系樹脂を3〜50重量%混合した混合樹脂からなるポリオレフィン系樹脂層を少なくとも有する包装フィルムであって、
前記包装フィルムの水蒸気透過度が3.5g/m2/day以下であり、かつ、JIS
K7128 A法に準拠する引き裂き強度が5.0N以下であることを特徴とする易引き裂き性を有する包装フィルム。 - 前記環状ポリオレフィン系樹脂を3〜50重量%含有するポリオレフィン系樹脂層を中間層として、その中間層の表裏に環状ポリオレフィン系樹脂を含まないポリオレフィン系樹脂層を設けた3層構成の包装フィルムであることを特徴とする請求項1記載の易引き裂き性を有する包装フィルム。
- 中間層の環状ポリオレフィン系樹脂を含有するポリオレフィン系樹脂層の厚さが、包装フィルム全体の20〜60%の厚さであることを特徴とする請求項2記載の易引き裂き性を有する包装フィルム。
- 中間層の表裏に設けた、環状ポリオレフィン系樹脂を含まないポリオレフィン系樹脂層の厚さが、表側と裏側で等しいことを特徴とする請求項2または請求項3のいずれかに記載の易引き裂き性を有する包装フィルム。
- 請求項1〜4のいずれか1項に記載の易引き裂き性を有する包装フィルムを加熱成形してなることを特徴とする易引き裂き性を有する容器。
Priority Applications (1)
| Application Number | Priority Date | Filing Date | Title |
|---|---|---|---|
| JP2004121158A JP2005298055A (ja) | 2004-04-16 | 2004-04-16 | 易引き裂き性を有する包装フィルム及びその包装フィルムを用いた容器 |
Applications Claiming Priority (1)
| Application Number | Priority Date | Filing Date | Title |
|---|---|---|---|
| JP2004121158A JP2005298055A (ja) | 2004-04-16 | 2004-04-16 | 易引き裂き性を有する包装フィルム及びその包装フィルムを用いた容器 |
Publications (1)
| Publication Number | Publication Date |
|---|---|
| JP2005298055A true JP2005298055A (ja) | 2005-10-27 |
Family
ID=35330079
Family Applications (1)
| Application Number | Title | Priority Date | Filing Date |
|---|---|---|---|
| JP2004121158A Pending JP2005298055A (ja) | 2004-04-16 | 2004-04-16 | 易引き裂き性を有する包装フィルム及びその包装フィルムを用いた容器 |
Country Status (1)
| Country | Link |
|---|---|
| JP (1) | JP2005298055A (ja) |
Cited By (10)
| Publication number | Priority date | Publication date | Assignee | Title |
|---|---|---|---|---|
| JP2008115294A (ja) * | 2006-11-06 | 2008-05-22 | Toyo Heisei Polymer Kk | 易開封性シーラント樹脂組成物およびフィルム |
| JP2009083926A (ja) * | 2007-10-03 | 2009-04-23 | Bespack Kk | 易切開性多層容器 |
| JP2012512789A (ja) * | 2008-12-19 | 2012-06-07 | インターベツト・インターナシヨナル・ベー・ベー | 液体を保管するのに適したパッケージ |
| JP2012111538A (ja) * | 2010-11-26 | 2012-06-14 | Dainippon Printing Co Ltd | 低吸着性スタンディングパウチ |
| JP2015140188A (ja) * | 2014-01-27 | 2015-08-03 | 川上産業株式会社 | 緩衝封筒 |
| JP2015193104A (ja) * | 2014-03-31 | 2015-11-05 | ポリプラスチックス株式会社 | 多層フィルム及びそれを用いた包装材 |
| JP2017030195A (ja) * | 2015-07-30 | 2017-02-09 | シーアイ化成株式会社 | 積層フィルム、包材及び袋体 |
| JP2017100419A (ja) * | 2015-12-04 | 2017-06-08 | 日本ポリエチレン株式会社 | 耐熱性及び耐突き刺し性を有する易引裂性フィルム及び包装材 |
| JP2017100336A (ja) * | 2015-12-01 | 2017-06-08 | 日本ポリエチレン株式会社 | 耐熱性を有する易引裂性フィルム及び包装材 |
| WO2017159162A1 (ja) * | 2016-03-16 | 2017-09-21 | 国立研究開発法人産業技術総合研究所 | 包装材 |
Citations (4)
| Publication number | Priority date | Publication date | Assignee | Title |
|---|---|---|---|---|
| JPH10278198A (ja) * | 1997-04-09 | 1998-10-20 | Tousero Kk | ポリオレフィン系2軸延伸積層フィルム |
| JP2002308323A (ja) * | 2000-07-04 | 2002-10-23 | Nihon Tetra Pak Kk | 容 器 |
| JP2002331626A (ja) * | 2001-05-09 | 2002-11-19 | Sumitomo Chem Co Ltd | 易引裂性多層フィルム |
| JP2003072003A (ja) * | 2001-09-06 | 2003-03-12 | Toyobo Co Ltd | 積層ポリオレフィンフィルム及び積層包装材料 |
-
2004
- 2004-04-16 JP JP2004121158A patent/JP2005298055A/ja active Pending
Patent Citations (4)
| Publication number | Priority date | Publication date | Assignee | Title |
|---|---|---|---|---|
| JPH10278198A (ja) * | 1997-04-09 | 1998-10-20 | Tousero Kk | ポリオレフィン系2軸延伸積層フィルム |
| JP2002308323A (ja) * | 2000-07-04 | 2002-10-23 | Nihon Tetra Pak Kk | 容 器 |
| JP2002331626A (ja) * | 2001-05-09 | 2002-11-19 | Sumitomo Chem Co Ltd | 易引裂性多層フィルム |
| JP2003072003A (ja) * | 2001-09-06 | 2003-03-12 | Toyobo Co Ltd | 積層ポリオレフィンフィルム及び積層包装材料 |
Cited By (11)
| Publication number | Priority date | Publication date | Assignee | Title |
|---|---|---|---|---|
| JP2008115294A (ja) * | 2006-11-06 | 2008-05-22 | Toyo Heisei Polymer Kk | 易開封性シーラント樹脂組成物およびフィルム |
| JP2009083926A (ja) * | 2007-10-03 | 2009-04-23 | Bespack Kk | 易切開性多層容器 |
| JP2012512789A (ja) * | 2008-12-19 | 2012-06-07 | インターベツト・インターナシヨナル・ベー・ベー | 液体を保管するのに適したパッケージ |
| JP2012111538A (ja) * | 2010-11-26 | 2012-06-14 | Dainippon Printing Co Ltd | 低吸着性スタンディングパウチ |
| JP2015140188A (ja) * | 2014-01-27 | 2015-08-03 | 川上産業株式会社 | 緩衝封筒 |
| JP2015193104A (ja) * | 2014-03-31 | 2015-11-05 | ポリプラスチックス株式会社 | 多層フィルム及びそれを用いた包装材 |
| JP2017030195A (ja) * | 2015-07-30 | 2017-02-09 | シーアイ化成株式会社 | 積層フィルム、包材及び袋体 |
| JP2017100336A (ja) * | 2015-12-01 | 2017-06-08 | 日本ポリエチレン株式会社 | 耐熱性を有する易引裂性フィルム及び包装材 |
| JP2017100419A (ja) * | 2015-12-04 | 2017-06-08 | 日本ポリエチレン株式会社 | 耐熱性及び耐突き刺し性を有する易引裂性フィルム及び包装材 |
| WO2017159162A1 (ja) * | 2016-03-16 | 2017-09-21 | 国立研究開発法人産業技術総合研究所 | 包装材 |
| JP2017165455A (ja) * | 2016-03-16 | 2017-09-21 | 国立研究開発法人産業技術総合研究所 | 包装材 |
Similar Documents
| Publication | Publication Date | Title |
|---|---|---|
| JP5713190B2 (ja) | 易開封性多層フィルム及び該フィルムを用いた包装材 | |
| JP5822956B2 (ja) | 低吸着性ラミネート用多層フィルム、これを用いた複合フィルム及び包装材 | |
| JP5741935B2 (ja) | 多層フィルム及び該フィルムからなる包装材 | |
| JP4860169B2 (ja) | 易開封性共押出フィルムならびに該フィルムを用いた蓋材および深絞り成形容器 | |
| JP2005298055A (ja) | 易引き裂き性を有する包装フィルム及びその包装フィルムを用いた容器 | |
| JP6728683B2 (ja) | 多層フィルム | |
| JP3622465B2 (ja) | 分岐した小室を設けたパウチ | |
| JP2018162073A (ja) | 蓋材用無延伸共押出積層フィルム | |
| JP5699332B2 (ja) | 薬剤蒸散容器 | |
| JP6859699B2 (ja) | 再封性シーラントフィルム | |
| JP4816126B2 (ja) | 注出具付き包装袋 | |
| JP6693054B2 (ja) | 包装袋 | |
| US5988459A (en) | Dispenser package | |
| JP4449964B2 (ja) | 分岐した小室を設けたスタンディングパウチ | |
| JP6801342B2 (ja) | 再封性およびデッドホールド性を有するシーラントフィルム | |
| JP4079123B2 (ja) | 分岐した小室を設けたパウチ | |
| JP2000033958A (ja) | 注出口付きレトルト用袋 | |
| JP2019031305A (ja) | 包装袋 | |
| JP4686297B2 (ja) | 複数の収納部と複数の注出具を有する包装用袋 | |
| JP3969475B2 (ja) | 深絞り包装底材用複合フィルム。 | |
| JP2003237841A (ja) | 液体・粘体用包装体 | |
| JP2007076698A (ja) | チューブ容器 | |
| JP2019005983A (ja) | 防曇シート、成形体、および容器 | |
| JP6079073B2 (ja) | 包装用複合フィルム | |
| JP4872258B2 (ja) | 注出具付き包装用袋 |
Legal Events
| Date | Code | Title | Description |
|---|---|---|---|
| A621 | Written request for application examination |
Free format text: JAPANESE INTERMEDIATE CODE: A621 Effective date: 20070323 |
|
| A977 | Report on retrieval |
Free format text: JAPANESE INTERMEDIATE CODE: A971007 Effective date: 20090904 |
|
| A131 | Notification of reasons for refusal |
Free format text: JAPANESE INTERMEDIATE CODE: A131 Effective date: 20090915 |
|
| A521 | Written amendment |
Free format text: JAPANESE INTERMEDIATE CODE: A523 Effective date: 20091110 |
|
| A02 | Decision of refusal |
Free format text: JAPANESE INTERMEDIATE CODE: A02 Effective date: 20100316 |
