JP2005297626A - 自動車の下部車体構造 - Google Patents

自動車の下部車体構造 Download PDF

Info

Publication number
JP2005297626A
JP2005297626A JP2004112863A JP2004112863A JP2005297626A JP 2005297626 A JP2005297626 A JP 2005297626A JP 2004112863 A JP2004112863 A JP 2004112863A JP 2004112863 A JP2004112863 A JP 2004112863A JP 2005297626 A JP2005297626 A JP 2005297626A
Authority
JP
Japan
Prior art keywords
tunnel
collision
bearing support
propeller shaft
vehicle
Prior art date
Legal status (The legal status is an assumption and is not a legal conclusion. Google has not performed a legal analysis and makes no representation as to the accuracy of the status listed.)
Granted
Application number
JP2004112863A
Other languages
English (en)
Other versions
JP4496826B2 (ja
Inventor
Hiroaki Takeshita
弘明 竹下
Ichiro Kamimoto
一朗 神本
Kenji Okamoto
建治 岡本
Tetsushi Marutani
哲史 丸谷
Current Assignee (The listed assignees may be inaccurate. Google has not performed a legal analysis and makes no representation or warranty as to the accuracy of the list.)
Mazda Motor Corp
Original Assignee
Mazda Motor Corp
Priority date (The priority date is an assumption and is not a legal conclusion. Google has not performed a legal analysis and makes no representation as to the accuracy of the date listed.)
Filing date
Publication date
Application filed by Mazda Motor Corp filed Critical Mazda Motor Corp
Priority to JP2004112863A priority Critical patent/JP4496826B2/ja
Publication of JP2005297626A publication Critical patent/JP2005297626A/ja
Application granted granted Critical
Publication of JP4496826B2 publication Critical patent/JP4496826B2/ja
Anticipated expiration legal-status Critical
Expired - Fee Related legal-status Critical Current

Links

Images

Landscapes

  • Motor Power Transmission Devices (AREA)
  • Body Structure For Vehicles (AREA)

Abstract

【課題】前後方向の衝突時にプロペラシャフトを下方へ確実に屈曲させ、乗員への衝突加速度を安定化させることで、剛性感向上と車室拡大や軽量化の両立を容易にすることを目的とする。
【解決手段】フロアパネルに車両前後方向に延設されたトンネル部内断面に、プロペラシャフトと、これを車体に支持するベアリングサポートが設けられ、該ベアリングサポートの下方において、トンネル部の開口部にトンネルメンバが車幅方向に架け渡され、プロペラシャフトは、衝突時にベアリングサポートへ前後方向の衝突荷重を伝える荷重伝達部を備え、ベアリングサポートは、衝突時に荷重伝達部からの衝突荷重により前後方向に移動可能に車体に支持されると共に、トンネルメンバを係合する係合手段を備え、トンネルメンバは、車幅方向端部が前後方向の荷重によって離脱可能に車体に支持されるよう構成してある。
【選択図】図8

Description

本発明は、車両前後方向に延設されたトンネル部内にプロペラシャフトが配設されると共
に、プロペラシャフト下方に、トンネル部を補強するトンネルメンバが設けられている自動車の下部車体構造に関する。
従来、4輪駆動車あるいはFR車のように、エンジンの搭載位置と、駆動輪の位置とが前後に離間してレイアウトされ、エンジンからの駆動力を、複数のシャフトと、これを繋ぐ屈曲可能なジョイントとを有するプロペラシャフト、およびデファレンシャル部材を介して駆動輪へ伝達する自動車においては、車体のフロアパネルに下方に開口した開口部を備え、車両前後方向に延びるトンネル部を設け、このトンネル部の断面内部にプロペラシャフトを配設することで、車室の上下空間や最低地上高と、プロペラシャフトの配置空間との両立を図っている。
また、近年走行時の剛性感を高める為に、車体の旋回時等における幅方向の剛性や捩り剛性を向上させることが求められており、トンネル部の補強部材としてトンネル部の開口部に車幅方向にトンネルメンバを架け渡すことが行われている。
一方、前後方向の衝突時に、エンジンやデファレンシャル部材が前後方向に移動するような場合、プロペラシャフトがジョイントを折点として屈曲しようとするが、トンネルメンバによりプロペラシャフトの下方への屈曲が規制され、プロペラシャフトが突っ張ることで、エンジンやデファレンシャル部材が移動できずに車体の衝撃吸収のための車体変形が阻害され、衝突時に乗員に加わる衝突加速度を高めてしまう可能性があるので、衝突時には、プロペラシャフトの下方への屈曲を規制しないよう、トンネルメンバを車体から離脱しやすくすることが望まれている。
例えば、下記特許文献1には、トンネルメンバの前部と後部をボルトで車体に支持させる構造とすると共に、前後で高さの異なる階段状に形成し、プロペラシャフトが屈曲してトンネルメンバに衝突する際、トンネルメンバの前部と後部が段階的にプロペラシャフトと衝突し、離脱する構成が開示されている。このような特許文献1によれば、トンネルメンバが離脱しやすくなり、プロペラシャフトの下方への屈曲を阻害することを抑制できる。
しかしながら、上述の特許文献1によれば、以下に示すような問題がある。
つまり、特許文献1によれば、屈曲するプロペラシャフトが直接トンネルメンバに下向きに衝突して離脱させるものであり、この際、プロペラシャフトがまだ回転して屈曲する方向が不安定な場合があり、下方に屈曲したとしても、トンネルメンバで跳ね返らずに、これを離脱させる荷重を発生できる確実性が低い。
従って、自動車の設計においては、この不安定要素を考慮してトンネルメンバの車体との支持剛性を低くしトンネル部の補強を低下させなければならないか、あるいは乗員に対する衝突加速度を所望の値以下にするべく、車体前部や後部の衝撃吸収ストロークや補強について余裕を持って設計しなければならず、同車体サイズに対する車室の縮小や重量増加が伴うという問題がある。
特開平4−349080号公報
本発明は、以上のような課題に勘案してなされたもので、その目的は、トンネルメンバを備える自動車において、衝突時に確実にトンネルメンバを離脱させ、プロペラシャフトを確実に下方へ屈曲させることで、衝突加速度を安定化させ、衝突安全性と、トンネルメンバの車体との支持剛性向上による剛性感向上や、車体の軽量化および車室拡大とを容易に両立できる自動車の下部車体構造を提供することにある。
上記目的を達成するため、本発明にあってはその解決手法として次のようにしてある。すなわち、本発明の第1の構成において、
車体のフロアパネルに車両前後方向に延設され、下方に開口した開口部を備えた断面略コ字状のトンネル部と、
該トンネル部を車両前後方向に挟んで配設されたエンジン及びデファレンシャル部材と、上記トンネル部断面内に配設され、該エンジンとデファレンシャル部材を連結すると共に、複数のシャフトと該各シャフトを屈曲可能に繋ぐジョイントとからなるプロペラシャフトとを備える自動車の下部車体構造において、
上記プロペラシャフトを車体に軸回転可能に支持するベアリングサポートが設けられ、該ベアリングサポートの下方で、上記トンネル部の開口部に車幅方向に架け渡されたトンネルメンバが設けられており、上記プロペラシャフトは、衝突時に上記ベアリングサポートへ前後方向の衝突荷重を伝える荷重伝達部を備え、
上記ベアリングサポートは、衝突時に上記荷重伝達部から伝達される前後方向の衝突荷重により前後方向に移動可能に車体に支持されると共に、衝突時に上記トンネルメンバと係合する係合手段を備え、
上記トンネルメンバは、車幅方向端部が衝突時に係合された上記ベアリングサポートから伝達される前後方向の荷重によって離脱可能に車体に支持されるよう構成してある。
本発明の第1の構成によれば、衝突時にプロペラシャフトに衝突荷重が加わると、その前後方向の衝突荷重により、ベアリングサポートが後退し、この際、ベアリングサポートはプロペラシャフトの回転に追従して回転せず、ベアリングサポートの係合部にトンネルメンバが確実に係合されて車体から離脱する為、ジョイントで屈曲可能なプロペラシャフトがトンネルメンバに邪魔されずに下方へ屈曲可能なので、プロペラシャフトがトンネル部内で突っ張り衝突時に乗員に加わる衝突加速度を高めてしまうことを抑制でき、もって衝突安全性と、トンネルメンバの車体との支持剛性向上による剛性感向上や、車体の軽量化および車室拡大とを容易に両立できる自動車の下部車体構造を提供することができる。
本発明の第2の構成において、第1の構成を基に、上記トンネルメンバは、上記トンネル部の開口部に対して下方への移動を許容し、かつ上方への移動が規制されるよう、車体側の下方に面する部位に離脱可能に支持されると共に、上記ベアリングサポートの係合手段に対して、上下に離間する方向への解放を規制されるよう係合される係合部を備えるよう構成してある。
本発明の第2の構成によれば、ベアリングサポートより下方に位置するトンネルメンバが、車体側の下方に面する部位に支持されているので、上方への移動が規制されると共に、衝突時にベアリングサポートと、上下に離間する方向への解放を規制された係合状態とされるので、衝突時には、ベアリングサポートとトンネルメンバにより、プロペラシャフトの上方へ移動が規制されるので、プロペラシャフトが下方へ屈曲を開始する確実性を向上できる。従って、乗員の衝突加速度を更に安定化させ、もって衝突安全性と、剛性感向上や、車体の軽量化および車室拡大とを、更に容易に両立できる自動車の下部車体構造を提供することができる。
本発明の第3の構成において、第1または第2の構成を基に、上記プロペラシャフトは3本以上のシャフトを備えると共に、前後に並ぶ複数のジョイントの近傍に位置するシャフト端部が、それぞれ上記ベアリングサポートに支持されているよう構成してある。
本発明の第3の構成によれば、シャフトが3本以上であっても、前後に並ぶ複数のジョイントが共に上方への移動を規制されるので、プロペラシャフトが下方へ屈曲を開始する確実性を向上できる為、乗員への衝突加速度が安定化される。すなわち、シャフトが3本以上であっても、衝突安全性と、剛性感向上や車体の軽量化および車室拡大とを、容易に両立できる自動車の下部車体構造を提供することができる。
本発明の第4の構成において、第1または第2の構成を基に、上記トンネルメンバは、その一端が上記車体に対して離脱可能に支持されると共に、他端が上記車体に対して略水平方向に回動可能となるよう回転支持手段により支持され、かつ上記ベアリングサポートの係合部と、回動中に係合状態に維持される係合部を備えるよう構成してある。
本発明の第4の構成によれば、ベアリングサポートより下方に位置するトンネルメンバが、衝突時にベアリングサポートと係合した状態で、他端の回転支持手段によって水平方向に回動するので、衝突時にプロペラシャフトは上方への移動を規制され下方へ屈曲せざるをえず、プロペラシャフトが下方へ屈曲する確実性を更に向上できる。従って、衝突安全性と、剛性感向上や車体の軽量化および車室拡大とを、更に容易に両立できる自動車の下部車体構造を提供することができる。また離脱したトンネルメンバが道路に散乱することを抑制でき、衝突後の処理の工数や費用を軽減できる。
本発明の第5の構成において、第4の構成を基に、上記プロペラシャフトは3本以上のシャフトを備えると共に、前後に並ぶ複数のジョイントの近傍に位置するシャフト端部が、それぞれ上記ベアリングサポートに支持され、前後に隣り合う上記各トンネルメンバは、互いに同じ側の端部に上記回転支持手段を備えると共に、車体の上記プロペラシャフト下方でかつ車幅方向で上記回転支持手段側に、上記プロペラシャフトの下方への屈曲を阻害可能な車両の別部材が配設されているよう構成してある。
本発明の第5の構成によれば、プロペラシャフトの下方に排気管や燃料タンクなどの別部材が配設されているとしても、衝突時に、前後のトンネルメンバの別部材と反対側の同一側端部が車体から離脱するので、トンネルメンバ及びプロペラシャフトを、別部材に阻害されること無く下方に屈曲できる為、プロペラシャフトが下方へ屈曲する確実性をより高めることができる。従って、別部材のレイアウト自由度と、衝突安全性と、剛性感向上や車体の軽量化および車室拡大とを容易に高次元でバランスさせることができる自動車の下部車体構造を提供できる。
本発明の第6の構成において、第4の構成を基に、上記プロペラシャフトは3本以上のシャフトを備えると共に、前後に並ぶ複数のジョイントの近傍に位置するシャフト端部が、それぞれ上記ベアリングサポートに支持され、前後に隣り合う上記各トンネルメンバは、互いに異なる側の端部に上記回転支持手段を備えるよう構成してある。
本発明の第6の構成によれば、衝突時に、前後のトンネルメンバが夫々逆側の端部を軸に回動するので、プロペラシャフトを下方に屈曲させ、かつ左右にジグザグに屈曲するよう移動させることができ、少ないスペースで屈曲ストロークを多く確保しやすくなる。すなわち、エンジンやデファレンシャル部材の移動量が増加する分、車体前部や後部の衝突荷重吸収ストロークを長く設定でき、衝突安全性と車室の拡大とを更に容易に高次元で両立させることができる自動車の下部車体構造を提供できる。
本発明の第7の構成において、第1乃至第6の何れか1つの構成を基に、上記トンネルメンバの離脱可能な端部は、衝突時の移動方向に対して下方に傾斜した傾斜部を介して車体に取付けられているよう構成してある。
本発明の第7の構成によれば、トンネルメンバが離脱する際に、傾斜部により下方にガイドされるので、確実にプロペラシャフトが下方に移動され、下方に屈曲を開始させることができる。従って、プロペラシャフトの屈曲が不安定であることに起因する乗員への衝突加速度のばらつきが格段に抑えられるので、衝突安全性と、剛性感向上や車体の軽量化および車室拡大とを容易に高次元でバランスさせることができる自動車の下部車体構造を提供できる。
本発明によれば、衝突時に確実にトンネルメンバを離脱させると共に、プロペラシャフトを下方に屈曲させることができ、衝突加速度を安定化させ、衝突安全性と、トンネルメンバの車体との支持剛性向上による剛性感向上や、車体の軽量化および車室拡大とを容易に両立できる自動車の下部車体構造を提供することができる。
(実施形態1)
以下、本発明の実施形態1を図1乃至図10に基づいて説明する。
図1は、本発明の実施形態1に関する車体の側面構成図を示しており、図2は車体の底面図、図3は図2のA−A矢視断面図である。
図1乃至図3に示すように、実施形態1における自動車は、車体1の前後方向中央に車室2を備え、この車室2には、フロアパネル3の略中央を上方へ膨出させ、下方に開口した開口部4bを備える断面略コ字状に形成されると共に、車両前後方向に延びているトンネル部4を備え、このトンネル部4を車両前後方向に挟んで、車体前部にエンジン5及び前輪6、6に駆動力を伝達するトランスミッション7が配設され、後部に後輪8、8に駆動力を伝達するデファレンシャル部材9が配設されており、エンジン5とデファレンシャル部材9とが、トンネル部4断面内部に配設されたプロペラシャフト10によって駆動力を伝達可能に連結されている。
また、フロアパネル3の左右両側には、前輪6と後輪8の間において車両前後方向に延びるサイドシル11、11が設けられ、トンネル部4と両サイドシル11との間には、フロアパネル3の下面と接合されることで車両前後方向に延びる閉断面を形成するサイドフレーム12、12が設けられ、このサイドフレーム12、12は、フロアパネル3よりさらに前方へ延設されると共に、その前部に、前面衝突時に軸圧縮して衝突荷重を吸収するよう、剛性が他の部分より低下された衝撃吸収部12a、12aを備えている。この衝撃吸収部12a、12aは、エンジン5の前端よりも後方まで変形することが可能に衝撃吸収ストロークが設定されている。
サイドシル11、11前端部とサイドフレーム12、12とは、閉断面形状のトルクボックスで連結されている。またサイドシル11、11とトンネル部4との前後方向中間部において、フロアパネル3上面と結合することで、車幅方向に延びるクロスメンバ13、13が架け渡されている。またこのクロスメンバ13、13の閉断面は、サイドシル11、11の縦壁11a及びトンネル部4の縦壁4aに接している。
上記トンネル部4には、縦壁4aの左右クロスメンバ13、13の閉断面と接する部位を連結するよう、トンネル部下面と接合して、車幅方向に延びる閉断面を形成するベアリングサポート取付部14が架け渡されており、このベアリングサポート取付部14は、プロペラシャフト10を避けるよう下方に開口したコ字状に形成されていると共に、ベアリングサポート15を介してプロペラシャフト10を回動可能に支持するようになっている。また、上記クロスメンバ13、13の後方には、同様な構造のクロスメンバ13´、13´、及びベアリングサポート取付部14´等が設けられているが、同様な構造であるので一方のみ説明する。
ところで、このようにトンネル部4及びベアリングサポート取付部14は、プロペラシャフト10が配されるために下方に開口したコ字状に形成されているので、車幅方向及び捩れ方向に対する剛性が比較的弱くなっている。
そこで、ベアリングサポート15の下方には、トンネル部4の開口部4bを車幅方向に架け渡されるトンネルメンバ16が設けられ、このトンネルメンバは前後方向に所定の幅を有すると共に、左右両端がそれぞれクロスメンバ13の閉断面を構成するフロアパネル下面と、前後2箇所をボルトで締結されている。
このトンネルメンバ16により、左右クロスメンバ13の閉断面が連結されるので、車幅方向の剛性が格段に向上すると共に、トンネルメンバ16が前後に幅を有し、かつ前後2箇所でフロア下面と締結されるので、捩り剛性も向上することができる。
次に、プロペラシャフト10について詳細に説明する。
上記プロペラシャフト10は、前端がトランスミッション7に対して所定角屈曲しながら回転を伝達可能なジョイント17aを介して連結され、後端がデファレンシャル部材9に対して、同様にジョイント17dを介して連結されている。またプロペラシャフト10は、3本のシャフト10a、10b、10cと、各シャフト10aと10b、及び10bと10cとを連結するジョイント17b、17cとから構成されている。
なお、ジョイントにはユニバーサルジョイントを使用し、このユニバーサルジョイント自体は周知のジョイントであるので、詳細構造の説明は省略する。もちろんジョイントはユニバーサルジョイント以外でも良い。
このようにプロペラシャフト10を複数のシャフトとジョイントとで構成することで、エンジン5からの駆動力を後輪8にプロペラシャフト10を介して伝達する際、車体形状や、エンジン5とデファレンシャル部材9との位置のずれに併せてプロペラシャフト10を折り曲げることができると共に、走行時におけるエンジン5やデファレンシャル部材9の位置関係の変位をジョイント17の屈曲によって吸収することで、応力発生を防いで耐久性を向上できる。
図4はベアリングサポート近傍の拡大図であり、図1乃至図4に基いてプロペラシャフトの構造を説明する。
プロペラシャフト10は、複数のシャフトとジョイントとで構成されているので、その中間のシャフト10bが下方に垂れ下がらないよう、その前後端をベアリングを内蔵したベアリングサポート15を介して、車体のベアリングサポート取付部14へ回動可能に支持されている。
また、ベアリングサポート15は、左右にベアリングサポート取付部14にボルト18、18で締結される為のボルト孔15a、15aが、車両前後方向に延びる長孔に形成されると共に、シャフト10bのベアリングサポート15前方に、前面衝突でシャフト10bが後退した時にベアリングサポート15に荷重を伝達する荷重伝達部としての円板19が取り付けられており、ベアリングサポート15は、前面衝突時に円板19に押されて後退し、さらに押されることで長孔15aがボルト18に突き破られるか、あるいはボルト18が破断することでベアリングサポート取付部14から脱落し、プロペラシャフト10がシャフト17bを折点として屈曲可能になるよう構成されている。図4中15cは、ベアリングサポート15のケーシング15bの下部後端を後方に突出させて形成されたものであり、後述するトンネルメンバの係合部16gと係合可能な、係合手段としての係合部15cである。
次に、トンネルメンバ16について詳細に説明する。
図5はトンネルメンバの衝突時の挙動を示す説明図であり、図6は、図3におけるB−B矢視断面図である。図3及び図5、6に示すように、トンネルメンバ16は、ベアリングサポート15の下方においてトンネル部4の開口部4bを車幅方向に架け渡されると共に、その左右両端部をそれぞれ前後2箇所ずつボルト20a、20b、20c、20dによりフロアパネル3に締結されている。
図5に示すように、トンネルメンバ16の左側端部は、その前部が、車幅方向外側に向かい切り欠かれたスリット16aを貫通するボルト20aにより締結されており、その後部が、ボルト孔16bを貫通するボルト20bによってフロアパネル3に締結されている。
一方、トンネルメンバ16の上方の右側端部は、その前部をフロアパネル3に締結するボルト20cに対して、後部を締結するボルト20dが車幅方向外側に離間しており、夫々のボルトは、車両前方に切り欠かれたスリット16c、16dを貫通して構成されている。
つまり、トンネルメンバ16は、右側の車両後方に向かう荷重がボルト20b以外のボルト20a、20c、20dの締結力を上回るとき、ボルト20bが回転支持手段となり、このボルト20bを回転中心としてフロアパネル3下面に上方への移動を抑制されるので略水平に回動し、右側端部が離脱するようになっており、衝突時に離脱したトンネルメンバが道路に散乱することを抑制できる。
また、図6に示すように、トンネルメンバ16の右側端部は、フロアパネル3の後方に向かって下方に傾斜した傾斜部3aに締結されており、これにより、トンネルメンバ16の右側端部は、後退して離脱する際に下方へも移動するようになっている。
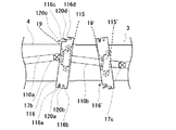
図7は、ベアリングサポートとトンネルメンバとの係合構造を説明する為の説明図であり、図1、図3、及び図7に基いて、ベアリングサポートとトンネルメンバとの関係を説明する。
図1乃至図7に示すように、トンネルメンバ16は、その前後縁部分に上方へ起立して車幅方向に延びる前後フランジ16e、16fが形成されており、車幅方向及び捩り剛性を向上している。そして、ベアリングサポート15の下方に配設された状態において、後フランジ16fが、ベアリングサポート15の下部後端より上方まで延設されていると共に、上記ベアリングサポート15のケーシング15bの下部後端から後方に突出された係合部15cと対面する位置に、この係合部15cを挿通して係合可能な係合部16gが設けられ、前面衝突時にベアリングサポート15が後退することで、係合部15cと係合部16gとが係合されるようになっている。
また、図1乃至図3に示すように、トンネルメンバ16の下方には、プロペラシャフト10やトンネルメンバ16と別部材として、車両前後方向に延びる排気管21及びこの排気管21の途中に位置する触媒ケース22が配設されており、詳細には、これら排気管21及び触媒ケース22は、トンネルメンバ16の左側端部側に配設されている。
次に、本実施形態1の作用及び効果を説明する。
図8は、本実施形態1における前面衝突時の車体の側面視構成図、図9は図8における底面図である。
図8及び図9に示すように、前面衝突時には、サイドフレーム12の衝撃吸収部12aが軸圧縮変形することにより、乗員への衝突加速度をコントロールしながら衝撃を吸収する。この衝撃吸収部12aの変形が進むと、エンジン5及びトランスミッション7が衝突荷重により後退し、エンジン5の後退に連動してプロペラシャフト10が後退すると共に、各ジョイント17a、17b、17c、17dで屈曲しようとする。
詳細には、図4に示すように、プロペラシャフト10の後退により、荷重伝達部である円板19がベアリングサポート15を押して後退させ、図7に示すように、ベアリングサポート15の係合部15cと、トンネルメンバ16の係合部16gとが係合して、トンネルメンバ16の中央に、ベアリングサポート15が外れることなく衝突荷重が確実に伝達される。
また、同様に円板19´によりベアリングサポート15´も後退され、トンネルメンバ16´に衝突荷重が伝達される。
その後、さらにエンジン5が後退すると、ベアリングサポート15の長孔15aがボルト18により突き破られるか、ボルト18が破断されることで、ベアリングサポート15がベアリングサポート取付部14から離脱し、プロペラシャフトは、中間のシャフト10bが車体に対して直接拘束されなくなることにより、各ジョイント17a、17b、17cが屈曲を始める。
同時に、図5に示すように、中央に衝突荷重が伝達されたトンネルメンバ16は、その左側端部を締結するボルト20bが回転支持手段として機能するので、右側端部が中央の移動量l1に対してより大きい移動量l2ほど移動する為、ベアリングサポート15の移動の少ない後退初期に、トンネルメンバ16の右側端部をフロアパネル3から確実に離脱させることができる。すなわち、プロペラシャフト10の屈曲方向が決定的になる前にトンネルメンバ16を離脱させ、プロペラシャフト10がトンネルメンバ16によりトンネル部4内部側に弾かれないようにすることができる。
この際、図5及び図8、図9に示すように、プロペラシャフト10は3本のシャフト10a、10b、10cを備えると共に、前後に並ぶ複数のジョイント17b、17cの近傍に位置するシャフト10b端部が、それぞれ前後のベアリングサポート15、15´に支持され、前後に隣り合う各トンネルメンバ16、16´は、互いに左側端部に回転支持手段としてのボルト20b、20b´を備えており、
衝突時に後退するベアリングサポート15、15´は、それぞれトンネルメンバ16、16´に上下方向に移動しないよう係合され、トンネルメンバ16、16´の右側端部は後退すると共にフロアパネル3の傾斜部3aによって下方へ移動されるので、ベアリングサポート15、15´と共にシャフト10bは下方に移動する。
これをきっかけとして、プロペラシャフト10は確実に下方へ屈曲を開始し、トンネルメンバ16、16´を下方に屈曲させながら下方へスムーズに屈曲する。なお、プロペラシャフト10が下方へ屈曲を開始した後は、ベアリングサポート15、15´とトンネルメンバ16、16´との係合が外れたとしても、トンネルメンバ16、16´は一端が既に離脱しているので、プロペラシャフト10がトンネル部4内部側に弾かれることはない。
この際、前後に並んで位置する2つのトンネルメンバ16、16´が互いに右側端部が離脱すると共に、左側端部側に、プロペラシャフト10の下方への屈曲を阻害可能な排気管21や触媒ケース22などの別部材が配設されているので、トンネルメンバ16、16´及びプロペラシャフト10が阻害されずに屈曲できる。
以上のように、本実施形態1によれば、トンネルメンバを備える自動車において、前後方向の衝突時に確実にトンネルメンバを離脱させ、プロペラシャフトを確実に下方へ屈曲させることで、乗員への衝突加速度を安定化させ、もって衝突安全性と、トンネルメンバの車体との支持剛性向上による剛性感向上や、車体の軽量化および車室拡大とを容易に両立できる自動車の下部車体構造を提供することができる。
また、ベアリングサポートより下方に位置するトンネルメンバが、衝突時にベアリングサポートと係合した状態でフロアパネル下面により上方への移動を規制されているので、衝突時にプロペラシャフトは下方へ屈曲せざるをえず、プロペラシャフトが下方へ屈曲する確実性を向上できる。従って、この構成によって乗員の衝突加速度を更に安定化させ、もって衝突安全性と、剛性感向上や、車体の軽量化および車室拡大とを、更に容易に両立できる自動車の下部車体構造を提供することができる。
また、シャフトが3本以上であっても、前後に並ぶ複数のジョイントを共に下方へ移動させることができるので、衝突時にプロペラシャフトがトンネルメンバに引っ掛かることを抑制でき、乗員への衝突加速度を安定化することができる。すなわち、シャフトが3本以上であっても、衝突安全性と、剛性感向上や車体の軽量化および車室拡大とを、容易に両立できる自動車の下部車体構造を提供することができる。
また、トンネルメンバが、衝突時にベアリングサポートと係合した状態で、トンネルメンバの左側端部が回転支持手段によって略水平方向に回動するので、衝突時にプロペラシャフトは上方への移動を規制され下方へ屈曲せざるをえず、プロペラシャフトが下方へ屈曲する確実性を更に向上できる。従って、この構成によって、衝突安全性と、剛性感向上や車体の軽量化および車室拡大とを、更に容易に両立できる自動車の下部車体構造を提供することができる。また離脱したトンネルメンバが道路に散乱することを抑制でき、衝突後の処理の工数や費用を軽減できる。
そして、プロペラシャフトの下方に排気管といった別部材が配設されていても、衝突時に、前後のトンネルメンバの同一側の端部が車体から離脱するので、トンネルメンバ及びプロペラシャフトを、別部材に阻害されること無く下方に屈曲できる為、プロペラシャフトが下方へ屈曲する確実性をより高めることができる。従って、この構成により別部材のレイアウト自由度と、衝突安全性と、剛性感向上や車体の軽量化および車室拡大とを容易に高次元でバランスさせることができる自動車の下部車体構造を提供できる。
更に、トンネルメンバの端部が離脱する際に、フロアパネルの傾斜部により下方にガイドされるので、確実にプロペラシャフトが下方に移動され、下方に屈曲する確実性を格段に高め、もって乗員への衝突加速度をより安定化させることができる。従って、この構成により、プロペラシャフトの屈曲が不安定であることに起因する乗員への衝突加速度のばらつきが格段に抑えられるので、衝突安全性と、剛性感向上や車体の軽量化および車室拡大とを容易に高次元でバランスさせることができる自動車の下部車体構造を提供できる。
(実施形態2)
次に、実施形態2について、図10及び図11に基づいて説明する。
実施形態1では、前後に隣り合うトンネルメンバ16、16´の同じ側の端部がフロアパネル3から離脱可能とされ、他端に回転支持手段を備える例を示したが、本実施形態2では、互いに異なる側の端部に上記回転支持手段を備える例を示す。
図10は、前面衝突時の車体の底面図であり、図11は、図10の要部のみを示した説明図である。
図10は実施形態2に関する前面衝突時の車体の底面図であるが、実施形態2は実施形態1に対して、前後に隣り合うトンネルメンバ116、116´の回転支持手段を互いに異なる側の端部に備える点のみが相違し、他は実施形態1と同様であるので、共通の部分には同じ符号を用い、詳細な説明は省略する。
図10及び図11に示すように、車両前後に隣り合うトンネルメンバ116、116´は、夫々ベアリングサポート115、115´の下方においてトンネル部4の開口部4bを車幅方向に架け渡されている。そして車両前側のトンネルメンバ116は、その左右両端部を夫々前後2箇所ずつボルト120a、120b、120c、120dによりフロアパネル3に締結されていると共に、その左側端部の前部が、車幅方向外側に向かい切り欠かれたスリット116aを貫通するボルト120aにより締結されており、その後部が、ボルト孔116bを貫通するボルト120bによってフロアパネル3に締結されていると共に、その右側端部は、その前部をフロアパネル3に締結するボルト120cに対して、後部を締結する120dが車幅方向外側に離間しており、夫々のボルトは、車両前方に切り欠かれたスリット116c、116dを貫通して構成されている。
また、トンネルメンバ116の右側端部は、実施形態1と同様にフロアパネル3の後方に向かって下方に傾斜した傾斜部3aに締結されており、これにより、トンネルメンバ116の右側端部は、離脱時に下方へも移動するようになっている。
一方、車両後側のトンネルメンバ116´は、車両前側のトンネルメンバ116と左右反転した構造とされているものであって、詳細な説明は省略する。
従って、衝突時に両トンネルメンバ116、116´が互いに異なる側の端部が離脱されるので、プロペラシャフト110は、両トンネルメンバ116、116´により中間のシャフト110bの前後端部が共に下方へ移動されると同時に、車幅方向においては、シャフト110bの前端部が前側のトンネルメンバ116の離脱した右側端部に向かって右側に移動し、一方後端部が前側のトンネルメンバ116´の離脱した左側端部に向かって移動する。すなわち、シャフト110bの前後端部は車幅方向においては互いに異なる側に移動するので、これをきっかけとして、プロペラシャフト110は下方に屈曲を開始すると同時に、車幅方向においてはジグザグに屈曲する。
以上のように、本実施形態2においては、上記実施形態1に比して、プロペラシャフトの下方に別部材を配設すると、トンネルメンバ及びプロペラシャフトの下方への屈曲が阻害されやすく不利である反面、プロペラシャフト110の屈曲量が増大され、よりエンジンやデファレンシャル部材の移動量を多くすることができるので、サイドフレームの衝撃吸収部など、衝突荷重を吸収する部分をより長く取ることができ、もって車室の拡大や軽量化を図ることができる。
尚、本実施形態1、2では、前面衝突時に際し、トンネルメンバを後方に移動させ、離脱する例を示したが、プロペラシャフトの円板やトンネルメンバ、ベアリングサポートの構成を前後逆にし、後面衝突時に対応させても良い。
(実施形態3)
次に、実施形態3について、図12、図13に基づいて説明する。
実施形態1、2では、後方へ移動する場合しか離脱困難なトンネルメンバ16、16´を備える例を示したが、本実施形態3では、前後両方向への移動においても、一端が車体から離脱可能なトンネルメンバを備える例を示す。
図12は、(a)が本実施形態3におけるベアリングサポート及びトンネルメンバの関係を示す側面図であり、(b)が底面図である。また図13はベアリングサポート周辺の拡大図である。
図12に示すように、本実施形態3においては、ベアリングサポート15の係合部15cに替えて、ベアリングサポート215のケーシング215bの下部後端から、下方に延設されると共に、下端が後方へ曲ったフック状に形成された係合部215cを備えており、その他の部分については変更はなく、詳細な説明は省略する。
一方、トンネルメンバ216においては、その車幅方向左側端部が、前後部共に設けられたボルト孔216a、216bに、ボルト220a、220bを貫通されてフロアパネル3に締結されていると共に、右側端部はその前後共に、車幅方向外側に切り欠かれたスリット216c、216dに、ボルト220c、220dを貫通されてフロアパネル3に締結されている。また、トンネルメンバ216の中央には、ベアリングサポート215の係合部215cを上下方向に常時貫通させ、衝突時には係合する為の係合部216gが設けられ、この係合部216gの周囲は他の部分から上方に隆起して剛性を確保している。また、図13に示すように、プロペラシャフト210には、ベアリングサポート215の前後に、荷重伝達部である円板219a、219bが設けられている。
従って、プロペラシャフト210が後方に移動する場合は、ベアリングサポート215が前側の円板219aに押され、ベアリングサポート215の係合部215cとプロペラシャフト216の係合部216gとが確実に係合すると共に、プロペラシャフト210が前方に移動する場合であっても、ベアリングサポート215が後側の円板219bに押され、係合部215cが係合部216gに上下方向に常時貫通しているので係合し、荷重を伝達可能になる。すなわち前後どちらに移動しようとも、ベアリングサポート215が移動してトンネルメンバ216と係合し、トンネルメンバ216は、その右側端部において、衝突荷重によりスリット216c、216dが変形してボルト220c、220dの締結が外れ、フロアパネル3より離脱するようになっている。
以上のように、本実施形態3においては、上記実施形態1、2に比して、係合部215cの形状が複雑であると共に、トンネルメンバ216は、右側端部が離脱時に変形する必要があり離脱荷重が大きいものの、前面及び後面衝突の両方において、プロペラシャフト210を、トンネルメンバ216に阻害されること無く下方に屈曲させることができると共に、トンネルメンバ216の離脱時の変形により、衝突荷重の吸収量を増加させることができる。
本発明の実施形態1に係る車体の側面構成図。 本発明の実施形態1に係る車体の底面図。 本発明の実施形態1に係る図2のA−A矢視断面図。 本発明の実施形態1に係るべアリングサポート近傍の要部拡大図。 本発明の実施形態1に係るトンネルメンバの挙動を示す説明図。 本発明の実施形態1に係る図3のB−B矢視断面図。 本発明の実施形態1に係るベアリングサポートとトンネルメンバの説明図。 本発明の実施形態1に係る車体の衝突時の側面構成図。 本発明の実施形態1に係る車体の衝突時の底面図。 本発明の実施形態2に係る車体の衝突時の底面図。 本発明の実施形態2に係る要部説明図。 本発明の実施形態3に係るベアリングサポートとトンネルメンバの説明図であり(a)は側面図、(b)は底面図。 本発明の実施形態3に係るべアリングサポート近傍の要部拡大図。
符号の説明
1:車室
2:車室
3:フロアパネル
3a:傾斜部(フロアパネル)
4:トンネル部
4a:開口部
5:エンジン
9:デファレンシャル部材
10:プロペラシャフト
10a、10b、10c:シャフト
13、13´:クロスメンバ
15、15´、115、115´、215:ベアリングサポート
15c、115c、215c:係合部
16、16´、116、116´、216:トンネルメンバ
16a、16c、16d、116a、116c、116d、216c、216d:スリット
16b、116b、216a、216b:ボルト孔
16g、216g:係合部
17a、17b、17c、17d:ジョイント
19、219a、219b:円板(荷重伝達部)
20b、120b:ボルト(回転支持手段)
21:排気管(別部材)
22:触媒ケース(別部材)

Claims (7)

  1. 車体のフロアパネルに車両前後方向に延設され、下方に開口した開口部を備えた断面略コ字状のトンネル部と、
    該トンネル部を車両前後方向に挟んで配設されたエンジン及びデファレンシャル部材と、上記トンネル部断面内に配設され、該エンジンとデファレンシャル部材を連結すると共に、複数のシャフトと該各シャフトを屈曲可能に繋ぐジョイントとからなるプロペラシャフトとを備える自動車の下部車体構造において、
    上記プロペラシャフトを車体に軸回転可能に支持するベアリングサポートが設けられ、該ベアリングサポートの下方で、上記トンネル部の開口部に車幅方向に架け渡されたトンネルメンバが設けられており、上記プロペラシャフトは、衝突時に上記ベアリングサポートへ前後方向の衝突荷重を伝える荷重伝達部を備え、
    上記ベアリングサポートは、衝突時に上記荷重伝達部から伝達される前後方向の衝突荷重により前後方向に移動可能に車体に支持されると共に、衝突時に上記トンネルメンバと係合する係合手段を備え、
    上記トンネルメンバは、車幅方向端部が衝突時に係合された上記ベアリングサポートから伝達される前後方向の荷重によって離脱可能に車体に支持されることを特徴とする自動車の下部車体構造。
  2. 上記トンネルメンバは、上記トンネル部の開口部に対して下方への移動を許容し、かつ上方への移動が規制されるよう、車体側の下方に面する部位に離脱可能に支持されると共に、上記ベアリングサポートの係合手段に対して、上下に離間する方向への解放を規制されるよう係合される係合部を備えることを特徴とする請求項1に記載の自動車の下部車体構造。
  3. 上記プロペラシャフトは3本以上のシャフトを備えると共に、前後に並ぶ複数のジョイントの近傍に位置するシャフト端部が、それぞれ上記ベアリングサポートに支持されていることを特徴とする請求項2に記載の自動車の下部車体構造。
  4. 上記トンネルメンバは、その一端が上記車体に対して離脱可能に支持されると共に、他端が上記車体に対して略水平方向に回動可能となるよう回転支持手段により支持され、かつ上記ベアリングサポートの係合部と、回動中に係合状態に維持される係合部を備えることを特徴とする請求項1または2に記載の自動車の下部車体構造。
  5. 上記プロペラシャフトは3本以上のシャフトを備えると共に、前後に並ぶ複数のジョイントの近傍に位置するシャフト端部が、それぞれ上記ベアリングサポートに支持され、前後に隣り合う上記各トンネルメンバは、互いに同じ側の端部に上記回転支持手段を備えると共に、車体の上記プロペラシャフト下方でかつ車幅方向で上記回転支持手段側に、上記プロペラシャフトの下方への屈曲を阻害可能な車両の別部材が配設されていることを特徴とする請求項4に記載の自動車の下部車体構造。
  6. 上記プロペラシャフトは3本以上のシャフトを備えると共に、前後に並ぶ複数のジョイントの近傍に位置するシャフト端部が、それぞれ上記ベアリングサポートに支持され、前後に隣り合う上記各トンネルメンバは、互いに異なる側の端部に上記回転支持手段を備えることを特徴とする請求項4に記載の自動車の下部車体構造。
  7. 上記トンネルメンバの離脱可能な端部は、衝突時の移動方向に対して下方に傾斜した傾斜部を介して車体に取付けられていることを特徴とする請求項1乃至6の何れか1つに記載の自動車の下部車体構造。
JP2004112863A 2004-04-07 2004-04-07 自動車の下部車体構造 Expired - Fee Related JP4496826B2 (ja)

Priority Applications (1)

Application Number Priority Date Filing Date Title
JP2004112863A JP4496826B2 (ja) 2004-04-07 2004-04-07 自動車の下部車体構造

Applications Claiming Priority (1)

Application Number Priority Date Filing Date Title
JP2004112863A JP4496826B2 (ja) 2004-04-07 2004-04-07 自動車の下部車体構造

Publications (2)

Publication Number Publication Date
JP2005297626A true JP2005297626A (ja) 2005-10-27
JP4496826B2 JP4496826B2 (ja) 2010-07-07

Family

ID=35329720

Family Applications (1)

Application Number Title Priority Date Filing Date
JP2004112863A Expired - Fee Related JP4496826B2 (ja) 2004-04-07 2004-04-07 自動車の下部車体構造

Country Status (1)

Country Link
JP (1) JP4496826B2 (ja)

Cited By (9)

* Cited by examiner, † Cited by third party
Publication number Priority date Publication date Assignee Title
JP2008302851A (ja) * 2007-06-08 2008-12-18 Mazda Motor Corp 車両の排気系支持構造
JP2011207344A (ja) * 2010-03-30 2011-10-20 Mazda Motor Corp 自動車の下部車体構造
JP2011207343A (ja) * 2010-03-30 2011-10-20 Mazda Motor Corp 自動車の駆動力伝達装置およびこれを備えた自動車の下部車体構造
KR101393547B1 (ko) 2012-07-11 2014-05-09 현대자동차 주식회사 차량용 프로펠러 샤프트
JP2016064784A (ja) * 2014-09-25 2016-04-28 マツダ株式会社 車両の動力伝達装置
JP2016064783A (ja) * 2014-09-25 2016-04-28 マツダ株式会社 車両の動力伝達装置
JP2016064782A (ja) * 2014-09-25 2016-04-28 マツダ株式会社 車両の動力伝達装置
US9511664B2 (en) 2014-09-11 2016-12-06 Showa Corporation Bracket assembly
JP2017087869A (ja) * 2015-11-06 2017-05-25 マツダ株式会社 車両の下部車体構造

Families Citing this family (1)

* Cited by examiner, † Cited by third party
Publication number Priority date Publication date Assignee Title
JP5581515B2 (ja) * 2011-02-10 2014-09-03 トヨタ車体株式会社 乗用車の燃料タンク損傷防止構造

Citations (3)

* Cited by examiner, † Cited by third party
Publication number Priority date Publication date Assignee Title
JPH0446925U (ja) * 1990-08-28 1992-04-21
JPH04349080A (ja) * 1991-02-22 1992-12-03 Mazda Motor Corp 車両の下部車体構造
JPH0740752A (ja) * 1993-07-27 1995-02-10 Toyota Motor Corp 車両におけるプロペラシャフトの支持構造

Patent Citations (3)

* Cited by examiner, † Cited by third party
Publication number Priority date Publication date Assignee Title
JPH0446925U (ja) * 1990-08-28 1992-04-21
JPH04349080A (ja) * 1991-02-22 1992-12-03 Mazda Motor Corp 車両の下部車体構造
JPH0740752A (ja) * 1993-07-27 1995-02-10 Toyota Motor Corp 車両におけるプロペラシャフトの支持構造

Cited By (12)

* Cited by examiner, † Cited by third party
Publication number Priority date Publication date Assignee Title
JP2008302851A (ja) * 2007-06-08 2008-12-18 Mazda Motor Corp 車両の排気系支持構造
JP2011207344A (ja) * 2010-03-30 2011-10-20 Mazda Motor Corp 自動車の下部車体構造
JP2011207343A (ja) * 2010-03-30 2011-10-20 Mazda Motor Corp 自動車の駆動力伝達装置およびこれを備えた自動車の下部車体構造
US20130008735A1 (en) * 2010-03-30 2013-01-10 Mazda Motor Corporation Powertrain system for motor vehicle and motor vehicle lower structure having the same
CN103619630A (zh) * 2010-03-30 2014-03-05 马自达汽车株式会社 用于汽车的动力系统和具有动力系统的汽车下部结构
US8794370B2 (en) 2010-03-30 2014-08-05 Mazda Motor Corporation Powertrain system for motor vehicle and motor vehicle lower structure having the same
KR101393547B1 (ko) 2012-07-11 2014-05-09 현대자동차 주식회사 차량용 프로펠러 샤프트
US9511664B2 (en) 2014-09-11 2016-12-06 Showa Corporation Bracket assembly
JP2016064784A (ja) * 2014-09-25 2016-04-28 マツダ株式会社 車両の動力伝達装置
JP2016064783A (ja) * 2014-09-25 2016-04-28 マツダ株式会社 車両の動力伝達装置
JP2016064782A (ja) * 2014-09-25 2016-04-28 マツダ株式会社 車両の動力伝達装置
JP2017087869A (ja) * 2015-11-06 2017-05-25 マツダ株式会社 車両の下部車体構造

Also Published As

Publication number Publication date
JP4496826B2 (ja) 2010-07-07

Similar Documents

Publication Publication Date Title
US9254872B2 (en) Front vehicle-body structure of vehicle
JP4779471B2 (ja) 車両の前部構造
JP5494942B2 (ja) 車両の前部構造
JP5870680B2 (ja) 自動車のフロントサブフレーム構造
JP5920164B2 (ja) フロントサブフレーム構造
JP4496826B2 (ja) 自動車の下部車体構造
JP5867115B2 (ja) 車両の下部車体構造
JP2010105585A (ja) 自動車のステアリング支持構造
JP2000343972A (ja) 自動車の動力伝達構造
JP4438416B2 (ja) 車両の前部車体構造
JP2018095137A (ja) 車体フロア構造
JP5714967B2 (ja) 車体の衝撃緩衝構造
JP2006143178A (ja) フロントサイドメンバ構造
JP4092711B1 (ja) キャブオーバー型車両の前部構造
JP4423898B2 (ja) 車体構造
JP2005239092A (ja) 自動車のフード構造
JP2013241052A (ja) 自動車の車体フレーム構造
JP4906474B2 (ja) フードロック機構を備える車両
JP2008302911A (ja) 車体構造
JP4259124B2 (ja) 車体構造
JP2007145129A (ja) 車体前部構造
JPH11278286A (ja) 引込み式ステアリング装置
JP6418204B2 (ja) 車両の前部車体構造
JP4349039B2 (ja) 自動車のサスペンション支持部構造。
JP2009096291A (ja) ステアリング装置の取付構造

Legal Events

Date Code Title Description
A621 Written request for application examination

Free format text: JAPANESE INTERMEDIATE CODE: A621

Effective date: 20070209

RD03 Notification of appointment of power of attorney

Free format text: JAPANESE INTERMEDIATE CODE: A7423

Effective date: 20070209

A131 Notification of reasons for refusal

Free format text: JAPANESE INTERMEDIATE CODE: A131

Effective date: 20091117

A521 Written amendment

Free format text: JAPANESE INTERMEDIATE CODE: A523

Effective date: 20091210

TRDD Decision of grant or rejection written
A01 Written decision to grant a patent or to grant a registration (utility model)

Free format text: JAPANESE INTERMEDIATE CODE: A01

Effective date: 20100323

A01 Written decision to grant a patent or to grant a registration (utility model)

Free format text: JAPANESE INTERMEDIATE CODE: A01

A61 First payment of annual fees (during grant procedure)

Free format text: JAPANESE INTERMEDIATE CODE: A61

Effective date: 20100405

FPAY Renewal fee payment (event date is renewal date of database)

Free format text: PAYMENT UNTIL: 20130423

Year of fee payment: 3

R150 Certificate of patent or registration of utility model

Ref document number: 4496826

Country of ref document: JP

Free format text: JAPANESE INTERMEDIATE CODE: R150

Free format text: JAPANESE INTERMEDIATE CODE: R150

FPAY Renewal fee payment (event date is renewal date of database)

Free format text: PAYMENT UNTIL: 20130423

Year of fee payment: 3

FPAY Renewal fee payment (event date is renewal date of database)

Free format text: PAYMENT UNTIL: 20140423

Year of fee payment: 4

LAPS Cancellation because of no payment of annual fees