JP2005294828A - 集積回路構造及び形成方法(高移動度平面cmossoi) - Google Patents

集積回路構造及び形成方法(高移動度平面cmossoi) Download PDF

Info

Publication number
JP2005294828A
JP2005294828A JP2005085789A JP2005085789A JP2005294828A JP 2005294828 A JP2005294828 A JP 2005294828A JP 2005085789 A JP2005085789 A JP 2005085789A JP 2005085789 A JP2005085789 A JP 2005085789A JP 2005294828 A JP2005294828 A JP 2005294828A
Authority
JP
Japan
Prior art keywords
substrate
forming
opening
insulating layer
type
Prior art date
Legal status (The legal status is an assumption and is not a legal conclusion. Google has not performed a legal analysis and makes no representation as to the accuracy of the status listed.)
Granted
Application number
JP2005085789A
Other languages
English (en)
Other versions
JP4243671B2 (ja
Inventor
Brent A Anderson
ブレント・エイ・アンダーソン
Meikei Ieong
メイケイ・イオン
J Nowaku Edward
エドワード・ジェイ・ノワク
Current Assignee (The listed assignees may be inaccurate. Google has not performed a legal analysis and makes no representation or warranty as to the accuracy of the list.)
International Business Machines Corp
Original Assignee
International Business Machines Corp
Priority date (The priority date is an assumption and is not a legal conclusion. Google has not performed a legal analysis and makes no representation as to the accuracy of the date listed.)
Filing date
Publication date
Application filed by International Business Machines Corp filed Critical International Business Machines Corp
Publication of JP2005294828A publication Critical patent/JP2005294828A/ja
Application granted granted Critical
Publication of JP4243671B2 publication Critical patent/JP4243671B2/ja
Anticipated expiration legal-status Critical
Expired - Fee Related legal-status Critical Current

Links

Images

Classifications

    • H10P90/1914
    • HELECTRICITY
    • H01ELECTRIC ELEMENTS
    • H01LSEMICONDUCTOR DEVICES NOT COVERED BY CLASS H10
    • H01L21/00Processes or apparatus adapted for the manufacture or treatment of semiconductor or solid state devices or of parts thereof
    • H01L21/70Manufacture or treatment of devices consisting of a plurality of solid state components formed in or on a common substrate or of parts thereof; Manufacture of integrated circuit devices or of parts thereof
    • H01L21/71Manufacture of specific parts of devices defined in group H01L21/70
    • H01L21/76Making of isolation regions between components
    • H01L21/762Dielectric regions, e.g. EPIC dielectric isolation, LOCOS; Trench refilling techniques, SOI technology, use of channel stoppers
    • H01L21/7624Dielectric regions, e.g. EPIC dielectric isolation, LOCOS; Trench refilling techniques, SOI technology, use of channel stoppers using semiconductor on insulator [SOI] technology
    • H01L21/76251Dielectric regions, e.g. EPIC dielectric isolation, LOCOS; Trench refilling techniques, SOI technology, use of channel stoppers using semiconductor on insulator [SOI] technology using bonding techniques
    • HELECTRICITY
    • H10SEMICONDUCTOR DEVICES; ELECTRIC SOLID-STATE DEVICES NOT OTHERWISE PROVIDED FOR
    • H10DINORGANIC ELECTRIC SEMICONDUCTOR DEVICES
    • H10D30/00Field-effect transistors [FET]
    • H10D30/01Manufacture or treatment
    • H10D30/021Manufacture or treatment of FETs having insulated gates [IGFET]
    • H10D30/024Manufacture or treatment of FETs having insulated gates [IGFET] of fin field-effect transistors [FinFET]
    • HELECTRICITY
    • H10SEMICONDUCTOR DEVICES; ELECTRIC SOLID-STATE DEVICES NOT OTHERWISE PROVIDED FOR
    • H10DINORGANIC ELECTRIC SEMICONDUCTOR DEVICES
    • H10D30/00Field-effect transistors [FET]
    • H10D30/60Insulated-gate field-effect transistors [IGFET]
    • H10D30/62Fin field-effect transistors [FinFET]
    • HELECTRICITY
    • H10SEMICONDUCTOR DEVICES; ELECTRIC SOLID-STATE DEVICES NOT OTHERWISE PROVIDED FOR
    • H10DINORGANIC ELECTRIC SEMICONDUCTOR DEVICES
    • H10D84/00Integrated devices formed in or on semiconductor substrates that comprise only semiconducting layers, e.g. on Si wafers or on GaAs-on-Si wafers
    • H10D84/01Manufacture or treatment
    • H10D84/0123Integrating together multiple components covered by H10D12/00 or H10D30/00, e.g. integrating multiple IGBTs
    • H10D84/0126Integrating together multiple components covered by H10D12/00 or H10D30/00, e.g. integrating multiple IGBTs the components including insulated gates, e.g. IGFETs
    • H10D84/0165Integrating together multiple components covered by H10D12/00 or H10D30/00, e.g. integrating multiple IGBTs the components including insulated gates, e.g. IGFETs the components including complementary IGFETs, e.g. CMOS devices
    • H10D84/0167Manufacturing their channels
    • HELECTRICITY
    • H10SEMICONDUCTOR DEVICES; ELECTRIC SOLID-STATE DEVICES NOT OTHERWISE PROVIDED FOR
    • H10DINORGANIC ELECTRIC SEMICONDUCTOR DEVICES
    • H10D84/00Integrated devices formed in or on semiconductor substrates that comprise only semiconducting layers, e.g. on Si wafers or on GaAs-on-Si wafers
    • H10D84/01Manufacture or treatment
    • H10D84/0123Integrating together multiple components covered by H10D12/00 or H10D30/00, e.g. integrating multiple IGBTs
    • H10D84/0126Integrating together multiple components covered by H10D12/00 or H10D30/00, e.g. integrating multiple IGBTs the components including insulated gates, e.g. IGFETs
    • H10D84/0165Integrating together multiple components covered by H10D12/00 or H10D30/00, e.g. integrating multiple IGBTs the components including insulated gates, e.g. IGFETs the components including complementary IGFETs, e.g. CMOS devices
    • H10D84/0188Manufacturing their isolation regions
    • HELECTRICITY
    • H10SEMICONDUCTOR DEVICES; ELECTRIC SOLID-STATE DEVICES NOT OTHERWISE PROVIDED FOR
    • H10DINORGANIC ELECTRIC SEMICONDUCTOR DEVICES
    • H10D84/00Integrated devices formed in or on semiconductor substrates that comprise only semiconducting layers, e.g. on Si wafers or on GaAs-on-Si wafers
    • H10D84/01Manufacture or treatment
    • H10D84/0123Integrating together multiple components covered by H10D12/00 or H10D30/00, e.g. integrating multiple IGBTs
    • H10D84/0126Integrating together multiple components covered by H10D12/00 or H10D30/00, e.g. integrating multiple IGBTs the components including insulated gates, e.g. IGFETs
    • H10D84/0165Integrating together multiple components covered by H10D12/00 or H10D30/00, e.g. integrating multiple IGBTs the components including insulated gates, e.g. IGFETs the components including complementary IGFETs, e.g. CMOS devices
    • H10D84/0193Integrating together multiple components covered by H10D12/00 or H10D30/00, e.g. integrating multiple IGBTs the components including insulated gates, e.g. IGFETs the components including complementary IGFETs, e.g. CMOS devices the components including FinFETs
    • HELECTRICITY
    • H10SEMICONDUCTOR DEVICES; ELECTRIC SOLID-STATE DEVICES NOT OTHERWISE PROVIDED FOR
    • H10DINORGANIC ELECTRIC SEMICONDUCTOR DEVICES
    • H10D84/00Integrated devices formed in or on semiconductor substrates that comprise only semiconducting layers, e.g. on Si wafers or on GaAs-on-Si wafers
    • H10D84/01Manufacture or treatment
    • H10D84/02Manufacture or treatment characterised by using material-based technologies
    • H10D84/03Manufacture or treatment characterised by using material-based technologies using Group IV technology, e.g. silicon technology or silicon-carbide [SiC] technology
    • H10D84/038Manufacture or treatment characterised by using material-based technologies using Group IV technology, e.g. silicon technology or silicon-carbide [SiC] technology using silicon technology, e.g. SiGe
    • HELECTRICITY
    • H10SEMICONDUCTOR DEVICES; ELECTRIC SOLID-STATE DEVICES NOT OTHERWISE PROVIDED FOR
    • H10DINORGANIC ELECTRIC SEMICONDUCTOR DEVICES
    • H10D86/00Integrated devices formed in or on insulating or conducting substrates, e.g. formed in silicon-on-insulator [SOI] substrates or on stainless steel or glass substrates
    • H10D86/01Manufacture or treatment
    • H10D86/011Manufacture or treatment comprising FinFETs
    • HELECTRICITY
    • H10SEMICONDUCTOR DEVICES; ELECTRIC SOLID-STATE DEVICES NOT OTHERWISE PROVIDED FOR
    • H10DINORGANIC ELECTRIC SEMICONDUCTOR DEVICES
    • H10D86/00Integrated devices formed in or on insulating or conducting substrates, e.g. formed in silicon-on-insulator [SOI] substrates or on stainless steel or glass substrates
    • H10D86/201Integrated devices formed in or on insulating or conducting substrates, e.g. formed in silicon-on-insulator [SOI] substrates or on stainless steel or glass substrates the substrates comprising an insulating layer on a semiconductor body, e.g. SOI
    • HELECTRICITY
    • H10SEMICONDUCTOR DEVICES; ELECTRIC SOLID-STATE DEVICES NOT OTHERWISE PROVIDED FOR
    • H10DINORGANIC ELECTRIC SEMICONDUCTOR DEVICES
    • H10D86/00Integrated devices formed in or on insulating or conducting substrates, e.g. formed in silicon-on-insulator [SOI] substrates or on stainless steel or glass substrates
    • H10D86/201Integrated devices formed in or on insulating or conducting substrates, e.g. formed in silicon-on-insulator [SOI] substrates or on stainless steel or glass substrates the substrates comprising an insulating layer on a semiconductor body, e.g. SOI
    • H10D86/215Integrated devices formed in or on insulating or conducting substrates, e.g. formed in silicon-on-insulator [SOI] substrates or on stainless steel or glass substrates the substrates comprising an insulating layer on a semiconductor body, e.g. SOI comprising FinFETs
    • HELECTRICITY
    • H10SEMICONDUCTOR DEVICES; ELECTRIC SOLID-STATE DEVICES NOT OTHERWISE PROVIDED FOR
    • H10DINORGANIC ELECTRIC SEMICONDUCTOR DEVICES
    • H10D87/00Integrated devices comprising both bulk components and either SOI or SOS components on the same substrate
    • H10W10/181
    • YGENERAL TAGGING OF NEW TECHNOLOGICAL DEVELOPMENTS; GENERAL TAGGING OF CROSS-SECTIONAL TECHNOLOGIES SPANNING OVER SEVERAL SECTIONS OF THE IPC; TECHNICAL SUBJECTS COVERED BY FORMER USPC CROSS-REFERENCE ART COLLECTIONS [XRACs] AND DIGESTS
    • Y10TECHNICAL SUBJECTS COVERED BY FORMER USPC
    • Y10STECHNICAL SUBJECTS COVERED BY FORMER USPC CROSS-REFERENCE ART COLLECTIONS [XRACs] AND DIGESTS
    • Y10S438/00Semiconductor device manufacturing: process
    • Y10S438/982Varying orientation of devices in array

Landscapes

  • Engineering & Computer Science (AREA)
  • Physics & Mathematics (AREA)
  • Condensed Matter Physics & Semiconductors (AREA)
  • General Physics & Mathematics (AREA)
  • Manufacturing & Machinery (AREA)
  • Computer Hardware Design (AREA)
  • Microelectronics & Electronic Packaging (AREA)
  • Power Engineering (AREA)
  • Metal-Oxide And Bipolar Metal-Oxide Semiconductor Integrated Circuits (AREA)
  • Thin Film Transistor (AREA)
  • Element Separation (AREA)

Abstract

【課題】特定のデバイスに最適な性能を与える異なる結晶方位を有する1つの基板上に形成された集積半導体デバイスを提供する。
【解決手段】少なくとも2つのタイプの結晶方位を有する基板を備える集積回路構造を開示する。第1のタイプの結晶方位を有する該基板の第1の部分の上に、第1のタイプのトランジスタ(例えばNFET)を形成し、第2のタイプの結晶方位を有する該基板の第2の部分の上に、第2のタイプのトランジスタ(例えばPFET)を形成する。この基板の第1の部分のうちのいくつかの部分は非浮遊基板部分を含み、基板の第1の部分の残りと全ての第2の部分とが、浮遊基板部分を含む。
【選択図】図7

Description

本発明は、半導体デバイスに関する。さらに詳細には、本発明は、シリコン・オン・インシュレータ(SOI)デバイスや相補型金属酸化膜半導体(CMOS)デバイスなど、ハイブリッド結晶方位基板上に形成される集積半導体デバイスに関する。特に、本発明は、NFETおよびPFETなど、少なくとも2種類の半導体デバイスを、異なる結晶方位を有する接合基板上に集積する手段を提供する。接合基板上の各デバイスの位置は、特定の結晶方位における当該デバイスの性能によって決まる。例えば、本発明では、(100)面にNFETを形成し、(110)面にPFETを形成する。(100)結晶面はNFETに高い性能を与え、(110)結晶面はPFETに高い性能を与える。
現在の半導体技術では、NFETやPFETなどのCMOSデバイスは、通常、Siなど単一の結晶方位を有する半導体ウェハ上に作製される。特に、今日の半導体デバイスは、(100)結晶方位を有するSiの上に構築されるものがほとんどである。
電子の移動度は、(100)Si面方位で高いことが分かっており、一方、正孔の移動度は、(110)面方位で高いことが分かっている。すなわち、(100)Siにおける正孔の移動度の値は、この結晶方位での対応する電子移動度より約1/4倍から1/2倍の低さとなる。この不一致を補償するために、通常、PFETは、そのプルアップ(pull-up)電流をNFETのプルダウン電流(pull-down)と釣り合わせて一様な回路スイッチングを実現するために、幅を広くして設計される。幅の広いNFETは、かなりのチップ領域を占めるので望ましくない。
一方、(110)Siにおける正孔の移動度は、(100)Siにおける移動度の2倍である。したがって、PFETを(110)面に形成すると、(100)面に形成したPFETより大幅に大きな駆動電流を示す。残念ながら、(110)Si面における電子の移動度は、(100)Si面に比べるとかなり低下している。(110)Si面における電子移動度の低下の一例を、図1に示す。図1において、実線は電子の移動度を示し、破線は正孔の移動度を示している。
上記の説明と図1から推察されるように、(110)Si面は、正孔の移動度が高いのでPFETデバイスには最適であるが、この結晶方位はNFETデバイスには全く不向きである。逆に、(100)Si面は、電子が移動しやすいのでNFETデバイスに最適である。
米国特許出願第10/708586号
上記の内容に鑑みて、特定のデバイスに最適な性能を与える異なる結晶方位を有する1つの基板上に形成された集積半導体デバイスを提供することが必要とされている。すなわち、1つの基板でありながら、ある種類のデバイス(例えばPFET)をある結晶面(例えば(110)面)に形成する一方で別の種類のデバイス(例えばNFET)を別の結晶面(例えば(100)面)に形成することができる基板を作製することに絶大なる要望がある。
本発明は、集積回路構造を形成する方法を提供する。この方法では、最初に、第1の基板構造上に絶縁層を形成し、第2の基板構造を該絶縁層に接合して、第1の結晶方位を有する第1の基板を該絶縁層の下に有し、第2の結晶方位を有する第2の基板を該絶縁層の上に有する積層構造を形成する。次に、本発明では、この積層構造に絶縁層まで延びる第1の開口を形成し、第1の開口を貫通して絶縁層に第2の開口を形成する。第2の開口は、第1の開口より小さい。本発明では、第2の開口を貫通して第1の基板上に追加の材料を成長させて第1の開口を充填し、積層構造の上部に、第1のタイプの結晶方位を有する第1の部分および第2のタイプの結晶方位を有する第2の部分を備える表面を形成する。本発明では、次に、基板の第1の部分の上に第1のタイプのトランジスタ(例えばNFET)を形成し、基板の第2の部分の上に第2のタイプのトランジスタ(例えばPFET)を形成する。基板の第1の部分のうち絶縁層の第2の開口の上に形成されている部分は、非浮遊(non-floating)基板部分を含み、基板の第1の部分の残りの部分および全ての第2の部分は、浮遊(floating)基板部分を含む。
第1および第2の開口を貫通して成長させる追加の材料は、第1の基板と同じ結晶方位を有する。第1の開口を形成する前に、本発明では、第2の基板を覆う保護キャップを形成する。第1の開口は、保護キャップおよび第2の基板を貫通して形成される。第1の開口を形成した後で、本発明では、第1の開口によって露出した第2の基板の側壁に沿って分離材料を形成する。上記追加の材料を成長させた後で、本発明では、第1の部分および第2の部分に浅いトレンチ分離(STI)構造を形成して、第1の部分および第2の部分を細分割する。第2の開口は、浅いトレンチ分離構造の間の距離より小さくすることにより、第2の開口のそれぞれが、隣接する2つの浅いトレンチ分離構造の間に位置するようになっている。
この方法では、少なくとも2タイプの結晶方位を有する基板を有する集積回路構造を作製する。第1のタイプのトランジスタ(例えばNFET)は、第1のタイプの結晶方位を有する基板の第1の部分の上に形成され、第2のタイプのトランジスタ(例えばPFET)は、第2のタイプの結晶方位を有する基板の第2の部分の上に形成される。基板の第1の部分のいくつかは非浮遊基板部分を含み、基板の第1の部分の残りの部分および全ての第2の部分は、浮遊基板部分を含む。
浮遊構造は、シリコン・オン・インシュレータ(SOI)構造を含み、非浮遊構造は、バイアス(biased)基板構造またはバルク基板構造を含む。非浮遊基板部分は、基板の下の層によって電気的にバイアスされる。絶縁層は、浮遊基板部分の下に位置し、これらの領域を全て絶縁体からなる完全な絶縁層により基板の下の層から電気的に分離する。小さな第2の開口があるので、実際に非浮遊基板部分の下にあるのは不完全な絶縁体からなる絶縁層である。非浮遊基板部分と浮遊基板部分の間には、浅いトレンチ分離(STI)領域がある。前記基板の第2の部分はそれぞれ、複数の浮遊基板部分を含む。
本発明の1つの独特な態様は、小さな第2の開口があるために、非浮遊基板部分の下にある絶縁層が、実際には不完全な絶縁体である点である。この実施形態の別の独特な態様は、基板の第1の部分のいくつかが非浮遊基板部分を含み、基板の残りの第1の部分(および全ての第2の部分)が、浮遊基板部分を含む点である。したがって、本発明によれば、1つの結晶方位タイプの基板群内で、どのトランジスタをSOIトランジスタにし、どのトランジスタをバルク・トランジスタにするかを、設計者が選択することができる。
本発明の上記その他の態様および目的は、以下の説明と添付の図面とを併せて考察すれば、より深く認識され理解されるであろう。ただし、本発明の好ましい実施形態とその具体的な多数の詳細を示す以下の説明は、限定を目的としたものではなく、例示を目的としたものであることを理解されたい。多くの変更および改変を、本発明の趣旨を逸脱することなく本発明の範囲内で行うことができ、本発明はこのような改変を全て包含する。
本発明は、図面を参照して以下の詳細な説明を読むことによってより理解されるであろう。
本発明ならびにその様々な特徴および利点は、添付の図面に図示し以下の説明で詳述する非限定的な実施形態に関連してより完全に説明される。図面で図示した各要素は、必ずしも寸法の比率どおりに描いたものではないことに留意されたい。本発明が無用に曖昧になるのを避けるために、周知の構成要素および処理技術についての説明は省略する。本明細書で用いる例は、単に本発明の実施方法の理解を助け、さらに当業者が本発明を実施できるようにするためのものである。したがって、これらの例は、本発明の範囲を限定しないものと理解されたい。
以下、異なる結晶面を有する1つの接合基板上にNFETやPFETなど異なる半導体デバイスを形成する方法について、本願に添付の図面を参照しながらより詳細に説明する。添付の図面では、同じか、または対応する要素は、同じ参照番号で示してある。
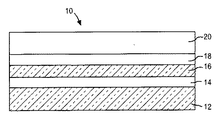
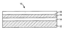
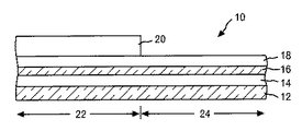
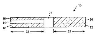
図2は、本発明で利用することができる接合基板10、すなわちハイブリッド基板を示す図である。図示のように、接合基板10は、表面誘電体層18、第1の半導体層16、絶縁層14、および第2の半導体層12を含む。必要なら、接合基板10は、第2の半導体層12の下に位置する第3の半導体層(図示せず)をさらに含むこともできる。その場合の接合基板では、絶縁層をもう1つ設けて、第2の半導体層12を(任意選択の)第3の半導体層から分離する。
接合基板10の表面誘電体層18は、接合前に初期ウェハの1つに既に形成されていたか、あるいはウェハ接合後に熱プロセス(すなわち酸化、窒化もしくは酸窒化)または堆積によって第1の半導体層16の上に形成した、酸化物、窒化物、酸窒化物またはその他の絶縁層である。表面誘電体層18は、その由来に関わらず、約3nmから約500nmの厚さを有する。より好ましくは、約5nmから約20nmの厚さを有する。
第1の半導体層16は、例えばSi、SiC、SiGe、SiGeC、Ge合金、GaAs、InAs、InP、およびその他のIII−V族化合物半導体またはII−VI族化合物半導体など、任意の半導体材料から構成される。また、第1の半導体層16は、予備形成したSOI基板からなるSOI層、または例えばSi/SiGeなどの層状半導体を含むこともできる。また、第1の半導体層16は、好ましくは(110)である第1の結晶方位を有することも特徴とする。好ましい結晶方位は(110)であるが、第1の半導体層16は、(111)結晶方位または(100)結晶方位を有することもできる。
第1の半導体層16の厚さは、接合基板10を形成するために使用する初期のウェハによって、変えることができる。ただし、通常は、第1の半導体層16は、約5nmから約500nmの厚さを有し、約5nmから約100nmの厚さであることがより好ましい。
第1の半導体層16と第2の半導体層12の間に位置する絶縁層14は、接合基板10の作製に使用した初期のウェハによって決まる可変の厚さを有する。ただし、通常は、絶縁層14は、約1nmから約500nmの厚さを有し、約5nmから約100nmの厚さであることがより好ましい。絶縁層14は、接合前のウェハの一方または両方に形成した、酸化物またはその他の同様の絶縁材料である。
第2の半導体層12は任意の半導体材料で構成され、その材料は、第1の半導体層16と同じであっても別のものであってもよい。したがって、第2の半導体層12は、例えば、Si、SiC、SiGe、SiGeC、Ge合金、GaAs、InAs、InP、およびその他のIII−V族化合物半導体、またはII−VI族化合物半導体などを含むことができる。また、第2の半導体層12は、予備形成したSOI基板からなるSOI層、または例えばSi/SiGeなどの層状半導体を含むこともできる。また、第2の半導体層12は、第1の結晶方位とは異なる第2の結晶方位を有することも特徴とする。FinFETトランジスタを備えた構造を形成するときには、異なる結晶方位を有する材料を使用するのではなく、同じ材料の基板を使用して、接合プロセス中に一方の基板60を他方の基板64に対して45°回転させて異なる結晶方位をもたらすことができる。第1の半導体層16は(110)面であることが好ましいので、第2の半導体層12の結晶方位は(100)であることが好ましい。好ましい結晶方位は(100)であるが、第2の半導体層12は、(111)結晶面または(110)結晶面構造を有することもできる。
第2の半導体層12の厚さは、接合基板10を形成するために使用する初期のウェハによって、変えることができる。ただし、通常は、第2の半導体層12は、約5nmから約200nmの厚さを有し、約5nmから約100nmの厚さであることがより好ましい。
必要に応じて第3の半導体層を設けた場合には、第3の半導体層を構成する材料は、第2の半導体層12と同じ半導体材料であっても別の半導体材料であってもよい。第3の半導体層の結晶方位は、通常は第2の半導体層と同じであるが、必ず同じになるというわけではない。第3の半導体層は、一般に第2の半導体層12より厚い。第3の層を設けた場合には、絶縁層を設けて、第3の半導体層を第2の半導体層から分離する。
図2に示す接合基板10は、共に接合された2枚の半導体ウェハで構成されている。接合基板10の作製に使用する2枚のウェハは、一方のウェハ(参照番号1で示す)が第1の半導体層16を含み、もう一方のウェハ(参照番号2で示す)が第2の半導体12を含む2枚のSOIウェハである場合(図8参照)、1枚のSOIウェハ(参照番号2)と1枚のバルク半導体ウェハ(参照番号1)である場合(図9参照)、それぞれが絶縁層14を有する2枚のバルク半導体ウェハ(参照番号1および2)である場合(図10参照)、または1枚のSOIウェハ(参照番号2)と、接合中に少なくとも一方のウェハの一部分を分割するために使用することができる水素(H)注入領域などのイオン注入領域11を含む1枚のバルク・ウェハ(参照番号1)である場合(図11参照)などがある。
接合は、最初に2枚のウェハを互いに密着させ、必要ならこれらの接触させたウェハに外力を加え、次いで、これら2枚の接触したウェハを互いに接合できる条件下で加熱することによって行う。加熱ステップは、外力を加えて行うことも、加えずに行うこともある。加熱ステップは、通常は、約200℃から約1050℃の温度で、約2時間から約20時間、不活性雰囲気中で行う。より好ましくは、接合は、約200℃から約400℃の温度で、約2時間から約20時間行う。「不活性雰囲気」という用語は、本発明では、HeやAr、N、Xe、Krまたはそれらの混合物などの不活性ガスをその中に含む雰囲気を意味している。接合プロセス中に使用される好ましい雰囲気は、Nである。
2枚のSOIウェハを使用する実施形態では、接合後に、少なくとも一方のSOIウェハのいくつかの材料層を、化学機械的研磨(CMP)や研削(grinding)およびエッチングなどの平坦化プロセスによって除去することができる。平坦化プロセスは、表面誘電体層18に達したときに終了する。
一方のウェハがイオン注入領域を含む実施形態では、接合中にイオン注入領域が多孔性(porous)領域を形成し、これにより当該ウェハのイオン注入領域の上の部分が分離され、例えば図2に示すような接合ウェハが残る。注入領域は、通常は、当業者には周知のイオン注入条件を利用してウェハ表面に注入された水素イオンから構成される。
接合するウェハがいずれも誘電体層を含まない実施形態では、表面誘電体層18は、酸化などの熱プロセス、または化学的気相堆積(CVD)、プラズマ増強CVD、原子層堆積、化学溶液付着およびその他の同様の堆積プロセスなどの従来の堆積プロセスによって、接合したウェハの上に形成することができる。
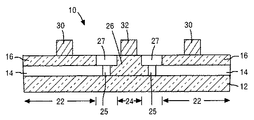
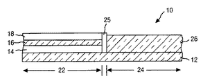
次いで、接合基板10の一部分を保護し、別の部分を保護しない状態で残すように、図2の接合基板10の所定部分の上にマスク20を形成する。接合基板10の保護された部分は、この基板の第1のデバイス領域22を画定し、保護されない部分は、第2のデバイス領域24を画定する。一実施形態では、マスク20は、フォトレジスト・マスクを接合基板10の表面全体に塗付することによって、表面誘電体層18の所定部分に形成される。フォトレジスト・マスクを塗付した後で、リソグラフィによってマスク・パターンを形成する。リソグラフィは、フォトレジストを放射光パターンで露光するステップと、レジスト現像装置を用いてこのパターンを現像するステップとを含む。こうして得られた接合基板10の所定部分にマスク20が形成された基板の例を、図3に示す。
別の実施形態では、マスク20は、リソグラフィおよびエッチングを利用して形成およびパターン形成した窒化物または酸窒化物の層である。窒化物または酸窒化物のマスク20は、第2の半導体デバイスの領域を画定した後で除去することもできる。
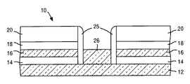
接合基板10にマスク20を形成した後で、第2の半導体層12の表面が露出するように、この基板に1回または複数回のエッチング・ステップを施す。詳細には、本発明のこの時点で用いる1回または複数回のエッチング・ステップでは、表面誘電体層18の保護されていない部分、ならびにその下に位置する第1の半導体層16の部分、および第1の半導体層16を第2の半導体層12から分離する絶縁層14の一部分を除去する。エッチングは、1回のエッチング・ステップで行ってもよいし、あるいは複数のエッチング・ステップを利用してもよい。本発明のこの時点で用いるエッチングとしては、反応性イオン・エッチングやイオン・ビーム・エッチング、プラズマ・エッチング、レーザ・エッチングなどのドライ・エッチング・プロセス、または化学エッチング液を利用するウェット・エッチング・プロセス、あるいはそれらの任意の組合せを利用することができる。本発明の好ましい実施形態では、第2の半導体デバイス領域24内の表面誘電体層18、第1の半導体層16および絶縁層14の保護されていない部分を選択的に除去する際に、反応性イオン・エッチング(RIE)を使用する。エッチング・ステップを行った後で得られる構造の一例を、図4に示す。このエッチング・ステップの後では、保護されている第1のデバイス領域22、すなわち表面誘電体層18、第1の半導体層16、絶縁層14および第2の半導体層12の側壁が露出していることに留意されたい。図示のように、層18、16および14の露出した側壁は、マスク20の最も外側の縁部と位置合わせされている。
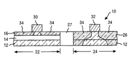
次いで、従来のレジスト剥離プロセスを用いて図4に示す構造からマスク20を除去し、次いで露出した側壁上にライナ(liner)またはスペーサ25を形成する。ライナまたはスペーサ25は、堆積およびエッチングによって形成される。ライナまたはスペーサ25は、例えば酸化物などの絶縁材料で構成される。
ライナまたはスペーサ25を形成した後で、露出した第2の半導体層12の上に半導体材料26を形成する。本発明によれば、半導体材料26は、第2の半導体層12の結晶方位と同じ結晶方位を有する。これにより得られる構造の一例を、図5に示す。
半導体材料26は、Siや歪Si、SiGe、SiC、SiGeCまたはそれらの組合せなど、選択的エピタキシャル成長法によって形成することができる任意のSi含有半導体を含むことができる。いくつかの好ましい実施形態では、半導体材料26はSiで構成される。別の好ましい実施形態では、半導体材料は、緩和SiGe合金層の上に位置する歪Si層である。本発明では、半導体材料26を再成長(regrown)半導体材料と呼ぶこともある。
次に、半導体材料26の上面が第1の半導体層16の上面とほぼ面一(同一平面)になるように、図5に示す構造に化学機械的研磨(CMP)または研削などの平坦化プロセスを施す。表面誘電体層18のそれまで保護されていた部分が、この平坦化プロセスの間に除去されることに留意されたい。
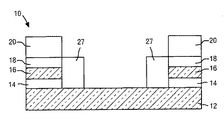
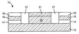
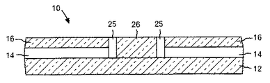
実質的に平坦な表面を準備した後で、通常は、浅いトレンチ分離(shallowtrench isolation)領域などの分離領域27を形成して、第1の半導体デバイス領域22を第2の半導体デバイス領域24から分離する。分離領域27は、例えばトレンチを画定しエッチングするステップと、必要なら拡散バリヤでトレンチの内側を覆う(lining)ステップと、酸化物などのトレンチ誘電体でトレンチを充填するステップとを含む、当業者には周知の処理ステップを利用して形成される。トレンチ充填後に、この構造を平坦化することができ、必要なら高密度化(densification)プロセス・ステップを行ってトレンチ誘電体を高密度化することもできる。
こうして得られた、分離領域27を含むほぼ平坦な構造の一例を、図6に示す。図示のように、図6の構造は、第1の結晶方位を有する露出した第1の半導体層16と、第2の半導体層12と同じ結晶方位を有する露出していない再成長半導体材料26とを含む。
図7は、第1の半導体層16の一部の上に第1の半導体デバイス30を形成し、再成長半導体材料26の上に第2の半導体デバイス32を形成した後で形成される集積構造を示す図である。各デバイス領域に存在する半導体デバイスは1つずつしか示していないが、本発明では、それぞれのデバイス領域に各タイプのデバイスを複数形成することも考えられる。本発明によれば、第1の半導体デバイスが第2の半導体デバイスと異なること、および高性能デバイスとなる結晶方位でそれぞれのデバイスが作製されることを条件として、第1の半導体デバイスをPFETまたはNFETにし、第2の半導体デバイスをNFETまたはPFETにすることができる。PFETおよびNFETは、当業者には周知の標準的なCMOS処理ステップを利用して形成される。各FETは、ゲート誘電体、ゲート導体、ゲート導体の上に配置される任意選択のハード・マスク、少なくともゲート導体の側壁に位置するスペーサ、およびソース/ドレイン拡散領域を含む。拡散領域は、図7では参照番号34で示してある。PFETは(110)または(111)方位を有する半導体材料の上に形成され、NFETは(100)または(111)方位を有する半導体表面の上に形成されることに留意されたい。
上記説明および図2乃至図7は、異なる2つの結晶方位を有する接合基板の提供、マスキング、エッチング、再成長、平坦化およびデバイス形成を含む、本発明の基本概念を説明するものである。図12乃至図21を参照して行う以下の説明では、(100)結晶面に形成された2つのNFETと、これらのNFETの間に位置する、(110)結晶面に形成された1つのPFETとを含む高性能半導体デバイスを形成する際に使用される処理ステップを例示する。
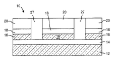
図12は、本発明のこの実施形態で使用することができる接合基板10を示す図である。接合基板10は、表面誘電体層18、第1の半導体層16、絶縁層14、および第2の半導体層12を含む。必要なら、第3の半導体層を、第2の半導体層12の下に配置することもできる。そのような実施形態では、新たに絶縁層を設けて、第2の半導体層を第3の半導体層から分離する。
図13は、表面誘電体層18の上に窒化物マスク20を形成した後の構造を示している。窒化物マスク20は、CVDなど、従来の堆積プロセスを利用して形成される。
窒化物マスク20を形成した後で、パターン形成したフォトレジスト・マスクを使用してエッチングを行ってマスクにパターン形成し、次いで、もう一度エッチング・プロセスを行ってこのパターンを窒化物マスクから構造に転写する。このエッチングは、第2の半導体層12の上側表面層に達するまで行う。この2回目のエッチング・プロセスのエッチングでは、表面誘電体層18、第1の半導体層16および絶縁層14の一部を除去する。接合基板10にパターンを転写する際には、1回または複数回のエッチング・プロセスを行う。こうして得られたパターン転写後の構造を、図14に示す。
次に、図15に示すように、露出した側壁にスペーサ25を形成する。スペーサ25は、例えば酸化物などの絶縁材料で構成される。保護された第1のデバイス領域の側壁に配置されたスペーサ25は、堆積およびエッチングによって形成される。
スペーサ25を形成した後で、第2の半導体層12の露出表面上に半導体材料26を形成して、例えば図16に示す構造を形成する。次いで、図16に示す構造を平坦化して、図17に示すほぼ平坦な構造を形成する。平坦化ステップでは、それまでにエッチングで除去されなかった窒化物マスク20および表面誘電体層18を除去して、第1の半導体層16が露出し、かつ再成長半導体材料26が露出した構造を形成することに留意されたい。露出した第1の半導体層16は、NFETなど第1の半導体デバイスを形成するための領域であり、半導体材料26の露出表面は、PFETなどの第2の半導体デバイスを形成するための領域である。
次に、図18に示すように、図17に示すほぼ平坦な構造の上に、パッド酸化物51およびパッド窒化物52を含む材料スタック50を形成する。材料スタック50のパッド酸化物51は、熱酸化プロセスまたは堆積によって形成され、パッド窒化物52は、熱窒化プロセスまたは堆積によって形成される。パッド窒化物52は、通常は、その下にあるパッド酸化物51より厚い。
材料スタック50は、分離領域27用のトレンチ開口の画定に使用される。図19は、図18に示す構造にトレンチ開口29を形成した後の構造を示す図である。トレンチ開口29は、リソグラフィおよびエッチングによって形成される。
トレンチ開口29を画定した後で、トレンチ開口29を、酸化物などのトレンチ誘電体で充填し、第1の半導体層16および再成長半導体材料26に合わせて平坦化する。図20は、トレンチ充填および平坦化を行った後の構造を示す図である。図20に示す構造は、3つのデバイス領域を含む。そのうちの2つを、第1の半導体デバイス30を形成するための第1のデバイス領域22と呼び、3つ目の領域を、第2の半導体デバイス32を形成するための第2のデバイス領域24と呼ぶ。
図21は、第1の半導体デバイス30を第1の半導体層16の一部分の上に形成し、第2の半導体デバイス32を再成長半導体材料26の上に形成した後の集積構造を示す図である。各デバイス領域に存在する半導体デバイスは1つずつしか示していないが、本発明では、それぞれのデバイス領域に各タイプのデバイスを複数形成することも考えられる。本発明によれば、第1の半導体デバイスをPFET(またはNFET)とし、第2の半導体デバイスをNFET(またはPFET)とすることができる。PFETおよびNFETは、当業者には周知の標準的なCMOS処理ステップを用いて形成する。各FETは、ゲート誘電体、ゲート導体、ゲート導体の上に配置される任意選択のハード・マスク、少なくともゲート導体の側壁に配置されるスペーサ、およびソース/ドレイン拡散領域を含む。PFETは(110)または(111)方位を有する表面の上に形成され、NFETは(100)または(111)方位を有する表面の上に形成されることに留意されたい。図21に示す構造では、NFETはSOI類似のデバイスであり、PFETはバルク状の半導体デバイスである。第2の半導体層12の下に第3の半導体層が存在する場合には、3つのデバイスが全てSOI類似のデバイスとなる。
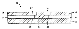
図22乃至図28は、(100)結晶面に形成された2つのNFETと、それらのNFETの間に位置する、(110)結晶面に形成された1つのPFETとを含む高性能半導体デバイスを形成する際に使用される代替の処理方法を示す図である。この代替方法では、最初に、図22に示す接合基板を形成する。接合基板10は、少なくとも、表面誘電体層18、第1の半導体層16、絶縁層14および第2の半導体層12を含む。必要なら、第2の半導体層の下に第3の半導体層を配置することもできる。
次に、接合基板10上に窒化物マスク20を形成して、図23に示す構造を形成する。接合基板10上に窒化物マスク20を形成した後で、窒化物マスク20と表面誘電体18とを合わせてエッチング・マスクとして利用して、分離領域27を形成する。分離領域27は、窒化物マスク20の表面にフォトレジストを塗布し、フォトレジストをパターン形成し、このパターンをフォトレジストから窒化物マスク20に転写し、次に表面誘電体層18に転写することによって、第1の半導体層16が露出する。次いで、露出した第1の半導体層16を、絶縁層14の上面に達するまでエッチングする。次いで、このエッチング・ステップで形成されたトレンチをトレンチ誘電体で充填し、窒化物マスク20の上面に合わせて平坦化する。図24は、トレンチ充填および平坦化を行った後の構造を示す図である。特に、分離領域27を図24に示す。
次いで、分離領域と分離領域の間の材料を除去して、図25に示す構造を形成する。詳細には、分離領域と分離領域の間の材料の除去は、この構造の第1の半導体デバイスを形成するための部分を保護するブロック・マスクを形成し、窒化物マスク20、表面誘電体層18および第1の半導体層16の保護されていない部分を、絶縁層14に達するまでエッチングすることによって行う。
次いで、酸化物などの絶縁材料を選択的に除去するエッチング・ステップを利用して絶縁層14の露出部分を除去し、例えば図26に示す構造を形成する。このエッチング・ステップでは、分離領域27の高さも低くなることに留意されたい。このエッチング・ステップは、第2の半導体層12の上面に達したところで停止する。次いで、残りの窒化物マスク20をこの構造から剥離し、第2の半導体材料12の露出した表面上に半導体材料26を再成長させて、例えば図27に示す構造を形成する。この特定の実施形態では、再成長半導体材料26は、上側歪Si層31を含む。
次いで、図27に示す構造から酸化物を剥離し、第1の半導体層16の露出部分の上に歪Si31を形成する。歪Si層を形成した後で、CMOSデバイス30および32を、それぞれ高性能デバイスを与える結晶方位で形成する。こうして得られた歪Si層の上に形成されたNFETおよびPFETを含む構造の一例を、図28に示す。
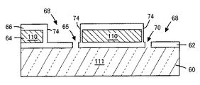
図29乃至図33は、選択的な浮遊基板および非浮遊基板を備えた集積回路構造を形成する方法を提供するさらに別の実施形態を示す図である。図29に示すように、この方法では、最初に、上述の方法および材料のいずれかを使用して、第1の基板60の構造上に絶縁層62を形成し、第2の基板64の構造を絶縁層62に接合して、積層構造65を形成する。上述のように、第1の基板60は第1の結晶方位を有することができ、第2の基板64は第2の結晶方位を有することができ、上述した基板のいずれかを含むことができる。本発明では、接合プロセスの前または後に、第2の基板64の上に保護キャップ66(例えば窒化物エッチング・ストップ層など)を形成することができる。
次に、図30に示すように、本発明では、絶縁層62まで下向きに延びる第1の開口68を積層構造65内に形成し、第1の開口68を貫通して、絶縁層62内に第2の開口70を形成する。第1の開口68は、保護キャップ66および第2の基板64を貫通して形成する。第2の開口70は、第1の開口68より小さい。第1の開口68を形成した後で、本発明では、第1の開口68によって露出した第2の基板64の側壁に沿って、分離材料74(例えば酸化物など)を形成する。
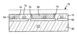
図31に示すように、本発明では、第2の開口70を通して追加の材料72をエピタキシャル成長させ(第1の基板60をシード材料として用いる)、少なくとも第1の開口68を充填する。第1の開口68および第2の開口70を通して成長させたこの追加の材料72は、第1の基板60から(これをシード材料として用いて)成長させた(例えばエピタキシャル・シリコン成長)ものであるので、第1の基板60と同じ結晶方位を有する。この構造を、図32に示すように平坦化して、積層構造65の上部に、第1のタイプの結晶方位を有する第1の部分72および第2のタイプの結晶方位を有する第2の部分64を有する基板表面75を形成する。
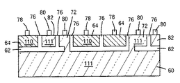
次に、図33に示すように、本発明では、(例えば周知のパターン形成プロセスおよび絶縁層堆積/成長プロセスを用いて)第1の部分72および第2の部分64に浅いトレンチ分離(STI)構造を形成し、第1の部分72および第2の部分64をさらに細分割する。第2の開口70は、各浅いトレンチ分離構造76の間の距離よりも小さいので、第2の開口70のそれぞれが、隣接する2つの浅いトレンチ分離構造の間に位置するようになっている。
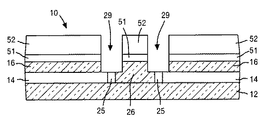
基板の第1の部分72のうち、絶縁層62の第2の開口70の上に形成された部分は非浮遊基板部分72として残り、残りの第1の部分72は浮遊部分82となる(STI構造76の絶縁する働きによってその下にある基板60から分離される)。この基板の全ての第2の部分64は、浮遊基板部分として残る。
したがって、これらのSOI構造76は、その下にある基板60から電気的に分離された(その上で浮遊する)シリコン・オン・インシュレータ(SOI)構造を含む「浮遊」構造82を形成し、その下にある基板60から分離されない(その上で浮遊していない)バイアス基板構造またはバルク基板構造を含むいくつかの「非浮遊」構造72を形成する。したがって、非浮遊基板部分72は、基板60(および基板60の下の層)によってバイアスされる。浮遊基板部分64、82の下の絶縁層62は、これらの領域を基板60から電気的に分離している。浅いトレンチ分離(STI)領域は、非浮遊基板部分72と浮遊基板部分64、82との間に存在する。
本発明では、基板の第1の部分72の上に第1のタイプのトランジスタ80(例えばNFET)を形成し、基板の第2の部分64の上に第2のタイプのトランジスタ78(PFET)を形成する。したがって、この集積回路構造は、少なくとも2つのタイプの結晶方位を有する基板表面75を有する。第1のタイプのトランジスタ(例えばNFET(またはPFET))80は、基板の第1の部分72、82(第1のタイプの結晶方位、例えば111を有する)の上に形成され、第2のタイプのトランジスタ(例えばPFET(またはNFET))78は、第2のタイプの結晶方位(例えば110や100など)を有する基板の第2の部分64の上に形成される。これらのトランジスタとしては、水平相補型金属酸化膜半導体(CMOS)トランジスタまたはフィン型電界効果トランジスタ(FinFET)などがある。
FinFETトランジスタを備えた構造を形成するときには、異なる結晶方位を有する材料を使用するのではなく、同じ材料の基板を使用して、接合プロセス中に一方の基板を他方の基板に対して45°回転させて異なる結晶方位をもたらすことができる。例えば、図34に示すように、FinFETを形成するときには、結晶方位の異なる様々な基板を利用する図2、図8、図12、図22および図29に示す構造から開始するのではなく、本発明では、結晶方位が同じタイプである(例えば両方とも110または111である)同じ材料の基板712および716を有するが、一方の基板712の結晶構造が他方の基板716の結晶構造に対して角度をなしている(45°回転している)構造700を利用することができる。FinFETを基板上に形成するときには、この構造を、図2から図33に示したのと全く同じ処理技術に適用することができる。本発明のこの態様の1つの利点は、全てのフィンを互いに平行に形成し、その上全てのフィンの結晶方位を異なる向きにすることができることである。
本発明のこの実施形態の、前述の実施形態に比べて独特な点は、小さな第2の開口があることにより、非浮遊基板部分72の下にある絶縁層が、実際には不完全な絶縁体であるということである。この実施形態のもう1つの独特な点は、この基板の第1の部分72のいくつかの部分が非浮遊基板部分を含み、この第1の部分72の残りの部分(および全ての第2の部分64)が、浮遊基板部分を含むことである。したがって、本発明によれば、1つの結晶方位タイプの基板群内でどのトランジスタをSOIトランジスタにし、どのトランジスタをバルク・トランジスタにするかを設計者が選択することが可能になる。
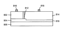
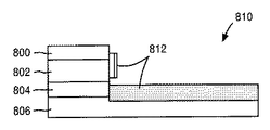
集積回路構造を形成する別の方法を図35から図42に示す。この実施形態は、異なる結晶方位を有するFinFETトランジスタの形成に関する。図35に示すように、この実施形態では、最初に、第1の結晶方位を有する第1の基板構造802に第1の絶縁層804を形成する。次に、本発明では、第2の結晶方位を有する第2の基板構造806を第1の絶縁層804に接合して、図35に示す積層構造を形成する。このプロセス中の任意の時点でさらに別の絶縁層800を形成することができる。
第1の基板構造802および第2の基板構造806は、同じタイプの結晶方位を有することができるが、第1の基板構造802の結晶構造は第2の基板構造806の結晶構造に対して(例えば45°)回転している。あるいは、第1の基板構造802および第2の基板構造806を、異なるタイプの結晶方位を有するように形成することもできる。
次に、本発明では、積層構造の上でマスク808をパターン形成し、第1の基板構造802および絶縁層804に開口810を形成して、第2の基板構造806の一部分を露出させる(図36参照)。その後、本発明では、開口810内の第1の基板構造802の露出した側壁部分を保護する。方向性エッチング・プロセスを用いて絶縁層812の水平部分を除去し、絶縁層812の垂直部分のみが適所に残って、その後の処理中に第1の基板構造802の側壁部分を保護するようにする。
図37に示すように、本発明では、次いで、第2の基板構造806の露出部分の上に直接シリコン・ゲルマニウム層816を形成する。次いで、本発明では、シリコン・ゲルマニウム層816の上に開口810を通してシリコン材料814を成長(例えばエピタキシャル成長)させて開口810を充填し、図37に示す構造を形成する。シリコン材料814は、そのシード材料である材料806と同じ結晶方位を有することになる。ゲルマニウム濃度が十分に低く(例えば10〜15%)、厚さが薄く保たれている(例えば<1μm)場合には、格子構造が維持され、歪み状態となる。Geの濃度が高くなる、または厚さが厚くなると、格子欠陥が生じることになる。
図38で、積層構造を平坦化して絶縁層800を除去し、水平な表面にする。より詳細には、平坦化後、積層構造の上部の表面は、第1の結晶方位を有する第1の部分802と、第2の結晶方位を有する第2の部分814とを有する。
図38に示す構造の上にマスク818を形成し、第1の部分802および第2の部分814をパターン形成して、図39に示すように第1のタイプのフィン802および第2のタイプのフィン814を形成する。第1のタイプのフィン802は、第1の結晶方位を有し、絶縁層804によって第2の基板806から絶縁されている。第2のタイプのフィン814は、第2の結晶方位を有し、シリコン・ゲルマニウム層816の上に配置されている。
第2のタイプのフィン814を第2の基板806から絶縁するために、本発明では、シリコン・ゲルマニウム層を絶縁層に変化させる。これは、図40に示すように、単純にシリコン・ゲルマニウム層816を酸化して酸化物層822にすることにより行うことができる。SiGe層は、厚くすることもあり、必ずしも全体を酸化するとは限らない。要は、フィンを基板から分離するために、フィンの下のSiGeを酸化すればよい。その下がシリコンである一部のSiGeは、酸化されないまま残っていてもよい。
シリコン・ゲルマニウム層816の酸化は、シリコン・フィン802および814よりはるかに速く進行することになる。したがって、このシリコン・ゲルマニウム層816を酸化する酸化プロセスでは、フィン802および814は完全には酸化せず、フィン802および814の外側に酸化物820が生成されることになる。必要なら、この酸化物820をFinFETトランジスタのゲート酸化物として使用することもできる。あるいは、図41および図42に示すように、シリコン・ゲルマニウム層816を除去して、酸化物で置き換えることもできる。より詳細には、図41に示すように、選択的エッチング・プロセスを使用して、シリコン・フィン802および814にはほとんど影響を及ぼさずに、シリコン・ゲルマニウム層816を除去することができる。この場合、第2のタイプのフィン814の下に隙間824が形成される。第2のタイプのフィン814は開口の3次元の側壁(図35から図42の概略断面図には図示せず)に接続されているので、このプロセスでは第2のタイプのフィン814が除去されないことに留意されたい。その後、図42に示すように、本発明では、露出したシリコンの上に酸化物826を形成し、これが第2のタイプのフィン814と第2のタイプの基板806の間の絶縁層となる。この場合も、絶縁層826は、後続の処理中にゲート酸化物として使用することができる。
次いで、フィンの端部にドーピングを行ってソース領域およびドレイン領域を形成し、これらのフィンの中央部分の上にゲート導体を形成する。FinFET技術の当業者には周知のように、この構造の上に様々な絶縁層を形成し、この絶縁層はソース、ドレイン、ゲート導体などに接触する。したがって、このプロセスでは、結晶方位の異なる複数のフィンを有し、それらのフィンがその下の基板から絶縁されたFinFETトランジスタも同時に形成される。
好ましい実施形態に関連して本発明について説明したが、添付の特許請求の範囲の趣旨および範囲内で様々な修正を加えて本発明を実施することができることを、当業者なら理解するであろう。
Si基板のVgs=1Vにおけるμeffを結晶方位に対してプロットした図である。 接合基板の結晶方位の異なる面上に集積CMOSデバイスを形成する際に本発明で用いる基本的な処理方法の1ステップを示す断面図である。 接合基板の結晶方位の異なる面上に集積CMOSデバイスを形成する際に本発明で用いる上記基本的な処理方法の1ステップを示す断面図である。 接合基板の結晶方位の異なる面上に集積CMOSデバイスを形成する際に本発明で用いる上記基本的な処理方法の1ステップを示す断面図である。 接合基板の結晶方位の異なる面上に集積CMOSデバイスを形成する際に本発明で用いる上記基本的な処理方法の1ステップを示す断面図である。 接合基板の結晶方位の異なる面上に集積CMOSデバイスを形成する際に本発明で用いる上記基本的な処理方法の1ステップを示す断面図である。 接合基板の結晶方位の異なる面上に集積CMOSデバイスを形成する際に本発明で用いる上記基本的な処理方法の1ステップを示す断面図である。 互いに接合することができる、図2から図7で説明した方法で使用することができる様々なウェハを示す断面図である。 互いに接合することができる、図2から図7で説明した方法で使用することができる様々なウェハを示す断面図である。 互いに接合することができる、図2から図7で説明した方法で使用することができる様々なウェハを示す断面図である。 互いに接合することができる、図2から図7で説明した方法で使用することができる様々なウェハを示す断面図である。 (100)結晶面に形成された2つのNFETと、これらのNFETの間に位置する(110)結晶面に形成された1つのPFETとを含む高性能半導体デバイスを形成する際に本発明で用いる基本的な処理方法の1ステップを示す断面図である。 (100)結晶面に形成された2つのNFETと、これらのNFETの間に位置する(110)結晶面に形成された1つのPFETとを含む高性能半導体デバイスを形成する際に本発明で用いる上記基本的な処理方法の1ステップを示す断面図である。 (100)結晶面に形成された2つのNFETと、これらのNFETの間に位置する(110)結晶面に形成された1つのPFETとを含む高性能半導体デバイスを形成する際に本発明で用いる上記基本的な処理方法の1ステップを示す断面図である。 (100)結晶面に形成された2つのNFETと、これらのNFETの間に位置する(110)結晶面に形成された1つのPFETとを含む高性能半導体デバイスを形成する際に本発明で用いる上記基本的な処理方法の1ステップを示す断面図である。 (100)結晶面に形成された2つのNFETと、これらのNFETの間に位置する(110)結晶面に形成された1つのPFETとを含む高性能半導体デバイスを形成する際に本発明で用いる上記基本的な処理方法の1ステップを示す断面図である。 (100)結晶面に形成された2つのNFETと、これらのNFETの間に位置する(110)結晶面に形成された1つのPFETとを含む高性能半導体デバイスを形成する際に本発明で用いる上記基本的な処理方法の1ステップを示す断面図である。 (100)結晶面に形成された2つのNFETと、これらのNFETの間に位置する(110)結晶面に形成された1つのPFETとを含む高性能半導体デバイスを形成する際に本発明で用いる上記基本的な処理方法の1ステップを示す断面図である。 (100)結晶面に形成された2つのNFETと、これらのNFETの間に位置する(110)結晶面に形成された1つのPFETとを含む高性能半導体デバイスを形成する際に本発明で用いる上記基本的な処理方法の1ステップを示す断面図である。 (100)結晶面に形成された2つのNFETと、これらのNFETの間に位置する(110)結晶面に形成された1つのPFETとを含む高性能半導体デバイスを形成する際に本発明で用いる上記基本的な処理方法の1ステップを示す断面図である。 (100)結晶面に形成された2つのNFETと、これらのNFETの間に位置する(110)結晶面に形成された1つのPFETとを含む高性能半導体デバイスを形成する際に本発明で用いる上記基本的な処理方法の1ステップを示す断面図である。 (100)結晶面に形成された2つのNFETと、これらのNFETの間に位置する(110)結晶面に形成された1つのPFETとを含む高性能半導体デバイスを形成する際に使用する代替の処理方法の1ステップを示す断面図である。 (100)結晶面に形成された2つのNFETと、これらのNFETの間に位置する(110)結晶面に形成された1つのPFETとを含む高性能半導体デバイスを形成する際に使用する上記代替の処理方法の1ステップを示す断面図である。 (100)結晶面に形成された2つのNFETと、これらのNFETの間に位置する(110)結晶面に形成された1つのPFETとを含む高性能半導体デバイスを形成する際に使用する上記代替の処理方法の1ステップを示す断面図である。 (100)結晶面に形成された2つのNFETと、これらのNFETの間に位置する(110)結晶面に形成された1つのPFETとを含む高性能半導体デバイスを形成する際に使用する上記代替の処理方法の1ステップを示す断面図である。 (100)結晶面に形成された2つのNFETと、これらのNFETの間に位置する(110)結晶面に形成された1つのPFETとを含む高性能半導体デバイスを形成する際に使用する上記代替の処理方法の1ステップを示す断面図である。 (100)結晶面に形成された2つのNFETと、これらのNFETの間に位置する(110)結晶面に形成された1つのPFETとを含む高性能半導体デバイスを形成する際に使用する上記代替の処理方法の1ステップを示す断面図である。 (100)結晶面に形成された2つのNFETと、これらのNFETの間に位置する(110)結晶面に形成された1つのPFETとを含む高性能半導体デバイスを形成する際に使用する上記代替の処理方法の1ステップを示す断面図である。 選択的な浮遊基板および非浮遊基板を備えた集積回路構造を形成する方法を実現する代替の実施形態を説明する断面図である。 選択的な浮遊基板および非浮遊基板を備えた集積回路構造を形成する方法を実現する上記代替の実施形態を説明する断面図である。 選択的な浮遊基板および非浮遊基板を備えた集積回路構造を形成する方法を実現する上記代替の実施形態を説明する断面図である。 選択的な浮遊基板および非浮遊基板を備えた集積回路構造を形成する方法を実現する上記代替の実施形態を説明する断面図である。 選択的な浮遊基板および非浮遊基板を備えた集積回路構造を形成する方法を実現する上記代替の実施形態を説明する断面図である。 互いに回転させた複数の基板を使用する代替の実施形態を示す断面図である。 FinFETを形成する方法を実現する代替の実施形態を示す断面図である。 FinFETを形成する方法を実現する上記代替の実施形態を示す断面図である。 FinFETを形成する方法を実現する上記代替の実施形態を示す断面図である。 FinFETを形成する方法を実現する上記代替の実施形態を示す断面図である。 FinFETを形成する方法を実現する上記代替の実施形態を示す断面図である。 FinFETを形成する方法を実現する上記代替の実施形態を示す断面図である。 FinFETを形成する方法を実現する上記代替の実施形態を示す断面図である。 FinFETを形成する方法を実現する上記代替の実施形態を示す断面図である。
符号の説明
10 接合基板
12 第2の半導体層
14 絶縁層
16 第1の半導体層
18 表面誘電体層
20 マスク
22 第1のデバイス領域
24 第2のデバイス領域
25 スペーサ(ライナ)
26 半導体材料
27 分離領域
29 トレンチ開口
30 第1の半導体デバイス
31 歪Si層
32 第2の半導体デバイス
34 ソース/ドレイン拡散領域

Claims (39)

  1. 少なくとも2つのタイプの結晶方位を有する基板と、
    第1のタイプの結晶方位を有する前記基板の第1の部分の上に形成された第1のタイプのトランジスタと、
    第2のタイプの結晶方位を有する前記基板の第2の部分の上に形成された第2のタイプのトランジスタとを含む集積回路構造であって、
    前記基板の前記第1の部分のうち選択された部分が、非浮遊基板部分を含み、
    前記基板の前記第1の部分の残りの部分と前記第2の部分の全てとが、浮遊基板部分を含む、集積回路構造。
  2. 前記浮遊基板部分が、シリコン・オン・インシュレータ(SOI)構造を含む、請求項1に記載の構造。
  3. 前記非浮遊基板部分が、前記基板の下の層によってバイアスされる、請求項1に記載の構造。
  4. 前記浮遊基板部分の下に完全な絶縁層をさらに含む、請求項1に記載の構造。
  5. 前記非浮遊基板部分の下に不完全な絶縁層をさらに含む、請求項1に記載の構造。
  6. 前記非浮遊基板部分と前記浮遊基板部分の間に浅いトレンチ分離(STI)領域をさらに含む、請求項1に記載の構造。
  7. 前記基板の前記第2の部分がそれぞれ複数の浮遊基板部分を含む、請求項1に記載の構造。
  8. 少なくとも2つのタイプの結晶方位を有する基板と、
    第1のタイプの結晶方位を有する前記基板の第1の部分の上に形成されたN型トランジスタと、
    第2のタイプの結晶方位を有する前記基板の第2の部分の上に形成されたP型トランジスタとを含む集積回路構造であって、
    前記基板の前記第1の部分のうち選択された部分が、非浮遊基板部分を含み、
    前記基板の前記第1の部分の残りの部分と前記第2の部分の全てとが、浮遊基板部分を含む、集積回路構造。
  9. 前記浮遊基板部分が、シリコン・オン・インシュレータ(SOI)構造を含む、請求項8に記載の構造。
  10. 前記非浮遊基板部分が、前記基板の下の層によってバイアスされる、請求項8に記載の構造。
  11. 前記浮遊基板部分の下に完全な(全て絶縁体の)絶縁層をさらに含む、請求項8に記載の構造。
  12. 前記非浮遊基板部分の下に不完全な絶縁層をさらに含む、請求項8に記載の構造。
  13. 前記非浮遊基板部分と前記浮遊基板部分の間に浅いトレンチ分離(STI)領域をさらに含む、請求項8に記載の構造。
  14. 前記基板の前記第2の部分がそれぞれ複数の浮遊基板部分を含む、請求項8に記載の構造。
  15. 集積回路構造を形成する方法であって、
    第1の基板構造上に絶縁層を形成するステップと、
    前記絶縁層に第2の基板構造を接合して、前記絶縁層の下に位置する第1の結晶方位を有する第1の基板および前記絶縁層の上に位置する第2の結晶方位を有する第2の基板を備える積層構造を形成するステップと、
    前記第2の基板に、前記絶縁層まで延びる第1の開口を形成するステップと、
    前記第1の開口より小さい第2の開口を前記第1の開口を貫通して前記絶縁層に形成して前記第1の基板を露出させるステップと、
    前記第2の開口を貫通して前記第1の基板上に追加の材料を成長させて前記第1の開口を充填し、前記積層構造の上部に、前記第1のタイプの結晶方位を有する第1の部分および前記第2のタイプの結晶方位を有する第2の部分を備える表面を形成するステップと、
    前記表面の前記第1の部分の上に第1のタイプのトランジスタを形成するステップと、
    前記表面の前記第2の部分の上に第2のタイプのトランジスタを形成するステップとを含み、
    前記表面の前記第1の部分のうち前記絶縁層の前記第2の開口の上に形成された部分が、非浮遊基板部分を含み、
    前記表面の前記第1の部分の残りの部分と前記第2の部分の全てとが、浮遊基板部分を含む、方法。
  16. 前記追加の材料が、前記第1の基板と同じ結晶方位を有する、請求項15に記載の方法。
  17. 前記第1の開口を形成する前記ステップの前に、前記第2の基板を覆う保護キャップを形成するステップをさらに含み、前記第1の開口が、前記保護キャップおよび前記第2の基板を貫通して形成される、請求項15に記載の方法。
  18. 前記第1の開口を形成した後に、前記第1の開口によって露出した前記第2の基板の側壁に沿って分離材料を形成するステップをさらに含む、請求項15に記載の方法。
  19. 前記追加の材料を成長させる前記ステップの後に、前記第1の部分および前記第2の部分に浅いトレンチ分離(STI)構造を形成して前記第1の部分および前記第2の部分を細分割するステップをさらに含む、請求項15に記載の方法。
  20. 前記第2の開口が前記浅いトレンチ分離構造の間の距離よりも小さくすることにより、前記第2の開口のそれぞれが隣接する2つの浅いトレンチ分離構造の間に位置するようになっている、請求項15に記載の方法。
  21. 1タイプの結晶方位を有する材料を含む基板であって、第1の部分および第2の部分を含み、前記第1の部分の結晶構造が前記第2の部分の結晶構造に対して回転している基板と、
    前記基板の前記第1の部分の上に形成された、第1のタイプのフィン型電界効果トランジスタ(FinFET)と、
    前記基板の前記第2の部分の上に形成された第2のタイプのフィン型電界効果トランジスタとを含む集積回路構造であって、
    前記第1のタイプのフィン型電界効果トランジスタが、前記第2のタイプのフィン型電界効果トランジスタのフィンと平行なフィンを有する、集積回路構造。
  22. 前記基板が浮遊基板を含む、請求項21に記載の構造。
  23. 前記第1のタイプのフィン型電界効果トランジスタおよび前記第2のタイプのフィン型電界効果トランジスタが、シリコン・オン・インシュレータ(SOI)構造を含む、請求項22に記載の構造。
  24. 前記浮遊基板の下に完全な絶縁層をさらに含む、請求項22に記載の構造。
  25. 前記基板の前記第1の部分と前記基板の前記第2の部分の間に、浅いトレンチ分離(STI)領域をさらに含む、請求項22に記載の構造。
  26. 集積回路構造を形成する方法であって、
    第1の基板構造上に絶縁層を形成するステップと、
    前記絶縁層に第2の基板構造を接合して、前記第1の基板構造と前記第2の基板構造の間に前記絶縁層を有する積層構造を形成するステップであって、前記第1の基板構造および前記第2の基板構造が同じタイプの結晶方位を有し、前記第1の基板構造の結晶構造が前記第2の基板構造の結晶構造に対して回転しているステップと、
    前記第1の基板構造に、前記第2の基板構造まで延びる開口を形成するステップと、
    前記開口を貫通して前記第2の基板構造上に材料を成長させて前記開口を充填して、前記積層構造の上部に、第1の部分および第2の部分を有する表面を形成するステップであって、前記第1の部分の結晶構造が前記第2の部分の結晶構造に対して回転しているステップと、
    前記表面の前記第1の部分の上に第1のタイプのフィン型電界効果トランジスタを形成するステップと、
    前記表面の前記第2の部分の上に第2のタイプのフィン型電界効果トランジスタを形成するステップとを含む方法。
  27. 前記開口を形成するステップの後に、前記開口の側壁に沿って分離材料を形成するステップをさらに含む、請求項26に記載の方法。
  28. 前記材料を成長させる前記ステップの後に、前記第1の部分および前記第2の部分に浅いトレンチ分離(STI)構造を形成して前記第1の部分および前記第2の部分を細分割するステップをさらに含む、請求項26に記載の方法。
  29. 集積回路構造を形成する方法であって、
    第1の基板構造上に絶縁層を形成するステップと、
    前記絶縁層に第2の基板構造を接合して、前記第1の基板構造と前記第2の基板構造の間に前記絶縁層を有する積層構造を形成するステップであって、前記第1の基板構造および前記第2の基板構造が同じタイプの結晶方位を有し、前記第1の基板構造の結晶構造が前記第2の基板構造の結晶構造に対して回転しているステップと、
    前記第2の基板に、前記絶縁層まで延びる第1の開口を形成するステップと、
    前記第1の開口より小さい第2の開口を前記第1の開口を貫通して前記絶縁層に形成して前記第1の基板構造を露出させるステップと、
    前記第2の開口を貫通して前記第1の基板構造上に材料を成長させて前記第1の開口を充填して、前記積層構造の上部に、第1の部分および第2の部分を有する表面を形成するステップであって、前記第1の部分の結晶構造が前記第2の部分の結晶構造に対して回転しているステップと、
    前記表面の前記第1の部分の上に第1のタイプのフィン型電界効果トランジスタ(FinFET)を形成するステップと、
    前記表面の前記第2の部分の上に第2のタイプのフィン型電界効果トランジスタを形成するステップとを含み、
    前記表面の前記第1の部分のうち前記絶縁層の前記第2の開口の上に形成された部分が、非浮遊基板部分を含み、
    前記表面の前記第1の部分の残りの部分と前記第2の部分の全てとが、浮遊基板部分を含む、方法。
  30. 前記第1の開口を形成する前記ステップの前に、前記第2の基板構造を覆う保護キャップを形成するステップをさらに含み、前記第1の開口が、前記保護キャップおよび前記第2の基板を貫通して形成される、請求項29に記載の方法。
  31. 前記第1の開口を形成するステップの後に、前記第1の開口によって露出した前記第2の基板の側壁に沿って分離材料を形成するステップをさらに含む、請求項29に記載の方法。
  32. 前記材料を成長させる前記ステップの後に、前記第1の部分および前記第2の部分に浅いトレンチ分離(STI)構造を形成して前記第1の部分および前記第2の部分を細分割するステップをさらに含む、請求項29に記載の方法。
  33. 前記第1の基板が、前記第2の基板に対して45°回転している、請求項29に記載の方法。
  34. 集積回路構造を形成する方法であって、
    第1の結晶方位を有する第1の基板構造上に絶縁層を形成するステップと、
    第2の結晶方位を有する第2の基板構造を前記絶縁層に接合して、積層構造を形成するステップと、
    前記第1の基板構造および前記絶縁層に開口を形成して、前記第2の基板構造の一部分を露出させるステップと、
    前記第2の基板構造の露出部分の上にシリコン・ゲルマニウム層を形成するステップと、
    前記開口を貫通して前記シリコン・ゲルマニウム層の上に材料を成長させて前記開口を充填し、前記積層構造の上部に、前記第1の結晶方位を有する第1の部分および前記第2の結晶方位を有する第2の部分を有する表面を形成するステップと、
    前記第1の部分および前記第2の部分をパターン形成して第1のタイプのフィンおよび第2のタイプのフィンを形成するステップであって、前記第1のタイプのフィンは前記第1の結晶方位を有し、かつ前記絶縁層によって前記第2の基板から絶縁され、前記第2のタイプのフィンは前記第2の結晶方位を有し、かつ前記シリコン・ゲルマニウム層の上に位置するステップと、
    前記シリコン・ゲルマニウム層を絶縁層に変化させるステップとを含む方法。
  35. 前記シリコン・ゲルマニウム層を形成するステップの前に、さらに追加の絶縁層を用いて、前記開口内の前記第1の基板の露出した側壁部分を保護するステップをさらに含む、請求項34に記載の方法。
  36. 前記シリコン・ゲルマニウム層を絶縁層に変化させる前記ステップが、前記シリコン・ゲルマニウム層の全厚にわたってを酸化することを含む、請求項34に記載の方法。
  37. 前記シリコン・ゲルマニウム層を絶縁層に変化させる前記ステップが、
    前記第1のタイプのフィンおよび前記第2のタイプのフィンについて選択的に前記シリコン・ゲルマニウムを除去するステップと、
    前記第2の基板構造上に前記絶縁層を形成するステップとを含む、請求項34に記載の方法。
  38. 前記第1の基板構造および前記第2の基板構造が、同じタイプの結晶方位を有し、前記第1の基板構造の結晶構造が、前記第2の基板構造の結晶構造に対して回転している、請求項34に記載の方法。
  39. 前記第1の基板構造および前記第2の基板構造が、異なるタイプの結晶方位を有する、請求項34に記載の方法。
JP2005085789A 2004-03-31 2005-03-24 集積回路構造及び形成方法 Expired - Fee Related JP4243671B2 (ja)

Applications Claiming Priority (1)

Application Number Priority Date Filing Date Title
US10/708,907 US6998684B2 (en) 2004-03-31 2004-03-31 High mobility plane CMOS SOI

Publications (2)

Publication Number Publication Date
JP2005294828A true JP2005294828A (ja) 2005-10-20
JP4243671B2 JP4243671B2 (ja) 2009-03-25

Family

ID=35059712

Family Applications (1)

Application Number Title Priority Date Filing Date
JP2005085789A Expired - Fee Related JP4243671B2 (ja) 2004-03-31 2005-03-24 集積回路構造及び形成方法

Country Status (4)

Country Link
US (2) US6998684B2 (ja)
JP (1) JP4243671B2 (ja)
CN (1) CN100367500C (ja)
TW (1) TWI332251B (ja)

Cited By (10)

* Cited by examiner, † Cited by third party
Publication number Priority date Publication date Assignee Title
KR100741468B1 (ko) 2006-07-10 2007-07-20 삼성전자주식회사 반도체 장치 및 그 형성 방법
JP2008503104A (ja) * 2004-06-10 2008-01-31 フリースケール セミコンダクター インコーポレイテッド 複数の半導体層を備えた半導体デバイス
JP2008131033A (ja) * 2006-11-20 2008-06-05 Internatl Business Mach Corp <Ibm> 正孔移動度を向上させる方法
JP2008141177A (ja) * 2006-11-30 2008-06-19 Internatl Business Mach Corp <Ibm> 異なる垂直寸法のフィンを有するトリプル・ゲート・フィンfetおよびダブル・ゲート・フィンfet
JP2008211052A (ja) * 2007-02-27 2008-09-11 Toshiba Corp 相補型半導体装置
JP2009054705A (ja) * 2007-08-24 2009-03-12 Toshiba Corp 半導体基板、半導体装置およびその製造方法
JP2009514247A (ja) * 2005-10-31 2009-04-02 フリースケール セミコンダクター インコーポレイテッド 半導体構造物の製造方法
JP2013508951A (ja) * 2009-10-16 2013-03-07 ナショナル セミコンダクター コーポレーション HOT(hybridorientationtechnology)を選択的エピタキシーに関連して用いて移動度を改善する方法およびそれに関連する装置
JP2018182146A (ja) * 2017-04-17 2018-11-15 株式会社Sumco 多層膜soiウェーハの製造方法および多層膜soiウェーハ
JP2022515592A (ja) * 2019-01-02 2022-02-21 インターナショナル・ビジネス・マシーンズ・コーポレーション 積層垂直輸送電界効果トランジスタのための2重輸送配向

Families Citing this family (80)

* Cited by examiner, † Cited by third party
Publication number Priority date Publication date Assignee Title
US7094634B2 (en) * 2004-06-30 2006-08-22 International Business Machines Corporation Structure and method for manufacturing planar SOI substrate with multiple orientations
US7439542B2 (en) * 2004-10-05 2008-10-21 International Business Machines Corporation Hybrid orientation CMOS with partial insulation process
US7144785B2 (en) * 2004-11-01 2006-12-05 Advanced Micro Devices, Inc. Method of forming isolation trench with spacer formation
US7393733B2 (en) * 2004-12-01 2008-07-01 Amberwave Systems Corporation Methods of forming hybrid fin field-effect transistor structures
US7196380B2 (en) * 2005-01-13 2007-03-27 International Business Machines Corporation High mobility plane FinFET with equal drive strength
US7388278B2 (en) * 2005-03-24 2008-06-17 International Business Machines Corporation High performance field effect transistors on SOI substrate with stress-inducing material as buried insulator and methods
US7348611B2 (en) * 2005-04-22 2008-03-25 International Business Machines Corporation Strained complementary metal oxide semiconductor (CMOS) on rotated wafers and methods thereof
US8324660B2 (en) 2005-05-17 2012-12-04 Taiwan Semiconductor Manufacturing Company, Ltd. Lattice-mismatched semiconductor structures with reduced dislocation defect densities and related methods for device fabrication
US9153645B2 (en) * 2005-05-17 2015-10-06 Taiwan Semiconductor Manufacturing Company, Ltd. Lattice-mismatched semiconductor structures with reduced dislocation defect densities and related methods for device fabrication
US20070267722A1 (en) * 2006-05-17 2007-11-22 Amberwave Systems Corporation Lattice-mismatched semiconductor structures with reduced dislocation defect densities and related methods for device fabrication
EP2595177A3 (en) * 2005-05-17 2013-07-17 Taiwan Semiconductor Manufacturing Company, Ltd. Lattice-mismatched semiconductor structures with reduced dislocation defect densities related methods for device fabrication
FR2886763B1 (fr) * 2005-06-06 2007-08-03 Commissariat Energie Atomique Procede de realisation d'un composant comportant au moins un element a base de germanium et composant ainsi obtenu
US7358164B2 (en) * 2005-06-16 2008-04-15 International Business Machines Corporation Crystal imprinting methods for fabricating substrates with thin active silicon layers
US7439108B2 (en) * 2005-06-16 2008-10-21 International Business Machines Corporation Coplanar silicon-on-insulator (SOI) regions of different crystal orientations and methods of making the same
US7473985B2 (en) * 2005-06-16 2009-01-06 International Business Machines Corporation Hybrid oriented substrates and crystal imprinting methods for forming such hybrid oriented substrates
US7190050B2 (en) * 2005-07-01 2007-03-13 Synopsys, Inc. Integrated circuit on corrugated substrate
US7265008B2 (en) 2005-07-01 2007-09-04 Synopsys, Inc. Method of IC production using corrugated substrate
US7247887B2 (en) * 2005-07-01 2007-07-24 Synopsys, Inc. Segmented channel MOS transistor
CN101268547B (zh) * 2005-07-26 2014-07-09 琥珀波系统公司 包含交替有源区材料的结构及其形成方法
US7382029B2 (en) * 2005-07-29 2008-06-03 International Business Machines Corporation Method and apparatus for improving integrated circuit device performance using hybrid crystal orientations
KR100655437B1 (ko) * 2005-08-09 2006-12-08 삼성전자주식회사 반도체 웨이퍼 및 그 제조방법
US7638842B2 (en) * 2005-09-07 2009-12-29 Amberwave Systems Corporation Lattice-mismatched semiconductor structures on insulators
US7986029B2 (en) * 2005-11-08 2011-07-26 Taiwan Semiconductor Manufacturing Company, Ltd. Dual SOI structure
US8319285B2 (en) * 2005-12-22 2012-11-27 Infineon Technologies Ag Silicon-on-insulator chip having multiple crystal orientations
US7531392B2 (en) * 2006-02-27 2009-05-12 International Business Machines Corporation Multi-orientation semiconductor-on-insulator (SOI) substrate, and method of fabricating same
US20070215984A1 (en) * 2006-03-15 2007-09-20 Shaheen Mohamad A Formation of a multiple crystal orientation substrate
US7777250B2 (en) * 2006-03-24 2010-08-17 Taiwan Semiconductor Manufacturing Company, Ltd. Lattice-mismatched semiconductor structures and related methods for device fabrication
US8946811B2 (en) 2006-07-10 2015-02-03 Taiwan Semiconductor Manufacturing Company, Ltd. Body-tied, strained-channel multi-gate device and methods of manufacturing same
WO2008030574A1 (en) 2006-09-07 2008-03-13 Amberwave Systems Corporation Defect reduction using aspect ratio trapping
US20080070355A1 (en) * 2006-09-18 2008-03-20 Amberwave Systems Corporation Aspect ratio trapping for mixed signal applications
US7799592B2 (en) * 2006-09-27 2010-09-21 Taiwan Semiconductor Manufacturing Company, Ltd. Tri-gate field-effect transistors formed by aspect ratio trapping
WO2008039534A2 (en) * 2006-09-27 2008-04-03 Amberwave Systems Corporation Quantum tunneling devices and circuits with lattice- mismatched semiconductor structures
US20080187018A1 (en) 2006-10-19 2008-08-07 Amberwave Systems Corporation Distributed feedback lasers formed via aspect ratio trapping
US7393738B1 (en) * 2007-01-16 2008-07-01 International Business Machines Corporation Subground rule STI fill for hot structure
US7825328B2 (en) 2007-04-09 2010-11-02 Taiwan Semiconductor Manufacturing Company, Ltd. Nitride-based multi-junction solar cell modules and methods for making the same
WO2008124154A2 (en) 2007-04-09 2008-10-16 Amberwave Systems Corporation Photovoltaics on silicon
US8304805B2 (en) 2009-01-09 2012-11-06 Taiwan Semiconductor Manufacturing Company, Ltd. Semiconductor diodes fabricated by aspect ratio trapping with coalesced films
US8237151B2 (en) 2009-01-09 2012-08-07 Taiwan Semiconductor Manufacturing Company, Ltd. Diode-based devices and methods for making the same
US8329541B2 (en) * 2007-06-15 2012-12-11 Taiwan Semiconductor Manufacturing Company, Ltd. InP-based transistor fabrication
JP2010538495A (ja) 2007-09-07 2010-12-09 アンバーウェーブ・システムズ・コーポレーション 多接合太陽電池
EP2065921A1 (en) * 2007-11-29 2009-06-03 S.O.I.T.E.C. Silicon on Insulator Technologies Method for fabricating a semiconductor substrate with areas with different crystal orienation
EP2073267A1 (en) * 2007-12-19 2009-06-24 INTERUNIVERSITAIR MICROELEKTRONICA CENTRUM vzw (IMEC) Method of fabricating multi-gate semiconductor devices and devices obtained
US7982269B2 (en) * 2008-04-17 2011-07-19 International Business Machines Corporation Transistors having asymmetric strained source/drain portions
US8106459B2 (en) 2008-05-06 2012-01-31 Taiwan Semiconductor Manufacturing Company, Ltd. FinFETs having dielectric punch-through stoppers
US8183667B2 (en) 2008-06-03 2012-05-22 Taiwan Semiconductor Manufacturing Co., Ltd. Epitaxial growth of crystalline material
KR101046380B1 (ko) * 2008-06-05 2011-07-05 주식회사 하이닉스반도체 반도체 소자 및 그의 제조방법
US8274097B2 (en) 2008-07-01 2012-09-25 Taiwan Semiconductor Manufacturing Company, Ltd. Reduction of edge effects from aspect ratio trapping
US8981427B2 (en) 2008-07-15 2015-03-17 Taiwan Semiconductor Manufacturing Company, Ltd. Polishing of small composite semiconductor materials
WO2010033813A2 (en) 2008-09-19 2010-03-25 Amberwave System Corporation Formation of devices by epitaxial layer overgrowth
US20100072515A1 (en) 2008-09-19 2010-03-25 Amberwave Systems Corporation Fabrication and structures of crystalline material
US8253211B2 (en) * 2008-09-24 2012-08-28 Taiwan Semiconductor Manufacturing Company, Ltd. Semiconductor sensor structures with reduced dislocation defect densities
US8263462B2 (en) * 2008-12-31 2012-09-11 Taiwan Semiconductor Manufacturing Company, Ltd. Dielectric punch-through stoppers for forming FinFETs having dual fin heights
US8293616B2 (en) 2009-02-24 2012-10-23 Taiwan Semiconductor Manufacturing Company, Ltd. Methods of fabrication of semiconductor devices with low capacitance
US8629446B2 (en) * 2009-04-02 2014-01-14 Taiwan Semiconductor Manufacturing Company, Ltd. Devices formed from a non-polar plane of a crystalline material and method of making the same
CN102790054B (zh) * 2011-05-16 2015-09-16 中国科学院上海微系统与信息技术研究所 锗和iii-v混合共平面的半导体结构及其制备方法
US8697522B2 (en) * 2011-07-05 2014-04-15 International Business Machines Corporation Bulk finFET with uniform height and bottom isolation
WO2013095656A1 (en) * 2011-12-23 2013-06-27 Intel Corporation Common-substrate semiconductor devices having nanowires or semiconductor bodies with differing material orientation or composition
US8466012B1 (en) * 2012-02-01 2013-06-18 International Business Machines Corporation Bulk FinFET and SOI FinFET hybrid technology
US9817928B2 (en) 2012-08-31 2017-11-14 Synopsys, Inc. Latch-up suppression and substrate noise coupling reduction through a substrate back-tie for 3D integrated circuits
US9190346B2 (en) 2012-08-31 2015-11-17 Synopsys, Inc. Latch-up suppression and substrate noise coupling reduction through a substrate back-tie for 3D integrated circuits
CN103715091A (zh) * 2012-09-29 2014-04-09 中芯国际集成电路制造(上海)有限公司 半导体基底、晶体管和鳍部的形成方法
US9275911B2 (en) 2012-10-12 2016-03-01 Globalfoundries Inc. Hybrid orientation fin field effect transistor and planar field effect transistor
US8847324B2 (en) 2012-12-17 2014-09-30 Synopsys, Inc. Increasing ION /IOFF ratio in FinFETs and nano-wires
US9379018B2 (en) 2012-12-17 2016-06-28 Synopsys, Inc. Increasing Ion/Ioff ratio in FinFETs and nano-wires
US8906768B2 (en) * 2013-03-15 2014-12-09 GlobalFoundries, Inc. Wrap around stressor formation
US9396931B2 (en) * 2013-08-01 2016-07-19 Qualcomm Incorporated Method of forming fins from different materials on a substrate
US9224841B2 (en) * 2014-01-23 2015-12-29 Globalfoundries Inc. Semiconductor fins on a trench isolation region in a bulk semiconductor substrate and a method of forming the semiconductor fins
US9123585B1 (en) 2014-02-11 2015-09-01 International Business Machines Corporation Method to form group III-V and Si/Ge FINFET on insulator
US9129863B2 (en) 2014-02-11 2015-09-08 International Business Machines Corporation Method to form dual channel group III-V and Si/Ge FINFET CMOS
US9490161B2 (en) * 2014-04-29 2016-11-08 International Business Machines Corporation Channel SiGe devices with multiple threshold voltages on hybrid oriented substrates, and methods of manufacturing same
EP2947693B1 (en) * 2014-05-22 2022-07-13 IMEC vzw Method of Producing a III-V Fin Structure
US10056293B2 (en) * 2014-07-18 2018-08-21 International Business Machines Corporation Techniques for creating a local interconnect using a SOI wafer
CN107735864B (zh) 2015-06-08 2021-08-31 美商新思科技有限公司 衬底和具有3d几何图形上的2d材料沟道的晶体管
CN104966672B (zh) * 2015-06-30 2019-01-25 上海华力微电子有限公司 鳍式场效应管基体制备方法
US9935106B2 (en) 2016-04-01 2018-04-03 Globalfoundries Inc. Multi-finger devices in mutliple-gate-contacted-pitch, integrated structures
US9847418B1 (en) * 2016-07-26 2017-12-19 Globalfoundries Inc. Methods of forming fin cut regions by oxidizing fin portions
CN106711194B (zh) * 2016-12-28 2019-08-20 中国科学院微电子研究所 一种环栅场效应晶体管及其制备方法
US10930569B2 (en) * 2018-07-31 2021-02-23 Taiwan Semiconductor Manufacturing Co., Ltd. Dual crystal orientation for semiconductor devices
CN111799365B (zh) * 2020-06-29 2022-03-25 上海新硅聚合半导体有限公司 基于同一衬底制备不同厚度薄膜的方法及其结构、及应用器件
CN112563332A (zh) * 2020-12-16 2021-03-26 南京工程学院 Ge基双栅型InGaAs nMOSFET器件及其制备方法

Family Cites Families (9)

* Cited by examiner, † Cited by third party
Publication number Priority date Publication date Assignee Title
JPH01162376A (ja) * 1987-12-18 1989-06-26 Fujitsu Ltd 半導体装置の製造方法
US5959335A (en) * 1998-09-23 1999-09-28 International Business Machines Corporation Device design for enhanced avalanche SOI CMOS
JP2001111056A (ja) * 1999-10-06 2001-04-20 Mitsubishi Electric Corp 半導体装置およびその製造方法
US6657259B2 (en) * 2001-12-04 2003-12-02 International Business Machines Corporation Multiple-plane FinFET CMOS
US6657223B1 (en) * 2002-10-29 2003-12-02 Advanced Micro Devices, Inc. Strained silicon MOSFET having silicon source/drain regions and method for its fabrication
US6794718B2 (en) * 2002-12-19 2004-09-21 International Business Machines Corporation High mobility crystalline planes in double-gate CMOS technology
US6900502B2 (en) 2003-04-03 2005-05-31 Taiwan Semiconductor Manufacturing Company, Ltd. Strained channel on insulator device
US6902962B2 (en) 2003-04-04 2005-06-07 Taiwan Semiconductor Manufacturing Company, Ltd. Silicon-on-insulator chip with multiple crystal orientations
US6995456B2 (en) * 2004-03-12 2006-02-07 International Business Machines Corporation High-performance CMOS SOI devices on hybrid crystal-oriented substrates

Cited By (13)

* Cited by examiner, † Cited by third party
Publication number Priority date Publication date Assignee Title
JP2008503104A (ja) * 2004-06-10 2008-01-31 フリースケール セミコンダクター インコーポレイテッド 複数の半導体層を備えた半導体デバイス
JP2009514247A (ja) * 2005-10-31 2009-04-02 フリースケール セミコンダクター インコーポレイテッド 半導体構造物の製造方法
KR100741468B1 (ko) 2006-07-10 2007-07-20 삼성전자주식회사 반도체 장치 및 그 형성 방법
JP2008131033A (ja) * 2006-11-20 2008-06-05 Internatl Business Mach Corp <Ibm> 正孔移動度を向上させる方法
JP2008141177A (ja) * 2006-11-30 2008-06-19 Internatl Business Mach Corp <Ibm> 異なる垂直寸法のフィンを有するトリプル・ゲート・フィンfetおよびダブル・ゲート・フィンfet
JP2013179343A (ja) * 2006-11-30 2013-09-09 Internatl Business Mach Corp <Ibm> 異なる垂直寸法のフィンを有するトリプル・ゲート・フィンfetおよびダブル・ゲート・フィンfet
JP2008211052A (ja) * 2007-02-27 2008-09-11 Toshiba Corp 相補型半導体装置
JP2009054705A (ja) * 2007-08-24 2009-03-12 Toshiba Corp 半導体基板、半導体装置およびその製造方法
US8039843B2 (en) 2007-08-24 2011-10-18 Kabushiki Kaisha Toshiba Semiconductor wafer, semiconductor device and method of fabricating the same
JP2013508951A (ja) * 2009-10-16 2013-03-07 ナショナル セミコンダクター コーポレーション HOT(hybridorientationtechnology)を選択的エピタキシーに関連して用いて移動度を改善する方法およびそれに関連する装置
JP2018182146A (ja) * 2017-04-17 2018-11-15 株式会社Sumco 多層膜soiウェーハの製造方法および多層膜soiウェーハ
JP2022515592A (ja) * 2019-01-02 2022-02-21 インターナショナル・ビジネス・マシーンズ・コーポレーション 積層垂直輸送電界効果トランジスタのための2重輸送配向
JP7422765B2 (ja) 2019-01-02 2024-01-26 インターナショナル・ビジネス・マシーンズ・コーポレーション 積層垂直輸送電界効果トランジスタのための2重輸送配向

Also Published As

Publication number Publication date
JP4243671B2 (ja) 2009-03-25
CN100367500C (zh) 2008-02-06
US20060076623A1 (en) 2006-04-13
TW200537648A (en) 2005-11-16
US20050224875A1 (en) 2005-10-13
TWI332251B (en) 2010-10-21
CN1681124A (zh) 2005-10-12
US6998684B2 (en) 2006-02-14
US7439109B2 (en) 2008-10-21

Similar Documents

Publication Publication Date Title
JP4243671B2 (ja) 集積回路構造及び形成方法
US6995456B2 (en) High-performance CMOS SOI devices on hybrid crystal-oriented substrates
JP4931211B2 (ja) ハイブリッド結晶配向基板上の高性能cmossoiデバイス
US7915100B2 (en) Hybrid orientation CMOS with partial insulation process
US9355887B2 (en) Dual trench isolation for CMOS with hybrid orientations
KR100613188B1 (ko) 웨이퍼 본딩 공정과 simox 공정을 이용하여 다른결정 방향을 갖는 자기 정렬된 soi
US7023057B2 (en) CMOS on hybrid substrate with different crystal orientations using silicon-to-silicon direct wafer bonding
KR100962947B1 (ko) 고이동도 평면 및 다중-게이트 MOSFETs을 위한 혼성기판 기술
US7833854B2 (en) Structure and method of fabricating a hybrid substrate for high-performance hybrid-orientation silicon-on-insulator CMOS devices
US20050082531A1 (en) Double silicon-on-insulator (SOI) metal oxide semiconductor field effect transistor (MOSFET) structures
JP2008536335A (ja) 適応ウェル・バイアシング、並びにパワー及び性能強化のためのハイブリッド結晶配向cmos構造体
US7393738B1 (en) Subground rule STI fill for hot structure
US7691482B2 (en) Structure for planar SOI substrate with multiple orientations
CN100361302C (zh) 混合衬底、集成半导体结构以及它们的制备方法

Legal Events

Date Code Title Description
A977 Report on retrieval

Free format text: JAPANESE INTERMEDIATE CODE: A971007

Effective date: 20070808

A131 Notification of reasons for refusal

Free format text: JAPANESE INTERMEDIATE CODE: A131

Effective date: 20070821

A521 Request for written amendment filed

Free format text: JAPANESE INTERMEDIATE CODE: A821

Effective date: 20071120

Free format text: JAPANESE INTERMEDIATE CODE: A523

Effective date: 20071120

RD12 Notification of acceptance of power of sub attorney

Free format text: JAPANESE INTERMEDIATE CODE: A7432

Effective date: 20071120

A521 Request for written amendment filed

Free format text: JAPANESE INTERMEDIATE CODE: A821

Effective date: 20071121

A131 Notification of reasons for refusal

Free format text: JAPANESE INTERMEDIATE CODE: A131

Effective date: 20080812

A521 Request for written amendment filed

Free format text: JAPANESE INTERMEDIATE CODE: A523

Effective date: 20081110

Free format text: JAPANESE INTERMEDIATE CODE: A821

Effective date: 20081110

TRDD Decision of grant or rejection written
A521 Request for written amendment filed

Free format text: JAPANESE INTERMEDIATE CODE: A821

Effective date: 20081205

RD14 Notification of resignation of power of sub attorney

Free format text: JAPANESE INTERMEDIATE CODE: A7434

Effective date: 20081205

A01 Written decision to grant a patent or to grant a registration (utility model)

Free format text: JAPANESE INTERMEDIATE CODE: A01

Effective date: 20081205

A01 Written decision to grant a patent or to grant a registration (utility model)

Free format text: JAPANESE INTERMEDIATE CODE: A01

A521 Request for written amendment filed

Free format text: JAPANESE INTERMEDIATE CODE: A821

Effective date: 20081216

RD14 Notification of resignation of power of sub attorney

Free format text: JAPANESE INTERMEDIATE CODE: A7434

Effective date: 20081216

A61 First payment of annual fees (during grant procedure)

Free format text: JAPANESE INTERMEDIATE CODE: A61

Effective date: 20081210

R150 Certificate of patent or registration of utility model

Free format text: JAPANESE INTERMEDIATE CODE: R150

FPAY Renewal fee payment (event date is renewal date of database)

Free format text: PAYMENT UNTIL: 20120116

Year of fee payment: 3

FPAY Renewal fee payment (event date is renewal date of database)

Free format text: PAYMENT UNTIL: 20130116

Year of fee payment: 4

FPAY Renewal fee payment (event date is renewal date of database)

Free format text: PAYMENT UNTIL: 20140116

Year of fee payment: 5

LAPS Cancellation because of no payment of annual fees