JP2005294678A - 半導体装置およびその製造方法 - Google Patents

半導体装置およびその製造方法 Download PDF

Info

Publication number
JP2005294678A
JP2005294678A JP2004109795A JP2004109795A JP2005294678A JP 2005294678 A JP2005294678 A JP 2005294678A JP 2004109795 A JP2004109795 A JP 2004109795A JP 2004109795 A JP2004109795 A JP 2004109795A JP 2005294678 A JP2005294678 A JP 2005294678A
Authority
JP
Japan
Prior art keywords
film
pad
semiconductor device
semiconductor element
electrode
Prior art date
Legal status (The legal status is an assumption and is not a legal conclusion. Google has not performed a legal analysis and makes no representation as to the accuracy of the status listed.)
Withdrawn
Application number
JP2004109795A
Other languages
English (en)
Inventor
Tadanaka Yoneda
忠央 米田
Tadaaki Mimura
忠昭 三村
Current Assignee (The listed assignees may be inaccurate. Google has not performed a legal analysis and makes no representation or warranty as to the accuracy of the list.)
Panasonic Holdings Corp
Original Assignee
Matsushita Electric Industrial Co Ltd
Priority date (The priority date is an assumption and is not a legal conclusion. Google has not performed a legal analysis and makes no representation as to the accuracy of the date listed.)
Filing date
Publication date
Application filed by Matsushita Electric Industrial Co Ltd filed Critical Matsushita Electric Industrial Co Ltd
Priority to JP2004109795A priority Critical patent/JP2005294678A/ja
Publication of JP2005294678A publication Critical patent/JP2005294678A/ja
Withdrawn legal-status Critical Current

Links

Images

Classifications

    • HELECTRICITY
    • H01ELECTRIC ELEMENTS
    • H01LSEMICONDUCTOR DEVICES NOT COVERED BY CLASS H10
    • H01L2224/00Indexing scheme for arrangements for connecting or disconnecting semiconductor or solid-state bodies and methods related thereto as covered by H01L24/00
    • H01L2224/01Means for bonding being attached to, or being formed on, the surface to be connected, e.g. chip-to-package, die-attach, "first-level" interconnects; Manufacturing methods related thereto
    • H01L2224/10Bump connectors; Manufacturing methods related thereto
    • H01L2224/11Manufacturing methods

Landscapes

  • Internal Circuitry In Semiconductor Integrated Circuit Devices (AREA)

Abstract

【課題】パッド領域が2種類以上の材料で積層して形成されている半導体素子を組み立てた場合、パッケージを高湿度環境で長時間使用していると、プラス電位のパッド近傍に不純物イオンが発生し、パッド近傍が酸化されたり、パッド材料が溶け出して、パッド電極が電気的にオープン不良になったり、イオンマイグレーションにより隣のパッドと電気的にショートして、信頼性不良を発生させる課題がある。
【解決手段】半導体素子1の上に形成された配線電極4が、半導体素子1表面に形成されたパシベーション膜5に対し、開口されており、配線電極4の上にTiW膜6と、さらにその上にNi膜8が形成され、パッド電極を構成する。積層されたTiW膜6とNi膜8の表面および側面を覆うように金膜9を形成する。パッド近傍にイオンや電界が存在してもパッド材料が溶け出すことはなく、信頼性の高い半導体素子が得られる。
【選択図】図1

Description

本発明は、半導体装置およびその製造方法、特に、半導体装置の外部接続用の電極パッドに関し、半導体装置の信頼性を向上させる構造および製造方法に関する。
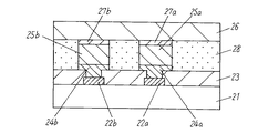
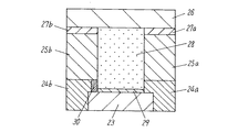
図8は従来の半導体装置の電極パッド周辺の断面図であり、電極パッドに外部と接続する金バンプを形成し、テープキャリアーパッケージ(TCP)、テープBGA等にパッケージした場合の断面構造を示す(例えば、特許文献1参照)。
半導体素子21の上層に、Alで形成したパッド22a、22bと、P−SiN膜で形成したパシベーション膜23とが形成されていて、パッド22a、22bの上のパシベーション膜23を除去して、コンタクト窓を形成する。そして、その上に、厚さ300nmのTiW膜24a、24bと、厚さ15μmの金バンプ25a、25bをウエハ状態で形成する。そして、半導体素子21上の金バンプ25a,25bと、外部のポリイミドテープ26に金メッキされた電極端子27a、27bと接合する。そして、アンダーフィル材として、半導体素子21とポリイミドテープ26の間にエポキシ系の樹脂28を封入する。
特開2002−208608号公報
図8に示すようなパッケージの半導体装置を長期間高湿度で動作させると、TiW膜24a、24bが酸化物に変化したり、溶けてしまい、例えば、パッド22bとバンプ25b間の抵抗が高くなったり、電気的にオープンになる不良が発生する。
この原因として考えられることを図9に示す電極パッド周辺の拡大断面図を用いて説明する。P−SiNからなるパシベーション膜23は樹脂28との密着性が悪い。また、樹脂28の重合化が不完全であると、樹脂28とパシベーション膜23の間の密着性がさらに悪くなる。密着性が悪いと、パシベーション膜23と樹脂28との界面に水分がたまる領域29が生じる。すなわち、領域29にはHイオンやOHイオンがたまり、導電性領域ができる。特に、半導体素子21表面に塩素イオンのような不純物があると、導電性が一層上がり、水の電気分解が一層起こりやすくなる。このような状態で、TiW膜24bとTiW膜24a間に3〜50V程度の電圧で、TiW膜24bの電極がプラス電位であると、TiW膜24bの電極近傍には水の電気分解で発生した酸素原子が存在するし、塩素イオンのような腐食性イオンも存在する。
Wのように、表面に化学的に安定な酸化物が形成されていないと、TiW膜24bの周辺は酸化物30に変わるか、溶出して、TiW膜24bの周辺からなくなっていく。
また、金バンプ25bとTiW膜24bのイオン化傾向を比較すると、金の方がイオン化傾向が小さく、電池作用により、一層TiW膜24bの酸化もしくは溶出が加速される。上記のことから、TiW膜24bが酸化物に変化したり、溶けてしまいパッド22bとバンプ25b間の抵抗が高くなったり、電気的にオープンになる不良が発生するという信頼性に係わる課題がある。
さらに、溶け出した金属のプラスイオンはTiW膜24bで金属が析出し、イオンマイグレーションにより、TiW膜24aとTiW膜24bが電気的に導通し、チップが不良になるという信頼性課題がある。
上記のような課題はTCPだけではなく、QFP、BGA、CSP等ほぼ全パッケージにおいて、信頼性不良が生じる可能性がある。
本発明は上記課題を解決するようになされたものであり、その目的は信頼性の高い半導体装置およびその製造方法を提供することである。
上記課題を解決するために、本発明の半導体装置は、半導体素子の外部接続用のパッド電極が複数の金属層で積層され、前記パッド電極の表面および側面が導電体薄膜で覆われていることを特徴とする。この構造によれば、異種金属層が露出していないので、電池作用が生ぜず、バンプもしくはパッドが酸化物に変化したり、溶け出すことはないので、半導体装置は高い信頼性が得られる。
また、本発明の半導体装置は、導電体薄膜が金であることを特徴とする。この構造によれば、バンプもしくはパッド周辺に酸素原子や不純物イオンが存在しても、バンプもしくはパッドが酸化物に変化したり、溶け出すことはないので、高い信頼性の半導体装置が得られる。
また、本発明の半導体装置の製造方法は、半導体素子の表面に外部接続用のパッド電極である複数の金属層を形成する工程と、前記パッド電極の表面および側面を覆うように無電界メッキ法で導電体薄膜を形成する工程とを備えたことを特徴とする。それにより、簡単な工程で導電体薄膜を得ることができる。
以上説明したように、本発明であれば、複数の金属層で積層され、前記パッド電極の表面および側面が導電体薄膜で覆われているため、封止樹脂と半導体基板との密着性が良いパッケージであり、高湿度の環境で長時間使用しても高信頼性の半導体装置を得ることができる。
また、メッキ法でパッド電極もしくはバンプを形成することにより、製造コストを安く、高信頼性の半導体装置を得ることができる。
以下、この発明の実施の形態について図面を参照して説明する。
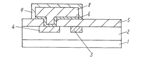
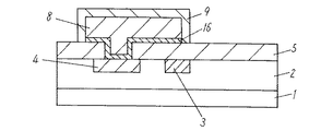
図1は、本発明の第1の実施形態に係る半導体装置の断面図であり、最上層の導電性配線の上に絶縁性のパシベーション膜を介してパッドが形成されている構成を示している。図2〜図5は、本発明の第1の実施形態に係る半導体装置の製造方法を示す工程断面図である。
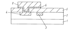
図1において、能動素子や受動素子が形成された半導体基板(半導体素子)1の上に層間絶縁膜2が形成されており、層間絶縁膜2表面には、厚さ約450nmの銅配線で半導体素子の最上層の配線3とパッドと接合するための配線電極4が同時に形成されている。そして、その上にパシベーション膜5として、厚さ500〜1000nmのP−SiN膜が形成されていて、配線電極4の上のパシベーション膜5は除去されている。配線電極4の上には、第1層のパッド層として、厚さ約300nmのTiW膜6および第2層のパッド層として、厚さ約3μmのNi膜8が形成されている。そして、TiW膜6、Ni膜8の周辺は厚さ約500nmの金膜9で覆われている。
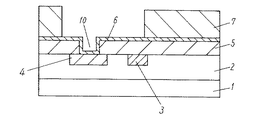
図2に示すように、CMOSのような能動素子や抵抗、コンデンサのような受動素子が形成された半導体基板1の上にSiO2のような層間絶縁膜2を形成する。そして、層間絶縁膜2表面に厚さ約450nmの銅配線を形成して、半導体素子の最上層の配線3とパッドと接合するための配線電極4を同時に形成する。そして、その上に配線とパッドの層間絶縁膜としてのパシベーション膜5をP−SiNで厚さ500〜1000nm形成する。そして、配線電極4の上のパシベーション膜5を除去して、コンタクトホール10を形成する。次に、厚さ約300nmのTiW膜6をスパッタ法で形成する。そして、パッド形成領域以外の領域に厚さ約4μmのホトレジスト膜7を形成する。
TiW膜6の替わりに、下層の絶縁膜および上層の金属膜に対して密着性の良い材料を用いても良い。
次に図3に示すように、パッド形成領域にTiW膜6を第1層のパッド層として、その上に電界メッキ法を用いて厚さ約3μmで第2層のパッド層としてのNi膜8を形成する。この場合、電界メッキ法で形成すると、配線電極4がP型シリコン層もしくはN型シリコン層に接していても両方とも同じ厚さのNiメッキ層を形成することができる。また、Ni膜8の厚さはプローブ検査やボンディング工程における応力で、パッド下のパシベーション膜5にクラックが入らない厚さにする。Niはヤング率が219200MPaであり、AuやAlに比べて大きいので、パシベーション膜5にクラックが生じにくい。
第2層のパッド層として、Niの替わりにヤング率が129800MPaと比較的大きく、ローコストで形成できるCuを用いても良い。また、その他ヤング率が比較的大きく、その上に金メッキ層を形成しやすい他の材料でも良い。
次に、図4に示すように、ホトレジスト膜7を除去した後、Ni膜8をマスクにして、TiW膜6を除去する。そうすると、第1層目のパッドである導電体薄膜のTiW膜6と第2層目のパッドである導電体薄膜のNi膜8の2層のパッド領域が形成される。
次に、図5に示すように、パッド領域を含む表面全体に、無電界メッキ法で厚さ約500nmの金膜9を形成する。この場合、半導体基板1表面には、導電体層としてはTiW膜6とNi膜8しかないので、導電体層にのみ選択的にメッキされる。つまり、TiW膜6とNi膜8が金膜9で覆われる。
配線電極4がP型シリコン層もしくはN型シリコン層に接していることにより、メッキの厚さが異なるが実用上問題はない。
メッキの材料と厚さはプローブ検査やパッケージングにおけるボンディング工程等が安定で、歩留まり良く製造できるようなヤング率の小さな材料を選び、所定の厚さにする。また、電極近傍に酸素原子や腐食性イオンが存在していても、TiW膜6とNi膜8が溶け出さない厚さであれば良い。通常は400nm以上あれば良い。
メッキする材料は、金の替わりに白金等化学的に安定した材料であれば何でも良い。また、フリップチップ接続のためにパッド上にバンプ層を形成する場合は、図3に示す工程において、フリップチップできるNi膜8の厚さを、例えば、5〜15μmにすれば良い。形成するNi膜8の厚さに応じて、ホトレジスト膜7の厚さを変える。
さらに、パッド層にNiメッキ層を用いる替わりに5〜15μmの厚さの金メッキ層を用いても良い。そうすれば、従来の条件でTCPやテープBGAを製造することができる。
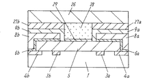
図6は、図1に示す構造の半導体装置をパッケージに組み立てて、高湿度雰囲気に長時間使用した場合のパッド近傍の断面図である。図6に示すように、半導体基板1上には最上層の配線3a、3bおよび最上層の配線からなる配線電極4a、4bが形成され(ここでは、層間絶縁膜は図示せず)、その上には、配線電極4a、4b領域に開口部を設けてパシベーション膜5が形成され、さらにその上から、TiW膜6a,6bとNi膜8a、8bと金膜9a、9bが形成されている。さらに、パッケージに組み立てるため、インターポーザー26上に形成された金電極27a、27bが半導体素子の金膜9a、9bと接続されている。インターポーザー26としては、テープ等の基板である。インターポーザー26と半導体素子が接続された後、その間には樹脂28が封止される。
組み立て後の半導体装置に対し、TiW膜6a、6b間に3〜50Vの電圧で、TiW膜6bにプラス電位が印加された状態で、高湿度雰囲気で長時間曝されていることにより、Hイオン、OHイオン、腐食性イオンの存在する層29が発生し、パッドである金膜9b近傍に酸素原子や腐食性イオンが存在したとしても、金膜9bは化学的に安定であるために腐食されることはない。また、パッド表面は1種類の導体薄膜であるため、電池作用によって腐食が早まることはない。すなわち、パッドの腐食や酸化による電気的なオープン不良は生じないし、金属の再析出による隣のパッドとの電気的導通が生じることはない。
また、図2から図5に示すような製造方法であれば、厚く、ヤング率が大きいNiメッキ層を電界メッキ法で形成するため、均一性の良い厚さにすることができるし、容易にパッド層を形成することができる。このように製造された半導体装置では、プローブ検査やボンディング工程の集中応力でパッド下のパシベーション膜5にクラックが生じることはない。また、無電界メッキ法によって、例えば金をNi膜8の上部だけでなく、側面を含めて、パッド表面全体を覆うことができるので製造工程が簡単である。そのため、製造コストを下げることができる。
金バンプの替わりに上記のようにNiバンプを用いれば、材料コストがさらに安くなり、製造コストを下げることができる。
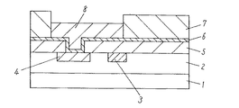
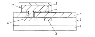
図7は、本発明の第2の実施形態に係る半導体装置の断面図であり、最上層の導電性配線の上に絶縁性のパシベーション膜を介してパッドが形成されている構成を示している。図1に示す第1の実施形態に係る半導体装置と異なる点は、プローブ検査やボンディング工程における応力でパッド下の絶縁膜5にクラックが入らないようなヤング率が大きい材料として、TiW膜に替えて、TiN膜16を用い、スパッタ法で、例えば、厚さ約400nmで形成する。Ni膜8も同じくスパッタ法で厚さ約200nmで形成する。
第1のパッド層であるTiN膜16の替わりにTaNのような下層のパシベーション膜5との密着性が良く、ヤング率の大きな材料であれば何でも良い。また、第2のパッド層であるNi膜8の替わりにCuのような上層の金よりもヤング率が大きく、金膜9との密着性が良ければ何でも良い。図7の実施形態は、第1の導電体薄膜のパッドとしてTiN膜16とNi膜8の2層について述べているが、プローブ検査やボンディング工程でパシベーション膜5にクラックが入らない材料であれば1層のパッドでも良い。
さらに、TiN膜16、Ni膜8の厚さはプローブ検査やボンディング工程における応力でパッド下のパシベーション膜5にクラックが入らない厚さにする。また、金膜9は第1の実施形態と同じように、プローブ検査やボンディング工程が安定で歩留まり良く製造される厚さにすれば良い。
本発明の半導体装置およびその製造方法は、プローブ検査やボンディング工程における応力が問題になる場合や長期間高湿度で動作させる場合の他、一般的なすべての半導体素子のパッド構造に適用可能である。
本発明の第1の実施形態に係る半導体装置の断面図 本発明の半導体装置の製造方法を示す工程断面図 本発明の半導体装置の製造方法を示す工程断面図 本発明の半導体装置の製造方法を示す工程断面図 本発明の半導体装置の製造方法を示す工程断面図 本発明の半導体装置をパッケージングした時の断面図 本発明の第2の実施形態に係る半導体装置の断面図 従来の半導体装置をパッケージングした時の断面図 従来の半導体装置をパッケージングした時の断面図
符号の説明
1 半導体基板
2 層間絶縁膜
3 配線
4 配線電極
5 パシベーション膜
6 TiW膜
7 ホトレジスト膜
8 Ni膜
9 金膜
16 TiN膜
26 インターポーザー
28 樹脂

Claims (6)

  1. 半導体素子の外部接続用のパッド電極が複数の金属層で積層され、前記パッド電極の表面および側面が導電体薄膜で覆われていることを特徴とする半導体装置。
  2. 複数の金属層の1つがバンプ層であることを特徴とする請求項1記載の半導体装置。
  3. 導電体薄膜が金であることを特徴とする請求項1または2記載の半導体装置。
  4. 複数の金属層は、半導体素子表面側の第1の金属層はTiW膜またはTiN膜であり、その上層の第2の金属層はNi膜であることを特徴とする請求項1または2記載の半導体装置。
  5. 半導体素子の表面に外部接続用のパッド電極である複数の金属層を形成する工程と、前記パッド電極の表面および側面を覆うように無電界メッキ法で導電体薄膜を形成する工程とを備えたことを特徴とする半導体装置の製造方法。
  6. 半導体素子表面の所定の領域にパッド電極と接続する配線電極を形成する工程と、前記半導体素子表面に絶縁膜を形成する工程と、前記配線電極上の前記絶縁膜を選択的に除去して、コンタクトホールを形成する工程と、前記配線電極上に第1の金属層を形成する工程と、前記第1の金属層の上に第2の金属層を電界メッキ法で形成する工程と、前記第1の金属層と前記第2の金属層からなる前記パッド電極の表面および側面の上に無電界メッキ法で導電体薄膜を形成する工程とを備えたことを特徴とする半導体装置の製造方法。
JP2004109795A 2004-04-02 2004-04-02 半導体装置およびその製造方法 Withdrawn JP2005294678A (ja)

Priority Applications (1)

Application Number Priority Date Filing Date Title
JP2004109795A JP2005294678A (ja) 2004-04-02 2004-04-02 半導体装置およびその製造方法

Applications Claiming Priority (1)

Application Number Priority Date Filing Date Title
JP2004109795A JP2005294678A (ja) 2004-04-02 2004-04-02 半導体装置およびその製造方法

Publications (1)

Publication Number Publication Date
JP2005294678A true JP2005294678A (ja) 2005-10-20

Family

ID=35327246

Family Applications (1)

Application Number Title Priority Date Filing Date
JP2004109795A Withdrawn JP2005294678A (ja) 2004-04-02 2004-04-02 半導体装置およびその製造方法

Country Status (1)

Country Link
JP (1) JP2005294678A (ja)

Cited By (3)

* Cited by examiner, † Cited by third party
Publication number Priority date Publication date Assignee Title
JP2012004210A (ja) * 2010-06-15 2012-01-05 Renesas Electronics Corp 半導体集積回路装置およびその製造方法
JP2014093318A (ja) * 2012-10-31 2014-05-19 Dowa Electronics Materials Co Ltd 半導体素子およびその製造方法
JP2015204393A (ja) * 2014-04-15 2015-11-16 サンケン電気株式会社 半導体装置

Cited By (3)

* Cited by examiner, † Cited by third party
Publication number Priority date Publication date Assignee Title
JP2012004210A (ja) * 2010-06-15 2012-01-05 Renesas Electronics Corp 半導体集積回路装置およびその製造方法
JP2014093318A (ja) * 2012-10-31 2014-05-19 Dowa Electronics Materials Co Ltd 半導体素子およびその製造方法
JP2015204393A (ja) * 2014-04-15 2015-11-16 サンケン電気株式会社 半導体装置

Similar Documents

Publication Publication Date Title
KR100679573B1 (ko) 반도체 장치의 제조 방법
KR100290193B1 (ko) 반도체장치및그제조방법
US8227341B2 (en) Semiconductor device and method of manufacturing the same
US8471367B2 (en) Semiconductor device and method for manufacturing semiconductor device
KR100315030B1 (ko) 반도체패키지의제조방법
US20110290545A1 (en) Through wiring board and method of manufacturing the same
KR100536036B1 (ko) 반도체 장치
TWI720233B (zh) 半導體裝置及其製造方法
JP2005327984A (ja) 電子部品及び電子部品実装構造の製造方法
US8269347B2 (en) Semiconductor chip, electrode structure therefor and method for forming same
US6683383B2 (en) Wirebond structure and method to connect to a microelectronic die
JP2003324120A (ja) 接続端子及びその製造方法並びに半導体装置及びその製造方法
JP2007317979A (ja) 半導体装置の製造方法
JP3918842B2 (ja) 半導体素子及びそれを備えたワイヤボンディング・チップサイズ・パッケージ
JP4775007B2 (ja) 半導体装置及びその製造方法
US20060164110A1 (en) Semiconductor device and method of fabricating the same
JP2006237151A (ja) 配線基板および半導体装置
JP5433849B2 (ja) 磁気センサ
JP2005294678A (ja) 半導体装置およびその製造方法
JP4638614B2 (ja) 半導体装置の作製方法
JP5165190B2 (ja) 半導体装置及びその製造方法
CN102214616B (zh) 金属导电结构及其制作方法
US20060289991A1 (en) Semiconductor device and manufacturing method of the same
US6617697B2 (en) Assembly with connecting structure
JP6562161B2 (ja) 薄膜デバイスおよび薄膜デバイスの製造方法

Legal Events

Date Code Title Description
A621 Written request for application examination

Free format text: JAPANESE INTERMEDIATE CODE: A621

Effective date: 20070219

RD01 Notification of change of attorney

Free format text: JAPANESE INTERMEDIATE CODE: A7421

Effective date: 20070313

A977 Report on retrieval

Free format text: JAPANESE INTERMEDIATE CODE: A971007

Effective date: 20090129

A131 Notification of reasons for refusal

Free format text: JAPANESE INTERMEDIATE CODE: A131

Effective date: 20090210

A761 Written withdrawal of application

Free format text: JAPANESE INTERMEDIATE CODE: A761

Effective date: 20090325