JP2005292320A - 画像顕微鏡装置 - Google Patents

画像顕微鏡装置 Download PDF

Info

Publication number
JP2005292320A
JP2005292320A JP2004104957A JP2004104957A JP2005292320A JP 2005292320 A JP2005292320 A JP 2005292320A JP 2004104957 A JP2004104957 A JP 2004104957A JP 2004104957 A JP2004104957 A JP 2004104957A JP 2005292320 A JP2005292320 A JP 2005292320A
Authority
JP
Japan
Prior art keywords
image display
display device
imaging device
image
arm
Prior art date
Legal status (The legal status is an assumption and is not a legal conclusion. Google has not performed a legal analysis and makes no representation as to the accuracy of the status listed.)
Pending
Application number
JP2004104957A
Other languages
English (en)
Inventor
Tomonori Ishikawa
朝規 石川
Junichi Nozawa
純一 野沢
Soji Otsuka
聡司 大塚
Genichi Nakamura
元一 中村
Current Assignee (The listed assignees may be inaccurate. Google has not performed a legal analysis and makes no representation or warranty as to the accuracy of the list.)
Olympus Corp
Original Assignee
Olympus Corp
Priority date (The priority date is an assumption and is not a legal conclusion. Google has not performed a legal analysis and makes no representation as to the accuracy of the date listed.)
Filing date
Publication date
Application filed by Olympus Corp filed Critical Olympus Corp
Priority to JP2004104957A priority Critical patent/JP2005292320A/ja
Priority to US11/095,389 priority patent/US8265734B2/en
Priority to EP05007074A priority patent/EP1582167B1/en
Publication of JP2005292320A publication Critical patent/JP2005292320A/ja
Pending legal-status Critical Current

Links

Images

Classifications

    • GPHYSICS
    • G02OPTICS
    • G02BOPTICAL ELEMENTS, SYSTEMS OR APPARATUS
    • G02B21/00Microscopes
    • G02B21/0004Microscopes specially adapted for specific applications
    • G02B21/0012Surgical microscopes
    • AHUMAN NECESSITIES
    • A61MEDICAL OR VETERINARY SCIENCE; HYGIENE
    • A61BDIAGNOSIS; SURGERY; IDENTIFICATION
    • A61B90/00Instruments, implements or accessories specially adapted for surgery or diagnosis and not covered by any of the groups A61B1/00 - A61B50/00, e.g. for luxation treatment or for protecting wound edges
    • A61B90/20Surgical microscopes characterised by non-optical aspects
    • A61B90/25Supports therefor
    • AHUMAN NECESSITIES
    • A61MEDICAL OR VETERINARY SCIENCE; HYGIENE
    • A61BDIAGNOSIS; SURGERY; IDENTIFICATION
    • A61B90/00Instruments, implements or accessories specially adapted for surgery or diagnosis and not covered by any of the groups A61B1/00 - A61B50/00, e.g. for luxation treatment or for protecting wound edges
    • A61B90/36Image-producing devices or illumination devices not otherwise provided for
    • AHUMAN NECESSITIES
    • A61MEDICAL OR VETERINARY SCIENCE; HYGIENE
    • A61BDIAGNOSIS; SURGERY; IDENTIFICATION
    • A61B90/00Instruments, implements or accessories specially adapted for surgery or diagnosis and not covered by any of the groups A61B1/00 - A61B50/00, e.g. for luxation treatment or for protecting wound edges
    • A61B90/50Supports for surgical instruments, e.g. articulated arms
    • GPHYSICS
    • G02OPTICS
    • G02BOPTICAL ELEMENTS, SYSTEMS OR APPARATUS
    • G02B21/00Microscopes
    • G02B21/36Microscopes arranged for photographic purposes or projection purposes or digital imaging or video purposes including associated control and data processing arrangements
    • G02B21/362Mechanical details, e.g. mountings for the camera or image sensor, housings
    • GPHYSICS
    • G02OPTICS
    • G02BOPTICAL ELEMENTS, SYSTEMS OR APPARATUS
    • G02B21/00Microscopes
    • G02B21/36Microscopes arranged for photographic purposes or projection purposes or digital imaging or video purposes including associated control and data processing arrangements
    • G02B21/368Microscopes arranged for photographic purposes or projection purposes or digital imaging or video purposes including associated control and data processing arrangements details of associated display arrangements, e.g. mounting of LCD monitor
    • AHUMAN NECESSITIES
    • A61MEDICAL OR VETERINARY SCIENCE; HYGIENE
    • A61BDIAGNOSIS; SURGERY; IDENTIFICATION
    • A61B17/00Surgical instruments, devices or methods
    • A61B2017/00477Coupling
    • AHUMAN NECESSITIES
    • A61MEDICAL OR VETERINARY SCIENCE; HYGIENE
    • A61BDIAGNOSIS; SURGERY; IDENTIFICATION
    • A61B90/00Instruments, implements or accessories specially adapted for surgery or diagnosis and not covered by any of the groups A61B1/00 - A61B50/00, e.g. for luxation treatment or for protecting wound edges
    • A61B90/36Image-producing devices or illumination devices not otherwise provided for
    • A61B90/37Surgical systems with images on a monitor during operation
    • A61B2090/372Details of monitor hardware
    • AHUMAN NECESSITIES
    • A61MEDICAL OR VETERINARY SCIENCE; HYGIENE
    • A61BDIAGNOSIS; SURGERY; IDENTIFICATION
    • A61B90/00Instruments, implements or accessories specially adapted for surgery or diagnosis and not covered by any of the groups A61B1/00 - A61B50/00, e.g. for luxation treatment or for protecting wound edges
    • A61B90/20Surgical microscopes characterised by non-optical aspects

Landscapes

  • Health & Medical Sciences (AREA)
  • Surgery (AREA)
  • Physics & Mathematics (AREA)
  • Life Sciences & Earth Sciences (AREA)
  • Engineering & Computer Science (AREA)
  • General Health & Medical Sciences (AREA)
  • Public Health (AREA)
  • Chemical & Material Sciences (AREA)
  • Heart & Thoracic Surgery (AREA)
  • Medical Informatics (AREA)
  • Molecular Biology (AREA)
  • Animal Behavior & Ethology (AREA)
  • Oral & Maxillofacial Surgery (AREA)
  • Pathology (AREA)
  • Biomedical Technology (AREA)
  • Veterinary Medicine (AREA)
  • Optics & Photonics (AREA)
  • Analytical Chemistry (AREA)
  • Nuclear Medicine, Radiotherapy & Molecular Imaging (AREA)
  • General Physics & Mathematics (AREA)
  • Multimedia (AREA)
  • Microscoopes, Condenser (AREA)
  • Endoscopes (AREA)
  • Apparatus For Radiation Diagnosis (AREA)

Abstract

【課題】術者の疲労を排除するため、撮像装置と画像表示装置とを常に最適な形態で支持することができる画像顕微鏡装置を提供することである。
【解決手段】被検部4を撮像する撮像装置1と、上記撮像装置1によって撮像した画像を表示する画像表示装置2と、上記撮像装置1及び上記画像表示装置2同士を着脱自在となるよう接続する着脱式接続部15を具備した画像顕微鏡装置である。
【選択図】 図1

Description

本発明は、被検部を拡大観察しながら処置を行うための顕微鏡装置に関する。
脳神経外科や耳鼻咽喉科などの手術においてはその手術の成績向上のため、精密な作業を行う必要があり、被検術部を拡大観察が可能な顕微鏡を用いた手術が一般的に行われている。これらの手術においては被検部に対してあらゆる方向から処置を施す必要があるため、顕微鏡は様々な位置及び角度に移動及び固定が可能なものでなければならない。従って、顕微鏡は複数の可動部を有した支持アームによって支持されている。この種の顕微鏡用支持アームの公知例として以下に挙げるような種類の特許文献がある。
特開昭62−231208号公報 特開2001−276092 特開昭63−296746号公報 特公平2−9820号公報。
一方、近年の電子技術の急速な進歩により、上述した手術用顕微鏡の分野においても電子画像化の流れは始まっており、従来の光学式顕微鏡に対してデジタル画像方式の手術用顕微鏡の試みが始まっている。このデジタル画像方式の手術用顕微鏡としては以下に挙げるような特許文献に示されるものがある。
特開2002− 6228 特開2001−51201
上述した特許文献1〜4にある手術用顕微鏡はいずれも被検部を観察する顕微鏡本体が一体的に構成されている。このような顕微鏡本体は被検部からの光束を取り込む対物レンズと、術者が拡大された被検部の光学像を覗き込む接眼レンズを有し、これらが一体或いは一体的なハウジングに組み込まれた一体構成であるため、被検部を様々な条件で観察する場合にあっては当然に接眼レンズも対物レンズと同時に動いてしまう。従って、術者が、観察対象の部位を変更しようとする場合は、その都度、自分自身が移動しなければならなかった。さらに被検部を斜めから観察するために顕微鏡本体を大きく傾けた場合には辛い姿勢での観察をしいられてしまう。手術は当然、観察しながら処置を行うものであるので、辛い姿勢では容易に処置ができない場合さえ生じてしまい、これでは術者にとって疲れを招き易い。
一方、上述した特許文献5,6の手術用顕微鏡では上述した手術用顕微鏡の場合とは逆に、被検部からの光束を取り込む部分(撮像部)と、拡大された被検部の画像を表示する手段(画像表示装置)とが別体で構成されている。しかし、被検部を斜めから観察するために撮像装置を傾けても、画像表示装置の状態はそのままであるため、術者の体の向きはそのまま保たれ、被検部に処置を施そうとした場合、体の正面ではない方向に腕を伸ばし体の向きとは関係のない方向から処置を施すことになってしまう。従って、術者は腕の疲れや不自然な感覚を受ける姿勢で手術を行なわなければならない。
これらの事情は、撮像装置の傾斜や移動が大きくなればなる程、顕微鏡観察下で手術を行う上での支障となる。また、撮像装置を移動させる度に画像表示装置を最適な位置に移動させれば、このような問題は防げるが、その作業は非常に面倒なものであることは明らかである。
本発明は上記課題に着目してなされたもので、その目的とするところは、手術における術者の疲労を排除するため、撮像装置と画像表示装置とを常に最適な形態で支持することができる画像顕微鏡装置を提供することである。
本発明は、被検部を撮像する撮像装置と、上記撮像装置によって撮像した画像を表示する画像表示装置と、上記撮像装置及び上記画像表示装置同士を着脱自在となるよう接続する着脱式接続手段とを具備したことを特徴とする画像顕微鏡装置である。
通常、撮像装置と画像表示装置を接続した状態で手術を行い、術中に撮像装置を大きく傾ける(被検部を大きく傾斜した方向から観察する)必要が生じた場合、撮像装置と画像表示装置とを分離させることができる。従って、術者は辛い姿勢から解放され手術を続けることが可能となる。また、術者の好みによって装着或いは分離を選択して使用することも可能である。
本発明によれば、術者の好みによって撮像装置と画像表示装置とを、装着或いは分離を選択して使用することが可能である。さらに、通常、撮像装置と画像表示装置を接続した状態で手術を行い、術中に撮像装置を大きく傾ける(被検部を大きく傾斜した方向から観察する)必要が生じた場合、撮像装置と画像表示装置とを分離させることができる。従って、術者は常に楽な姿勢で手術を行うことが可能となる。
〔第1の実施形態〕
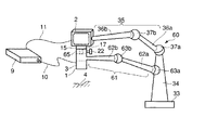
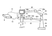
図1〜図2に基づいて本発明の第1の実施形態に係る画像顕微鏡装置を説明する。図1は撮像装置と画像表示装置が接続された使用状態の説明図であり、図2は撮像装置と画像表示装置が分離された使用状態の説明図である。
(構成)
図1中、符号1で示すものは画像顕微鏡装置の撮像装置(撮像手段)であり、符号2で示すものは画像顕微鏡装置の画像表示装置(画像表示手段)である。撮像装置1と画像表示装置2は後述する着脱自在な接続手段によって着脱が自在である。
上記撮像装置1は本体(ハウジング)3を有しており、この本体3の中には生体の被検部4からの光束を取り込む対物レンズ5と、この対物レンズ5から出射した光束が入射する結像レンズ6と、この結像レンズ6の結像位置7に受光面を配置した撮像素子8が配設されている。上記撮像装置1には撮像素子8からの撮像信号を、カメラコントロールユニット(CCU)9に導く信号ケーブル10が接続されている。CCU9は上述した撮像装置1と画像表示装置2の位置から離れて極力邪魔にならない場所に設置される。
上記画像表示装置2は例えばLCD等に代表される画像表示装置である。この画像表示装置2には上記CCU9からの映像ケーブル11が接続されていて、この映像ケーブル11によって上記CCU9からの映像信号を上記画像表示装置2に導くようになっている。
上記画像表示装置2には上記撮像装置1を取り付けるための第1着脱部15が装置本体16の下面に設けられている。図2に示すように、この第1着脱部15は下方へ突出する直径Aの嵌合軸17が設けられ、この嵌合軸17を用いて上記撮像装置1を上記画像表示装置2に装着する。また、上記撮像装置1の本体3の上部には上記画像表示装置2を取り付けるための第2着脱部18が設けられている。この第2着脱部18は上記画像表示装置2の嵌合軸17を嵌め込める直径Aの嵌合穴19が形成され、この嵌合穴19に上記嵌合軸17を嵌め込み装着すると共に、後述する締付け手段によって所定の位置関係で固定する。上記締付け手段は上記嵌合穴19に直交する方向から該嵌合穴19に貫通して第2着脱部18に設けられたネジ孔21と、このネジ孔21に螺合する雄ネジ部を有するツマミ22とを含む。
図1に示すように、上記画像表示装置2は、第1保持架台31によって3次元的に移動自在でかつ任意の位置にて固定可能なように支持される。また、上記撮像装置1は図2に示すように、第2保持架台32によって3次元的に移動自在でかつ任意の位置にて固定可能に支持される。
第1保持架台31はベース33と支柱34と支持アーム35とを備える。上記支持アーム35は第1アーム36aと第2アーム36bから構成されている。第1アーム36aと支柱34は第1球体軸受37aによって可動が可能に連結され、また、第1アーム36aと第2アーム36bは第2球体軸受37bによって可動が可能に連結されている。
上記撮像装置1は支持アーム35における第2アーム36bの先端に対し着脱自在に取り付けられるようになっている。第1球体軸受37a及び第2球体軸受37bはそれの先端にかかる重量によって生じるモーメントによって支持アーム35が自然に動かないフリクションを備えている。また、支持アーム35における可動部分に選択的に操作が可能なロック手段を付加して支持アーム35が移動しないように固定するようにしても良い。例えば、球体軸受37a,37bにスイッチによる入力により固定/解除が行われる電磁ブレーキ(図示しない)等を内蔵する。
また、図2に示す第2保持架台32も第1保持架台31の構成と略同様に構成されている。すなわち、第2保持架台32はベース41と支柱42と支持アーム43を備える。上記支持アーム43は第1アーム46aと第2アーム46bから構成される。第1アーム46aと支柱42は第1球体軸受47aによって可動が可能に連結され、また、第1アーム46aと第2アーム46bは第2球体軸受47bによって可動が可能に連結されている。上記撮像装置1は支持アーム43における第2アーム46bの先端に対し着脱自在に取り付けられるようになっている。第1球体軸受47a及び第2球体軸受47bはそれの先端にかかる重量によって生じるモーメントによって支持アーム43が自然に動かないフリクションを備えている。また、支持アーム43における可動部分に選択的に任意に操作が可能なロック手段を付加してその支持アーム43が移動しないように固定するようにしても良い。
(作用)
次に、本実施形態の画像顕微鏡装置の使用例について説明する。図1は撮像装置1と画像表示装置2とが一体的に接続された使用状態である。この接続状態では上記画像表示装置2の嵌合軸17を上記撮像装置1の嵌合穴19に嵌着させるとともに、上記ツマミ22を締め込むことによって嵌合軸17を締結することで固定的になる。このとき、撮像装置1を画像表示装置2に装着したので、第1保持架台31の使用のみで済み、第2保持架台32を使用しないで済む。
図1に示す如く、撮像装置(撮像部)1を被検部4に向けると、対物レンズ5にて取り込まれた被検部4からの光束は結像レンズ6により撮像素子8の受光面上に結像される。この画像は撮像素子8によって撮像され、ここで得られた被検部4の画像の撮像信号は信号ケーブル10を通じてCCU9に入力し、映像信号に変換される。この映像信号は映像ケーブル11を介して画像表示装置2に伝送され、そのモニタ画面に画像が映し出される。
図1に示すように、撮像装置1と画像表示装置2とが一体的に接続された状態では、被検部4を観察する際、その観察部位を左右に移動させたり、或いは被検部4を異なる方向から観察しようとする場合、術者は第1保持架台31の支持アーム35の有する球体軸受37a,37bの可動域を利用して撮像装置1を水平移動させたり傾斜させたりする。このとき、画像表示装置2は撮像装置1に一体的に固定されているため、撮像装置1の移動に伴って追従移動する。従って、画像表示装置2を観察する術者は体を移動或いは傾斜させることになる。
次に、上記撮像装置1と上記画像表示装置2とを分離して使用する場合について説明する。上記撮像装置1と上記画像表示装置2とを分離する場合は、上記ツマミ22を緩めて上記嵌合軸17を上記嵌合穴19から引き抜くことで成し得る。そして、図2に示すように、上記画像表示装置2から切り離されて単独になった撮像装置1を、第2保持架台32における支持アーム43の先端に対し取り付ける。
この使用形態の場合は、図2に示すように、術者は被検部4を観察する際、その撮像装置(撮像部)1を左右に移動させたり、或いは被検部4を異なる方向から観察しようとする場合には、第2保持架台32における支持アーム43の球体軸受47a,47bの可動域を利用して撮像装置1を水平移動させたり傾斜させたりする。この際、画像表示装置2は撮像装置1に対して分離されているため、画像表示装置2は撮像装置1の移動には関係なくその設置状態を保つ。従って、画像表示装置2を観察する術者は姿勢を変える必要がない。
(効果)
本実施形態によれば、撮像装置(撮像部)1の観察方向の変更に伴って画像表示装置2の位置状態を追従させる使用形態と、撮像装置(撮像部)1の観察方向の変更に拘わらず、画像表示装置2はそのままの位置状態を保つ使用形態の両方が可能である。従って、術前のセッティングによって使用状況または術者の好み等に応じた使用法の選択が可能となる。
また、術者は画像表示装置2のみの配置を変えたい場合、第1保持架台31の支持アーム35を動かすことによって、撮像装置1とは独立してその配置を変えることができる。撮像装置1のみの配置を変えたい場合は、第2保持架台32の支持アーム35を動かすことによって、撮像装置1のみを独立してその配置を変えることができる。
ところで、本実施形態では撮像装置1と画像表示装置2との着脱に嵌合軸17を用いるものであったが、この着脱式接続手段としては、磁石のような磁性体を用いても良いし、或いは雄ネジと雌ネジによる固定法を使う等、種々の方式のものが考えられることはいうまでもない。さらに本実施形態では撮像装置1または画像表示装置2を移動可能に保持するために、フリクションを有した球面軸受を用いて説明を行ったが、平行四辺形リンクにスプリングや錘を組み合わせた所謂バランス式パンタグラフアームを用いても良い。この場合は、アームの先端にかかる重量が画像表示装置2のみである場合と、撮像装置1と画像表示装置2との両方の重量がかかる場合とを認識し、各々の状態に合わせて自動でバランスの調整が行われることが好ましい。
〔第2の実施形態〕
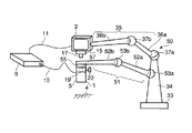
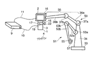
図3及び図4に基づいて本発明の第2の実施形態に係る画像顕微鏡装置を説明する。ただし、上述した第1の実施形態と同一の構成のものについては同一の符号を付し、その詳細な説明を省略する。図4は撮像装置と画像表示装置が接続された使用状態の説明図であり、図5は撮像装置と画像表示装置が分離された使用状態の説明図である。
(構成)
本実施形態での撮像装置1及び画像表示装置2は上述した第1の実施形態のものと略同様に構成されるが、本実施形態では一台の保持架台50で撮像装置1及び画像表示装置2の両方を支持できるようにしたものである。
図3に示すように、本実施形態では一台の保持架台50を備え、この保持架台50は上述した第1の実施形態に示した第1保持架台31と同様にベース33と支柱34と支持アーム35とを備え、上記支持アーム35は第1アーム36aと第2アーム36bから構成されている。第1アーム36aと支柱34は第1球体軸受37aによって可動が可能に連結され、また、第1アーム36aと第2アーム36bは第2球体軸受37bによって可動が可能に連結されている。この支持アーム35における第2アーム36bの先端に対して画像表示装置2を脱自在に取り付けるようにしてある。
さらに、本実施形態の保持架台50ではその支柱34に上記画像表示装置用支持アーム35とは別のアーム51を設け、この別のアーム51に撮像装置1を支持可能なものとした。この撮像装置用支持アーム51は図1に示すように、第1のアーム52aと第2アーム52bから構成されており、第1アーム52aと支柱34は第1球体軸受53aによって可動が可能に連結され、また、第1アーム52aと第2アーム52bは第2球体軸受53bによって可動が可能に連結されている。第1球体軸受53a及び第2球体軸受53bにはスイッチによる入力により固定/解除が行われる電磁ブレーキ(図示しない)等が内蔵されている。
この撮像装置用支持アーム51における第2アーム52bの先端には上記撮像装置1を着脱自在に装着する第3着脱部55が設けられている。この第3着脱部55には、上述した第1着脱部15と同様に構成される。つまり、第3着脱部55には図4に示すように、下方へ突出する直径Aの嵌合用軸57が設けられている。
(作用)
図3に示すように、上記撮像装置1と上記画像表示装置2を一体的に接続して使用する場合では、上述した実施形態の場合と同様、支持アーム35の先端に画像表示装置2を支持し、撮像装置1はその画像表示装置2に一体的に接続された状態にある。このとき、別のアーム51は図3に示すように折り畳まれ、収納状態にある。
次に、上記撮像装置1と上記画像表示装置2を分離して使用する場合は上記ツマミ22を緩めて上記画像表示装置2側の嵌合軸17を上記撮像装置1側の嵌合穴19から引き抜き、上記撮像装置1を上記画像表示装置2から分離する。そして、図4に示すように、撮像装置用支持アーム51を引き延ばし、その第3着脱部55の嵌合用軸57を、撮像装置1側の嵌合穴19に差し込み、ツマミ22を締めて撮像装置用支持アーム51に上記撮像装置1を固定する。
図3に示すように、上記撮像装置1と上記画像表示装置2を一体的に接続して使用する場合において、被検部4を観察する際、術者はその観察部位を左右に移動させたり、或いは被検部4を異なる方向から観察しようとするときは撮像装置1を水平移動させたり傾斜させたりするが、画像表示装置2はその撮像装置1に一体的に固定されているため、この撮像装置1の移動に伴って画像表示装置2も一緒に移動してしまう。従って、画像表示装置2を観察する術者は体を移動或いは傾斜させることになる。
一方、図4に示すように、上記撮像装置1と上記画像表示装置2を分離し、上記撮像装置1と上記画像表示装置2を別々に支持する場合において、術者が被検部4を観察する際にはその上記撮像装置1を左右に移動させたり、或いは被検部4を撮像観察方向とは異なる方向から観察しようとする場合には撮像装置用支持アーム51の有する球体軸受53a,53bの可動域を利用して撮像装置1を水平移動させたり傾斜させたりする。しかし、画像表示装置2はその撮像装置1から分離されているため、画像表示装置2は撮像装置1の移動とは関係なく、その状態を保っている。従って、画像表示装置2を観察する術者は姿勢を変える必要がない。また、術者は画像表示装置2の配置を変えたい場合、画像表示装置用支持アーム35を動かすことによって、撮像装置1とは独立してその画像表示装置2のみの配置を変えることができる。
(効果)
本実施形態によれば、上述した第1の実施形態によって得られる効果に加えて、保持架台が1台で済む。このため、システム全体の価格を下げ得る。さらには手術室内における装置の占有スペースが少なくて済むという利点も有する。手術室内は様々な治療機器や麻酔装置などが多々置かれており、助手や看護婦の立つ、スペースが中々確保できないという問題に対して貢献することができる。
〔第3の実施形態〕
図5及び図6に基づいて本発明の第3の実施形態に係る画像顕微鏡装置を説明する。ただし、上述した第1の実施形態と同一の構成のものには同一の符号を付し、その詳細な説明を省略する。図4は撮像装置と画像表示装置が接続された使用状態の説明図であり、図5は撮像装置と画像表示装置が分離された使用状態の説明図である。
(構成)
本実施形態での撮像装置1及び画像表示装置2は上述した第1の実施形態のものと略同様に構成されるが、本実施形態では一台の保持架台50で撮像装置1及び画像表示装置2の両方を支持できるようにしたものである。
図5に示すように、本実施形態では一台の保持架台60を備える。この保持架台60は上述した第1の実施形態に示した第1保持架台31と同様にベース33と支柱34と支持アーム35とを備える。上記支持アーム35は第1アーム36aと第2アーム36bから構成されている。この支持アーム35の第1アーム36aと支柱34は第1球体軸受37aによって可動が可能な状態で連結され、また、第1アーム36aと第2アーム36bは第2球体軸受37bによって可動が可能な状態で連結されている。この支持アーム35における第2アーム36bの先端に上記画像表示装置2を固着または着脱自在に取り付けるようにした。
本実施形態の保持架台60ではその支柱34に対して別の支持アーム61を設け、この別の支持アーム61に上記撮像装置1を支持するようにした。つまり、本実施形態では一台の保持架台60の支柱34に画像表示装置用支持アーム35と撮像装置用支持アーム61の2つの異なる支持アームを設けるようにしたものである。
図5及び図6に示すように、上記撮像装置用支持アーム61は第1のアーム62aと第2アーム62bから構成されており、第1アーム62aと支柱34は第1球体軸受63aによって可動が可能に連結され、また、この第1アーム62aと第2アーム62bは第2球体軸受63bによって可動が可能に連結されている。第1球体軸受63a及び第2球体軸受63bにはスイッチによる入力により固定/解除が行われる電磁ブレーキ(図示しない)等が内蔵されている。
この支持アーム61における第2アーム62bの先端には上記画像表示装置2が固着または着脱自在に取り付けられている。ここでは撮像装置1の本体3を着脱自在に取り付ける装着部65と第2アーム62bが一体に構成されている。
図6に示すように、支持アーム61における第2アーム62bと一体になった装着部65の上端部には上記画像表示装置2の嵌合軸17を嵌め込める直径Aの嵌合穴19が形成されている。この嵌合穴19に対して上記嵌合軸17を嵌め込み装着すると共に、後述する締付け手段によって所定の位置関係で上記画像表示装置2を接続固定するようになっている。上記締付け手段としては上記嵌合穴19に直交する方向から該嵌合穴19に貫通して上記第2着脱部18に設けられたネジ孔21と、このネジ孔21に螺合する雄ネジ部を有するツマミ22とを含み構成されている。
(作用)
次に、本実施形態の一使用例について述べる。まず、図5に示すように、上記撮像装置1と、上記画像表示装置2を一体的に組み合わせて使用する場合では、上述した第1の実施形態の場合と同様、画像表示装置用支持アーム35の先端に画像表示装置2を支持し、撮像装置1はその画像表示装置2に対して一体的に組み付けた接続状態にある。さらに、撮像装置1は別の撮像装置用支持アーム61の先端に支持された状態にある。
このように上記撮像装置1と上記画像表示装置2を接続して一体的に組み合わせて使用する場合において、被検部4を観察する際、術者はその観察する撮像装置1を左右に移動させたり、或いは被検部4を異なる方向から観察しようとするときは撮像装置1を水平移動させたり傾斜させたりするが、画像表示装置2はその撮像装置1に一体的に固定されているため、この撮像装置1の移動に伴って画像表示装置2も一緒に移動してしまう。従って、画像表示装置2を観察する術者は体を移動或いは傾斜させることになる。
一方、図6に示すように、上記撮像装置1と上記画像表示装置2を分離して使用する場合においては上記ツマミ22を緩めて上記画像表示装置2側の嵌合軸17を上記撮像装置1側の嵌合穴19から引き抜き、上記撮像装置1を上記画像表示装置2から切り離す。そして、図4に示すように、上記撮像装置1は撮像装置用支持アーム61に支持し、上記画像表示装置2は画像表示装置用支持アーム35に支持する。撮像装置1と画像表示装置2は独立的に別々に動かすことができる。
そして、図6に示すように、上記撮像装置1と上記画像表示装置2を分離して、上記撮像装置1と上記画像表示装置2を別々に支持する場合において、術者が被検部4を観察する際、その撮像装置1を左右に移動させる。また、被検部4を撮像観察方向とは異なる方向から観察しようとする場合には撮像装置用支持アーム61の有する球体軸受63a,63bの可動域を利用して撮像装置1を水平移動させたり傾斜させたりする。しかし、画像表示装置2はその撮像装置1から分離されているため、画像表示装置2は撮像装置1の移動には関係なく、その状態を保っている。従って、画像表示装置2を観察する術者は姿勢を変える必要がない。また、術者は画像表示装置2の配置を変えたい場合、画像表示装置用支持アーム35を動かすことによって、撮像装置1と画像表示装置2は独立してその配置を変えることができる。
(効果)
本実施形態によれば、ツマミ22を緩めて嵌合軸17を抜き出すだけで簡単に撮像装置1と画像表示装置2を接続された状態から分離された状態に変更することができるので、上述した第1の実施形態及び第2の実施形態によって得られる効果に加えて、術中であっても容易に両者の使い分けが可能となる。
なお、本発明は、前述した実施形態のものに限定されるものではなく、他の形態にも適用が可能である。また、前述した説明によれば、以下の事項またはそれらの事項を組み合わせた事項の発明が得られる。
付記1.被検部を撮像する撮像装置と、上記撮像装置によって撮像した画像を表示する画像表示装置と、上記撮像装置及び上記画像表示装置同士を着脱自在となるよう接続する着脱式接続手段と、を具備したことを特徴とする画像顕微鏡装置。
付記2.上記撮像装置と上記画像表示装置は各々異なる支持アームにて支持されることを特徴とする付記2に記載の画像顕微鏡装置。
付記3.上記各支持アームは共通の支柱に配設されていることを特徴とする付記2に記載の画像顕微鏡装置。
付記4.上記着脱手段は上記支持アームの少なくとも1つと着脱の互換性を有することを特徴とする付記2に記載の画像顕微鏡装置。
付記5.上記支持アームの少なくとも1つは上記撮像装置と上記画像表示装置の何れか一方と一体或いは着脱可能であると共に、他方と着脱可能であることを特徴とする付記2に記載の画像顕微鏡装置。
付記6.上記支持アームの少なくとも1つは先端に支持する装置の重量に相当する反力を有するバランスアームからなると共に、該バランスアームは上記撮像装置と上記画像表示装置との着脱の有無に対して上記反力を変更する反力変更手段を備えることを特徴とする付記2に記載の画像顕微鏡装置。
本発明の第1の実施形態に係る画像顕微鏡装置における撮像装置と画像表示装置が接続された使用状態の説明図。 同じく本発明の第1の実施形態に係る画像顕微鏡装置における撮像装置と画像表示装置を分離した使用状態の説明図。 本発明の第2の実施形態に係る画像顕微鏡装置における撮像装置と画像表示装置が接続された使用状態の説明図。 同じく本発明の第2の実施形態に係る画像顕微鏡装置における撮像装置と画像表示装置を分離した使用状態の説明図。 本発明の第3の実施形態に係る画像顕微鏡装置における撮像装置と画像表示装置が接続された使用状態の説明図。 同じく本発明の第3の実施形態に係る画像顕微鏡装置における撮像装置と画像表示装置を分離した使用状態の説明図。
符号の説明
1…撮像装置、2…画像表示装置、3…本体、4…被検部、15…着脱部
16…装置本体、17…嵌合軸、18…着脱部、19…嵌合穴
31…保持架台、32…保持架台、35…画像表示装置用支持アーム
61…撮像装置用支持アーム。

Claims (3)

  1. 被検部を撮像する撮像装置と、
    上記撮像装置によって撮像した画像を表示する画像表示装置と、
    上記撮像装置及び上記画像表示装置同士を着脱自在となるよう接続する着脱式接続手段と、
    を具備したことを特徴とする画像顕微鏡装置。
  2. 上記撮像装置を移動自在に支持する第1の支持装置と、上記画像表示装置を移動自在に支持する第2の支持装置とを備えることを特徴とする請求項1に記載の画像顕微鏡装置。
  3. 上記撮像装置を移動自在に支持する第1の支持アームと、上記画像表示装置を移動自在に支持する第2の支持アームとを備え、上記第1の支持アームと上記第2の支持アームを一台の架台に取り付けたことを特徴とする請求項1に記載の画像顕微鏡装置。
JP2004104957A 2004-03-31 2004-03-31 画像顕微鏡装置 Pending JP2005292320A (ja)

Priority Applications (3)

Application Number Priority Date Filing Date Title
JP2004104957A JP2005292320A (ja) 2004-03-31 2004-03-31 画像顕微鏡装置
US11/095,389 US8265734B2 (en) 2004-03-31 2005-03-31 Imaging and displaying system with imaging unit and display unit which are supported by movable arm
EP05007074A EP1582167B1 (en) 2004-03-31 2005-03-31 Imaging and displaying system with imaging unit and display unit which are supported by movable arm

Applications Claiming Priority (1)

Application Number Priority Date Filing Date Title
JP2004104957A JP2005292320A (ja) 2004-03-31 2004-03-31 画像顕微鏡装置

Publications (1)

Publication Number Publication Date
JP2005292320A true JP2005292320A (ja) 2005-10-20

Family

ID=34880063

Family Applications (1)

Application Number Title Priority Date Filing Date
JP2004104957A Pending JP2005292320A (ja) 2004-03-31 2004-03-31 画像顕微鏡装置

Country Status (3)

Country Link
US (1) US8265734B2 (ja)
EP (1) EP1582167B1 (ja)
JP (1) JP2005292320A (ja)

Cited By (3)

* Cited by examiner, † Cited by third party
Publication number Priority date Publication date Assignee Title
JP2010511902A (ja) * 2006-12-07 2010-04-15 スイス メディカル テヒノロギー ゲーエムベーハー 表示ユニットの目視者依存的な位置決め及び位置合わせのための支持システム及び方法
WO2016043046A1 (ja) * 2014-09-16 2016-03-24 ソニー・オリンパスメディカルソリューションズ株式会社 医療用観察装置および医療用観察システム
JPWO2016152987A1 (ja) * 2015-03-25 2018-01-18 ソニー・オリンパスメディカルソリューションズ株式会社 医療用観察装置、手術用観察装置及び医療用観察システム

Families Citing this family (15)

* Cited by examiner, † Cited by third party
Publication number Priority date Publication date Assignee Title
CA2709769C (en) * 2005-09-30 2012-03-20 Restoration Robotics, Inc. Tool assembly for harvesting and implanting follicular units
US7946546B2 (en) * 2006-10-20 2011-05-24 Carnegie Mellon University Apparatus for positioning a device
US7593219B2 (en) * 2007-04-26 2009-09-22 Hewlett-Packard Development Company, L.P. Display support system and method
US8982203B2 (en) 2007-06-06 2015-03-17 Karl Storz Gmbh & Co. Kg Video system for viewing an object on a body
US8632064B2 (en) * 2009-07-15 2014-01-21 The Board Of Trustees Of The Leland Stanford Junior University Positioning apparatus with lockable joints and method of use
CN102778750B (zh) * 2012-07-20 2014-06-25 中国地质大学(武汉) 一种显微镜实验教学显示系统
JP6214186B2 (ja) * 2013-03-29 2017-10-18 キヤノン株式会社 放射線発生用装置及び放射線撮影装置
ES2741354T3 (es) * 2013-08-12 2020-02-10 Schunk Bahn & Industrietechnik Gmbh Dispositivo de transmisión de corriente
DE102013226288A1 (de) * 2013-12-17 2015-06-18 Carl Zeiss Meditec Ag Operationsmikroskop
JP6858593B2 (ja) * 2017-03-02 2021-04-14 ソニー・オリンパスメディカルソリューションズ株式会社 医療用観察装置、および制御方法
CN110131532B (zh) * 2018-02-08 2024-09-03 泰科电子(上海)有限公司 成像设备
CN110068919A (zh) * 2019-05-29 2019-07-30 苏州四海通仪器有限公司 一种便拆式手术显微镜
US11448868B2 (en) 2020-05-07 2022-09-20 Kgg Inc Ergonomic EZ scope digital imaging system
IT202000022843A1 (it) * 2020-09-28 2022-03-28 Pont Franco Dal Microscopio chirurgico
US12467489B2 (en) * 2022-03-17 2025-11-11 Mako Surgical Corp. Techniques for securing together components of one or more surgical carts

Citations (3)

* Cited by examiner, † Cited by third party
Publication number Priority date Publication date Assignee Title
JPH09102899A (ja) * 1995-10-05 1997-04-15 Scala Kk 顕微鏡用ビデオカメラ及び顕微鏡用ビデオ装置
JPH10179503A (ja) * 1996-12-26 1998-07-07 Asahi Optical Co Ltd 手術用内視鏡装置
JP2003250812A (ja) * 2002-02-28 2003-09-09 Olympus Optical Co Ltd 医療用立体表示装置

Family Cites Families (29)

* Cited by examiner, † Cited by third party
Publication number Priority date Publication date Assignee Title
DE7930125U1 (de) 1979-07-24 1980-01-24 Contraves Ag, Zuerich (Schweiz) Zusatzvorrichtung an einem stativ fuer ein optisches beobachtungsgeraet
JPS6070350A (ja) * 1983-09-28 1985-04-22 Hitachi Ltd 光学顕微鏡を併設した超音波顕微鏡
JPS6098352A (ja) * 1983-11-02 1985-06-01 Olympus Optical Co Ltd 超音波顕微鏡
US4741607A (en) 1986-03-17 1988-05-03 Contraves Ag Supporting device for an optical observation instrument
US4863133A (en) * 1987-05-26 1989-09-05 Leonard Medical Arm device for adjustable positioning of a medical instrument or the like
JPS63296746A (ja) 1987-05-29 1988-12-02 Mitaka Koki Kk 医療用光学機器のスタンド装置
FR2651668B1 (fr) * 1989-09-12 1991-12-27 Leon Claude Ensemble microscope-endoscope utile notamment en chirurgie.
US5762458A (en) * 1996-02-20 1998-06-09 Computer Motion, Inc. Method and apparatus for performing minimally invasive cardiac procedures
US5579772A (en) * 1993-06-14 1996-12-03 Olympus Optical Co., Ltd. Surgical microscope system
EP0756471B1 (de) * 1995-02-20 2002-12-04 Storz, Sybill Vorrichtung zur untersuchung von hohlräumen mit einem endoskop
AU7517096A (en) * 1995-10-20 1997-05-07 Urohealth Systems Inc. Hand-held imaging apparatus for use with endoscopes
US5855583A (en) * 1996-02-20 1999-01-05 Computer Motion, Inc. Method and apparatus for performing minimally invasive cardiac procedures
JPH09238951A (ja) * 1996-03-06 1997-09-16 Topcon Corp 手術用顕微鏡装置
US6575908B2 (en) * 1996-06-28 2003-06-10 Sonosite, Inc. Balance body ultrasound system
US5999837A (en) * 1997-09-26 1999-12-07 Picker International, Inc. Localizing and orienting probe for view devices
WO1999058044A1 (en) * 1998-05-13 1999-11-18 Inbae Yoon Penetrating endoscope and endoscopic surgical instrument with cmos image sensor and display
US6419626B1 (en) 1998-08-12 2002-07-16 Inbae Yoon Surgical instrument endoscope with CMOS image sensor and physical parameter sensor
JP4101951B2 (ja) * 1998-11-10 2008-06-18 オリンパス株式会社 手術用顕微鏡
US6398721B1 (en) * 1999-02-19 2002-06-04 Olympus Optical Co., Ltd. Surgical microscope apparatus
US6447451B1 (en) * 1999-05-04 2002-09-10 Sonosite, Inc. Mobile ultrasound diagnostic instrument and docking stand
JP4611491B2 (ja) 1999-05-31 2011-01-12 Hoya株式会社 ビデオ型立体顕微鏡
JP4245750B2 (ja) * 1999-10-15 2009-04-02 オリンパス株式会社 立体観察装置
JP2001224595A (ja) * 1999-12-08 2001-08-21 Olympus Optical Co Ltd 顕微鏡下手術用超音波プローブ
JP4353668B2 (ja) 1999-12-23 2009-10-28 ヒル−ロム サービシズ,インコーポレイテッド 手術シアターシステム
JP2001276092A (ja) 2000-03-30 2001-10-09 Konan Medical Inc 簡易型医療用顕微鏡
JP2002006228A (ja) 2000-06-23 2002-01-09 Asahi Optical Co Ltd 手術用ビデオ型顕微鏡
JP3791907B2 (ja) * 2002-02-12 2006-06-28 オリンパス株式会社 観察装置
JP4073249B2 (ja) * 2002-05-17 2008-04-09 オリンパス株式会社 手術システム
JP4398352B2 (ja) * 2004-12-02 2010-01-13 オリンパス株式会社 医療用立体撮像装置

Patent Citations (3)

* Cited by examiner, † Cited by third party
Publication number Priority date Publication date Assignee Title
JPH09102899A (ja) * 1995-10-05 1997-04-15 Scala Kk 顕微鏡用ビデオカメラ及び顕微鏡用ビデオ装置
JPH10179503A (ja) * 1996-12-26 1998-07-07 Asahi Optical Co Ltd 手術用内視鏡装置
JP2003250812A (ja) * 2002-02-28 2003-09-09 Olympus Optical Co Ltd 医療用立体表示装置

Cited By (7)

* Cited by examiner, † Cited by third party
Publication number Priority date Publication date Assignee Title
JP2010511902A (ja) * 2006-12-07 2010-04-15 スイス メディカル テヒノロギー ゲーエムベーハー 表示ユニットの目視者依存的な位置決め及び位置合わせのための支持システム及び方法
WO2016043046A1 (ja) * 2014-09-16 2016-03-24 ソニー・オリンパスメディカルソリューションズ株式会社 医療用観察装置および医療用観察システム
US20170227753A1 (en) 2014-09-16 2017-08-10 Sony Olympus Medical Solutions Inc. Medical observation apparatus and medical observation system
US10114208B2 (en) 2014-09-16 2018-10-30 Sony Olympus Medical Solutions Inc. Medical observation apparatus and medical observation system
US10634896B2 (en) 2014-09-16 2020-04-28 Sony Olympus Medical Solutions Inc. Medical observation apparatus and medical observation system that convert an imaging signal to an optical signal
JPWO2016152987A1 (ja) * 2015-03-25 2018-01-18 ソニー・オリンパスメディカルソリューションズ株式会社 医療用観察装置、手術用観察装置及び医療用観察システム
US10925685B2 (en) 2015-03-25 2021-02-23 Sony Olympus Medical Solutions Inc. Medical observation device, surgical observation device, and medical observation system

Also Published As

Publication number Publication date
EP1582167A2 (en) 2005-10-05
US8265734B2 (en) 2012-09-11
EP1582167B1 (en) 2013-02-27
US20050228257A1 (en) 2005-10-13
EP1582167A3 (en) 2010-04-21

Similar Documents

Publication Publication Date Title
JP2005292320A (ja) 画像顕微鏡装置
EP3420878B1 (en) Information processing device for medical use, information processing method, information processing system for medical use
JP3402797B2 (ja) 内視鏡用画像表示システム
JP2004181229A (ja) 遠隔手術支援システム及び支援方法
JPWO2012117922A1 (ja) 医療用保持装置
JP7115467B2 (ja) 手術用画像処理装置、画像処理方法、及び、手術システム
JP4716545B2 (ja) 手術用顕微鏡装置
EP3603562B1 (en) Medical observation apparatus and observation field correction method
WO2017169650A1 (ja) 医療用観察装置、映像移動補正方法及び医療用観察システム
JP4383188B2 (ja) 立体観察システム
JP2014076204A (ja) 医療用観察システム
JP3806568B2 (ja) 手術用顕微鏡装置
JP6656237B2 (ja) 手術用顕微鏡装置及び手術用顕微鏡システム
JP4426770B2 (ja) 内視鏡保持装置
JPH0970406A (ja) 手術用観察装置
JP2002125219A (ja) システム制御装置
JP2000262458A (ja) 手術観察用撮像システム
JP2001145003A (ja) 内視鏡用撮像装置
JP7307986B1 (ja) マイクロスコープ
JPH0716238A (ja) 保持装置
JP2001111991A (ja) 顔面装着型映像表示装置
WO2018043205A1 (ja) 医療用画像処理装置、医療用画像処理方法、プログラム
JP4077682B2 (ja) 手術用観察装置
JP2006014825A (ja) 医療用観察装置
JP2004016282A (ja) 内視鏡用画像処理装置

Legal Events

Date Code Title Description
A621 Written request for application examination

Free format text: JAPANESE INTERMEDIATE CODE: A621

Effective date: 20070119

A131 Notification of reasons for refusal

Free format text: JAPANESE INTERMEDIATE CODE: A131

Effective date: 20100316

A521 Written amendment

Free format text: JAPANESE INTERMEDIATE CODE: A523

Effective date: 20100514

A02 Decision of refusal

Free format text: JAPANESE INTERMEDIATE CODE: A02

Effective date: 20101124

A521 Written amendment

Free format text: JAPANESE INTERMEDIATE CODE: A523

Effective date: 20110223

A911 Transfer to examiner for re-examination before appeal (zenchi)

Free format text: JAPANESE INTERMEDIATE CODE: A911

Effective date: 20110303

A912 Re-examination (zenchi) completed and case transferred to appeal board

Free format text: JAPANESE INTERMEDIATE CODE: A912

Effective date: 20110415

A521 Written amendment

Free format text: JAPANESE INTERMEDIATE CODE: A523

Effective date: 20120406