JP2005290230A - 帯電防止層を有する反射防止フィルム及び帯電防止層形成用コーティング組成物 - Google Patents
帯電防止層を有する反射防止フィルム及び帯電防止層形成用コーティング組成物 Download PDFInfo
- Publication number
- JP2005290230A JP2005290230A JP2004108375A JP2004108375A JP2005290230A JP 2005290230 A JP2005290230 A JP 2005290230A JP 2004108375 A JP2004108375 A JP 2004108375A JP 2004108375 A JP2004108375 A JP 2004108375A JP 2005290230 A JP2005290230 A JP 2005290230A
- Authority
- JP
- Japan
- Prior art keywords
- antistatic layer
- layer
- refractive index
- forming
- coating composition
- Prior art date
- Legal status (The legal status is an assumption and is not a legal conclusion. Google has not performed a legal analysis and makes no representation as to the accuracy of the status listed.)
- Pending
Links
Images
Landscapes
- Liquid Crystal (AREA)
- Laminated Bodies (AREA)
- Paints Or Removers (AREA)
Abstract
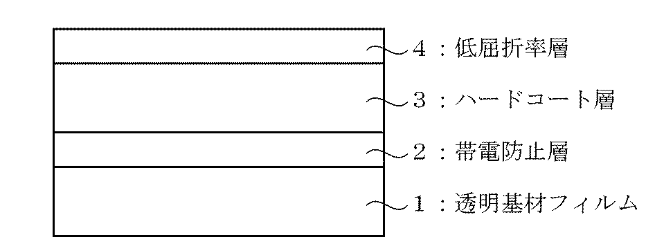
【解決手段】 反射防止フィルムは、透明基材フィルム1上に、(1)導電性金属酸化物、(2)フッ素樹脂、及び/又は、空隙を有する微粒子を含む屈折率低減化物質、(3)電離放射線硬化型樹脂、及び、(4)有機溶剤、を含む帯電防止層形成用コーティング組成物を用いて形成された帯電防止層2、電離放射線硬化型樹脂を含むハードコート層3、直接接する下層の屈折率よりも低い屈折率の低屈折率層4をこの順で形成して得られる。該透明基材フィルムと該帯電防止層の屈折率の差、及び該帯電防止層と該ハードコート層の屈折率差の絶対値が共に0.03以内である。
【選択図】 図1
Description
本発明の反射防止フィルムは、膜厚が0.05〜5.0μmの時に、埃付着防止のために必要な表面抵抗率が1.0×1013 Ω/□以下を実現できる。1.0×1013 Ω/□〜1.0×1012 Ω/□では帯電するが静電荷が蓄積しないため、フィルムなどに埃付着防止性が得られる。好ましくは、静電荷が帯電するが、すぐ減衰する範囲1.0×1012 Ω/□〜1.0×1010 Ω/□であり、より好ましくは帯電しない範囲1.0×1010 Ω/□以下であり、最も好ましくは1.0×108 Ω/□以下である。
(1)種類
本発明で用いることのできる、導電性金属酸化物は帯電防止剤として用いられ、例えば、酸化錫(SnO2 )、アンチモン錫酸化物(ATO)、インジウム錫酸化物(ITO)、酸化アンチモン(Sb2 O5 )、アルミニウム亜鉛酸化物(AZO)が挙げられる。
導電性金属酸化物の形状は特に規定はなく、球状、針状、燐片状いずれであっても構わない。導電性金属酸化物の粒径は0.01μmから0.1μmが好ましい。粒径が0.1μmを超えると、帯電防止層の透明性が損なわれ、0.01μm未満であると導電性金属酸化物の分散が困難となる。
帯電防止層形成用コーティング組成物には、分子中にフッ素を有する重合性化合物又はその重合体であれば、特に限定されないが、電離放射線硬化型のフッ素原子を含有するモノマー及び/又はポリマーが好適に用いられる。フッ素原子含有電離放射線硬化型樹脂は、低い屈折率を有し、成膜性(皮膜形成能)を有するバインダー成分である。本発明で使用するフッ素原子含有電離放射線硬化型樹脂は、電離放射線で硬化する官能基(単に「電離放射線硬化性基」と呼ぶことがある)を有するか、或いは、電離放射線硬化性基を有することに加えて、熱により硬化する官能基(単に「熱硬化性基」と呼ぶことがある)も有するので、該樹脂を含有する塗工液を被塗工体の表面に塗布し、乾燥し、電離放射線の照射、又は電離放射線の照射と加熱を行うと、塗膜内に架橋結合等の化学結合を形成し、塗膜を効率よく硬化させることができる。
その他にも、旭硝子(株)製の商品名サイトップといった市販品を例示することができる。
「空隙を有する微粒子」とは、微粒子の内部に気体が充填された構造及び/又は気体を含む多孔質構造をとった結果、或いは微粒子が集合体を形成した結果、気体が屈折率1.0の空気である場合、微粒子本来の屈折率に比べて微粒子中の空気の占有率に反比例して屈折率が低下した微粒子及びその集合体のことを言う。例えば、比表面積を大きくすることを目的として製造され、充填用のカラムや表面の多孔質部に各種化学物質を吸着させる除放材、触媒固定用に使用される多孔質微粒子や、断熱材や低誘電材に組み込むことを目的とする中空微粒子のうち、本発明に使用できる平均粒子径の範囲のものが好ましく使用できる。
電離放射線硬化型樹脂には、電離放射線の照射を受けた時に直接、又は開始剤の作用を受けて間接的に、重合や二量化等の大分子化を進行させる反応を起こす重合性官能基を有するモノマー、オリゴマー及びポリマーを用いることができる。具体的には、アクリル基、ビニル基、アリル基等のエチレン性不飽和結合を有するラジカル重合性のモノマー、オリゴマーが好ましく、バインダー成分の分子間で架橋結合が生じるように、一分子内に重合性官能基を2個以上、好ましくは3個以上有する多官能のバインダー成分であることが望ましい。しかしながら、その他の電離放射線硬化性のバインダー成分を用いることも可能であり、例えば、エポキシ基含有化合物のような光カチオン重合性のモノマーやオリゴマーを用いてもよい。また、導電性を向上させるには、イオン伝搬性を良好にするような、EO変性など親水性のバインダーであることが好ましい。さらに、分子中に水酸基を残したバインダー成分を用いるのが好ましい。バインダー中の水酸基は、水素結合によりハードコート層や低屈折率層等の隣接層に対する密着性を向上させることが可能となる。
帯電防止層形成用コーティング組成物には、固形成分を溶解分散するための有機溶剤が必須であり、その種類は特に限定されない。例えば、メタノール、エタノール、イソプロピルアルコール等のアルコール類;メチルエチルケトン、メチルイソブチルケトン、シクロヘキサノン等のケトン類;酢酸エチル、酢酸ブチル等のエステル類;ハロゲン化炭化水素類;トルエン、キシレン等の芳香族炭化水素類、あるいはこれらの混合物を用いることができる。
帯電防止層形成用のコーティング組成物の上記以外の成分には、必要に応じて電離放射線硬化性のバインダー成分の重合開始剤を含有するが、さらに、その他の成分を配合してもよい。例えば、必要に応じて分散剤、紫外線遮蔽剤、紫外線吸収剤、表面調整剤(レベリング剤)などを用いることができる。
帯電防止層形成用コーティング組成物は、既にインキ化されたものを用いても良いし、帯電防止剤、電離放射線硬化型バインダー、光開始剤、溶剤などを組み合わせて調製しても良い。上記各成分を用いて帯電防止層形成用コーティング組成物を調製するには、塗工液の一般的な調製法に従って分散処理すればよい。例えば、導電性微粒子がコロイドの形状であれば、そのまま混合することが可能であるし、粉状であえば、得られた混合物にビーズ等の媒体を投入し、ペイントシェーカーやビーズミル等で適切に分散処理することにより、コーティングのための帯電防止層形成用組成物が得られる。
透明基材フィルムの材質は、特に限定されないが、反射防止フィルムに用いられる一般的な材料を用いることができ、例えば、トリアセテートセルロース(TAC)、ポリエチレンテレフタレート(PET)、ジアセチルセルロース、アセテートブチレートセルロース、ポリエーテルサルホン、アクリル系樹脂、ポリウレタン系樹脂、ポリエステル、ポリカーボネート、ポリスルホン、ポリエーテル、トリメチルペンテン、ポリエーテルケトン、(メタ)アクリロニトリル等の各種樹脂で形成したフィルム等を例示することができる。基材の厚さは、通常25μm〜1000μm程度である。
ハードコート層は、積層体自体に、耐擦傷性、強度等の性能を付与する目的で形成されてなるものであり、本発明における必須構成層である。本発明にあって「ハードコート層」とは、JIS5600−5−4:1999で規定される鉛筆硬度試験でH以上の硬度を示すものをいう。
添加量は、全光線透過率に影響を及ぼさないよう、できるだけ微量を配合することが好ましくハードコート成分100質量部に対し、0.001〜1質量部とすることが好ましい。
本発明の反射防止フィルムの最上層に積層される低屈折率層は、一般的に用いられている低屈折率層を形成する公知の方法を用いてよい。例えば、シリカやフッ化マグネシウム等の低屈折率無機微粒子とバインダー樹脂を含む塗工液、空隙を有するシリカやフッ化マグネシウム等の低屈折率無機微粒子とバインダー樹脂を含む塗工液、或いはフツ素系樹脂等を含有する塗工液を用いて塗膜を形成するか、或いは低屈折率無機物微粒子を蒸着により薄膜を形成することにより低屈折率層を得ることができる。
本発明による反射防止フィルムの帯電防止層は、膜厚が0.05〜5.0μmの時に、表面抵抗率が、1.0×1013Ω/□以下である。好ましくは1.0×108 Ω/□以下となる。
本発明による反射防止フィルムにおいて、透明基材フィルムと、ハードコート層の屈折率が約1.5の場合に、帯電防止層の屈折率は1.50±0.03となる。
本発明の反射防止フィルムは、特に、液晶表示装置(LCD)や陰極管表示装置(CRT)、プラズマディスプレイパネル(PDP)、エレクトロルミネッセンスディスプレイ(ELD)等の画像表示装置の表示面を被覆する多層型反射防止膜の少なくとも一層、特に低屈折率層を形成するのに好適に用いられる。
本実施例1の帯電防止層形成用コーティング組成物に用いるフッ素樹脂として、1,1,2−トリフルオロアリルオキシモノマー (下記の式4参照)の重合体であって、かつ水酸基を有する重合体に反応性基の付与として、a−Fアクリロイル基と反応させた化合物 (下記の式5参照)を用いて次のようにして、反射防止フィルムを得た。下記の式5の化合物は分子量150,000であり、水酸基の割合は15:85であった。
下記組成の成分を混合して帯電防止層形成用コーティング組成物を調製した。
上記フッ素樹脂 8質量部
EO変性DPHA(DPEA−12:商品名、日本化薬製) 2質量部
イルガキュア184(商品名、チバスペシャリティケミカルズ社製) 0. 5質量部
メチルイソブチルケトン 90. 3質量部
上記組成の帯電防止層形成用コーティング組成物を厚み80μmのトリアセテートセルロース(TAC)フィルム上にバーコーティングし、乾燥により溶剤を除去した後、紫外線照射装置を用いて照射線量約20mJ/cm2 で紫外線照射を行い、帯電防止層を硬化させて、膜厚約1μmの帯電防止層を作製した。
得られた塗膜の屈折率を上記の方法により測定した。その結果を下記の表1に示す。
下記の組成の成分を配合してハードコート層形成用コーティング組成物を調製した。
イルガキュア907(商品名、チバスペシャリティケミカルズ社製) 1.5質量部
メチルイソブチルケトン 73.5質量部
金およびニッケルで表面処理を施した平均粒径5μmの有機ビーズ
(日本化学工業(株)製、商品名;ブライト20GNR−4.6EH)0.15質量部
下記の組成の成分を配合して屈折率1.37の低屈折率層形成用組成物を調製した。
(平均粒径0.03μm、20%メチルイソブチルケトン溶液) 12.85重量部
ペンタエリスリトールトリアクリレート(PETA) 1.43重量部
イルガキュア907(商品名、チバスペシャリティケミカルズ社製) 0.1重量部
TSF4460(商品名、GE東芝シリコーン(株)製:アルキルポリエーテル変性シリコーンオイル) 0.12重量部
メチルイソブチルケトン 85.5重量部
基材/帯電防止層上に、上記組成のハードコート層形成用コーティング組成物をバーコーティングし、乾燥により溶剤を除去した後,紫外線照射装置(フュージョンUVシステムジャパン(株),光源Hパルプ)を用いて、照射線量100mJ/cm2 で紫外線照射を行い,ハードコート層を硬化させて、膜厚5μmのハードコート層を有する、基材/帯電防止層/ハード層からなる積層コートフィルムを得た。
帯電防止層形成用コーティング組成物の調製
下記組成の成分を混合して帯電防止層形成用コーティング組成物を調製した。
空隙を有するシリカゾル 25質量部
EO変性DPHA(DPEA−12:商品名、日本化薬製) 3.75質量部
イルガキュア184(商品名、チバスペシャリティケミカルズ社製)0.19質量部
メチルイソブチルケトン 64.01質量部
前記実施例1と同条件にて、膜厚約1μmの帯電防止層を作成し、屈折率を測定した。その結果を下記の表1に示す。
実施例1と同様のハードコート層形成用組成物、及び低屈折率層形成用組成物を用い、実施例1と同様の作製条件にて、TAC基材/帯電防止層/ハードコート層/低屈折率層の層構成の本実施例2の反射防止フィルムを得た。該反射防止フィルムについて、表面抵抗値、干渉ムラ、最低反射率を上記方法にて測定し、その結果を下記の表1に示す。
帯電防止層形成用コーティング組成物の調製
下記組成の成分を混合して帯電防止層形成用コーティング組成物を調製した。
PETA(PET−30:商品名、日本化薬製) 10質量部
イルガキュア184(商品名、チバスペシャリティケミカルズ社製) 0.5質量部
メチルイソブチルケトン 90.3質量部
前記実施例1と同条件にて、膜厚約1μmの帯電防止層を作成し、屈折率を測定した。その結果を下記の表1に示す。
実施例1と同様のハードコート層形成用組成物、及び低屈折率層形成用組成物を用い、実施例1と同様の作製条件にて、TAC基材/帯電防止層/ハードコート層/低屈折率層の層構成の比較例1の反射防止フィルムを得た。該反射防止フィルムについて、表面抵抗値、干渉ムラ、最低反射率を上記方法にて測定し、その結果を下記の表1に示す。
2 帯電防止層
3 ハードコート層
4 低屈折率層
10 偏光フィルム
11 バックライトユニット
21 ガラス基板
22 画素部
23 ブラックマトリックス層
24 カラーフィルター
25 透明電極層
26 ガラス基板
27 透明電極層
28 シール材
29 配向膜
101 液晶表示装置
Claims (6)
- (1)導電性金属酸化物、
(2)フッ素樹脂、及び/又は、空隙を有する微粒子を含む屈折率低減化物質、
(3)電離放射線硬化型樹脂、及び、
(4)有機溶剤、
を含むことを特徴とする帯電防止層形成用コーティング組成物。 - 前記導電性金属酸化物が、粒径0.01〜0.1μmを有する金属または金属酸化物である、請求項1に記載の帯電防止層形成用コーティング組成物。
- 前記導電性金属酸化物が、SnO2 、Sb2 O5 、ATO、ITO、AZOおよびそれらの混合物からなる群より選ばれるものである、請求項1又は2に記載の帯電防止層形成用コーティング組成物。
- 透明基材フィルム上に、
請求項1乃至3の何れか1項に記載の帯電防止層形成用コーティング組成物を用いて形成された帯電防止層、
電離放射線硬化型樹脂を含むハードコート層、
反射防止層、
をこの順で形成してなる反射防止フィルムであって、該透明基材フィルムと該帯電防止層の屈折率差、及び該帯電防止層と該ハードコート層の屈折率差の絶対値が共に0.03以内であることにより干渉縞の発生を防止したことを特徴とする反射防止フィルム。 - 前記帯電防止層が0.01〜5.00μmの厚みの場合に、表面抵抗値が、1.0×1013Ω/□以下である、請求項4に記載の反射フィルム。
- ディスプレイの表面に、請求項4又は5に記載の反射防止フィルムを有する、画像表示装置。
Priority Applications (1)
| Application Number | Priority Date | Filing Date | Title |
|---|---|---|---|
| JP2004108375A JP2005290230A (ja) | 2004-03-31 | 2004-03-31 | 帯電防止層を有する反射防止フィルム及び帯電防止層形成用コーティング組成物 |
Applications Claiming Priority (1)
| Application Number | Priority Date | Filing Date | Title |
|---|---|---|---|
| JP2004108375A JP2005290230A (ja) | 2004-03-31 | 2004-03-31 | 帯電防止層を有する反射防止フィルム及び帯電防止層形成用コーティング組成物 |
Publications (1)
| Publication Number | Publication Date |
|---|---|
| JP2005290230A true JP2005290230A (ja) | 2005-10-20 |
Family
ID=35323529
Family Applications (1)
| Application Number | Title | Priority Date | Filing Date |
|---|---|---|---|
| JP2004108375A Pending JP2005290230A (ja) | 2004-03-31 | 2004-03-31 | 帯電防止層を有する反射防止フィルム及び帯電防止層形成用コーティング組成物 |
Country Status (1)
| Country | Link |
|---|---|
| JP (1) | JP2005290230A (ja) |
Cited By (7)
| Publication number | Priority date | Publication date | Assignee | Title |
|---|---|---|---|---|
| JP2007326357A (ja) * | 2006-05-10 | 2007-12-20 | Fujifilm Corp | 積層フィルム及び画像表示装置 |
| JP2010083744A (ja) * | 2008-09-05 | 2010-04-15 | Jsr Corp | シリカ粒子分散液およびその製造方法 |
| KR20110039324A (ko) * | 2008-08-04 | 2011-04-15 | 에실러에떼르나쇼날(꽁빠니제네랄돕띠끄) | 우수한 광 투과성을 가지는 간섭무늬의 감지를 제한하는 정전기 방지 층을 포함하는 광학 물품 및 그의 제조 방법 |
| JP2012027191A (ja) * | 2010-07-22 | 2012-02-09 | Fujifilm Corp | 光反射性フィルムの製造方法、及び光反射性フィルム |
| KR101377416B1 (ko) | 2012-05-03 | 2014-03-26 | 한국신발피혁연구원 | 투명성과 단열성을 지닌 코팅제 조성물 및 그를 이용한 코팅물 |
| JP2014128978A (ja) * | 2014-01-31 | 2014-07-10 | Tomoegawa Paper Co Ltd | 光学積層体 |
| JP2014145089A (ja) * | 2009-02-27 | 2014-08-14 | Lg Chem Ltd | 耐摩耗性および耐汚染性に優れたコーティング組成物およびコーティングフィルム |
Citations (21)
| Publication number | Priority date | Publication date | Assignee | Title |
|---|---|---|---|---|
| JPH111633A (ja) * | 1997-06-12 | 1999-01-06 | Toray Ind Inc | 含フッ素化合物を含む光学薄膜とその形成方法、および光反射防止性物品 |
| JP2001091705A (ja) * | 1999-07-22 | 2001-04-06 | Konica Corp | 光学用フィルム及びその製造方法 |
| JP2001318206A (ja) * | 2000-05-09 | 2001-11-16 | Nof Corp | 減反射材およびその用途 |
| JP2001330706A (ja) * | 2000-05-19 | 2001-11-30 | Nof Corp | 減反射材およびその用途 |
| JP2003025510A (ja) * | 2001-07-16 | 2003-01-29 | Shin Etsu Chem Co Ltd | 反射防止性及び耐擦傷性を有する多層積層体 |
| JP2003039586A (ja) * | 2001-08-03 | 2003-02-13 | Dainippon Printing Co Ltd | 低反射帯電防止性ハードコートフィルム |
| JP2003080624A (ja) * | 2001-09-07 | 2003-03-19 | Nof Corp | 透明導電材料およびタッチパネル |
| JP2003118046A (ja) * | 2001-10-15 | 2003-04-23 | Toyo Ink Mfg Co Ltd | ガスバリア性積層体用基材、その製造方法、およびそれを用いたガスバリア性積層体 |
| JP2003139906A (ja) * | 2001-11-02 | 2003-05-14 | Tdk Corp | 反射防止フィルム及び反射防止処理された物体 |
| JP2003145689A (ja) * | 2001-07-27 | 2003-05-20 | Toray Ind Inc | 積層フィルム、画像表示保護フィルムおよびそれを用いた画像表示装置 |
| JP2003177209A (ja) * | 2001-09-28 | 2003-06-27 | Nof Corp | 減反射フィルム及び電子画像表示装置 |
| JP2003251750A (ja) * | 2002-02-28 | 2003-09-09 | Teijin Ltd | 干渉斑を低減するコート層を有する光学フィルム |
| JP2003296031A (ja) * | 2002-03-29 | 2003-10-17 | Sumitomo Bakelite Co Ltd | タッチパネル用透明導電性フィルム |
| JP2003344608A (ja) * | 2002-03-20 | 2003-12-03 | Nitto Denko Corp | 反射防止フィルム、光学素子および表示装置 |
| JP2004001372A (ja) * | 2002-04-10 | 2004-01-08 | Sumitomo Chem Co Ltd | 耐擦傷性樹脂板及びその製造方法 |
| JP2004027049A (ja) * | 2002-06-26 | 2004-01-29 | Toyo Ink Mfg Co Ltd | 無機酸化物被覆用活性エネルギー線硬化型ガスバリア向上樹脂組成物、それを用いたガスバリア性積層体、およびその製造方法 |
| JP2004027045A (ja) * | 2002-06-26 | 2004-01-29 | Toyo Ink Mfg Co Ltd | 無機酸化物被覆用活性エネルギー線硬化型ガスバリア向上樹脂組成物、それを用いたガスバリア性積層体、およびその製造方法 |
| JP2004069867A (ja) * | 2002-08-05 | 2004-03-04 | Dainippon Printing Co Ltd | 低反射フィルム |
| JP2004090509A (ja) * | 2002-09-02 | 2004-03-25 | Toppan Printing Co Ltd | 帯電防止ハードコートフィルム及びそれを用いた表示部材 |
| JP2004093947A (ja) * | 2002-08-30 | 2004-03-25 | Fuji Photo Film Co Ltd | 反射防止膜、反射防止フィルムおよび画像表示装置 |
| JP2005292510A (ja) * | 2004-03-31 | 2005-10-20 | Dainippon Printing Co Ltd | 帯電防止層を有する反射防止フィルム |
-
2004
- 2004-03-31 JP JP2004108375A patent/JP2005290230A/ja active Pending
Patent Citations (21)
| Publication number | Priority date | Publication date | Assignee | Title |
|---|---|---|---|---|
| JPH111633A (ja) * | 1997-06-12 | 1999-01-06 | Toray Ind Inc | 含フッ素化合物を含む光学薄膜とその形成方法、および光反射防止性物品 |
| JP2001091705A (ja) * | 1999-07-22 | 2001-04-06 | Konica Corp | 光学用フィルム及びその製造方法 |
| JP2001318206A (ja) * | 2000-05-09 | 2001-11-16 | Nof Corp | 減反射材およびその用途 |
| JP2001330706A (ja) * | 2000-05-19 | 2001-11-30 | Nof Corp | 減反射材およびその用途 |
| JP2003025510A (ja) * | 2001-07-16 | 2003-01-29 | Shin Etsu Chem Co Ltd | 反射防止性及び耐擦傷性を有する多層積層体 |
| JP2003145689A (ja) * | 2001-07-27 | 2003-05-20 | Toray Ind Inc | 積層フィルム、画像表示保護フィルムおよびそれを用いた画像表示装置 |
| JP2003039586A (ja) * | 2001-08-03 | 2003-02-13 | Dainippon Printing Co Ltd | 低反射帯電防止性ハードコートフィルム |
| JP2003080624A (ja) * | 2001-09-07 | 2003-03-19 | Nof Corp | 透明導電材料およびタッチパネル |
| JP2003177209A (ja) * | 2001-09-28 | 2003-06-27 | Nof Corp | 減反射フィルム及び電子画像表示装置 |
| JP2003118046A (ja) * | 2001-10-15 | 2003-04-23 | Toyo Ink Mfg Co Ltd | ガスバリア性積層体用基材、その製造方法、およびそれを用いたガスバリア性積層体 |
| JP2003139906A (ja) * | 2001-11-02 | 2003-05-14 | Tdk Corp | 反射防止フィルム及び反射防止処理された物体 |
| JP2003251750A (ja) * | 2002-02-28 | 2003-09-09 | Teijin Ltd | 干渉斑を低減するコート層を有する光学フィルム |
| JP2003344608A (ja) * | 2002-03-20 | 2003-12-03 | Nitto Denko Corp | 反射防止フィルム、光学素子および表示装置 |
| JP2003296031A (ja) * | 2002-03-29 | 2003-10-17 | Sumitomo Bakelite Co Ltd | タッチパネル用透明導電性フィルム |
| JP2004001372A (ja) * | 2002-04-10 | 2004-01-08 | Sumitomo Chem Co Ltd | 耐擦傷性樹脂板及びその製造方法 |
| JP2004027049A (ja) * | 2002-06-26 | 2004-01-29 | Toyo Ink Mfg Co Ltd | 無機酸化物被覆用活性エネルギー線硬化型ガスバリア向上樹脂組成物、それを用いたガスバリア性積層体、およびその製造方法 |
| JP2004027045A (ja) * | 2002-06-26 | 2004-01-29 | Toyo Ink Mfg Co Ltd | 無機酸化物被覆用活性エネルギー線硬化型ガスバリア向上樹脂組成物、それを用いたガスバリア性積層体、およびその製造方法 |
| JP2004069867A (ja) * | 2002-08-05 | 2004-03-04 | Dainippon Printing Co Ltd | 低反射フィルム |
| JP2004093947A (ja) * | 2002-08-30 | 2004-03-25 | Fuji Photo Film Co Ltd | 反射防止膜、反射防止フィルムおよび画像表示装置 |
| JP2004090509A (ja) * | 2002-09-02 | 2004-03-25 | Toppan Printing Co Ltd | 帯電防止ハードコートフィルム及びそれを用いた表示部材 |
| JP2005292510A (ja) * | 2004-03-31 | 2005-10-20 | Dainippon Printing Co Ltd | 帯電防止層を有する反射防止フィルム |
Cited By (9)
| Publication number | Priority date | Publication date | Assignee | Title |
|---|---|---|---|---|
| JP2007326357A (ja) * | 2006-05-10 | 2007-12-20 | Fujifilm Corp | 積層フィルム及び画像表示装置 |
| KR20110039324A (ko) * | 2008-08-04 | 2011-04-15 | 에실러에떼르나쇼날(꽁빠니제네랄돕띠끄) | 우수한 광 투과성을 가지는 간섭무늬의 감지를 제한하는 정전기 방지 층을 포함하는 광학 물품 및 그의 제조 방법 |
| JP2011530095A (ja) * | 2008-08-04 | 2011-12-15 | エシロール アテルナジオナール カンパニー ジェネラーレ デ オプティック | 良好な光透過率を有し、干渉縞の認知を制限する帯電防止層を備える光学物品およびその製造方法 |
| KR101667661B1 (ko) * | 2008-08-04 | 2016-10-19 | 에실러에떼르나쇼날(꽁빠니제네랄돕띠끄) | 우수한 광 투과성을 가지는 간섭무늬의 감지를 제한하는 정전기 방지 층을 포함하는 광학 물품 및 그의 제조 방법 |
| JP2010083744A (ja) * | 2008-09-05 | 2010-04-15 | Jsr Corp | シリカ粒子分散液およびその製造方法 |
| JP2014145089A (ja) * | 2009-02-27 | 2014-08-14 | Lg Chem Ltd | 耐摩耗性および耐汚染性に優れたコーティング組成物およびコーティングフィルム |
| JP2012027191A (ja) * | 2010-07-22 | 2012-02-09 | Fujifilm Corp | 光反射性フィルムの製造方法、及び光反射性フィルム |
| KR101377416B1 (ko) | 2012-05-03 | 2014-03-26 | 한국신발피혁연구원 | 투명성과 단열성을 지닌 코팅제 조성물 및 그를 이용한 코팅물 |
| JP2014128978A (ja) * | 2014-01-31 | 2014-07-10 | Tomoegawa Paper Co Ltd | 光学積層体 |
Similar Documents
| Publication | Publication Date | Title |
|---|---|---|
| CN101410729B (zh) | 光学层积体 | |
| JP5531509B2 (ja) | 光学積層体、偏光板及び画像表示装置 | |
| JP4641829B2 (ja) | 防眩性積層体 | |
| JP4404336B2 (ja) | 反射防止積層体 | |
| JP4187454B2 (ja) | 反射防止フィルム | |
| CN1178782C (zh) | 透明薄片或薄膜以及含有该透明薄片或薄膜的显示设备 | |
| JP4404337B2 (ja) | 反射防止積層体 | |
| JP5207095B2 (ja) | 光学積層体 | |
| JP2010060743A (ja) | 防眩フィルム、反射防止フィルム、偏光板および画像表示装置 | |
| JP4712236B2 (ja) | 反射防止膜、反射防止フィルム、画像表示装置、及び、それらの製造方法 | |
| JP2003004904A (ja) | 高屈折率化した防眩層を有する反射防止フィルム及び低反射表示装置 | |
| JP2007121993A (ja) | 反射防止積層体及びその製造方法 | |
| JP2007272132A (ja) | 反射防止積層体及びその製造方法 | |
| JP2010085760A (ja) | 防眩フィルム、偏光板、および画像表示装置 | |
| KR101203465B1 (ko) | 대전방지층용 조성물 | |
| JP5490487B2 (ja) | 光学積層体 | |
| JP2005290230A (ja) | 帯電防止層を有する反射防止フィルム及び帯電防止層形成用コーティング組成物 | |
| JP5753285B2 (ja) | 光学積層体 | |
| JP2002167576A (ja) | 高屈折率導電性材料用組成物、透明導電性材料ならびに減反射材 | |
| JP5125046B2 (ja) | 低屈折率層用コーティング組成物、及び反射防止膜 | |
| JP2002006109A (ja) | 反射防止材料およびそれを用いた偏光フィルム | |
| JP5426329B2 (ja) | 光学積層体 | |
| JP2011090301A (ja) | 帯電防止層を有する反射防止フィルム | |
| JP2005292510A (ja) | 帯電防止層を有する反射防止フィルム | |
| JP5061441B2 (ja) | 帯電防止層用組成物 |
Legal Events
| Date | Code | Title | Description |
|---|---|---|---|
| A621 | Written request for application examination |
Free format text: JAPANESE INTERMEDIATE CODE: A621 Effective date: 20070223 |
|
| A977 | Report on retrieval |
Free format text: JAPANESE INTERMEDIATE CODE: A971007 Effective date: 20100617 |
|
| A131 | Notification of reasons for refusal |
Free format text: JAPANESE INTERMEDIATE CODE: A131 Effective date: 20100702 |
|
| A521 | Request for written amendment filed |
Free format text: JAPANESE INTERMEDIATE CODE: A523 Effective date: 20100826 |
|
| A131 | Notification of reasons for refusal |
Free format text: JAPANESE INTERMEDIATE CODE: A131 Effective date: 20101221 |
|
| A02 | Decision of refusal |
Free format text: JAPANESE INTERMEDIATE CODE: A02 Effective date: 20110427 |
