JP2005292510A - 帯電防止層を有する反射防止フィルム - Google Patents
帯電防止層を有する反射防止フィルム Download PDFInfo
- Publication number
- JP2005292510A JP2005292510A JP2004108376A JP2004108376A JP2005292510A JP 2005292510 A JP2005292510 A JP 2005292510A JP 2004108376 A JP2004108376 A JP 2004108376A JP 2004108376 A JP2004108376 A JP 2004108376A JP 2005292510 A JP2005292510 A JP 2005292510A
- Authority
- JP
- Japan
- Prior art keywords
- refractive index
- layer
- antistatic layer
- film
- forming
- Prior art date
- Legal status (The legal status is an assumption and is not a legal conclusion. Google has not performed a legal analysis and makes no representation as to the accuracy of the status listed.)
- Pending
Links
Images
Landscapes
- Surface Treatment Of Optical Elements (AREA)
- Laminated Bodies (AREA)
- Paints Or Removers (AREA)
- Elimination Of Static Electricity (AREA)
Abstract
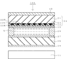
【解決手段】 透明基材フィルム1上に、電離放射線硬化型樹脂を含むハードコート層2、導電性金属酸化物、フッ素樹脂及び/又は空隙を有する微粒子を含む屈折率低減化物質、電離放射線硬化型樹脂、及び、有機溶剤を含む帯電防止層形成用コーティング組成物を用いて形成された帯電防止層3、直接接する下層の屈折率よりも低い屈折率の低屈折率層4、をこの順で形成してなる反射防止フィルムである。反射色相が、JIS−Z−8729で規定される色相a* の絶対値7以下、色相b* の絶対値6以下である。
【選択図】 図2
Description
本発明の反射防止フィルムは、帯電防止層の膜厚が0.05〜0.15μmの時に、埃付着防止のために必要な表面抵抗率が1.0×1013 Ω/□以下を実現できる。1.0×1013 Ω/□〜1.0×1012 Ω/□では帯電するが静電荷が蓄積しないため、フィルムなどに埃付着防止性が得られる。好ましくは、静電荷が帯電するが、すぐ減衰する範囲1.0×1012 Ω/□〜1.0×1010 Ω/□であり、より好ましくは帯電しない範囲1.0×1010 Ω/□以下であり、最も好ましくは1.0×108 Ω/□以下である。
反射防止フィルムによる反射色相が適性となる帯電防止層の適性な屈折率は、その上に積層される低屈折率層の屈折率に依存する。そのために、低屈折率層の屈折率が低くなるほど、適性な反射色相になるように、帯電防止層の屈折率層も低くする必要がある。例えば、低屈折率層の屈折率が1.42である場合は、帯電防止層の屈折率は1.56以下にする必要がある。
(1)種類
本発明で用いることのできる、導電性金属酸化物は帯電防止剤として用いられ、例えば、酸化錫(SnO2 )、アンチモン錫酸化物(ATO)、インジウム錫酸化物(ITO)、酸化アンチモン(Sb2 O5 )、アルミニウム亜鉛酸化物(AZO)が挙げられる。
導電性金属酸化物の形状は特に規定はなく、球状、針状、燐片状いずれであっても構わない。導電性金属酸化物の粒径は0.01μmから0.1μmが好ましい。粒径が0.1μmを超えると、帯電防止層の透明性が損なわれ、0.01μm未満であると導電性金属酸化物の分散が困難となる。
帯電防止層形成用コーティング組成物には、帯電防止層形成用コーティング組成物には、分子中にフッ素を有する重合性化合物又はその重合体であれば、特に限定されないが、電離放射線硬化型のフッ素原子を含有するモノマー及び/又はポリマーが好適に用いられる。フッ素原子含有電離放射線硬化型樹脂は、低い屈折率を有し、成膜性(皮膜形成能)を有するバインダー成分である。本発明で使用するフッ素原子含有電離放射線硬化型樹脂は、電離放射線で硬化する官能基(単に「電離放射線硬化性基」と呼ぶことがある)を有するか、或いは、電離放射線硬化性基を有することに加えて、熱により硬化する官能基(単に「熱硬化性基」と呼ぶことがある)も有するので、該樹脂を含有する塗工液を被塗工体の表面に塗布し、乾燥し、電離放射線の照射、又は電離放射線の照射と加熱を行うと、塗膜内に架橋結合等の化学結合を形成し、塗膜を効率よく硬化させることができる。
その他にも、旭硝子(株)製の商品名サイトップといった市販品を例示することができる。
「空隙を有する微粒子」とは、微粒子の内部に気体が充填された構造及び/又は気体を含む多孔質構造をとった結果、或いは微粒子が集合体を形成した結果、気体が屈折率1.0の空気である場合、微粒子本来の屈折率に比べて微粒子中の空気の占有率に反比例して屈折率が低下した微粒子及びその集合体のことを言う。例えば、比表面積を大きくすることを目的として製造され、充填用のカラムや表面の多孔質部に各種化学物質を吸着させる除放材、触媒固定用に使用される多孔質微粒子や、断熱材や低誘電材に組み込むことを目的とする中空微粒子のうち、本発明に使用できる平均粒子径の範囲のものが好ましく使用できる。
電離放射線硬化型樹脂には、電離放射線の照射を受けた時に直接、又は開始剤の作用を受けて間接的に、重合や二量化等の大分子化を進行させる反応を起こす重合性官能基を有するモノマー、オリゴマー及びポリマーを用いることができる。具体的には、アクリル基、ビニル基、アリル基等のエチレン性不飽和結合を有するラジカル重合性のモノマー、オリゴマーが好ましく、バインダー成分の分子間で架橋結合が生じるように、一分子内に重合性官能基を2個以上、好ましくは3個以上有する多官能のバインダー成分であることが望ましい。しかしながら、その他の電離放射線硬化性のバインダー成分を用いることも可能であり、例えば、エポキシ基含有化合物のような光カチオン重合性のモノマーやオリゴマーを用いてもよい。また、導電性を向上させるには、イオン伝搬性を良好にするような、EO変性など親水性のバインダーであることが好ましい。さらに、分子中に水酸基を残したバインダー成分を用いるのが好ましい。バインダー中の水酸基は、水素結合によりハードコート層や低屈折率層等の隣接層に対する密着性を向上させることが可能となる。
帯電防止層形成用コーティング組成物には、固形成分を溶解分散するための有機溶剤が必須であり、その種類は特に限定されない。例えば、メタノール、エタノール、イソプロピルアルコール等のアルコール類;メチルエチルケトン、メチルイソブチルケトン、シクロヘキサノン等のケトン類;酢酸エチル、酢酸ブチル等のエステル類;ハロゲン化炭化水素類;トルエン、キシレン等の芳香族炭化水素類、或いはこれらの混合物を用いることができる。
帯電防止層形成用のコーティング組成物の上記以外の成分には、必要に応じて電離放射線硬化性のバインダー成分の重合開始剤を含有するが、さらに、その他の成分を配合してもよい。例えば、必要に応じて分散剤、紫外線遮蔽剤、紫外線吸収剤、表面調整剤(レベリング剤)などを用いることができる。
帯電防止層形成用コーティング組成物は、既にインキ化されたものを用いても良いし、帯電防止剤、電離放射線硬化型バインダー、光開始剤、溶剤などを組み合わせて調製しても良い。上記各成分を用いて帯電防止層形成用コーティング組成物を調製するには、塗工液の一般的な調製法に従って分散処理すればよい。例えば、導電性微粒子がコロイドの形状であれば、そのまま混合することが可能であるし、粉状であえば、得られた混合物にビーズ等の媒体を投入し、ペイントシェーカーやビーズミル等で適切に分散処理することにより、コーティングのための帯電防止層形成用組成物が得られる。
透明基材フィルムの材質は、特に限定されないが、反射防止フィルムに用いられる一般的な材料を用いることができ、例えば、トリアセテートセルロース(TAC)、ポリエチレンテレフタレート(PET)、ジアセチルセルロース、アセテートブチレートセルロース、ポリエーテルサルホン、アクリル系樹脂、ポリウレタン系樹脂、ポリエステル、ポリカーボネート、ポリスルホン、ポリエーテル、トリメチルペンテン、ポリエーテルケトン、(メタ)アクリロニトリル等の各種樹脂で形成したフィルム等を例示することができる。基材の厚さは、通常25μm〜1000μm程度である。
ハードコート層は、積層体自体に、耐擦傷性、強度等の性能を付与する目的で形成されてなるものであり、本発明における必須構成層である。本発明にあって「ハードコート層」とは、JIS5600−5−4:1999で規定される鉛筆硬度試験でH以上の硬度を示すものをいう。
本発明の反射防止フィルムの最上層に積層される低屈折率層は、一般的に用いられている低屈折率層を形成する公知の方法を用いてよい。例えば、シリカやフッ化マグネシウム等の低屈折率無機微粒子とバインダー樹脂を含む塗工液、それらの中空微粒子とバインダー樹脂を含む塗工液、或いはフツ素系樹脂等を含有する塗工液を用いて塗膜を形成するか、或いは低屈折率無機物微粒子を蒸着により薄膜を形成することにより低屈折率層を得ることができる。
本発明による反射防止フィルムは、帯電防止層の膜厚が0.05〜0.15μmの時に、最表面の表面抵抗率が、1.0×1013Ω/□以下となる。好ましくは1.0×108 Ω/□以下となる。また、反射色相が、JIS−Z−8729で規定される色相a* の絶対値7以下、色相b* の絶対値6以下であることを特徴とする反射防止フィルムである。
本発明の反射防止フィルムは、特に、液晶表示装置(LCD)や陰極管表示装置(CRT)、プラズマディスプレイパネル(PDP)、エレクトロルミネッセンスディスプレイ(ELD)等の画像表示装置の表示面を被覆する多層型反射防止膜の少なくとも一層、特に低屈折率層を形成するのに好適に用いられる。
本実施例1の帯電防止層形成用コーティング組成物に用いるフッ素樹脂として、1,1,2−トリフルオロアリルオキシモノマー (下記の式4参照)の重合体であって、かつ水酸基を有する重合体に反応性基の付与として、a−Fアクリロイル基と反応させた化合物 (下記の式5参照)を用いて次のようにして、反射防止フィルムを得た。下記の式5の化合物は分子量150,000であり、水酸基の割合は15:85であった。
下記組成の成分を混合して屈折率1.53の帯電防止層形成用コーティング組成物を調製した。
上記フッ素樹脂 6質量部
EO変性DPHA(DPEA−12:商品名、日本化薬製) 4質量部
イルガキュア184(商品名、チバスペシャリティケミカルズ社製) 0. 5質量部
メチルイソブチルケトン 90. 3質量部
下記の組成の成分を配合してハードコート層形成用コーティング組成物を調製した。
イルガキュア907(商品名、チバスペシャリティケミカルズ社製) 1.5質量部
メチルイソブチルケトン 73.5質量部
低屈折率層形成用コーティング組成物の調製
下記の組成の成分を配合して屈折率1.37の低屈折率層形成用コーティング組成物を調製した。
ペンタエリスリトールトリアクリレート(PETA) 1.43質量部
イルガキュア907(商品名、チバスペシャリティケミカルズ社製) 0.1質量部
TSF4460(商品名、GE東芝シリコーン(株)製:アルキルポリエーテル変性シリコーンオイル) 0.12質量部
メチルイソブチルケトン 85.5質量部
帯電防止層形成用コーティング組成物の調製
下記組成の成分を混合して、屈折率1.51の帯電防止層形成用コーティング組成物を調製した。
空隙を有するシリカゾル(20%メチルイソブチルケトン溶液) 25質量部
EO変性DPHA(DPEA−12:商品名、日本化薬製) 3.75質量部
イルガキュア184(商品名、チバスペシャリティケミカルズ社製)0.19質量部
メチルイソブチルケトン 64.01質量部
帯電防止層形成用コーティング組成物の調製
下記組成の成分を混合して、屈折率1.60の帯電防止層形成用コーティング組成物を調製した。
PETA(PET−30:商品名、日本化薬製) 10質量部
イルガキュア184(商品名、チバスペシャリティケミカルズ社製) 0.5質量部
メチルイソブチルケトン 90.3質量部
2 帯電防止層
3 ハードコート層
4 低屈折率層
10 偏光フィルム
11 バックライトユニット
21 ガラス基板
22 画素部
23 ブラックマトリックス層
24 カラーフィルター
25 透明電極層
26 ガラス基板
27 透明電極層
28 シール材
29 配向膜
101 液晶表示装置
Claims (6)
- 透明基材フィルム上に、
電離放射線硬化型樹脂を含むハードコート層、
導電性金属酸化物、フッ素樹脂及び/又は空隙を有する微粒子を含む屈折率低減化物質、電離放射線硬化型樹脂、及び、有機溶剤を含む帯電防止層形成用コーティング組成物を用いて形成された帯電防止層、
直接接する下層の屈折率よりも低い屈折率の低屈折率層、
をこの順で形成してなる反射防止フィルムであって、反射色相が、JIS−Z−8729で規定される色相a* の絶対値7以下、色相b* の絶対値6以下であることを特徴とする色味を抑制した反射防止フィルム。 - 前記積層体の表面抵抗値が、1.0×1013Ω/□以下である、請求項1に記載の反射フィルム。
- (1)導電性金属酸化物、
(2)フッ素樹脂、及び/又は、空隙を有する微粒子を含む屈折率低減化物質、
(3)電離放射線硬化型樹脂、及び、
(4)有機溶剤、
を含むことを特徴とする帯電防止層形成用コーティング組成物。 - 前記導電性金属酸化物が、粒径0.01〜0.1μmを有する金属または金属酸化物である、請求項2に記載の帯電防止層形成用コーティング組成物。
- 前記導電性金属酸化物が、SnO2 、Sb2 O5 、ATO、ITO、AZOおよびそれらの混合物からなる群より選ばれるものである、請求項2に記載の帯電防止層形成用コーティング組成物。
- ディスプレイの表面に、請求項1又は2に記載の反射防止フィルムを有する、画像表示装置。
Priority Applications (1)
| Application Number | Priority Date | Filing Date | Title |
|---|---|---|---|
| JP2004108376A JP2005292510A (ja) | 2004-03-31 | 2004-03-31 | 帯電防止層を有する反射防止フィルム |
Applications Claiming Priority (1)
| Application Number | Priority Date | Filing Date | Title |
|---|---|---|---|
| JP2004108376A JP2005292510A (ja) | 2004-03-31 | 2004-03-31 | 帯電防止層を有する反射防止フィルム |
Related Child Applications (1)
| Application Number | Title | Priority Date | Filing Date |
|---|---|---|---|
| JP2010228687A Division JP2011090301A (ja) | 2010-10-08 | 2010-10-08 | 帯電防止層を有する反射防止フィルム |
Publications (1)
| Publication Number | Publication Date |
|---|---|
| JP2005292510A true JP2005292510A (ja) | 2005-10-20 |
Family
ID=35325490
Family Applications (1)
| Application Number | Title | Priority Date | Filing Date |
|---|---|---|---|
| JP2004108376A Pending JP2005292510A (ja) | 2004-03-31 | 2004-03-31 | 帯電防止層を有する反射防止フィルム |
Country Status (1)
| Country | Link |
|---|---|
| JP (1) | JP2005292510A (ja) |
Cited By (4)
| Publication number | Priority date | Publication date | Assignee | Title |
|---|---|---|---|---|
| JP2005290230A (ja) * | 2004-03-31 | 2005-10-20 | Dainippon Printing Co Ltd | 帯電防止層を有する反射防止フィルム及び帯電防止層形成用コーティング組成物 |
| JP2011530642A (ja) * | 2008-08-12 | 2011-12-22 | エスエスシーピー・カンパニー・リミテッド | 光硬化型コーティング組成物 |
| JP2015509997A (ja) * | 2012-01-11 | 2015-04-02 | エルジー・ハウシス・リミテッドLg Hausys,Ltd. | ハードコーティング用組成物およびこれを含む黄変が改善された装飾用フィルム |
| GB2627938A (en) * | 2023-03-08 | 2024-09-11 | Thermo Fisher Scient Ecublens Sarl | Improved coating for analytical instruments |
Citations (7)
| Publication number | Priority date | Publication date | Assignee | Title |
|---|---|---|---|---|
| JP2003039586A (ja) * | 2001-08-03 | 2003-02-13 | Dainippon Printing Co Ltd | 低反射帯電防止性ハードコートフィルム |
| JP2003080624A (ja) * | 2001-09-07 | 2003-03-19 | Nof Corp | 透明導電材料およびタッチパネル |
| JP2003139906A (ja) * | 2001-11-02 | 2003-05-14 | Tdk Corp | 反射防止フィルム及び反射防止処理された物体 |
| JP2003145689A (ja) * | 2001-07-27 | 2003-05-20 | Toray Ind Inc | 積層フィルム、画像表示保護フィルムおよびそれを用いた画像表示装置 |
| JP2003262702A (ja) * | 2002-03-07 | 2003-09-19 | Fuji Photo Film Co Ltd | 反射防止フィルム、偏光板、および画像表示装置 |
| JP2003296031A (ja) * | 2002-03-29 | 2003-10-17 | Sumitomo Bakelite Co Ltd | タッチパネル用透明導電性フィルム |
| JP2004093947A (ja) * | 2002-08-30 | 2004-03-25 | Fuji Photo Film Co Ltd | 反射防止膜、反射防止フィルムおよび画像表示装置 |
-
2004
- 2004-03-31 JP JP2004108376A patent/JP2005292510A/ja active Pending
Patent Citations (7)
| Publication number | Priority date | Publication date | Assignee | Title |
|---|---|---|---|---|
| JP2003145689A (ja) * | 2001-07-27 | 2003-05-20 | Toray Ind Inc | 積層フィルム、画像表示保護フィルムおよびそれを用いた画像表示装置 |
| JP2003039586A (ja) * | 2001-08-03 | 2003-02-13 | Dainippon Printing Co Ltd | 低反射帯電防止性ハードコートフィルム |
| JP2003080624A (ja) * | 2001-09-07 | 2003-03-19 | Nof Corp | 透明導電材料およびタッチパネル |
| JP2003139906A (ja) * | 2001-11-02 | 2003-05-14 | Tdk Corp | 反射防止フィルム及び反射防止処理された物体 |
| JP2003262702A (ja) * | 2002-03-07 | 2003-09-19 | Fuji Photo Film Co Ltd | 反射防止フィルム、偏光板、および画像表示装置 |
| JP2003296031A (ja) * | 2002-03-29 | 2003-10-17 | Sumitomo Bakelite Co Ltd | タッチパネル用透明導電性フィルム |
| JP2004093947A (ja) * | 2002-08-30 | 2004-03-25 | Fuji Photo Film Co Ltd | 反射防止膜、反射防止フィルムおよび画像表示装置 |
Cited By (4)
| Publication number | Priority date | Publication date | Assignee | Title |
|---|---|---|---|---|
| JP2005290230A (ja) * | 2004-03-31 | 2005-10-20 | Dainippon Printing Co Ltd | 帯電防止層を有する反射防止フィルム及び帯電防止層形成用コーティング組成物 |
| JP2011530642A (ja) * | 2008-08-12 | 2011-12-22 | エスエスシーピー・カンパニー・リミテッド | 光硬化型コーティング組成物 |
| JP2015509997A (ja) * | 2012-01-11 | 2015-04-02 | エルジー・ハウシス・リミテッドLg Hausys,Ltd. | ハードコーティング用組成物およびこれを含む黄変が改善された装飾用フィルム |
| GB2627938A (en) * | 2023-03-08 | 2024-09-11 | Thermo Fisher Scient Ecublens Sarl | Improved coating for analytical instruments |
Similar Documents
| Publication | Publication Date | Title |
|---|---|---|
| US9683108B2 (en) | Antireflective laminate | |
| TWI522642B (zh) | 光學薄膜、偏光板、顯示面板及顯示器 | |
| JP3679976B2 (ja) | ディスプレイ用貼着フィルム | |
| JP4404336B2 (ja) | 反射防止積層体 | |
| CN1178782C (zh) | 透明薄片或薄膜以及含有该透明薄片或薄膜的显示设备 | |
| JP4187454B2 (ja) | 反射防止フィルム | |
| JP4404337B2 (ja) | 反射防止積層体 | |
| JP5207095B2 (ja) | 光学積層体 | |
| JP5032785B2 (ja) | 反射防止積層体及びその製造方法 | |
| JP2007121993A (ja) | 反射防止積層体及びその製造方法 | |
| JP4857496B2 (ja) | 複合体、コーティング組成物、その塗膜、反射防止膜、反射防止フィルム、及び、画像表示装置 | |
| TWI388431B (zh) | 防帶電層用組成物 | |
| JP2007272131A (ja) | 反射防止積層体及びその製造方法 | |
| JP5490487B2 (ja) | 光学積層体 | |
| JP5753285B2 (ja) | 光学積層体 | |
| JP5060781B2 (ja) | 透明導電膜形成用組成物、透明導電膜及びディスプレイ | |
| JP2005290230A (ja) | 帯電防止層を有する反射防止フィルム及び帯電防止層形成用コーティング組成物 | |
| JP5125046B2 (ja) | 低屈折率層用コーティング組成物、及び反射防止膜 | |
| JP2011090301A (ja) | 帯電防止層を有する反射防止フィルム | |
| JP2005292510A (ja) | 帯電防止層を有する反射防止フィルム | |
| JP2002006109A (ja) | 反射防止材料およびそれを用いた偏光フィルム | |
| JP5061441B2 (ja) | 帯電防止層用組成物 | |
| JP5426329B2 (ja) | 光学積層体 | |
| JP2006103071A (ja) | 反射防止積層体 | |
| JP2009144011A (ja) | 帯電防止皮膜形成用樹脂組成物、帯電防止基材、液晶装置 |
Legal Events
| Date | Code | Title | Description |
|---|---|---|---|
| A521 | Written amendment |
Free format text: JAPANESE INTERMEDIATE CODE: A523 Effective date: 20041012 |
|
| A621 | Written request for application examination |
Free format text: JAPANESE INTERMEDIATE CODE: A621 Effective date: 20070309 |
|
| A621 | Written request for application examination |
Free format text: JAPANESE INTERMEDIATE CODE: A621 Effective date: 20070309 |
|
| A131 | Notification of reasons for refusal |
Free format text: JAPANESE INTERMEDIATE CODE: A131 Effective date: 20090604 |
|
| A521 | Written amendment |
Free format text: JAPANESE INTERMEDIATE CODE: A523 Effective date: 20090729 |
|
| A131 | Notification of reasons for refusal |
Free format text: JAPANESE INTERMEDIATE CODE: A131 Effective date: 20100323 |
|
| A521 | Written amendment |
Free format text: JAPANESE INTERMEDIATE CODE: A523 Effective date: 20100519 |
|
| A02 | Decision of refusal |
Free format text: JAPANESE INTERMEDIATE CODE: A02 Effective date: 20100723 |
|
| A521 | Written amendment |
Free format text: JAPANESE INTERMEDIATE CODE: A523 Effective date: 20101008 |
|
| A911 | Transfer of reconsideration by examiner before appeal (zenchi) |
Free format text: JAPANESE INTERMEDIATE CODE: A911 Effective date: 20101029 |
|
| A912 | Removal of reconsideration by examiner before appeal (zenchi) |
Free format text: JAPANESE INTERMEDIATE CODE: A912 Effective date: 20101217 |
