JP2005242501A - パネル構造及びその取り付け構造 - Google Patents

パネル構造及びその取り付け構造 Download PDF

Info

Publication number
JP2005242501A
JP2005242501A JP2004048862A JP2004048862A JP2005242501A JP 2005242501 A JP2005242501 A JP 2005242501A JP 2004048862 A JP2004048862 A JP 2004048862A JP 2004048862 A JP2004048862 A JP 2004048862A JP 2005242501 A JP2005242501 A JP 2005242501A
Authority
JP
Japan
Prior art keywords
base material
panel
outer peripheral
upper base
thermal expansion
Prior art date
Legal status (The legal status is an assumption and is not a legal conclusion. Google has not performed a legal analysis and makes no representation as to the accuracy of the status listed.)
Pending
Application number
JP2004048862A
Other languages
English (en)
Inventor
Daisuke Suzuki
大輔 鈴木
Current Assignee (The listed assignees may be inaccurate. Google has not performed a legal analysis and makes no representation or warranty as to the accuracy of the list.)
NEC Corp
Original Assignee
NEC Corp
Priority date (The priority date is an assumption and is not a legal conclusion. Google has not performed a legal analysis and makes no representation as to the accuracy of the date listed.)
Filing date
Publication date
Application filed by NEC Corp filed Critical NEC Corp
Priority to JP2004048862A priority Critical patent/JP2005242501A/ja
Publication of JP2005242501A publication Critical patent/JP2005242501A/ja
Pending legal-status Critical Current

Links

Images

Landscapes

  • Laminated Bodies (AREA)
  • Position Input By Displaying (AREA)

Abstract

【課題】 防塵や防水効果を高めると共に、外観状のしわの発生をも防止可能なタッチパネル構造を得る。
【解決手段】 熱膨張が異なる上部及び下部基材1,2を、所定間隙をもって対向するように接着材4により接着し、筐体5の窓51に取付けるためのパネル構造において、接着材4によって上部及び下部基材間の熱膨張差によるずれを吸収し、上部基材1は下基材2の面積よりも大とし、かつその外周部分11において面方向の変形力が吸収自在な構成とする。これにより、筐体5との隙間を、上部筐体の外周部11で完全に密閉することができ、また密閉しても、両基材間の熱膨張差による面方向のずれが吸収でき、防塵及び防水効果が図れる。
【選択図】 図1

Description

本発明はパネル構造及びその取り付け構造に関し、特に携帯電話機などの携帯端末に用いられる抵抗膜式タッチパネル構造及びその取り付け構造に関するものである。
携帯電話機などの携帯端末に用いられる抵抗膜式タッチパネルの構造は、図5に示す如く、2枚の上部及び下部の電極基材1,2を、所定間隙をもって対抗するように両面テープなどの接着材4により接着して構成されている。上部電極基材(以下、上部基材と称する)1としては、一般的には、PETフィルムが用いられており、下部電極基材(以下、下部基材と称する)2としては、一般的には、ガラスが用いられている。
上部基材1の外周には、電極引き回しエリア3が設けられており、その一部から電極引き出し部9が導出されている。このように構成されたタッチパネルは、図6に示す如く、装置筐体5に設けられた窓51にクッション6を介して取付けられる。
ここで、上部基材1はPETなどのフィルムで作られており、温度や温度による膨張や収縮があり、またガラスで作られることが多い下部基材2との熱膨張係数の相違があり、よって、図7に示す如く、両基材1と2とを接着する接着材4としては、横方向のずれに対する強度が低いものを用いて、横方向のずれを吸収するようになっている。
そのために、従来の抵抗膜式タッチパネルの装置筐体5への組み込み方法は、図6に示しているように、筐体5とクッション6との間を、両面テープ8で接着し、クッション6と上部基材1の電極引き回しエリア3との間は接着せずに、筐体5へ押しつけるように取付けるか、筐体5とクッション6との間は接着せずに、クッション6と上部基材1の電極引き回しエリア3との間を接着して、筐体5へ押し付けるようになっている。よって、接着していない隙間から、塵埃や水滴が侵入し易くなる。
ここで、特許文献1を参照すると、タッチパネルの構造において、充分な防塵や防水機能を施した技術が提案されている。
特開2002−175155号公報
上述した図5、図6の構造においては、塵埃や水滴の侵入を防ぐことができないという問題があり、防塵や防水効果を向上させるために、上述した隙間を接着剤10(両面テープ)で接着してしまうと、温度や湿度により、上部基材1の膨張や収縮が発生し、図8に示す如く、タッチパネル面がシワになってしまい、外観上問題がある。また、特許文献1の技術でも、両基材の熱膨張係数の違いによる膨張や収縮については、何等考慮されておらず、やはり問題がある。
本発明の目的は、防塵や防水効果を高めると同時に、外観上のシワの問題をも解決可能としたパネル構造及びその取り付け構造を提供することである。
本発明によるパネル構造は、熱膨張が異なる上部及び下部基材を、所定間隙をもって対向するように接着剤により接着して構成され、装置筐体に設けられた窓に取り付けるためのパネル構造であって、前記接着材は前記基材の熱膨張差によるずれを吸収可能であり、前記上部基材は前記下部基材の面積よりも大とされ、かつその外周部分において面方向の変形力が吸収自在な構成であることを特徴とする。
本発明によるパネル取り付け構造は、上述のパネル構造を前記基材より小なる筐体窓に取り付けるパネル取り付け構造であって、前記上部基材の最外周全体を前記筐体に接着してなることを特徴とする。
本発明の作用を述べる。熱膨張が異なる上部及び下部基材を、所定間隙をもって対向するように接着剤により接着して構成され、装置筐体に設けられた窓に取り付けるためのパネル構造において、当該接着材によって上部及び下部基材間の熱膨張差によるずれを吸収可能とし、上部基材は下部基材の面積よりも大とし、かつその外周部分において面方向の変形力が吸収自在な構成とする。これにより、筐体との隙間を完全に密閉しても、両基材間の熱膨張差による面方向のずれが吸収でき、防塵及び防水効果が図れる。
本発明によれば、上部及び下部基材間の熱膨張差によるずれを吸収可能とし、上部基材は下部基材の面積よりも大とし、かつその外周部分において面方向の変形力が吸収自在な構成としたので、上部基材のしわがなくなり、かつ筐体との間の密閉が、上部基材の外周部で可能になり、よって、防塵及び防水機能が果たせるという効果がある。
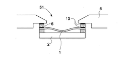
以下に、図面を用いて本発明の実施の形態について説明する。図1は本発明の一実施の形態を示す断面図であり図5〜図8と同等部分は同一符号により示している。図1を参照すると、上部基板1と下部基材2とは、接着材4により所定間隙をもって対向配置されており、この接着材4は、図7に示したように、両基材の熱膨張差に起因する面方向のずれを吸収自在な両面テープなどが用いられる。
上部基材1の面積は下部基材2のそれよりも大とされており、下部基材2よりも突出した外周部分11の最外周全体にわたって、装置筐体5に接着用両面テープ7により、取り付けられている。筐体5の窓51の周囲に対しては、クッション6により、上部基材1の電極引き回しエリア3(図5参照)部分が押し付けられており、クッション6と上部基材1とは接着されておらず、クッション6と窓51の周囲とが両面テープ8により接着されている。
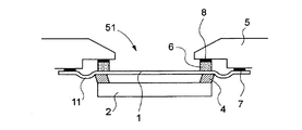
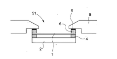
図2に示す如く、温度や温度により、上部基材1が面方向にひずむと、接着材4の面方向の変形の吸収作用により、窓51に相当する上部基材1の部分のひずみは吸収され、しわが生ずることはないが、上部基材1の外周部分11において、しわを逃がすことができる。従って、図3に示す如く、外周部分を予めジャバラ状12に屈曲して成形しておき、膨張収縮の吸収効果をより一層向上させるようにしても良く、また外周部分を、他部分より薄くするようにしても、上記の吸収効果は向上する。
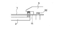
図4は筐体5と上部基材1との取り付け方法の他の例を示す断面図であり、接着材としての両面テープを用いる代りに筐体5に予め設けられている凹溝部52に、上部基材1の外周部分11の最外周全体を嵌め込むことにより、筐体5への取付けを、隙間なく完全に行うことができる。
上記の実施の形態においては、携帯電話機などの携帯情報端末のタッチパネルに用いる場合について説明したが、一般に熱膨張が異なる2枚の上部及び下部基材を接着材により所定間隙をもって対向配置したパネル構造に広く適用できるものである。
本発明の実施の形態の断面図である。 図1の取り付け構造において、熱膨張差が吸収される状態を説明する図である。 上部基材の外周部の変形例を示す図である。 上部基材の筐体への取り付け構造の変形例を示す図である。 従来のタッチパネルの例を示す図である。 従来のタッチパネルの筐体窓への取り付け例を示す図である。 タッチパネル自体の熱膨張による変形例を示す図である。 タッチパネルを筐体に取り付けた場合の従来例における熱膨張による変形例を示す図である。
符号の説明
1 上部電極基材
2 下部電極基材
3 電極引き回しエリア
4 接着材
5 筐体
6 クッション
7,8 両面テープ
11 外周部
12 屈曲部
51 筐体窓
52 凹部溝

Claims (7)

  1. 熱膨張が異なる上部及び下部基材を、所定間隙をもって対向するように接着剤により接着して構成され、装置筐体に設けられた窓に取り付けるためのパネル構造であって、前記接着材は前記基材の熱膨張差によるずれを吸収可能であり、前記上部基材は前記下部基材の面積よりも大とされ、かつその外周部分において面方向の変形力が吸収自在な構成であることを特徴とするパネル構造。
  2. 前記上部基材の外周部分は、屈曲構造とされていることを特徴とする請求項1記載のパネル構造。
  3. 前記上部基材の外周部分は、他の部分よりも薄く形成されていることを特徴とする請求項1記載のパネル構造。
  4. 情報処理端末のタッチパネルであることを特徴とする請求項1〜3いずれか記載のパネル構造。
  5. 請求項1〜4いずれか記載のパネル構造を前記基材より小なる筐体窓に取り付けるパネル取り付け構造であって、前記上部基材の最外周全体を前記筐体に接着してなることを特徴とするパネル取り付け構造。
  6. 前記上部基材の最外周全体を、前記筐体に接着する代わりに、前記筐体に設けられた凹溝に嵌合したことを特徴とするパネル取り付け構造。
  7. 携帯端末のタッチパネルに用いることを特徴とする請求項5または6記載のパネル取り付け構造。
JP2004048862A 2004-02-25 2004-02-25 パネル構造及びその取り付け構造 Pending JP2005242501A (ja)

Priority Applications (1)

Application Number Priority Date Filing Date Title
JP2004048862A JP2005242501A (ja) 2004-02-25 2004-02-25 パネル構造及びその取り付け構造

Applications Claiming Priority (1)

Application Number Priority Date Filing Date Title
JP2004048862A JP2005242501A (ja) 2004-02-25 2004-02-25 パネル構造及びその取り付け構造

Publications (1)

Publication Number Publication Date
JP2005242501A true JP2005242501A (ja) 2005-09-08

Family

ID=35024205

Family Applications (1)

Application Number Title Priority Date Filing Date
JP2004048862A Pending JP2005242501A (ja) 2004-02-25 2004-02-25 パネル構造及びその取り付け構造

Country Status (1)

Country Link
JP (1) JP2005242501A (ja)

Cited By (10)

* Cited by examiner, † Cited by third party
Publication number Priority date Publication date Assignee Title
JP2007316861A (ja) * 2006-05-24 2007-12-06 Sharp Corp シール構造
CN100547533C (zh) * 2006-07-07 2009-10-07 阿尔卑斯电气株式会社 输入装置
WO2010064545A1 (ja) 2008-12-01 2010-06-10 株式会社 翔栄 タッチパネルを用いた入力装置
WO2012096113A1 (ja) * 2011-01-15 2012-07-19 京セラ株式会社 電子機器、およびこれを備えた携帯端末
DE102011011982A1 (de) * 2011-02-22 2012-08-23 Bizerba Gmbh & Co Kg Bedienvorrichtung für eine Produktverarbeitungsvorrichtung
WO2012114768A1 (ja) * 2011-02-24 2012-08-30 京セラ株式会社 電子機器
WO2012140877A1 (ja) * 2011-04-11 2012-10-18 京セラ株式会社 電子機器
JP2012216205A (ja) * 2011-04-01 2012-11-08 Kyocera Corp 電子機器
JP2013114463A (ja) * 2011-11-29 2013-06-10 Denso Corp 操作装置
JP2014127071A (ja) * 2012-12-27 2014-07-07 Fujitsu Component Ltd タッチ入力装置

Cited By (17)

* Cited by examiner, † Cited by third party
Publication number Priority date Publication date Assignee Title
JP2007316861A (ja) * 2006-05-24 2007-12-06 Sharp Corp シール構造
CN101504581B (zh) * 2006-07-07 2011-12-21 阿尔卑斯电气株式会社 输入装置
CN100547533C (zh) * 2006-07-07 2009-10-07 阿尔卑斯电气株式会社 输入装置
US8044938B2 (en) 2006-07-07 2011-10-25 Alps Electric Co., Ltd. Input device with improved touch panel surface and electronic device having the input device
US8525812B2 (en) 2008-12-01 2013-09-03 Shoei Co., Ltd. Input device using touch panel
WO2010064545A1 (ja) 2008-12-01 2010-06-10 株式会社 翔栄 タッチパネルを用いた入力装置
WO2012096113A1 (ja) * 2011-01-15 2012-07-19 京セラ株式会社 電子機器、およびこれを備えた携帯端末
JP5116902B2 (ja) * 2011-01-15 2013-01-09 京セラ株式会社 電子機器、およびこれを備えた携帯端末
US9060438B2 (en) 2011-01-15 2015-06-16 Kyocera Corporation Electronic device and mobile terminal including the same
DE102011011982A1 (de) * 2011-02-22 2012-08-23 Bizerba Gmbh & Co Kg Bedienvorrichtung für eine Produktverarbeitungsvorrichtung
EP2492790A3 (de) * 2011-02-22 2018-01-24 Bizerba SE & Co. KG Bedienvorrichtung für eine Produktverarbeitungsvorrichtung
WO2012114768A1 (ja) * 2011-02-24 2012-08-30 京セラ株式会社 電子機器
JP5530026B2 (ja) * 2011-02-24 2014-06-25 京セラ株式会社 電子機器
JP2012216205A (ja) * 2011-04-01 2012-11-08 Kyocera Corp 電子機器
WO2012140877A1 (ja) * 2011-04-11 2012-10-18 京セラ株式会社 電子機器
JP2013114463A (ja) * 2011-11-29 2013-06-10 Denso Corp 操作装置
JP2014127071A (ja) * 2012-12-27 2014-07-07 Fujitsu Component Ltd タッチ入力装置

Similar Documents

Publication Publication Date Title
JP5134327B2 (ja) 表示装置
JP4833201B2 (ja) タッチスクリーン・システムのための応力封止
CN209765931U (zh) 柔性叠层胶带及电子设备
JP2004046835A (ja) 無線情報端末機器のlcd組立体
CN109951620B (zh) 摄像头封装件和电子设备
JP2010537240A (ja) ダストシーリングテープ、ダストシーリングテープを用いたディスプレイ、および密閉方法
JP2005242501A (ja) パネル構造及びその取り付け構造
JP4267554B2 (ja) 電子機器の表示部構造及びこれを備えた電子機器
JP2007256518A (ja) 液晶表示装置
WO2013069212A1 (ja) 携帯端末
WO2021135124A1 (zh) 防尘结构、麦克风封装结构以及电子设备
CN103576608B (zh) 前面板固定结构
JP2008261987A (ja) 携帯情報機器
JP2008097012A (ja) 表示パネルモジュール
JP2019526062A (ja) 表示モジュール、表示モジュールを有する表示装置、並びに表示モジュールの製造方法
JP2005077349A5 (ja)
JP5860100B2 (ja) タッチパネルと前面意匠シートの固定構造およびタッチパネル付表示装置
JP2016536196A (ja) ウィンドシールド及びシーリングエレメント
JP2006004215A (ja) 入力装置およびこの入力装置を用いた表示装置、ならびに前記表示装置を用いた電子機器
EP4009311B1 (en) Display apparatus and assembly method therefor
JPWO2010073298A1 (ja) パネル構造体および電子機器の筐体
JP5054501B2 (ja) ガスメータの通気構造および貼り付け式フィルタ
JP4985552B2 (ja) 防水窓構造、及び電子機器
JP4066641B2 (ja) タッチパネル
JP3984980B2 (ja) 電子機器の防塵構造

Legal Events

Date Code Title Description
A621 Written request for application examination

Free format text: JAPANESE INTERMEDIATE CODE: A621

Effective date: 20070115

A977 Report on retrieval

Free format text: JAPANESE INTERMEDIATE CODE: A971007

Effective date: 20090105

A131 Notification of reasons for refusal

Free format text: JAPANESE INTERMEDIATE CODE: A131

Effective date: 20090324

A521 Request for written amendment filed

Free format text: JAPANESE INTERMEDIATE CODE: A523

Effective date: 20090525

A02 Decision of refusal

Free format text: JAPANESE INTERMEDIATE CODE: A02

Effective date: 20090714