JP2004237694A - ポリイミドベルトおよびその製造方法 - Google Patents
ポリイミドベルトおよびその製造方法 Download PDFInfo
- Publication number
- JP2004237694A JP2004237694A JP2003032083A JP2003032083A JP2004237694A JP 2004237694 A JP2004237694 A JP 2004237694A JP 2003032083 A JP2003032083 A JP 2003032083A JP 2003032083 A JP2003032083 A JP 2003032083A JP 2004237694 A JP2004237694 A JP 2004237694A
- Authority
- JP
- Japan
- Prior art keywords
- polyamic acid
- dehydrating agent
- belt
- polyimide
- catalyst
- Prior art date
- Legal status (The legal status is an assumption and is not a legal conclusion. Google has not performed a legal analysis and makes no representation as to the accuracy of the status listed.)
- Pending
Links
Images
Landscapes
- Fixing For Electrophotography (AREA)
- Electrophotography Configuration And Component (AREA)
- Electrostatic Charge, Transfer And Separation In Electrography (AREA)
- Moulding By Coating Moulds (AREA)
- Macromolecular Compounds Obtained By Forming Nitrogen-Containing Linkages In General (AREA)
Abstract
【課題】電子写真画像形成装置等に用いられる各種ベルトに関し、機械的強度及び寸法安定性に優れたポリイミドベルトの提供、および、化学イミド化法を用いて比較的短時間で、しかも、連続的に製造することが可能なポリイミドベルトの製造方法を提供すること。
【解決手段】ポリアミド酸溶液中に脱水剤を含有する塗布用組成物と、ポリアミド酸溶液中に触媒を含有する塗布用組成物を積層塗布し、脱水剤との化学イミド化反応を含むことを特徴とする。さらに、化学イミド化した後、これを熱的イミド化することが好ましい。ここで、脱水剤が有機カルボン酸無水物、化学イミド化触媒が3級アミンであることが好ましい。
【選択図】 図2
【解決手段】ポリアミド酸溶液中に脱水剤を含有する塗布用組成物と、ポリアミド酸溶液中に触媒を含有する塗布用組成物を積層塗布し、脱水剤との化学イミド化反応を含むことを特徴とする。さらに、化学イミド化した後、これを熱的イミド化することが好ましい。ここで、脱水剤が有機カルボン酸無水物、化学イミド化触媒が3級アミンであることが好ましい。
【選択図】 図2
Description
【0001】
【産業上の利用分野】
本発明は、ポリイミドベルトに関するもので、例えば、複写機、レーザービームプリンター、ファクシミリ等の電子写真画像形成装置に用いられる転写定着装置及びこれに用いられる転写ベルト、定着ベルト、転写定着ベルトとして特に有用である。
【0002】
【従来の技術】
以下、ポリイミドベルトの製造方法に関する従来技術について述べる。
一般に、ポリイミドベルトの成形法としては、
(1)その前駆体であるポリアミド酸溶液を円筒形金型に塗布し、
(2)溶剤を飛ばして成膜した後、
(3)熱的にイミド化する。
方法が採用されている。
【0003】
この場合、ポリアミド酸をイミド化する方法としては、溶媒を蒸発させてから熱的にイミド化する熱イミド化法と、脱水剤と触媒を混合して低温で化学的にイミド化する化学イミド化法が知られている。化学イミド化法ではポリアミド酸の加水分解が少ない上、溶媒が蒸発したときに生ずる配向効果が大きく、物性の良好なフィルムが得られることが知られている。例えば、特許文献1では、脱水剤と触媒を添加してなる樹脂溶液組成物を押出し流延製膜する方法が開示されている。
【0004】
【特許文献1】
特開2002−172637号公報
【0005】
【発明が解決しようとする課題】
しかしながら、上記従来技術では、以下のような課題が生じることがある。
つまり、化学イミド化の場合は、低温でイミド化が進むため、脱水剤と触媒を混合したポリアミド酸溶液を塗布し成膜した時点で固化することから、バッチ式で行わざるを得ないポリイミドベルトの製造には、事実上用いることは不可能であった。また、塗布配管において、ポリアミド酸がゲル化し、配管の狭小や閉塞の可能性があった。
【0006】
本発明は上記問題に対し、機械的強度及び寸法安定性に優れたポリイミドベルトを提供すること、および、化学イミド化法を用いて比較的短時間で、しかも、連続的に製造することが可能なポリイミドベルトの製造方法を提供することを目的とする。
【0007】
【課題を解決するための手段】
本発明者らは、上記課題を解決するために、鋭意研究を重ねた結果、以下に示すにより上記目的を達成できることを見出し、本発明を完成するに到った。
本発明は、ポリイミドベルトの製造方法であって、ポリアミド酸溶液中に脱水剤を含有する塗布用組成物と、ポリアミド酸溶液中に触媒を含有する塗布用組成物を積層塗布し、脱水剤との化学イミド化反応を含むことを特徴とする。本発明によって、塗布配管でのポリアミド酸のゲル化の問題がなく、比較的短時間で製造ができ、しかも、連続的に製造することが可能なポリイミドベルトの製造方法を提供することができる。
【0008】
ここで、上記塗布用組成物を積層塗布し、脱水剤と化学イミド化した後、これを熱的イミド化することが好ましい。ゲル状欠陥を防止しつつ、さらに成膜時に分子鎖に強度がでて配向効果が大きくなり、優れた機械的強度及び寸法安定性を有するポリイミドベルトを提供することができる。
【0009】
また、上記化学イミド化脱水剤が有機カルボン酸無水物であることが好ましい。比較的短時間で化学イミド化ができ、さらに成膜時にできる強固な分子鎖によって、優れた機械的強度及び寸法安定性を有することができる。
【0010】
さらに、上記化学イミド化触媒が3級アミンであることが好ましい。触媒自体の安定性が高く、イミド化の制御が容易で、かつ、急激な反応を生じることがない点において、本発明に好適な触媒であるといえる。
【0011】
また、脱水剤と触媒による化学イミド化反応を含む方法で得られたポリイミドベルトであって、ベルトの機械的物性(強度、伸び、弾性率)が、強度260MPa以上、伸び20%以上、弾性率5000MPa以上をもち、膜厚バラツキが5.0μm以内であることが好ましい。上記の製造方法によって、こうした機械的物性を確保することが可能となり、転写ベルトや定着ベルトなどに適したポリイミドベルトの提供が可能となる。
【0012】
【発明の実施の態様】
以下、本発明の実施の形態について詳細に説明する。
本発明は、ポリイミドベルトの製造方法であって、ポリアミド酸溶液中に脱水剤を含有する塗布用組成物と、ポリアミド酸溶液中に触媒を含有する塗布用組成物を積層塗布し、脱水剤との化学イミド化反応を含むことを特徴とする。つまり、本発明者は、ポリアミド酸溶液中に脱水剤を含有する塗布用組成物と、ポリアミド酸溶液中に触媒を含有する塗布用組成物を積層塗布することで化学イミド化が可能であることを見出した。これによって、塗布配管でのポリアミド酸のゲル化の問題がなく、バッチ式で行わざるを得ないポリイミドベルトの製造を可能とし、更に化学イミド化によりポリイミドベルトを比較的短時間で製造ができこととなった。
【0013】
本発明のポリイミドベルトの製造方法では、このようにポリアミド酸溶液に特定量の脱水剤と触媒とを各々添加、混合してポリアミド酸前駆体溶液と脱水剤との混合組成物(以下「組成物A」という。)、およびポリアミド酸前駆体溶液と触媒との混合組成物(以下「組成物B」という。)を作製し、個々のワニスを積層塗布し成膜して化学イミド化を行う。
【0014】
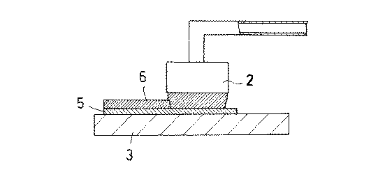
具体的に、積層塗布を行う方法を図1および図2に示す。
図1は、本発明の適用例として、管状体内壁に積層塗布する方法を模式的に表した図であり、2つのディスペンサー1および2から組成物Aおよび組成物Bを円筒金型3の内壁つまり、塗膜面4に塗布し、両組成物を積層する。いずれのディスペンサーからいずれの組成物を吐出するかは任意であるが、ここでは、ディスペンサー1から組成物Aを吐出し、塗膜面4に直接接する第1層として組成物Aを塗布する場合を具体例として説明する。
(1)ディスペンサー1から組成物Aを、塗膜面4に向けて吐出する。つまり、第1層が塗布される。
(2)同時に、円筒金型3をほぼ等速回転しながら徐々にディスペンサー1および2から遠のく方向にほぼ等速で移動する。このとき、第1層が間断なく且つ重複なく塗布できるように、ディスペンサー1の吐出口の金型3の中心軸方向の幅に合った回転速度および移動速度を設定する。具体的な金型の形状、回転速度、吐出口の幅、移動速度については、実施例を参照願いたい。むろん、ディスペンサー1および2が回転することも可能であり、また、金型3が移動することも可能であることはいうまでもない。
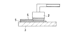
(3)当初に塗布された組成物Aの先端がディスペンサー2まで到達したときに、ディスペンサー2から組成物Bの塗布を始める。このとき、ディスペンサー2の吐出口の幅がディスペンサー1と同じであれば、第2層も間断なく且つ重複なく塗布することができる。図2は、この様子を示しており、金型3の表面に均一に塗布された第1層5の上にディスペンサー2から吐出された組成物が塗布されていき、第2層6が形成されることとなる。
(4)金型3の外側より熱風を所定時間当てて、自己支持性を有するポリイミド膜を形成する。熱風温度は70〜170℃が好ましく、所要時間としては、1〜20分が好ましい。
【0015】
さらに、本発明は、前記塗布用組成物を積層塗布し、脱水剤と化学イミド化した後、これを熱的イミド化することを特徴とする。各塗布用組成物を積層塗布した後に化学イミド化して成膜をした場合には、分子鎖に強度が生じて配向効果が大きくなり、これを溶媒除去、異性体転化させるために熱処理、つまり熱的イミド化することで、従来の完全化学イミド化時の物性より優れた機械的強度及び寸法安定性を有するポリイミドベルトとなることを見出した。
【0016】
具体的には、図2の組成物が塗布された状態において、
(1)上記の自己支持性を有するポリイミド膜を形成した状態で、金型3全体を昇温し、更にその温度で所定時間加熱を行い、溶媒の除去及びイミド転化の完結反応を行う。つまり、加熱処理により完全イミド化され、本発明の目的の機械物性を有するポリイミドベルトが製造される。昇温速度は1〜5℃/minが好ましく、さらに200〜400℃で3〜20分加熱することが好ましい。この温度より高い、または時間が長いと、フィルムの熱劣化が起こりやすくなり、この温度範囲より低い及び/又は時間が短いと機械的強度等の諸特性が低下する傾向にある。
(2)その後室温に戻して、金型3から剥離する。
(3)これを各用途に合った幅にカットし、ポリイミドベルトを得る。
【0017】
次に各構成物について説明する。ポリアミド酸溶液は、例えば芳香族テトラカルボン酸二無水物と芳香族ジアミン又は脂肪族ジアミンとを有機極性溶媒中で反応させることにより調製することができる。ここで、ポリイミド系樹脂の原料液となるポリアミド酸溶液としては、例えばテトラカルボン酸二無水物やその誘導体とジアミンを溶媒中で重合反応させてなるポリアミド酸の溶液が使用可能である。前記ポリアミド酸はテトラカルボン酸二無水物あるいはその誘導体とジアミンの略等モルを有機溶媒中で反応させることにより得られるもので、通常、溶液状で用いられる。このようなテトラカルボン酸二無水物は、例えば下記の一般式(化1)で示される。
【化1】
式中、Rは4価の有機基であり、芳香族、脂肪族、環状脂肪族、芳香族と脂肪族を組み合せたもの、またはそれらの置換された基である。
【0018】
前記したテトラカルボン酸二無水物の具体例としては、ピロメリット酸二無水物、3,3’ 4,4’ −ベンゾフェノンテトラカルボン酸二無水物、3,3’ ,4,4’ −ビフェニルテトラカルボン酸二無水物、2,3,3’ ,4−ビフェニルテトラカルボン酸二無水物、2,3,6,7−ナフタレンテトラカルボン酸二無水物、1,2,5,6−ナフタレンテトラカルボン酸二無水物、1,4,5,8−ナフタレンテトラカルボン酸二無水物、2,2’−ビス(3,4−ジカルボキシフェニル)プロパン二無水物、ビス(3,4−ジカルボキシフェニル)スルホン二無水物、ペリレン−3,4,9,10−テトラカルボン酸二無水物、ビス(3,4−ジカルボキシフェニル)エーテル二無水物、エチレンテトラカルボン酸二無水物等が挙げられる。
【0019】
一方、ジアミンの例としては、4,4’ −ジアミノジフェニルエーテル、4,4’ −ジアミノジフェニルメタン、3,3’ −ジアミノジフェニルメタン、3,3’ −ジクロロベンジジン、4,4’ −ジアミノジフェニルスルフィド、3,3’ −ジアミノジフェニルスルフォン、1,5−ジアミノナフタレン、m−フェニレンジアミン、p−フェニレンジアミン、3,3’ −ジメチル−4,4’ −ビフェニルジアミン、ベンジジン、3,3’ −ジメチルベンジジン、3,3’ −ジメトキシベンジジン、4,4’ −ジアミノフェニルスルフォン、4,4’ −ジアミノフェニルスルフィド、4,4’ −ジアミノジフェニルプロパン、2,4−ビス(β−アミノ−第三ブチル)トルエン、ビス(p−β−アミノ−第三ブチルフェニル)エーテル、ビス(p−β−メチル−σ−アミノフェニル)ベンゼン、ビス−p−(1,1−ジメチル−5−アミノ−ペンチル)ベンゼン、1−イソプロピル−2,4−m−フェニレンジアミン、m−キシリレンジアミン、p−キシリレンジアミン、ジ(p−アミノシクロヘキシル)メタン、ヘキサメチレンジアミン、ヘプタメチレンジアミン、オクタメチレンジアミン、ノナメチレンジアミン、デカメチレンジアミン、ジアミノプロピルテトラメチレン、3−メチルへプタメチレンジアミン、4,4−ジメチルヘプタメチレンジアミン、2,11−ジアミノドデカン、1,2−ビス−3−アミノプロポキシエタン、2,2−ジメチルブロピレンアミン、3−メトキシヘキサメチレンジアミン、2,5−ジメチルヘキサメチレンジアミン、2,5−ジメチルヘプタメチレンジアミン、3−メチルへプタメチレンジアミン、5−メチルノナメチレンジアミン、2,11−ジアミノドデカン、2,17−ジアミノエイコサデカン、1,4−ジアミノシクロヘキサン、1,10−ジアミノ−1,10−ジメチルデカン、1,12−ジアミノオクタデカン、2,2−ビス[4−(4−アミノフェノキシ)フェニル]プロパン、ピペラジン
H2 N(CH2 )3 O(CH2 )2 O(CH2 )NH2 、
H2 N(CH2 )3 S(CH2 )3 NH2
H2 N(OH2 )3 N(CH2 )2 (OH2 )3 NH2 、
等が挙げられる。
【0020】
また、芳香族ジアミンとしては、例えば4,4’ −ジアミノジフェニルエーテル、4,4’ −ジアミノジフェニルメタン、4,4’ −ジアミノジフェニルエタン、4,4’ −ジアミノジフェニルプロパン、4,4’ −ジアミノジフェニルスルホン、4,4’ −ジアミノジフェニルスルフィド、m−フェニレンジアミン、p−フェニレンジアミン、m−トルイレンジアミン、p−トルイレンジアミン、ベンチジン、1,5−ジアミノナフタレンなどが挙げられる。
【0021】
さらに、脂肪族ジアミンとしては、例えば、ヘキサメチレンジアミン、ヘプタメチレンジアミン、オクタメチレンジアミン、ノナメチレンジアミン、デカメチレンジアミン、ジアミノプロピル、テトラメチレンジアミン、3−メチルへプタメチレンジアミン、4,4−ジメチル−ヘプタビス−(3−アミノプロポキシメタン)、2,2−ジメチルプロピレンジアミン、3−メトキシヘキサメチレンジアミン、2,5−ジメチルヘキサメチレンジアミン、2,5−ジメチルヘプタメチレンジアミン、3−メチルへプタメチレンジアミン、5−メチルノナメチレンジアミン、2,11−ジアミノドデカン、1,4−ジアミノシクロヘキサン、1,10−ジアミノ−1,10−ジメチルデカン、1,12−ジアミノオクタデカン、4,4’ −ジアミノ−3,3’ −ジメチルジシクロヘキシン、4,4’ −ジアミノジシクロヘキシルメタン、4,4’ −ジアミノジシクロヘキサン、1,4−シクロヘキサンビス(メチルアミン)などが挙げられる。
【0022】
上記したテトラカルボン酸二無水物とジアミンを重合反応させる際の溶媒として適宜なものを用いうるが、溶解性等の点により極性溶媒が好ましい。例としては、N,N−ジアルキルアミド類が有用で、例えば低分子量のものであるN,N−ジメチルホルムアミド、N,N−ジメチルアセトアミド等が挙げられる。これらは、蒸発、置換または拡散によりポリアミド酸およびポリアミド酸成形品から容易に除去することができる。また、上記以外の有機極性溶媒として、N,N−ジエチルホルムアミド、N,N−ジエチルアセトアミド、N,N−ジメチルメトキシアセトアミド、ジメチルスルホキシド、ヘキサメチルホスホルトリアミド、N−メチル−2−ピロリドン、ピリジン、ジメチルスルホキシド、テトラメチレンスルホン、ジメチルテトラメチレンスルホン等が挙げられる。これらは単独で使用してもよいし、併せて用いても差し支えない。さらに、上記有機極性溶媒にクレゾール、フェノール、キシレノール等のフェノール類、ベンゾニトリル、ジオキサン、ブチロラクトン、キシレン、シクロヘキサン、ヘキサン、ベンゼン、トルエン等を単独でもしくは併せて混合することもできる。なお、水の存在によってポリアミド酸が加水分解して低分子量化するため、ポリアミド酸の合成は実質上無水条件下で行うことが好ましい。
【0023】
上記のテトラカルボン酸二無水物(a)とジアミン(b)とを有機極性溶媒中で反応させることによりポリアミド酸が得られる。その際のモノマー濃度(溶媒中における(a)+(b)の濃度)は、種々の条件に応じて設定されるが、5〜30重量%が好ましい。また、反応温度は80℃以下に設定することが好ましく、特に好ましくは5〜50℃であり、反応時間は0.5〜10時間である。
【0024】
このようにして酸二無水物成分とジアミン成分とを有機極性溶媒中で反応させることによりポリアミド酸が生成し、その反応の進行に伴い溶液粘度が上昇する。本発明ではこの現象を利用して、導電性フィラーを含有するポリアミド酸溶液のB型粘度計における25℃の粘度を1〜1000Pa・sに調整することができる。また、前記モノマー濃度による調整も可能である。
【0025】
ここで、フィルム表面の滑性を良くするためにシリカ、アルミナ、リン酸カルシウム等のフィラーを混合できる。
【0026】
また、導電性を出すためにケッチェンブラックやアセチレンブラック等のカーボンブラック、アルミニウムやニッケルのような金属、酸化錫のような酸化金属化合物、チタン酸カリウム等の導電性粉末、あるいはポリアニリンやポリアセチレンのような導電性ポリマー等の適宜なものの1種又は2種以上を用いることができる。
【0027】
本発明では、上記ポリアミド酸溶液に脱水剤、触媒を各々混合し「組成物A」および「組成物B」を製造する。個々の樹脂溶液組成物を積層することで化学イミド化反応によりポリイミドとしつつ、ベルトを成形する。
【0028】
用いられる脱水剤は、例えば、有機カルボン酸無水物、N,N’ −ジアルキルカルボジイミド類、低級脂肪酸ハロゲン化物、ハロゲン化低級脂肪酸無水物、アリールホスホン酸ジハロゲン化物、及びチオニルハロゲン化物が挙げられ、これらのなかで、有機カルボン酸無水物が好ましい。
有機カルボン酸無水物として、例示すると、無水酢酸、プロピオン酸無水物、酪酸無水物、吉草酸無水物、及びこれらの分子間無水物、有機カルボン酸無水物の混合物を含む。また、芳香族モノカルボン酸例えば安息香酸、ナフトエ酸等の無水物、これらの混合物および有機カルボン酸無水物の混合物、及び炭酸及び蟻酸並びに脂肪族ケテン類(ケテン、及びジメチルケテン)の無水物、これらの混合物および有機カルボン酸無水物などが挙げられる。これらのなかで、無水酢酸が好ましい。
【0029】
脱水剤の量は、最終的に塗布されるポリアミド酸溶液のポリアミド1モルに対して0.2〜4モルが好ましく、特には1〜3モルであることが好ましい。脱水剤の量が最終的に塗布されるポリアミド酸溶液のポリアミド1モルに対して0.5モルより少ない場合には、イミド化反応が十分に進行せず、得られるポリイミドベルトの機械物性が大きく低下する。一方、脱水剤の量が4モルより多い場合には、化学イミド化が急激に進み、配管内や塗布途中でのゲル化が起こる。また、余分な脱水剤を蒸発させるためにベルト温度を上げる必要があるため、結果として得られるポリイミドフィルムの機械物性が大きく低下する。
【0030】
また、本発明に用いられる化学イミド化触媒としては、第3級アミンが好ましく、トリメチルアミン、トリエチルアミン、トリエチレンジアミン、ピリジン、ピコリン、キノリン、イソキノリン、ルチジン等が挙げられ、さらに好ましくは、ピリジン、β−ピコリン、γ−ピコリン、キノリン、イソキノリンが挙げられる。
【0031】
また、化学イミド化触媒の量は、最終的に塗布されるポリアミド酸溶液のポリアミド1モルに対してモル比で0.1〜2モル、さらに好ましくは0.2〜1モルである。化学イミド化触媒の量がポリアミド酸溶液のポリアミド1モルに対してモル比で0.1モルより少ない場合には、得られるポリイミドベルトの機械物性が大きく低下する。一方、化学イミド化触媒を2モルを超える量添加しても、イミド化の効果は2モルのものと大きく変化せず、むしろ、2モルを超える分フィルム中に化学イミド化触媒が残留し、ベルト工程ラインを汚染したり、余分なイミド化触媒を蒸発させるためにベルト温度を上げる必要があるため2モル以下が好ましい。
【0032】
脱水剤および化学的イミド化触媒で構成される化学イミド化剤は、ポリアミック酸ワニスに直接添加してもよいが、ポリアミック酸ワニスとの混合を容易にするため、有機溶媒に溶解して用いてもよい。用いる有機溶媒としては、N,N−ジメチルホルムアミド、N,N−ジメチルアセトアミド、N,N−ジエチルホルムアミド、N,N−ジエチルアセトアミド、N−メチルメトキシアセトアミド、N−メチルーカプロラクタム、N−メチル−2−ピロリドン、テトラメチル尿素等が挙げられ、ベンゼン、ベンゾニトリル、ジオキサン、キシレン、トルエンおよび、シクロヘキサン等を組み合わせて用いることもできる。
【0033】
上記方法において、ポリアミド酸溶液と化学イミド化剤を混合した樹脂溶液組成物のノズル中での粘度は、25℃で500Pa・s以下が好ましく、さらに300Pa・s以下が好ましく、特に好ましくは10〜100Pa・sである。この範囲を超える粘度であると膜厚のばらつきが顕著に高くなり、また泡の巻き込み現象が起こりやすくなり好ましくない。一方、樹脂溶液組成物の粘度が10Pa・s未満であると、ノズルを用いた塗布方法を用いる本発明においては、安定的に製膜することが困難になる。なお、この粘度はB型粘度計で測定した値である。このノズル中の粘度は、ポリアミド酸溶液と化学イミド化剤を混合した直後での粘度を測定したものである。
【0034】
また、ポリアミド酸溶液と化学イミド化剤を混合した樹脂溶液組成物のノズル中での温度は、25℃以下、好ましくは0℃〜15℃である。25℃を超えた場合、塗布膜に部分的イミド化が発生しベルトにゲル状欠陥が生じ不良になる問題が起こる。また、0℃を下まわる温度では、吐出の制御が困難になる。
【0035】
発明にかかる方法で製造することができるポリイミドフィルムの厚みは、特に限定されず、通常約5〜250μm程度の範囲で実施することができるが、好ましくは約5〜100μm範囲の厚みのものに適用される。熱イミド化では、熱によるポリアミド酸溶液粘度低下が起こるため厚みバラツキが発生し問題となるが、化学イミド化剤を用いれば熱がかかることで反応が進み、しかも短時間で固化するため厚みバラツキが5μm以下と、厚みバラツキの小さいポリイミドベルトを得ることができる。
【0036】
また、本発明は、脱水剤と触媒による化学イミド化反応を含む方法で得られたポリイミドベルトであって、ベルトの機械的物性(強度、伸び、弾性率)が、強度260MPa以上、伸び20%以上、弾性率5000MPa以上であることが好ましい。こうした機械的物性は、上記の製造方法のより好適な条件下において得られる特性であるとともに、特に電子写真画像形成装置などに用いられる転写ベルトや定着ベルトとして必要とされる特性でもあり、本発明の目的に合致したベルトとなる。
ここで、強度、伸び、弾性率は、JIS K6301に準じて測定を行った結果をいい、3号ダンベルの打ち抜き試験片(幅5mm)について調べた。
【0037】
以上、本発明にかかるポリイミドベルトおよびその製造方法について説明したが、むろん、本発明はこれに限定されることはない。
【0038】
【実施例】
以下、本発明を実施例および比較例を挙げてさらに具体的に説明する。ただし、これら各実施例・比較例は、本発明を制限するものではない。
【0039】
脱水剤の添加量は、個々のポリアミド酸前駆体溶液のポリアミド酸1モルに対して0.4〜8モル、好ましくは2〜6モルである。脱水剤の添加量が0.4モルより少ないと化学イミド化による効果が得られず、8モルを超えると室温下で数分の内にゲル化してしまう。
また、触媒の添加量としては、ポリアミド酸前駆体溶液のポリアミド酸1単位に対して0.2〜4モル好ましくは0.4〜2モルである。触媒の添加量が0.2モルより少ないと触媒の効果が十分ではなく、4モルを超えて添加しても効果は変わりない。
【0040】
<実施例1>
1674gのNMPに3,3’ ,4,4’ −ビフェニルテトラカルボン酸二無水物294.2gとp−フェニレンジアミン108.2gを溶解し、窒素雰囲気中において、室温で4時間撹拌しながら反応させて、ポリアミド酸溶液(ポリイミド換算で固形分量約20重量%)を得た。
上記ポリアミド酸溶液500gにポリアミド1モルに対してNMP64gに溶解した無水酢酸50g(4モル)を添加し、ポリアミド酸液a(ポリイミド換算で固形分量約16重量%)を得た。同様にポリアミド1モルに対してNMP51gに溶解したインキノリン64g(2モル)入りポリアミド酸溶液b(ポリイミド換算で固形分量約16重量%)を作製した。内径300mm、長さ500mmの金型の内面に上記a液をディスペンサー1で塗布し、その上にディスペンサー2で上記b液を同様に塗布した。1500rpmで10分間回転させながら、吐出口の幅30mmのディスペンサー1および2を1m/minで移動したとき、均一な塗布面を得た。金型の外側より80℃の熱風を5分間当てた後、300℃まで2℃/minの昇温速度で昇温し、更に300℃で10分間加熱し、溶媒の除去及びイミド転化の完結反応を行った。その後室温に戻し、金型から剥離し目的とするポリイミドベルトを得た。この総厚は80μmであった。
上記方法で24時間連続的に生産しベルトにゲル状欠陥はなく問題は発生しなかった。また、上記ベルトの機械的物性(強度、伸び、弾性率)は、強度270MPa、伸び20%、弾性率6000MPa、膜厚バラツキが5.0μmであった。
【0041】
<比較例1>
ポリアミド酸溶液(ポリイミド換算で固形分量約20重量%)1000gにポリアミド1モルに対してNMP64gに溶解した無水酢酸50g(2モル)を添加し、次にNMP51gに溶解したインキノリン64g(1モル)を混合しポリアミド酸溶液c(ポリイミド換算で固形分量約16重量%)を作製した。
内径300mm、長さ500mmの金型の内面に上記c液をディスペンサー1のみで200μmに塗布した。1500rpmで10分間回転させ、吐出口の幅30mmのディスペンサー1および2を1m/minで移動したとき、均一な塗布面を得た。金型の外側より80℃の熱風を5分間当てた後、300℃まで2℃/minの昇温速度で昇温し、更に300℃で10分間加熱し、溶媒の除去及びイミド転化の完結反応を行った。その後室温に戻し、金型から剥離し目的とするポリイミドベルトを1型分得たが、2型目から塗布面にうろこ状筋が発生、また、ベルトにゲル状欠陥が生じたり、部分イミド化ゲル状物ディスペンサー内で詰まって連続生産はできなかった。
【0042】
<比較例2>
ポリアミド酸溶液(ポリイミド換算で固形分量約20重量%)にNMPを用いて、イミド化剤なしのポリアミド酸溶液(ポリイミド換算で固形分量約16重量%)を作製し上記金型内面にディスペンサー1で厚さ200μmに塗布後、1500rpmで10分間回転させ、吐出口の幅30mmのディスペンサー1および2を1m/minで移動したとき、均一な塗布層を得た。金型の外側より80℃の熱風を30分間当てた後、150℃で60分間加熱し、次いで常温まで冷却した。ポリイミド前駆体皮膜を300℃まで2℃/minの昇温速度で昇温し、更に300℃で30分間加熱し、溶媒の除去、脱水閉環水の除去、及びイミド転化の完結反応を行った。その後室温に戻し、金型から剥離しベルトを得た。この総厚は82μmであった。
上記ベルトの機械的物性(強度、伸び、弾性率)は、強度260MPa、伸び15%、弾性率4700MPa、膜厚バラツキが8.0μmであった。
【0043】
【発明の効果】
本発明によれば、化学イミド化剤を使用し積層塗布することにより、塗布配管でのポリアミド酸のゲル化の問題がなく、バッチ式で行わざるを得ないポリイミドベルトの製造を、比較的短時間で製造することができる。しかも、連続的に製造することが可能なポリイミドベルトの製造方法を提供することができる。
【0044】
また、化学イミド化した後、さらにこれを熱的イミド化することによって、ゲル状欠陥を防止しつつ、さらに成膜時に分子鎖に強度がでて配向効果が大きくなり、これを熱的イミド化することで従来の熱イミド化時の物性より優れた機械的強度と寸法精度を有するポリイミドベルトの性能を損なうことなく、安全で高い生産性を有する製造方法を提供することが可能となる。本発明のポリイミドベルトを用いれば、電子写真複写機、レーザープリンター等の機器の高性能化、長寿命化に寄与することができるので、本発明は、産業上、極めて有用である。
【0045】
また、化学イミド化脱水剤が有機カルボン酸無水物である場合には、比較的短時間で化学イミド化ができ、さらに成膜時にできる強固な分子鎖によって、優れた機械的強度及び寸法安定性を有することができる。
【0046】
さらに、化学イミド化触媒が3級アミンである場合には、触媒自体の安定性が高く、イミド化の制御が容易で、かつ、急激な反応を生じることがない点において、本発明に好適な触媒であるといえる。
【0047】
また、脱水剤と触媒による化学イミド化反応を含む方法で得られたベルトにあっては、所望の機械的物性をもち、膜厚バラツキの小さいベルトが得られ、特に電子写真画像形成装置などに用いられる転写ベルトや定着ベルトとして有用である。
【図面の簡単な説明】
【図1】本発明の実施態様であるポリイミドベルトの製造方法の一例を示す説明図
【図2】本発明の実施態様であるポリイミドベルトの塗布状態の一例を示す説明図
【符号の説明】
1 ディスペンサー1
2 ディスペンサー2
3 円筒金型
4 塗膜面
5 第1層
6 第2層
【産業上の利用分野】
本発明は、ポリイミドベルトに関するもので、例えば、複写機、レーザービームプリンター、ファクシミリ等の電子写真画像形成装置に用いられる転写定着装置及びこれに用いられる転写ベルト、定着ベルト、転写定着ベルトとして特に有用である。
【0002】
【従来の技術】
以下、ポリイミドベルトの製造方法に関する従来技術について述べる。
一般に、ポリイミドベルトの成形法としては、
(1)その前駆体であるポリアミド酸溶液を円筒形金型に塗布し、
(2)溶剤を飛ばして成膜した後、
(3)熱的にイミド化する。
方法が採用されている。
【0003】
この場合、ポリアミド酸をイミド化する方法としては、溶媒を蒸発させてから熱的にイミド化する熱イミド化法と、脱水剤と触媒を混合して低温で化学的にイミド化する化学イミド化法が知られている。化学イミド化法ではポリアミド酸の加水分解が少ない上、溶媒が蒸発したときに生ずる配向効果が大きく、物性の良好なフィルムが得られることが知られている。例えば、特許文献1では、脱水剤と触媒を添加してなる樹脂溶液組成物を押出し流延製膜する方法が開示されている。
【0004】
【特許文献1】
特開2002−172637号公報
【0005】
【発明が解決しようとする課題】
しかしながら、上記従来技術では、以下のような課題が生じることがある。
つまり、化学イミド化の場合は、低温でイミド化が進むため、脱水剤と触媒を混合したポリアミド酸溶液を塗布し成膜した時点で固化することから、バッチ式で行わざるを得ないポリイミドベルトの製造には、事実上用いることは不可能であった。また、塗布配管において、ポリアミド酸がゲル化し、配管の狭小や閉塞の可能性があった。
【0006】
本発明は上記問題に対し、機械的強度及び寸法安定性に優れたポリイミドベルトを提供すること、および、化学イミド化法を用いて比較的短時間で、しかも、連続的に製造することが可能なポリイミドベルトの製造方法を提供することを目的とする。
【0007】
【課題を解決するための手段】
本発明者らは、上記課題を解決するために、鋭意研究を重ねた結果、以下に示すにより上記目的を達成できることを見出し、本発明を完成するに到った。
本発明は、ポリイミドベルトの製造方法であって、ポリアミド酸溶液中に脱水剤を含有する塗布用組成物と、ポリアミド酸溶液中に触媒を含有する塗布用組成物を積層塗布し、脱水剤との化学イミド化反応を含むことを特徴とする。本発明によって、塗布配管でのポリアミド酸のゲル化の問題がなく、比較的短時間で製造ができ、しかも、連続的に製造することが可能なポリイミドベルトの製造方法を提供することができる。
【0008】
ここで、上記塗布用組成物を積層塗布し、脱水剤と化学イミド化した後、これを熱的イミド化することが好ましい。ゲル状欠陥を防止しつつ、さらに成膜時に分子鎖に強度がでて配向効果が大きくなり、優れた機械的強度及び寸法安定性を有するポリイミドベルトを提供することができる。
【0009】
また、上記化学イミド化脱水剤が有機カルボン酸無水物であることが好ましい。比較的短時間で化学イミド化ができ、さらに成膜時にできる強固な分子鎖によって、優れた機械的強度及び寸法安定性を有することができる。
【0010】
さらに、上記化学イミド化触媒が3級アミンであることが好ましい。触媒自体の安定性が高く、イミド化の制御が容易で、かつ、急激な反応を生じることがない点において、本発明に好適な触媒であるといえる。
【0011】
また、脱水剤と触媒による化学イミド化反応を含む方法で得られたポリイミドベルトであって、ベルトの機械的物性(強度、伸び、弾性率)が、強度260MPa以上、伸び20%以上、弾性率5000MPa以上をもち、膜厚バラツキが5.0μm以内であることが好ましい。上記の製造方法によって、こうした機械的物性を確保することが可能となり、転写ベルトや定着ベルトなどに適したポリイミドベルトの提供が可能となる。
【0012】
【発明の実施の態様】
以下、本発明の実施の形態について詳細に説明する。
本発明は、ポリイミドベルトの製造方法であって、ポリアミド酸溶液中に脱水剤を含有する塗布用組成物と、ポリアミド酸溶液中に触媒を含有する塗布用組成物を積層塗布し、脱水剤との化学イミド化反応を含むことを特徴とする。つまり、本発明者は、ポリアミド酸溶液中に脱水剤を含有する塗布用組成物と、ポリアミド酸溶液中に触媒を含有する塗布用組成物を積層塗布することで化学イミド化が可能であることを見出した。これによって、塗布配管でのポリアミド酸のゲル化の問題がなく、バッチ式で行わざるを得ないポリイミドベルトの製造を可能とし、更に化学イミド化によりポリイミドベルトを比較的短時間で製造ができこととなった。
【0013】
本発明のポリイミドベルトの製造方法では、このようにポリアミド酸溶液に特定量の脱水剤と触媒とを各々添加、混合してポリアミド酸前駆体溶液と脱水剤との混合組成物(以下「組成物A」という。)、およびポリアミド酸前駆体溶液と触媒との混合組成物(以下「組成物B」という。)を作製し、個々のワニスを積層塗布し成膜して化学イミド化を行う。
【0014】
具体的に、積層塗布を行う方法を図1および図2に示す。
図1は、本発明の適用例として、管状体内壁に積層塗布する方法を模式的に表した図であり、2つのディスペンサー1および2から組成物Aおよび組成物Bを円筒金型3の内壁つまり、塗膜面4に塗布し、両組成物を積層する。いずれのディスペンサーからいずれの組成物を吐出するかは任意であるが、ここでは、ディスペンサー1から組成物Aを吐出し、塗膜面4に直接接する第1層として組成物Aを塗布する場合を具体例として説明する。
(1)ディスペンサー1から組成物Aを、塗膜面4に向けて吐出する。つまり、第1層が塗布される。
(2)同時に、円筒金型3をほぼ等速回転しながら徐々にディスペンサー1および2から遠のく方向にほぼ等速で移動する。このとき、第1層が間断なく且つ重複なく塗布できるように、ディスペンサー1の吐出口の金型3の中心軸方向の幅に合った回転速度および移動速度を設定する。具体的な金型の形状、回転速度、吐出口の幅、移動速度については、実施例を参照願いたい。むろん、ディスペンサー1および2が回転することも可能であり、また、金型3が移動することも可能であることはいうまでもない。
(3)当初に塗布された組成物Aの先端がディスペンサー2まで到達したときに、ディスペンサー2から組成物Bの塗布を始める。このとき、ディスペンサー2の吐出口の幅がディスペンサー1と同じであれば、第2層も間断なく且つ重複なく塗布することができる。図2は、この様子を示しており、金型3の表面に均一に塗布された第1層5の上にディスペンサー2から吐出された組成物が塗布されていき、第2層6が形成されることとなる。
(4)金型3の外側より熱風を所定時間当てて、自己支持性を有するポリイミド膜を形成する。熱風温度は70〜170℃が好ましく、所要時間としては、1〜20分が好ましい。
【0015】
さらに、本発明は、前記塗布用組成物を積層塗布し、脱水剤と化学イミド化した後、これを熱的イミド化することを特徴とする。各塗布用組成物を積層塗布した後に化学イミド化して成膜をした場合には、分子鎖に強度が生じて配向効果が大きくなり、これを溶媒除去、異性体転化させるために熱処理、つまり熱的イミド化することで、従来の完全化学イミド化時の物性より優れた機械的強度及び寸法安定性を有するポリイミドベルトとなることを見出した。
【0016】
具体的には、図2の組成物が塗布された状態において、
(1)上記の自己支持性を有するポリイミド膜を形成した状態で、金型3全体を昇温し、更にその温度で所定時間加熱を行い、溶媒の除去及びイミド転化の完結反応を行う。つまり、加熱処理により完全イミド化され、本発明の目的の機械物性を有するポリイミドベルトが製造される。昇温速度は1〜5℃/minが好ましく、さらに200〜400℃で3〜20分加熱することが好ましい。この温度より高い、または時間が長いと、フィルムの熱劣化が起こりやすくなり、この温度範囲より低い及び/又は時間が短いと機械的強度等の諸特性が低下する傾向にある。
(2)その後室温に戻して、金型3から剥離する。
(3)これを各用途に合った幅にカットし、ポリイミドベルトを得る。
【0017】
次に各構成物について説明する。ポリアミド酸溶液は、例えば芳香族テトラカルボン酸二無水物と芳香族ジアミン又は脂肪族ジアミンとを有機極性溶媒中で反応させることにより調製することができる。ここで、ポリイミド系樹脂の原料液となるポリアミド酸溶液としては、例えばテトラカルボン酸二無水物やその誘導体とジアミンを溶媒中で重合反応させてなるポリアミド酸の溶液が使用可能である。前記ポリアミド酸はテトラカルボン酸二無水物あるいはその誘導体とジアミンの略等モルを有機溶媒中で反応させることにより得られるもので、通常、溶液状で用いられる。このようなテトラカルボン酸二無水物は、例えば下記の一般式(化1)で示される。
【化1】
式中、Rは4価の有機基であり、芳香族、脂肪族、環状脂肪族、芳香族と脂肪族を組み合せたもの、またはそれらの置換された基である。
【0018】
前記したテトラカルボン酸二無水物の具体例としては、ピロメリット酸二無水物、3,3’ 4,4’ −ベンゾフェノンテトラカルボン酸二無水物、3,3’ ,4,4’ −ビフェニルテトラカルボン酸二無水物、2,3,3’ ,4−ビフェニルテトラカルボン酸二無水物、2,3,6,7−ナフタレンテトラカルボン酸二無水物、1,2,5,6−ナフタレンテトラカルボン酸二無水物、1,4,5,8−ナフタレンテトラカルボン酸二無水物、2,2’−ビス(3,4−ジカルボキシフェニル)プロパン二無水物、ビス(3,4−ジカルボキシフェニル)スルホン二無水物、ペリレン−3,4,9,10−テトラカルボン酸二無水物、ビス(3,4−ジカルボキシフェニル)エーテル二無水物、エチレンテトラカルボン酸二無水物等が挙げられる。
【0019】
一方、ジアミンの例としては、4,4’ −ジアミノジフェニルエーテル、4,4’ −ジアミノジフェニルメタン、3,3’ −ジアミノジフェニルメタン、3,3’ −ジクロロベンジジン、4,4’ −ジアミノジフェニルスルフィド、3,3’ −ジアミノジフェニルスルフォン、1,5−ジアミノナフタレン、m−フェニレンジアミン、p−フェニレンジアミン、3,3’ −ジメチル−4,4’ −ビフェニルジアミン、ベンジジン、3,3’ −ジメチルベンジジン、3,3’ −ジメトキシベンジジン、4,4’ −ジアミノフェニルスルフォン、4,4’ −ジアミノフェニルスルフィド、4,4’ −ジアミノジフェニルプロパン、2,4−ビス(β−アミノ−第三ブチル)トルエン、ビス(p−β−アミノ−第三ブチルフェニル)エーテル、ビス(p−β−メチル−σ−アミノフェニル)ベンゼン、ビス−p−(1,1−ジメチル−5−アミノ−ペンチル)ベンゼン、1−イソプロピル−2,4−m−フェニレンジアミン、m−キシリレンジアミン、p−キシリレンジアミン、ジ(p−アミノシクロヘキシル)メタン、ヘキサメチレンジアミン、ヘプタメチレンジアミン、オクタメチレンジアミン、ノナメチレンジアミン、デカメチレンジアミン、ジアミノプロピルテトラメチレン、3−メチルへプタメチレンジアミン、4,4−ジメチルヘプタメチレンジアミン、2,11−ジアミノドデカン、1,2−ビス−3−アミノプロポキシエタン、2,2−ジメチルブロピレンアミン、3−メトキシヘキサメチレンジアミン、2,5−ジメチルヘキサメチレンジアミン、2,5−ジメチルヘプタメチレンジアミン、3−メチルへプタメチレンジアミン、5−メチルノナメチレンジアミン、2,11−ジアミノドデカン、2,17−ジアミノエイコサデカン、1,4−ジアミノシクロヘキサン、1,10−ジアミノ−1,10−ジメチルデカン、1,12−ジアミノオクタデカン、2,2−ビス[4−(4−アミノフェノキシ)フェニル]プロパン、ピペラジン
H2 N(CH2 )3 O(CH2 )2 O(CH2 )NH2 、
H2 N(CH2 )3 S(CH2 )3 NH2
H2 N(OH2 )3 N(CH2 )2 (OH2 )3 NH2 、
等が挙げられる。
【0020】
また、芳香族ジアミンとしては、例えば4,4’ −ジアミノジフェニルエーテル、4,4’ −ジアミノジフェニルメタン、4,4’ −ジアミノジフェニルエタン、4,4’ −ジアミノジフェニルプロパン、4,4’ −ジアミノジフェニルスルホン、4,4’ −ジアミノジフェニルスルフィド、m−フェニレンジアミン、p−フェニレンジアミン、m−トルイレンジアミン、p−トルイレンジアミン、ベンチジン、1,5−ジアミノナフタレンなどが挙げられる。
【0021】
さらに、脂肪族ジアミンとしては、例えば、ヘキサメチレンジアミン、ヘプタメチレンジアミン、オクタメチレンジアミン、ノナメチレンジアミン、デカメチレンジアミン、ジアミノプロピル、テトラメチレンジアミン、3−メチルへプタメチレンジアミン、4,4−ジメチル−ヘプタビス−(3−アミノプロポキシメタン)、2,2−ジメチルプロピレンジアミン、3−メトキシヘキサメチレンジアミン、2,5−ジメチルヘキサメチレンジアミン、2,5−ジメチルヘプタメチレンジアミン、3−メチルへプタメチレンジアミン、5−メチルノナメチレンジアミン、2,11−ジアミノドデカン、1,4−ジアミノシクロヘキサン、1,10−ジアミノ−1,10−ジメチルデカン、1,12−ジアミノオクタデカン、4,4’ −ジアミノ−3,3’ −ジメチルジシクロヘキシン、4,4’ −ジアミノジシクロヘキシルメタン、4,4’ −ジアミノジシクロヘキサン、1,4−シクロヘキサンビス(メチルアミン)などが挙げられる。
【0022】
上記したテトラカルボン酸二無水物とジアミンを重合反応させる際の溶媒として適宜なものを用いうるが、溶解性等の点により極性溶媒が好ましい。例としては、N,N−ジアルキルアミド類が有用で、例えば低分子量のものであるN,N−ジメチルホルムアミド、N,N−ジメチルアセトアミド等が挙げられる。これらは、蒸発、置換または拡散によりポリアミド酸およびポリアミド酸成形品から容易に除去することができる。また、上記以外の有機極性溶媒として、N,N−ジエチルホルムアミド、N,N−ジエチルアセトアミド、N,N−ジメチルメトキシアセトアミド、ジメチルスルホキシド、ヘキサメチルホスホルトリアミド、N−メチル−2−ピロリドン、ピリジン、ジメチルスルホキシド、テトラメチレンスルホン、ジメチルテトラメチレンスルホン等が挙げられる。これらは単独で使用してもよいし、併せて用いても差し支えない。さらに、上記有機極性溶媒にクレゾール、フェノール、キシレノール等のフェノール類、ベンゾニトリル、ジオキサン、ブチロラクトン、キシレン、シクロヘキサン、ヘキサン、ベンゼン、トルエン等を単独でもしくは併せて混合することもできる。なお、水の存在によってポリアミド酸が加水分解して低分子量化するため、ポリアミド酸の合成は実質上無水条件下で行うことが好ましい。
【0023】
上記のテトラカルボン酸二無水物(a)とジアミン(b)とを有機極性溶媒中で反応させることによりポリアミド酸が得られる。その際のモノマー濃度(溶媒中における(a)+(b)の濃度)は、種々の条件に応じて設定されるが、5〜30重量%が好ましい。また、反応温度は80℃以下に設定することが好ましく、特に好ましくは5〜50℃であり、反応時間は0.5〜10時間である。
【0024】
このようにして酸二無水物成分とジアミン成分とを有機極性溶媒中で反応させることによりポリアミド酸が生成し、その反応の進行に伴い溶液粘度が上昇する。本発明ではこの現象を利用して、導電性フィラーを含有するポリアミド酸溶液のB型粘度計における25℃の粘度を1〜1000Pa・sに調整することができる。また、前記モノマー濃度による調整も可能である。
【0025】
ここで、フィルム表面の滑性を良くするためにシリカ、アルミナ、リン酸カルシウム等のフィラーを混合できる。
【0026】
また、導電性を出すためにケッチェンブラックやアセチレンブラック等のカーボンブラック、アルミニウムやニッケルのような金属、酸化錫のような酸化金属化合物、チタン酸カリウム等の導電性粉末、あるいはポリアニリンやポリアセチレンのような導電性ポリマー等の適宜なものの1種又は2種以上を用いることができる。
【0027】
本発明では、上記ポリアミド酸溶液に脱水剤、触媒を各々混合し「組成物A」および「組成物B」を製造する。個々の樹脂溶液組成物を積層することで化学イミド化反応によりポリイミドとしつつ、ベルトを成形する。
【0028】
用いられる脱水剤は、例えば、有機カルボン酸無水物、N,N’ −ジアルキルカルボジイミド類、低級脂肪酸ハロゲン化物、ハロゲン化低級脂肪酸無水物、アリールホスホン酸ジハロゲン化物、及びチオニルハロゲン化物が挙げられ、これらのなかで、有機カルボン酸無水物が好ましい。
有機カルボン酸無水物として、例示すると、無水酢酸、プロピオン酸無水物、酪酸無水物、吉草酸無水物、及びこれらの分子間無水物、有機カルボン酸無水物の混合物を含む。また、芳香族モノカルボン酸例えば安息香酸、ナフトエ酸等の無水物、これらの混合物および有機カルボン酸無水物の混合物、及び炭酸及び蟻酸並びに脂肪族ケテン類(ケテン、及びジメチルケテン)の無水物、これらの混合物および有機カルボン酸無水物などが挙げられる。これらのなかで、無水酢酸が好ましい。
【0029】
脱水剤の量は、最終的に塗布されるポリアミド酸溶液のポリアミド1モルに対して0.2〜4モルが好ましく、特には1〜3モルであることが好ましい。脱水剤の量が最終的に塗布されるポリアミド酸溶液のポリアミド1モルに対して0.5モルより少ない場合には、イミド化反応が十分に進行せず、得られるポリイミドベルトの機械物性が大きく低下する。一方、脱水剤の量が4モルより多い場合には、化学イミド化が急激に進み、配管内や塗布途中でのゲル化が起こる。また、余分な脱水剤を蒸発させるためにベルト温度を上げる必要があるため、結果として得られるポリイミドフィルムの機械物性が大きく低下する。
【0030】
また、本発明に用いられる化学イミド化触媒としては、第3級アミンが好ましく、トリメチルアミン、トリエチルアミン、トリエチレンジアミン、ピリジン、ピコリン、キノリン、イソキノリン、ルチジン等が挙げられ、さらに好ましくは、ピリジン、β−ピコリン、γ−ピコリン、キノリン、イソキノリンが挙げられる。
【0031】
また、化学イミド化触媒の量は、最終的に塗布されるポリアミド酸溶液のポリアミド1モルに対してモル比で0.1〜2モル、さらに好ましくは0.2〜1モルである。化学イミド化触媒の量がポリアミド酸溶液のポリアミド1モルに対してモル比で0.1モルより少ない場合には、得られるポリイミドベルトの機械物性が大きく低下する。一方、化学イミド化触媒を2モルを超える量添加しても、イミド化の効果は2モルのものと大きく変化せず、むしろ、2モルを超える分フィルム中に化学イミド化触媒が残留し、ベルト工程ラインを汚染したり、余分なイミド化触媒を蒸発させるためにベルト温度を上げる必要があるため2モル以下が好ましい。
【0032】
脱水剤および化学的イミド化触媒で構成される化学イミド化剤は、ポリアミック酸ワニスに直接添加してもよいが、ポリアミック酸ワニスとの混合を容易にするため、有機溶媒に溶解して用いてもよい。用いる有機溶媒としては、N,N−ジメチルホルムアミド、N,N−ジメチルアセトアミド、N,N−ジエチルホルムアミド、N,N−ジエチルアセトアミド、N−メチルメトキシアセトアミド、N−メチルーカプロラクタム、N−メチル−2−ピロリドン、テトラメチル尿素等が挙げられ、ベンゼン、ベンゾニトリル、ジオキサン、キシレン、トルエンおよび、シクロヘキサン等を組み合わせて用いることもできる。
【0033】
上記方法において、ポリアミド酸溶液と化学イミド化剤を混合した樹脂溶液組成物のノズル中での粘度は、25℃で500Pa・s以下が好ましく、さらに300Pa・s以下が好ましく、特に好ましくは10〜100Pa・sである。この範囲を超える粘度であると膜厚のばらつきが顕著に高くなり、また泡の巻き込み現象が起こりやすくなり好ましくない。一方、樹脂溶液組成物の粘度が10Pa・s未満であると、ノズルを用いた塗布方法を用いる本発明においては、安定的に製膜することが困難になる。なお、この粘度はB型粘度計で測定した値である。このノズル中の粘度は、ポリアミド酸溶液と化学イミド化剤を混合した直後での粘度を測定したものである。
【0034】
また、ポリアミド酸溶液と化学イミド化剤を混合した樹脂溶液組成物のノズル中での温度は、25℃以下、好ましくは0℃〜15℃である。25℃を超えた場合、塗布膜に部分的イミド化が発生しベルトにゲル状欠陥が生じ不良になる問題が起こる。また、0℃を下まわる温度では、吐出の制御が困難になる。
【0035】
発明にかかる方法で製造することができるポリイミドフィルムの厚みは、特に限定されず、通常約5〜250μm程度の範囲で実施することができるが、好ましくは約5〜100μm範囲の厚みのものに適用される。熱イミド化では、熱によるポリアミド酸溶液粘度低下が起こるため厚みバラツキが発生し問題となるが、化学イミド化剤を用いれば熱がかかることで反応が進み、しかも短時間で固化するため厚みバラツキが5μm以下と、厚みバラツキの小さいポリイミドベルトを得ることができる。
【0036】
また、本発明は、脱水剤と触媒による化学イミド化反応を含む方法で得られたポリイミドベルトであって、ベルトの機械的物性(強度、伸び、弾性率)が、強度260MPa以上、伸び20%以上、弾性率5000MPa以上であることが好ましい。こうした機械的物性は、上記の製造方法のより好適な条件下において得られる特性であるとともに、特に電子写真画像形成装置などに用いられる転写ベルトや定着ベルトとして必要とされる特性でもあり、本発明の目的に合致したベルトとなる。
ここで、強度、伸び、弾性率は、JIS K6301に準じて測定を行った結果をいい、3号ダンベルの打ち抜き試験片(幅5mm)について調べた。
【0037】
以上、本発明にかかるポリイミドベルトおよびその製造方法について説明したが、むろん、本発明はこれに限定されることはない。
【0038】
【実施例】
以下、本発明を実施例および比較例を挙げてさらに具体的に説明する。ただし、これら各実施例・比較例は、本発明を制限するものではない。
【0039】
脱水剤の添加量は、個々のポリアミド酸前駆体溶液のポリアミド酸1モルに対して0.4〜8モル、好ましくは2〜6モルである。脱水剤の添加量が0.4モルより少ないと化学イミド化による効果が得られず、8モルを超えると室温下で数分の内にゲル化してしまう。
また、触媒の添加量としては、ポリアミド酸前駆体溶液のポリアミド酸1単位に対して0.2〜4モル好ましくは0.4〜2モルである。触媒の添加量が0.2モルより少ないと触媒の効果が十分ではなく、4モルを超えて添加しても効果は変わりない。
【0040】
<実施例1>
1674gのNMPに3,3’ ,4,4’ −ビフェニルテトラカルボン酸二無水物294.2gとp−フェニレンジアミン108.2gを溶解し、窒素雰囲気中において、室温で4時間撹拌しながら反応させて、ポリアミド酸溶液(ポリイミド換算で固形分量約20重量%)を得た。
上記ポリアミド酸溶液500gにポリアミド1モルに対してNMP64gに溶解した無水酢酸50g(4モル)を添加し、ポリアミド酸液a(ポリイミド換算で固形分量約16重量%)を得た。同様にポリアミド1モルに対してNMP51gに溶解したインキノリン64g(2モル)入りポリアミド酸溶液b(ポリイミド換算で固形分量約16重量%)を作製した。内径300mm、長さ500mmの金型の内面に上記a液をディスペンサー1で塗布し、その上にディスペンサー2で上記b液を同様に塗布した。1500rpmで10分間回転させながら、吐出口の幅30mmのディスペンサー1および2を1m/minで移動したとき、均一な塗布面を得た。金型の外側より80℃の熱風を5分間当てた後、300℃まで2℃/minの昇温速度で昇温し、更に300℃で10分間加熱し、溶媒の除去及びイミド転化の完結反応を行った。その後室温に戻し、金型から剥離し目的とするポリイミドベルトを得た。この総厚は80μmであった。
上記方法で24時間連続的に生産しベルトにゲル状欠陥はなく問題は発生しなかった。また、上記ベルトの機械的物性(強度、伸び、弾性率)は、強度270MPa、伸び20%、弾性率6000MPa、膜厚バラツキが5.0μmであった。
【0041】
<比較例1>
ポリアミド酸溶液(ポリイミド換算で固形分量約20重量%)1000gにポリアミド1モルに対してNMP64gに溶解した無水酢酸50g(2モル)を添加し、次にNMP51gに溶解したインキノリン64g(1モル)を混合しポリアミド酸溶液c(ポリイミド換算で固形分量約16重量%)を作製した。
内径300mm、長さ500mmの金型の内面に上記c液をディスペンサー1のみで200μmに塗布した。1500rpmで10分間回転させ、吐出口の幅30mmのディスペンサー1および2を1m/minで移動したとき、均一な塗布面を得た。金型の外側より80℃の熱風を5分間当てた後、300℃まで2℃/minの昇温速度で昇温し、更に300℃で10分間加熱し、溶媒の除去及びイミド転化の完結反応を行った。その後室温に戻し、金型から剥離し目的とするポリイミドベルトを1型分得たが、2型目から塗布面にうろこ状筋が発生、また、ベルトにゲル状欠陥が生じたり、部分イミド化ゲル状物ディスペンサー内で詰まって連続生産はできなかった。
【0042】
<比較例2>
ポリアミド酸溶液(ポリイミド換算で固形分量約20重量%)にNMPを用いて、イミド化剤なしのポリアミド酸溶液(ポリイミド換算で固形分量約16重量%)を作製し上記金型内面にディスペンサー1で厚さ200μmに塗布後、1500rpmで10分間回転させ、吐出口の幅30mmのディスペンサー1および2を1m/minで移動したとき、均一な塗布層を得た。金型の外側より80℃の熱風を30分間当てた後、150℃で60分間加熱し、次いで常温まで冷却した。ポリイミド前駆体皮膜を300℃まで2℃/minの昇温速度で昇温し、更に300℃で30分間加熱し、溶媒の除去、脱水閉環水の除去、及びイミド転化の完結反応を行った。その後室温に戻し、金型から剥離しベルトを得た。この総厚は82μmであった。
上記ベルトの機械的物性(強度、伸び、弾性率)は、強度260MPa、伸び15%、弾性率4700MPa、膜厚バラツキが8.0μmであった。
【0043】
【発明の効果】
本発明によれば、化学イミド化剤を使用し積層塗布することにより、塗布配管でのポリアミド酸のゲル化の問題がなく、バッチ式で行わざるを得ないポリイミドベルトの製造を、比較的短時間で製造することができる。しかも、連続的に製造することが可能なポリイミドベルトの製造方法を提供することができる。
【0044】
また、化学イミド化した後、さらにこれを熱的イミド化することによって、ゲル状欠陥を防止しつつ、さらに成膜時に分子鎖に強度がでて配向効果が大きくなり、これを熱的イミド化することで従来の熱イミド化時の物性より優れた機械的強度と寸法精度を有するポリイミドベルトの性能を損なうことなく、安全で高い生産性を有する製造方法を提供することが可能となる。本発明のポリイミドベルトを用いれば、電子写真複写機、レーザープリンター等の機器の高性能化、長寿命化に寄与することができるので、本発明は、産業上、極めて有用である。
【0045】
また、化学イミド化脱水剤が有機カルボン酸無水物である場合には、比較的短時間で化学イミド化ができ、さらに成膜時にできる強固な分子鎖によって、優れた機械的強度及び寸法安定性を有することができる。
【0046】
さらに、化学イミド化触媒が3級アミンである場合には、触媒自体の安定性が高く、イミド化の制御が容易で、かつ、急激な反応を生じることがない点において、本発明に好適な触媒であるといえる。
【0047】
また、脱水剤と触媒による化学イミド化反応を含む方法で得られたベルトにあっては、所望の機械的物性をもち、膜厚バラツキの小さいベルトが得られ、特に電子写真画像形成装置などに用いられる転写ベルトや定着ベルトとして有用である。
【図面の簡単な説明】
【図1】本発明の実施態様であるポリイミドベルトの製造方法の一例を示す説明図
【図2】本発明の実施態様であるポリイミドベルトの塗布状態の一例を示す説明図
【符号の説明】
1 ディスペンサー1
2 ディスペンサー2
3 円筒金型
4 塗膜面
5 第1層
6 第2層
Claims (5)
- ポリアミド酸溶液中に脱水剤を含有する塗布用組成物と、ポリアミド酸溶液中に触媒を含有する塗布用組成物を積層塗布し、脱水剤との化学イミド化反応を含むことを特徴とするポリイミドベルトの製造方法。
- 前記塗布用組成物を積層塗布し、脱水剤と化学イミド化した後、これを熱的イミド化することを特徴とする請求項1記載のポリイミドベルトの製造方法。
- 化学イミド化脱水剤が有機カルボン酸無水物であることを特徴とする請求項1または2のいずれかに記載のポリイミドベルトの製造方法。
- 化学イミド化触媒が3級アミンであることを特徴とする請求項1〜3のいずれかに記載のポリイミドベルトの製造方法。
- 脱水剤と触媒による化学イミド化反応を含む方法で得られたポリイミドベルトであって、ベルトの機械的物性(強度、伸び、弾性率)が、強度260MPa以上、伸び20%以上、弾性率5000MPa以上をもち、膜厚バラツキが5.0μm以内であることを特徴とするポリイミドベルト。
Priority Applications (1)
| Application Number | Priority Date | Filing Date | Title |
|---|---|---|---|
| JP2003032083A JP2004237694A (ja) | 2003-02-10 | 2003-02-10 | ポリイミドベルトおよびその製造方法 |
Applications Claiming Priority (1)
| Application Number | Priority Date | Filing Date | Title |
|---|---|---|---|
| JP2003032083A JP2004237694A (ja) | 2003-02-10 | 2003-02-10 | ポリイミドベルトおよびその製造方法 |
Publications (1)
| Publication Number | Publication Date |
|---|---|
| JP2004237694A true JP2004237694A (ja) | 2004-08-26 |
Family
ID=32958446
Family Applications (1)
| Application Number | Title | Priority Date | Filing Date |
|---|---|---|---|
| JP2003032083A Pending JP2004237694A (ja) | 2003-02-10 | 2003-02-10 | ポリイミドベルトおよびその製造方法 |
Country Status (1)
| Country | Link |
|---|---|
| JP (1) | JP2004237694A (ja) |
Cited By (4)
| Publication number | Priority date | Publication date | Assignee | Title |
|---|---|---|---|---|
| JP2006091214A (ja) * | 2004-09-22 | 2006-04-06 | Fuji Xerox Co Ltd | 定着装置、ベルト管状体および画像形成装置 |
| JP2008183744A (ja) * | 2007-01-26 | 2008-08-14 | Fuji Xerox Co Ltd | ポリイミド膜及びポリイミド無端ベルト、それらの製造装置及び製造方法、並びに、画像形成装置 |
| JP2010221647A (ja) * | 2009-03-25 | 2010-10-07 | Fuji Xerox Co Ltd | ポリイミド管状成型体およびその製造方法、中間転写ベルト、定着ベルト、ならびに画像形成装置 |
| JP2012086482A (ja) * | 2010-10-21 | 2012-05-10 | Nitto Denko Corp | シームレスベルトの製造方法 |
-
2003
- 2003-02-10 JP JP2003032083A patent/JP2004237694A/ja active Pending
Cited By (4)
| Publication number | Priority date | Publication date | Assignee | Title |
|---|---|---|---|---|
| JP2006091214A (ja) * | 2004-09-22 | 2006-04-06 | Fuji Xerox Co Ltd | 定着装置、ベルト管状体および画像形成装置 |
| JP2008183744A (ja) * | 2007-01-26 | 2008-08-14 | Fuji Xerox Co Ltd | ポリイミド膜及びポリイミド無端ベルト、それらの製造装置及び製造方法、並びに、画像形成装置 |
| JP2010221647A (ja) * | 2009-03-25 | 2010-10-07 | Fuji Xerox Co Ltd | ポリイミド管状成型体およびその製造方法、中間転写ベルト、定着ベルト、ならびに画像形成装置 |
| JP2012086482A (ja) * | 2010-10-21 | 2012-05-10 | Nitto Denko Corp | シームレスベルトの製造方法 |
Similar Documents
| Publication | Publication Date | Title |
|---|---|---|
| JP5347306B2 (ja) | シームレスベルト | |
| JP2017149796A (ja) | ポリイミド前駆体組成物、及びポリイミド前駆体組成物の製造方法 | |
| JP2017052877A (ja) | ポリイミド前駆体組成物、ポリイミド前駆体組成物の製造方法、及びポリイミド成形体の製造方法 | |
| TWI677520B (zh) | 聚醯亞胺膜之製造方法及其利用 | |
| JP5136441B2 (ja) | アミド酸オリゴマー溶液組成物を用いたポリイミド膜の製造方法、及びアミド酸オリゴマー溶液組成物 | |
| JP5326253B2 (ja) | ポリイミド膜の製造方法、及び芳香族ポリイミド | |
| JP2002256085A (ja) | 易滑性ポリイミドフィルムおよびその製造方法 | |
| JP4967853B2 (ja) | ポリイミドフィルムの製造方法 | |
| JP2010085450A (ja) | シームレスベルトおよびシームレスベルトの製造方法 | |
| JP4852287B2 (ja) | 芳香族ポリイミドフィルム | |
| JP2004237694A (ja) | ポリイミドベルトおよびその製造方法 | |
| JP2006133510A (ja) | 半導電性ポリイミドベルトおよびその製造方法 | |
| JP5220576B2 (ja) | ポリイミド樹脂製ベルト及びその製造方法 | |
| JP2008201940A (ja) | 低熱収縮性ポリイミドフィルムおよびその製造方法 | |
| JP2007063492A (ja) | 欠陥の少ないポリイミドフィルム | |
| JP5672210B2 (ja) | ポリアミック酸微粒子の製造方法およびポリイミド微粒子の製造方法 | |
| JP5196344B2 (ja) | ポリイミドフィルムの接着性を向上させる方法 | |
| JP2002322298A (ja) | ポリイミドフィルムおよびそのポリイミドフィルムを用いたフレキシブルプリント基板 | |
| JP2002283366A (ja) | ポリイミドベルトの製造方法 | |
| TW202106763A (zh) | 聚醯胺酸溶液及其製造方法、聚醯亞胺膜、積層體及其製造方法、以及可撓性裝置 | |
| JP4942378B2 (ja) | ポリイミド樹脂の製造方法 | |
| JP2003345084A (ja) | ポリイミド樹脂製ベルト | |
| JP2014148126A (ja) | ポリイミドフィルムの製造方法 | |
| JP2006137884A (ja) | ポリイミドフィルムの製法 | |
| JP2003255726A (ja) | 半導電性ベルト及びその製造方法 |
