EP4255840B1 - Aufzugsystem mit einem montagebügel - Google Patents
Aufzugsystem mit einem montagebügel Download PDFInfo
- Publication number
- EP4255840B1 EP4255840B1 EP21819858.8A EP21819858A EP4255840B1 EP 4255840 B1 EP4255840 B1 EP 4255840B1 EP 21819858 A EP21819858 A EP 21819858A EP 4255840 B1 EP4255840 B1 EP 4255840B1
- Authority
- EP
- European Patent Office
- Prior art keywords
- shaft
- door
- elevator
- mounting bracket
- floor
- Prior art date
- Legal status (The legal status is an assumption and is not a legal conclusion. Google has not performed a legal analysis and makes no representation as to the accuracy of the status listed.)
- Active
Links
Images
Classifications
-
- B—PERFORMING OPERATIONS; TRANSPORTING
- B66—HOISTING; LIFTING; HAULING
- B66B—ELEVATORS; ESCALATORS OR MOVING WALKWAYS
- B66B19/00—Mining-hoist operation
- B66B19/002—Mining-hoist operation installing or exchanging guide rails
-
- B—PERFORMING OPERATIONS; TRANSPORTING
- B66—HOISTING; LIFTING; HAULING
- B66B—ELEVATORS; ESCALATORS OR MOVING WALKWAYS
- B66B7/00—Other common features of elevators
- B66B7/02—Guideways; Guides
- B66B7/023—Mounting means therefor
- B66B7/024—Lateral supports
Definitions
- the invention relates to an elevator system with a mounting bracket fixed in the area of a door-side shaft wall of an elevator system.
- Elevator systems include an elevator car, which is usually arranged so that it can move along a vertically aligned elevator shaft.
- Guide rails are arranged along the elevator shaft to guide the elevator car.
- the guide rails essentially consist of individual guide rail segments, which are fixed in the elevator shaft using mounting brackets.
- EP 1 321 416 discloses a guide rail arrangement for elevators with such a mounting bracket.
- This mounting bracket has a U-shape, with the crossbar of the mounting bracket being fixed to the door-side shaft wall.
- the mounting bracket has two legs that extend from the ends of the crossbar into the elevator shaft. Guide rails or guide rail segments are attached to these legs. Both the crossbar and the legs are therefore arranged within the cross-sectional area of the elevator shaft, which reduces the free cross-sectional area of the elevator shaft suitable for the elevator car to move.
- the cross-sectional area of the elevator shaft is understood below to mean the area for the cavity defined by the elevator shaft, seen in plan view or in the vertical direction. The often rectangular cross-sectional area of the elevator shaft is limited by the shaft walls.
- the invention is based on the object of proposing an elevator system whose installation ensures increased safety for the installer.
- an elevator system with a mounting bracket fixed in the area of the door-side shaft wall, wherein guide rails for guiding an elevator car arranged in an elevator shaft can be or are fixed to the mounting bracket, wherein the mounting bracket is preferably fixed by means of at least one Floor fixing section for fixing the mounting bracket is fixed or can be fixed, wherein the floor fixing section is arranged or can be arranged on a horizontal surface of the floor.
- the invention is based on the finding that only the arrangement of the shaft doors is decisive for the positioning of all essential components of the elevator car that affect the mobility of the elevator car. Accordingly, the mounting bracket for fixing the guide rails in the elevator shaft must be aligned with respect to the installed or to be installed shaft door. Consequently, it is sufficient that the mounting bracket is connected or connectable, in particular fixed or fixable, exclusively in an area of the essentially horizontally aligned floor area.
- the fitter can fix the mounting bracket exclusively from the floor surface, which allows additional safety measures, for example closing the wall opening between the floor and the elevator shaft intended for the installation of the shaft door, for example by inserting an additional barricade device that is different from a shaft door. This can prevent the fitter from entering or possibly falling into the elevator shaft. In other words, it is not necessary for the fitter to carry out work in the elevator shaft itself to fix the mounting bracket.
- the fixing of the mounting bracket to the horizontal surface of the floor can be designed in such a way that the mounting bracket is or can be fixed directly to the concrete of the floor. In order to make this floor level for later use of the building, the fixing of the mounting bracket and the part of the mounting bracket located in the vertical alignment of the floor can essentially be cast into the screed, for example.
- the mounting bracket comprises a cross member and two side members extending preferably at right angles from the cross member, wherein a first of the side members is arranged at a first end of the cross member and the second of the side members is arranged at the second end of the cross member and the cross member is arranged substantially within the floor (and more precisely within the cross-sectional area of the floor) or can be arranged.
- the cross-sectional area of the floor below means the area seen in plan view or in the vertical direction that is occupied by the floor.
- the cross-sectional area of the floor does not refer to a hollow space.
- the floor or the cross-sectional area of the floor therefore also determines the floor-side area that passengers can walk on, which ends at the shaft wall on the door side. Accordingly, fixing the mounting bracket exclusively to the horizontal section of the floor means that the cross member takes up almost no cross-sectional area of the elevator shaft itself. In other words, this means that the cross member essentially does not protrude into the cross-sectional area of the elevator shaft.
- the main components (i.e. the cross member, the side member(s)) of the mounting bracket can have the following purpose:
- the cross member which includes at least one floor fixing section, is used to attach the mounting bracket to the elevator shaft.
- the guide rails are fixed or can be fixed to the side members.
- the cross member can have a bevel as a stop to the door-side shaft wall, which bevel is preferably arranged or can be arranged at the end of the floor that is delimited by the elevator shaft.
- the bevel which preferably extends horizontally between the side supports, can close the cross member off from the elevator shaft.
- the bevel can therefore be the only segment of the cross member that - at least in the installed state - is located or arranged within the cross-sectional area of the elevator shaft.
- the mounting bracket can be designed as an integral part or can be made up of several elements that can be fixed together.
- the side supports and the cross member can be made up of connectable elements.
- the side supports can be arranged or can be arranged within the cross-sectional area of the elevator shaft.
- guide rails can be fixed within the cross-sectional area of the elevator shaft, for example at the ends of the side supports arranged in the elevator shaft, and only the components of the mounting bracket required for positioning can be arranged within the cross-sectional area of the elevator shaft.
- the at least one floor fixing section is designed such that the mounting bracket is adjustably fixable or adjustably fixed.
- Adjustably fixable or fixed means that such pre-fixing is possible before a final alignment and subsequent final fixing of the mounting bracket. For example, this can be achieved by means of a screw connection that allows a horizontal sliding movement of the mounting bracket in its pre-fixed state.
- the floor fixing section designed as a passage opening, for example, can be designed larger than the dimensions of the screw required by means of which the mounting bracket is or can be fastened to the floor.
- a base plate designed like a washer causes a pre-fixing or final fixing of the mounting bracket to the floor due to the degree of its pressure on the mounting bracket by means of the screw.
- Such adjustability enables the mounting bracket to be pre-fixed to the floor and then aligned and finally fixed in the elevator shaft using alignment elements that can be arranged in the elevator shaft.
- the mounting bracket has at least one adjustment point for aligning the mounting bracket within the elevator system.
- Such an adjustment point can, for example, be designed as a passage point for a directing element running within the elevator system, for example a plumb line or a laser beam. Consequently, the adjustment point, when installed in the elevator system, is designed within the cross-section of the elevator shaft. In other words, this adjustment point is designed outside the vertical alignment of the shaft floor.
- the mounting bracket preferably has two adjustment points. In this way, the preferably pre-fixed mounting bracket can be finally aligned in the elevator shaft using directing elements. Finally aligned means that the mounting bracket is in exactly the position that the guide rails or the like to be fixed to the mounting bracket. Guide rail segments ensure that the elevator car, which can be guided along the guide rails, can be moved within all dimensional tolerances.
- alignment elements are used to correctly align components to be installed in the elevator shaft, such as shaft doors or mounting brackets, with respect to the intended travel direction of the elevator car.
- alignment elements can be formed, for example, by plumb lines or laser beams.
- the mounting bracket has two floor fixing sections.
- the mounting bracket can be fixed to the floor surface using these floor fixing sections. This enables the mounting bracket to be securely fixed in the elevator system.
- the shaft door provided for installation on the mounting bracket comprises at least one door leaf.
- Essential components of the shaft door can comprise this at least one door leaf of this shaft door and/or a door threshold and/or at least one door leaf guide rail for guiding this at least one door leaf.
- the shaft door can contain coupling elements which are required for the mechanical coupling of the car door with the shaft door. These coupling elements can protrude into the cross-sectional area of the elevator shaft.
- FIG. 1 shows an elevator system 1.
- the elevator system 1 comprises an elevator shaft 4.
- the elevator shaft 4 is limited at its lower end by a shaft floor 4.1.
- the elevator shaft 4 is limited at the sides by a door-side shaft wall 6.1. Additional shaft walls 6.2, 6.3 delimiting the elevator shaft 4 can be present.
- the door-side shaft wall 6.1 has several shaft door openings 20.1, 20.2, 20.3, 20.4 or wall openings arranged one above the other, by means of which the elevator shaft 4 is connected to floors 10.1, 10.2, 10.3, 10.4 located one above the other.
- a guide rail 8 is arranged along the alignment of the elevator shaft 4, on which an elevator car 5 can be guided.
- This guide rail 8 is usually formed by several guide rail segments (not shown) arranged one above the other.
- further guide rails can be arranged in the elevator shaft 4 in order to be able to guide the elevator car 5 and, if necessary, a counterweight (not shown) that can be moved in the opposite direction to the elevator car 5.
- a mounting bracket 30 fixed in the elevator system 1 is shown.
- the mounting bracket 30 enables the guide rail 8 to be fixed, in particular a lowest of the guide rail segments belonging to the guide rail 8.
- the elevator system 1 can comprise further such mounting brackets, whereby each of these mounting brackets can be fixed separately on another of the floors 10.2, 10.3, 10.4 located above the lowest floor 10.1.
- the guide rail 8 or the guide rail segment fixed to the mounting bracket 30 can be placed on the shaft floor 4.1, in particular supported by this shaft floor 4.1.
- Figure 2 shows a shaft door opening 20 arranged on a floor 10.
- a shaft door 42 is arranged on this shaft door opening 20.
- the floor 10 comprises a concrete surface 10' and can comprise a walkable tread surface 10" during conventional use of the floor 10, wherein the walkable tread surface 10" can be formed, for example, by adding a screed.
- the mounting bracket 30 for fixing at least one guide rail 8 or at least one guide rail segment is therefore fixed to the floor 10, preferably before the exemplary screed is applied to the concrete surface 10', by means of at least one floor fixing section 31.
- a door threshold 40 can be arranged above the at least one floor fixing section 31, so that the door threshold 40 forms a substantially flat surface with the tread surface 10".
- the door threshold 40 can be integrated into the tread surface 10" in such a way that the tread surface 10" does not form a step or groove or the like.
- Essential components of the shaft door 42 are arranged in the vertical alignment of the floor 10. This means that these essential components of the shaft door 42 are arranged outside the cross-sectional area of the elevator shaft 4.
- the essential components of the shaft door 42 include, for example, the door threshold 40, a door leaf 44 and a guide rail 46 for guiding the door leaf 44.
- the shaft door 42 can also include further door leaves 44, wherein the shaft door 42 can be designed to close centrally or telescopically.
- the shaft door 42 can also comprise coupling elements 47 for mechanical coupling with a coupling unit arranged on the elevator car.
- the elevator car can comprise a car door having a door drive motor.
- This door drive motor is provided, for example, for a synchronous opening/closing of the shaft door coupled to the car door and, if necessary, also for unlocking the car door and/or the shaft door.
- the coupling unit mentioned therefore serves the purpose of establishing an operative connection between the door drive motor and the shaft door 42 with respect to the shaft door 42. Accordingly, such coupling elements 47 protrude into the cross-sectional area of the elevator shaft 4
- FIG. 3 shows such a mounting bracket 30.
- the mounting bracket 30 comprises a cross member 35 and two side supports 36.1, 36.2 that preferably run at right angles to the cross member 35.
- a guide rail 8 is attached or can be attached to the ends of each of these side supports 36.1, 36.2.
- the mounting bracket 30 comprises two floor fixing sections 31.1, 31.2, which are arranged along the cross member 35 for the direct fixing of the cross member 35 on a floor.
- the mounting bracket 30 can be fixed with screws 32.1, 32.2 or similar fastening elements to be anchored in the floor.
- the fixing sections 31.1, 31.2 are each formed by an opening 33.1, 33.2.
- the mounting bracket 30 can be fixed to the floor in an adjustable manner using such an opening 33.1, 33.2. Accordingly, a washer can be used for adjustable fixing.
- Adjustment points 37.1, 37.2 enable adjustment with respect to other mounting brackets 30 arranged in the elevator shaft using, for example, plumb lines or comparable alignment elements such as laser beams suitable for aligning the mounting bracket 30.
- the mounting bracket 30 can be fixed to the floor in an adjustable manner in the horizontal direction R1 or R2. This can be achieved, for example, by the floor fixing sections 31.1, 31.2 being designed as elongated holes or having an oversized dimension compared to the corresponding dimension of the fastening elements 32.1, 32.2 used for fixing.
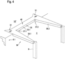
- Figure 4 shows a mounting bracket 30 fixed to a floor.
- the mounting bracket 30 is fixed directly to the concrete floor 10" by means of its cross member 35.
- the cross member 35 can have a bevel 35.1 which can be arranged at the end of the floor which is delimited by the elevator shaft.
- the bevel 35.1 forms a stop towards the door-side shaft wall and can close the cross member towards the elevator shaft.
- the bevel extends in the horizontal direction as can be seen between the side supports 36.1 and 36.2.
Landscapes
- Lift-Guide Devices, And Elevator Ropes And Cables (AREA)
- Elevator Door Apparatuses (AREA)
Description
- Die Erfindung betrifft ein Aufzugsystem mit einem im Bereich einer türseitigen Schachtwand einer Aufzugsanlage fixierten Montagebügel.
- Aufzugsanlagen umfassen eine Aufzugskabine, welche Aufzugskabine üblicherweise entlang eines vertikal ausgerichteten Aufzugsschachtes verfahrbar angeordnet ist. Entlang des Aufzugsschachtes sind Führungsschienen zur Führung der Aufzugskabine angeordnet. Die Führungsschienen bestehen im Wesentlichen aus einzelnen Führungsschienensegmenten, welche mittels Montagebügeln im Aufzugsschacht fixiert sind.
-
EP 1 321 416 offenbart eine Führungsschienenanordnung für Aufzüge mit einem solchen Montagebügel. Dieser Montagebügel weist eine U-Form auf, wobei der Querbalken des Montagebügels an der türseitigen Schachtwand fixiert ist. Darüber hinaus weist der Montagebügel zwei Schenkel auf, die sich von den Enden des Querbalkens in den Aufzugsschacht erstrecken. An diesen Schenkeln sind Führungsschienen bzw. Führungsschienensegmente befestigt. Sowohl der Querbalken als auch die Schenkel sind demnach innerhalb der Querschnittsfläche des Aufzugsschachtes angeordnet, wodurch die freie für eine Verfahrbarkeit der Aufzugskabine geeignete Querschnittsfläche des Aufzugsschachtes verringert wird. Mit Querschnittsfläche des Aufzugsschachtes ist nachfolgend die in der Draufsicht bzw. in vertikaler Richtung gesehene Fläche für den vom Aufzugsschacht vorgegebenen Hohlraum gemeint. Die häufig rechteckige Querschnittsfläche des Aufzugsschachtes ist durch die Schachtwände begrenzt. Darüber hinaus bewirkt eine derartige Fixierbarkeit des Montagebügels an der türseitigen Schachtwand, dass der Monteur die für den Montagebügel notwendigen Installationsarbeiten im Innenraum des Aufzugsschachtes ausführen muss, was die Sicherheit des Monteurs gefährdet. Andere Aufzüge mit Montagebügeln sind ausUS 7 147 086 B2 ,EP 1 812 328 A2 undUS 3 948 358 A bekannt. - Der Erfindung liegt die Aufgabe zugrunde, ein Aufzugsystem vorzuschlagen, dessen Installation eine erhöhte Sicherheit für den Monteur gewährleistet.
- Diese Aufgabe wird gelöst durch ein Aufzugssystem mit einem im Bereich der türseitigen Schachtwand ausgerichtet fixierten Montagebügel, wobei am Montagebügel Führungsschienen zur Führung einer in einem Aufzugsschacht angeordneten Aufzugskabine fixierbar oder fixiert sind, wobei der Montagebügel vorzugsweise mittels mindestens eines Stockwerksfixierungsabschnittes zur Fixierung des Montagebügels fixiert oder fixierbar ist, wobei der Stockwerksfixierungsabschnitt an einer waagerechten Fläche des Stockwerkbodens angeordnet oder anordenbar ist.
- Der Erfindung liegt die Erkenntnis zugrunde, dass lediglich die Anordnung der Schachttüren ausschlaggebend für die Positionierung aller wesentlichen eine Verfahrbarkeit der Aufzugskabine betreffenden Komponenten der Aufzugskabine ist. Demnach ist der Montagebügel zur Fixierung der Führungsschienen im Aufzugsschacht bezüglich der installierten bzw. zu installierenden Schachttür auszurichten. Folglich ist es ausreichend, dass der Montagebügel ausschliesslich in einem Bereich der im Wesentlichen waagerecht ausgerichteten Stockwerksfläche verbunden oder verbindbar, insbesondere fixiert oder fixierbar ist.
- Der Monteur kann die Fixierung des Montagebügels ausschliesslich von der Stockwerksfläche vornehmen, so dass zusätzliche Sicherungsmassnahmen ermöglicht sind, beispielhaft ein Verschliessen des für die Installation der Schachttür vorgesehenen Wanddurchbruches zwischen Stockwerk und Aufzugsschacht, beispielhaft durch Einfügen einer von einer Schachttür verschiedenen zusätzlichen Barrikadevorrichtung. Somit kann ein Eindringen, ggf. Abstürzen des Monteurs in den Aufzugsschacht verhindert werden. Mit anderen Worten ist es nicht notwendig, dass der Monteur im Aufzugsschacht selbst Arbeiten zur Fixierung der Montagebügel vornehmen muss.
- Die Fixierung des Montagebügels an der waagerechten Fläche des Stockwerkbodens kann derart ausgestaltet sein, dass der Montagebügel unmittelbar am Beton des Stockwerkbodens fixiert bzw. fixierbar ist. Um diesen Stockwerkboden für den späteren Gebrauch des Gebäudes eben auszugestalten, kann die Fixierung des Montagebügels und der im in der vertikalen Flucht des Stockwerkbodens befindliche Teil des Montagebügels im Wesentlichen beispielhaft in den Estrich eingegossen sein.
- Der Montagebügel umfasst einen Querträger und zwei vorzugsweise rechtwinklige vom Querträger verlaufende Seitenträger, wobei ein erster der Seitenträger an einem ersten Ende des Querträgers und der zweite der Seitenträger am zweiten Ende des Querträgers angeordnet ist und der Querträger im Wesentlichen innerhalb des Stockwerkbodens (und präziser innerhalb der Querschnittsfläche des Stockwerkbodens) angeordnet oder anordenbar ist. Analog zur vorerwähnten Querschnittsfläche des Aufzugsschachtes ist mit Querschnittsfläche des Stockwerkbodens nachfolgend die in der Draufsicht bzw. in vertikaler Richtung gesehene Fläche gemeint, der vom Stockwerkboden belegt ist. Die Querschnittsfläche des Stockwerkbodens betrifft somit im Gegensatz zur Querschnittsfläche des Aufzugsschachtes keinen Hohlraum. Der Stockwerkboden bzw. die Querschnittsfläche des Stockwerkbodens gibt folglich auch die von Passagieren begehbare stockwerkseitige Fläche vor, die an der türseitigen Schachtwand endet. Demnach ermöglicht eine ausschließliche Fixierung des Montagebügels am waagerechten Abschnitt des Stockwerkbodens, dass der Querträger nahezu keine Querschnittsfläche des Aufzugsschachtes selbst einnimmt. In anderen Worten heisst das, dass der Querträger im Wesentlichen nicht in die Querschnittsfläche des Aufzugsschachtes hineinragt.
- Die Hauptkomponenten (d.h. der Querträger, der oder die Seitenträger) des Montagebügels können folgende Zweck haben: Der den mindestens einen Stockwerksfixierungsabschnitt umfassende Querträger dient zur Befestigung des Montagebügels an den Aufzugsschacht. An die Seitenträger sind die Führungsschienen fixiert oder fixierbar.
- Der Querträger kann eine Abkantung als Anschlag zur türseitigen Schachtwand aufweisen, welche Abkantung vorzugsweise an den durch den Aufzugsschacht begrenzenden Abschluss des Stockwerkbodens angeordnet oder anordenbar ist. Die vorzugsweise zwischen den Seitenträgern sich in horizontaler Richtung erstreckende Abkantung kann den Querträger zum Aufzugsschacht hin abschliessen. Damit kann die Abkantung das einzige Segment des Querträgers sein, das - wenigstens in installiertem Zustand - innerhalb der Querschnittsfläche des Aufzugsschachtes sich befindet bzw. angeordnet ist.
- Der Montagebügel kann integral ausgeführt sein oder aus mehreren zueinander fixierbaren Elementen gebildet sein. Beispielhaft können die Seitenträger und der Querträger durch verbindbare Elemente gebildet sein.
- Jedoch ist es notwendig, dass im Falle einer Anordnung jeweils eines solchen Montagebügels an einer Vielzahl von Schachttüren der Aufzugsanlage alle diese Montagebügel entsprechend einer Verfahrrichtung der Aufzugskabine, üblicherweise vertikal, zueinander ausgerichtet sind. Masstoleranzen bei der Fertigung des Aufzugsschachtes können dann zur Folge haben, dass der Querträger des Montagebügels in die Querschnittsfläche des Aufzugsschachtes hineinragt.
- Die Seitenträger können innerhalb der Querschnittsfläche des Aufzugsschachtes angeordnet oder anordenbar sein. Derart sind Führungsschienen, beispielhaft an den im Aufzugsschacht angeordneten Enden der Seitenträger, innerhalb der Querschnittsfläche des Aufzugsschachtes fixierbar und lediglich die zur Positionierung notwendigen Bestandteile des Montagebügels innerhalb der Querschnittsfläche des Aufzugsschachtes anordenbar.
- Bei einer Weiterbildung des Aufzugssystems ist der mindestens eine Stockwerksfixierungsabschnitt derart ausgebildet, dass der Montagebügel justierbar fixierbar oder justierbar fixiert ist. Justierbar fixierbar bzw. fixiert heisst, dass vor einer abschliessenden Ausrichtung und danach erfolgenden finalen Fixierung des Montagebügels eine solche Vorfixierung ermöglicht ist. Beispielhaft ist dies mittels einer Schraubverbindung erreichbar, die eine horizontale Gleitbewegung des Montagebügels in seinem vorfixierten Zustand ermöglicht. Dabei kann der beispielhaft als Durchtrittsöffnung ausgebildete Stockwerkfixierungsabschnitt grösser ausgebildet sein als es die Abmessung der Schraube erfordert, mittels derer der Montagebügel auf dem Stockwerkboden befestigt bzw. befestigbar ist. Eine gemäss einer Unterlegscheibe ausgebildete Unterlegplatte bewirkt durch den Grad ihrer Anpressung mittels der Schraube an den Montagebügel ein Vorfixierung bzw. finales Fixieren des Montagebügels am Stockwerk. Eine derartige Justierbarkeit ermöglicht ein Vorfixieren des Montagebügels auf dem Stockwerkboden und ein darauffolgendes Ausrichten und abschliessendes Fixieren des Montagebügels im Aufzugsschacht anhand von im Aufzugsschacht anordenbaren Richtelementen.
- Bei einer Weiterbildung des Aufzugssystems weist der Montagebügel mindestens einen Justierpunkt zur Ausrichtung des Montagebügels innerhalb des Aufzugssystems auf. Ein solcher Justierpunkt kann beispielhaft als Durchtrittspunkt für ein innerhalb des Aufzugssystems verlaufendes Richtelement, beispielhaft eine Lotschnur oder ein Laserstrahl ausgebildet sein. Folglich ist der Justierpunkt im im Aufzugssystem installierten Zustand innerhalb des Querschnittes des Aufzugsschachtes ausgebildet. Anders ausgedrückt ist dieser Justierpunkt ausserhalb der vertikalen Flucht des Schachtbodens ausgebildet. Vorzugsweise weist der Montagebügel zwei Justierpunkte auf. Auf diese Weise kann der vorzugsweise vorfixierte Montagebügel final mittels Richtelementen im Aufzugsschacht ausgerichtet werden. Final ausgerichtet heisst, dass der Montagebügel exakt die Position innehat, dass die am Montagebügel zu fixierenden Führungsschienen bzw. Führungsschienensegmente eine Verfahrbarkeit der an den Führungsschienen führbaren Aufzugskabine innerhalb aller Masstoleranzen gewährleistet.
- Solche Richtelemente werden verwendet, um im Aufzugsschacht zu installierende Komponenten wie Schachttüren oder Montagebügel korrekt bezüglich der später vorgesehenen Verfahrrichtung der Aufzugskabine zueinander auszurichten. Derartige Richtelemente können beispielhaft durch Lotschnüre oder Laserstrahlen gebildet sein.
- Bei einer Weiterbildung des Aufzugsystems weist der Montagebügel zwei Stockwerksfixierungsabschnitte auf. Mittels dieser Stockwerkfixierungsabschnitte ist der Montagebügel auf der Stockwerksfläche fixierbar. Somit ist eine gesichert ausgerichtete Fixierung des Montagebügels im Aufzugsystem ermöglicht.
- Bei einer Weiterbildung des Aufzugsystems sind wesentliche Bestandteile der an dem Stockwerkboden angeordneten Schachttür innerhalb der vertikalen Flucht des Stockwerkbodens angeordnet. Das heisst, dass diese wesentlichen Bestandteile der Schachttür im Wesentlichen ausserhalb der Querschnittsfläche des Aufzugsschachtes angeordnet ist. Folglich ergibt sich der Vorteil, dass die Querschnittsfläche des Aufzugsschachtes zum größtmöglichen Teil durch eine Aufzugskabine bzw. zum Verfahren der Aufzugskabine genutzt werden kann. Durch Abwesenheit einerseits von Stockwerksfixierungsabschnitten zur Fixierung des Montagebügels und andererseits wesentlicher Bestandteile der Schachttür innerhalb der Querschnittsfläche des Aufzugsschachtes ist eine solch hohe Nutzung der Querschnittsfläche des Aufzugsschachtes durch die Aufzugskabine umsetzbar.
- Die am Montagebügel zur Installation vorsehbare Schachttür umfasst mindestens ein Türblatt. Wesentliche Bestandteile der Schachttür können dieses mindestens eine Türblatt dieser Schachttür und/oder eine Türschwelle und/oder mindestens eine Türblattführungsschiene zum Führen dieses mindestens einen Türblattes umfassen. Darüber hinaus kann die Schachttür Kopplungselemente enthalten, welche zur mechanischen Kopplung der Kabinentür mit der Schachttür vonnöten sind. Diese Kopplungselemente können in die Querschnittsfläche des Aufzugsschachtes hineinragen.
- Im Folgenden wird die Erfindung anhand von Figuren näher erläutert. Es zeigen:
- Figur 1:
- ein Aufzugsystem mit einer im Aufzugsschacht angeordneten Führungsschiene;
- Figur 2:
- eine an einem Stockwerkboden angeordnete Schachttür und einen Montagebügel;
- Figur 3:
- einen Montagebügel; und
- Figur 4:
- einen am Stockwerkboden fixierten Montagebügel.
-
Figur 1 zeigt ein Aufzugsystem 1. Das Aufzugsystem 1 umfasst einen Aufzugsschacht 4. Der Aufzugsschacht 4 ist an seinem unteren Ende durch eine Schachtboden 4.1 begrenzt. Seitlich ist der Aufzugsschacht 4 durch eine türseitige Schachtwand 6.1 begrenzt. Weitere den Aufzugsschacht 4 begrenzende Schachtwände 6.2, 6.3 können vorhanden sein. Die türseitige Schachtwand 6.1 weist mehrere übereinander angeordnete Schachttüröffnungen 20.1, 20.2, 20.3, 20.4 bzw. Wanddurchbrüche auf, mittels derer der Aufzugsschacht 4 mit übereinanderliegenden Stockwerken 10.1, 10.2, 10.3, 10.4 verbunden ist. - Entlang der Ausrichtung des Aufzugsschachtes 4 ist eine Führungsschiene 8 angeordnet, an welcher eine Aufzugskabine 5 führbar ist. Diese Führungsschiene 8 ist üblicherweise durch mehrere übereinander angeordnete nicht dargestellte Führungsschienensegmente gebildet. Darüber hinaus können weitere Führungsschienen im Aufzugsschacht 4 angeordnet sein, um die Aufzugskabine 5 und gegebenenfalls darüber hinaus ein nicht dargestelltes zur Aufzugskabine 5 gegenläufig verfahrbares Gegengewicht führen zu können.
- Im Bereich des untersten der Stockwerke 10.1 ist ein im Aufzugssystem 1 fixierter Montagebügel 30 dargestellt. Der Montagebügel 30 ermöglicht eine Fixierung der Führungsschiene 8, insbesondere eines untersten der zur Führungsschiene 8 gehörigen Führungsschienensegmente. Das Aufzugssystem 1 kann weitere solcher Montagebügel umfassen, wobei ein jeder dieser Montagebügel separat auf einem anderen der über dem untersten Stockwerk 10.1 liegenden Stockwerke 10.2, 10.3, 10.4 fixiert sein kann. Zur Entlastung des Montagebügels 30 kann die Führungsschiene 8 bzw. das am Montagebügel 30 fixierte Führungsschienensegment auf dem Schachtboden 4.1 aufgestellt, insbesondere durch diesen Schachtboden 4.1 getragen sein.
-
Figur 2 zeigt eine an einem Stockwerkboden 10 angeordnete Schachttüröffnung 20. An dieser Schachttüröffnung 20 ist eine Schachttür 42 angeordnet. Der Stockwerkboden 10 umfasst eine Betonfläche 10' und kann eine bei herkömmlicher Nutzung des Stockwerkes 10 begehbare Trittfläche 10" umfassen, wobei die begehbare Trittfläche 10" beispielhaft durch Eintragen eines Estrichs bildbar ist. - Der Montagebügel 30 zur Fixierung mindestens einer Führungsschiene 8 bzw. mindestens einen Führungsschienensegmentes ist demnach auf dem Stockwerkboden 10, vorzugsweise vor Eintragen des beispielhaften Estrichs auf der Betonfläche 10', mittels mindestens eines Stockwerkfixierungsabschnittes 31 fixiert. Eine Türschwelle 40 kann oberhalb des mindestens einen Stockwerksfixierungsabschnittes 31 angeordnet werden, so dass die Türschwelle 40 mit der Trittfläche 10" eine im Wesentlichen eben verlaufende Fläche ausbildet. Darüber hinaus kann die Türschwelle 40 derart in die Trittfläche 10" integriert sein, dass die Trittfläche 10" keinen Absatz bzw. keine Rille o.ä. ausbildet.
- Aus
Figur 2 ist weiter entnehmbar, dass der beispielsweise durch einen Querträger 35 gebildete Stockwerkfixierungsabschnitt 31 durch einen mit 35.1 bezeichneten Anschlag abgeschlossen ist. Dieser Anschlag 35.1 liegt an der türseitigen Schachtwand an. - In der vertikalen Flucht des Stockwerkbodens 10 sind wesentliche Bestandteile der Schachttür 42 angeordnet. Das heißt, dass diese wesentlichen Bestandteile der Schachttür 42 außerhalb der Querschnittsfläche des Aufzugsschachtes 4 angeordnet sind. Die wesentlichen Bestandteile der Schachttür 42 umfassen beispielhaft die Türschwelle 40, ein Türblatt 44 und eine Führungsschiene 46 zur Führung des Türblattes 44. Die Schachttür 42 kann darüber hinaus weitere Türblätter 44 umfassen, wobei die Schachttür 42 zentral oder teleskopartig schließend ausgestaltet sein kann.
- Die Schachttür 42 kann darüber hinaus beispielhaft Kopplungselemente 47 zur mechanischen Kopplung mit einer an der Aufzugskabine angeordneten Kopplungseinheit umfassen. Demnach kann die Aufzugskabine eine einen Türantriebsmotor aufweisende Kabinentür umfassen. Dieser Türantriebsmotor ist beispielhaft für eine synchrone Öffnung/Schliessung der mit der Kabinentür gekoppelten Schachttür und gegebenenfalls darüber hinaus für eine Entriegelung der Kabinentür und/oder der Schachttür vorgesehen. Die genannte Kopplungseinheit erfüllt demnach bezüglich der Schachttür 42 den Zweck, eine Wirkverbindung zwischen dem Türantriebsmotor und der Schachttür 42 herzustellen. Demnach ragen solche Kopplungselemente 47 in die Querschnittsfläche des Aufzugsschachtes 4.
-
Figur 3 zeigt einen solchen Montagebügel 30. Der Montagebügel 30 umfasst einen Querträger 35 und zwei vorzugsweise rechtwinklig zum Querträger 35 verlaufende Seitenträger 36.1, 36.2. An den Enden dieser Seitenträger 36.1, 36.2 ist jeweils eine Führungsschiene 8 befestigt bzw. befestigbar. - Der Montagebügel 30 umfasst zwei Stockwerkfixierungsabschnitte 31.1, 31.2, welche zur unmittelbaren Fixierung des Querträgers 35 auf einem Stockwerkboden entlang des Querträgers 35 angeordnet sind. Beispielhaft ist der Montagebügel 30 mit im Stockwerkboden zu verankernden Schrauben 32.1, 32.2 oder ähnlichen Befestigungselementen fixierbar.
- Die Fixierungsabschnitte 31.1, 31.2 sind jeweils durch einen Durchbruch 33.1, 33.2 gebildet. Mittels eines solchen Durchbruchs 33.1, 33.2 ist der Montagebügel 30 justierbar auf dem Stockwerkboden fixierbar. Demnach kann eine Unterlegscheibe zur justierbaren Fixierung verwendet werden. Justierpunkte 37.1, 37.2 ermöglichen eine Justierbarkeit bezüglich weiterer im Aufzugsschacht angeordneter Montagebügel 30 mittels beispielhafter Lotschnuren oder vergleichbarer Richtelemente wie zur Ausrichtung des Montagebügels 30 geeigneter Laserstrahlen.
- Der Montagebügel 30 kann in horizontaler Richtung R1 bzw. R2 justierbar auf dem Stockwerkboden fixierbar sein. Dies kann beispielhaft dadurch erreicht werden, dass die Stockwerkfixierungsabschnitte 31.1, 31.2 als Langlöcher ausgebildet sind oder eine überdimensionierte Abmessung im Vergleich zur entsprechenden Abmessung der zur Fixierung verwendeten Befestigungselemente 32.1, 32.2.
-
Figur 4 zeigt einen an einem Stockwerkboden fixierten Montagebügel 30. Der Montagebügel 30 ist mittels seines Querträgers 35 unmittelbar auf dem Betonboden 10" fixiert. Der Querträger 35 kann eine Abkantung 35.1 aufweisen, die an dem durch den Aufzugsschacht begrenzenden Abschluss des Stockwerkbodens anordenbar ist. Die Abkantung 35.1 bildet einen Anschlag zur türseitigen Schachtwand hin und kann den Querträger zum Aufzugsschacht hin abschliessen. Die Abkantung erstreckt sich in horizontaler Richtung ersichtlicherweise zwischen den Seitenträgern 36.1 und 36.2. Bei einer sachgerechten Fixierung des Montagebügels 30 am Stockwerkboden ragt diese Abkantung 35.1 vorzugsweise vertikal nach unten ab, so dass mittels dieser Abkantung 35.1 demnach ein Mindestabstand der am Montagebügel 30 fixierbaren Führungsschiene zum Stockwerkboden einhaltbar ist.
Claims (8)
- Aufzugssystem mit einem im Bereich der türseitigen Schachtwand (6.1) ausgerichtet fixierten Montagebügel (30), wobei am Montagebügel (30) Führungsschienen (8) zur Führung einer in einem Aufzugsschacht (4) angeordneten Aufzugskabine (5) fixierbar oder fixiert sind, wobei der Montagebügel (30) mittels mindestens eines Stockwerksfixierungsabschnittes (31.1, 31.2) zur Fixierung des Montagebügels (30) fixiert oder fixierbar ist, wobei dieser mindestens eine Stockwerksfixierungsabschnitt (31.1, 31.2) an einer waagerechten Fläche des Stockwerkbodens (10.1, 10.2, 10.3, 10.4) fixiert oder fixierbar ist, wobei der Montagebügel (30) einen den mindestens einen Stockwerksfixierungsabschnitt (31.1, 31.2) bildenden Querträger (35) und zwei vorzugsweise rechtwinklige vom Querträger (35) verlaufende Seitenträger (36.1, 36.2) umfasst, wobei ein erster der Seitenträger (36.1) an einem ersten Ende des Querträgers (35) und der zweite der Seitenträger (36.2) am zweiten Ende des Querträgers (36.2) angeordnet ist und der Querträger (35) im Wesentlichen innerhalb des Stockwerkbodens (10.1, 10.2, 10.3, 10.4) angeordnet oder anordenbar ist.
- Aufzugssystem nach Anspruch 1, wobei der Querträger (35) eine Abkantung (35.1) als Anschlag zur türseitigen Schachtwand (6.1) aufweist.
- Aufzugssystem nach Anspruch 2, wobei die Seitenträger (36.1, 36.2) innerhalb der Querschnittsfläche des Aufzugsschachtes (4) angeordnet oder anordenbar sind.
- Aufzugssystem nach einem der vorhergehenden Ansprüche, wobei der mindestens eine Stockwerksfixierungsabschnitt (31.1, 31.2) derart ausgebildet ist, dass der Montagebügel (30) justierbar fixierbar oder justierbar fixiert ist.
- Aufzugssystem nach einem der vorhergehenden Ansprüche, wobei der Montagebügel (30) zwei Stockwerksfixierungsabschnitte (31.1, 31.2) aufweist.
- Aufzugssystem nach einem der vorhergehenden Ansprüche, wobei der Montagebügel (30) mindestens einen Justierpunkt (37.1, 37.2) zur Ausrichtung des Montagebügels innerhalb des Aufzugssystems aufweist
- Aufzugssystem nach einem der vorhergehenden Ansprüche, wobei wesentliche Bestandteile (40, 44, 46) der an dem Stockwerkboden (10.1, 10.2, 10.3, 10.4) angeordneten Schachttür (42) innerhalb der vertikalen Flucht des Stockwerksbodens (10.1, 10.2, 10.3, 10.4) angeordnet sind.
- Aufzugssystem nach Anspruch 7, wobei die Schachttür (42) mindestens ein Türblatt (44) umfasst, und die wesentlichen Bestandteile der Schachttür (42) das mindestens eine Türblatt (44) der Schachttür (42) und/oder eine Türschwelle (40) und/oder mindestens eine Türblattführungsschiene (46) zum Führen des mindestens einen Türblattes (44) umfasst.
Applications Claiming Priority (2)
| Application Number | Priority Date | Filing Date | Title |
|---|---|---|---|
| EP20210965 | 2020-12-01 | ||
| PCT/EP2021/083336 WO2022117496A1 (de) | 2020-12-01 | 2021-11-29 | Aufzugsystem mit einem montagebügel |
Publications (3)
| Publication Number | Publication Date |
|---|---|
| EP4255840A1 EP4255840A1 (de) | 2023-10-11 |
| EP4255840B1 true EP4255840B1 (de) | 2024-11-20 |
| EP4255840C0 EP4255840C0 (de) | 2024-11-20 |
Family
ID=73654710
Family Applications (1)
| Application Number | Title | Priority Date | Filing Date |
|---|---|---|---|
| EP21819858.8A Active EP4255840B1 (de) | 2020-12-01 | 2021-11-29 | Aufzugsystem mit einem montagebügel |
Country Status (6)
| Country | Link |
|---|---|
| US (1) | US20240034596A1 (de) |
| EP (1) | EP4255840B1 (de) |
| JP (1) | JP2023551065A (de) |
| KR (1) | KR20230113308A (de) |
| CN (1) | CN116615386A (de) |
| WO (1) | WO2022117496A1 (de) |
Families Citing this family (4)
| Publication number | Priority date | Publication date | Assignee | Title |
|---|---|---|---|---|
| CN119317589A (zh) * | 2022-06-08 | 2025-01-14 | 因温特奥股份公司 | 电梯系统 |
| WO2023237592A1 (de) * | 2022-06-08 | 2023-12-14 | Inventio Ag | Aufzugssystem |
| WO2024094506A1 (de) | 2022-10-31 | 2024-05-10 | Inventio Ag | Führungsanordnung für einen aufzug |
| WO2025068283A1 (en) * | 2023-09-27 | 2025-04-03 | Inventio Ag | Template for installing elevator hardware in a building |
Citations (1)
| Publication number | Priority date | Publication date | Assignee | Title |
|---|---|---|---|---|
| US7147086B2 (en) * | 2001-12-20 | 2006-12-12 | Inventio Ag | Guide rail arrangement for elevators |
Family Cites Families (22)
| Publication number | Priority date | Publication date | Assignee | Title |
|---|---|---|---|---|
| US103292A (en) * | 1870-05-24 | George w | ||
| US957531A (en) * | 1908-04-24 | 1910-05-10 | Winslow Bros Company | Bracket for structural work. |
| US1051335A (en) * | 1912-04-17 | 1913-01-21 | William Francis King | Dumb-waiter guide. |
| US3601938A (en) * | 1970-01-16 | 1971-08-31 | Charles M Loomis | Universal elevator shaft entrance construction |
| US3741351A (en) * | 1971-03-05 | 1973-06-26 | Westinghouse Electric Corp | Integrated elevator construction |
| US3948358A (en) * | 1974-08-16 | 1976-04-06 | Dover Corporation | Elevator rail mounting bracket |
| IT1285848B1 (it) * | 1996-04-22 | 1998-06-24 | Kone Oy | Soglia per una porta di pianerottolo per un elevatore. |
| US6196356B1 (en) * | 1999-08-24 | 2001-03-06 | Terryle L. Sneed | Method and apparatus for installing elevator car and counterweight guide rails |
| JP2001163548A (ja) * | 1999-12-10 | 2001-06-19 | Toshiba Corp | エレベータ装置 |
| EP1321416A1 (de) | 2001-12-20 | 2003-06-25 | Inventio Ag | Führungsschienenanordnung für Aufzüge |
| US6830133B2 (en) * | 2002-03-06 | 2004-12-14 | Terryle L. Sneed | Connector brackets |
| FI118467B (fi) * | 2002-03-22 | 2007-11-30 | Kone Corp | Hissi ja hissin johdekiinnike |
| JP2004256216A (ja) * | 2003-02-25 | 2004-09-16 | Mitsubishi Electric Corp | エレベーターのかご用ガイドレール芯出し装置及びその芯出し工法 |
| EP1812328B1 (de) * | 2004-11-16 | 2018-09-12 | Otis Elevator Company | Einbau von führungsschiene in einem aufzugssysteme |
| ES2684136T3 (es) * | 2009-03-13 | 2018-10-01 | Otis Elevator Company | Marco de puerta de sistema de ascensor que soporta las guías |
| JP2013049509A (ja) * | 2011-08-30 | 2013-03-14 | Toshiba Elevator Co Ltd | エレベータのガイドレールの心出し治具 |
| JP2013124142A (ja) * | 2011-12-13 | 2013-06-24 | Mitsubishi Electric Corp | エレベータのタイブラケット装置 |
| JP2016102022A (ja) * | 2014-11-28 | 2016-06-02 | 東芝エレベータ株式会社 | エレベータのフェッシャープレート |
| EP3759041B1 (de) * | 2018-02-28 | 2024-10-16 | KONE Corporation | Aufzugsschachttüranordnung und installationsverfahren dafür |
| CN109132815B (zh) * | 2018-09-30 | 2021-04-27 | 日立电梯(中国)有限公司 | 一种嵌入式层门结构及其设置方法 |
| ES2986975T3 (es) * | 2020-03-27 | 2024-11-13 | Inventio Ag | Consola universal y módulo de foso para un sistema de rieles de un sistema de ascensor, sistema de rieles y procedimiento para alinear el sistema de rieles |
| CN119317589A (zh) * | 2022-06-08 | 2025-01-14 | 因温特奥股份公司 | 电梯系统 |
-
2021
- 2021-11-29 US US18/254,387 patent/US20240034596A1/en active Pending
- 2021-11-29 WO PCT/EP2021/083336 patent/WO2022117496A1/de not_active Ceased
- 2021-11-29 JP JP2023533332A patent/JP2023551065A/ja active Pending
- 2021-11-29 CN CN202180080499.XA patent/CN116615386A/zh active Pending
- 2021-11-29 KR KR1020237018192A patent/KR20230113308A/ko active Pending
- 2021-11-29 EP EP21819858.8A patent/EP4255840B1/de active Active
Patent Citations (1)
| Publication number | Priority date | Publication date | Assignee | Title |
|---|---|---|---|---|
| US7147086B2 (en) * | 2001-12-20 | 2006-12-12 | Inventio Ag | Guide rail arrangement for elevators |
Also Published As
| Publication number | Publication date |
|---|---|
| EP4255840C0 (de) | 2024-11-20 |
| EP4255840A1 (de) | 2023-10-11 |
| JP2023551065A (ja) | 2023-12-06 |
| WO2022117496A1 (de) | 2022-06-09 |
| CN116615386A (zh) | 2023-08-18 |
| KR20230113308A (ko) | 2023-07-28 |
| US20240034596A1 (en) | 2024-02-01 |
Similar Documents
| Publication | Publication Date | Title |
|---|---|---|
| EP4255840B1 (de) | Aufzugsystem mit einem montagebügel | |
| EP1080290B1 (de) | Puffervorrichtung | |
| EP0327727B1 (de) | Führungseinrichtung für eine in der Höhe verstellbare Fensterscheibe | |
| EP1930285B1 (de) | Aufzugsanlage mit Sicherheitsvorrichtung an Aufzugstüren | |
| EP1904323B1 (de) | Aggregateträger für eine kraftfahrzeugtür | |
| EP4536577A1 (de) | Aufzugssystem | |
| EP3859107B1 (de) | Schiebetür | |
| WO2023237591A1 (de) | Aufzugssystem | |
| DE102019211790A1 (de) | Barrierefreies Schiebefenster, barrierefreie Schiebetür sowie untere Beschlaganordnung | |
| WO2024199970A1 (de) | Anbauset zum anbauen eines führungsschuhs | |
| EP1313929B1 (de) | Türbefestigung | |
| DE102023117279A1 (de) | Schiebetüranordnung | |
| EP3792396B1 (de) | Rahmen für eine gleiseindeckung für eine feste fahrbahn | |
| DE60013174T2 (de) | Verriegelbare führungseinrichtung zum verschiebbaren aufhängen von aufzugstür en | |
| EP4540163B1 (de) | Schachtmodul zur bildung eines aus aufeinandergesetzten schachtmodulen zusammengesetzten aufzugschachts für eine aufzuganlage | |
| EP1916373A2 (de) | Gebäude-Zwischenwand mit einer Schiebetür aus Ganzglas | |
| EP1321416A1 (de) | Führungsschienenanordnung für Aufzüge | |
| EP1111177A2 (de) | Vorrichtung zur verfahrbaren Anordnung einer Schiebetür an einer Türöffnung | |
| EP1780363A2 (de) | Tor | |
| DE202017102755U1 (de) | Dreipunktlagerung einer Schiebetür | |
| EP4245956A1 (de) | Verriegelungseinrichtung und schiebeanlage | |
| AT502612B1 (de) | Sektionaltor | |
| EP1892151A1 (de) | Schiebetritt zum Einbau in ein Fahrzeug des öffentlichen Personenverkehrs mit einer geneigten Fußbodenfläche | |
| DE102004048924B4 (de) | Vorrichtung zum Heben und Senken einer Fensterscheibe | |
| WO2024223305A1 (de) | Einführhilfe zum einführen einer führungsschiene einer aufzuganlage, fahrkörper für eine aufzuganlage, und verfahren zum anordnen eines fahrkörpers in einem aufzugschacht einer aufzuganlage |
Legal Events
| Date | Code | Title | Description |
|---|---|---|---|
| STAA | Information on the status of an ep patent application or granted ep patent |
Free format text: STATUS: UNKNOWN |
|
| STAA | Information on the status of an ep patent application or granted ep patent |
Free format text: STATUS: THE INTERNATIONAL PUBLICATION HAS BEEN MADE |
|
| PUAI | Public reference made under article 153(3) epc to a published international application that has entered the european phase |
Free format text: ORIGINAL CODE: 0009012 |
|
| STAA | Information on the status of an ep patent application or granted ep patent |
Free format text: STATUS: REQUEST FOR EXAMINATION WAS MADE |
|
| 17P | Request for examination filed |
Effective date: 20230502 |
|
| AK | Designated contracting states |
Kind code of ref document: A1 Designated state(s): AL AT BE BG CH CY CZ DE DK EE ES FI FR GB GR HR HU IE IS IT LI LT LU LV MC MK MT NL NO PL PT RO RS SE SI SK SM TR |
|
| DAV | Request for validation of the european patent (deleted) | ||
| DAX | Request for extension of the european patent (deleted) | ||
| GRAP | Despatch of communication of intention to grant a patent |
Free format text: ORIGINAL CODE: EPIDOSNIGR1 |
|
| STAA | Information on the status of an ep patent application or granted ep patent |
Free format text: STATUS: GRANT OF PATENT IS INTENDED |
|
| INTG | Intention to grant announced |
Effective date: 20240716 |
|
| GRAS | Grant fee paid |
Free format text: ORIGINAL CODE: EPIDOSNIGR3 |
|
| GRAA | (expected) grant |
Free format text: ORIGINAL CODE: 0009210 |
|
| STAA | Information on the status of an ep patent application or granted ep patent |
Free format text: STATUS: THE PATENT HAS BEEN GRANTED |
|
| AK | Designated contracting states |
Kind code of ref document: B1 Designated state(s): AL AT BE BG CH CY CZ DE DK EE ES FI FR GB GR HR HU IE IS IT LI LT LU LV MC MK MT NL NO PL PT RO RS SE SI SK SM TR |
|
| REG | Reference to a national code |
Ref country code: GB Ref legal event code: FG4D Free format text: NOT ENGLISH |
|
| REG | Reference to a national code |
Ref country code: CH Ref legal event code: EP |
|
| REG | Reference to a national code |
Ref country code: DE Ref legal event code: R096 Ref document number: 502021005895 Country of ref document: DE |
|
| REG | Reference to a national code |
Ref country code: IE Ref legal event code: FG4D Free format text: LANGUAGE OF EP DOCUMENT: GERMAN |
|
| U01 | Request for unitary effect filed |
Effective date: 20241127 |
|
| U07 | Unitary effect registered |
Designated state(s): AT BE BG DE DK EE FI FR IT LT LU LV MT NL PT RO SE SI Effective date: 20241204 |
|
| U20 | Renewal fee for the european patent with unitary effect paid |
Year of fee payment: 4 Effective date: 20241202 |
|
| PGFP | Annual fee paid to national office [announced via postgrant information from national office to epo] |
Ref country code: CH Payment date: 20241201 Year of fee payment: 4 |
|
| PG25 | Lapsed in a contracting state [announced via postgrant information from national office to epo] |
Ref country code: IS Free format text: LAPSE BECAUSE OF FAILURE TO SUBMIT A TRANSLATION OF THE DESCRIPTION OR TO PAY THE FEE WITHIN THE PRESCRIBED TIME-LIMIT Effective date: 20250320 Ref country code: HR Free format text: LAPSE BECAUSE OF FAILURE TO SUBMIT A TRANSLATION OF THE DESCRIPTION OR TO PAY THE FEE WITHIN THE PRESCRIBED TIME-LIMIT Effective date: 20241120 |
|
| PG25 | Lapsed in a contracting state [announced via postgrant information from national office to epo] |
Ref country code: ES Free format text: LAPSE BECAUSE OF FAILURE TO SUBMIT A TRANSLATION OF THE DESCRIPTION OR TO PAY THE FEE WITHIN THE PRESCRIBED TIME-LIMIT Effective date: 20241120 |
|
| PG25 | Lapsed in a contracting state [announced via postgrant information from national office to epo] |
Ref country code: NO Free format text: LAPSE BECAUSE OF FAILURE TO SUBMIT A TRANSLATION OF THE DESCRIPTION OR TO PAY THE FEE WITHIN THE PRESCRIBED TIME-LIMIT Effective date: 20250220 |
|
| PG25 | Lapsed in a contracting state [announced via postgrant information from national office to epo] |
Ref country code: GR Free format text: LAPSE BECAUSE OF FAILURE TO SUBMIT A TRANSLATION OF THE DESCRIPTION OR TO PAY THE FEE WITHIN THE PRESCRIBED TIME-LIMIT Effective date: 20250221 |
|
| PG25 | Lapsed in a contracting state [announced via postgrant information from national office to epo] |
Ref country code: PL Free format text: LAPSE BECAUSE OF FAILURE TO SUBMIT A TRANSLATION OF THE DESCRIPTION OR TO PAY THE FEE WITHIN THE PRESCRIBED TIME-LIMIT Effective date: 20241120 |
|
| PG25 | Lapsed in a contracting state [announced via postgrant information from national office to epo] |
Ref country code: RS Free format text: LAPSE BECAUSE OF FAILURE TO SUBMIT A TRANSLATION OF THE DESCRIPTION OR TO PAY THE FEE WITHIN THE PRESCRIBED TIME-LIMIT Effective date: 20250220 |
|
| PG25 | Lapsed in a contracting state [announced via postgrant information from national office to epo] |
Ref country code: SM Free format text: LAPSE BECAUSE OF FAILURE TO SUBMIT A TRANSLATION OF THE DESCRIPTION OR TO PAY THE FEE WITHIN THE PRESCRIBED TIME-LIMIT Effective date: 20241120 |
|
| PG25 | Lapsed in a contracting state [announced via postgrant information from national office to epo] |
Ref country code: SK Free format text: LAPSE BECAUSE OF FAILURE TO SUBMIT A TRANSLATION OF THE DESCRIPTION OR TO PAY THE FEE WITHIN THE PRESCRIBED TIME-LIMIT Effective date: 20241120 |
|
| PG25 | Lapsed in a contracting state [announced via postgrant information from national office to epo] |
Ref country code: CZ Free format text: LAPSE BECAUSE OF FAILURE TO SUBMIT A TRANSLATION OF THE DESCRIPTION OR TO PAY THE FEE WITHIN THE PRESCRIBED TIME-LIMIT Effective date: 20241120 |
|
| PG25 | Lapsed in a contracting state [announced via postgrant information from national office to epo] |
Ref country code: MC Free format text: LAPSE BECAUSE OF FAILURE TO SUBMIT A TRANSLATION OF THE DESCRIPTION OR TO PAY THE FEE WITHIN THE PRESCRIBED TIME-LIMIT Effective date: 20241120 |
|
| PLBE | No opposition filed within time limit |
Free format text: ORIGINAL CODE: 0009261 |
|
| STAA | Information on the status of an ep patent application or granted ep patent |
Free format text: STATUS: NO OPPOSITION FILED WITHIN TIME LIMIT |
|
| 26N | No opposition filed |
Effective date: 20250821 |
|
| PG25 | Lapsed in a contracting state [announced via postgrant information from national office to epo] |
Ref country code: IE Free format text: LAPSE BECAUSE OF NON-PAYMENT OF DUE FEES Effective date: 20241129 |
|
| REG | Reference to a national code |
Ref country code: CH Ref legal event code: U11 Free format text: ST27 STATUS EVENT CODE: U-0-0-U10-U11 (AS PROVIDED BY THE NATIONAL OFFICE) Effective date: 20251201 |