EP2932878B1 - Zwei saugströme erzeugendes reinigungsgerät - Google Patents

Zwei saugströme erzeugendes reinigungsgerät Download PDF

Info

Publication number
EP2932878B1
EP2932878B1 EP15163448.2A EP15163448A EP2932878B1 EP 2932878 B1 EP2932878 B1 EP 2932878B1 EP 15163448 A EP15163448 A EP 15163448A EP 2932878 B1 EP2932878 B1 EP 2932878B1
Authority
EP
European Patent Office
Prior art keywords
flow
suction
cleaning device
pressure
air flow
Prior art date
Legal status (The legal status is an assumption and is not a legal conclusion. Google has not performed a legal analysis and makes no representation as to the accuracy of the status listed.)
Active
Application number
EP15163448.2A
Other languages
English (en)
French (fr)
Other versions
EP2932878A1 (de
Inventor
Nazli Eidmohammadi
Christian Stehl
Alexander Siegfanz
Sabrina HOFFMANN
Miron SERNECKI
Current Assignee (The listed assignees may be inaccurate. Google has not performed a legal analysis and makes no representation or warranty as to the accuracy of the list.)
Vorwerk and Co Interholding GmbH
Original Assignee
Vorwerk and Co Interholding GmbH
Priority date (The priority date is an assumption and is not a legal conclusion. Google has not performed a legal analysis and makes no representation as to the accuracy of the date listed.)
Filing date
Publication date
Application filed by Vorwerk and Co Interholding GmbH filed Critical Vorwerk and Co Interholding GmbH
Publication of EP2932878A1 publication Critical patent/EP2932878A1/de
Application granted granted Critical
Publication of EP2932878B1 publication Critical patent/EP2932878B1/de
Active legal-status Critical Current
Anticipated expiration legal-status Critical

Links

Images

Classifications

    • FMECHANICAL ENGINEERING; LIGHTING; HEATING; WEAPONS; BLASTING
    • F04POSITIVE - DISPLACEMENT MACHINES FOR LIQUIDS; PUMPS FOR LIQUIDS OR ELASTIC FLUIDS
    • F04FPUMPING OF FLUID BY DIRECT CONTACT OF ANOTHER FLUID OR BY USING INERTIA OF FLUID TO BE PUMPED; SIPHONS
    • F04F5/00Jet pumps, i.e. devices in which flow is induced by pressure drop caused by velocity of another fluid flow
    • F04F5/02Jet pumps, i.e. devices in which flow is induced by pressure drop caused by velocity of another fluid flow the inducing fluid being liquid
    • AHUMAN NECESSITIES
    • A47FURNITURE; DOMESTIC ARTICLES OR APPLIANCES; COFFEE MILLS; SPICE MILLS; SUCTION CLEANERS IN GENERAL
    • A47LDOMESTIC WASHING OR CLEANING; SUCTION CLEANERS IN GENERAL
    • A47L5/00Structural features of suction cleaners
    • A47L5/12Structural features of suction cleaners with power-driven air-pumps or air-compressors, e.g. driven by motor vehicle engine vacuum
    • A47L5/16Structural features of suction cleaners with power-driven air-pumps or air-compressors, e.g. driven by motor vehicle engine vacuum with suction devices other than rotary fans
    • A47L5/18Structural features of suction cleaners with power-driven air-pumps or air-compressors, e.g. driven by motor vehicle engine vacuum with suction devices other than rotary fans with ejectors, e.g. connected to motor vehicle exhaust
    • AHUMAN NECESSITIES
    • A47FURNITURE; DOMESTIC ARTICLES OR APPLIANCES; COFFEE MILLS; SPICE MILLS; SUCTION CLEANERS IN GENERAL
    • A47LDOMESTIC WASHING OR CLEANING; SUCTION CLEANERS IN GENERAL
    • A47L5/00Structural features of suction cleaners
    • A47L5/12Structural features of suction cleaners with power-driven air-pumps or air-compressors, e.g. driven by motor vehicle engine vacuum
    • A47L5/22Structural features of suction cleaners with power-driven air-pumps or air-compressors, e.g. driven by motor vehicle engine vacuum with rotary fans
    • AHUMAN NECESSITIES
    • A47FURNITURE; DOMESTIC ARTICLES OR APPLIANCES; COFFEE MILLS; SPICE MILLS; SUCTION CLEANERS IN GENERAL
    • A47LDOMESTIC WASHING OR CLEANING; SUCTION CLEANERS IN GENERAL
    • A47L7/00Suction cleaners adapted for additional purposes; Tables with suction openings for cleaning purposes; Containers for cleaning articles by suction; Suction cleaners adapted to cleaning of brushes; Suction cleaners adapted to taking-up liquids
    • A47L7/0004Suction cleaners adapted to take up liquids, e.g. wet or dry vacuum cleaners
    • AHUMAN NECESSITIES
    • A47FURNITURE; DOMESTIC ARTICLES OR APPLIANCES; COFFEE MILLS; SPICE MILLS; SUCTION CLEANERS IN GENERAL
    • A47LDOMESTIC WASHING OR CLEANING; SUCTION CLEANERS IN GENERAL
    • A47L7/00Suction cleaners adapted for additional purposes; Tables with suction openings for cleaning purposes; Containers for cleaning articles by suction; Suction cleaners adapted to cleaning of brushes; Suction cleaners adapted to taking-up liquids
    • A47L7/0004Suction cleaners adapted to take up liquids, e.g. wet or dry vacuum cleaners
    • A47L7/0009Suction cleaners adapted to take up liquids, e.g. wet or dry vacuum cleaners with means mounted on the nozzle; nozzles specially adapted for the recovery of liquid
    • AHUMAN NECESSITIES
    • A47FURNITURE; DOMESTIC ARTICLES OR APPLIANCES; COFFEE MILLS; SPICE MILLS; SUCTION CLEANERS IN GENERAL
    • A47LDOMESTIC WASHING OR CLEANING; SUCTION CLEANERS IN GENERAL
    • A47L7/00Suction cleaners adapted for additional purposes; Tables with suction openings for cleaning purposes; Containers for cleaning articles by suction; Suction cleaners adapted to cleaning of brushes; Suction cleaners adapted to taking-up liquids
    • A47L7/0004Suction cleaners adapted to take up liquids, e.g. wet or dry vacuum cleaners
    • A47L7/0023Recovery tanks
    • AHUMAN NECESSITIES
    • A47FURNITURE; DOMESTIC ARTICLES OR APPLIANCES; COFFEE MILLS; SPICE MILLS; SUCTION CLEANERS IN GENERAL
    • A47LDOMESTIC WASHING OR CLEANING; SUCTION CLEANERS IN GENERAL
    • A47L9/00Details or accessories of suction cleaners, e.g. mechanical means for controlling the suction or for effecting pulsating action; Storing devices specially adapted to suction cleaners or parts thereof; Carrying-vehicles specially adapted for suction cleaners
    • AHUMAN NECESSITIES
    • A47FURNITURE; DOMESTIC ARTICLES OR APPLIANCES; COFFEE MILLS; SPICE MILLS; SUCTION CLEANERS IN GENERAL
    • A47LDOMESTIC WASHING OR CLEANING; SUCTION CLEANERS IN GENERAL
    • A47L9/00Details or accessories of suction cleaners, e.g. mechanical means for controlling the suction or for effecting pulsating action; Storing devices specially adapted to suction cleaners or parts thereof; Carrying-vehicles specially adapted for suction cleaners
    • A47L9/10Filters; Dust separators; Dust removal; Automatic exchange of filters
    • A47L9/14Bags or the like; Rigid filtering receptacles; Attachment of, or closures for, bags or receptacles
    • A47L9/1409Rigid filtering receptacles

Definitions

  • the invention relates to a cleaning device with an air flow generator for generating an air flow, which generate a first suction flow in a direction of flow of the air flow upstream of the air flow generator, opening into a first header first suction line and a pressure flow in a arranged in the flow direction of the air flow behind the air flow generator pressure line can.
  • Such a cleaning device according to the preamble of claim 1 is in the EP-A1806086 disclosed.
  • Such cleaning devices are known as dry or wet vacuum cleaners, as handheld devices or self-propelled robots.
  • a mechanical air flow generator which is usually formed by an electric motor driven impeller, an air flow is generated. Upstream of the air flow generator forms a suction flow, through a suction line, solid or liquid particles can be absorbed by a surface and collected in a first collection. Downstream of the air flow generator, a pressure flow is formed, which usually leaves the device from an outlet device.
  • the invention has for its object to further develop the cleaning device described above advantageous use and in particular to expand the range of use of the device with simple means.
  • a second suction flow can be generated in addition to the first suction flow. While in the air flow generator in operation, the first suction flow flows through a first suction line, which opens into a first reservoir, flows through the second suction a second suction line, which opens into a second reservoir.
  • hydrodynamic means provided with which the air flow of the air flow generator can generate the second suction flow.
  • This preferably takes place in that the kinetic energy of the second suction flow can be obtained from the kinetic energy of the pressure flow.
  • the kinetic energy of the second suction flow can be removed from the kinetic energy of the pressure flow.
  • This is furthermore preferably carried out by means of a hydromechanical device, in particular a nozzle arrangement and particularly preferably a venturi nozzle arrangement.
  • the air flow can be generated in a known manner by a mechanical air flow generator, for example by an impeller driven by an electric motor.
  • the pressure flow generated by the air flow generator enters from a pressure outlet nozzle into a suction channel of a second cleaning unit, so that the pressure flow exits in the extension direction of the suction channel.
  • the pulse of the pressure flow emerging from the pressure-flow outlet opening is transmitted to the air within the suction channel surrounding the pressure-flow outlet opening. Due to this impulse transmission, the second suction flow is formed.
  • a first suction flow is generated with only one mechanical air flow generator, with which, for example, dry particles are taken up by a surface and conveyed into a collecting container.
  • the air flow generated by the mechanical air flow generator kinetic energy is removed, so as to generate a second suction flow, for example, the wet particles, in particular droplets on a Surface removed to transport them in a second suction flow associated collecting container.
  • the cleaning device according to the invention is particularly preferably designed as a self-propelled vacuum robot. It may be a floor mop, which has a pure water tank in which the water stored therein is used for humidifying a surface to be cleaned. The moisture can then be sucked out of the first or the second suction flow together with dirt particles dissolved in a moisture film. With the other suction flow is a dry cleaning.
  • a conventional Venturi nozzle arrangement in which the hydromechanical principle is used, that the acceleration of a gas flow reduces the static pressure and that, as a result, a suction flow can be generated.
  • the air flow generated by the air flow generator flows through a nozzle section into which the cross section of the pressure flow channel is reduced.
  • a nozzle section with minimal cross-section opens a suction channel transversely to the air flow.
  • the nozzle cross-section opens, so that the flow velocity of the air flow, which is maximum in the region of the mouth of the suction channel, can decrease.
  • the invention can also be described in that a cleaning device with an air flow generator for generating an air flow is concerned, a first suction flow through a arranged in the flow direction of the air flow upstream of the air flow generator, opening into a first header first suction line and a pressure flow in a flow direction having the air flow behind the air flow generator arranged pressure line.
  • means are provided, with which the air flow generates a second suction flow separated from the first suction flow through a second suction line opening into a second collecting tank.
  • the kinetic energy of the second suction flow is obtained from the kinetic energy of the pressure flow.
  • the cleaning device has a transverse to the flow direction of the pressure flow in a cross-section reduced area of the nozzle assembly opening of a second suction flow-conducting suction channel.
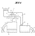
  • FIG. 1 shows essentially elements of a cleaning unit, for example a self-propelled cleaning device in the form of a vacuum robot or a manually movable device.
  • a first suction line 1 has at its free end a nozzle arrangement, not shown, for collecting moisture from a surface.
  • the first suction line 1 opens into a first collecting container 2, in which the moisture can be separated from the air stream; For example, the droplets collect at the bottom of the first reservoir 2.
  • a mechanical air flow generator 3 in the form of a rotary driven by an electric motor impeller generates upstream of the air flow generator 3, a suction flow S 1 , with said liquid particles are conveyed through the first suction line 1.
  • a pressure line 4 In the flow direction of the air flow behind the air flow generator 3 is a pressure line 4, through which the air flow generated by the air flow generator 3 is conveyed as a pressure flow D in a nozzle channel 10.
  • the nozzle channel 10 terminates in a pressure flow outlet opening 9, through which the pressure flow D enters a mixing zone 14 of a suction channel 12.
  • the nozzle channel 10 extends parallel to the extension direction of the suction channel 12 and in the embodiment in its cross-sectional center.
  • the emerging from the pressure flow outlet opening 9 air transfers its momentum in the mixing zone 14 partially to the local air, so that in the suction channel 12 parallel to the emerging from the pressure flow outlet opening 9 compressed air flow directed second suction flow.
  • the suction channel 12 is connected to a second collecting container 6, in which a second suction line 5 opens.
  • the free end of the second suction line 5 is provided with a nozzle arrangement for absorbing solid particles from a surface to be cleaned.
  • the second suction line 5 is flowed through by the second suction stream S 2 .
  • Dust filters, dust bags or the like may be arranged inside the second collecting container 6 in order to filter out the particles in the second suction stream S 2 from the air stream.
  • a dust filter 11 is shown at the inlet opening of the suction channel 12.
  • the air flow generated by the air flow generator 3 mixes in the mixing zone 14 with the second suction flow S 2 .
  • the entire exhaust air flows out through an outlet opening 8 from the cleaning device.
  • the reference numeral 13 denotes a fresh water tank; stored therein fresh water can be used for a wiper device and sucked on the suction line 1.
  • FIG. 2 Also shown only schematically device also shows the technical elements relevant to the invention of a cleaning device, such as a self-propelled robot or manually movable device.
  • a second suction stream S 2 is generated by means of a nozzle assembly 7 from the pressure flow D generated by an air flow generator 3.
  • the pressure flow D is passed through a parallel to a suction channel 12, in the middle of its cross-section nozzle channel 10 into a mixing zone 14 of the suction channel 12, so that upstream of the mixing zone 14, a second suction flow S 2 is formed.
  • the first suction line 1 through which the first suction flow S 1 directly generated by the air flow generator 3 flows, but connected to a collecting container 2, are deposited in the dry particles.
  • the second suction line 5, through which the second suction stream S 2 flows, is connected in this embodiment with a collecting container 6, in which liquid can collect.
  • a fresh water tank 13 is provided so that the device can operate as a wiper device.
  • FIG. 3 schematically shows the structure of a classic Venturi nozzle, which in the embodiments according to the FIGS. 1 and 2 can be used instead of the nozzle assembly shown there.
  • a pressure line 4 which is located downstream of the mechanical air flow generator 3, a pressure flow D.
  • a first nozzle portion 15 of the nozzle assembly 7 decreases due to a conical wall of the nozzle portion 15, the cross-sectional area of the pressure line 4, so that the speed of the pressure flow D. elevated. With this increased speed, the pressure flow D passes through a second nozzle section 15 'with a constant cross-sectional area.
  • this second nozzle portion 15 ' is a transverse to the flow direction of the pressure flow D extending orifice 12' of a suction channel 12, in which a second suction flow S2 is formed.
  • the second nozzle section 15 ' is adjoined by a third nozzle section 15 ", which likewise has cone-shaped nozzle channel walls, so that the cross section of the third nozzle section 15" increases continuously in the flow direction, resulting in a steady decrease in the flow velocity.
  • the third nozzle section 15 forms a mixing zone 14, to which an outlet opening 8 adjoins.
  • a cleaning device which is characterized in that the kinetic energy of the second suction flow S 2 is obtained from the kinetic energy of the pressure flow D.
  • a cleaning device which is characterized in that the means have a nozzle arrangement, wherein the pressure line 4 and a second suction flow S 2 conducting suction channel 12 into the nozzle assembly 7, in particular a Venturi nozzle arrangement, open.
  • a cleaning device which is characterized in that a pressure flow outlet nozzle 9 opens into the suction passage 12 which guides the second suction flow S 2 , through which the pressure flow D emerges in the extension direction of the suction passage 12.
  • a cleaning device which is characterized by a transversely to the flow direction of the pressure flow D in a reduced cross-section area 15 'of the nozzle assembly 7 opening 12' of the second suction flow S 2 conducting suction channel 12th
  • a cleaning device which is characterized in that one of the first and second collecting container 2, 6 for separating dry particles from the first or second suction stream S 1 , S 2 is provided and the respective other collecting container 6, 2 for the separation of droplets from the each other suction stream S 2 , S 1 is provided.
  • a cleaning device which is characterized in that the cleaning device is a self-propelled vacuum cleaner.

Landscapes

  • Engineering & Computer Science (AREA)
  • Mechanical Engineering (AREA)
  • Physics & Mathematics (AREA)
  • Fluid Mechanics (AREA)
  • General Engineering & Computer Science (AREA)
  • Cleaning In General (AREA)
  • Electric Vacuum Cleaner (AREA)
  • Filters For Electric Vacuum Cleaners (AREA)
  • Nozzles (AREA)
  • Cleaning By Liquid Or Steam (AREA)

Description

  • Die Erfindung betrifft ein Reinigungsgerät mit einem Luftstromerzeuger zur Erzeugung eines Luftstroms, der einen ersten Saugstrom in einer in Strömungsrichtung des Luftstroms vor dem Luftstromerzeuger angeordnete, in einen ersten Sammelbehälter mündenden ersten Saugleitung und einen Druckstrom in einer in Strömungsrichtung des Luftstroms hinter dem Luftstromerzeuger angeordneten Druckleitung erzeugen kann.
  • Ein derartiges Reinigungsgerät gemäß dem Oberbegriff von Anspruch 1 ist in der EP-A1806086 offenbart.
  • Derartige Reinigungsgeräte sind als Trocken- oder Nassstaubsauger, als Handgeräte oder selbstfahrende Roboter bekannt. Mit einem mechanischen Luftstromerzeuger, der im Regelfall von einem elektromotorisch angetriebenen Gebläserad ausgebildet wird, wird ein Luftstrom erzeugt. Stromaufwärts des Luftstromerzeugers bildet sich ein Saugstrom aus, durch eine Saugleitung können feste oder flüssige Partikel von einer Oberfläche aufgesaugt werden und in einem ersten Sammelbehälter gesammelt werden. Stromabwärts des Luftstromerzeugers bildet sich ein Druckstrom aus, der zumeist aus einer Austrittseinrichtung das Gerät verlässt.
  • Der Erfindung liegt die Aufgabe zugrunde, das eingangs beschriebene Reinigungsgerät gebrauchsvorteilhaft weiterzubilden und insbesondere mit einfachen Mitteln das Gebrauchsspektrum des Gerätes zu erweitern. Zur Lösung der Aufgabe wird zunächst und im Wesentlichen vorgeschlagen, dass ergänzend zu dem ersten Saugstrom ein zweiter Saugstrom erzeugt werden kann. Während bei im Betrieb befindlichen Luftstromerzeuger der erste Saugstrom durch eine erste Saugleitung strömt, die in einem ersten Sammelbehälter mündet, durchströmt der zweite Saugstrom eine zweite Saugleitung, die in einen zweiten Sammelbehälter mündet.
  • Es sind Mittel, insbesondere hydrodynamische Mittel, vorgesehen, mit denen der Luftstrom des Luftstromerzeugers den zweiten Saugstrom erzeugen kann. Dies erfolgt bevorzugt dadurch, dass die kinetische Energie des zweiten Saugstroms aus der kinetischen Energie des Druckstroms gewinnbar ist. Die kinetische Energie des zweiten Saugstroms kann der kinetischen Energie des Druckstroms entzogen werden. Dies erfolgt weiter bevorzugt mittels einer hydromechanischen Vorrichtung, insbesondere einer Düsenanordnung und besonders bevorzugt einer Venturi-Düsenanordnung.
  • Die Druckleitung und ein Saugkanal, wobei der Saugkanal mit einer zweiten Saugleitung in Strömungsverbindung steht, münden in die Düsenanordnung.
  • Der Luftstrom kann in bekannter Weise von einem mechanischen Luftstromerzeuger, beispielsweise von einem von einem Elektromotor angetriebenen Gebläserad erzeugt werden. Der von dem Luftstromerzeuger erzeugte Druckstrom tritt aus einer Druckaustrittsdüse in einen Saugkanal eines zweiten Reinigungsaggregates ein, so dass der Druckstrom in Erstreckungsrichtung des Saugkanales austritt. Der Impuls des aus der Druckstrom-Austrittsöffnung heraustretenden Druckstroms wird auf die Luft innerhalb des die Druckstrom-Austrittsöffnung umgebenden Saugkanals übertragen. Aufgrund dieser Impulsübertragung bildet sich der zweite Saugstrom aus.
  • Erfindungsgemäß wird somit mit nur einem mechanischen Luftstromerzeuger ein erster Saugstrom erzeugt, mit dem beispielsweise trockene Partikel von einer Oberfläche aufgenommen werden und in einen Sammelbehälter befördert werden. Dem von dem mechanischen Luftstromerzeuger erzeugten Luftstrom wird Bewegungsenergie entnommen, um damit einen zweiten Saugstrom zu erzeugen, der beispielsweise feuchte Partikel, insbesondere Tröpfchen, an einer Oberfläche entfernt, um sie in einen dem zweiten Saugstrom zugeordneten Sammelbehälter zu transportieren.
  • Es ist aber auch vorgesehen, dass mit dem ersten Saugstrom, der unmittelbar von dem Luftstromerzeuger erzeugt wird, Feuchtigkeit aufgenommen wird und mit dem durch eine Düsenanordnung erzeugten zweiten Saugstrom trockene Partikel aufgesammelt werden.
  • Hinsichtlich des Transports der feuchten oder flüssigen Partikel unter Verwendung von Saugdüsen, Saugschläuchen oder dergleichen kann auf bekannte und bewährte Technologien zurückgegriffen werden. Auch das Ausfiltern der flüssigen oder festen Partikel aus dem ersten oder dem zweiten Saugstrom erfolgt mit den bekannten Vorrichtungen, beispielsweise Staubbeuteln, Staubfiltern oder mittels Schwerkraft oder einer Zentrifugalkraft.
  • Das erfindungsgemäße Reinigungsgerät ist besonders bevorzugt als selbstfahrender Saugroboter ausgebildet. Es kann sich dabei um ein Bodenwischgerät handeln, welches einen Reinwassertank aufweist, bei dem das darin bevorratete Wasser zur Befeuchtung einer zu reinigenden Oberfläche verwendet wird. Die Feuchtigkeit kann dann zusammen mit in einem Feuchtigkeitsfilm gelösten Schmutzpartikeln von dem ersten oder dem zweiten Saugstrom abgesaugt werden. Mit dem jeweils anderen Saugstrom erfolgt eine Trockenreinigung. Zur Erzeugung des zweiten Saugstroms kann eine klassische Venturi-Düsenanordnung verwendet werden, bei der das hydromechanische Prinzip zur Anwendung kommt, dass sich bei einer Beschleunigung eines Gasstroms der statische Druck vermindert und dass dadurch eine Saugströmung erzeugt werden kann. Bei einer derartigen Venturi-Düse durchströmt der von dem Luftstromerzeuger erzeugte Luftstrom einen Düsenabschnitt, in den sich der Querschnitt des Druckstromkanals vermindert. In einen Düsenabschnitt mit minimalem Querschnitt mündet quer zur Luftströmung ein Saugkanal. In Strömungsrichtung hinter dem Saugkanal öffnet sich der Düsenquerschnitt, so dass sich die Strömungsgeschwindigkeit der Luftströmung, die im Bereich der Mündung des Saugkanales maximal ist, vermindern kann.
  • Die Erfindung kann auch dahingehend beschrieben werden, dass ein Reinigungsgerät mit einem Luftstromerzeuger zur Erzeugung eines Luftstroms betroffen ist, der einen ersten Saugstrom durch eine in Strömungsrichtung des Luftstroms vor dem Luftstromerzeuger angeordnete, in einen ersten Sammelbehälter mündenden ersten Saugleitung und einen Druckstrom in einer in Strömungsrichtung des Luftstroms hinter dem Luftstromerzeuger angeordneten Druckleitung aufweist. Zur Lösung kann vorgesehen sein, dass Mittel vorgesehen sind, mit denen der Luftstrom einen vom ersten Saugstrom getrennten zweiten Saugstrom durch eine in einen zweiten Sammelbehälter mündende zweite Saugleitung erzeugt.
  • Bevorzugt ist, dass die kinetische Energie des zweiten Saugstroms aus der kinetischen Energie des Druckstroms gewonnen wird.
  • Es kann vorgesehen sein, dass das Reinigungsgerät eine quer zur Strömungsrichtung des Druckstroms in einen querschnittsverminderten Bereich der Düsenanordnung mündende Öffnung eines den zweiten Saugstrom leitenden Saugkanals aufweist.
  • Ausführungsbeispiele der Erfindung werden nachfolgend anhand beigefügter Zeichnungen erläutert. Es zeigen:
  • Fig. 1
    schematisch den Aufbau eines ersten Ausführungsbeispieles,
    Fig. 2
    schematisch den Aufbau eines zweiten Ausführungsbeispieles und
    Fig. 3
    schematisch den Aufbau einer klassischen Venturi-Düse, die in einer der in den Figuren 1 und 2 dargestellten Ausführungsbeispielen zur Anwendung kommen kann.
  • Die Figur 1 zeigt im Wesentlichen Elemente einer Reinigungseinheit, beispielsweise eines selbstfahrenden Reinigungsgerätes in Form eines Saugroboters oder eines von Hand verfahrbaren Gerätes. Eine erste Saugleitung 1 besitzt an ihrem freien Ende eine nicht dargestellte Düsenanordnung zum Aufsammeln von Feuchtigkeit von einer Oberfläche. Die erste Saugleitung 1 mündet in einen ersten Sammelbehälter 2, in dem sich die Feuchtigkeit vom Luftstrom trennen lässt; beispielsweise sammeln sich die Tröpfchen am Boden des ersten Sammelbehälters 2. Ein mechanischer Luftstromerzeuger 3 in Form eines von einem Elektromotor drehangetriebenen Flügelrades erzeugt stromaufwärts des Luftstromerzeugers 3 einen Saugstrom S1, mit dem besagte Flüssigkeitspartikel durch die erste Saugleitung 1 befördert werden.
  • In Strömungsrichtung des Luftstroms hinter dem Luftstromerzeuger 3 befindet sich eine Druckleitung 4, durch die der vom Luftstromerzeuger 3 erzeugte Luftstrom als Druckstrom D in einen Düsenkanal 10 befördert wird. Der Düsenkanal 10 endet in einer Druckstrom-Austrittsöffnung 9, durch die der Druckstrom D in eine Mischzone 14 eines Saugkanals 12 tritt. Der Düsenkanal 10 erstreckt sich parallel zur Erstreckungsrichtung des Saugkanals 12 und im Ausführungsbeispiel in dessen Querschnittsmitte. Die aus der Druckstrom-Austrittsöffnung 9 heraustretende Luft überträgt ihren Impuls in der Mischzone 14 teilweise an die dortige Luft, so dass sich im Saugkanal 12 eine parallel zum aus der Druckstrom-Austrittsöffnung 9 austretenden Druckluftstrom gerichtete zweite Saugströmung ausbildet.
  • Der Saugkanal 12 ist mit einem zweiten Sammelbehälter 6 verbunden, in dem eine zweite Saugleitung 5 mündet. Das freie Ende der zweiten Saugleitung 5 ist mit einer Düsenanordnung versehen, um feste Partikel von einer zu reinigenden Oberfläche aufzusaugen. Die zweite Saugleitung 5 wird vom zweiten Saugstrom S2 durchströmt.
  • Innerhalb des zweiten Sammelbehälters 6 können Staubfilter, Staubbeutel oder dergleichen angeordnet sein, um die im zweiten Saugstrom S2 befindlichen Partikel aus dem Luftstrom herauszufiltern. Der Übersichtlichkeit halber ist in der Figur 1 lediglich ein Staubfilter 11 an der Eingangsöffnung des Saugkanals 12 dargestellt.
  • Der vom Luftstromerzeuger 3 erzeugte Luftstrom mischt sich in der Mischzone 14 mit dem zweiten Saugstrom S2. Die gesamte Abluft strömt durch eine Austrittsöffnung 8 aus dem Reinigungsgerät heraus. Mit der Bezugsziffer 13 ist ein Frischwassertank bezeichnet; das darin bevorratete Frischwasser kann für eine Wischvorrichtung verwendet werden und über die Saugleitung 1 aufgesaugt werden.
  • Die in der Figur 2 ebenfalls lediglich schematisch dargestellte Vorrichtung zeigt ebenfalls die für die Erfindung relevanten technischen Elemente eines Reinigungsgerätes, beispielsweise eines selbstfahrenden Roboters oder manuell bewegbaren Gerätes. Auch hier wird mittels einer Düsenanordnung 7 aus dem von einem Luftstromerzeuger 3 erzeugten Druckstrom D ein zweiter Saugstrom S2 erzeugt. Auch hier wird der Druckstrom D durch einen parallel zu einem Saugkanal 12, und zwar in dessen Querschnittsmitte verlaufenden Düsenkanal 10 in eine Mischzone 14 des Saugkanales 12 geleitet, so dass stromaufwärts der Mischzone 14 ein zweiter Saugstrom S2 entsteht. Im Unterschied zum ersten Ausführungsbeispiel ist hier die erste Saugleitung 1, durch die der vom Luftstromerzeuger 3 unmittelbar erzeugte erste Saugstrom S1 fließt, aber mit einem Sammelbehälter 2 verbunden, in dem trockene Partikel abgeschieden werden.
  • Die zweite Saugleitung 5, durch die der zweite Saugstrom S2 strömt, ist bei diesem Ausführungsbeispiel mit einem Sammelbehälter 6 verbunden, in dem sich Flüssigkeit sammeln kann. Auch hier ist ein Frischwassertank 13 vorgesehen, so dass die Vorrichtung als Wischvorrichtung arbeiten kann.
  • Die Figur 3 zeigt schematisch den Aufbau einer klassischen Venturi-Düse, die bei den Ausführungsbeispielen gemäß den Figuren 1 und 2 anstelle der dort dargestellten Düsenanordnung verwendet werden kann. In einer Druckleitung 4, die sich stromabwärts des mechanischen Luftstromerzeugers 3 befindet, fließt ein Druckstrom D. In einem ersten Düsenabschnitt 15 der Düsenanordnung 7 vermindert sich zufolge einer konusförmigen Wandung des Düsenabschnittes 15 die Querschnittsfläche der Druckleitung 4, so dass sich die Geschwindigkeit des Druckstroms D erhöht. Mit dieser erhöhten Geschwindigkeit tritt der Druckstrom D durch einen zweiten Düsenabschnitt 15' mit gleichbleibender Querschnittsfläche. In diesem zweiten Düsenabschnitt 15' befindet sich eine quer zur Strömungsrichtung des Druckstroms D sich erstreckende Mündungsöffnung 12' eines Saugkanals 12, in dem sich eine zweite Saugströmung S2 ausbildet. An den zweiten Düsenabschnitt 15' schließt sich ein dritter Düsenabschnitt 15" an, der ebenfalls konusförmige Düsenkanalwände besitzt, so dass sich der Querschnitt des dritten Düsenabschnitts 15" in Strömungsrichtung stetig vergrößert, was eine stetige Abnahme der Strömungsgeschwindigkeit zur Folge hat. Der dritte Düsenabschnitt 15" bildet eine Mischzone 14 aus, an die sich eine Austrittsöffnung 8 anschließt.
  • Die vorstehenden Ausführungen dienen der Erläuterung der von der Anmeldung insgesamt erfassten Erfindungen, die den Stand der Technik zumindest durch die folgenden Merkmalskombinationen jeweils eigenständig weiterbilden, nämlich:
    • Ein Reinigungsgerät, das dadurch gekennzeichnet ist, dass Mittel vorgesehen sind, mit denen der Luftstrom einen vom ersten Saugstrom S1 getrennten zweiten Saugstrom S2 durch eine in einen zweiten Sammelbehälter 6 mündende zweite Saugleitung 5 erzeugt.
  • Ein Reinigungsgerät, das dadurch gekennzeichnet ist, dass die kinetische Energie des zweiten Saugstroms S2 aus der kinetischen Energie des Druckstroms D gewonnen wird.
  • Ein Reinigungsgerät, das dadurch gekennzeichnet ist, dass die Mittel eine Düsenanordnung aufweisen, wobei die Druckleitung 4 und ein den zweiten Saugstrom S2 leitender Saugkanal 12 in die Düsenanordnung 7, insbesondere eine Venturi-Düsenanordnung, münden.
  • Ein Reinigungsgerät, das dadurch gekennzeichnet ist, dass eine Druckstrom-Austrittsdüse 9 in den den zweiten Saugstrom S2 leitenden Saugkanal 12 mündet, durch welche der Druckstrom D in Erstreckungsrichtung des Saugkanals 12 austritt.
  • Ein Reinigungsgerät, das gekennzeichnet ist durch eine quer zur Strömungsrichtung des Druckstroms D in einen querschnittsverminderten Bereich 15' der Düsenanordnung 7 mündende Öffnung 12' eines den zweiten Saugstrom S2 leitenden Saugkanals 12.
  • Ein Reinigungsgerät, das dadurch gekennzeichnet ist, dass einer der ersten und zweiten Sammelbehälter 2, 6 zum Abscheiden von trockenen Partikeln aus dem ersten oder zweiten Saugstrom S1, S2 vorgesehen ist und der jeweils andere Sammelbehälter 6, 2 zum Abscheiden von Tröpfchen aus dem jeweils anderen Saugstrom S2, S1 vorgesehen ist.
  • Ein Reinigungsgerät, das dadurch gekennzeichnet ist, dass das Reinigungsgerät ein selbstfahrender Saugroboter ist. Bezugszeichenliste:
    1 erste Saugleitung D Druckstrom
    2 erster Sammelbehälter S1 erster Saugstrom
    3 Luftstromerzeuger S2 zweiter Saugstrom
    4 Druckleitung
    5 zweite Saugleitung
    6 zweiter Sammelbehälter
    7 Düsenanordnung
    8 Austrittsöffnung
    9 Druckstrom-Austrittsöffnung
    10 Düsenkanal
    11 Staubfilter
    12 Saugkanal
    12' Mündungsöffnung
    13 Frischwassertank
    14 Mischzone
    15 erster Düsenabschnitt
    15' zweiter Düsenabschnitt
    15" dritter Düsenabschnitt

Claims (7)

  1. Reinigungsgerät mit einem Luftstromerzeuger (3) zur Erzeugung eines Luftstroms, der einen ersten Saugstrom (S1) in einer in Strömungsrichtung des Luftstroms vor dem Luftstromerzeuger (3) angeordnete, in einen ersten Sammelbehälter (2) mündenden ersten Saugleitung (1) und einen Druckstrom (D) in einer in Strömungsrichtung des Luftstroms hinter dem Luftstromerzeuger (3) angeordneten Druckleitung (4) erzeugen kann, dadurch gekennzeichnet, dass Mittel vorgesehen sind, mit denen der Luftstrom einen von dem ersten Saugstrom (S1) getrennten zweiten Saugstrom (S2) durch eine in einen zweiten Sammelbehälter (6) mündende zweite Saugleitung (5) erzeugen kann.
  2. Reinigungsgerät nach Anspruch 1, dadurch gekennzeichnet, dass die kinetische Energie des zweiten Saugstroms (S2) aus der kinetischen Energie des Druckstroms (D) gewinnbar ist.
  3. Reinigungsgerät nach einem der vorhergehenden Ansprüche, dadurch gekennzeichnet, dass die Mittel eine Düsenanordnung aufweisen, wobei die Druckleitung (4) und ein den zweiten Saugstrom (S2) leitender Saugkanal (12) in die Düsenanordnung (7), insbesondere eine Venturi-Düsenanordnung, münden.
  4. Reinigungsgerät nach einem der vorhergehenden Ansprüche, dadurch gekennzeichnet, dass eine Druckstrom-Austrittsdüse (9) in den den zweiten Saugstrom (S2) leitenden Saugkanal (12) mündet, durch welche der Druckstrom (D) in Erstreckungsrichtung des Saugkanals (12) austritt.
  5. Reinigungsgerät nach einem der vorhergehenden Ansprüche, dadurch gekennzeichnet, dass der Druckluftstrom eine Strömungsrichtung aufweist und dass eine quer zur Strömungsrichtung des Druckstroms (D) in einen querschnittsverminderten Bereich (15') der Düsenanordnung (7) mündende Öffnung (12') eines den zweiten Saugstrom (S2) leitenden Saugkanals (12) vorgesehen ist.
  6. Reinigungsgerät nach einem der vorhergehenden Ansprüche, dadurch gekennzeichnet, dass einer der ersten und zweiten Sammelbehälter (2, 6) zum Abscheiden von trockenen Partikeln aus dem ersten oder zweiten Saugstrom (S1, S2) vorgesehen ist und der jeweils andere Sammelbehälter (6, 2) zum Abscheiden von Tröpfchen aus dem jeweils anderen Saugstrom (S2, S1) vorgesehen ist.
  7. Reinigungsgerät nach einem der vorhergehenden Ansprüche, dadurch gekennzeichnet, dass das Reinigungsgerät ein selbstfahrender Saugroboter ist.
EP15163448.2A 2014-04-16 2015-04-14 Zwei saugströme erzeugendes reinigungsgerät Active EP2932878B1 (de)

Applications Claiming Priority (1)

Application Number Priority Date Filing Date Title
DE102014105459.8A DE102014105459A1 (de) 2014-04-16 2014-04-16 Zwei Saugströme erzeugendes Reinigungsgerät

Publications (2)

Publication Number Publication Date
EP2932878A1 EP2932878A1 (de) 2015-10-21
EP2932878B1 true EP2932878B1 (de) 2016-11-30

Family

ID=52997226

Family Applications (1)

Application Number Title Priority Date Filing Date
EP15163448.2A Active EP2932878B1 (de) 2014-04-16 2015-04-14 Zwei saugströme erzeugendes reinigungsgerät

Country Status (6)

Country Link
US (1) US9863441B2 (de)
EP (1) EP2932878B1 (de)
JP (1) JP6618264B2 (de)
CN (1) CN104997469B (de)
DE (1) DE102014105459A1 (de)
ES (1) ES2613524T3 (de)

Families Citing this family (8)

* Cited by examiner, † Cited by third party
Publication number Priority date Publication date Assignee Title
US9908155B2 (en) * 2015-08-12 2018-03-06 Jonathan William Smith Vacuum powered surface cleaning apparatus
DE102017208968B4 (de) 2017-05-29 2020-04-16 BSH Hausgeräte GmbH Staubsauger mit abluftbetriebener Strahlpumpe
EP3964115A4 (de) * 2019-05-07 2022-07-06 Jiangsu Midea Cleaning Appliances Co., Ltd. Vorrichtung zur staubabscheidung und reinigungsvorrichtungsanordnung damit
US11202540B2 (en) * 2019-05-29 2021-12-21 Norco Industries, Inc. Wet/dry vacuum device
CN113243839B (zh) * 2021-04-30 2023-01-31 北京顺造科技有限公司 分离组件、污水储存装置、吸取装置和表面清洁设备
WO2023051254A1 (zh) * 2021-09-30 2023-04-06 追觅创新科技(苏州)有限公司 一种箱体及具有其的清洁设备
CN113925388B (zh) * 2021-09-30 2023-03-31 追觅创新科技(苏州)有限公司 一种箱体及清洁设备
CN115886632B (zh) * 2021-09-30 2025-08-01 追觅创新科技(苏州)有限公司 一种箱体及具有其的清洁设备

Family Cites Families (23)

* Cited by examiner, † Cited by third party
Publication number Priority date Publication date Assignee Title
US2863525A (en) * 1956-06-01 1958-12-09 Arsene N Lucian Vacuum cleaner
US3778864A (en) * 1972-04-10 1973-12-18 W Scherer Turbine powered surface vacuum cleaning device
JPS60116958U (ja) * 1984-01-13 1985-08-07 株式会社日立製作所 空気エゼクタ式掃除機
JPS60140627U (ja) * 1984-02-29 1985-09-18 アマノ株式会社 清掃ノズル付き集塵機
CH670197A5 (de) * 1986-05-16 1989-05-31 Siprotech Maschinen & Apparate
US5142730A (en) * 1991-08-22 1992-09-01 Braks Jorma G Liquid spill clean-up devices
JPH07299018A (ja) * 1994-05-10 1995-11-14 Fujitsu General Ltd 床面清掃機
US6049941A (en) * 1998-06-18 2000-04-18 Technical Innovations, Inc. Portable backpack vacuum system
US7299522B1 (en) * 2002-01-25 2007-11-27 Smith Donald A Compressed air vacuum cleaner
US7203994B2 (en) * 2002-01-25 2007-04-17 Smith Donald A Compressed air vacuum cleaner
US6826799B2 (en) * 2002-01-25 2004-12-07 Donald A Smith Smith air vac
CN2650852Y (zh) * 2003-09-03 2004-10-27 酒泉钢铁(集团)有限责任公司 工业吸尘器
WO2006029317A2 (en) * 2004-09-08 2006-03-16 Black & Decker Inc. Removable air filter system for compressors
US7416171B2 (en) * 2005-01-27 2008-08-26 Brice John L Vacuum venturi apparatus and method
KR101329891B1 (ko) * 2005-02-18 2013-11-20 아이로보트 코퍼레이션 습식 및 건식 청소를 위한 자동 표면 청소 로봇
ITPD20050078A1 (it) * 2005-03-16 2006-09-17 Euroflex Srl Scopa a vapore per la pulizia dei pavimenti con getti di vapore regolabili inferiormente e/o in punta e con miscelazione di detersivo
US7410516B2 (en) * 2005-03-17 2008-08-12 Royal Appliance Mfg. Co. Twin cyclone vacuum cleaner
JP4430612B2 (ja) * 2005-12-16 2010-03-10 三星電子株式会社 空気調和装置
KR20070074146A (ko) * 2006-01-06 2007-07-12 삼성전자주식회사 청소기 시스템
US7676965B1 (en) * 2006-02-09 2010-03-16 Guardair Corporation Air powered vacuum apparatus
NZ582896A (en) * 2009-02-05 2011-12-22 John Charles Turner A modular cleaning system adaptable to perform a number of cleaning tasks that can recycle water used
IT1401930B1 (it) * 2010-09-14 2013-08-28 Catalfamo Attrezzatura di aspirazione per dispositivi destinati alla abrasione di superfici di manufatti
DE102011121196B4 (de) * 2011-12-16 2023-10-05 Krahnen Gmbh Nass-Trocken-Kombinationsreinigungsvorrichtung

Non-Patent Citations (1)

* Cited by examiner, † Cited by third party
Title
None *

Also Published As

Publication number Publication date
DE102014105459A1 (de) 2015-10-22
EP2932878A1 (de) 2015-10-21
US20150300376A1 (en) 2015-10-22
ES2613524T3 (es) 2017-05-24
US9863441B2 (en) 2018-01-09
CN104997469B (zh) 2019-07-30
JP6618264B2 (ja) 2019-12-11
JP2015202402A (ja) 2015-11-16
CN104997469A (zh) 2015-10-28

Similar Documents

Publication Publication Date Title
EP2932878B1 (de) Zwei saugströme erzeugendes reinigungsgerät
DE102012211245B4 (de) Staubsauger mit Wirbelabscheider
EP2201879A2 (de) Staubsauger mit Fliehkraftabscheidern
EP3291908B1 (de) Abscheidevorrichtung zum abscheiden von partikeln aus einem luftstrom
DE102005013709A1 (de) Vorrichtung zum Abtrennen von Naßlack-Overspray
DE202013103961U1 (de) Reinigungsvorrichtung zur Nassreinigung von Bodenflächen
DE102016123179A1 (de) Werkzeugmaschine mit Staubsammelvorrichtung
EP3189760A1 (de) Bodenreinigungsmaschine
EP1088508A2 (de) Nassfilter für ein Bodenreinigungsgerät
DE102015007255A1 (de) Saugbagger
EP2527025A1 (de) Abscheidungsvorrichtung zum Abscheiden von Staub
DE19844441A1 (de) Vorrichtung und Verfahren zum Abtrennen von Teilchen aus einem Fluid
DE102015010520A1 (de) Textilmaschine und Verfahren zum Nutzen von Absaugluft an Arbeitsstellen der Textilmaschinen
EP2676593B1 (de) Bodenstaubsauger mit einem in einem Staubsaugergehäuse angeordneten Flüssigkeitsfilter
CH343057A (de) Vorrichtung an einem Fliehkrafttropfenabscheider zur Erleichterung der Bildung von Tropfen aus dem in einem Gasstrom enthaltenen Flüssigkeitsnebel
EP0028741A2 (de) Staubsauger mit einem Staubbeutelraum und axial hinter diesem angeordneten Gebläseaggregat
DE2213276C3 (de) Naßabscheider für in einem Gasstrom suspendierte Teilchen
DE102017208968A1 (de) Staubsauger mit abluftbetriebener Strahlpumpe
DE602004009066T2 (de) Haushaltsstaubsauger
DE3341318A1 (de) Nassabscheider sowie verfahren zur nassabscheidung von in gasen dispergierten schwebestoffen
EP1882778A2 (de) Verfahren und Vorrichtung zum Reinigen von Straßen
DE1107647B (de) Nassabscheider fuer staubhaltige Gase oder Luft
DE2634886A1 (de) Vorrichtung zum entfernen gasfoermiger komponenten und/oder fester verunreinigungen aus einem gasfoermigen mediumstrom und/oder zum abkuehlen des mediumstroms
DE102012107051A1 (de) Reinigungsgerät
DE10311406B4 (de) Filteranordnung

Legal Events

Date Code Title Description
PUAI Public reference made under article 153(3) epc to a published international application that has entered the european phase

Free format text: ORIGINAL CODE: 0009012

AK Designated contracting states

Kind code of ref document: A1

Designated state(s): AL AT BE BG CH CY CZ DE DK EE ES FI FR GB GR HR HU IE IS IT LI LT LU LV MC MK MT NL NO PL PT RO RS SE SI SK SM TR

AX Request for extension of the european patent

Extension state: BA ME

17P Request for examination filed

Effective date: 20160208

RBV Designated contracting states (corrected)

Designated state(s): AL AT BE BG CH CY CZ DE DK EE ES FI FR GB GR HR HU IE IS IT LI LT LU LV MC MK MT NL NO PL PT RO RS SE SI SK SM TR

GRAP Despatch of communication of intention to grant a patent

Free format text: ORIGINAL CODE: EPIDOSNIGR1

INTG Intention to grant announced

Effective date: 20160622

GRAS Grant fee paid

Free format text: ORIGINAL CODE: EPIDOSNIGR3

GRAA (expected) grant

Free format text: ORIGINAL CODE: 0009210

AK Designated contracting states

Kind code of ref document: B1

Designated state(s): AL AT BE BG CH CY CZ DE DK EE ES FI FR GB GR HR HU IE IS IT LI LT LU LV MC MK MT NL NO PL PT RO RS SE SI SK SM TR

REG Reference to a national code

Ref country code: CH

Ref legal event code: EP

Ref country code: GB

Ref legal event code: FG4D

Free format text: NOT ENGLISH

REG Reference to a national code

Ref country code: AT

Ref legal event code: REF

Ref document number: 849009

Country of ref document: AT

Kind code of ref document: T

Effective date: 20161215

REG Reference to a national code

Ref country code: IE

Ref legal event code: FG4D

Free format text: LANGUAGE OF EP DOCUMENT: GERMAN

REG Reference to a national code

Ref country code: DE

Ref legal event code: R096

Ref document number: 502015000345

Country of ref document: DE

PG25 Lapsed in a contracting state [announced via postgrant information from national office to epo]

Ref country code: LV

Free format text: LAPSE BECAUSE OF FAILURE TO SUBMIT A TRANSLATION OF THE DESCRIPTION OR TO PAY THE FEE WITHIN THE PRESCRIBED TIME-LIMIT

Effective date: 20161130

REG Reference to a national code

Ref country code: LT

Ref legal event code: MG4D

REG Reference to a national code

Ref country code: NL

Ref legal event code: MP

Effective date: 20161130

REG Reference to a national code

Ref country code: FR

Ref legal event code: PLFP

Year of fee payment: 3

PG25 Lapsed in a contracting state [announced via postgrant information from national office to epo]

Ref country code: NO

Free format text: LAPSE BECAUSE OF FAILURE TO SUBMIT A TRANSLATION OF THE DESCRIPTION OR TO PAY THE FEE WITHIN THE PRESCRIBED TIME-LIMIT

Effective date: 20170228

Ref country code: GR

Free format text: LAPSE BECAUSE OF FAILURE TO SUBMIT A TRANSLATION OF THE DESCRIPTION OR TO PAY THE FEE WITHIN THE PRESCRIBED TIME-LIMIT

Effective date: 20170301

Ref country code: SE

Free format text: LAPSE BECAUSE OF FAILURE TO SUBMIT A TRANSLATION OF THE DESCRIPTION OR TO PAY THE FEE WITHIN THE PRESCRIBED TIME-LIMIT

Effective date: 20161130

Ref country code: LT

Free format text: LAPSE BECAUSE OF FAILURE TO SUBMIT A TRANSLATION OF THE DESCRIPTION OR TO PAY THE FEE WITHIN THE PRESCRIBED TIME-LIMIT

Effective date: 20161130

REG Reference to a national code

Ref country code: ES

Ref legal event code: FG2A

Ref document number: 2613524

Country of ref document: ES

Kind code of ref document: T3

Effective date: 20170524

PG25 Lapsed in a contracting state [announced via postgrant information from national office to epo]

Ref country code: FI

Free format text: LAPSE BECAUSE OF FAILURE TO SUBMIT A TRANSLATION OF THE DESCRIPTION OR TO PAY THE FEE WITHIN THE PRESCRIBED TIME-LIMIT

Effective date: 20161130

Ref country code: HR

Free format text: LAPSE BECAUSE OF FAILURE TO SUBMIT A TRANSLATION OF THE DESCRIPTION OR TO PAY THE FEE WITHIN THE PRESCRIBED TIME-LIMIT

Effective date: 20161130

Ref country code: RS

Free format text: LAPSE BECAUSE OF FAILURE TO SUBMIT A TRANSLATION OF THE DESCRIPTION OR TO PAY THE FEE WITHIN THE PRESCRIBED TIME-LIMIT

Effective date: 20161130

Ref country code: PT

Free format text: LAPSE BECAUSE OF FAILURE TO SUBMIT A TRANSLATION OF THE DESCRIPTION OR TO PAY THE FEE WITHIN THE PRESCRIBED TIME-LIMIT

Effective date: 20170330

Ref country code: PL

Free format text: LAPSE BECAUSE OF FAILURE TO SUBMIT A TRANSLATION OF THE DESCRIPTION OR TO PAY THE FEE WITHIN THE PRESCRIBED TIME-LIMIT

Effective date: 20161130

PG25 Lapsed in a contracting state [announced via postgrant information from national office to epo]

Ref country code: NL

Free format text: LAPSE BECAUSE OF FAILURE TO SUBMIT A TRANSLATION OF THE DESCRIPTION OR TO PAY THE FEE WITHIN THE PRESCRIBED TIME-LIMIT

Effective date: 20161130

PG25 Lapsed in a contracting state [announced via postgrant information from national office to epo]

Ref country code: RO

Free format text: LAPSE BECAUSE OF FAILURE TO SUBMIT A TRANSLATION OF THE DESCRIPTION OR TO PAY THE FEE WITHIN THE PRESCRIBED TIME-LIMIT

Effective date: 20161130

Ref country code: EE

Free format text: LAPSE BECAUSE OF FAILURE TO SUBMIT A TRANSLATION OF THE DESCRIPTION OR TO PAY THE FEE WITHIN THE PRESCRIBED TIME-LIMIT

Effective date: 20161130

Ref country code: DK

Free format text: LAPSE BECAUSE OF FAILURE TO SUBMIT A TRANSLATION OF THE DESCRIPTION OR TO PAY THE FEE WITHIN THE PRESCRIBED TIME-LIMIT

Effective date: 20161130

Ref country code: SK

Free format text: LAPSE BECAUSE OF FAILURE TO SUBMIT A TRANSLATION OF THE DESCRIPTION OR TO PAY THE FEE WITHIN THE PRESCRIBED TIME-LIMIT

Effective date: 20161130

PG25 Lapsed in a contracting state [announced via postgrant information from national office to epo]

Ref country code: SM

Free format text: LAPSE BECAUSE OF FAILURE TO SUBMIT A TRANSLATION OF THE DESCRIPTION OR TO PAY THE FEE WITHIN THE PRESCRIBED TIME-LIMIT

Effective date: 20161130

Ref country code: BG

Free format text: LAPSE BECAUSE OF FAILURE TO SUBMIT A TRANSLATION OF THE DESCRIPTION OR TO PAY THE FEE WITHIN THE PRESCRIBED TIME-LIMIT

Effective date: 20170228

REG Reference to a national code

Ref country code: DE

Ref legal event code: R097

Ref document number: 502015000345

Country of ref document: DE

PLBE No opposition filed within time limit

Free format text: ORIGINAL CODE: 0009261

STAA Information on the status of an ep patent application or granted ep patent

Free format text: STATUS: NO OPPOSITION FILED WITHIN TIME LIMIT

26N No opposition filed

Effective date: 20170831

PG25 Lapsed in a contracting state [announced via postgrant information from national office to epo]

Ref country code: SI

Free format text: LAPSE BECAUSE OF FAILURE TO SUBMIT A TRANSLATION OF THE DESCRIPTION OR TO PAY THE FEE WITHIN THE PRESCRIBED TIME-LIMIT

Effective date: 20161130

REG Reference to a national code

Ref country code: IE

Ref legal event code: MM4A

PG25 Lapsed in a contracting state [announced via postgrant information from national office to epo]

Ref country code: MC

Free format text: LAPSE BECAUSE OF FAILURE TO SUBMIT A TRANSLATION OF THE DESCRIPTION OR TO PAY THE FEE WITHIN THE PRESCRIBED TIME-LIMIT

Effective date: 20161130

PG25 Lapsed in a contracting state [announced via postgrant information from national office to epo]

Ref country code: LU

Free format text: LAPSE BECAUSE OF NON-PAYMENT OF DUE FEES

Effective date: 20170414

REG Reference to a national code

Ref country code: BE

Ref legal event code: MM

Effective date: 20170430

REG Reference to a national code

Ref country code: FR

Ref legal event code: PLFP

Year of fee payment: 4

PG25 Lapsed in a contracting state [announced via postgrant information from national office to epo]

Ref country code: IE

Free format text: LAPSE BECAUSE OF NON-PAYMENT OF DUE FEES

Effective date: 20170414

PG25 Lapsed in a contracting state [announced via postgrant information from national office to epo]

Ref country code: BE

Free format text: LAPSE BECAUSE OF NON-PAYMENT OF DUE FEES

Effective date: 20170430

PG25 Lapsed in a contracting state [announced via postgrant information from national office to epo]

Ref country code: MT

Free format text: LAPSE BECAUSE OF FAILURE TO SUBMIT A TRANSLATION OF THE DESCRIPTION OR TO PAY THE FEE WITHIN THE PRESCRIBED TIME-LIMIT

Effective date: 20161130

REG Reference to a national code

Ref country code: CH

Ref legal event code: PL

PG25 Lapsed in a contracting state [announced via postgrant information from national office to epo]

Ref country code: CH

Free format text: LAPSE BECAUSE OF NON-PAYMENT OF DUE FEES

Effective date: 20180430

Ref country code: LI

Free format text: LAPSE BECAUSE OF NON-PAYMENT OF DUE FEES

Effective date: 20180430

PG25 Lapsed in a contracting state [announced via postgrant information from national office to epo]

Ref country code: HU

Free format text: LAPSE BECAUSE OF FAILURE TO SUBMIT A TRANSLATION OF THE DESCRIPTION OR TO PAY THE FEE WITHIN THE PRESCRIBED TIME-LIMIT; INVALID AB INITIO

Effective date: 20150414

PG25 Lapsed in a contracting state [announced via postgrant information from national office to epo]

Ref country code: CY

Free format text: LAPSE BECAUSE OF FAILURE TO SUBMIT A TRANSLATION OF THE DESCRIPTION OR TO PAY THE FEE WITHIN THE PRESCRIBED TIME-LIMIT

Effective date: 20161130

PG25 Lapsed in a contracting state [announced via postgrant information from national office to epo]

Ref country code: MK

Free format text: LAPSE BECAUSE OF FAILURE TO SUBMIT A TRANSLATION OF THE DESCRIPTION OR TO PAY THE FEE WITHIN THE PRESCRIBED TIME-LIMIT

Effective date: 20161130

GBPC Gb: european patent ceased through non-payment of renewal fee

Effective date: 20190414

PG25 Lapsed in a contracting state [announced via postgrant information from national office to epo]

Ref country code: GB

Free format text: LAPSE BECAUSE OF NON-PAYMENT OF DUE FEES

Effective date: 20190414

PG25 Lapsed in a contracting state [announced via postgrant information from national office to epo]

Ref country code: TR

Free format text: LAPSE BECAUSE OF FAILURE TO SUBMIT A TRANSLATION OF THE DESCRIPTION OR TO PAY THE FEE WITHIN THE PRESCRIBED TIME-LIMIT

Effective date: 20161130

PG25 Lapsed in a contracting state [announced via postgrant information from national office to epo]

Ref country code: AL

Free format text: LAPSE BECAUSE OF FAILURE TO SUBMIT A TRANSLATION OF THE DESCRIPTION OR TO PAY THE FEE WITHIN THE PRESCRIBED TIME-LIMIT

Effective date: 20161130

Ref country code: IS

Free format text: LAPSE BECAUSE OF FAILURE TO SUBMIT A TRANSLATION OF THE DESCRIPTION OR TO PAY THE FEE WITHIN THE PRESCRIBED TIME-LIMIT

Effective date: 20170330

PGFP Annual fee paid to national office [announced via postgrant information from national office to epo]

Ref country code: CZ

Payment date: 20200403

Year of fee payment: 6

PGFP Annual fee paid to national office [announced via postgrant information from national office to epo]

Ref country code: AT

Payment date: 20200421

Year of fee payment: 6

REG Reference to a national code

Ref country code: AT

Ref legal event code: MM01

Ref document number: 849009

Country of ref document: AT

Kind code of ref document: T

Effective date: 20210414

PG25 Lapsed in a contracting state [announced via postgrant information from national office to epo]

Ref country code: CZ

Free format text: LAPSE BECAUSE OF NON-PAYMENT OF DUE FEES

Effective date: 20210414

Ref country code: AT

Free format text: LAPSE BECAUSE OF NON-PAYMENT OF DUE FEES

Effective date: 20210414

P01 Opt-out of the competence of the unified patent court (upc) registered

Effective date: 20230517

PGFP Annual fee paid to national office [announced via postgrant information from national office to epo]

Ref country code: DE

Payment date: 20250417

Year of fee payment: 11

PGFP Annual fee paid to national office [announced via postgrant information from national office to epo]

Ref country code: ES

Payment date: 20250519

Year of fee payment: 11

PGFP Annual fee paid to national office [announced via postgrant information from national office to epo]

Ref country code: IT

Payment date: 20250430

Year of fee payment: 11

PGFP Annual fee paid to national office [announced via postgrant information from national office to epo]

Ref country code: FR

Payment date: 20250422

Year of fee payment: 11