EP2768081B1 - Structure for connecting wiring conductor - Google Patents

Structure for connecting wiring conductor Download PDF

Info

Publication number
EP2768081B1
EP2768081B1 EP11874076.0A EP11874076A EP2768081B1 EP 2768081 B1 EP2768081 B1 EP 2768081B1 EP 11874076 A EP11874076 A EP 11874076A EP 2768081 B1 EP2768081 B1 EP 2768081B1
Authority
EP
European Patent Office
Prior art keywords
wiring
wiring terminal
hook
wiring conductor
connection structure
Prior art date
Legal status (The legal status is an assumption and is not a legal conclusion. Google has not performed a legal analysis and makes no representation as to the accuracy of the status listed.)
Not-in-force
Application number
EP11874076.0A
Other languages
German (de)
English (en)
French (fr)
Other versions
EP2768081A4 (en
EP2768081A1 (en
Inventor
Shuzo Akiyama
Yasuhiro Hosaka
Tadayuki Fujimoto
Masaaki Tanigawa
Current Assignee (The listed assignees may be inaccurate. Google has not performed a legal analysis and makes no representation or warranty as to the accuracy of the list.)
Mitsubishi Electric Corp
Original Assignee
Mitsubishi Electric Corp
Priority date (The priority date is an assumption and is not a legal conclusion. Google has not performed a legal analysis and makes no representation as to the accuracy of the date listed.)
Filing date
Publication date
Application filed by Mitsubishi Electric Corp filed Critical Mitsubishi Electric Corp
Publication of EP2768081A1 publication Critical patent/EP2768081A1/en
Publication of EP2768081A4 publication Critical patent/EP2768081A4/en
Application granted granted Critical
Publication of EP2768081B1 publication Critical patent/EP2768081B1/en
Not-in-force legal-status Critical Current
Anticipated expiration legal-status Critical

Links

Images

Classifications

    • HELECTRICITY
    • H01ELECTRIC ELEMENTS
    • H01RELECTRICALLY-CONDUCTIVE CONNECTIONS; STRUCTURAL ASSOCIATIONS OF A PLURALITY OF MUTUALLY-INSULATED ELECTRICAL CONNECTING ELEMENTS; COUPLING DEVICES; CURRENT COLLECTORS
    • H01R4/00Electrically-conductive connections between two or more conductive members in direct contact, i.e. touching one another; Means for effecting or maintaining such contact; Electrically-conductive connections having two or more spaced connecting locations for conductors and using contact members penetrating insulation
    • H01R4/28Clamped connections, spring connections
    • H01R4/30Clamped connections, spring connections utilising a screw or nut clamping member
    • H01R4/301Clamped connections, spring connections utilising a screw or nut clamping member having means for preventing complete unscrewing of screw or nut
    • HELECTRICITY
    • H01ELECTRIC ELEMENTS
    • H01RELECTRICALLY-CONDUCTIVE CONNECTIONS; STRUCTURAL ASSOCIATIONS OF A PLURALITY OF MUTUALLY-INSULATED ELECTRICAL CONNECTING ELEMENTS; COUPLING DEVICES; CURRENT COLLECTORS
    • H01R4/00Electrically-conductive connections between two or more conductive members in direct contact, i.e. touching one another; Means for effecting or maintaining such contact; Electrically-conductive connections having two or more spaced connecting locations for conductors and using contact members penetrating insulation
    • H01R4/28Clamped connections, spring connections
    • H01R4/30Clamped connections, spring connections utilising a screw or nut clamping member
    • H01R4/305Clamped connections, spring connections utilising a screw or nut clamping member having means for facilitating engagement of conductive member or for holding it in position
    • HELECTRICITY
    • H01ELECTRIC ELEMENTS
    • H01RELECTRICALLY-CONDUCTIVE CONNECTIONS; STRUCTURAL ASSOCIATIONS OF A PLURALITY OF MUTUALLY-INSULATED ELECTRICAL CONNECTING ELEMENTS; COUPLING DEVICES; CURRENT COLLECTORS
    • H01R11/00Individual connecting elements providing two or more spaced connecting locations for conductive members which are, or may be, thereby interconnected, e.g. end pieces for wires or cables supported by the wire or cable and having means for facilitating electrical connection to some other wire, terminal, or conductive member, blocks of binding posts
    • H01R11/11End pieces or tapping pieces for wires, supported by the wire and for facilitating electrical connection to some other wire, terminal or conductive member
    • H01R11/26End pieces terminating in a screw clamp, screw or nut
    • HELECTRICITY
    • H01ELECTRIC ELEMENTS
    • H01RELECTRICALLY-CONDUCTIVE CONNECTIONS; STRUCTURAL ASSOCIATIONS OF A PLURALITY OF MUTUALLY-INSULATED ELECTRICAL CONNECTING ELEMENTS; COUPLING DEVICES; CURRENT COLLECTORS
    • H01R12/00Structural associations of a plurality of mutually-insulated electrical connecting elements, specially adapted for printed circuits, e.g. printed circuit boards [PCB], flat or ribbon cables, or like generally planar structures, e.g. terminal strips, terminal blocks; Coupling devices specially adapted for printed circuits, flat or ribbon cables, or like generally planar structures; Terminals specially adapted for contact with, or insertion into, printed circuits, flat or ribbon cables, or like generally planar structures
    • H01R12/50Fixed connections
    • H01R12/51Fixed connections for rigid printed circuits or like structures
    • H01R12/53Fixed connections for rigid printed circuits or like structures connecting to cables except for flat or ribbon cables
    • HELECTRICITY
    • H01ELECTRIC ELEMENTS
    • H01RELECTRICALLY-CONDUCTIVE CONNECTIONS; STRUCTURAL ASSOCIATIONS OF A PLURALITY OF MUTUALLY-INSULATED ELECTRICAL CONNECTING ELEMENTS; COUPLING DEVICES; CURRENT COLLECTORS
    • H01R4/00Electrically-conductive connections between two or more conductive members in direct contact, i.e. touching one another; Means for effecting or maintaining such contact; Electrically-conductive connections having two or more spaced connecting locations for conductors and using contact members penetrating insulation
    • H01R4/28Clamped connections, spring connections
    • H01R4/30Clamped connections, spring connections utilising a screw or nut clamping member
    • H01R4/34Conductive members located under head of screw

Definitions

  • Document EP 1 355 368 A2, October 22, 2003 relates to a terminal with a nut-positioning device.
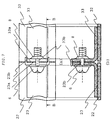
  • the case 2 is provided with a concave portion 2d to store the nut 7.
  • a major portion of the case 2 relevant to the invention alone is shown for ease of description, and other wiring conductors and structure bodies are omitted.
  • the case 2 in which is embedded the wiring conductor 3 is shown by dividing the case 2 to the resin 2a in an upper part and the resin 2b in a lower part for ease of description.
  • the case 2 is actually formed in such a manner that the resins 2a and 2b wrap the wiring conductor 3 by insert-molding and the resins 2a and 2b are indistinguishable.
  • the wiring terminal surface 3a of the wiring conductor 3 is stored in the concave portion 2c of the case 2 with a clearance in between.
  • the wiring terminal surface 3a may be of a structure by which the wiring terminal surface 3a is fixed by insert-molding using resin except for a portion bonded to the wiring terminal surface 4a of the outside wiring terminal 4.
  • the concave portion 2d provided to the case 2 so as to store the nut 7 therein has a clearance large enough to insert and move the nut 7.
  • it is sufficient that the hook-like protrusion 3b can press the nut 7 softly so that the nut 7 does not come out of the concave portion 2d and strength is not required.
  • notch portions 3k are provided to the edge of the wiring terminal surface 3a at the bottom where the hook-like protrusion 3b is formed. Owing to this configuration, there can be achieved an advantage that not only is the hook-like protrusion 3b bent easily, but also the occurrence of strain in the wiring terminal surface 3a and the hook-like protrusion 3b is prevented during the processing.
  • this embodiment is particularly effective when applied to a wiring conductor in a power-supply system, which is thick because of a need to flow a large current.
  • connection structure of the wiring conductor of the first embodiment for the connection between the wiring terminal of the wiring conductor and the outside wiring terminal to which the flexible wiring is press-fit, by providing the hook-like protrusion to the edge of the wiring terminal surface of the wiring conductor and by pressing and locking the nut, which is the fastening member, with the hook-like protrusion, the need for positioning accuracy of the nut can be eliminated when the bolt is inserted and screwed into the nut. A fastening and bonding work therefore becomes easier. Hence, there can be achieved a significant advantage that work efficiency is enhanced and component costs and operational costs can be reduced.
  • Fig. 6 is a schematic perspective view showing a major portion of a connection structure of a wiring conductor of a second embodiment.
  • Fig. 7 is a top view with a cross section taken along the line B-B of the connection structure of the wiring conductor.
  • a difference from the connection structure of the wiring conductor of the first embodiment above is that in contrast to the first embodiment above in which one wiring terminal is a wiring terminal provided to the case or the wiring conductor on the wiring board and the other wiring terminal is a wiring terminal of the outside wiring terminal to which the flexible wiring is connected and these wiring terminals are interconnected, wiring terminals provided to wiring conductors on two wiring boards are interconnected in the second embodiment.
  • a connection structure 40 of a wiring conductor has wiring terminal surfaces 43a and 53a formed in a convex shape by bending to be parallel to wiring conductors 43 and 53, respectively.
  • the wiring terminal surface 43a of the wiring conductor 43 on the wiring board 42 and the wiring terminal surface 53a of the wiring conductor 53 on the wiring board 52 are connected.
  • Two hook-like protrusions 43b are provided to an edge of the wiring terminal surface 43a and the nut 7 is pressed softly by one hook-like protrusion 43b.
  • the wiring terminal surface 53a is pressed and locked as the other hook-like protrusion 43b and the edge of the wiring terminal surface 53a come into contact with each other.
  • the wiring terminal surface 53a is thus substantially positioned and fixed. Then, by fastening the bolt 6 with nut 7 by screwing the former into the latter, the wiring conductor 43 on the wiring board 42 and the wiring conductor 53 on the wiring board 52 are electrically connected.
  • connection structure of the wiring conductor of the second embodiment is for a case where wiring conductors provided to the case of the electronic device or on the wiring boards are interconnected, and by providing the hook-like protrusions to the edge of the wiring terminal surface of the wiring conductor, and by pressing and locking the other wiring terminal surface by the hook-like protrusions, the bolt is screwed into the nut, both of which are a fastening member.
  • positional accuracy of the wiring terminal surfaces with respect to each other is not required, and a fastening and bonding work becomes easier. Accordingly, there can be achieved a significant advantage that work efficiency is enhanced and component costs and operational costs can be reduced.

Landscapes

  • Connections Arranged To Contact A Plurality Of Conductors (AREA)
  • Coupling Device And Connection With Printed Circuit (AREA)
  • Multi-Conductor Connections (AREA)
  • Casings For Electric Apparatus (AREA)
  • Insertion, Bundling And Securing Of Wires For Electric Apparatuses (AREA)
  • Manufacturing Of Electrical Connectors (AREA)
EP11874076.0A 2011-10-12 2011-10-12 Structure for connecting wiring conductor Not-in-force EP2768081B1 (en)

Applications Claiming Priority (1)

Application Number Priority Date Filing Date Title
PCT/JP2011/073380 WO2013054400A1 (ja) 2011-10-12 2011-10-12 配線導体の接続構造

Publications (3)

Publication Number Publication Date
EP2768081A1 EP2768081A1 (en) 2014-08-20
EP2768081A4 EP2768081A4 (en) 2015-06-24
EP2768081B1 true EP2768081B1 (en) 2016-11-30

Family

ID=48081479

Family Applications (1)

Application Number Title Priority Date Filing Date
EP11874076.0A Not-in-force EP2768081B1 (en) 2011-10-12 2011-10-12 Structure for connecting wiring conductor

Country Status (5)

Country Link
EP (1) EP2768081B1 (enExample)
JP (1) JP5680213B2 (enExample)
CN (1) CN103858280B (enExample)
IN (1) IN2014CN03182A (enExample)
WO (1) WO2013054400A1 (enExample)

Cited By (1)

* Cited by examiner, † Cited by third party
Publication number Priority date Publication date Assignee Title
TWI877427B (zh) * 2020-11-13 2025-03-21 南韓商Lg新能源股份有限公司 電池組、電子裝置、載具以及電池管理系統模組

Families Citing this family (3)

* Cited by examiner, † Cited by third party
Publication number Priority date Publication date Assignee Title
JP5847131B2 (ja) * 2013-07-09 2016-01-20 古河電気工業株式会社 コネクタ
DE102016110050B4 (de) * 2016-05-31 2020-01-23 Endress+Hauser SE+Co. KG Steck-Verbindung zur elektrischen Kontaktierung einer Leiterplatte
JP7262253B2 (ja) * 2019-03-13 2023-04-21 日本精機株式会社 電子部品モジュール、電子部品モジュールと筐体との取付構造及びこれを備えた制御装置

Family Cites Families (7)

* Cited by examiner, † Cited by third party
Publication number Priority date Publication date Assignee Title
US1798812A (en) * 1928-10-06 1931-03-31 J H Rosenbeck & Sons Electric terminal
US2398433A (en) * 1944-03-18 1946-04-16 Aircraft Marine Prod Inc Electrical connector
FR1226070A (fr) * 1959-05-27 1960-07-08 Prise de courant basse tension et interrupteur associé
JP3371359B2 (ja) * 1997-07-10 2003-01-27 矢崎総業株式会社 端子の接続固定構造
CN2543223Y (zh) * 2002-04-08 2003-04-02 台湾神户电池股份有限公司 具有螺帽定位装置的端子
JP2009043730A (ja) * 2003-02-07 2009-02-26 Fujitsu Ltd 電源供給端子、導体部材付き電子部品及び該電源供給端子を備えた構造体
JP2010027410A (ja) * 2008-07-21 2010-02-04 Shang Tsai Wu 端子台の構造

Non-Patent Citations (1)

* Cited by examiner, † Cited by third party
Title
None *

Cited By (1)

* Cited by examiner, † Cited by third party
Publication number Priority date Publication date Assignee Title
TWI877427B (zh) * 2020-11-13 2025-03-21 南韓商Lg新能源股份有限公司 電池組、電子裝置、載具以及電池管理系統模組

Also Published As

Publication number Publication date
CN103858280B (zh) 2019-04-23
JPWO2013054400A1 (ja) 2015-03-30
WO2013054400A1 (ja) 2013-04-18
EP2768081A4 (en) 2015-06-24
JP5680213B2 (ja) 2015-03-04
EP2768081A1 (en) 2014-08-20
CN103858280A (zh) 2014-06-11
IN2014CN03182A (enExample) 2015-07-03

Similar Documents

Publication Publication Date Title
CN101615728B (zh) 型材夹钳
US8771024B2 (en) Dual compressive connector
US8269116B2 (en) Circuit board case with electric connector and electronic unit provided with the same
CN103107429B (zh) 夹紧元件
EP0680113B1 (en) Electrical connector for conductive leads
EP2916398A1 (en) Terminal fitting
EP3392971B1 (en) Connector device with connector and assembly method
EP2768081B1 (en) Structure for connecting wiring conductor
EP2871721B1 (en) Connecting structure for terminal fitting and substrate
US20120088388A1 (en) Edge connector
CN204167536U (zh) 导线连接结构及使用该连接结构的电子设备
US9431783B1 (en) Electronic system with power bus bar
EP2852264B1 (en) Electronics module with a side entry connection
EP2622695B1 (en) A connector for making an electrical connection between two plates
EP1701415A2 (en) Electronic part-incorporating connector and wiring harness with electronic part-incorporating connector
US9130360B2 (en) Electrical junction box
JP2018182494A (ja) アンテナ取付装置、アンテナ装置の取付方法
JP2009170107A (ja) 銅バーの取付構造
US20090117760A1 (en) Terminal connecting structure
US11005197B2 (en) Control unit having press-fit structure
JPH065323A (ja) 給電用バスバーの接続端子構造
JP7092729B2 (ja) 端子、及び、端子と被取付面との組付構造
JP2024024342A (ja) アース端子、端子取付け構造
JP4403951B2 (ja) 電子機器
JP2006148011A (ja) 基板に対する電気素子の取付構造

Legal Events

Date Code Title Description
PUAI Public reference made under article 153(3) epc to a published international application that has entered the european phase

Free format text: ORIGINAL CODE: 0009012

17P Request for examination filed

Effective date: 20140227

AK Designated contracting states

Kind code of ref document: A1

Designated state(s): AL AT BE BG CH CY CZ DE DK EE ES FI FR GB GR HR HU IE IS IT LI LT LU LV MC MK MT NL NO PL PT RO RS SE SI SK SM TR

DAX Request for extension of the european patent (deleted)
REG Reference to a national code

Ref country code: DE

Ref legal event code: R079

Ref document number: 602011033038

Country of ref document: DE

Free format text: PREVIOUS MAIN CLASS: H01R0009220000

Ipc: H01R0004300000

RA4 Supplementary search report drawn up and despatched (corrected)

Effective date: 20150527

RIC1 Information provided on ipc code assigned before grant

Ipc: H01R 11/26 20060101ALN20150520BHEP

Ipc: H01R 4/30 20060101AFI20150520BHEP

Ipc: H01R 12/53 20110101ALN20150520BHEP

Ipc: H01R 4/34 20060101ALN20150520BHEP

GRAP Despatch of communication of intention to grant a patent

Free format text: ORIGINAL CODE: EPIDOSNIGR1

INTG Intention to grant announced

Effective date: 20160622

GRAS Grant fee paid

Free format text: ORIGINAL CODE: EPIDOSNIGR3

GRAA (expected) grant

Free format text: ORIGINAL CODE: 0009210

AK Designated contracting states

Kind code of ref document: B1

Designated state(s): AL AT BE BG CH CY CZ DE DK EE ES FI FR GB GR HR HU IE IS IT LI LT LU LV MC MK MT NL NO PL PT RO RS SE SI SK SM TR

REG Reference to a national code

Ref country code: CH

Ref legal event code: EP

Ref country code: GB

Ref legal event code: FG4D

REG Reference to a national code

Ref country code: AT

Ref legal event code: REF

Ref document number: 850602

Country of ref document: AT

Kind code of ref document: T

Effective date: 20161215

REG Reference to a national code

Ref country code: IE

Ref legal event code: FG4D

REG Reference to a national code

Ref country code: DE

Ref legal event code: R096

Ref document number: 602011033038

Country of ref document: DE

PG25 Lapsed in a contracting state [announced via postgrant information from national office to epo]

Ref country code: LV

Free format text: LAPSE BECAUSE OF FAILURE TO SUBMIT A TRANSLATION OF THE DESCRIPTION OR TO PAY THE FEE WITHIN THE PRESCRIBED TIME-LIMIT

Effective date: 20161130

REG Reference to a national code

Ref country code: LT

Ref legal event code: MG4D

REG Reference to a national code

Ref country code: NL

Ref legal event code: MP

Effective date: 20161130

REG Reference to a national code

Ref country code: AT

Ref legal event code: MK05

Ref document number: 850602

Country of ref document: AT

Kind code of ref document: T

Effective date: 20161130

PG25 Lapsed in a contracting state [announced via postgrant information from national office to epo]

Ref country code: LT

Free format text: LAPSE BECAUSE OF FAILURE TO SUBMIT A TRANSLATION OF THE DESCRIPTION OR TO PAY THE FEE WITHIN THE PRESCRIBED TIME-LIMIT

Effective date: 20161130

Ref country code: SE

Free format text: LAPSE BECAUSE OF FAILURE TO SUBMIT A TRANSLATION OF THE DESCRIPTION OR TO PAY THE FEE WITHIN THE PRESCRIBED TIME-LIMIT

Effective date: 20161130

Ref country code: GR

Free format text: LAPSE BECAUSE OF FAILURE TO SUBMIT A TRANSLATION OF THE DESCRIPTION OR TO PAY THE FEE WITHIN THE PRESCRIBED TIME-LIMIT

Effective date: 20170301

Ref country code: NO

Free format text: LAPSE BECAUSE OF FAILURE TO SUBMIT A TRANSLATION OF THE DESCRIPTION OR TO PAY THE FEE WITHIN THE PRESCRIBED TIME-LIMIT

Effective date: 20170228

PG25 Lapsed in a contracting state [announced via postgrant information from national office to epo]

Ref country code: ES

Free format text: LAPSE BECAUSE OF FAILURE TO SUBMIT A TRANSLATION OF THE DESCRIPTION OR TO PAY THE FEE WITHIN THE PRESCRIBED TIME-LIMIT

Effective date: 20161130

Ref country code: FI

Free format text: LAPSE BECAUSE OF FAILURE TO SUBMIT A TRANSLATION OF THE DESCRIPTION OR TO PAY THE FEE WITHIN THE PRESCRIBED TIME-LIMIT

Effective date: 20161130

Ref country code: RS

Free format text: LAPSE BECAUSE OF FAILURE TO SUBMIT A TRANSLATION OF THE DESCRIPTION OR TO PAY THE FEE WITHIN THE PRESCRIBED TIME-LIMIT

Effective date: 20161130

Ref country code: HR

Free format text: LAPSE BECAUSE OF FAILURE TO SUBMIT A TRANSLATION OF THE DESCRIPTION OR TO PAY THE FEE WITHIN THE PRESCRIBED TIME-LIMIT

Effective date: 20161130

Ref country code: PT

Free format text: LAPSE BECAUSE OF FAILURE TO SUBMIT A TRANSLATION OF THE DESCRIPTION OR TO PAY THE FEE WITHIN THE PRESCRIBED TIME-LIMIT

Effective date: 20170330

Ref country code: AT

Free format text: LAPSE BECAUSE OF FAILURE TO SUBMIT A TRANSLATION OF THE DESCRIPTION OR TO PAY THE FEE WITHIN THE PRESCRIBED TIME-LIMIT

Effective date: 20161130

Ref country code: PL

Free format text: LAPSE BECAUSE OF FAILURE TO SUBMIT A TRANSLATION OF THE DESCRIPTION OR TO PAY THE FEE WITHIN THE PRESCRIBED TIME-LIMIT

Effective date: 20161130

PG25 Lapsed in a contracting state [announced via postgrant information from national office to epo]

Ref country code: NL

Free format text: LAPSE BECAUSE OF FAILURE TO SUBMIT A TRANSLATION OF THE DESCRIPTION OR TO PAY THE FEE WITHIN THE PRESCRIBED TIME-LIMIT

Effective date: 20161130

PG25 Lapsed in a contracting state [announced via postgrant information from national office to epo]

Ref country code: EE

Free format text: LAPSE BECAUSE OF FAILURE TO SUBMIT A TRANSLATION OF THE DESCRIPTION OR TO PAY THE FEE WITHIN THE PRESCRIBED TIME-LIMIT

Effective date: 20161130

Ref country code: DK

Free format text: LAPSE BECAUSE OF FAILURE TO SUBMIT A TRANSLATION OF THE DESCRIPTION OR TO PAY THE FEE WITHIN THE PRESCRIBED TIME-LIMIT

Effective date: 20161130

Ref country code: CZ

Free format text: LAPSE BECAUSE OF FAILURE TO SUBMIT A TRANSLATION OF THE DESCRIPTION OR TO PAY THE FEE WITHIN THE PRESCRIBED TIME-LIMIT

Effective date: 20161130

Ref country code: SK

Free format text: LAPSE BECAUSE OF FAILURE TO SUBMIT A TRANSLATION OF THE DESCRIPTION OR TO PAY THE FEE WITHIN THE PRESCRIBED TIME-LIMIT

Effective date: 20161130

Ref country code: RO

Free format text: LAPSE BECAUSE OF FAILURE TO SUBMIT A TRANSLATION OF THE DESCRIPTION OR TO PAY THE FEE WITHIN THE PRESCRIBED TIME-LIMIT

Effective date: 20161130

PG25 Lapsed in a contracting state [announced via postgrant information from national office to epo]

Ref country code: SM

Free format text: LAPSE BECAUSE OF FAILURE TO SUBMIT A TRANSLATION OF THE DESCRIPTION OR TO PAY THE FEE WITHIN THE PRESCRIBED TIME-LIMIT

Effective date: 20161130

Ref country code: BE

Free format text: LAPSE BECAUSE OF FAILURE TO SUBMIT A TRANSLATION OF THE DESCRIPTION OR TO PAY THE FEE WITHIN THE PRESCRIBED TIME-LIMIT

Effective date: 20161130

Ref country code: BG

Free format text: LAPSE BECAUSE OF FAILURE TO SUBMIT A TRANSLATION OF THE DESCRIPTION OR TO PAY THE FEE WITHIN THE PRESCRIBED TIME-LIMIT

Effective date: 20170228

Ref country code: IT

Free format text: LAPSE BECAUSE OF FAILURE TO SUBMIT A TRANSLATION OF THE DESCRIPTION OR TO PAY THE FEE WITHIN THE PRESCRIBED TIME-LIMIT

Effective date: 20161130

REG Reference to a national code

Ref country code: DE

Ref legal event code: R097

Ref document number: 602011033038

Country of ref document: DE

REG Reference to a national code

Ref country code: FR

Ref legal event code: PLFP

Year of fee payment: 7

PLBE No opposition filed within time limit

Free format text: ORIGINAL CODE: 0009261

STAA Information on the status of an ep patent application or granted ep patent

Free format text: STATUS: NO OPPOSITION FILED WITHIN TIME LIMIT

26N No opposition filed

Effective date: 20170831

PG25 Lapsed in a contracting state [announced via postgrant information from national office to epo]

Ref country code: SI

Free format text: LAPSE BECAUSE OF FAILURE TO SUBMIT A TRANSLATION OF THE DESCRIPTION OR TO PAY THE FEE WITHIN THE PRESCRIBED TIME-LIMIT

Effective date: 20161130

PG25 Lapsed in a contracting state [announced via postgrant information from national office to epo]

Ref country code: MC

Free format text: LAPSE BECAUSE OF FAILURE TO SUBMIT A TRANSLATION OF THE DESCRIPTION OR TO PAY THE FEE WITHIN THE PRESCRIBED TIME-LIMIT

Effective date: 20161130

REG Reference to a national code

Ref country code: CH

Ref legal event code: PL

GBPC Gb: european patent ceased through non-payment of renewal fee

Effective date: 20171012

REG Reference to a national code

Ref country code: IE

Ref legal event code: MM4A

PG25 Lapsed in a contracting state [announced via postgrant information from national office to epo]

Ref country code: LU

Free format text: LAPSE BECAUSE OF NON-PAYMENT OF DUE FEES

Effective date: 20171012

Ref country code: CH

Free format text: LAPSE BECAUSE OF NON-PAYMENT OF DUE FEES

Effective date: 20171031

Ref country code: LI

Free format text: LAPSE BECAUSE OF NON-PAYMENT OF DUE FEES

Effective date: 20171031

Ref country code: GB

Free format text: LAPSE BECAUSE OF NON-PAYMENT OF DUE FEES

Effective date: 20171012

REG Reference to a national code

Ref country code: FR

Ref legal event code: PLFP

Year of fee payment: 8

PG25 Lapsed in a contracting state [announced via postgrant information from national office to epo]

Ref country code: MT

Free format text: LAPSE BECAUSE OF NON-PAYMENT OF DUE FEES

Effective date: 20171012

PG25 Lapsed in a contracting state [announced via postgrant information from national office to epo]

Ref country code: IE

Free format text: LAPSE BECAUSE OF NON-PAYMENT OF DUE FEES

Effective date: 20171012

REG Reference to a national code

Ref country code: DE

Ref legal event code: R084

Ref document number: 602011033038

Country of ref document: DE

PG25 Lapsed in a contracting state [announced via postgrant information from national office to epo]

Ref country code: HU

Free format text: LAPSE BECAUSE OF FAILURE TO SUBMIT A TRANSLATION OF THE DESCRIPTION OR TO PAY THE FEE WITHIN THE PRESCRIBED TIME-LIMIT; INVALID AB INITIO

Effective date: 20111012

PG25 Lapsed in a contracting state [announced via postgrant information from national office to epo]

Ref country code: CY

Free format text: LAPSE BECAUSE OF NON-PAYMENT OF DUE FEES

Effective date: 20161130

PG25 Lapsed in a contracting state [announced via postgrant information from national office to epo]

Ref country code: MK

Free format text: LAPSE BECAUSE OF FAILURE TO SUBMIT A TRANSLATION OF THE DESCRIPTION OR TO PAY THE FEE WITHIN THE PRESCRIBED TIME-LIMIT

Effective date: 20161130

PG25 Lapsed in a contracting state [announced via postgrant information from national office to epo]

Ref country code: TR

Free format text: LAPSE BECAUSE OF FAILURE TO SUBMIT A TRANSLATION OF THE DESCRIPTION OR TO PAY THE FEE WITHIN THE PRESCRIBED TIME-LIMIT

Effective date: 20161130

PG25 Lapsed in a contracting state [announced via postgrant information from national office to epo]

Ref country code: AL

Free format text: LAPSE BECAUSE OF FAILURE TO SUBMIT A TRANSLATION OF THE DESCRIPTION OR TO PAY THE FEE WITHIN THE PRESCRIBED TIME-LIMIT

Effective date: 20161130

Ref country code: IS

Free format text: LAPSE BECAUSE OF FAILURE TO SUBMIT A TRANSLATION OF THE DESCRIPTION OR TO PAY THE FEE WITHIN THE PRESCRIBED TIME-LIMIT

Effective date: 20170330

PGFP Annual fee paid to national office [announced via postgrant information from national office to epo]

Ref country code: FR

Payment date: 20220908

Year of fee payment: 12

PGFP Annual fee paid to national office [announced via postgrant information from national office to epo]

Ref country code: DE

Payment date: 20220621

Year of fee payment: 12

P01 Opt-out of the competence of the unified patent court (upc) registered

Effective date: 20230512

REG Reference to a national code

Ref country code: DE

Ref legal event code: R119

Ref document number: 602011033038

Country of ref document: DE

PG25 Lapsed in a contracting state [announced via postgrant information from national office to epo]

Ref country code: FR

Free format text: LAPSE BECAUSE OF NON-PAYMENT OF DUE FEES

Effective date: 20231031

Ref country code: DE

Free format text: LAPSE BECAUSE OF NON-PAYMENT OF DUE FEES

Effective date: 20240501