EP2653244A1 - Verfahren und Vorrichtung zum Umformen eines Werkstücks - Google Patents

Verfahren und Vorrichtung zum Umformen eines Werkstücks Download PDF

Info

Publication number
EP2653244A1
EP2653244A1 EP12002781.8A EP12002781A EP2653244A1 EP 2653244 A1 EP2653244 A1 EP 2653244A1 EP 12002781 A EP12002781 A EP 12002781A EP 2653244 A1 EP2653244 A1 EP 2653244A1
Authority
EP
European Patent Office
Prior art keywords
workpiece
forming
die
punch
roller
Prior art date
Legal status (The legal status is an assumption and is not a legal conclusion. Google has not performed a legal analysis and makes no representation as to the accuracy of the status listed.)
Granted
Application number
EP12002781.8A
Other languages
English (en)
French (fr)
Other versions
EP2653244B1 (de
Inventor
Benedikt Nillies
Current Assignee (The listed assignees may be inaccurate. Google has not performed a legal analysis and makes no representation or warranty as to the accuracy of the list.)
Leifeld Metal Spinning GmbH
Original Assignee
Leifeld Metal Spinning GmbH
Priority date (The priority date is an assumption and is not a legal conclusion. Google has not performed a legal analysis and makes no representation as to the accuracy of the date listed.)
Filing date
Publication date
Priority to EP12002781.8A priority Critical patent/EP2653244B1/de
Application filed by Leifeld Metal Spinning GmbH filed Critical Leifeld Metal Spinning GmbH
Priority to ES12002781.8T priority patent/ES2532217T3/es
Priority to KR1020147029327A priority patent/KR101910395B1/ko
Priority to CN201380020971.6A priority patent/CN104395008B/zh
Priority to PCT/EP2013/054388 priority patent/WO2013156193A1/de
Priority to US14/394,529 priority patent/US9669445B2/en
Priority to JP2015506133A priority patent/JP6131317B2/ja
Publication of EP2653244A1 publication Critical patent/EP2653244A1/de
Application granted granted Critical
Publication of EP2653244B1 publication Critical patent/EP2653244B1/de
Not-in-force legal-status Critical Current
Anticipated expiration legal-status Critical

Links

Images

Classifications

    • BPERFORMING OPERATIONS; TRANSPORTING
    • B21MECHANICAL METAL-WORKING WITHOUT ESSENTIALLY REMOVING MATERIAL; PUNCHING METAL
    • B21DWORKING OR PROCESSING OF SHEET METAL OR METAL TUBES, RODS OR PROFILES WITHOUT ESSENTIALLY REMOVING MATERIAL; PUNCHING METAL
    • B21D22/00Shaping without cutting, by stamping, spinning, or deep-drawing
    • B21D22/20Deep-drawing
    • B21D22/21Deep-drawing without fixing the border of the blank
    • BPERFORMING OPERATIONS; TRANSPORTING
    • B21MECHANICAL METAL-WORKING WITHOUT ESSENTIALLY REMOVING MATERIAL; PUNCHING METAL
    • B21DWORKING OR PROCESSING OF SHEET METAL OR METAL TUBES, RODS OR PROFILES WITHOUT ESSENTIALLY REMOVING MATERIAL; PUNCHING METAL
    • B21D22/00Shaping without cutting, by stamping, spinning, or deep-drawing
    • B21D22/14Spinning
    • BPERFORMING OPERATIONS; TRANSPORTING
    • B21MECHANICAL METAL-WORKING WITHOUT ESSENTIALLY REMOVING MATERIAL; PUNCHING METAL
    • B21DWORKING OR PROCESSING OF SHEET METAL OR METAL TUBES, RODS OR PROFILES WITHOUT ESSENTIALLY REMOVING MATERIAL; PUNCHING METAL
    • B21D53/00Making other particular articles
    • B21D53/26Making other particular articles wheels or the like
    • B21D53/261Making other particular articles wheels or the like pulleys

Definitions

  • the invention relates to a method and an apparatus for forming a workpiece according to the preambles of claims 1 and 11.
  • the workpiece to be formed has a center axis, a radially inner region and a radially outer region.
  • the radially inner region of the workpiece is deformed by means of a punch and a die by drawing in the axial direction. In this case, an axial mold section is formed.
  • the apparatus comprises a die and a punch for forming the radially inner region of the workpiece by drawing.
  • the shapes produced by drawing or deep drawing usually have a radial flange portion and an axial shape portion.
  • the axial shape section is to be understood as meaning, in particular, a workpiece section projecting out of the plane of the radial flange section.
  • a known weak point in the forming by deep drawing is the edge or the transition between the radial flange portion and the axial mold portion. In this area, material weakening often occurs, which in the worst case can lead to material breakage. To avoid excessive material weakening, it is known, for example, the workpiece To heat during forming, provide relatively large bending radii in the transition region and / or perform the drawing process in several stages.
  • bowls By pulling or deep drawing, for example, bowls can be produced.
  • the forming by deep drawing requires high axial pressing forces.
  • Another application for drawing or deep drawing is the production of transmission parts with a central hub.
  • the method is used, for example, in the manufacture of pulleys or disc carriers.
  • deep drawing first a preform is made with a hub, which is then further formed, for example, on a press or flow-forming machine.
  • the deep drawing of a workpiece for producing a plate carrier is for example in the DE 43 27 746 A1 described.
  • an outer portion of the workpiece is reshaped by means of a spinning roller and the resulting material is formed into a cylindrical projection around a tool pin penetrating the workpiece.
  • This method for producing a hub having a transmission part is for example in the DE 44 00 257 C1 described.
  • the invention has for its object to provide a method and an apparatus for forming a workpiece, which allow a particularly economical and efficient forming.
  • the method according to the invention is characterized in that during the forming by pulling the workpiece about the center axis in rotation and is applied when rotating workpiece, the radially outer region of the workpiece by means of at least one forming roller, wherein a material flow generated in the direction of the radially inner region of the workpiece or supported.
  • the die and the punch are rotatably mounted and that a forming roller is arranged, through which a radially outer region of the workpiece can be acted upon during the forming of the workpiece by pulling, wherein a material flow in the direction of the radially inner region of the workpiece is generated.
  • a basic idea of the invention is to bring about or assist in material displacement by means of the forming roller from the radially outer region into the radially inner region during the drawing process.
  • the application or deformation of the radially outer region of the workpiece by means of the forming roller can be carried out in such a way that a material flow directed radially inward is generated in a targeted manner, ie material is displaced radially inward.
  • the material flow generated by the forming roll supports the material flow during drawing.
  • the material weakening at the edge between the draw-formed radially inner region and the radially outer region of the workpiece is substantially reduced.
  • the method and apparatus are particularly suitable for the production of transmission parts, such as hub discs, pulleys, disc carriers or torsional vibration dampers, in which just this transition region is exposed to high loads.
  • smaller radii can be formed at the transition or the edge without material weakening. By pushing material inward, the required pressing forces between punch and die can be reduced.
  • exposure to a forming roller can contribute to a stress reduction in the radially outer region and thus to reduce the formation of waves.
  • Another advantage of the method according to the invention is that a high strain hardening of the.
  • forming the outer region by means of forming Material can be effected.
  • a particularly resilient component can be produced economically.
  • the deformation of the radially inner region by pulling also allows a largely free shape design, whereby non-rotationally symmetrical contours, such as polygonal contours or corrugations, can be formed. Due to the improved material flow complex workpiece shapes can be produced.
  • the workpiece to be reshaped may in particular be a flat material, in particular a sheet metal blank, with a main direction of extension transverse or radial to the center axis.
  • the workpiece may be a round blank.
  • the starting workpiece is at least substantially rotationally symmetrical to the center axis before the forming according to the invention.
  • the drawing of the workpiece preferably takes place in a drawing gap between the punch and the die.
  • the die has for this purpose a central receiving or free space, in which the punch is retracted for forming the workpiece by pulling.
  • the deformation takes place by coaxial retraction of the punch in the receiving space of the die.
  • the workpiece is simultaneously machined, at least during a certain processing time, by drawing by means of punch and die and by application of the shaping roller.
  • the device is configured accordingly to ensure simultaneous machining of the workpiece by the die and the punch and by the forming roller.
  • the axial mold section may for example have an annular, in particular cylindrical or conical wall, which extends around the center axis of the workpiece.
  • a radially outer area of the workpiece referred to as a flange section, is formed on the radially outer area.
  • the forming roller may in particular be a spinning roller or a pressure roller.
  • the forming roller takes place with rotating workpiece. It can also be used a profiling roll for upsetting or thickening of the material, which is preferably delivered radially.
  • An effective, inwardly directed flow of material can be achieved in particular by delivering the forming roller in the direction of the radially inner region of the workpiece or in the direction of the axial shaping section.
  • the forming roller is in this case initially delivered axially to the outer region of the workpiece and then moved radially inward.
  • the material displacement inward reduces the axial extent, that is to say the thickness, of the radial outer area in the applied area.
  • the radially outer region of the workpiece for limiting an outwardly directed flow of material is supported circumferentially.
  • the support is preferably via an abutment, such as a ring, which limits emigration of the material to the outside.
  • the abutment forms a stop for the outer region of the workpiece. The material can thus largely escape inwardly when acted upon by the forming roller, whereby an effective flow of material takes place in the direction of the drawing gap between the punch and die or the transition edge between the flange portion and the axial mold portion.
  • the radially outer region of the workpiece is preferably held down by means of a hold-down roller.
  • the hold-down roller abuts against the outer region of the workpiece and presses axially against it, so that bulging in the axial direction is prevented.
  • the hold-down roller preferably no active deformation of the workpiece.
  • a particularly economical method can be achieved in that the radially outer region of the workpiece is formed on a pressing surface of the die.
  • the die thus also serves as a forming tool for the drawing of the workpiece and as a spinning chuck for forming by means of the forming roller.
  • the workpiece can thus be simultaneously formed on the die by drawing or deep drawing and by pressing or spin forming.
  • a cup-shaped or sleeve-shaped contour By drawing the radially inner region of the workpiece, for example, a cup-shaped or sleeve-shaped contour can be formed.
  • a center opening can be introduced into the workpiece or an initial workpiece with a center opening can be used.
  • the central opening can be widened by means of the punch and the die by pulling.
  • the opening can be increased during the forming, so that material is displaced by the drawing tool from the center to a larger diameter.
  • the inner region of the workpiece is stretched during drawing by means of an ironing ring.
  • the wall thickness of the axial section can be efficiently reduced during drawing and produce additional solidification of the material.
  • the at least one forming roller leads to the drawing gap required for the stretching and / or forming material.
  • a defined structure is formed in the radially outer region of the workpiece during forming of the workpiece by means of the forming roller.
  • the pressing surface of the die preferably has a corresponding, defined structure into which the material is molded by means of the forming roller.
  • a defined structure in particular projections, notches, grooves, grooves, or gears are understood.
  • the outer area of the workpiece can thus be designed particularly effectively.
  • the reliability of the deformation of the workpiece can be further increased by the fact that the punch is driven into the die pulsating. Preferably takes place, in particular in a very short time sequence, after each delivery stroke shorter return stroke to relieve material.
  • the combination of a continuous movement of the forming roller with a pulsating movement of the punch during the pressing process causes a particularly good shape expression and material consolidation, in particular at the transition edge between the outer flange and the axial mold section. In addition, it reduces the force in the axial forming of gears by means of the punch.
  • Incremental drawing or deep drawing also reduces the risk of cracking in the workpiece.
  • the workpiece is first pulled forward at standstill, that is to say without rotation, by means of the punch and then pulled further when the workpiece is rotating and under the action of the forming roller.
  • the preference without being acted upon by the forming roller allows a reliable centering of the workpiece and a reduction of the cycle time or the forming time.
  • the deformation of the workpiece takes place at least substantially while maintaining the diameter, ie substantially without diameter reduction.
  • the radially outer region of the workpiece can be correspondingly fixed to the die.
  • an interpolating delivery of the forming roller to the stamp Preferably, an interpolating delivery of the forming roller to the stamp.
  • further forming steps are preferably carried out after drawing, in particular by pressing, flow-forming, ironing, splitting and / or profiling, while the workpiece is clamped between the die and the punch.
  • the drawing area can then be further deformed on the device by at least one forming roller.
  • the drawing area can also be further deformed by at least one pressure roller and the wall thickness can be at least partially reduced.
  • the displaced material form an external toothing.
  • a plurality of forming steps can preferably be carried out on one and the same machine, whereby the holding of the workpiece between the die and the punch is maintained.
  • other holding devices may also be provided for the workpiece between die and punch.
  • the die forms a spinning chuck for the forming roll and has an annular pressing surface.
  • the pressing surface extends in this case transversely to the center axis of the workpiece or transversely to the axis of rotation of the device. On the pressing surface of the outer region of the workpiece can be acted upon or reshaped by the forming roller.
  • the die For forming a defined surface structure in the radially outer region of the workpiece, the die preferably has a pressing surface with a corresponding, defined structure.
  • the structured pressing surface may, for example, have projections, indentations, grooves, grooves, teeth or the like.
  • the die and / or the punch can have a corresponding, defined contour, in particular a polygonal contour and / or a profiling.
  • the receiving space of the die may have a defined inner contour, which corresponds to the outer contour of the workpiece to be formed in the region of the axial mold section.
  • the punch may have a corresponding outer contour.
  • the device according to the invention can be set up to produce non-rotationally symmetrical shapes in addition to rotationally symmetrical shapes. For example, a polygonal or corrugated axial section of the workpiece can be produced.
  • an internal and / or an external mold preferably a spline
  • a serration can be formed or embossed outside and / or inside, preferably in the cup or hub area, on the bottom and / or on the flange area.
  • a support ring provided which for limiting a material flow to the outside provides a stop surface for an outer circumference of the workpiece and / or serves for centering the workpiece and / or for transmitting torque to the workpiece.
  • the support ring can also be made split, wherein the individual parts or segments are then preferably movable in the radial direction.
  • the die preferably comprises an ironing ring.
  • the ironing ring can cause a dilution of material when pulling the axial portion of the workpiece.
  • both the die and the punch are rotationally driven.
  • a synchronization device is provided which synchronizes the rotational speeds of the die and the punch. Due to the rotating drive of the die and the punch, a particularly precise forming can be achieved.
  • a release agent in particular a lubricant, is preferably used, which facilitates the drawing process and the subsequent removal of the component.
  • a release agent an emulsion can be used, which allows a higher heat dissipation during the process.
  • a drawing ring can be used to hold down the material during the drawing process.
  • an additional role can be used as an anvil.
  • the device may preferably be provided with an ejector and / or an automatic loading and unloading.
  • the delivery of the punch and / or the forming roller can preferably be carried out as a path-controlled or force-controlled axis, in particular as an interpolating path-controlled or force-controlled axis.
  • a second, axially extending, hub-shaped region which can also extend in the opposite direction to the drawing region.
  • the Anformung the other hub for example, by spin forming or splitting and / or with a chambered Forming roll done.
  • the use of sliding sleeve tools for forming a third hub in one clamping is also possible.
  • the method allows the formation of hubs, which have almost the wall thickness of the starting material.
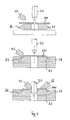
  • FIGS. 1 and 2 show basic aspects of the method according to the invention and the device 10 according to the invention by the example of the non-cutting shaping of a cup or a hub to a preferably substantially rotationally symmetrical workpiece 100, for example a blank or preform.
  • the apparatus 10 for reshaping the workpiece 100 has a die 20 with an approximately central receiving opening 22 into which a ram 30 can be inserted linearly in an axial direction.
  • the die 20 and the punch 30 are matched to one another such that a drawing gap is formed between them, in which an inner region 102 of the workpiece 100 is pulled into the die 20 when the punch 30 is retracted.
  • Die 20 and punch 30 are rotatably mounted about a rotation axis 12 on a machine bed, not shown, and rotationally driven.
  • the workpiece 100 can be positioned on the die 20 and can also be rotated about it.
  • the workpiece 100 is optionally centered on the die 20 and is held in position by the die 20 and the punch 30 during the forming.
  • For a particularly effective forming of the punch 30 can be driven in addition to the die 20 speed or rotational angle synchronous.
  • the apparatus 10 comprises one or more forming rollers 40 which are adapted to an outer, substantially radially extending Area 104 of the workpiece 100 to be delivered axially and / or radially, while the inner portion 102 of the workpiece 100 by means of the punch 30 and the die 20 is transformed.
  • the at least one forming roller 40 is rotatably mounted about an axis of rotation 42 which preferably extends transversely or obliquely to the axis of rotation 12.
  • the die 20 has a pressing surface 24 which extends substantially transverse to the axis of rotation 12 and is mounted on a shaft 14.
  • the die 20 For forming the workpiece 100, this is arranged on the die 20.
  • the punch 30 is moved axially along the axis of rotation 12 or coaxially with the axis of rotation 12 in the direction of the die 20, so that the workpiece 100 is clamped between the die 20 and the punch 30.
  • Die 20 and punch 30 are rotated about the axis of rotation 12, which also represents a center axis 112 of the workpiece, in rotation.
  • the workpiece 100 is also rotated via the die 20 in rotation.
  • stamp 30 and die 20 are arranged and guided centric or coaxial with each other.
  • a compressive and / or tensile stress acts on the workpiece 100.
  • a forming roller 40 is delivered to the radially outer portion 104 of the workpiece 100 and actively causes a flow of material from the radially outer portion 104 in the direction of the radially inner portion 102.
  • Umformrolle 40 is in the formed area material in shifted radial and / or axial direction and reduces an axial thickness of the area 104.
  • the forming roller 40 in particular pushes material radially inwards and leads this to the drawing gap.
  • the forming roller 40 is preferably to move radially inward, like the Figures 1.b and 1.c respectively 2.b and 2.c can be seen.
  • forming roller 40 in particular spinning roller or pressure roller, a compressive stress and / or tensile stress is exerted on the workpiece 100 to be formed, which supports the flow of material during the forming process of the punch 30.
  • the deformation of the workpiece 100 thus takes place by a combination of a deep-drawing process and an axial and / or radial flow-forming process.
  • Fig. 1 shows an inventive method and components of the device according to the invention using the example of the forming of a ronde-shaped workpiece 100 to a component having an axial mold portion 106 in the form of a cup-shaped inner region.
  • the punch 30 has a preferably substantially cylindrical shape with a cylindrical outer surface 32.
  • Fig. 2 shows an embodiment of the method according to the invention based on the deformation of a substantially circular-shaped workpiece 100 with a central center opening 110 to a component with an axial shape portion 106 in the form of a sleeve-shaped inner region.
  • the punch 30 has an approximately conical portion 34 for expanding the workpiece 100 and an inserting portion 35 for inserting and centering the workpiece 100.
  • the insertion section 35 is first inserted into the center central opening 110 of the workpiece 100.
  • the punch 30 is retracted into the receiving opening 22 and the workpiece 100 drawn into the drawing gap between the die 20 and punch 30, wherein the center opening 110 is widened.
  • the radially outer region 104 is acted upon by a forming roller 40, thus producing a targeted flow of material in the direction of the drawing gap.
  • Fig. 3 1 shows an embodiment of the method in which the workpiece 100 is preformed by the forming roller 40 before the draw forming of the radially inner region 102 and the workpiece 100 is centered on the die 20.
  • the centering takes place by pressing the workpiece 100 into a contour of the die 20.
  • the outer region of the workpiece 100 is pressed into an annular groove in the die 20.
  • the preforming of the radially outer region 104 of the workpiece 100 fixes the workpiece 100 in the radial direction on the die 20.
  • the radial extent of the workpiece 100 remains unchanged due to the circumferential profile of the region 104. This results in the pulling of the workpiece 100 particularly large pulling forces that without applying the radial Outer portion 104 during drawing forming would mean a loss of centering and / or a significant risk of fracture of the workpiece 100.
  • Fig. 4 shows another way to fix the workpiece to the die 20.
  • the die 20 comprises an outer peripheral region 26, which is angled in relation to an inner surface section against which the workpiece 100 rests.
  • the workpiece 100 is applied to form an approximately annular kink on the outer peripheral portion 26 of the die 20.
  • the workpiece 100 can be fixed by means of a hold-down ring 28, wherein the workpiece 100 is clamped between the die 20 and the hold-down ring 28.
  • the radially inner portion 102 of the workpiece 100 as described above, formed by drawing, wherein at the same time the radially outer portion 104 is applied by the forming roller 40 or deformed.
  • a hold-down roller 66 is shown which holds down the workpiece 100 in the axial direction and prevents the workpiece 100 or material from rearing up.
  • Fig. 5 corresponds essentially to the representation of the Figures 1.b respectively 2 B , wherein the punch 30 is additionally supported by a support roller 54.
  • the support roller 54 is rotatably supported substantially parallel to the punch 30 and bears against a peripheral surface of the punch 30. It can also be arranged distributed around the punch 30 in the circumferential direction a plurality of support rollers 54.
  • FIGS. 6 to 8 show ways to limit or prevent material flow to the outside when forming the outer region 104 and / or support.
  • a pressure roller 68 is arranged, which presses the workpiece 100 radially inwardly.
  • a material flow is prevented to the outside and generated by the action of the forming roller 40, a substantially exclusively radially inward material flow.
  • the radial material flow can be supported by the radial displacement of the roller 68.
  • An axial upsetting of the material in the outer region 104 is prevented or minimized by the paired use of the rollers 66 and 67.
  • Fig. 7 shows to prevent a flow of material to the outside a support ring 60 which is arranged around the workpiece 100. An outer peripheral portion of the workpiece 100 abuts on the support ring 60.
  • Fig. 8 shows a further embodiment of a pressure roller 68, which in contrast to the in Fig. 6 illustrated design has a chamber, which fixes the workpiece 100 in the axial direction and / or can be used for targeted thickening of the outer radial portion 104.
  • FIGS. 6 and 8 2 further show a hold-down roller 66 above the workpiece 100 and a counter-roller 67 on a side of the workpiece 100 opposite the hold-down roller 66, next to the die 20.
  • the rollers 66 and 67 can limit the axial material flow in the region 104.
  • FIG Fig. 9 An embodiment of a support ring 60 is shown in FIG Fig. 9 shown.
  • the support ring 60 includes a plurality of ring segments 62, which are each arranged radially displaceable. By radially inwardly moving the ring segments 62, the workpiece 100 can be clamped or supported, as in the respective lower representations of Fig. 9 is shown.
  • Fig. 10 1 illustrates a possibility of introducing a defined structure into the radially outer region 104 of the workpiece 100.
  • the die 20 comprises on its pressing surface 24 a correspondingly defined structure 25 with a plurality of structural elements, for example for forming stiffening ribs, reinforcing points or a toothing on the radially outer region 104 of the workpiece 100.
  • the structural elements can in principle be arranged arbitrarily, although not one -rotation symmetric arrangement is possible.
  • FIGS. 11 to 13 show possibilities of shaping a contour or profiling on the radially inner region 102 of the workpiece 100 Fig. 11
  • the die 20 has at its receiving opening 22 a defined contour 23 in the form of a profiling into which the material is pressed during drawing, so that a profiled or corrugated axial section of the workpiece 100 can be formed.
  • the punch 30 in Fig. 12 a structured outer contour 33, through which a structured region can be introduced into the axial section of the workpiece 100.
  • polygonal contours 118 are formed as in FIG Fig. 13 shown.
  • Fig. 14 shows an embodiment of the method in which the material is drawn while pulling. As a result, the material thickness in the drawing region or the axial shaping section 106 of the workpiece 100 can be reduced to a desired thickness.
  • an ironing 56 is introduced, which surrounds the receiving opening 22 annular and has a Abstreckabexcellent whose diameter is less than the diameter of the receiving opening 22.
  • On the left side of the Fig. 14 is a stage of the process at the beginning of the forming and on the right side of a process stage with completed drawing process shown.
  • Fig. 15 shows an embodiment in which the shaft 14 and the pusher is designed as a counter punch.
  • a bottom portion 114 can be contoured in the pull portion of the workpiece 100.
  • punches 30 and counter punches each comprise an axial end face which corresponds to the contour of the finished shaped workpiece 100.
  • FIGS. 16 to 27 show further forming steps that can be carried out in particular after the drawing process.
  • Fig. 16 an embodiment in which the workpiece 100 remains after the drawing process between the die 20 and punch 30 on the die 20 and the punch 30 is withdrawn.
  • a Nachformrolle 70 which is designed in the present case as an inner roller, the axial shape portion 106 of the workpiece 100 can be reshaped, in particular be stretched. At this time, the inner diameter of the mold section 106 is reduced.
  • the radially outer portion 104 of the workpiece 100 may be urged by the forming roll 40 to push additional material into the axial forming portion 106.
  • Fig. 17 shows a way to form on the axial shape portion 106 of the workpiece 100 axially opposite side, a second axial mold portion 106.
  • a forming roller 40a, 40b further material from the radially outer portion 104 is displaced inwardly and integrally formed on the punch 30.
  • the punch and / or the forming roller 40a, 40b have a chamber 38.
  • the forming rollers 40a, 40b may in principle also be the same forming roller 40 used during the drawing operation.
  • FIGS. 18 and 19 the use of a sliding sleeve 74 is shown in order to further increase the flexibility of the method and to be able to produce complex components.
  • the sliding sleeve 74 is arranged annularly around the punch 30 and axially displaceable relative to the punch 30.
  • the sliding sleeve 74 may be retracted to allow the forming roller 40 to be moved up to the punch 30 to effectively move material radially inward toward the drawing nip.
  • the sliding sleeve 74 can be axially moved up to the workpiece 100 to form a spinning mandrel for a second axial section, as in Fig. 19 shown.
  • the radial extent of the sliding sleeve 74 is in principle freely selectable, so that a very wide variety of shapes of the workpiece 100 can be produced.
  • FIGS. 23 and 24 Further Nachform suitse are shown to form an outer region of the workpiece 100.
  • the die 20 and a sliding sleeve 74 serve as spinning mandrels against the outer peripheries material is pressed.
  • Fig. 25 shows a complex component which can be produced by the method according to the invention. To form multiple hub sections different sliding sleeves 74 are used.
  • FIG. 12 shows the upset of a hub of a workpiece 100 as a follow-up of the manufacture of the hub by drawing and simultaneously forming the flange portion 108.
  • Fig. 27 shows further examples of components that can be produced by forming a workpiece 100 by means of the method according to the invention and the device according to the invention.

Landscapes

  • Engineering & Computer Science (AREA)
  • Mechanical Engineering (AREA)
  • Shaping Metal By Deep-Drawing, Or The Like (AREA)

Abstract

Die Erfindung betrifft ein Verfahren zum Umformen eines Werkstücks (100) mit einer Mittenachse, einem radial inneren Bereich und einem radial äußeren Bereich, bei welchem der radial innere Bereich des Werkstücks mittels eines Stempels und einer Matrize durch Ziehen in Achsrichtung umgeformt wird, wobei ein axialer Formabschnitt gebildet wird. Es ist vorgesehen, dass das Werkstück (100), Matrize (20) und Stempel (30) während der Umformung durch Ziehen um die Mittenachse (12) in Drehung versetzt wird und dass während der Umformung durch Ziehen bei drehendem Werkstück (100) der radial äußere Bereich (104) des Werkstücks (150) mittels mindestens einer Umformrolle (40) beaufschlagt wird, wobei ein Materialfluss in Richtung des radial inneren Bereichs (102) des Werkstücks (100) erzeugt beziehungsweise unterstützt wird. Die Erfindung betrifft außerdem eine Vorrichtung zum Umformen eines Werkstücks.

Description

  • Die Erfindung betrifft ein Verfahren und eine Vorrichtung zum Umformen eines Werkstücks gemäß den Oberbegriffen der Ansprüche 1 und 11.
  • Das umzuformende Werkstück weist eine Mittenachse, einen radial inneren Bereich und einen radial äußeren Bereich auf. Bei dem Verfahren wird der radial innere Bereich des Werkstücks mittels eines Stempels und einer Matrize durch Ziehen in Achsrichtung umgeformt. Dabei wird ein axialer Formabschnitt gebildet.
  • Die Vorrichtung umfasst eine Matrize und einen Stempel zum Umformen des radial inneren Bereichs des Werkstücks durch Ziehen.
  • Mit dem beschriebenen Umformverfahren und der beschriebenen Vorrichtung lassen sich durch sogenanntes Ziehen oder Tiefziehen eine Vielzahl von Formen herstellen. Dabei erfolgt üblicherweise eine Durchmesserreduzierung des Werkstücks. Die bei der Umformung auftretenden Spannungen, insbesondere radiale Zug- und tangentiale Druckspannungen, bewirken einen äußerst komplexen Materialfluss.
  • Die durch Ziehen oder Tiefziehen hergestellten Formen weisen üblicherweise einen radialen Flanschabschnitt und einen axialen Formabschnitt auf. Unter dem axialen Formabschnitt wird hierbei insbesondere ein aus der Ebene des radialen Flanschabschnittes herausragender Werkstückabschnitt verstanden.
  • Eine bekannte Schwachstelle bei der Umformung durch Tiefziehen ist die Kante beziehungsweise der Übergang zwischen dem radialen Flanschabschnitt und dem axialen Formabschnitt. In diesem Bereich tritt häufig eine Materialschwächung auf, die im ungünstigsten Fall auch zu einem Materialabriss führen kann. Zur Vermeidung einer übermäßigen Materialschwächung ist es beispielsweise bekannt, das Werkstück bei der Umformung zu erwärmen, im Übergangsbereich relativ große Biegeradien vorzusehen und/oder den Ziehvorgang mehrstufig durchzuführen.
  • Durch Ziehen beziehungsweise Tiefziehen lassen sich beispielsweise Näpfe herstellen. Die Umformung durch Tiefziehen erfordert hohe axiale Presskräfte.
  • Ein weiteres Anwendungsgebiet für das Ziehen beziehungsweise Tiefziehen ist die Herstellung von Getriebeteilen mit einer mittigen Nabe. Das Verfahren wird beispielsweise bei der Herstellung von Riemenscheiben oder Lamellenträgern angewendet. Hierbei wird durch Tiefziehen zunächst eine Vorform mit einer Nabe hergestellt, die anschließend, beispielsweise auf einer Drück- oder Drückwalzmaschine, weiter umgeformt wird. Das Tiefziehen eines Werkstücks zur Herstellung eines Lamellenträgers ist beispielsweise in der DE 43 27 746 A1 beschrieben.
  • Bei einem alternativen Verfahren zum Anformen einer Nabe an ein rondenförmiges Ausgangswerkstück wird ein Außenbereich des Werkstücks mittels einer Drückrolle umgeformt und das dabei gewonnene Material zu einem zylindrischen Vorsprung um einen das Werkstück durchdringenden Werkzeugstift geformt. Dieses Verfahren zur Herstellung eines eine Nabe aufweisenden Getriebeteils ist beispielsweise in der DE 44 00 257 C1 beschrieben.
  • In der EP 0 997 210 A2 ist ein Verfahren zur Nabenanformung beschrieben, bei dem der Außenbereich des Werkstücks durch eine Rolle mit einer Schneidkante bearbeitet wird. Das von dem Außenbereich abgetrennte Material wird in einer Kammerung der Rolle zu der Nabe geformt.
  • Bei der Nabenherstellung durch Drücken oder Spalten bestehen Limitierungen hinsichtlich der Formgestaltung und Wandstärke der Nabe.
  • Der Erfindung liegt die Aufgabe zugrunde, ein Verfahren und eine Vorrichtung zum Umformen eines Werkstücks anzugeben, welche eine besonders wirtschaftliche und effiziente Umformung ermöglichen.
  • Die Aufgabe wird erfindungsgemäß durch ein Verfahren mit den Merkmalen des Anspruchs 1 und eine Vorrichtung mit den Merkmalen des Anspruchs 11 gelöst. Bevorzugte Ausgestaltungen sind in den jeweils abhängigen Ansprüchen angegeben.
  • Das Verfahren ist erfindungsgemäß dadurch gekennzeichnet, dass während der Umformung durch Ziehen das Werkstück um die Mittenachse in Drehung versetzt und bei drehendem Werkstück der radial äußere Bereich des Werkstücks mittels mindestens einer Umformrolle beaufschlagt wird, wobei ein Materialfluss in Richtung des radial inneren Bereichs des Werkstücks erzeugt beziehungsweise unterstützt wird.
  • Bei einer Vorrichtung ist erfindungsgemäß vorgesehen, dass die Matrize und der Stempel drehbar gelagert sind und dass eine Umformrolle angeordnet ist, durch welche während der Umformung des Werkstücks durch Ziehen ein radial äußerer Bereich des Werkstücks beaufschlagbar ist, wobei ein Materialfluss in Richtung des radial inneren Bereichs des Werkstücks erzeugbar ist.
  • Ein Grundgedanke der Erfindung besteht darin, während des Ziehvorgangs eine Materialverdrängung mittels der Umformrolle aus dem radial äußeren Bereich in den radial inneren Bereich zu bewirken oder zu unterstützen. Die Beaufschlagung oder Umformung des radial äußeren Bereichs des Werkstücks mittels der Umformrolle kann derart erfolgen, dass gezielt ein radial nach innen gerichteter Materialfluss erzeugt wird, Material also radial nach innen verschoben wird.
  • Der durch die Umformrolle erzeugte Materialfluss unterstützt den Materialfluss beim Ziehen. Die Materialschwächung an der Kante zwischen dem durch Ziehen umgeformten, radial inneren Bereich und dem radial äußeren Bereich des Werkstücks wird substantiell vermindert. Damit eignen sich das Verfahren und die Vorrichtung insbesondere für die Herstellung von Getriebeteilen, wie beispielsweise Nabenscheiben, Riemenscheiben, Lamellenträgern oder Drehschwingungsdämpfern, bei welchen gerade dieser Übergangsbereich großen Belastungen ausgesetzt ist. Zudem lassen sich ohne Materialschwächung kleinere Radien an dem Übergang beziehungsweise der Kante formen. Durch das Nachschieben von Material nach innen können außerdem die erforderlichen Presskräfte zwischen Stempel und Matrize reduziert werden. Zudem kann eine Beaufschlagung mit einer Umformrolle zu einem Spannungsabbau im radial äußeren Bereich und damit zur Verminderung einer Wellenbildung beitragen.
  • Ein weiterer Vorteil des erfindungsgemäßen Verfahrens besteht darin, dass durch die Umformung des Außenbereichs mittels Umformrolle eine hohe Kaltverfestigung des Materials bewirkt werden kann. Somit lässt sich wirtschaftlich ein besonders belastbares Bauteil herstellen.
  • Die Umformung des radial inneren Bereichs durch Ziehen ermöglicht überdies eine weitgehend freie Formgestaltung, wobei auch nicht-rotationssymmetrische Konturen, beispielsweise polygonale Konturen oder Riffelungen, geformt werden können. Durch den verbesserten Materialfluss können komplexe Werkstückformen hergestellt werden.
  • Bei dem umzuformenden Werkstück kann es sich insbesondere um ein Flachmaterial, insbesondere einen Blechrohling, mit einer Haupterstreckungsrichtung quer oder radial zur Mittenachse handeln. Beispielsweise kann es sich bei dem Werkstück um eine Ronde handeln. Vorzugsweise ist das Ausgangswerkstück vor der erfindungsgemäßen Umformung zumindest weitgehend rotationssymmetrisch zu der Mittenachse.
  • Das Ziehen des Werkstücks erfolgt vorzugsweise in einem Ziehspalt zwischen dem Stempel und der Matrize. Die Matrize weist hierzu einen mittigen Aufnahme- oder Freiraum auf, in welchen der Stempel zum Umformen des Werkstücks durch Ziehen eingefahren wird. Die Umformung erfolgt durch koaxiales Einfahren des Stempels in den Aufnahmeraum der Matrize.
  • Erfindungsgemäß wird das Werkstück zumindest während einer gewissen Bearbeitungszeit gleichzeitig durch Ziehen mittels Stempel und Matrize und durch Beaufschlagung mittels der Umformrolle bearbeitet. Die Vorrichtung ist entsprechend dazu eingerichtet, eine gleichzeitige Bearbeitung des Werkstücks durch die Matrize und den Stempel sowie durch die Umformrolle zu gewährleisten.
  • Durch das Ziehen des Werkstücks wird ein aus der Ebene des Werkstücks beziehungsweise des radial äußeren Bereichs herausragender Abschnitt gebildet, welcher als axialer Formabschnitt bezeichnet wird. Der axiale Formabschnitt kann beispielsweise eine ringförmige, insbesondere zylinderförmige oder konische Wand aufweisen, die sich um die Mittenachse des Werkstücks erstreckt. Bei der Ausbildung des axialen Formabschnitts entsteht an dem radial äußeren Bereich ein als Flanschabschnitt bezeichneter radialer Außenbereich des Werkstücks.
  • Bei der Umformrolle kann es sich insbesondere um eine Drückrolle oder Drückwalze handeln. Durch Beaufschlagung des Werkstücks wird die Dicke des radial äußeren Bereichs verringert und das hierbei verdrängte Material radial nach innen gedrückt. Die Umformung erfolgt bei rotierendem Werkstück. Es kann auch eine Profilierrolle zum Anstauchen bzw. Verdicken des Materials eingesetzt werden, die vorzugsweise radial zugestellt wird.
  • Grundsätzlich kann es ausreichend sein, durch die Umformrolle lediglich eine axiale Andruckkraft zu erzeugen, so dass das Material radial nach innen ausweicht. Eine effektivere Materialverschiebung wird jedoch erzeugt, wenn die Umformrolle den Flanschabschnitt des Werkstücks durch eine radiale Bewegung umformt.
  • Ein wirksamer, nach innen gerichteter Materialfluss kann insbesondere dadurch erzielt werden, dass die Umformrolle in Richtung des radial inneren Bereichs des Werkstücks beziehungsweise in Richtung des axialen Formabschnitts zugestellt wird. Die Umformrolle wird hierbei zunächst axial an den äußeren Bereich des Werkstücks zugestellt und dann radial nach innen verfahren. Durch die Materialverschiebung nach innen wird die axiale Ausdehnung, also die Dicke, des radialen Außenbereiches in dem beaufschlagten Bereich reduziert.
  • Vorzugsweise wird der radial äußere Bereich des Werkstücks zur Beschränkung eines nach außen gerichteten Materialflusses umfangsseitig abgestützt. Die Abstützung erfolgt vorzugsweise über ein Widerlager, beispielsweise einen Ring, der ein Auswandern des Materials nach außen begrenzt. Vorzugsweise bildet das Widerlager einen Anschlag für den äußeren Bereich des Werkstücks. Das Material kann bei Beaufschlagung durch die Umformrolle somit weitgehend nur nach innen ausweichen, wodurch ein effektiver Materialfluss in Richtung des Ziehspalts zwischen Stempel und Matrize beziehungsweise der Übergangskante zwischen Flanschabschnitt und axialem Formabschnitt erfolgt.
  • Um eine Aufwölbung des radial äußeren Bereichs des Werkstücks möglichst zu unterbinden, wird der radial äußere Bereich des Werkstücks vorzugsweise mittels einer Niederhalterrolle niedergehalten. Die Niederhalterrolle liegt an dem äußeren Bereich des Werkstücks an und drückt axial gegen diesen, so dass ein Aufwölben in axialer Richtung verhindert wird. Im Gegensatz zur Umformrolle erfolgt durch die Niederhalterrolle vorzugsweise keine aktive Umformung des Werkstücks.
  • Ein besonders wirtschaftliches Verfahren lässt sich dadurch erzielen, dass der radial äußere Bereich des Werkstücks auf einer Drückoberfläche der Matrize umgeformt wird. Die Matrize dient also gleichsam als Umformwerkzeug für das Ziehen des Werkstücks und als Drückfutter für das Umformen mittels der Umformrolle. Das Werkstück kann somit gleichzeitig auf der Matrize durch Ziehen beziehungsweise Tiefziehen und durch Drücken beziehungsweise Drückwalzen umgeformt werden.
  • Durch das Ziehen des radial inneren Bereichs des Werkstücks kann beispielsweise eine napf- oder hülsenförmige Kontur geformt werden. Zur Formung einer hülsenförmigen Kontur kann beispielsweise zunächst eine Mittenöffnung in das Werkstück eingebracht oder ein Ausgangswerkstück mit einer Mittenöffnung verwendet werden. Die Mittenöffnung kann mittels des Stempels und der Matrize durch Ziehen aufgeweitet werden. Durch den Ziehvorgang kann die Öffnung bei der Umformung vergrößert werden, so dass Material durch das Ziehwerkzeug aus dem Zentrum auf einen größeren Durchmesser verdrängt wird.
  • In einer bevorzugten Ausgestaltung des Verfahrens wird der innere Bereich des Werkstücks beim Ziehen mittels eines Abstreckringes abgestreckt. Hierdurch lässt sich die Wandstärke des Axialabschnitts beim Ziehen effizient verringern und eine zusätzliche Verfestigung des Materials erzeugen. Die mindestens eine Umformrolle führt dem Ziehspalt das für das Abstrecken und/oder Umformen erforderliche Material zu.
  • Vorzugsweise wird beim Umformen des Werkstücks mittels der Umformrolle eine definierte Struktur in den radial äußeren Bereich des Werkstücks eingeformt. Die Drückoberfläche der Matrize weist hierzu vorzugsweise eine entsprechende, definierte Struktur auf, in welche das Material mittels der Umformrolle eingeformt wird. Unter einer definierten Struktur werden insbesondere Vorsprünge, Einkerbungen, Nuten, Rillen, oder Verzahnungen verstanden. Gleichzeitig mit dem Ziehen lässt sich somit besonders effektiv der äußere Bereich des Werkstücks gestalten. Durch das Verfahren lassen sich in den Flanschabschnitt des Werkstückes beispielsweise radial verlaufende, axiale Versteifungen anformen.
  • Die Zuverlässigkeit der Umformung des Werkstücks kann weiter dadurch erhöht werden, dass der Stempel pulsierend in die Matrize eingefahren wird. Vorzugsweise erfolgt dabei, insbesondere in sehr kurzer Zeitabfolge, nach jedem Zustellhub ein kürzerer Rückhub zur Materialentlastung. Die Kombination einer kontinuierlichen Bewegung der Umformrolle mit einer pulsierenden Bewegung des Stempels beim Pressvorgang bewirkt eine besonders gute Formausprägung und Materialverfestigung, insbesondere an der Übergangskante zwischen Außenflansch und axialem Formabschnitt. Zudem reduziert es die Kraft beim axialen Formen von Verzahnungen mittels des Stempels.
  • Ein inkrementelles Ziehen oder Tiefziehen verringert zudem die Gefahr einer Rissbildung im Werkstück.
  • In einer weiteren bevorzugten Ausgestaltung des Verfahrens ist vorgesehen, dass das Werkstück zunächst im Stillstand, also ohne Rotation, mittels des Stempels vorgezogen und anschließend bei rotierendem Werkstück und unter Beaufschlagung durch die Umformrolle weiter gezogen wird. Das Vorziehen ohne Beaufschlagung durch die Umformrolle ermöglicht eine zuverlässige Zentrierung des Werkstücks und eine Reduzierung der Taktzeit beziehungsweise der Umformzeit.
  • In einer bevorzugten Ausgestaltung erfolgt die Umformung des Werkstücks zumindest weitgehend unter Beibehaltung des Durchmessers, also im Wesentlichen ohne Durchmesserreduzierung. Der radial äußere Bereich des Werkstücks kann hierzu an der Matrize entsprechend fixiert werden.
  • Vorzugsweise erfolgt eine interpolierende Zustellung der Umformrolle zum Stempel.
  • Zur Nachformung des Werkstücks werden nach dem Ziehen vorzugsweise weitere Umformschritte, insbesondere durch Drücken, Drückwalzen, Abstreckdrücken, Spalten und/oder Profilieren durchgeführt, während das Werkstück zwischen der Matrize und dem Stempel eingespannt ist. Beispielsweise lässt sich der Ziehbereich anschließend auf der Vorrichtung durch mindestens eine Umformrolle weitergehend verformen. Der Ziehbereich kann auch durch mindestens eine Drückwalze weitergehend verformt und die Wanddicke zumindest partiell reduziert werden. Dabei kann das verdrängte Material eine Außenverzahnung bilden.
  • Auf ein und derselben Maschine lässt sich somit vorzugsweise eine Vielzahl von Umformschritten durchführen, wobei die Halterung des Werkstücks zwischen der Matrize und dem Stempel beibehalten wird. Alternativ oder zusätzlich zur Einspannung des Werkstücks zwischen Matrize und Stempel können jedoch gegebenenfalls auch andere Halteeinrichtungen vorgesehen sein.
  • Vorrichtungsmäßig ist es bevorzugt, dass die Matrize ein Drückfutter für die Umformrolle bildet und eine ringförmige Drückoberfläche aufweist. Die Drückoberfläche erstreckt sich hierbei quer zur Mittenachse des Werkstücks beziehungsweise quer zur Drehachse der Vorrichtung. Auf der Drückoberfläche kann der Außenbereich des Werkstücks durch die Umformrolle beaufschlagt beziehungsweise umgeformt werden.
  • Zum Einformen einer definierten Oberflächenstruktur in den radial äußeren Bereich des Werkstücks weist die Matrize vorzugsweise eine Drückoberfläche mit einer entsprechenden, definierten Struktur auf. Die strukturierte Drückoberfläche kann beispielsweise Vorsprünge, Einkerbungen, Nuten, Rillen, Verzahnungen oder dergleichen aufweisen.
  • Des Weiteren kann die Matrize und/oder der Stempel zum Formen einer definierten Kontur an dem radial inneren Bereich des Werkstücks eine entsprechende, definierte Kontur, insbesondere eine polygonale Kontur und/oder eine Profilierung, aufweisen. Beispielsweise kann der Aufnahmeraum der Matrize eine definierte Innenkontur aufweisen, die der zu formenden Außenkontur des Werkstücks im Bereich des axialen Formabschnitts entspricht. Zum Formen einer definierten Innenkontur des Werkstücks im Bereich des axialen Formabschnitts kann der Stempel eine entsprechende Außenkontur aufweisen. Die erfindungsgemäße Vorrichtung kann insbesondere dazu eingerichtet sein, neben rotationssymmetrischen Formen auch nicht-rotationssymmetrische Formen herzustellen. Beispielsweise lässt sich ein polygonaler oder geriffelter axialer Formabschnitt des Werkstücks herstellen.
  • Bei dem Ziehprozess kann in dem Ziehbereich eine innenliegende und/oder eine außenliegende Form, vorzugsweise eine Steckverzahnung, angeformt werden. Bei dem Verfahren kann außerdem eine Hirthverzahnung außerhalb und/oder innerhalb, vorzugsweise im Napf- bzw. Nabenbereich am Boden und/oder am Flanschbereich angeformt bzw. geprägt werden.
  • Für eine wirksame Erzeugung eines nach innen gerichteten Materialflusses durch die Umformrolle ist vorzugsweise ein, insbesondere einteiliger, Stützring vorgesehen, welcher zur Beschränkung eines Materialflusses nach außen eine Anschlagfläche für einen äußeren Umfang des Werkstücks bereitstellt und/oder zum Zentrieren des Werkstücks und/oder zur Drehmomentübertragung auf das Werkstück dient. Der Stützring kann auch geteilt ausgeführt werden, wobei die einzelnen Teile oder Segmente dann vorzugsweise in radialer Richtung verfahrbar sind.
  • Zum Abstrecken des inneren Bereichs des Werkstücks beim Ziehen umfasst die Matrize vorzugsweise einen Abstreckring. Der Abstreckring kann beim Ziehen des Axialabschnitts des Werkstücks eine Materialverdünnung bewirken.
  • Erfindungsgemäß ist es bevorzugt, dass sowohl die Matrize als auch der Stempel drehend antreibbar sind. Vorzugsweise ist eine Synchronisierungseinrichtung vorgesehen, welche die Drehgeschwindigkeiten der Matrize und des Stempels synchronisiert. Durch den drehenden Antrieb der Matrize und des Stempels lässt sich eine besonders präzise Umformung erzielen.
  • In der Vorrichtung oder bei dem Prozess wird vorzugsweise ein Trennmittel, insbesondere ein Schmiermittel, eingesetzt, welches den Ziehvorgang und die spätere Entnahme des Bauteils erleichtert. Als Trennmittel kann auch eine Emulsion eingesetzt werden, die eine höhere Wärmeabfuhr während des Prozesses ermöglicht.
  • Zur Vermeidung der Faltenbildung kann bei dem Ziehvorgang ein Ziehring zum Niederhalten des Materials eingesetzt werden. Zur Vermeidung der Faltenbildung kann auch eine zusätzliche Rolle als Gegenhalter eingesetzt werden.
  • Die Vorrichtung kann vorzugsweise mit einem Auswerfer und/oder einer automatischen Be- und Entladung versehen sein.
  • Die Zustellung des Stempels und/oder der Umformrolle kann vorzugsweise als weg-oder kraftgesteuerte Achse, insbesondere als interpolierende weg- oder kraftgesteuerte Achse, erfolgen.
  • Mit dem erfindungsgemäßen Verfahren ist auch die Anformung eines zweiten, sich axial erstreckenden nabenförmigen Bereiches möglich, der sich auch entgegengesetzt zum Ziehbereich erstrecken kann. Die Anformung der weiteren Nabe kann beispielsweise durch Drückwalzen oder Abspalten und/oder mit einer gekammerten Umformrolle erfolgen. Auch der Einsatz von Schiebehülsenwerkzeugen zur Anformung einer dritten Nabe in einer Aufspannung ist möglich.
  • Das Verfahren ermöglicht die Anformung von Naben, die nahezu die Wanddicke des Ausgangsmaterial haben.
  • Die Erfindung wird nachfolgend anhand von bevorzugten Ausführungsformen, welche in den beigefügten Zeichnungen dargestellt sind, weiter beschrieben. In den Zeichnungen zeigt:
  • Fig. 1
    eine erste Ausführungsform einer Umformvorrichtung und eines Umformverfahrens;
    Fig. 2
    eine weitere Ausführungsform einer Umformvorrichtung und eines Umformverfahrens;
    Fig. 3
    eine weitere Ausführungsform einer Umformvorrichtung und eines Umformverfahrens;
    Fig. 4
    eine weitere Ausführungsform einer Umformvorrichtung und eines Umformverfahrens;
    Fig. 5
    eine weitere Ausführungsform einer Umformvorrichtung und eines Umformverfahrens;
    Fig. 6
    eine weitere Ausführungsform einer Umformvorrichtung und eines Umformverfahrens;
    Fig. 7
    eine weitere Ausführungsform einer Umformvorrichtung und eines Umformverfahrens;
    Fig. 8
    eine weitere Ausführungsform einer Umformvorrichtung und eines Umformverfahrens;
    Fig. 9
    eine weitere Ausführungsform einer Umformvorrichtung und eines Umformverfahrens;
    Fig. 10
    eine weitere Ausführungsform einer Umformvorrichtung und eines Umformverfahrens;
    Fig. 11
    eine weitere Ausführungsform einer Umformvorrichtung und eines Umformverfahrens;
    Fig. 12
    eine weitere Ausführungsform einer Umformvorrichtung und eines Umformverfahrens;
    Fig. 13
    eine weitere Ausführungsform einer Umformvorrichtung und eines Umformverfahrens;
    Fig. 14
    eine weitere Ausführungsform einer Umformvorrichtung und eines Umformverfahrens;
    Fig. 15
    eine weitere Ausführungsform einer Umformvorrichtung und eines Umformverfahrens;
    Fig. 16
    eine weitere Ausführungsform einer Umformvorrichtung und eines Umformverfahrens;
    Fig. 17
    eine weitere Ausführungsform einer Umformvorrichtung und eines Umformverfahrens;
    Fig. 18
    eine weitere Ausführungsform einer Umformvorrichtung und eines Umformverfahrens;
    Fig. 19
    eine weitere Ausführungsform einer Umformvorrichtung und eines Umformverfahrens;
    Fig. 20
    eine weitere Ausführungsform einer Umformvorrichtung und eines Umformverfahrens;
    Fig. 21
    eine weitere Ausführungsform einer Umformvorrichtung und eines Umformverfahrens;
    Fig. 22
    Umformschritte zur Herstellung eines komplexen Bauteils;
    Fig. 23
    eine weitere Ausführungsform einer Umformvorrichtung und eines Umformverfahrens;
    Fig. 24
    eine weitere Ausführungsform einer Umformvorrichtung und eines Umformverfahrens;
    Fig. 25
    eine weitere Ausführungsform einer Umformvorrichtung und eines Umformverfahrens;
    Fig. 26
    einen Umformschritt zur Anstauchung einer Nabe und
    Fig. 27
    unterschiedliche Bauteile und Zwischenformen, die durch das Umformverfahren und die Umformvorrichtung gemäß der Erfindung herstellbar sind.
  • In sämtlichen Figuren sind gleiche oder äquivalente Komponenten mit denselben Bezugszeichen gekennzeichnet. Die anhand der Figuren erläuterten Aspekte der Erfindung können grundsätzlich frei miteinander kombiniert werden und sind nicht als sich gegenseitig ausschließende Alternativen zu verstehen.
  • Die Figuren 1 und 2 zeigen grundsätzliche Aspekte des erfindungsgemäßen Verfahrens und der erfindungsgemäßen Vorrichtung 10 am Beispiel der spanlosen Anformung eines Napfes beziehungsweise einer Nabe an ein vorzugsweise weitgehend rotationssymmetrisches Werkstück 100, beispielsweise eine Ronde oder Vorform.
  • Die Vorrichtung 10 zum Umformen des Werkstücks 100 weist eine Matrize 20 mit einer etwa mittigen Aufnahmeöffnung 22 auf, in welche ein Stempel 30 in eine axiale Richtung linear einführbar ist. Die Matrize 20 und der Stempel 30 sind so aufeinander abgestimmt, dass zwischen diesen ein Ziehspalt ausgebildet wird, in welchen ein innerer Bereich 102 des Werkstücks 100 beim Einfahren des Stempels 30 in die Matrize 20 hineingezogen wird.
  • Matrize 20 und Stempel 30 sind drehbar um eine Drehachse 12 an einem nicht dargestellten Maschinenbett gelagert und drehend antreibbar. Das Werkstück 100 ist an der Matrize 20 positionierbar und kann über diese ebenfalls in Drehung versetzt werden. Das Werkstück 100 ist gegebenenfalls an der Matrize 20 zentrierbar und wird durch die Matrize 20 und den Stempel 30 während der Umformung in Position gehalten. Für eine besonders effektive Umformung kann der Stempel 30 zusätzlich zur Matrize 20 drehzahl- beziehungsweise drehwinkelsynchron angetrieben werden.
  • Des Weiteren umfasst die Vorrichtung 10 eine oder mehrere Umformrollen 40, welche eingerichtet sind, an einen äußeren, sich im Wesentlichen radial erstreckenden Bereich 104 des Werkstücks 100 axial und/oder radial zugestellt zu werden, während der innere Bereich 102 des Werkstücks 100 mittels des Stempels 30 und der Matrize 20 umgeformt wird. Die zumindest eine Umformrolle 40 ist um eine Drehachse 42, welche vorzugsweise quer oder schräg zu der Drehachse 12 verläuft, drehbar gelagert. Die Matrize 20 weist eine Drückoberfläche 24 auf, die sich im Wesentlichen quer zur Drehachse 12 erstreckt, und ist auf einer Welle 14 gelagert.
  • Zum Umformen des Werkstücks 100 wird dieses an der Matrize 20 angeordnet. Der Stempel 30 wird axial entlang der Drehachse 12 beziehungsweise koaxial zur Drehachse 12 in Richtung der Matrize 20 verfahren, so dass das Werkstück 100 zwischen der Matrize 20 und dem Stempel 30 eingeklemmt wird. Matrize 20 und Stempel 30 werden um die Drehachse 12, welche zugleich eine Mittenachse 112 des Werkstücks darstellt, in Drehung versetzt. Das Werkstück 100 wird über die Matrize 20 ebenfalls in Drehung versetzt.
  • Durch weiteres axiales Zustellen des Stempels 30 wird dieser in den Freiraum beziehungsweise die Aufnahmeöffnung 22 der Matrize 20 eingefahren und zieht das Werkstück 100 in einen zwischen Matrize 20 und Stempel 30 gebildeten Ziehspalt, so dass ein axialer Formabschnitt 106 und ein radialer Flanschabschnitt 108 gebildet werden. Stempel 30 und Matrize 20 sind zentrisch oder koaxial zueinander angeordnet und geführt. Durch den Ziehstempel 30 wirkt eine Druck- und/oder Zugspannung auf das Werkstück 100 ein.
  • Gleichzeitig mit dem Ziehen des Werkstücks 100 wird eine Umformrolle 40 an den radial äußeren Bereich 104 des Werkstücks 100 zugestellt und bewirkt aktiv einen Materialfluss aus dem radial äußeren Bereich 104 in Richtung des radial inneren Bereichs 102. Durch die Umformrolle 40 wird im umgeformten Bereich Material in radialer und/oder axialer Richtung verschoben und eine axiale Dicke des Bereichs 104 reduziert. Die Umformrolle 40 schiebt insbesondere Material radial nach innen und führt dieses dem Ziehspalt zu. Hierzu wird die Umformrolle 40 vorzugsweise radial nach innen zu verfahren, wie den Figuren 1.b und 1.c beziehungsweise 2.b und 2.c zu entnehmen ist.
  • Durch die Umformrolle 40, insbesondere Drückrolle oder Drückwalze, wird eine Druckspannung und/oder Zugspannung auf das umzuformende Werkstück 100 ausgeübt, die den Materialfluss beim Umformprozess des Stempels 30 unterstützt.
  • Die Umformung des Werkstücks 100 erfolgt also durch eine Kombination eines Tiefziehverfahrens und eines axialen und/oder radialen Drückwalzverfahrens.
  • Fig. 1 zeigt ein erfindungsgemäßes Verfahren und Komponenten der erfindungsgemäßen Vorrichtung am Beispiel der Umformung eines rondenförmigen Werkstücks 100 zu einem Bauteil mit einem axialen Formabschnitt 106 in Form eines napfförmigen inneren Bereichs. Der Stempel 30 weist eine vorzugsweise im Wesentlichen zylindrische Form mit einer zylindrischen Außenfläche 32 auf.
  • Fig. 2 zeigt eine Ausgestaltung des erfindungsgemäßen Verfahrens anhand der Umformung eines im Wesentlichen rondenförmigen Werkstücks 100 mit einer zentralen Mittenöffnung 110 zu einem Bauteil mit einem axialen Formabschnitt 106 in Form eines hülsenförmigen inneren Bereichs. Der Stempel 30 weist in diesem Fall einen etwa konusförmigen Abschnitt 34 zum Aufweiten des Werkstücks 100 und einen Einführabschnitt 35 zum Einführen und Zentrieren des Werkstücks 100 auf. Der Einführabschnitt 35 wird zunächst in die zentrale Mittenöffnung 110 des Werkstücks 100 eingeführt. Sodann wird der Stempel 30 in die Aufnahmeöffnung 22 eingefahren und das Werkstück 100 in den Ziehspalt zwischen Matrize 20 und Stempel 30 gezogen, wobei die Mittenöffnung 110 aufgeweitet wird. Analog zu der Ausführungsform gemäß Fig. 1 wird während des Ziehens des Werkstücks 100 der radial äußere Bereich 104 durch eine Umformrolle 40 beaufschlagt und so ein gezielter Materialfluss in Richtung des Ziehspalts erzeugt.
  • Fig. 3 zeigt eine Ausgestaltung des Verfahrens, bei welcher das Werkstück 100 vor der Ziehumformung des radial inneren Bereichs 102 durch die Umformrolle 40 vorgeformt und das Werkstück 100 an der Matrize 20 zentriert wird. Die Zentrierung erfolgt durch Eindrücken des Werkstücks 100 in eine Kontur der Matrize 20. In dem dargestellten Beispiel wird der Außenbereich des Werkstücks 100 in eine ringförmige Nut in der Matrize 20 eingedrückt.
  • Durch die Vorformung des radial äußeren Bereichs 104 des Werkstücks 100 wird das Werkstück 100 in radialer Richtung an der Matrize 20 fixiert. Bei dem nachfolgenden Umformschritt durch Ziehen mittels Matrize 20 und Stempel 30 bleibt folglich durch das in Umfangsrichtung verlaufende Profil des Bereichs 104 die radiale Ausdehnung des Werkstücks 100 unverändert. Hierdurch entstehen bei dem Ziehen des Werkstücks 100 besonders große Ziehkräfte, die ohne eine Beaufschlagung des radial äußeren Bereichs 104 während der Ziehumformung ein Verlieren der Zentrierung und/oder eine erhebliche Bruchgefahr des Werkstücks 100 bedeuten würden.
  • Fig. 4 zeigt eine weitere Möglichkeit, das Werkstück an der Matrize 20 zu fixieren. Bei der in Fig. 4 dargestellten Variante umfasst die Matrize 20 einen äußeren Umfangsbereich 26, welcher gegenüber einem inneren Oberflächenabschnitt, an welchem das Werkstück 100 anliegt, angewinkelt ist. Mittels der Umformrolle 40 wird das Werkstück 100 unter Ausbildung eines etwa ringförmig verlaufenden Knickes an den äußeren Umfangsbereich 26 der Matrize 20 angelegt. Anschließend kann das Werkstück 100 mittels eines Niederhalterrings 28 fixiert werden, wobei das Werkstück 100 zwischen der Matrize 20 und dem Niederhalterring 28 eingeklemmt ist. Nachfolgend wird der radial innere Bereich 102 des Werkstücks 100, wie vorstehend beschrieben, durch Ziehen umgeformt, wobei gleichzeitig der radial äußere Bereich 104 durch die Umformrolle 40 beaufschlagt beziehungsweise umgeformt wird.
  • In der unteren Darstellung in Fig. 4 ist zusätzlich zu der Umformrolle 40 eine Niederhalterrolle 66 dargestellt, die das Werkstück 100 in axialer Richtung niederhält und ein Aufbäumen des Werkstücks 100 beziehungsweise Materials verhindert.
  • Fig. 5 entspricht im Wesentlichen der Darstellung der Figuren 1.b beziehungsweise 2.b, wobei der Stempel 30 zusätzlich durch eine Stützrolle 54 abgestützt ist. Die Stützrolle 54 ist im Wesentlichen parallel zum Stempel 30 drehbar gelagert und liegt an einer Umfangsfläche des Stempels 30 an. Es können auch mehrere Stützrollen 54 in Umfangsrichtung um den Stempel 30 verteilt angeordnet sein.
  • Die Figuren 6 bis 8 zeigen Möglichkeiten, einen Materialfluss nach außen beim Umformen des äußeren Bereichs 104 zu begrenzen oder zu verhindern und/oder zu unterstützen.
  • In Fig. 6 ist radial außerhalb der Umformrolle 40 eine Anpressrolle 68 angeordnet, die das Werkstück 100 radial nach innen drückt. Hierdurch wird ein Materialfluss nach außen verhindert und durch Einwirkung der Umformrolle 40 ein im Wesentlichen ausschließlich radial nach innen gerichteter Materialfluss erzeugt. Dabei kann der radiale Materialfluss durch die radiale Verschiebung der Rolle 68 unterstützt werden. Ein axiales Aufstauchen des Materials im äußeren Bereich 104 wird durch den paarweisen Einsatz der Rollen 66 und 67 verhindert beziehungsweise minimiert.
  • Fig. 7 zeigt zur Verhinderung eines Materialflusses nach außen einen Stützring 60, der um das Werkstück 100 angeordnet ist. Ein äußerer Umfangsbereich des Werkstücks 100 liegt an dem Stützring 60 an.
  • Fig. 8 zeigt eine weitere Ausgestaltung einer Anpressrolle 68, die im Unterschied zu der in Fig. 6 dargestellten Gestaltung eine Kammerung aufweist, die das Werkstück 100 in axialer Richtung fixiert und/oder zur gezielten Verdickung des äußeren radialen Bereiches 104 eingesetzt werden kann.
  • Figuren 6 und 8 zeigen weiterhin eine Niederhalterrolle 66 oberhalb des Werkstücks 100 und eine Gegenrolle 67 auf einer der Niederhalterrolle 66 gegenüberliegenden Seite des Werkstücks 100, neben der Matrize 20. Außerdem können die Rollen 66 und 67 den axialen Materialfluss im Bereich 104 begrenzen.
  • Eine Ausführungsform eines Stützrings 60 ist in Fig. 9 dargestellt. Der Stützring 60 umfasst mehrere Ringsegmente 62, die jeweils radial verschiebbar angeordnet sind. Durch radiales nach innen Bewegen der Ringsegmente 62 lässt sich das Werkstück 100 einspannen beziehungsweise abstützen, wie in den jeweils unteren Darstellungen der Fig. 9 gezeigt ist.
  • Fig. 10 veranschaulicht eine Möglichkeit, in den radial äußeren Bereich 104 des Werkstücks 100 eine definierte Struktur einzubringen. Die Matrize 20 umfasst hierzu an ihrer Drückoberfläche 24 eine entsprechend definierte Struktur 25 mit mehreren Strukturelementen, beispielsweise zur Ausformung von Versteifungsrippen, Verstärkungspunkten oder einer Verzahnung an dem radial äußeren Bereich 104 des Werkstücks 100. Die Strukturelemente können grundsätzlich beliebig angeordnet sein, wobei auch eine nicht-rotationssymmetrische Anordnung möglich ist.
  • Die Figuren 11 bis 13 zeigen Möglichkeiten der Formung einer Kontur oder Profilierung an dem radial inneren Bereich 102 des Werkstücks 100. In Fig. 11 weist die Matrize 20 an ihrer Aufnahmeöffnung 22 eine definierte Kontur 23 in Form einer Profilierung auf, in welche das Material beim Ziehen eingedrückt wird, so dass ein profilierter oder geriffelter Axialabschnitt des Werkstücks 100 formbar ist. In entsprechender Weise weist der Stempel 30 in Fig. 12 eine strukturierte Außenkontur 33 auf, durch welche ein strukturierter Bereich in den Axialabschnitt des Werkstücks 100 eingebracht werden kann. In den Axialabschnitt des Werkstücks 100 können auch beispielsweise polygonale Konturen 118 eingeformt werden, wie in Fig. 13 dargestellt. Durch das aktive Nachschieben von Material mittels der Umformrolle 40 kann die Ausformung solcher Konturen besonders präzise erfolgen und ein Abreißen des Werkstücks 100 wird zuverlässig verhindert.
  • Fig. 14 zeigt eine Ausgestaltung des Verfahrens, bei welcher das Material beim Ziehen abgestreckt wird. Hierdurch lässt sich die Materialstärke in dem Ziehbereich beziehungsweise dem axialen Formabschnitt 106 des Werkstücks 100 auf eine gewünschte Dicke reduzieren. In die Matrize 20 ist ein Abstreckring 56 eingebracht, der die Aufnahmeöffnung 22 ringförmig umgibt und einen Abstreckabschnitt aufweist, dessen Durchmesser geringer ist als der Durchmesser der Aufnahmeöffnung 22. Auf der linken Seite der Fig. 14 ist ein Verfahrensstadium zu Beginn der Umformung und auf der rechten Seite ein Verfahrensstadium mit abgeschlossenem Ziehvorgang dargestellt.
  • Fig. 15 zeigt eine Ausführungsform, bei welcher die Welle 14 beziehungsweise der Abschieber als Gegenstempel ausgebildet ist. Durch Ziehen oder Pressen des Werkstücks 100 zwischen dem Stempel 30 und dem Abschieber beziehungsweise Gegenstempel lässt sich ein Bodenabschnitt 114 in dem Ziehbereich des Werkstücks 100 konturiert formen. Stempel 30 und Gegenstempel umfassen hierzu jeweils eine axiale Stirnfläche, die der Kontur des fertig geformten Werkstücks 100 entspricht.
  • Die Figuren 16 bis 27 zeigen weitere Umformschritte, die insbesondere nach erfolgtem Ziehvorgang durchgeführt werden können. Hierbei zeigt Fig. 16 eine Ausführungsform, bei welcher das Werkstück 100 nach dem Ziehvorgang zwischen Matrize 20 und Stempel 30 an der Matrize 20 verbleibt und der Stempel 30 rückgezogen wird. Mittels einer Nachformrolle 70, welche im vorliegenden Fall als Innenrolle ausgeführt ist, kann der axiale Formabschnitt 106 des Werkstücks 100 nachgeformt, insbesondere abgestreckt werden. Hierbei wird der Innendurchmesser des Formabschnitts 106 verringert. Gleichzeitig kann, wie dargestellt, der radial äußere Abschnitt 104 des Werkstücks 100 mittels der Umformrolle 40 beaufschlagt werden, um weiteres Material in den axialen Formabschnitt 106 zu drücken.
  • Fig. 17 zeigt eine Möglichkeit, auf der dem axialen Formabschnitt 106 des Werkstücks 100 axial gegenüberliegenden Seite einen zweiten axialen Formabschnitt 106 anzuformen. Hierzu wird bei zwischen Matrize 20 und Stempel 30 eingespanntem Werkstück 100 und nach dem Ziehvorgang mittels vorzugsweise einer Umformrolle 40a, 40b weiteres Material aus dem radial äußeren Bereich 104 nach innen verschoben und an den Stempel 30 angeformt. Wie in Fig. 17 dargestellt, kann hierbei der Stempel und/oder die Umformrolle 40a, 40b eine Kammerung 38 aufweisen. Bei den Umformrollen 40a, 40b kann es sich grundsätzlich auch um dieselbe Umformrolle 40 handeln, die während des Ziehvorgangs verwendet wird.
  • In den Figuren 18 und 19 ist die Verwendung einer Schiebehülse 74 dargestellt, um die Flexibilität des Verfahrens weiter zu erhöhen und komplexe Bauteile herstellen zu können. Die Schiebehülse 74 ist ringförmig um den Stempel 30 angeordnet und gegenüber dem Stempel 30 axial verschiebbar. Beim Ziehvorgang kann die Schiebehülse 74 rückgezogen werden, um zu ermöglichen, dass die Umformrolle 40 bis an den Stempel 30 herangefahren werden kann, um Material wirksam radial nach innen in Richtung des Ziehspalts zu verschieben. Nach erfolgtem Ziehvorgang kann die Schiebehülse 74 axial bis an das Werkstück 100 herangefahren werden, um einen Drückdorn für einen zweiten Axialabschnitt zu bilden, wie in Fig. 19 gezeigt. Die radiale Ausdehnung der Schiebehülse 74 ist hierbei grundsätzlich frei wählbar, so dass unterschiedlichste Formen des Werkstücks 100 hergestellt werden können.
  • Grundsätzlich ist es auch möglich, mehrere Schiebehülsen anzuordnen und nacheinander zum Einsatz zu bringen, um komplexe Bauteile, wie beispielsweise in Fig. 22 dargestellt, herzustellen. Beispielsweise ist es möglich, zunächst eine innere Schiebehülse und anschließend eine äußere Schiebehülse zur Anformung von weiteren axialen Formabschnitten 106 zu verwenden. Eine weiter erhöhte Flexibilität hinsichtlich der zu formenden Bauteile kann dadurch erzielt werden, dass die Matrize 20 mehrteilig gestaltet ist beziehungsweise vorzugsweise mindestens ein Teil verschiebbar ist, wie in den Figuren 20 und 21 dargestellt, so das eine weitere Umformung am äußeren radialen Bereich 104 möglich ist.
  • In den Figuren 23 und 24 sind weitere Nachformschritte dargestellt, um einen Außenbereich des Werkstücks 100 zu formen. Hierbei dienen die Matrize 20 und eine Schiebehülse 74 als Drückdorne, gegen deren Außenumfänge Material gedrückt wird.
  • Fig. 25 zeigt ein komplexes Bauteil, welches durch das erfindungsgemäße Verfahren herstellbar ist. Zur Formung mehrerer Nabenabschnitte werden unterschiedliche Schiebehülsen 74 verwendet.
  • Fig. 26 zeigt die Anstauchung einer Nabe eines Werkstücks 100 als eine Folgebearbeitung der Herstellung der Nabe durch Ziehen und gleichzeitige Umformung des Flanschabschnitts 108.
  • Fig. 27 zeigt weitere Beispiele von Bauteilen, die durch Umformung eines Werkstücks 100 mittels des erfindungsgemäßen Verfahrens und der erfindungsgemäßen Vorrichtung hergestellt werden können.
  • Insgesamt werden durch das erfindungsgemäße Verfahren und die erfindungsgemäße Vorrichtung eine besonders flexible und zuverlässige Umformung eines insbesondere rondenförmigen Werkstücks 100 ermöglicht. Es lassen sich auf wirtschaftliche Weise komplexe Bauteile spanlos herstellen.

Claims (17)

  1. Verfahren zum Umformen eines Werkstücks (100) mit einer Mittenachse (112), einem radial inneren Bereich (102) und einem radial äußeren Bereich (104), bei welchem der radial innere Bereich (102) des Werkstücks (100) mittels eines Stempels (30) und einer Matrize (20) durch Ziehen in Achsrichtung umgeformt wird, wobei ein axialer Formabschnitt (106) gebildet wird, dadurch gekennzeichnet,
    - dass das Werkstück (100) während der Umformung durch Ziehen um die Mittenachse (112) in Drehung versetzt wird und
    - dass während der Umformung durch Ziehen bei drehendem Werkstück (100) der radial äußere Bereich (104) des Werkstücks (100) mittels mindestens einer Umformrolle (40) beaufschlagt wird, wobei ein Materialfluss in Richtung des radial inneren Bereichs (102) des Werkstücks (100) erzeugt wird.
  2. Verfahren nach Anspruch 1,
    dadurch gekennzeichnet,
    dass die Umformrolle (40) in Richtung des radial inneren Bereichs (102) des Werkstücks (100) zugestellt wird.
  3. Verfahren nach Anspruch 1 oder 2,
    dadurch gekennzeichnet,
    dass der radial äußere Bereich (104) des Werkstücks (100) zur Beschränkung eines nach außen gerichteten Materialflusses umfangsseitig abgestützt wird.
  4. Verfahren nach einem der Ansprüche 1 bis 3,
    dadurch gekennzeichnet,
    dass der radial äußere Bereich (104) des Werkstücks (100) mittels mindestens einer Niederhalterrolle (66) niedergehalten wird.
  5. Verfahren nach einem der Ansprüche 1 bis 4,
    dadurch gekennzeichnet,
    dass der radial äußere Bereich (104) des Werkstücks (100) auf einer Drückoberfläche (24) der Matrize (20) umgeformt wird.
  6. Verfahren nach einem der Ansprüche 1 bis 5,
    dadurch gekennzeichnet,
    dass der radial innere Bereich (102) des Werkstücks (100) beim Ziehen mittels eines Abstreckringes (56) abgestreckt wird.
  7. Verfahren nach einem der Ansprüche 1 bis 6,
    dadurch gekennzeichnet,
    dass beim Umformen des Werkstücks (100) mittels der Umformrolle (40) eine definierte Struktur in den radial äußeren Bereich (104) des Werkstücks (100) eingeformt wird.
  8. Verfahren nach einem der Ansprüche 1 bis 7,
    dadurch gekennzeichnet,
    dass der Stempel (30) pulsierend in die Matrize (20) eingefahren wird.
  9. Verfahren nach einem der Ansprüche 1 bis 8,
    dadurch gekennzeichnet,
    dass eine interpolierende Zustellung der Umformrolle (40) zum Stempel (30) erfolgt.
  10. Verfahren nach einem der Ansprüche 1 bis 9,
    dadurch gekennzeichnet,
    dass nach dem Ziehen weitere Umformschritte, insbesondere durch Drücken, Drückwalzen, Abstreckdrücken, Spalten und/oder Profilieren, durchgeführt werden, während das Werkstück (100) zwischen der Matrize (20) und dem Stempel (30) eingespannt ist.
  11. Vorrichtung zum Umformen eines Werkstücks (100), insbesondere zur Durchführung des Verfahrens nach einem der Ansprüche 1 bis 10, mit einer Matrize (20) und einem Stempel (30) zum Umformen eines radial inneren Bereichs (102) des Werkstücks (100) durch Ziehen,
    dadurch gekennzeichnet,
    - dass die Matrize (20) und der Stempel (30) drehbar gelagert sind und
    - dass mindestens eine Umformrolle (40) angeordnet ist, durch welche während der Umformung des Werkstücks (100) durch Ziehen ein radial äußerer Bereich (104) des Werkstücks (100) beaufschlagbar ist, wobei ein Materialfluss in Richtung des radial inneren Bereichs (102) des Werkstücks (100) erzeugbar ist.
  12. Vorrichtung nach Anspruch 11,
    dadurch gekennzeichnet,
    dass die Matrize (20) ein Drückfutter für die Umformrolle (40) bildet und eine ringförmige Drückoberfläche (24) aufweist.
  13. Vorrichtung nach Anspruch 11 oder 12,
    dadurch gekennzeichnet,
    dass die Matrize (20) zum Einformen einer definierten Oberflächenstruktur in den radial äußeren Bereich (104) des Werkstücks (100) eine Drückoberfläche (24) mit einer entsprechenden, definierten Struktur (25) aufweist.
  14. Vorrichtung nach einem der Ansprüche 11 bis 13,
    dadurch gekennzeichnet,
    dass die Matrize (20) und/oder der Stempel (30) zum Formen einer definierten Kontur an dem radial inneren Bereich (102) des Werkstücks (100) eine entsprechende, definierte Kontur (23, 33), insbesondere eine polygonale Kontur und/oder eine Profilierung, aufweist.
  15. Vorrichtung nach einem der Ansprüche 11 bis 14,
    dadurch gekennzeichnet,
    dass ein einteiliger oder mehrteiliger Stützring (60) vorgesehen ist, welcher zur Beschränkung eines Materialflusses nach außen eine Anschlagfläche für einen äußeren Umfang des Werkstücks (100) bereitstellt, und/oder zum Zentrieren des Werkstücks und/oder zur Drehmomentübertragung auf das Werkstück dient.
  16. Vorrichtung nach einem der Ansprüche 11 bis 15,
    dadurch gekennzeichnet,
    dass die Matrize (20) einen Abstreckring (56) zum Abstrecken des radial inneren Bereichs (102) des Werkstücks (100) beim Ziehen umfasst.
  17. Vorrichtung nach einem der Ansprüche 10 bis 16,
    dadurch gekennzeichnet,
    dass sowohl die Matrize (20) als auch der Stempel (30) drehend antreibbar sind.
EP12002781.8A 2012-04-20 2012-04-20 Verfahren und Vorrichtung zum Umformen eines Werkstücks Not-in-force EP2653244B1 (de)

Priority Applications (7)

Application Number Priority Date Filing Date Title
ES12002781.8T ES2532217T3 (es) 2012-04-20 2012-04-20 Procedimiento y dispositivo para la conformación de una pieza de trabajo
EP12002781.8A EP2653244B1 (de) 2012-04-20 2012-04-20 Verfahren und Vorrichtung zum Umformen eines Werkstücks
CN201380020971.6A CN104395008B (zh) 2012-04-20 2013-03-05 用于对工件进行再成形的方法和装置
PCT/EP2013/054388 WO2013156193A1 (de) 2012-04-20 2013-03-05 Verfahren und vorrichtung zum umformen eines werkstücks
KR1020147029327A KR101910395B1 (ko) 2012-04-20 2013-03-05 워크피스의 재형성 방법 및 장치
US14/394,529 US9669445B2 (en) 2012-04-20 2013-03-05 Method and device for reshaping a workpiece by displacing material in the workpiece
JP2015506133A JP6131317B2 (ja) 2012-04-20 2013-03-05 ワークピースを再成形するための方法およびデバイス

Applications Claiming Priority (1)

Application Number Priority Date Filing Date Title
EP12002781.8A EP2653244B1 (de) 2012-04-20 2012-04-20 Verfahren und Vorrichtung zum Umformen eines Werkstücks

Publications (2)

Publication Number Publication Date
EP2653244A1 true EP2653244A1 (de) 2013-10-23
EP2653244B1 EP2653244B1 (de) 2014-12-17

Family

ID=48141902

Family Applications (1)

Application Number Title Priority Date Filing Date
EP12002781.8A Not-in-force EP2653244B1 (de) 2012-04-20 2012-04-20 Verfahren und Vorrichtung zum Umformen eines Werkstücks

Country Status (7)

Country Link
US (1) US9669445B2 (de)
EP (1) EP2653244B1 (de)
JP (1) JP6131317B2 (de)
KR (1) KR101910395B1 (de)
CN (1) CN104395008B (de)
ES (1) ES2532217T3 (de)
WO (1) WO2013156193A1 (de)

Cited By (2)

* Cited by examiner, † Cited by third party
Publication number Priority date Publication date Assignee Title
WO2016079024A1 (de) 2014-11-17 2016-05-26 Wf-Maschinenbau Und Blechformtechnik Gmbh & Co. Kg Verfahren zur herstellung eines rotationssymmetrischen formkörpers
EP3736920A1 (de) * 2019-05-06 2020-11-11 Nexans Kontaktterminal und verfahren zu dessen herstellung

Families Citing this family (10)

* Cited by examiner, † Cited by third party
Publication number Priority date Publication date Assignee Title
DE4130166C1 (de) 1991-09-11 1993-03-11 Lang Apparatebau Gmbh, 8227 Siegsdorf, De
US9849495B2 (en) * 2013-06-04 2017-12-26 Kawasaki Jukogyo Kabushiki Kaisha Spinning thickening forming method and spinning thickening forming apparatus
JP6445779B2 (ja) 2014-04-21 2018-12-26 川崎重工業株式会社 予備成形体および軸対称部品の製造方法
DE102016205492A1 (de) * 2016-04-04 2017-10-05 Thyssenkrupp Ag Verfahren und Vorrichtung zum Umformen eines Halbzeugs
CN106514154B (zh) * 2016-12-12 2018-12-28 南通福乐达汽车配件有限公司 一种曲轴硅油减震器壳体的整体旋压成型方法
DE102018208820A1 (de) * 2018-06-05 2019-12-05 BSH Hausgeräte GmbH Elektrischer Antriebsmotor, Nassläufer-Pumpe und Haushaltsgerät
CN108723190B (zh) * 2018-07-21 2024-03-22 扬州广菱电子有限公司 一种齿状载体补强连续模结构
AU2019346637B2 (en) * 2018-09-27 2023-12-21 Inno-Spin LLC Multi-axis roll-forming methods, systems, and products
CN114227161B (zh) * 2021-12-15 2023-04-28 中国航发动力股份有限公司 一种燃烧室内壳体的整体成形方法
CN117753860B (zh) * 2023-12-21 2024-08-13 镇江先锋汽车零部件有限公司 一种机壳产品材料的定向流动拉伸方法

Citations (5)

* Cited by examiner, † Cited by third party
Publication number Priority date Publication date Assignee Title
DE4400257C1 (de) 1993-12-09 1994-12-01 Wf Maschinenbau Blechformtech Drückverfahren zur spanlosen Herstellung einer Nabe eines die Nabe aufweisenden Getriebeteiles
DE4327746A1 (de) 1993-08-18 1995-02-23 Herzing & Schroth Gmbh & Co Kg Verfahren zum Herstellen eines rotationssymmetrischen Körpers
EP0997210A2 (de) 1998-10-29 2000-05-03 Leico GmbH & Co. Werkzeugmaschinenbau Verfahren zum Formen eines scheibenförmigen Teiles mit Nabe und Drückrolle für das Verfahren
EP1136150A2 (de) * 2000-03-14 2001-09-26 Nissan Motor Co., Ltd. Verfahren zum Formen eines integralen Vorsprunges in einem Teil durch Fliessdrehen und dadurch hergestelltes Produkt
DE10061403A1 (de) * 2000-12-09 2002-06-27 Wf Maschinenbau Blechformtech Verfahren zur Herstellung eines rotationssymmetrischen Formkörpers

Family Cites Families (13)

* Cited by examiner, † Cited by third party
Publication number Priority date Publication date Assignee Title
US3120206A (en) * 1959-03-09 1964-02-04 Lodge & Shipley Co Metal working
US5031296A (en) * 1990-05-14 1991-07-16 S.C. S.R.L. Machine tool for manufacturing pulleys or wheels
JP3053219B2 (ja) * 1993-12-09 2000-06-19 ヴェーエフ・マシーネンバウ ウント ブレッヒフォルムテヒニク ゲゼルシャフト ミット ベシュレンクテル ハフツング ウント コンパニー コマンディートゲゼルシャフト ハブを有する伝動装置部材のハブを切削によらずに製造する方法
JPH08174114A (ja) * 1994-12-20 1996-07-09 Shin Kobe Electric Mach Co Ltd 円筒形電池缶の成形法
US5947853A (en) * 1996-08-15 1999-09-07 The Gates Corporation Spun pulley with thick hub
JP2002122209A (ja) * 2000-10-11 2002-04-26 Exedy Corp 流体式回転羽根車用シェル、その製造方法及び流体式回転羽根車
JP2002122210A (ja) * 2000-10-11 2002-04-26 Exedy Corp 流体式トルク伝達装置のタービンシェル及びその製造方法
JP4066239B2 (ja) * 2002-06-28 2008-03-26 関西ティー・エル・オー株式会社 深絞り加工装置
JP4781137B2 (ja) * 2006-03-20 2011-09-28 株式会社Neomaxマテリアル プレス成形用クラッド材及びそのクラッド材によってプレス成形されたシームレス缶
DE102006039656B4 (de) * 2006-08-24 2008-12-18 Leifeld Metal Spinning Gmbh Vorrichtung und Verfahren zum Herstellen eines Hohlkörpers aus einem rondenförmigen Werkstück
JP2008260042A (ja) * 2007-04-12 2008-10-30 Enami Seiki:Kk プレス成形装置
CN100589896C (zh) * 2007-07-10 2010-02-17 柳州市龙杰汽车配件有限责任公司 一种不等径钣制旋压皮带轮的连续旋压成型方法
JP2010214449A (ja) * 2009-03-18 2010-09-30 Nippon Spindle Mfg Co Ltd 塑性加工装置及び塑性加工方法

Patent Citations (5)

* Cited by examiner, † Cited by third party
Publication number Priority date Publication date Assignee Title
DE4327746A1 (de) 1993-08-18 1995-02-23 Herzing & Schroth Gmbh & Co Kg Verfahren zum Herstellen eines rotationssymmetrischen Körpers
DE4400257C1 (de) 1993-12-09 1994-12-01 Wf Maschinenbau Blechformtech Drückverfahren zur spanlosen Herstellung einer Nabe eines die Nabe aufweisenden Getriebeteiles
EP0997210A2 (de) 1998-10-29 2000-05-03 Leico GmbH & Co. Werkzeugmaschinenbau Verfahren zum Formen eines scheibenförmigen Teiles mit Nabe und Drückrolle für das Verfahren
EP1136150A2 (de) * 2000-03-14 2001-09-26 Nissan Motor Co., Ltd. Verfahren zum Formen eines integralen Vorsprunges in einem Teil durch Fliessdrehen und dadurch hergestelltes Produkt
DE10061403A1 (de) * 2000-12-09 2002-06-27 Wf Maschinenbau Blechformtech Verfahren zur Herstellung eines rotationssymmetrischen Formkörpers

Cited By (5)

* Cited by examiner, † Cited by third party
Publication number Priority date Publication date Assignee Title
WO2016079024A1 (de) 2014-11-17 2016-05-26 Wf-Maschinenbau Und Blechformtechnik Gmbh & Co. Kg Verfahren zur herstellung eines rotationssymmetrischen formkörpers
KR20170092584A (ko) * 2014-11-17 2017-08-11 베에프-마쉰넨바우 운트 블레히포름테크닉 게엠베하 운트 컴파니 카게 회전 대칭 성형품을 제조하기 위한 방법
EP3221068B1 (de) * 2014-11-17 2021-04-14 WF Maschinenbau- und Blechformtechnik GmbH & Co. KG Verfahren zur herstellung eines rotationssymmetrischen formkörpers
EP3221068B2 (de) 2014-11-17 2024-06-12 WF Maschinenbau- und Blechformtechnik GmbH & Co. KG Verfahren zur herstellung eines rotationssymmetrischen formkörpers
EP3736920A1 (de) * 2019-05-06 2020-11-11 Nexans Kontaktterminal und verfahren zu dessen herstellung

Also Published As

Publication number Publication date
JP2015514588A (ja) 2015-05-21
KR101910395B1 (ko) 2018-10-22
CN104395008A (zh) 2015-03-04
JP6131317B2 (ja) 2017-05-17
WO2013156193A1 (de) 2013-10-24
US9669445B2 (en) 2017-06-06
EP2653244B1 (de) 2014-12-17
KR20150007288A (ko) 2015-01-20
CN104395008B (zh) 2016-05-25
ES2532217T3 (es) 2015-03-25
US20150089986A1 (en) 2015-04-02

Similar Documents

Publication Publication Date Title
EP2653244B1 (de) Verfahren und Vorrichtung zum Umformen eines Werkstücks
EP2127775B1 (de) Verfahren zur Fertigung von Werkstücken und Drückwalzmaschine dazu
DE19861391B4 (de) Verfahren zum Formen einer Nabenscheibe und Drückrolle zur Verwendung beim Formen einer Nabenscheibe
DE2927755A1 (de) Verfahren zum ziehen eines duennwandigen konischen behaelters sowie vorrichtung zum durchfuehren des verfahrens
EP1108483B1 (de) Verfahren und Vorrichtung zum Drückwalzen
DE10005578C2 (de) Verfahren und Drückwalzvorrichtung zum Herstellen eines Hohlkörpers
EP0955110B1 (de) Verfahren zum Drückwalzen und Drückwalzvorrichtung
DE102009001305B4 (de) Verfahren zur Herstellung eines Profils an einem Blechteil, Vorrichtung zur Durchführung des Verfahrens sowie Blechteil, herstellbar nach dem Verfahren
DE19723073A1 (de) Verfahren zur Herstellung eines rotationssymmetrischen Werkstücks
EP3246104B1 (de) Verfahren und vorrichtung zum herstellen eines umformteils
DE102015108768A1 (de) Verfahren und Vorrichtung zur Erzielung von großen Kragenlängen
EP0997210B1 (de) Verfahren zum Formen eines scheibenförmigen Teiles mit Nabe und Umformrolle für das Verfahren
DE19849981C2 (de) Verfahren zum Formen eines scheibenförmigen Teiles mit Nabe und Drückrolle für das Verfahren
DE102010011809B4 (de) Verfahren und Drückwalz- und Profiliermaschine zum Herstellen eines rotationssymmetrischen Werkstückes sowie Profilrolle hierfür
DE19632279C2 (de) Verfahren zur Herstellung eines scheibenförmigen Teiles
DE19724657C2 (de) Verfahren und Vorrichtung zum Herstellen eines rotationssymmetrischen Körpers
DE19946508C2 (de) Verfahren zum Herstellen einer Welle mit durchmessergrößerem Flansch
EP1163961B2 (de) Verfahren und Drückvorrichtung zur Herstellung eines Getriebeteiles
EP1362652B1 (de) Verfahren und Drückwalzmaschine zum spanlosen Anformen einer Nabe
EP2506996B1 (de) Verfahren und vorrichtung zur herstellung eines mit einem durchgehenden loch versehenen formteils
EP1382404B1 (de) Verfahren, Rolle und Drückwalzmaschine zum spanlosen Anformen einer zylindrischen Nabe
EP2604358B1 (de) Verfahren zum Herstellen eines topfförmigen Blechwerkstückes

Legal Events

Date Code Title Description
PUAI Public reference made under article 153(3) epc to a published international application that has entered the european phase

Free format text: ORIGINAL CODE: 0009012

17P Request for examination filed

Effective date: 20120827

AK Designated contracting states

Kind code of ref document: A1

Designated state(s): AL AT BE BG CH CY CZ DE DK EE ES FI FR GB GR HR HU IE IS IT LI LT LU LV MC MK MT NL NO PL PT RO RS SE SI SK SM TR

AX Request for extension of the european patent

Extension state: BA ME

RBV Designated contracting states (corrected)

Designated state(s): AL AT BE BG CH CY CZ DE DK EE ES FI FR GB GR HR HU IE IS IT LI LT LU LV MC MK MT NL NO PL PT RO RS SE SI SK SM TR

GRAP Despatch of communication of intention to grant a patent

Free format text: ORIGINAL CODE: EPIDOSNIGR1

INTG Intention to grant announced

Effective date: 20140718

GRAS Grant fee paid

Free format text: ORIGINAL CODE: EPIDOSNIGR3

GRAA (expected) grant

Free format text: ORIGINAL CODE: 0009210

AK Designated contracting states

Kind code of ref document: B1

Designated state(s): AL AT BE BG CH CY CZ DE DK EE ES FI FR GB GR HR HU IE IS IT LI LT LU LV MC MK MT NL NO PL PT RO RS SE SI SK SM TR

REG Reference to a national code

Ref country code: GB

Ref legal event code: FG4D

Free format text: NOT ENGLISH

REG Reference to a national code

Ref country code: CH

Ref legal event code: EP

REG Reference to a national code

Ref country code: IE

Ref legal event code: FG4D

Free format text: LANGUAGE OF EP DOCUMENT: GERMAN

REG Reference to a national code

Ref country code: AT

Ref legal event code: REF

Ref document number: 701509

Country of ref document: AT

Kind code of ref document: T

Effective date: 20150115

REG Reference to a national code

Ref country code: DE

Ref legal event code: R096

Ref document number: 502012001801

Country of ref document: DE

Effective date: 20150129

REG Reference to a national code

Ref country code: ES

Ref legal event code: FG2A

Ref document number: 2532217

Country of ref document: ES

Kind code of ref document: T3

Effective date: 20150325

REG Reference to a national code

Ref country code: FR

Ref legal event code: PLFP

Year of fee payment: 4

PG25 Lapsed in a contracting state [announced via postgrant information from national office to epo]

Ref country code: NO

Free format text: LAPSE BECAUSE OF FAILURE TO SUBMIT A TRANSLATION OF THE DESCRIPTION OR TO PAY THE FEE WITHIN THE PRESCRIBED TIME-LIMIT

Effective date: 20150317

Ref country code: LT

Free format text: LAPSE BECAUSE OF FAILURE TO SUBMIT A TRANSLATION OF THE DESCRIPTION OR TO PAY THE FEE WITHIN THE PRESCRIBED TIME-LIMIT

Effective date: 20141217

Ref country code: FI

Free format text: LAPSE BECAUSE OF FAILURE TO SUBMIT A TRANSLATION OF THE DESCRIPTION OR TO PAY THE FEE WITHIN THE PRESCRIBED TIME-LIMIT

Effective date: 20141217

REG Reference to a national code

Ref country code: LT

Ref legal event code: MG4D

PG25 Lapsed in a contracting state [announced via postgrant information from national office to epo]

Ref country code: SE

Free format text: LAPSE BECAUSE OF FAILURE TO SUBMIT A TRANSLATION OF THE DESCRIPTION OR TO PAY THE FEE WITHIN THE PRESCRIBED TIME-LIMIT

Effective date: 20141217

Ref country code: LV

Free format text: LAPSE BECAUSE OF FAILURE TO SUBMIT A TRANSLATION OF THE DESCRIPTION OR TO PAY THE FEE WITHIN THE PRESCRIBED TIME-LIMIT

Effective date: 20141217

Ref country code: HR

Free format text: LAPSE BECAUSE OF FAILURE TO SUBMIT A TRANSLATION OF THE DESCRIPTION OR TO PAY THE FEE WITHIN THE PRESCRIBED TIME-LIMIT

Effective date: 20141217

Ref country code: GR

Free format text: LAPSE BECAUSE OF FAILURE TO SUBMIT A TRANSLATION OF THE DESCRIPTION OR TO PAY THE FEE WITHIN THE PRESCRIBED TIME-LIMIT

Effective date: 20150318

Ref country code: RS

Free format text: LAPSE BECAUSE OF FAILURE TO SUBMIT A TRANSLATION OF THE DESCRIPTION OR TO PAY THE FEE WITHIN THE PRESCRIBED TIME-LIMIT

Effective date: 20141217

PG25 Lapsed in a contracting state [announced via postgrant information from national office to epo]

Ref country code: NL

Free format text: LAPSE BECAUSE OF FAILURE TO SUBMIT A TRANSLATION OF THE DESCRIPTION OR TO PAY THE FEE WITHIN THE PRESCRIBED TIME-LIMIT

Effective date: 20141217

PG25 Lapsed in a contracting state [announced via postgrant information from national office to epo]

Ref country code: EE

Free format text: LAPSE BECAUSE OF FAILURE TO SUBMIT A TRANSLATION OF THE DESCRIPTION OR TO PAY THE FEE WITHIN THE PRESCRIBED TIME-LIMIT

Effective date: 20141217

Ref country code: RO

Free format text: LAPSE BECAUSE OF FAILURE TO SUBMIT A TRANSLATION OF THE DESCRIPTION OR TO PAY THE FEE WITHIN THE PRESCRIBED TIME-LIMIT

Effective date: 20141217

Ref country code: CZ

Free format text: LAPSE BECAUSE OF FAILURE TO SUBMIT A TRANSLATION OF THE DESCRIPTION OR TO PAY THE FEE WITHIN THE PRESCRIBED TIME-LIMIT

Effective date: 20141217

Ref country code: SK

Free format text: LAPSE BECAUSE OF FAILURE TO SUBMIT A TRANSLATION OF THE DESCRIPTION OR TO PAY THE FEE WITHIN THE PRESCRIBED TIME-LIMIT

Effective date: 20141217

PG25 Lapsed in a contracting state [announced via postgrant information from national office to epo]

Ref country code: PL

Free format text: LAPSE BECAUSE OF FAILURE TO SUBMIT A TRANSLATION OF THE DESCRIPTION OR TO PAY THE FEE WITHIN THE PRESCRIBED TIME-LIMIT

Effective date: 20141217

Ref country code: IS

Free format text: LAPSE BECAUSE OF FAILURE TO SUBMIT A TRANSLATION OF THE DESCRIPTION OR TO PAY THE FEE WITHIN THE PRESCRIBED TIME-LIMIT

Effective date: 20150417

REG Reference to a national code

Ref country code: DE

Ref legal event code: R097

Ref document number: 502012001801

Country of ref document: DE

PLBE No opposition filed within time limit

Free format text: ORIGINAL CODE: 0009261

STAA Information on the status of an ep patent application or granted ep patent

Free format text: STATUS: NO OPPOSITION FILED WITHIN TIME LIMIT

PG25 Lapsed in a contracting state [announced via postgrant information from national office to epo]

Ref country code: DK

Free format text: LAPSE BECAUSE OF FAILURE TO SUBMIT A TRANSLATION OF THE DESCRIPTION OR TO PAY THE FEE WITHIN THE PRESCRIBED TIME-LIMIT

Effective date: 20141217

26N No opposition filed

Effective date: 20150918

PG25 Lapsed in a contracting state [announced via postgrant information from national office to epo]

Ref country code: LU

Free format text: LAPSE BECAUSE OF FAILURE TO SUBMIT A TRANSLATION OF THE DESCRIPTION OR TO PAY THE FEE WITHIN THE PRESCRIBED TIME-LIMIT

Effective date: 20150420

Ref country code: MC

Free format text: LAPSE BECAUSE OF FAILURE TO SUBMIT A TRANSLATION OF THE DESCRIPTION OR TO PAY THE FEE WITHIN THE PRESCRIBED TIME-LIMIT

Effective date: 20141217

REG Reference to a national code

Ref country code: CH

Ref legal event code: PL

PG25 Lapsed in a contracting state [announced via postgrant information from national office to epo]

Ref country code: IT

Free format text: LAPSE BECAUSE OF FAILURE TO SUBMIT A TRANSLATION OF THE DESCRIPTION OR TO PAY THE FEE WITHIN THE PRESCRIBED TIME-LIMIT

Effective date: 20141217

REG Reference to a national code

Ref country code: IE

Ref legal event code: MM4A

PG25 Lapsed in a contracting state [announced via postgrant information from national office to epo]

Ref country code: LI

Free format text: LAPSE BECAUSE OF NON-PAYMENT OF DUE FEES

Effective date: 20150430

Ref country code: CH

Free format text: LAPSE BECAUSE OF NON-PAYMENT OF DUE FEES

Effective date: 20150430

PG25 Lapsed in a contracting state [announced via postgrant information from national office to epo]

Ref country code: SI

Free format text: LAPSE BECAUSE OF FAILURE TO SUBMIT A TRANSLATION OF THE DESCRIPTION OR TO PAY THE FEE WITHIN THE PRESCRIBED TIME-LIMIT

Effective date: 20141217

PG25 Lapsed in a contracting state [announced via postgrant information from national office to epo]

Ref country code: IE

Free format text: LAPSE BECAUSE OF NON-PAYMENT OF DUE FEES

Effective date: 20150420

REG Reference to a national code

Ref country code: FR

Ref legal event code: PLFP

Year of fee payment: 5

GBPC Gb: european patent ceased through non-payment of renewal fee

Effective date: 20160420

PG25 Lapsed in a contracting state [announced via postgrant information from national office to epo]

Ref country code: MT

Free format text: LAPSE BECAUSE OF FAILURE TO SUBMIT A TRANSLATION OF THE DESCRIPTION OR TO PAY THE FEE WITHIN THE PRESCRIBED TIME-LIMIT

Effective date: 20141217

PG25 Lapsed in a contracting state [announced via postgrant information from national office to epo]

Ref country code: GB

Free format text: LAPSE BECAUSE OF NON-PAYMENT OF DUE FEES

Effective date: 20160420

REG Reference to a national code

Ref country code: FR

Ref legal event code: PLFP

Year of fee payment: 6

PG25 Lapsed in a contracting state [announced via postgrant information from national office to epo]

Ref country code: HU

Free format text: LAPSE BECAUSE OF FAILURE TO SUBMIT A TRANSLATION OF THE DESCRIPTION OR TO PAY THE FEE WITHIN THE PRESCRIBED TIME-LIMIT; INVALID AB INITIO

Effective date: 20120420

Ref country code: SM

Free format text: LAPSE BECAUSE OF FAILURE TO SUBMIT A TRANSLATION OF THE DESCRIPTION OR TO PAY THE FEE WITHIN THE PRESCRIBED TIME-LIMIT

Effective date: 20141217

Ref country code: BG

Free format text: LAPSE BECAUSE OF FAILURE TO SUBMIT A TRANSLATION OF THE DESCRIPTION OR TO PAY THE FEE WITHIN THE PRESCRIBED TIME-LIMIT

Effective date: 20141217

PG25 Lapsed in a contracting state [announced via postgrant information from national office to epo]

Ref country code: CY

Free format text: LAPSE BECAUSE OF FAILURE TO SUBMIT A TRANSLATION OF THE DESCRIPTION OR TO PAY THE FEE WITHIN THE PRESCRIBED TIME-LIMIT

Effective date: 20141217

PG25 Lapsed in a contracting state [announced via postgrant information from national office to epo]

Ref country code: BE

Free format text: LAPSE BECAUSE OF NON-PAYMENT OF DUE FEES

Effective date: 20150430

Ref country code: PT

Free format text: LAPSE BECAUSE OF FAILURE TO SUBMIT A TRANSLATION OF THE DESCRIPTION OR TO PAY THE FEE WITHIN THE PRESCRIBED TIME-LIMIT

Effective date: 20150417

REG Reference to a national code

Ref country code: DE

Ref legal event code: R082

Ref document number: 502012001801

Country of ref document: DE

Representative=s name: WUNDERLICH & HEIM PATENTANWAELTE PARTNERSCHAFT, DE

REG Reference to a national code

Ref country code: FR

Ref legal event code: PLFP

Year of fee payment: 7

REG Reference to a national code

Ref country code: AT

Ref legal event code: MM01

Ref document number: 701509

Country of ref document: AT

Kind code of ref document: T

Effective date: 20170420

PG25 Lapsed in a contracting state [announced via postgrant information from national office to epo]

Ref country code: MK

Free format text: LAPSE BECAUSE OF FAILURE TO SUBMIT A TRANSLATION OF THE DESCRIPTION OR TO PAY THE FEE WITHIN THE PRESCRIBED TIME-LIMIT

Effective date: 20141217

PG25 Lapsed in a contracting state [announced via postgrant information from national office to epo]

Ref country code: AT

Free format text: LAPSE BECAUSE OF NON-PAYMENT OF DUE FEES

Effective date: 20170420

PGFP Annual fee paid to national office [announced via postgrant information from national office to epo]

Ref country code: FR

Payment date: 20180424

Year of fee payment: 7

PG25 Lapsed in a contracting state [announced via postgrant information from national office to epo]

Ref country code: AL

Free format text: LAPSE BECAUSE OF FAILURE TO SUBMIT A TRANSLATION OF THE DESCRIPTION OR TO PAY THE FEE WITHIN THE PRESCRIBED TIME-LIMIT

Effective date: 20141217

PGFP Annual fee paid to national office [announced via postgrant information from national office to epo]

Ref country code: ES

Payment date: 20190520

Year of fee payment: 8

PGFP Annual fee paid to national office [announced via postgrant information from national office to epo]

Ref country code: TR

Payment date: 20190508

Year of fee payment: 8

PG25 Lapsed in a contracting state [announced via postgrant information from national office to epo]

Ref country code: FR

Free format text: LAPSE BECAUSE OF NON-PAYMENT OF DUE FEES

Effective date: 20190430

REG Reference to a national code

Ref country code: DE

Ref legal event code: R082

Ref document number: 502012001801

Country of ref document: DE

Representative=s name: WUNDERLICH & HEIM PATENTANWAELTE PARTNERSCHAFT, DE

Ref country code: DE

Ref legal event code: R081

Ref document number: 502012001801

Country of ref document: DE

Owner name: LEIFELD METAL SPINNING GMBH, DE

Free format text: FORMER OWNER: LEIFELD METAL SPINNING AG, 59229 AHLEN, DE

REG Reference to a national code

Ref country code: ES

Ref legal event code: FD2A

Effective date: 20210903

PG25 Lapsed in a contracting state [announced via postgrant information from national office to epo]

Ref country code: ES

Free format text: LAPSE BECAUSE OF NON-PAYMENT OF DUE FEES

Effective date: 20200421

PG25 Lapsed in a contracting state [announced via postgrant information from national office to epo]

Ref country code: TR

Free format text: LAPSE BECAUSE OF NON-PAYMENT OF DUE FEES

Effective date: 20200420

P01 Opt-out of the competence of the unified patent court (upc) registered

Effective date: 20230508

PGFP Annual fee paid to national office [announced via postgrant information from national office to epo]

Ref country code: DE

Payment date: 20230426

Year of fee payment: 12

REG Reference to a national code

Ref country code: DE

Ref legal event code: R119

Ref document number: 502012001801

Country of ref document: DE

PG25 Lapsed in a contracting state [announced via postgrant information from national office to epo]

Ref country code: DE

Free format text: LAPSE BECAUSE OF NON-PAYMENT OF DUE FEES

Effective date: 20241105

PG25 Lapsed in a contracting state [announced via postgrant information from national office to epo]

Ref country code: DE

Free format text: LAPSE BECAUSE OF NON-PAYMENT OF DUE FEES

Effective date: 20241105