EP2454403B1 - Luftspinnvorrichtung - Google Patents

Luftspinnvorrichtung Download PDF

Info

Publication number
EP2454403B1
EP2454403B1 EP10734636.3A EP10734636A EP2454403B1 EP 2454403 B1 EP2454403 B1 EP 2454403B1 EP 10734636 A EP10734636 A EP 10734636A EP 2454403 B1 EP2454403 B1 EP 2454403B1
Authority
EP
European Patent Office
Prior art keywords
spindle
tip
nozzle body
spinning device
air
Prior art date
Legal status (The legal status is an assumption and is not a legal conclusion. Google has not performed a legal analysis and makes no representation as to the accuracy of the status listed.)
Active
Application number
EP10734636.3A
Other languages
German (de)
English (en)
French (fr)
Other versions
EP2454403A2 (de
Inventor
Petr Haska
Robert Mikyska
Christian Griesshammer
Current Assignee (The listed assignees may be inaccurate. Google has not performed a legal analysis and makes no representation or warranty as to the accuracy of the list.)
Maschinenfabrik Rieter AG
Original Assignee
Maschinenfabrik Rieter AG
Priority date (The priority date is an assumption and is not a legal conclusion. Google has not performed a legal analysis and makes no representation as to the accuracy of the date listed.)
Filing date
Publication date
Application filed by Maschinenfabrik Rieter AG filed Critical Maschinenfabrik Rieter AG
Publication of EP2454403A2 publication Critical patent/EP2454403A2/de
Application granted granted Critical
Publication of EP2454403B1 publication Critical patent/EP2454403B1/de
Active legal-status Critical Current
Anticipated expiration legal-status Critical

Links

Images

Classifications

    • DTEXTILES; PAPER
    • D01NATURAL OR MAN-MADE THREADS OR FIBRES; SPINNING
    • D01HSPINNING OR TWISTING
    • D01H1/00Spinning or twisting machines in which the product is wound-up continuously
    • D01H1/11Spinning by false-twisting
    • D01H1/115Spinning by false-twisting using pneumatic means
    • DTEXTILES; PAPER
    • D01NATURAL OR MAN-MADE THREADS OR FIBRES; SPINNING
    • D01HSPINNING OR TWISTING
    • D01H7/00Spinning or twisting arrangements
    • D01H7/92Spinning or twisting arrangements for imparting transient twist, i.e. false twist

Definitions

  • the invention relates to an air spinning device with a spindle according to the preamble of the independent claims.
  • a yarn spinning device or a roving spinning device is to be understood, wherein the proposed device for all spinning processes which work with air can be used.
  • a spinning device which serves to produce a yarn by means of an air flow comprises a sliver feed, a drafting device, an air spinning device and a take-up device.
  • a sliver is fed from a fiber sliver storage presented to a drafting system.
  • the sliver is stretched under a certain delay and passed on to the air spinning device.
  • the stretched sliver is fed via a fiber guide element of a vortex zone.
  • the vortex zone is a space between the fiber guide element and the inlet opening in a spindle opposite the fiber guide element.
  • the vortex zone is arranged in a nozzle body in which the fiber guide element is inserted from one side and a spindle from the opposite side.
  • the fiber guide element is inserted from one side and a spindle from the opposite side.
  • Into the vortex zone we introduce compressed air through correspondingly arranged holes, which through the arrangement of the bores leads to the formation of a vortex, which is discharged outside along the spindle. Due to the turbulence of the introduced compressed air, a part of the fibers of the introduced into the air spinning device sliver is removed from the sliver and folded around the spindle tip around. The fiber ends are trapped in the non-dissolved fibers of the sliver and are drawn into the spindle with these so-called core fibers.
  • the Umwindemaschinen be wound around the core fibers due to the vortex flow. Due to the design of the individual components and the settings of the vortex air, various properties of the spinning process can be influenced. For example, the number of wraps compared to the core fibers may be changed, or the number of wraps per length or yarn twist of the finished yarn can be adjusted. Under the yarn twist is the angle to understand under which the Umwindemaschinen in relation to the longitudinal axis of the yarn wrap around the core fibers. In this way, it is possible to produce yarns with different properties in the air spinning process, for example, roving.
  • roving is meant an intermediate which is used as a starting material for final spinning processes, such as ring spinning or rotor spinning.
  • final spinning processes such as ring spinning or rotor spinning.
  • the EP 2 009 150 A1 discloses an air-spinning device having a nozzle body and a hollow spindle.
  • the spindle protrudes with its spindle tip into the nozzle body.
  • an annular discharge channel is formed between the outer surface of the spindle tip and the inner surface of the nozzle body.
  • the discharge channel has a cylindrical shape and the distance between the inner surface of the nozzle body and the outer surface of the spindle is constant.
  • This gap width is constant over the course of the spindle longitudinal axis, whereby the cross-sectional area normal to the longitudinal axis of the spindle is constant over the course of the longitudinal axis of the spindle.
  • EP 2 009 150 A1 discloses a specific range for the dimension of the gap width and the inner diameter of the nozzle body. Apart from the dimensions of the spindle tip and the nozzle body and thus the definition of the discharge channel, the shape of the discharge channel is crucial for the behavior of the vortex air flow. Due to the cylindrical shape of the discharge channel, the fluidizing air can flow unhindered along the spindle tip. In this case, short fibers are detected by the flow and carried away from the spindle tip of the outflowing air.
  • a disadvantage of the disclosed air spinning device is also that the yarn twisting can be influenced only by a reduction in the swirling air, with the result that a reduction of the swirling air at the same time leads to a reduction in the number of the Umwindemaschinen, while the amount of waste usually increases, since the fibers are bad integrated.
  • the object of the invention is to avoid the disadvantages of the prior art and to provide an air spinning device which allows minimization of the departure and thus a better utilization of raw materials and simplifies adjustment of the yarn rotation.
  • an air spinning device with the characterizing features of the independent claims.
  • the object is achieved in that an air spinning device is provided with a nozzle body and a hollow spindle with a spindle tip and a longitudinal axis, wherein the spindle tip protrudes into the nozzle body and between a outer surface of the spindle tip and an inner surface of the nozzle body, a drain channel with an annular cross-sectional area forms and a normal to the longitudinal axis of the spindle seen gap width at a certain point of the discharge channel over the circumference of the spindle is constant.
  • the outer surface of the spindle tip and / or the inner surface of the nozzle body is shaped such that in the discharge channel in its course in the direction of the longitudinal axis of the spindle at least two bottlenecks in the discharge channel is formed, the discharge channel in its course in the direction of the longitudinal axis of the spindle each of these constrictions has an annular cross-sectional area that is smaller than the annular cross-sectional area of the bleed passage before and after each of these at least two constrictions.
  • the invention is basically applicable to any air-spinning machine, irrespective of the type of yarn or roving to be produced, in which at least part of the fibers in the cross-section of the process product has a rotation and the machine therefore has an air-spinning device with a hollow spindle and a nozzle body.
  • air spinning devices In air spinning for making a yarn or roving by wrapping core fibers with wraps, air spinning devices are used which comprise a hollow guide spindle and a nozzle body.
  • a Garn arrangementskanal In the spindle a Garn arrangementkanal is provided, which opens with a spindle opening in the spindle tip.
  • a fiber sliver to be spun is introduced into the nozzle body via a fiber guide element arranged upstream of the spindle.
  • the spindle protrudes with its tip into the nozzle body, wherein a discharge channel with an annular cross-sectional area forms between an outer surface of the spindle tip and an inner surface of the nozzle body.
  • a vortex zone is formed between the fiber guide element and the spindle tip.
  • the fibers introduced into the air-spinning device by the fiber guiding element are divided by the turbulent flow into core fibers, sheath fibers and fibers, the core fibers being introduced directly into the spindle opening, the sheath fibers being trapped at one end in the core fibers and transferred at the other end via the spindle tip and the outlet is discharged from the air spinning device through the airflow passing the spindle.
  • the fibers placed around the spindle tip move helically around the spindle tip and form a so-called fiber sun.
  • the spindle tip is that region of the spindle in which the transferred fibers move. The removal of air beyond this area of the spindle has no direct influence on the movement of the fibers.
  • the number of Umwindefasern is determined by the distance of the spindle tip of a last terminal point of the sliver. The sliver is passed before reaching the fiber guide element by a pair of rollers which forms a terminal point. Due to the length of the individual fibers, the distance between this clamping point and the spindle tip is selected.
  • the drainage channel is designed in its geometric shape such that fibers located at the exit are caught by the wraparound fibers prior to deployment and introduced into the yarn or roving.
  • This has the advantage that the finish is reduced without affecting the turbulence of the Umwindemaschinen.
  • the shape of the discharge channel changes the circulation of the fibers around the spindle tip. Viewed along the length of the fibers, individual sections of the fibers are subject to accelerations, decelerations or swirls in their rotating helical motion due to the design of the bleed channel. The nature of the movements made by the fibers around the spindle tip also affects the yarn twist. By reducing the rotational speed results in a lower rotation, the air and flow conditions in the vortex zone must not be changed, for example by reducing the fluidizing air.
  • the air spinning device comprises a nozzle body and a hollow spindle with a spindle tip and a longitudinal axis, wherein the spindle tip protrudes into the nozzle body and forms an outlet channel with an annular cross-sectional area between an outer surface of the spindle tip and an inner surface of the nozzle body.
  • a gap width seen normal to the longitudinal axis of the spindle at a certain point of the discharge channel is constant over the circumference of the spindle.
  • the outer surface of the spindle tip is shaped such that in the discharge channel in its course in the direction of the longitudinal axis of the spindle at least two bottlenecks are formed, wherein the discharge channel in its course in the direction of the longitudinal axis of the spindle at each of these bottlenecks has an annular cross-sectional area, the smaller is as the annular cross-sectional area of the discharge channel before and after each of these at least two bottlenecks.
  • the inner surface of the nozzle body is cylindrically shaped, so that over the circumference of the spindle at each point of the discharge channel results in the same gap width and an annular cross section is formed.
  • the bottlenecks produce a change in the turbulence the outflowing air.
  • the speed of the outflowing air is influenced by the bottlenecks. The speed is reduced before a constriction, increased by the narrowing of the discharge channel and reduced again by the subsequent expansion of the discharge channel.
  • By creating a tear-off edge due to the shape at the throat backflows or vortices that normally rotate with the air flow along the spindle can be created, which also contributes to the reduction of the outlet.
  • the formation of backflow to a bottleneck is enhanced by a second subsequent bottleneck.
  • the backflow and the resulting vortex cause the fibers, which are normally discharged along the spindle, to be at least partially pressed against the spindle. Near the spindle outer surface, these fibers are caught by the fibers in the fiber sun and incorporated into the yarn.
  • the vortexes created by the backflows rotate about an axis which is substantially perpendicular to the axis of the spindle and is located on a circle concentric with the inner contour of the nozzle body.
  • the vortex turns on the one hand in itself and on the other hand, the vortex is circular, rotated by the fiber sun rotating air flow to the spindle.
  • the formation of a constriction can be effected by providing an annular bead on the outer surface of the spindle tip.
  • the formation of the bead is limited in its geometric form only in that the said cross-sectional area over the circumference of the spindle results in a uniform gap width.
  • the molded bead can be round, wavy, or even have edges. In a design with multiple bottlenecks, these can be formed by a plurality of beads, wherein the beads can differ by different geometric shapes as well as different dimensions.
  • asymmetrical waveforms or beads, respectively bulges which are provided in the direction of the yarn course with an undercut, are suitable, for example.
  • the spindle is designed in two parts.
  • the spindle tip forms with the bead formed thereon a first part of the spindle and can be attached to the second part of the spindle.
  • the first and the second part of the spindle are precisely matched to one another at a contact point.
  • the parts of the spindle can be assembled without the creation of a mechanical or chemical compound at the contact point. Due to the pressure conditions prevailing in the nozzle body, the two parts of the spindle are held together. Further, a mechanical connection of the first with the second part of the spindle can be provided, this may for example be a plug or screw connection.
  • the first part of the spindle is formed by the outer surface of the spindle tip, which can be attached to the second part of the spindle, for example in the form of a spindle tip sleeve.
  • the attachment can be done by attaching or another type of attachment, such as screws.
  • a ratio of a maximum outside diameter of the bead to a smallest outside diameter of the spindle tip is preferably 1.05 to 1.5.
  • the spindle tip is formed in a cylindrical shape and the inner surface of the nozzle body is formed such that in the discharge channel in its course in the direction of the longitudinal axis of the spindle at least two bottlenecks are formed, wherein the discharge channel in its course in the direction of the longitudinal axis of the spindle at each of these constrictions has an annular cross-sectional area which is smaller than the annular cross-sectional area of the discharge passage before and after each of these at least two bottlenecks.
  • the constriction can be formed by a bulge in the nozzle body, which projects annularly into the interior of the nozzle body. Also for the execution of such a bulge various geometric shapes are conceivable. The formed bulge may be round or have edges.
  • these can be formed by a plurality of protrusions, wherein the bulges can differ by different geometric shapes as well as different dimensions.
  • the nozzle body can also be designed in two parts, wherein the inner surface of the nozzle body is formed by a nozzle body insert and this can be introduced into the nozzle body.
  • the formation and the size of bottlenecks within the discharge channel can be adjusted.
  • the spindle or the nozzle body is movable in the direction of the longitudinal axis of the spindle, the discharge channel is adjustable in shape along the spindle tip.
  • the gap width can be reduced, if beads located on the spindle tip are brought into conformity with bulges attached to the inner surface of the nozzle body.
  • the same settings can be achieved by replacing a spindle tip sleeve or a nozzle body insert.
  • a combination of the first with the second embodiment is conceivable.
  • the design of the inner surface of the nozzle body and the outer surface of the spindle are so matched to one another that the cross-sectional area of the discharge channel is annular and results in a certain cross-sectional area a gap width, which is equal over the circumference of the spindle.
  • a further embodiment can be achieved if the bulges in the nozzle body do not reduce the inner diameter of the nozzle body, but increase it. Also such grooves or grooves are Under the term bulges to understand, provided in conjunction with the spindle tip a bottleneck of the discharge channel.
  • the design of the discharge channel can be changed by the use of a Garn arrangementseinses in the yarn guide channel of the spindle tip, the inner diameter of Garn entryskanals. At the same time by such Garn adjustmentss fever the shape of the spindle opening can be changed.
  • a backflow can form in the yarn guide channel, which leads to air being sucked against the yarn conveying direction by the spindle into the vortex zone. Accordingly, the air flow which is sucked along the fiber guide element in the vortex zone decreases.
  • the air flowing along the fiber guiding element is important for the sliver dissolution and the transport of the sliver to the spindle opening. This circumstance can be taken into account by narrowing the yarn guide channel with the use of a Garn arrangements tenues in the spindle tip.
  • FIG. 1 shows a schematic representation of an air spinning device 1 with a nozzle body 2, a spindle 3, a fiber guide element 4 and a pair of rollers 5.
  • the spindle 3 is hollow and comprises a Garn arrangementskanal 6 which opens into a spindle opening 9 at the spindle tip 8.
  • a sliver 14 is fed via a fiber guide element 4 of the spindle opening 9.
  • Through holes 20 air is introduced in the direction of the spindle tip 8 in the nozzle body 2.
  • the bores are arranged in such a way that a vortex flow results at the spindle tip 8, which detects a part of the fibers from the sliver and moves over the spindle tip 8.
  • the introduced air is discharged via a discharge channel 13 of the spindle tip 8 along, wherein the air flow moves around the spindle tip 8 around.
  • the discharge channel 13 is formed by the outer surface 11 of the spindle tip 8 and the inner surface 12 of the nozzle body 2.
  • the discharge channel 13 has due to the geometry of the spindle tip 8 and the interior of the nozzle body 2 has an annular cross-section.
  • the annular cross section has a constant gap width S around the spindle tip 8 normal to the longitudinal axis 7 of the spindle 3.
  • the fibers 10 placed around the spindle tip 8 are moved helically about the spindle tip 8 by the rotating air flow.
  • the spindle tip 8 is that part of the spindle 3, around which the folded fibers 10 rotate.
  • the removal of the air beyond this region of the spindle 3 no longer has any direct influence on the movement of the fibers 10.
  • the second end of the fibers 10 is caught in the core fibers, which pass directly into the spindle opening 9 from the fiber guiding element 4. Thereby, the folded fibers 10 are drawn into the spindle opening 9, whereby they wind around the core fibers due to the rotating air flow.
  • the distance L between the pair of rollers 5 and the spindle tip 8 and the spindle opening 9 has a significant influence on the number of Umwindemaschinen 10 which are formed by the fluidized air.
  • FIG. 2 shows a section of a nozzle body 2 with a projecting into the nozzle body 2 spindle 3 with a spindle tip 8.
  • a plurality of annular beads 15 formed on the spindle tip 8.
  • the beads 15 shown are shown by way of example with a symmetrical round shape. However, it is also possible to choose angular shapes, and a symmetrical arrangement is not mandatory.
  • the limited by the inner surface 12 of the nozzle body 2 and the outer surface 11 of the spindle tip 8 discharge channel 13 has an annular cross-section.
  • the gap width S is smaller at these bottlenecks than in each case before or after a bead 15.
  • the air flow moving helically in the discharge channel 13 in the direction of the longitudinal axis 7 is influenced by the bottlenecks.
  • FIG. 3 shows a further embodiment of the air-spinning device according to the invention.
  • the nozzle body 2 is different from FIG. 2 formed in two parts, wherein the discharge channel 13 is limited by the inner surface of a nozzle body insert 17.
  • the use of a nozzle body insert 17 allows easy replacement of a highly stressed component without having to change the entire nozzle body 2. It is also possible in the same nozzle body 2 different nozzle body inserts 17 to install alternately.
  • the spindle tip 8 is cylindrical with a flat surface.
  • the inside of the nozzle body 17 is provided with trapezoidal bulges 16 which project annularly into the interior of the nozzle body insert 17. Through the bulges 16 13 bottlenecks are created in the discharge channel.
  • the trapezoidal shape of the bulges causes the air flow at the edge projecting into the discharge channel 13 to break off and form vortices whose axis of rotation is approximately normal to the longitudinal axis 7 of the spindle 3.
  • FIG. 4 shows a combination of the embodiments of FIGS. 2 and 3 ,
  • Ablasskanal 13 are created by annular bulges 16 in the nozzle body insert 17 and by annular beads 15 at the spindle tip bottlenecks.
  • the beads 15 and the bulges 16 need not be attached to the same stiffness in the course of the longitudinal axis 7 of the spindle 3.
  • the spindle 3 is arranged displaceably in its holder relative to the nozzle body 2.
  • the spindle 3 can in the direction D the longitudinal axis 7 of the spindle to be moved.
  • the adjustment of the position of the spindle tip 8 within the nozzle body insert 17 allows a variation of the conditions in the discharge channel 13 which influence the air flow along the spindle tip 8.
  • the departure behavior of the air spinning device can be adjusted to the properties and composition of the fiber slivers to be spinned by changing the flow conditions in the discharge channel, without having to replace spindle tip 8 or nozzle body insert 17.
  • FIG. 5 shows the embodiment of the FIG. 2 with a two-part spindle 3.
  • a spindle tip sleeve 18 is attached.
  • the beads 15 which create the bottlenecks in the discharge channel are not directly mounted on the spindle tip 8 in the illustrated two-part embodiment of the spindle 3, but on the outer surface of a spindle tip sleeve 18.
  • the spindle tip sleeve 18 is easily interchangeable as a wear part. In an exchange of the spindle tip sleeve 18, however, it is also possible to choose a spindle tip sleeve 18, which has a different design of the annular beads 15 on its outer side.
  • the spindle tip sleeve is attached to the spindle tip 8. Due to the air currents in the discharge channel no further connection between the spindle tip 8 and spindle tip sleeve 18 is necessary.
  • the spindle tips sleeve can also be attached by other fastening methods on the spindle tip 8, for example by a screw, a pressing or gluing method, a positive connection, a snap connection or by magnetic forces.
  • FIG. 6 also shows the embodiment of the FIG. 2 wherein additionally on the inside 12 of the nozzle body 2 bulges 16 were introduced.
  • the projecting into the interior of the nozzle body 2 bulges 16 are formed in the form of rings with a rectangular cross-section.
  • beads 15 creates a discharge channel 13 in the form of a labyrinth.
  • FIG. 6 also shows that the bottlenecks created by beads 15 and bulges 16 in the discharge channel 13 may have a small extension in the direction of the longitudinal axis 7 of the spindle 3 in relation to the length of the spindle tip 8.
  • the built-in rings are shown schematically, one Design of fluidically favorable embodiments of beads 15 and bulges 16 is carried out by the person skilled in the art and is not taken into account in the illustration.
  • FIG. 7 also shows the embodiment of the FIG. 2 In addition, a Garn arrangements vom 19 is shown.
  • the inner diameter of a spindle 3, or the dimensions of the Garn enclosureskanals 6 a spindle 3 is dependent on various factors, such as the properties and composition of the fiber material to be spinned or the desired yarn quality or the rotation of the yarn to be produced.
  • the design of the discharge channel 13 can be additionally influenced by the use of spindle tip sleeves, nozzle body inserts or the change in the position of the spindle tip 8 in the nozzle body, a simple adjustment of the dimensions of the Garn entryskanals 6 is advantageous. Such adjustment is possible through the use of Garn Operationssein accountsn 19.
  • a yarn guide insert 19 is inserted through the spindle opening in the yarn guide channel 6 of the spindle 3.
  • the positioning of the Garn entriessnices 19 in Garn entryskanal 6 can be done by a simple stop 21.
  • Such a stop 21 may for example be formed on the spindle 3 or formed by a Seeger ring used.
  • FIG. 8 shows various embodiments of a design of the spindle tip 8 according to the invention.
  • the four spindle tips 8 shown are arbitrary with the in the FIGS. 2 to 6 shown configurations of the inner surfaces of the nozzle body respectively nozzle body inserts can be combined to form a discharge channel.
  • the four illustrated spindle tips 8 have various annular beads 15 formed. However, the beads 15 can also by Spindelspitzenhülsen after the FIG. 5 be formed.
  • a bead 15 is arranged in the vicinity of the spindle opening 9, it being noted that immediately at the location of the spindle opening 9, the outer diameter of the spindle tip is smaller than at the point the largest extent of the annular bead 15. As a result, a bottleneck is not formed directly on the spindle opening 9 in the air spinning device.
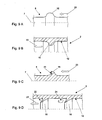
  • FIG. 9 shows a schematic representation of various exemplary forms of bulges respectively beads on the inner surfaces of the nozzle body or the outer surfaces of the spindle tips.
  • FIGS. 9A to 9D is in each case indicated by the arrow 23, the Garnlaufraum. Under the Garnlaufraum is that direction to understand in which the yarn during operation through the Garn Adjustskanal along the longitudinal axis 7 of the spindle runs.
  • FIGS. 9A and 9C show detail sections of the spindle tips.
  • Figure 9A shows a spindle tip 8 with a longitudinal axis 7 and a molded bead 15.
  • the bead 15 is formed in a symmetrical shape like a wave. In this case, in symmetrical design, the Garnlaufraum 23 plays no role.
  • FIG. 9C In contrast, a bead 15 is shown with an undercut 22. In this case, the yarn running direction 23 is important, since the desired backflow with the vortex formation does not occur to the desired extent on flow of the bead from the wrong side.
  • FIGS. 9B and 9D show detail sections of the nozzle body 2 in a sectional view, so that the inner surface 12 of the nozzle body 2 can be seen.
  • FIG. 9B shows a nozzle body 2 with an asymmetric bulge 16. The bulge 16 is in the yarn running direction 23 first rising obliquely to then drop steeply. Such an arrangement promotes the formation of a backflow to aid in the incorporation of short fibers into the forming yarn in the spindle tip.
  • FIG. 9D shows a nozzle body 2 with two consecutive edged bulges 16th

Landscapes

  • Engineering & Computer Science (AREA)
  • Mechanical Engineering (AREA)
  • Textile Engineering (AREA)
  • Spinning Or Twisting Of Yarns (AREA)
EP10734636.3A 2009-07-16 2010-07-09 Luftspinnvorrichtung Active EP2454403B1 (de)

Applications Claiming Priority (2)

Application Number Priority Date Filing Date Title
CH11152009 2009-07-16
PCT/CH2010/000178 WO2011006270A2 (de) 2009-07-16 2010-07-09 Luftspinnvorrichtung

Publications (2)

Publication Number Publication Date
EP2454403A2 EP2454403A2 (de) 2012-05-23
EP2454403B1 true EP2454403B1 (de) 2014-07-02

Family

ID=43449872

Family Applications (1)

Application Number Title Priority Date Filing Date
EP10734636.3A Active EP2454403B1 (de) 2009-07-16 2010-07-09 Luftspinnvorrichtung

Country Status (6)

Country Link
US (1) US8464510B2 (enExample)
EP (1) EP2454403B1 (enExample)
JP (1) JP5698232B2 (enExample)
CN (1) CN102471950B (enExample)
ES (1) ES2510265T3 (enExample)
WO (1) WO2011006270A2 (enExample)

Families Citing this family (6)

* Cited by examiner, † Cited by third party
Publication number Priority date Publication date Assignee Title
DE102011053837A1 (de) * 2011-09-21 2013-03-21 Maschinenfabrik Rieter Ag Spinnspitze für eine Hohlspindel einer Luftspinnmaschine
CH708164A1 (de) * 2013-06-14 2014-12-15 Rieter Ag Maschf Spinndüse sowie damit ausgerüstete Spinnstelle einer Luftspinnmaschine.
CH709606A1 (de) * 2014-05-08 2015-11-13 Rieter Ag Maschf Verfahren zum Betrieb einer Textilmaschine, die der Herstellung von Vorgarn dient, sowie Textilmaschine.
FR3084121B1 (fr) * 2018-07-17 2021-01-15 Skf Aerospace France Assemblage mecanique et dispositif mecanique
DE102018006783A1 (de) * 2018-08-28 2020-03-05 Saurer Spinning Solutions Gmbh & Co. Kg Düsenbefestigung für eine Offenend-Rotorspinnvorrichtung
CN114032630A (zh) * 2021-10-13 2022-02-11 海宁市欧师达经编有限公司 纱线加捻结构

Family Cites Families (14)

* Cited by examiner, † Cited by third party
Publication number Priority date Publication date Assignee Title
DE2722319B2 (de) * 1977-01-10 1981-01-15 Toyo Boseki K.K., Osaka (Japan) Vorrichtung zum pneumatischen Falschdrallspinnen
JPS599225A (ja) * 1982-07-06 1984-01-18 Toyoda Autom Loom Works Ltd 結束紡績用ノズル
JPH0425875U (enExample) * 1990-06-22 1992-03-02
JPH04131660U (ja) * 1991-05-23 1992-12-03 村田機械株式会社 紡績用ノズル
EP1284312B1 (de) * 2001-08-17 2005-09-14 Maschinenfabrik Rieter Ag Vorrichtung zur Herstellung eines gesponnenen Garnes
EP1288354A3 (de) * 2001-08-29 2003-07-16 Maschinenfabrik Rieter Ag Massnahme zur Beeinflussung der axialen Strömung im Spindelkanal einer Wirbelspinnvorrichtung
JP3956689B2 (ja) * 2001-12-19 2007-08-08 村田機械株式会社 紡績装置
DE10333411A1 (de) * 2003-07-15 2005-02-03 Wilhelm Stahlecker Gmbh Vorrichtung zum Herstellen eines gesponnenen Fadens aus einem Stapelfaserverband
DE10349651A1 (de) * 2003-10-20 2005-05-19 Wilhelm Stahlecker Gmbh Luftdüsen-Spinnvorrichtung
EP1778901B1 (de) * 2004-08-20 2011-07-06 Maschinenfabrik Rieter Ag Spindel mit injektorkanal und verfahren zum ansetzen für eine luftspinnmaschine.
DE102007010144A1 (de) * 2007-02-28 2008-09-04 Deutsche Institute für Textil- und Faserforschung Stuttgart Fadenführeinrichtung für Ringspinnmaschinen
CN102304788B (zh) 2007-06-04 2014-07-30 村田机械株式会社 纺织装置
JP5092570B2 (ja) * 2007-06-21 2012-12-05 村田機械株式会社 紡績機
DE102009034206A1 (de) * 2009-07-17 2011-01-27 Maschinenfabrik Rieter Ag Bauteil für eine Luftdüsenspinnvorrichtung

Also Published As

Publication number Publication date
WO2011006270A3 (de) 2011-04-07
ES2510265T3 (es) 2014-10-20
US8464510B2 (en) 2013-06-18
CN102471950A (zh) 2012-05-23
US20120110973A1 (en) 2012-05-10
EP2454403A2 (de) 2012-05-23
JP2012533005A (ja) 2012-12-20
JP5698232B2 (ja) 2015-04-08
CN102471950B (zh) 2015-02-11
WO2011006270A2 (de) 2011-01-20

Similar Documents

Publication Publication Date Title
DE2620118C3 (de) Vorrichtung zum Spinnen von Fasergarn
EP2895647B1 (de) Spinnstelle einer vorspinnmaschine
EP2895646B1 (de) Spinnstelle einer luftspinnmaschine
EP2454403B1 (de) Luftspinnvorrichtung
EP2927355B1 (de) Spinnstelle einer luftspinnmaschine sowie aufsatz für die fixierung an einer spinndüse einer luftspinnmaschine
EP1223236B1 (de) Vorrichtung zur Herstellung eines Core-Garns
EP0990719B1 (de) Spinnvorrichtung
EP1664404B1 (de) Vorrichtung zur herstellung von vorgarn mittels luftspinnverfahren und verwendung einer solchen vorrichtung
DE2049186B2 (de) Verfahren und Vorrichtung zur Herstellung eines Garns
CH704780A1 (de) Vorspinnmaschine zur Herstellung eines Vorgarns.
EP1748094B1 (de) Spinnvorrichtung zur Herstellung eines Fadens mittels eines umlaufenden Luftstroms
WO2017187293A1 (de) Luftspinnmaschine sowie verfahren zur herstellung eines garns
DE102008006379A1 (de) Luftspinnvorrichtung
EP2813604B1 (de) Spinndüse sowie damit ausgerüstete Spinnstelle einer Luftspinnmaschine
CH684197A5 (de) Spinnvorrichtung.
CH674855A5 (enExample)
DE3631400A1 (de) Verfahren und vorrichtung zum pneumatischen falschdrallspinnen
DE3714212A1 (de) Vorrichtung zum pneumatischen falschdrallspinnen mit einem streckwerk
EP3155151B1 (de) Spinndüse für eine luftspinnmaschine sowie luftspinnmaschine mit einer entsprechenden spinndüse
DE102012101001A1 (de) Garnbildungselement für eine Spinnstelle einer Luftspinnmaschine mit einer wendelförmigen Führung sowie Verfahren zur Herstellung eines Garns
EP3842578B1 (de) Ringspinnmaschine und verfahren zur herstellung eines core-garns
EP3052683B1 (de) Spinnstelle einer luftspinnmaschine mit einem faserführungselement
DE3519887A1 (de) Spinnvorrichtung zum herstellen eines faserbuendelgarnes
EP3464691B1 (de) Garnbildungselement für eine vorspinnmaschine sowie damit ausgerüstete vorspinnmaschine
EP3733939A1 (de) Spinnstelle mit einer abzugsdüse, luftspinnmaschine, verfahren zum herstellen eines garns und verwendung dieser abzugsdüse

Legal Events

Date Code Title Description
PUAI Public reference made under article 153(3) epc to a published international application that has entered the european phase

Free format text: ORIGINAL CODE: 0009012

17P Request for examination filed

Effective date: 20120203

AK Designated contracting states

Kind code of ref document: A2

Designated state(s): AL AT BE BG CH CY CZ DE DK EE ES FI FR GB GR HR HU IE IS IT LI LT LU LV MC MK MT NL NO PL PT RO SE SI SK SM TR

DAX Request for extension of the european patent (deleted)
GRAP Despatch of communication of intention to grant a patent

Free format text: ORIGINAL CODE: EPIDOSNIGR1

INTG Intention to grant announced

Effective date: 20140127

GRAS Grant fee paid

Free format text: ORIGINAL CODE: EPIDOSNIGR3

GRAA (expected) grant

Free format text: ORIGINAL CODE: 0009210

AK Designated contracting states

Kind code of ref document: B1

Designated state(s): AL AT BE BG CH CY CZ DE DK EE ES FI FR GB GR HR HU IE IS IT LI LT LU LV MC MK MT NL NO PL PT RO SE SI SK SM TR

REG Reference to a national code

Ref country code: GB

Ref legal event code: FG4D

Free format text: NOT ENGLISH

REG Reference to a national code

Ref country code: CH

Ref legal event code: EP

Ref country code: AT

Ref legal event code: REF

Ref document number: 675993

Country of ref document: AT

Kind code of ref document: T

Effective date: 20140715

REG Reference to a national code

Ref country code: IE

Ref legal event code: FG4D

Free format text: LANGUAGE OF EP DOCUMENT: GERMAN

REG Reference to a national code

Ref country code: DE

Ref legal event code: R096

Ref document number: 502010007383

Country of ref document: DE

Effective date: 20140814

REG Reference to a national code

Ref country code: ES

Ref legal event code: FG2A

Ref document number: 2510265

Country of ref document: ES

Kind code of ref document: T3

Effective date: 20141020

REG Reference to a national code

Ref country code: NL

Ref legal event code: VDEP

Effective date: 20140702

PGFP Annual fee paid to national office [announced via postgrant information from national office to epo]

Ref country code: ES

Payment date: 20140826

Year of fee payment: 5

REG Reference to a national code

Ref country code: LT

Ref legal event code: MG4D

PGFP Annual fee paid to national office [announced via postgrant information from national office to epo]

Ref country code: IT

Payment date: 20140731

Year of fee payment: 5

PG25 Lapsed in a contracting state [announced via postgrant information from national office to epo]

Ref country code: LT

Free format text: LAPSE BECAUSE OF FAILURE TO SUBMIT A TRANSLATION OF THE DESCRIPTION OR TO PAY THE FEE WITHIN THE PRESCRIBED TIME-LIMIT

Effective date: 20140702

Ref country code: SE

Free format text: LAPSE BECAUSE OF FAILURE TO SUBMIT A TRANSLATION OF THE DESCRIPTION OR TO PAY THE FEE WITHIN THE PRESCRIBED TIME-LIMIT

Effective date: 20140702

Ref country code: FI

Free format text: LAPSE BECAUSE OF FAILURE TO SUBMIT A TRANSLATION OF THE DESCRIPTION OR TO PAY THE FEE WITHIN THE PRESCRIBED TIME-LIMIT

Effective date: 20140702

Ref country code: NO

Free format text: LAPSE BECAUSE OF FAILURE TO SUBMIT A TRANSLATION OF THE DESCRIPTION OR TO PAY THE FEE WITHIN THE PRESCRIBED TIME-LIMIT

Effective date: 20141002

Ref country code: BG

Free format text: LAPSE BECAUSE OF FAILURE TO SUBMIT A TRANSLATION OF THE DESCRIPTION OR TO PAY THE FEE WITHIN THE PRESCRIBED TIME-LIMIT

Effective date: 20141002

Ref country code: GR

Free format text: LAPSE BECAUSE OF FAILURE TO SUBMIT A TRANSLATION OF THE DESCRIPTION OR TO PAY THE FEE WITHIN THE PRESCRIBED TIME-LIMIT

Effective date: 20141003

Ref country code: CZ

Free format text: LAPSE BECAUSE OF FAILURE TO SUBMIT A TRANSLATION OF THE DESCRIPTION OR TO PAY THE FEE WITHIN THE PRESCRIBED TIME-LIMIT

Effective date: 20140702

Ref country code: PT

Free format text: LAPSE BECAUSE OF FAILURE TO SUBMIT A TRANSLATION OF THE DESCRIPTION OR TO PAY THE FEE WITHIN THE PRESCRIBED TIME-LIMIT

Effective date: 20141103

PG25 Lapsed in a contracting state [announced via postgrant information from national office to epo]

Ref country code: PL

Free format text: LAPSE BECAUSE OF FAILURE TO SUBMIT A TRANSLATION OF THE DESCRIPTION OR TO PAY THE FEE WITHIN THE PRESCRIBED TIME-LIMIT

Effective date: 20140702

Ref country code: CY

Free format text: LAPSE BECAUSE OF FAILURE TO SUBMIT A TRANSLATION OF THE DESCRIPTION OR TO PAY THE FEE WITHIN THE PRESCRIBED TIME-LIMIT

Effective date: 20140702

Ref country code: LV

Free format text: LAPSE BECAUSE OF FAILURE TO SUBMIT A TRANSLATION OF THE DESCRIPTION OR TO PAY THE FEE WITHIN THE PRESCRIBED TIME-LIMIT

Effective date: 20140702

Ref country code: NL

Free format text: LAPSE BECAUSE OF FAILURE TO SUBMIT A TRANSLATION OF THE DESCRIPTION OR TO PAY THE FEE WITHIN THE PRESCRIBED TIME-LIMIT

Effective date: 20140702

Ref country code: HR

Free format text: LAPSE BECAUSE OF FAILURE TO SUBMIT A TRANSLATION OF THE DESCRIPTION OR TO PAY THE FEE WITHIN THE PRESCRIBED TIME-LIMIT

Effective date: 20140702

Ref country code: IS

Free format text: LAPSE BECAUSE OF FAILURE TO SUBMIT A TRANSLATION OF THE DESCRIPTION OR TO PAY THE FEE WITHIN THE PRESCRIBED TIME-LIMIT

Effective date: 20141102

REG Reference to a national code

Ref country code: CH

Ref legal event code: PL

REG Reference to a national code

Ref country code: DE

Ref legal event code: R097

Ref document number: 502010007383

Country of ref document: DE

REG Reference to a national code

Ref country code: IE

Ref legal event code: MM4A

PG25 Lapsed in a contracting state [announced via postgrant information from national office to epo]

Ref country code: CH

Free format text: LAPSE BECAUSE OF NON-PAYMENT OF DUE FEES

Effective date: 20140731

Ref country code: EE

Free format text: LAPSE BECAUSE OF FAILURE TO SUBMIT A TRANSLATION OF THE DESCRIPTION OR TO PAY THE FEE WITHIN THE PRESCRIBED TIME-LIMIT

Effective date: 20140702

Ref country code: LI

Free format text: LAPSE BECAUSE OF NON-PAYMENT OF DUE FEES

Effective date: 20140731

Ref country code: RO

Free format text: LAPSE BECAUSE OF FAILURE TO SUBMIT A TRANSLATION OF THE DESCRIPTION OR TO PAY THE FEE WITHIN THE PRESCRIBED TIME-LIMIT

Effective date: 20140702

Ref country code: MC

Free format text: LAPSE BECAUSE OF FAILURE TO SUBMIT A TRANSLATION OF THE DESCRIPTION OR TO PAY THE FEE WITHIN THE PRESCRIBED TIME-LIMIT

Effective date: 20140702

Ref country code: DK

Free format text: LAPSE BECAUSE OF FAILURE TO SUBMIT A TRANSLATION OF THE DESCRIPTION OR TO PAY THE FEE WITHIN THE PRESCRIBED TIME-LIMIT

Effective date: 20140702

Ref country code: SK

Free format text: LAPSE BECAUSE OF FAILURE TO SUBMIT A TRANSLATION OF THE DESCRIPTION OR TO PAY THE FEE WITHIN THE PRESCRIBED TIME-LIMIT

Effective date: 20140702

PLBE No opposition filed within time limit

Free format text: ORIGINAL CODE: 0009261

STAA Information on the status of an ep patent application or granted ep patent

Free format text: STATUS: NO OPPOSITION FILED WITHIN TIME LIMIT

26N No opposition filed

Effective date: 20150407

REG Reference to a national code

Ref country code: FR

Ref legal event code: ST

Effective date: 20150511

GBPC Gb: european patent ceased through non-payment of renewal fee

Effective date: 20141002

PG25 Lapsed in a contracting state [announced via postgrant information from national office to epo]

Ref country code: GB

Free format text: LAPSE BECAUSE OF NON-PAYMENT OF DUE FEES

Effective date: 20141002

PG25 Lapsed in a contracting state [announced via postgrant information from national office to epo]

Ref country code: IE

Free format text: LAPSE BECAUSE OF NON-PAYMENT OF DUE FEES

Effective date: 20140709

Ref country code: FR

Free format text: LAPSE BECAUSE OF NON-PAYMENT OF DUE FEES

Effective date: 20140902

PG25 Lapsed in a contracting state [announced via postgrant information from national office to epo]

Ref country code: SI

Free format text: LAPSE BECAUSE OF FAILURE TO SUBMIT A TRANSLATION OF THE DESCRIPTION OR TO PAY THE FEE WITHIN THE PRESCRIBED TIME-LIMIT

Effective date: 20140702

PG25 Lapsed in a contracting state [announced via postgrant information from national office to epo]

Ref country code: IT

Free format text: LAPSE BECAUSE OF NON-PAYMENT OF DUE FEES

Effective date: 20150709

Ref country code: SM

Free format text: LAPSE BECAUSE OF FAILURE TO SUBMIT A TRANSLATION OF THE DESCRIPTION OR TO PAY THE FEE WITHIN THE PRESCRIBED TIME-LIMIT

Effective date: 20140702

PG25 Lapsed in a contracting state [announced via postgrant information from national office to epo]

Ref country code: MT

Free format text: LAPSE BECAUSE OF FAILURE TO SUBMIT A TRANSLATION OF THE DESCRIPTION OR TO PAY THE FEE WITHIN THE PRESCRIBED TIME-LIMIT

Effective date: 20140702

PG25 Lapsed in a contracting state [announced via postgrant information from national office to epo]

Ref country code: BE

Free format text: LAPSE BECAUSE OF FAILURE TO SUBMIT A TRANSLATION OF THE DESCRIPTION OR TO PAY THE FEE WITHIN THE PRESCRIBED TIME-LIMIT

Effective date: 20140731

Ref country code: LU

Free format text: LAPSE BECAUSE OF NON-PAYMENT OF DUE FEES

Effective date: 20140709

Ref country code: HU

Free format text: LAPSE BECAUSE OF FAILURE TO SUBMIT A TRANSLATION OF THE DESCRIPTION OR TO PAY THE FEE WITHIN THE PRESCRIBED TIME-LIMIT; INVALID AB INITIO

Effective date: 20100709

REG Reference to a national code

Ref country code: ES

Ref legal event code: FD2A

Effective date: 20160826

REG Reference to a national code

Ref country code: AT

Ref legal event code: MM01

Ref document number: 675993

Country of ref document: AT

Kind code of ref document: T

Effective date: 20150709

PG25 Lapsed in a contracting state [announced via postgrant information from national office to epo]

Ref country code: ES

Free format text: LAPSE BECAUSE OF NON-PAYMENT OF DUE FEES

Effective date: 20150710

Ref country code: AT

Free format text: LAPSE BECAUSE OF NON-PAYMENT OF DUE FEES

Effective date: 20150709

PG25 Lapsed in a contracting state [announced via postgrant information from national office to epo]

Ref country code: MK

Free format text: LAPSE BECAUSE OF FAILURE TO SUBMIT A TRANSLATION OF THE DESCRIPTION OR TO PAY THE FEE WITHIN THE PRESCRIBED TIME-LIMIT

Effective date: 20140702

PG25 Lapsed in a contracting state [announced via postgrant information from national office to epo]

Ref country code: AL

Free format text: LAPSE BECAUSE OF FAILURE TO SUBMIT A TRANSLATION OF THE DESCRIPTION OR TO PAY THE FEE WITHIN THE PRESCRIBED TIME-LIMIT

Effective date: 20140702

P01 Opt-out of the competence of the unified patent court (upc) registered

Effective date: 20230519

PGFP Annual fee paid to national office [announced via postgrant information from national office to epo]

Ref country code: DE

Payment date: 20250722

Year of fee payment: 16

PGFP Annual fee paid to national office [announced via postgrant information from national office to epo]

Ref country code: TR

Payment date: 20250703

Year of fee payment: 16