EP2364940A2 - Verfahren und Vorrichtung zur Bereitstellung und Übergabe von Druckplatten - Google Patents

Verfahren und Vorrichtung zur Bereitstellung und Übergabe von Druckplatten Download PDF

Info

Publication number
EP2364940A2
EP2364940A2 EP11155146A EP11155146A EP2364940A2 EP 2364940 A2 EP2364940 A2 EP 2364940A2 EP 11155146 A EP11155146 A EP 11155146A EP 11155146 A EP11155146 A EP 11155146A EP 2364940 A2 EP2364940 A2 EP 2364940A2
Authority
EP
European Patent Office
Prior art keywords
printing plate
printing
lever
providing
pivot
Prior art date
Legal status (The legal status is an assumption and is not a legal conclusion. Google has not performed a legal analysis and makes no representation as to the accuracy of the status listed.)
Granted
Application number
EP11155146A
Other languages
English (en)
French (fr)
Other versions
EP2364940B1 (de
EP2364940A3 (de
Inventor
Axel Trilk
Current Assignee (The listed assignees may be inaccurate. Google has not performed a legal analysis and makes no representation or warranty as to the accuracy of the list.)
Heidelberger Druckmaschinen AG
Original Assignee
Heidelberger Druckmaschinen AG
Priority date (The priority date is an assumption and is not a legal conclusion. Google has not performed a legal analysis and makes no representation as to the accuracy of the date listed.)
Filing date
Publication date
Application filed by Heidelberger Druckmaschinen AG filed Critical Heidelberger Druckmaschinen AG
Publication of EP2364940A2 publication Critical patent/EP2364940A2/de
Publication of EP2364940A3 publication Critical patent/EP2364940A3/de
Application granted granted Critical
Publication of EP2364940B1 publication Critical patent/EP2364940B1/de
Not-in-force legal-status Critical Current
Anticipated expiration legal-status Critical

Links

Images

Classifications

    • BPERFORMING OPERATIONS; TRANSPORTING
    • B65CONVEYING; PACKING; STORING; HANDLING THIN OR FILAMENTARY MATERIAL
    • B65HHANDLING THIN OR FILAMENTARY MATERIAL, e.g. SHEETS, WEBS, CABLES
    • B65H3/00Separating articles from piles
    • B65H3/44Simultaneously, alternately, or selectively separating articles from two or more piles
    • BPERFORMING OPERATIONS; TRANSPORTING
    • B65CONVEYING; PACKING; STORING; HANDLING THIN OR FILAMENTARY MATERIAL
    • B65HHANDLING THIN OR FILAMENTARY MATERIAL, e.g. SHEETS, WEBS, CABLES
    • B65H1/00Supports or magazines for piles from which articles are to be separated
    • B65H1/04Supports or magazines for piles from which articles are to be separated adapted to support articles substantially horizontally, e.g. for separation from top of pile
    • BPERFORMING OPERATIONS; TRANSPORTING
    • B65CONVEYING; PACKING; STORING; HANDLING THIN OR FILAMENTARY MATERIAL
    • B65HHANDLING THIN OR FILAMENTARY MATERIAL, e.g. SHEETS, WEBS, CABLES
    • B65H2403/00Power transmission; Driving means
    • B65H2403/50Driving mechanisms
    • B65H2403/53Articulated mechanisms
    • B65H2403/531Planar mechanisms
    • B65H2403/5311Parallelogram mechanisms
    • BPERFORMING OPERATIONS; TRANSPORTING
    • B65CONVEYING; PACKING; STORING; HANDLING THIN OR FILAMENTARY MATERIAL
    • B65HHANDLING THIN OR FILAMENTARY MATERIAL, e.g. SHEETS, WEBS, CABLES
    • B65H2405/00Parts for holding the handled material
    • B65H2405/30Other features of supports for sheets
    • B65H2405/33Compartmented support
    • B65H2405/332Superposed compartments
    • BPERFORMING OPERATIONS; TRANSPORTING
    • B65CONVEYING; PACKING; STORING; HANDLING THIN OR FILAMENTARY MATERIAL
    • B65HHANDLING THIN OR FILAMENTARY MATERIAL, e.g. SHEETS, WEBS, CABLES
    • B65H2405/00Parts for holding the handled material
    • B65H2405/30Other features of supports for sheets
    • B65H2405/35Means for moving support
    • B65H2405/354Means for moving support around an axis, e.g. horizontal
    • BPERFORMING OPERATIONS; TRANSPORTING
    • B65CONVEYING; PACKING; STORING; HANDLING THIN OR FILAMENTARY MATERIAL
    • B65HHANDLING THIN OR FILAMENTARY MATERIAL, e.g. SHEETS, WEBS, CABLES
    • B65H2701/00Handled material; Storage means
    • B65H2701/10Handled articles or webs
    • B65H2701/19Specific article or web
    • B65H2701/1928Printing plate

Definitions

  • the invention relates to the field of electronic reproduction technology and relates to a method for providing and transferring printing plates to another device, wherein at least two printing plate stacks are provided by at least two printing plate delivery elements, wherein the printing plate delivery elements are mutually adjustable and by means of a singulator of each one of the Printing plate stack which is located in an access area of the singulator a printing plate is isolated. Furthermore, the invention relates to a device for carrying out this method and a platesetter comprising this device.
  • print templates are created for printed pages containing all the elements to be printed, such as text, graphics and images.
  • a separate print template is created for each ink, containing all the elements printed in each color.
  • these are the inks cyan, magenta, yellow and black (CMYK).
  • the artwork is usually recorded in a platesetter plates on printing plates, which are then printed in a printing machine, the printed pages with high circulation. Alternatively, the artwork can be transferred directly as digital data to a digital press. There, the print data are then exposed to printing plates, for example, with an integrated into the printing unit exposure unit before immediately after the pad printing begins.
  • a laser beam is generated by a laser diode, formed by optical means and focused on the printing plate and deflected by a deflection system point and line over the printing plate.
  • a bundle of laser beams may also be generated, and with each sweep of the printing plate, a plurality of image lines are simultaneously exposed.
  • the printing plate may be on an exposure drum (external drum imagesetter), in a cylindrical trough (internal drum imagesetter) or on a flat surface (flatbed platesetter).
  • the printing plate to be exposed is mounted on a rotatably mounted exposure drum.
  • an exposure head is moved axially along the drum at a relatively short distance.
  • the exposure head focuses one or more laser beams onto the drum surface which sweep the drum surface in the form of a narrow helical line. In this way one or more image lines are exposed each time the drum rotates.
  • a printing plate to be exposed can be manually fed to the platesetter. It is then drawn in by the platesetter and automatically clamped on the exposure drum, where it is fixed by means of clamping devices and optionally with a vacuum device during the exposure.
  • charging devices are used, which remove the printing plates to be exposed individually from a cassette, for example, with a suction device, and the platesetter perform.
  • a charging device is in the DE 101 34 151 A1 described. It is referred to as a single-cassette loader, since it contains only one cassette at a time and extracts the printing plates from it.
  • the cassette contains a supply of unexposed printing plates, the printing plates usually all the same format, ie have the same dimensions. In the cassette, the printing plates are protected from dust and light, so that unintentional exposure of the printing plates is prevented.
  • the object of the present invention is therefore to reduce the disadvantages of the prior art at least.
  • printing plates are transferred to a device for processing printing plates.
  • This device may be, for example, a platesetter.
  • at least two printing plate stacks are to be provided in or on at least two printing plate delivery elements.
  • Such printing plate delivery elements are preferably trays on which appropriate printing plate stacks are provided.
  • the trays or printing plate providing elements are provided substantially one above the other.
  • these printing plate delivery elements are mutually adjustable.
  • exactly two printing plate delivery elements are provided for two printing plate stacks. This is sufficient in most cases, and for most users, increases the flexibility of a press imaging device without causing increased footprint.
  • only one printing plate providing element is provided movably, while the second printing plate providing element is immovable and, in particular, a base plate can already be used for this purpose.
  • the singling device may advantageously be a separating device with suction cups for lifting and a lower pull for separating the pressure plate, which thus for example in the DE 10 2009 020 102 A1 is proposed, which should be referred to with respect to the embodiment and the method of singulation.
  • it can preferably be provided here that only a single movable roller is moved as a separating element for separating the printing plates under a raised printing plate as a beam.
  • a first printing plate providing element is pivoted about at least one pivot axis and the printing plate stack of the printing plate delivery element is brought into a removal position for separating printing plates from the printing plate stack or in a rest position.
  • the pivot axis extends from a side line of the printing plate to the other side line of the printing plate stack, wherein the singulation device can act on a front side of the printing plates for singling.
  • a device for providing printing plates according to claim 4 In device view, the object of the invention by a device for providing printing plates according to claim 4 is achieved.
  • This device should preferably be suitable for carrying out said method, for which purpose at least one pivot axis is provided, which is connected to the first Pressure plate providing element is coupled. In this way, this first printing plate providing element with respect to the second Be pivoted printing plate delivery element. Furthermore, a corresponding separating device should be provided.
  • the singulation device in the direction of a processing device such. B. a platesetter
  • a processing device such. B. a platesetter
  • the singulator can be provided in the same plane as the printing plate providing elements, while the processing device, such. B. the exposure device, located below the deployment level and only by a to the singulator connected transport table be opened.
  • a transport table is in the not yet published German application DE 10 2009 052 144 to which reference is made here with regard to the transport table and the arrangement of transport table imagesetter and printing plate providing device.
  • the separating device accesses a front region of the printing plates for separating. This is possible with respect to the first printing plate providing element only when this is in a removal position, wherein at least a front portion of the second printing plate providing element is hidden and the separating device can not access printing plates of the second but exclusively on printing plates of the first printing plate providing element.
  • the first printing plate delivery element is pivoted from the removal position into a rest position, wherein it extends over a region which extends completely over the surface of the second printing plate delivery element, so far freed by it is now further away from the singler and also from the second printing plate delivery element, so that the singulation now unhindered by the first Printing plate providing element on printing plates of the second Can access printing plate delivery element.
  • the first pressure plate providing element is coupled via at least one lateral lever with the pivot axis.
  • levers are provided laterally on both sides of the pressure plate providing element to connect the element to the pivot axis, the pivot axis being a local fixed axis with respect to the entire device which does not move in the described method.
  • At least one pivot drive is provided, in this case
  • each pivot drives are provided so that they are connected via lever pieces of the lever in turn to the pivot axis and by activation of the pivot drive rotation of the lever is caused about this pivot axis around, whereby a total of the first printing plate providing element is pivoted about the pivot axis.
  • the pressure plate providing element preferably in the form of a tray, is simply detachable or detachable from the entire device. This can be realized by a receiving frame, preferably a tray receptacle, for receiving the at least one first printing plate providing element.
  • This receiving rack can be essentially formed by two parallel lateral arms, so that a tray or other provisioning element can be placed on the lateral arms.
  • a loading of the first printing plate providing element with printing plates can be simplified by simply removing this element from the device and loading it outside.
  • the loading of the second printing plate-providing element can be simplified since, after removal of the first element, free access to the second printing plate-providing element is present.
  • Another advantage is that, with the first printing plate providing element removed, a plurality of printing plates can now be picked up by the second printing plate providing element, since an upper boundary is no longer present through the first printing plate providing element.
  • z. B. an intended nightly imaging of printing plates of the same format can be easily realized overnight.
  • the pivot drive can be a linear drive, in particular a hydraulic drive or pneumatic drive, which is provided laterally of the device and in particular has a piston which is connected to a lever piece with the fixed pivot axis that through a linear movement of the piston of the lever is rotated by the transmission via the lever piece about the pivot axis and this rotation of the lever results in a pivoting of the pressure plate supply.
  • Both the pressure plate providing element and the piston are connected to the lever with mobile pivot points, so that these pivot points can shift themselves upon rotation of the lever.
  • a lever for connecting the element with the pivot drive which connects via a movable pivot point in the region of the printing plate providing element of this element with another fixed pivot point or a fixed pivot axis.
  • the fixed pivot axes or fixed pivot points are each provided in an area just below the second printing plate providing element.
  • the lever pieces that connect the fixed pivot axes with the mobile or movable pivot point of the first pressure plate providing element should thereby have a substantially straight shape, wherein to reduce the space requirement, the lever piece, which has the fixed pivot axis with the pivot drive, preferably a curved shape.
  • the entire lever mechanism can advantageously be provided quite compactly below the second printing plate providing element.
  • a linear movement of the rotary actuator by a rotary movement of lateral levers on the first printing plate delivery member about a fixed pivot axis can thus, in process view, easily pivot a pivoting movement of the printing plate delivery member substantially on a circular path from a front removal position to a farther back upper rest position can be achieved, with no special greater space is required for this.
  • a printing platesetter which comprises a device according to one of the claims.
  • the second printing plate providing element is immovable and is provided in the region of the bottom plate of the printing plate holder of the printing platesetter. It may in particular be directly around the bottom plate for receiving printing plates.
  • the printing plate holder of the printing plate imagesetter should comprise at least the first and second printing plate providing element and be closed by a cover element, wherein the cover element is to have an openable protection for the transfer of printing plates or printing plate delivery elements in the printing plate recording. When the protection is closed, the printing plate delivery elements with the printing plate stacks in all possible positions should be located within the printing plate receptacle so that the cover element is not touched. Due to the selected compact design of the device described, it is possible to provide printing plate recordings, which have a low volume requirement and are particularly suitable to use printing plate plates for plates of smaller formats suitable.
  • FIG. 1 shows a lateral cross-section of a printing plate holder 52.
  • This pressure plate holder is part of a Druckplattenbelichters not shown here, which is supplied by the pressure plate holder 52 with pressure plates 42, 43.
  • Such a printing plate recording with a platesetter is in the unpublished German application DE 10 2009 052 144 , to which reference is hereby made with respect to the printing plate recording and its positioning in the printing platesetter described.
  • the pressure plate receptacle 52 comprises a cover element 44, which in turn comprises a protection 10.
  • the protector 10 is pivotably arranged so that printing plate stacks 40, 41 and / or trays 2 with printing plate stacks 42 can be introduced into the printing plate receptacle 52.
  • the printing plate holder 52 comprises a tray receptacle 26.
  • the tray receptacle 26 is located here in a front lower removal position, which also occupies it for receiving a tray 2.
  • the tray receptacle 26 consists of lateral arms 3, which are each arranged laterally so that they can receive the side surfaces of the tray 2. Through the side view here in FIG. 1 only one arm 3 is recognizable. A second arm 3 of the tray holder 26 is then located on the opposite side of the tray 2.
  • the tray 2 can be supplied outside the printing plate holder 52 with a printing plate stack 40 and then includes pressure plates 42 on its inside. In the direction of the arrow 30, the tray 2 can be introduced into the tray receptacle 26.
  • the tray mount 26 can be pivoted with a tray 2 in different positions. For pivoting the tray holder 26, this is connected to a pivoting drive 4, which is part of a lifting mechanism 27.
  • a lever 20 is rotatably mounted about a fixed pivot axis 5b.
  • the lever 20 is connected on one side with a movable pivot point 6b with an arm 3 of the tray holder 26 and on the other side with a pivot point 22 with a piston 23 of the pivot drive 4. Between the pivot point 22 and the pivot axis 5b of the lever 20 is located a portion 28 of the lever 20, which is bent so that the pivot point 22 is at the removal position of the tray receptacle 26 substantially directly below the pivot axis 5b. As already stated for the tray receptacle 26, this structure is provided substantially symmetrically on both sides thereof.
  • the tray receptacle 26 At a rear end of the tray receptacle 26 is to stabilize another lever 21, which is connected via a mitbewegbaren pivot point 6a with the arm 3 of the tray receptacle 26.
  • the tray holder 26 is pivoted in addition to a pivoting about the pivot axis 5b about a pivot axis 5a around, which is fixed with respect to the base plate 1 and with which the lever 21 is additionally connected.
  • the pivoting about the pivot axis 5a takes place exclusively passively, driven by the pivot drive 4, which acts on the front lever 20.
  • the pivot drive 4 itself is connected to a fixed pivot axis or a fixed pivot point 24 and arranged pivotable about this.
  • a force of the drive 4 on the lever 20 via the piston 23 the force acts back on the drive 4, so that it is pivoted about the fixed pivot point 24 around.
  • This pivoting is in FIG. 2 represented symbolically by the double arrow 25. In this way, the space required for the mechanism 27 can be minimized.
  • a separating device 50 is provided at the front end, which has a movable suction member 11.
  • This intake 11th can have in the depth parallel to the propagation direction of the pressure plates 42, 43 more suction heads.
  • the suction member 11 can be moved vertically and horizontally so that it can suck the upper pressure plate of a printing plate stack 40 and can pull up vertically.
  • the intake 11 is further supported by a beam 12, which can be driven under a raised pressure plate 42, 43.
  • the beam 12 is horizontally movable and can travel substantially the entire distance of a pressure plate 42, 43 from its front to its rear edge and thus a raised pressure plate 42, 43 substantially completely separate from the underlying stack of plates 40, 41.
  • FIG. 2 shows a further lateral section through a pressure plate receptacle 52.
  • the same elements are provided here with the same reference numerals.
  • the tray 2 is received here by the pressure plate holder 26 and this has been pivoted to a rest position.
  • the lid member 44 of the pressure plate holder 52 is closed with the protection 10.
  • the printing plate stack 41 on the base plate 1 and the tray receptacle 26 are enclosed with the tray 2 with the cover 10 closed by the cover element 44 even when the tray receptacle 26 is in the rest position, d. H. when they are in their rearmost, d. H. in the farthest from the singling device 50 and at the same time in its highest position relative to the base plate 1, is located.
  • the cover element 44 has a safety sensor 60, which checks whether the protection 10 is closed or open. Only with a closed protection 10, as in FIG. 2 is shown, activation of the drive 4 is only possible. In this way, user-side bruising by the levers 20 or 21 can be avoided.
  • the state in FIG. 2 starting from FIG. 1 , thereby achieved that first the tray 2 is inserted into the tray receptacle 26 and then the protection 10 is closed.
  • the safety sensor 60 detects the closed protection 10 and allows not shown here control elements activation of the drive 4, so that depending on desired to be removed pressure plate 42, 43, the tray holder 26 is pivoted into a removal or rest position.
  • the printing plate stack 41 is provided for removal of printing plates 43 by the singulator 50.
  • the tray receptacle 26 is no longer in the front region of the base plate 1, so that the suction member 11 can be moved in the direction of arrow 31 horizontally above the printing plate stack 41 and then can be lowered vertically in the direction of arrow 32 so far that there is a pressure plate 43, which is associated with the base plate 1 can suck. Subsequently, the suction member 11 is moved against the arrow 32 vertically upward, wherein it entrains the uppermost pressure plate 43 at least in its front region. Possible intermediate papers or adhesive printing plates 43 can then be loosened or stripped off by a blowing member 34.
  • An overlying joist 12 travels between the raised pressure plate 43 and the underlying printing plate stack 41.
  • the raised pressure plate 43 is generally so flexible that only one front region is lifted by the suction member 11. A rear region facing away from the separating device 50 then still rests on the stack 41 and would damage the surfaces of the printing plates 43 lying here by a horizontal movement of the suction member 11 by grinding on the remaining stack 41.
  • the beam 12 can now drive under the raised pressure plate 43 and lift it completely from the stack 41.
  • the joist 12 can be moved in the direction of the arrow 33 below the tray receptacle 26 which has now been raised, wherein it always remains below the raised pressure plate 43. With a removal of the raised pressure plate 43, the beam can be moved uniformly with the intake 11 against the arrow 33 and are brought to a removal of the pressure plate 43 to a further processing organ or a turntable of a printing platesetter.
  • FIG. 3 shows a state of the tray receiving 26, which has been pivoted to a removal position.
  • the front edge 51 of the tray 2 abuts against a stop 9.
  • An access to the underlying printing plate stack 41 through the Singulation device 50 can no longer take place, since this stack 41 is now completely blocked by the tray receptacle 26 and the tray 2 thereon.
  • the tray receptacle 26 is pivoted downwards and forwards so far that the pressure plates 42 on the tray 2 as in FIG. 2 described can now be separated by the singulator 50 itself.
  • FIG. 4 shows an alternative arrangement of the lever mechanism 27 with respect to the rear lever 21. If sufficient space is given, the lever mechanism 27 can be provided with the drive 4 and the lever 20 in the front region of the tray receptacle 26, so that the movable pivot point 6b here at the front end of the arm 3 of the lever mechanism 27 engages while the lever 21 remains connected to the rear of the arm 3 with this via a pivot point 6a.
  • suction member 11 and beam 12 of the singulator 60 can separate printing plates 42, 43 in dependence on the positioning of the tray receptacle 26.
  • the singulator 50 is arranged so that it can separate printing plates 42, 43 at least up to a height corresponding to the printing plate stack 40 of the tray 2. If an exposure job which only uses printing plates of one format is required in a printing company, the tray 2 can be completely removed from the printing plate holder 52. A printing plate stack 41 1 of the base plate 1 can then be stacked so high that its upper edge corresponds to the upper edge of the original printing plate stack 40, so that the separating device 50 can still access the printing plates 43 of the printing plate stack 41.
  • the lever mechanism 27 described here in cooperation with the tray receptacle 26 and the arms 3 of this tray receptacle 26, shows a flexible solution with which, depending on required printing plate formats 42, 43, quickly from an operation with two different formats to an operation with only one format and a plurality of printing plates 43 of this format can be changed, wherein the Height, which is required for the tray mount 26, is so small that optionally a lid member 44 can be used, which is already used for existing in the market printing platesetter, which use only a single printing plate stack 43, which rests on the base plate 1. Overall, therefore, a small footprint for the provision of different printing plate formats can be achieved.

Landscapes

  • Engineering & Computer Science (AREA)
  • Mechanical Engineering (AREA)
  • Sheets, Magazines, And Separation Thereof (AREA)
  • Exposure And Positioning Against Photoresist Photosensitive Materials (AREA)
  • Manufacture Or Reproduction Of Printing Formes (AREA)

Abstract

Die Erfindung betrifft ein Verfahren und eine Vorrichtung zur Bereitstellung und Übergabe von Druckplatten (42,43) von zwei Druckplattenstapeln (40,41), welche von zueinander verstellbaren Druckplattenbereitstellungselemente (1,2) bereitgestellt sind. Bisher werden solche Druckplattenbereitstellungselemente (1,2) in Magazinen gelagert und durch vertikale und horizontale Bewegungen einer Vereinzelungseinrichtung (50) zugeführt. Die hierfür bekannten Aufbauten sind aufwendig und haben einen erhöhten Platzbedarf. Zur Verringerung des Platzbedarfs wird eine Tablettaufnahme (26) mit einer Schwenkachse (5b) vorgeschlagen, so dass diese in Bezug zu einem zweiten Druckplattenbereitstellungselement (1) durch Verschwenken um die Schwenkachse (5b) in eine Entnahmeposition und eine Ruheposition verbracht werden kann, wobei in der Entnahmeposition Druckplatten (42) von ersten und in der Ruheposition von der zweiten Druckplattenentnahme (1) vereinzelt werden können.

Description

  • Die Erfindung bezieht sich auf das Gebiet der elektronischen Reproduktionstechnik und betrifft ein Verfahren zur Bereitstellung und Übergabe von Druckplatten an eine weitere Einrichtung, wobei wenigstens zwei Druckplattenstapel von wenigstens zwei Druckplattenbereitstellungselementen bereitgestellt werden, wobei die Druckplattenbereitstellungselemente zueinander verstellbar sind und mittels einer Vereinzelungseinrichtung von jeweils einem der Druckplattenstapel der sich in einem Zugangsbereich der Vereinzelungseinrichtung befindet eine Druckplatte vereinzelt wird. Des weiteren Betrifft die Erfindung eine Vorrichtung zur Durchführung dieses Verfahrens und einen Druckplattenbelichter umfassend diese Vorrichtung.
  • In der Reproduktionstechnik werden Druckvorlagen für Druckseiten erzeugt, die alle zu druckenden Elemente wie Texte, Grafiken und Bilder enthalten. Für den farbigen Druck wird für jede Druckfarbe eine separate Druckvorlage erzeugt, die alle Elemente enthält, die in der jeweiligen Farbe gedruckt werden. Für den Vierfarbdruck sind das die Druckfarben Cyan, Magenta, Gelb und Schwarz (CMYK). Die Druckvorlagen werden in der Regel in einem Druckplattenbelichter auf Druckplatten aufgezeichnet, mit denen dann in einer Druckmaschine die Druckseiten mit hoher Auflage gedruckt werden. Alternativ können die Druckvorlagen direkt als digitale Daten an eine digitale Druckmaschine übergeben werden. Dort werden die Druckvorlagendaten dann beispielsweise mit einer in die Druckmaschine integrierten Belichtungseinheit auf Druckplatten belichtet, bevor unmittelbar anschließend der Auflagendruck beginnt.
  • In den Aufzeichnungsgeräten, die in der elektronischen Reproduktionstechnik zur Belichtung von Druckplatten eingesetzt werden, wird beispielsweise ein Laserstrahl von einer Laserdiode erzeugt, durch optische Mittel geformt und auf die Druckplatte fokussiert und mittels eines Ablenksystems Punkt- und Linienweise über die Druckplatte abgelenkt. Zur Erhöhung der Belichtungsgeschwindigkeit kann auch ein Bündel von Laserstrahlen erzeugt werden, und mit jedem Überstreichen der Druckplatte werden mehrere Bildlinien gleichzeitig belichtet. Die Druckplatte kann sich auf einer Belichtungstrommel befinden (Außentrommelbelichter), in einer zylindrischen Mulde (Innentrommelbelichter) oder auf einer ebenen Fläche (Flachbettbelichter). Beispielsweise wird bei einem Außentrommelbelichter die zu belichtende Druckplatte auf eine drehbar gelagerte Belichtungstrommel montiert. Während die Belichtungstrommel rotiert, wird ein Belichtungskopf in einem relativ kurzen Abstand axial an der Trommel entlang bewegt. Der Belichtungskopf fokussiert einen oder mehrere Laserstrahlen auf die Trommeloberfläche, die die Trommeloberfläche in Form einer engen Schraubenlinie überstreichen. Auf diese Weise werden bei jeder Trommelumdrehung eine bzw. mehrere Bildlinien belichtet.
  • Eine zu belichtende Druckplatte kann dem Druckplattenbelichter manuell zugeführt werden. Sie wird dann vom Druckplattenbelichter eingezogen und automatisch auf die Belichtungstrommel gespannt, wo sie mittels Klemmeinrichtungen und gegebenenfalls mit einer Vakuumeinrichtung während der Belichtung fixiert wird. Um den Arbeitsablauf zu automatisieren und dadurch eine Bedienperson einzusparen, werden aber auch Ladeeinrichtungen eingesetzt, die die zu belichtenden Druckplatten einzeln aus einer Kassette entnehmen, beispielsweise mit einer Saugeinrichtung, und dem Druckplattenbelichter zuführen. Eine solche Ladeeinrichtung ist in der DE 101 34 151 A1 beschrieben. Sie wird als Single-Cassette-Loader bezeichnet, da sie nur jeweils eine Kassette enthält und daraus die Druckplatten entnimmt. Die Kassette enthält einen Vorrat von unbelichteten Druckplatten, wobei die Druckplatten in der Regel alle das gleiche Format, d.h. die gleichen Abmessungen, haben. In der Kassette sind die Druckplatten vor Staub und vor Lichteinfall geschützt, so dass eine unbeabsichtigte Belichtung der Druckplatten verhindert wird.
  • Werden Druckplatten unterschiedlichen Formats benötigt so sind auch weiter automatisierte Einrichtungen bekannt, die Magazine umfassen, in denen mehrere Kassetten für Druckplattenstapel bereitgestellt werden und dann diese Kassetten einer Vereinzelungseinrichtung zugeführt werden. So wird beispielsweise in der US 6,726,433 B1 ein Plattenmagazin mit Vereinzelung vorgeschlagen, bei dem Kassetten in dem Magazin übereinander gelagert werden. Um Platten aus einer Kassette zu vereinzeln werden die über der Kassette liegenden Kassetten vertikal verfahren, die Kassette mit dem gewünschten Plattenformat wird horizontal in eine Übergabepostion verbracht und danach vertikal teilweise aus dem Magazin verfahren und einer Vereinzelungseinrichtung zur Verfügung gestellt.
  • Aus der DE 10 2008 023 601 A1 ist es weiter bekannt solch ein Magazin nicht mit Kassetten von Druckplatten zu bestücken, sondern Tabletts zu verwenden, auf denen Druckplattenstapel aufgelegt werden. Dieses hat den Vorteil, dass eine Bestückung mit weiteren Druckplatten vereinfacht wird. Darüber hinaus wird auch bei diesem System ein Tablett mit Druckplatten in aufeinander folgenden Schritten horizontal und vertikal verfahren um die Druckplatten einer Vereinzelung und schließlich einer Belichtungseinheit zuzuführen.
  • Aus dem Stand der Technik sind somit relativ große komplexe Apparaturen bekannt, welche darauf abzielen, einer Bearbeitungseinheit für Druckplatten, wie z. B. einer Belichtungseinheit, eine möglichst große Anzahl von unterschiedlichen Druckplattenformaten oder Druckplatten selbst in einem Magazin zur Verfügung zu stellen. Das Magazin muss hierfür Wirkmittel aufweisen, die in der Lage sind, die Kassetten oder Tabletts vertikal oder horizontal zu verfahren. Durch diese Anforderung wird außerdem ein großer Raumbereich benötigt, wodurch es zu einer räumlichen Trennung zwischen der Vereinzelung und dem Plattenmagazin kommt. Insgesamt wird die Stellfläche für solch eine automatisierte Bearbeitungseinrichtung für Druckplatten, z. B. einem Plattenbelichter, damit erheblich vergrößert.
  • Die Aufgabe der vorliegenden Erfindung liegt daher darin, die genannten Nachteile aus dem Stand der Technik wenigstens zu verringern.
  • Diese Aufgabe der Erfindung wird in Verfahrenshinsicht durch ein Verfahren zur Bereitstellung und Übergabe von Druckplatten gemäß Anspruch 1 gelöst. Gemäß diesem Verfahren werden Druckplatten an eine Einrichtung zur Bearbeitung von Druckplatten übergeben. Bei dieser Einrichtung kann es sich beispielsweise um einen Plattenbelichter handeln. Hierbei sollen wenigstens zwei Druckplattenstapel in oder auf wenigstens zwei Druckplattenbereitstellungselementen bereitgestellt werden. Bei solchen Druckplattenbereitstellungselementen handelt es sich bevorzugt um Tabletts, auf denen entsprechende Druckplattenstapel bereitgestellt werden. In Vorrichtungshinsicht ist es daher vorgesehen, dass die Tabletts bzw. Druckplattenbereitstellungselemente im Wesentlichen übereinander bereitgestellt werden. Des Weiteren sind diese Druckplattenbereitstellungselemente zueinander verstellbar. Mittels einer zusätzlichen Vereinzelungseinrichtung kann von jeweils einem der Druckplattenstapel eine Druckplatte vereinzelt werden. Hierfür ist es notwendig, dass sich der entsprechende Druckplattenstapel im Zugangsbereich der Vereinzelungseinrichtung befindet.
  • In einer besonders bevorzugten Ausführungsform ist es vorgesehen, dass genau zwei Druckplattenbereitstellungselemente für zwei Druckplattenstapel vorgesehen sind. Dieses ist in den meisten Fällen ausreichend und erhöht für die meisten Nutzer die Flexibilität einer Bebilderungseinrichtung für Druckmaschinen ohne einen erhöhten Platzbedarf zu verursachen. Bevorzugt wird dabei nur ein Druckplattenbereitstellungselement beweglich zur Verfügung gestellt, während das zweite Druckplattenbereitstellungselement unbeweglich ist und insbesondere bereits eine Bodenplatte hierfür verwendet werden kann.
  • Bei der Vereinzelungseinrichtung kann es sich vorteilhafterweise um eine Vereinzelungsvorrichtung mit Saugern zum Anheben und einem Unterzug zum Trennen der Druckplatte handeln, welche so beispielsweise in der DE 10 2009 020 102 A1 vorgeschlagen wird, auf welche bezüglich der Ausführungsform und des Verfahrens der Vereinzelung Bezug genommen werden soll. Insbesondere kann es hierbei bevorzugt vorgesehen sein, dass als Unterzug nur eine einzelne verfahrbare Rolle als Trennelement zum Trennen der Druckplatten unter eine abgehobene Druckplatte gefahren wird.
  • Bei dem erfindungsgemäßen Verfahren ist es vorgesehen, dass von den wenigstens zwei Druckplattenbereitstellungselementen ein erstes Druckplattenbereitstellungselement um wenigstens eine Schwenkachse verschwenkt wird und der Druckplattenstapel des Druckplattenbereitstellungselements so in eine Entnahmeposition zur Vereinzelung von Druckplatten von dem Druckplattenstapel oder in eine Ruheposition gebracht wird. Die Schwenkachse verläuft dabei von einer Seitenlinie der Druckplatte zur anderen Seitenlinie des Druckplattenstapels, wobei die Vereinzelungseinrichtung an einer Vorderseite der Druckplatten zur Vereinzelung angreifen kann.
  • In der Ruheposition des ersten Druckplattenbereitstellungselements kann dann auf den Druckplattenstapel des zweiten Druckplattenbereitstellungselements, welcher sich vorteilhafterweise unterhalb des ersten Druckplattenbereitstellungselements befindet, zugegriffen werden.
  • Durch das einfache Verschwenken, bei dem gleichzeitig Bewegung in vertikaler und horizontaler Richtung durch ein Tablett oder ähnliches vorgenommen wird, kann mittels einer einfachen Anordnung mit einem geringen Volumenbedarf zumindest auf zwei unterschiedliche Druckplattenstapel zugegriffen werden.
  • Dieses ist dann von besonderem Vorteil, wenn es sich um einen Plattenbelichter für im Allgemeinen kleine Druckplattenformate handelt, für welchen im Allgemeinen höchstens zwei unterschiedliche Druckplattenformate zum Zugriff notwendig bereitgestellt werden müssen.
  • In Vorrichtungshinsicht wird die Aufgabe der Erfindung durch eine Vorrichtung zur Bereitstellung von Druckplatten gemäß Anspruch 4 gelöst. Diese Vorrichtung soll vorzugsweise zur Durchführung des genannten Verfahrens geeignet sein, wofür wenigstens eine Schwenkachse bereitgestellt ist, die mit dem ersten
    Druckplattenbereitstellungselement gekoppelt ist. Auf diese Weise kann dieses erste Druckplattenbereitstellungselement in Bezug zu dem zweiten
    Druckplattenbereitstellungselement verschwenkt werden. Weiter soll eine entsprechende Vereinzelungseinrichtung bereitgestellt sein.
  • Weiterhin soll die Vereinzelungseinrichtung in Richtung zu einer Bearbeitungseinrichtung, wie z. B. einem Plattenbelichter, vor den Druckplattenbereitstellungselementen bereitgestellt sein und vereinzelte Druckplatten an die Bearbeitungseinrichtung übergeben. Insbesondere kann hierfür die Vereinzelungseinrichtung in der gleichen Ebene wie die Druckplattenbereitstellungselemente bereitgestellt sein, während sich die Bearbeitungseinrichtung, wie z. B. die Belichtungseinrichtung, unterhalb der Bereitstellungsebene befindet und erst durch ein an die Vereinzelungseinrichtung angeschlossenen Transporttisch erschlossen werden. Solch ein Transporttisch ist in der noch nicht veröffentlichten deutschen Anmeldung DE 10 2009 052 144 gezeigt, auf die hier bezüglich des Transporttisches und der Anordnung von Transporttischbelichter und Bereitstellungseinrichtung für Druckplatten Bezug genommen wird.
  • Es ist vorgesehen, dass die Vereinzelungseinrichtung zum Vereinzeln auf einen vorderen Bereich der Druckplatten zugreift. Dieses ist in Bezug auf das erste Druckplattenbereitstellungselement nur dann möglich, wenn sich dieses in einer Entnahmeposition befindet, wobei zumindest ein vorderer Bereich des zweiten Druckplattenbereitstellungselementes verdeckt wird und die Vereinzelungseinrichtung nicht auf Druckplatten des zweiten sondern ausschließlich auf Druckplatten des ersten Druckplattenbereitstellungselementes zugreifen kann.
  • Um einen Zugriff der Vereinzelungseinrichtung auf die Druckplatten des zweiten Druckplattenbereitstellungselementes möglich zu machen, ist es vorteilhafterweise weiter vorgesehen, dass das erste Druckplattenbereitstellungselement von der Entnahmeposition in eine Ruheposition verschwenkt wird, wobei es einen Bereich, welcher sich vollständig über die Fläche des zweiten Druckplattenbereitstellungselementes erstreckt, so weit freigibt, indem es sich nun weiter von der Vereinzelungseinrichtung und auch von dem zweiten Druckplattenbereitstellungselement entfernt befindet, so dass die Vereinzelungseinrichtung nun ungehindert durch das erste
    Druckplattenbereitstellungselement auf Druckplatten des zweiten
    Druckplattenbereitstellungselement zugreifen kann.
  • Um solch ein Verschwenken möglichst einfach zu realisieren, ist es in einer Weiterbildung der Vorrichtung vorgesehen, dass das erste Druckplattenbereitstellungselement über wenigstens einen seitlichen Hebel mit der Schwenkachse gekoppelt ist. Hierunter ist insbesondere zu Verstehen, dass seitlich auf beiden Seiten des Druckplattenbereitstellungselementes Hebel bereitgestellt sind, um das Element mit der Schwenkachse zu verbinden, wobei die Schwenkachse in Bezug auf die gesamte Einrichtung eine lokale feste Achse ist, welche sich bei dem beschriebenen Verfahren nicht bewegt. Des Weiteren ist zumindest ein Schwenkantrieb vorgesehen, hierbei ist insbesondere vorgesehen, dass parallel zu den Seitenachsen des Druckplattenbereitstellungselementes jeweils Schwenkantriebe so vorgesehen sind, dass sie über Hebelstücke des Hebels ihrerseits mit der Schwenkachse verbunden sind und durch eine Aktivierung des Schwenkantriebs eine Drehung des Hebels um diese Schwenkachse herum verursacht wird, wodurch insgesamt das erste Druckplattenbereitstellungselement um die Schwenkachse herum verschwenkt wird. In einer bevorzugten Ausführungsform ist es vorgesehen, dass das Druckplattenbereitstellungselement, bevorzugt in Form eines Tabletts, von der gesamten Vorrichtung einfach abkoppelbar bzw. abnehmbar ausgestaltet ist. Dieses kann durch ein Aufnahmegestell, vorzugsweise eine Tablettaufnahme, zur Aufnahme des wenigstens einen ersten Druckplattenbereitstellungselementes realisiert werden. Dieses Aufnahmegestell kann im Wesentlichen durch zwei parallele seitliche Arme gebildet werden, so dass ein Tablett oder ein anderes Bereitstellungselement auf die seitlichen Arme aufgelegt werden kann. Auf diese Weise kann eine Beladung des ersten Druckplattenbereitstellungselementes mit Druckplatten vereinfacht werden, indem dieses Element einfach aus der Vorrichtung entnommen und außerhalb beladen wird. Weiter kann die Beladung des zweiten Druckplattenbereitstellungselementes vereinfacht werden, da nach einer Entnahme des ersten Elements ein freier Zugriff auf das zweite Druckplattenbereitstellungselement vorhanden ist. Ein weiterer Vorteil besteht darin, dass bei entferntem erstem Druckplattenbereitstellungselement nun eine Mehrzahl an Druckplatten von dem zweiten Druckplattenbereitstellungselement aufgenommen werden kann, da eine obere Begrenzung durch das erste Druckplattenbereitstellungselement nicht mehr vorhanden ist. Hierdurch kann z. B. eine vorgesehene nächtliche Bebilderung von Druckplatten gleichen Formats über Nacht einfach realisiert werden.
  • In einer weiteren vorteilhaften Ausführungsform ist es vorgesehen, dass der Schwenkantrieb ein Linearantrieb sein kann, insbesondere ein Hydraulikantrieb oder Pneumatikantrieb, welcher seitlich der Vorrichtung bereitgestellt ist und insbesondere über einen Kolben verfügt, welcher mit einem Hebelstück so mit der festen Schwenkachse verbunden ist, dass durch eine lineare Bewegung des Kolbens der Hebel durch die Übertragung über das Hebelstück um die Schwenkachse herum gedreht wird und diese Drehung des Hebels in einer Verschwenkung der Druckplattenbereitstellung resultiert. Sowohl das Druckplattenbereitstellungselement als auch der Kolben sind mit mobilen Drehpunkten mit dem Hebel verbunden, so dass sich diese Drehpunkte bei einer Drehung des Hebels selbst verschieben können. Um eine Stabilisierung des Druckplattenbereitstellungselementes zu erreichen, ist außerdem ein Hebel zur Verbindung des Elements mit dem Schwenkantrieb vorgesehen, welcher über einen beweglichen Drehpunkt im Bereich des Druckplattenbereitstellungselementes dieses Element mit einem weiteren festen Drehpunkt oder einer festen Schwenkachse verbindet. Besonders bevorzugt sind die festen Schwenkachsen oder festen Drehpunkte jeweils in einem Bereich knapp unterhalb des zweiten Druckplattenbereitstellungselementes vorgesehen. Die Hebelstücke, die die festen Schwenkachsen mit dem mobilen oder beweglichen Drehpunkt des ersten Druckplattenbereitstellungselementes verbinden, sollen dabei eine im Wesentlichen gerade Form aufweisen, wobei zur Verringerung des Platzbedarfs das Hebelstück, welches die feste Schwenkachse mit dem Schwenkantrieb, bevorzugt eine gekrümmte Form aufweist. Hierdurch kann die gesamte Hebelmechanik vorteilhafterweise recht kompakt unterhalb des zweiten Druckplattenbereitstellungselementes bereitgestellt werden.
  • Über die Aktivierung des Schwenkantriebs kann somit in Verfahrenshinsicht auf einfache Weise eine Linearbewegung des Schwenkantriebs durch eine Drehbewegung von seitlichen Hebeln an dem ersten Druckplattenbereitstellungselement um eine feste Schwenkachse herum eine Schwenkbewegung des Druckplattenbereitstellungselementes im Wesentlichen auf einer kreisförmigen Bahn von einer vorderen Entnahmeposition in eine weiter hinten liegende obere Ruheposition erreicht werden, wobei hierfür kein besonderer größerer Platzbedarf vorhanden ist.
  • Für diese Verschwenkung mittels des Schwenkantriebs ist dieser vorteilhafterweise selbst über einen festen Drehpunkt mit einem Gehäuse, z. B. des Druckplattenbelichters, so verbunden, dass gleichzeitig mit der Aktivierung der Drehung des Hebels auch eine Verschwenkung des Antriebs selbst um diesen festen Drehpunkt herum induziert wird. Hierdurch wird ein flächenmäßiger Raumbedarf für die Hebemechanik noch weiter reduziert, wobei die Hebemechanik insbesondere den Antriebs selbst den Hebel mit den unterschiedlichen Hebelstücken vor und nach der festen Schwenkachse umfasst.
  • Eigenständiger Schutz wird weiter für einen Druckplattenbelichter beansprucht, welcher eine Vorrichtung nach einem der genannten Ansprüche umfasst. Vorteilhafterweise ist es hierbei vorgesehen, dass das zweite Druckplattenbereitstellungselement unbeweglich ist und im Bereich des Bodenblechs der Druckplattenaufnahme des Druckplattenbelichters bereitgestellt ist. Es kann sich insbesondere direkt um das Bodenblech zur Aufnahme von Druckplatten handeln. Die Druckplattenaufnahme des Druckplattenbelichters soll wenigstens das erste und zweite Druckplattenbereitstellungselement umfassen und von einem Deckelelement verschlossen sein, wobei das Deckelelement einen zu öffnenden Schutz zur Übergabe von Druckplatten oder Druckplattenbereitstellungselementen in die Druckplattenaufnahme aufweisen soll. Bei geschlossenem Zustand des Schutzes sollen sich die Druckplattenbereitstellungselemente mit den Druckplattenstapeln in allen möglichen Positionen so innerhalb der Druckplattenaufnahme befinden, dass das Deckelelement nicht berührt wird. Durch die gewählte kompakte Bauweise der beschriebenen Vorrichtung ist es möglich, Druckplattenaufnahmen bereitzustellen, die einen geringen Volumenbedarf aufweisen und insbesondere zu Druckplattenbelichtern für Druckplatten von kleineren Formaten passend zu verwenden sind.
  • Eine erfindungsgemäße Ausführungsform, aus der sich auch weitere erfindungsgemäße Merkmale ergeben können, auf die die Erfindung aber nicht beschränkt ist, ergeben sich aus den Zeichnungen.
  • Es zeigen:
  • Figur 1
    einen seitlichen Querschnitt durch eine Druckplattenaufnahme mit einem Tablett zur Aufnahme in einer Tablettaufnahme,
    Figur 2
    die Druckplattenaufnahme mit Tablettaufnahme in Ruheposition,
    Figur 3
    die Druckplattenaufnahme mit Tablettaufnahme in Entnahmeposition,
    Figur 4
    eine Tablettaufnahme mit alternativer Anordnung von Hebemechaniken.
  • Die Figur 1 zeigt einen seitlichen Querschnitt einer Druckplattenaufnahme 52. Diese Druckplattenaufnahme ist dabei Bestandteil eines hier nicht weiter dargestellten Druckplattenbelichters, welcher durch die Druckplattenaufnahme 52 mit Druckplatten 42, 43 versorgt wird. Solch eine Druckplattenaufnahme mit einem Druckplattenbelichter ist in der nicht veröffentlichten deutschen Anmeldung DE 10 2009 052 144 , auf die hiermit bezüglich der Druckplattenaufnahme und ihrer Positionierung in dem Druckplattenbelichter Bezug genommen wird beschrieben.
  • Die Druckplattenaufnahme 52 umfasst ein Deckelelement 44, welches wiederum einen Schutz 10 umfasst. Der Schutz 10 ist verschwenkbar so angeordnet, dass Druckplattenstapel 40, 41 und/oder Tabletts 2 mit Druckplattenstapeln 42 in die Druckplattenaufnahme 52 eingebracht werden können.
  • Zur Aufnahme eines Tabletts 2 umfasst die Druckplattenaufnahme 52 eine Tablettaufnahme 26. Die Tablettaufnahme 26 befindet sich hier in einer vorderen unteren Entnahmeposition, welche sie auch zur Aufnahme eines Tabletts 2 einnimmt.
  • Die Tablettaufnahme 26 besteht aus seitlichen Armen 3, welche jeweils seitlich so angeordnet sind, dass sie die Seitenflächen des Tabletts 2 aufnehmen können. Durch die seitliche Darstellung hier in Figur 1 ist dabei nur ein Arm 3 erkennbar dargestellt. Ein zweiter Arm 3 der Tablettaufnahme 26 befindet sich dann auf der entgegengesetzten Seite des Tabletts 2. Das Tablett 2 kann außerhalb der Druckplattenaufnahme 52 mit einem Druckplattenstapel 40 versorgt werden und umfasst dann Druckplatten 42 auf seiner Innenseite. In Richtung des Pfeils 30 kann das Tablett 2 in die Tablettaufnahme 26 eingebracht werden.
  • Unterhalb von der Tablettaufnahme 26 befindet sich das Grundblech 1 der Druckplattenaufnahme 52, welches hier als Bereitstellungselement für einen weiteren Druckplattenstapel 41 von Druckplatten 43 fungiert. Die Grundplatte 1 wird im Folgenden auch als Grundplatte 1 bezeichnet, es ist praktisch die Bodenplatte, bzw. der Boden der Druckplattenaufnahme 52, der entsprechend eingerichtet wurde um Druckplatten 43 aufzunehmen. Während die Grundplatte 1 als Grundblech der Druckplattenaufnahme 52 unbeweglich ist, kann die Tablettaufnahme 26 mit einem Tablett 2 in unterschiedliche Positionen verschwenkt werden. Zur Verschwenkung der Tablettaufnahme 26 ist diese mit einem Verschwenkantrieb 4, der Bestandteil einer Hebemechanik 27 ist, verbunden. Hierfür befindet sich ein Hebel 20 um eine feste Schwenkachse 5b drehbar herum gelagert. Der Hebel 20 ist auf der einen Seite mit einem beweglichen Drehpunkt 6b mit einem Arm 3 der Tablettaufnahme 26 verbunden und auf der anderen Seite mit einem Drehpunkt 22 mit einem Kolben 23 des Schwenkantriebs 4. Zwischen dem Drehpunkt 22 und der Schwenkachse 5b des Hebels 20 befindet sich ein Teilstück 28 des Hebels 20, welcher so gebogen ist, dass sich der Drehpunkt 22 bei der Entnahmeposition der Tablettaufnahme 26 im Wesentlichen direkt unterhalb der Schwenkachse 5b befindet. Wie bereits zur Tablettaufnahme 26 ausgeführt ist dieser Aufbau im Wesentlichen symmetrisch zu beiden Seiten hiervon bereitgestellt.
  • An einem hinteren Ende der Tablettaufnahme 26 befindet sich zur Stabilisierung ein weiterer Hebel 21, welcher über einen mitbewegbaren Drehpunkt 6a mit dem Arm 3 der Tablettaufnahme 26 verbunden ist. Über den Hebel 21 wird die Tablettaufnahme 26 zusätzlich zu einer Verschwenkung um die Schwenkachse 5b auch um eine Schwenkachse 5a herum geschwenkt, welche fest in Bezug auf die Grundplatte 1 ist und mit welcher der Hebel 21 zusätzlich verbunden ist. Die Verschwenkung um die Schwenkachse 5a erfolgt dabei ausschließlich passiv, angetrieben von dem Schwenkantrieb 4, welcher auf den vorderen Hebel 20 einwirkt.
  • Der Schwenkantrieb 4 selbst ist dabei mit einer festen Schwenkachse bzw. einem festen Drehpunkt 24 verbunden und um diesen verschwenkbar angeordnet. Bei einer Krafteinwirkung des Antriebs 4 auf den Hebel 20 über den Kolben 23 wirkt die Kraft zurück auf den Antrieb 4, so dass dieser um den festen Drehpunkt 24 herum verschwenkt wird. Diese Verschwenkung ist in Figur 2 durch den Doppelpfeil 25 symbolisch dargestellt. Auf diese Weise kann der Platzbedarf für die Mechanik 27 minimiert werden.
  • Zur Entnahme von Druckplatten 42, 43 sowohl vom oberen Tablett 2 als auch vom unteren Druckplattenstapel 41 ist am vorderen Ende eine Vereinzelungseinrichtung 50 bereitgestellt, welche ein bewegbares Ansaugorgan 11 aufweist. Dieses Ansaugorgan 11 kann dabei in der Tiefe parallel zur Ausbreitungsrichtung der Druckplatten 42, 43 mehrere Saugköpfe aufweisen. Zur Vereinzelung von Druckplatten kann das Ansaugorgan 11 vertikal und horizontal so verfahren werden, dass es die obere Druckplatte von einem Druckplattenstapel 40 ansaugen kann und vertikal nach oben heraufziehen kann. Das Ansaugorgan 11 wird dabei weiter durch einen Unterzug 12 unterstützt, welcher unter eine angehobene Druckplatte 42, 43 gefahren werden kann. Hierfür ist der Unterzug 12 horizontal beweglich und kann im Wesentlichen die gesamte Strecke einer Druckplatte 42, 43 von ihrer vorderen bis ihrer hinteren Kante unterfahren und somit eine angehobene Druckplatte 42, 43 im Wesentlichen vollständig von dem darunter liegenden Plattenstapel 40, 41 trennen.
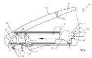
  • Die Figur 2 zeigt einen weiteren seitlichen Schnitt durch eine Druckplattenaufnahme 52. Gleiche Elemente sind hier mit gleichen Bezugszeichen versehen.
  • Das Tablett 2 ist hier von der Druckplattenaufnahme 26 aufgenommen und diese ist in eine Ruheposition verschwenkt worden. Das Deckelelement 44 der Druckplattenaufnahme 52 ist mit dem Schutz 10 verschlossen. Wie zu sehen werden der Druckplattenstapel 41 auf der Grundplatte 1 und die Tablettaufnahme 26 mit dem Tablett 2 bei geschlossenem Schutz 10 von dem Deckelelement 44 auch dann umschlossen, wenn sich die Tablettaufnahme 26 in der Ruheposition befindet, d. h. wenn sie sich in ihrer hintersten, d. h. in der am weitesten von der Vereinzelungseinrichtung 50 abgewandten und gleichzeitig in ihrer höchsten Position bezogen auf die Grundplatte 1, befindet.
  • Aus Sicherungsgründen weist das Deckelelement 44 einen Sicherheitssensor 60 auf, welcher überprüft, ob der Schutz 10 geschlossen oder offen ist. Nur bei einem geschlossenen Schutz 10, wie er in Figur 2 dargestellt ist, ist eine Aktivierung des Antriebs 4 erst möglich. Auf diese Weise können bedienerseitige Quetschungen durch die Hebel 20 oder 21 vermieden werden. Verfahrenstechnisch wird der Zustand in Figur 2, ausgehend von Figur 1, dadurch erreicht, dass zunächst das Tablett 2 in die Tablettaufnahme 26 eingelegt wird und sodann der Schutz 10 geschlossen wird. Der Sicherheitssensor 60 erkennt dann den geschlossenen Schutz 10 und ermöglicht über hier nicht weiter dargestellte Steuerungselemente eine Aktivierung des Antriebs 4, so dass je nach gewünschter zu entnehmender Druckplatte 42, 43 die Tablettaufnahme 26 in eine Entnahme- oder Ruheposition verschwenkt wird.
  • In der Ruheposition der Tablettaufnahme 26, wie es in Figur 2 dargestellt ist, befindet sich der Druckplattenstapel 41 für eine Entnahme von Druckplatten 43 durch die Vereinzelungseinrichtung 50 bereitgestellt. Die Tablettaufnahme 26 befindet sich nicht mehr im vorderen Bereich der Grundplatte 1, so dass das Ansaugorgan 11 in Richtung des Pfeils 31 horizontal oberhalb des Druckplattenstapels 41 bewegt werden kann und dann vertikal in Richtung des Pfeils 32 so weit abgesenkt werden kann, dass es eine Druckplatte 43, welche der Grundplatte 1 zugeordnet ist ansaugen kann. Anschließend wird das Ansaugorgan 11 entgegen dem Pfeil 32 vertikal nach oben bewegt, wobei es die oberste Druckplatte 43 zumindest in ihrem vorderen Bereich mitnimmt. Mögliche Zwischenpapiere oder anhaftende Druckplatten 43 können dann durch ein Blasorgan 34 gelockert oder abgestreift werden. Ein darüber liegender Unterzug 12 fährt zwischen die angehobene Druckplatte 43 und den darunter liegenden Druckplattenstapel 41. Die angehobene Druckplatte 43 ist im Allgemeinen so flexibel, dass durch das Ansaugorgan 11 nur ein vorderer Bereich angehoben wird. Ein hinterer Bereich abgewandt von der Vereinzelungseinrichtung 50 liegt dann immer noch auf dem Stapel 41 auf und würde bei einer horizontalen Bewegung des Ansaugorgans 11 durch ein Schleifen auf dem restlichen Stapel 41 die Oberflächen der hier liegenden Druckplatten 43 beschädigen. Hierfür kann der Unterzug 12 jetzt unter die angehobene Druckplatte 43 fahren und diese vollständig von dem Stapel 41 abheben. Der Unterzug 12 kann hierfür in Richtung des Pfeils 33 unterhalb der nun angehobenen Tablettaufnahme 26 verfahren werden, wobei er immer auch unterhalb der angehobenen Druckplatte 43 bleibt. Bei einem Abtransport der angehobenen Druckplatte 43 kann der Unterzug gleichmäßig mit dem Ansaugorgan 11 entgegen dem Pfeil 33 bewegt werden und so zu einem Abtransport der Druckplatte 43 zu einem Weiterverarbeitungsorgan oder einem Schwenktisch eines Druckplattenbelichters gebracht werden.
  • Die Figur 3 zeigt einen Zustand der Tablettaufnahme 26, welche in eine Entnahmeposition verschwenkt wurde. Hierbei liegt die vordere Kante 51 des Tabletts 2 an einem Anschlag 9 an. Ein Zugriff auf den unten liegenden Druckplattenstapel 41 durch die Vereinzelungseinrichtung 50 kann nicht mehr stattfinden, da dieser Stapel 41 nun vollständig von der Tablettaufnahme 26 und dem darauf befindlichen Tablett 2 versperrt wird. In der Entnahmeposition ist die Tablettaufnahme 26 so weit nach unten und nach vorne verschwenkt, dass die Druckplatten 42 auf dem Tablett 2 wie in Figur 2 beschrieben nun durch die Vereinzelungseinrichtung 50 selbst vereinzelt werden können.
  • Die Figur 4 zeigt eine alternative Anordnung von der Hebelmechanik 27 in Bezug auf den hinteren Hebel 21. Ist ausreichend Bauraum gegeben, so kann die Hebelmechanik 27 mit dem Antrieb 4 und dem Hebel 20 im vorderen Bereich der Tablettaufnahme 26 bereitgestellt werden, so dass der bewegliche Drehpunkt 6b hier am vorderen Ende des Arms 3 der Hebelmechanik 27 angreift, während der Hebel 21 weiter im hinteren Bereich des Arms 3 mit diesem über einen Drehpunkt 6a verbunden bleibt.
  • Auch hier können dann Ansaugorgan 11 und Unterzug 12 der Vereinzelungseinrichtung 60 Druckplatten 42, 43 in Abhängigkeit von der Positionierung der Tablettaufnahme 26 vereinzeln.
  • Wie in Figur 4 und Figur 3 gezeigt ist die Vereinzelungseinrichtung 50 so angeordnet, dass sie Druckplatten 42, 43 zumindest bis zu einer Höhe, die dem Druckplattenstapel 40 des Tabletts 2 entspricht, vereinzeln kann. Wird nun in einer Druckerei ein Belichtungsauftrag benötigt, der nur Druckplatten von einem Format verwendet, so kann das Tablett 2 vollständig aus der Druckplattenaufnahme 52 entfernt werden. Ein Druckplattenstapel 41 1 der Grundplatte 1 kann dann so hoch gestapelt werden, dass seine obere Kante der oberen Kante des ursprünglichen Druckplattenstapels 40 entspricht, so dass die Vereinzelungseinrichtung 50 immer noch auf die Druckplatten 43 des Druckplattenstapels 41 zugreifen kann.
  • Durch die hier geschilderte Hebelmechanik 27 in Zusammenspiel mit der Tablettaufnahme 26 und den Armen 3 dieser Tablettaufnahme 26 ist eine flexible Lösung gezeigt, mit der in Abhängigkeit von benötigten Druckplattenformaten 42, 43 schnell von einem Betrieb mit zwei unterschiedlichen Formaten auf einen Betrieb mit nur einem Format und einer Mehrzahl von Druckplatten 43 dieses Formats umgestellt werden kann, wobei die Bauhöhe, welche für die Tablettaufnahme 26 benötigt wird, so gering ist, dass gegebenenfalls ein Deckelelement 44 verwendet werden kann, welches schon für bisher im Markt vorhandene Druckplattenbelichter verwendet wird, die nur einen einzigen Druckplattenstapel 43 verwenden, welcher auf der Grundplatte 1 aufliegt. Insgesamt kann somit ein geringer Platzbedarf für die Bereitstellung von unterschiedlichen Druckplattenformaten erreicht werden.
  • Bezugszeichenliste
  • 1
    Grundplatte
    2
    Tablett
    3
    Arm
    4
    Schwenkantrieb
    5a, b
    Schwenkachse
    6a, b
    Drehpunkt
    10
    Schutz
    11
    Ansaugorgan
    12
    Unterzug
    20, 21
    Hebel
    22
    Drehpunkt
    23
    Kolben
    24
    fester Drehpunkt
    26
    Tablettaufnahme
    27
    Hebelmechanik
    28
    Teilstück
    30
    Einbringrichtung
    34
    Blasorgan
    40, 41
    Druckplattenstapel
    42, 43
    Druckplatte
    44
    Deckelelement
    50
    Vereinzelungseinrichtung
    51
    Kante
    52
    Druckplattenaufnahme
    60
    Sicherheitssensor

Claims (9)

  1. Verfahren zur Bereitstellung und Übergabe von Druckplatten (42, 43) an eine Einrichtung zur Bearbeitung von Druckplatten (42, 43), wobei wenigstens zwei Druckplattenstapel (40,41) voneinander getrennt in oder auf wenigstens zwei Druckplattenbereitstellungselementen (1, 2) bereitgestellt werden, die Druckplattenbereitstellungselemente (1,2) zueinander verstellbar sind und mittels einer Vereinzelungseinrichtung (50) von jeweils einem der Druckplattenstapel (40, 41), der sich in einem Zugangsbereich der Vereinzelungseinrichtung (50) befindet eine Druckplatte (42, 43) vereinzelt wird,
    dadurch gekennzeichnet,
    dass wenigstens ein erstes Druckplattenbereitstellungselement (2) um wenigstens eine Schwenkachse (5a, 5b) verschwenkt wird und der Druckplattenstapel (40) des Druckplattenbereitstellungselements (2) so in eine Entnahmeposition, zur Vereinzelung von Druckplatten (42) von dem Druckplattenstapel (40) durch die Vereinzelungseinrichtung (50) oder in eine Ruheposition gebracht wird.
  2. Verfahren nach Anspruch 1,
    dadurch gekennzeichnet,
    dass die Vereinzelungseinrichtung (50) in Richtung zu einer Bearbeitungseinrichtung vor den Druckplattenbereitstellungselementen (1, 2) bereitgestellt wird und vereinzelte Druckplatten (42, 43) an die Bearbeitungseinrichtung übergibt,
    die Vereinzelungseinrichtung (50) hierfür auf einen vorderen Bereich der Druckplatten (42, 43) zugreift,
    das erste Druckplattenbereitstellungselement (2) im Wesentlichen oberhalb eines zweiten Druckplattenbereitstellungselements (1) bereitgestellt ist,
    das erste Druckplattenbereitstellungselement (2) in einer Entnahmeposition so positioniert ist, dass zumindest ein vorderer Bereich des zweiten Druckplattenbereitstellungselements (1) verdeckt wird und die Vereinzelungseinrichtung (50) nicht auf Druckplatten (43) des zweiten Druckplattenbereitstellungselements (1) sondern nur auf Druckplatten (42) des ersten Druckplattenbereitstellungselements (2) zugreift,
    das Druckplattenbereitstellungselement (2) durch Verschwenken in eine Ruheposition gebracht wird, in der es von der Vereinzelungseinrichtung (50) und vorzugsweise auch von dem zweiten Druckplattenbereitstellungselement (1) weiter als in der Entnahmeposition beabstandet ist und so ein vorderer Bereich des zweiten Druckplattenbereitstellungselements (1) für Zugriffe von der Vereinzelungseinrichtung (50) verfügbar gemacht wird.
  3. Verfahren nach Anspruch 1 oder 2,
    dadurch gekennzeichnet,
    dass das Druckplattenbereitstellungselement (2) um wenigstens eine feste Achse (5a, 5b) verschwenkt wird, wofür das Druckplattenbereitstellungselement (2) über wenigstens eine mitverschwenkbare Achse (6a, 6b) mit wenigstens einem seitlich angeordneten Hebel (20, 21) gekoppelt ist,
    der wenigstens eine seitliche Hebel (21) mit der Schwenkachse (5b) und über ein Hebelstück (28) mit einem Schwenkantrieb (4) verbunden ist und über den Schwenkantrieb (4) im Wesentlichen eine Drehbewegung des Hebels (21) um die Schwenkachse (5b) erzeugt wird, die eine Schwenkbewegung des Druckplattenbereitstellungselements (2) um die wenigstens eine feste Achse (5a, 5b) verursacht.
  4. Vorrichtung zur Bereitstellung von Druckplatten (42, 43) auf Druckplattenstapeln (40, 41) mit wenigstens zwei getrennten Druckplattenbereitstellungselementen (1, 2) zur Aufnahme der Druckstapel (40, 41),
    wobei die wenigstens zwei Druckplattenbereitstellungselemente (1, 2) im Wesentlichen übereinander angeordnet sind und ein erstes Druckplattenbereitstellungselement (2) zu einem zweiten Druckplattenbereitstellungselement (1) verstellbar ist, vorzugsweise zur Durchführung eines Verfahrens nach einem der obigen Ansprüche dadurch gekennzeichnet,
    dass wenigstens eine Schwenkachse (5b) bereitgestellt ist, die so mit dem ersten Druckplattenbereitstellungselement (2) gekoppelt ist, dass dieses in Bezug zu dem zweiten Druckplattenbereitstellungselement (1) durch Verschwenken um die Schwenkachse (5b) in eine Entnahmeposition und eine Ruheposition verbracht werden kann,
    weiter eine Vereinzelungseinrichtung (50) bereitgestellt ist, die Druckplatten (43) des ersten Druckplattenbereitstellungselements (2) in der Entnahmeposition von dem Druckplattenstapel (40) vereinzeln kann.
  5. Vorrichtung nach Anspruch 4,
    dadurch gekennzeichnet,
    dass das erste Druckplattenbereitstellungselement (2) über wenigstens einen seitlichen Hebel (20) mit der Schwenkachse (5b) gekoppelt ist, die Schwenkachse (5b) eine feste, lokale Achse in Bezug auf die Vorrichtung ist, weiter ein Schwenkantrieb (4) vorgesehen ist, der über ein Hebelstück (28) des Hebels (20) mit der Schwenkachse (5b) verbunden ist und durch eine Aktivierung eine Drehung des Hebels (20) um die Schwenkachse (5b) und damit ein Verschwenken des Druckplattenbereitstellungselements (2) um die Schwenkachse (5b) verursacht.
  6. Vorrichtung nach Anspruch 5,
    dadurch gekennzeichnet,
    dass wenigstens eine Aufnahmegestellt, vorzugsweise eine Tablettaufnahme (26) zur Aufnahme wenigstens des ersten Druckplattenbereitstellungselements (2) vorhanden ist, wobei das Aufnahmegestellt insbesondere im Wesentlichen durch zwei parallele seitliche Arme (3) gebildet wird.
  7. Vorrichtung nach Anspruch 5 oder 6,
    dadurch gekennzeichnet,
    dass das erste Druckplattenbereitstellungselement (2) zunächst mit wenigstens einem beweglichen Drehpunkt (6a, 6b) und über diesen mit wenigstens einem Hebel (20, 21) mit wenigstens einer festen Schwenkachse (5a, 5b) verbunden ist, wobei wenigstens eine Schwenkachse (5b) weiter über ein Hebelstück (28) mit dem wenigstens einen Schwenkantrieb (4) verbunden ist, der vorzugsweise ein Linearantrieb, insbesondere ein Pneumatik- oder Hydraulikantrieb ist, wobei jeweils seitlich der Vorrichtung solch ein Antrieb (4) mit Verbindung zur Schwenkachse (5b) vorgesehen ist, und dieser Antrieb (4) jeweils mit einem weiteren mobilen Drehpunkt (22) zur Verbindung des Antriebs (4), insbesondere eines Kolbens (23) mit dem Hebelstück (28) verbunden ist.
  8. Vorrichtung nach Anspruch 7,
    dadurch gekennzeichnet,
    dass der Antrieb (4) selber über einen festen Drehpunkt (24) mit einem Gehäuse, bzw. einem Gestell verbunden ist und gleichzeitig mit einer Aktvierung der Verschwenkung des wenigstens einen ersten Druckplattenbereitstellungselements (2) um diesen Drehpunkt (24) verschwenkt wird.
  9. Druckplattenbelichter, umfassend eine Vorrichtung nach einem der Ansprüche 4 bis 8, dadurch gekennzeichnet, dass
    es sich bei dem zweiten Druckplattenbereitstellungselement (1) um ein festes Bodenblech einer Druckplattenaufnahme handelt,
    der Bereich der Druckplattenaufnahme wenigstens das erste und zweite Druckplattenbereitstellungselement (1 und 2) umfasst,
    die Druckplattenaufnahme mit einem Deckelelement (44) verschlossen ist, wobei das Deckelelement (44)einen zu öffnenden Schutz (10) zur Übergabe von Druckplatten (42, 43) oder Druckplattenbereitstellungselementen (2) in die Druckplattenaufnahme aufweist, und
    bei geschlossenem Zustand sowohl bei Entnahmeposition, als auch bei der Ruheposition des ersten Druckplattenbereitstellungselements (2) alle Druckplattenbereitstellungselemente (1, 2) von dem Schutz (10) und dem Deckelelement (44) umschlossen werden.
EP20110155146 2010-03-11 2011-02-21 Verfahren und Vorrichtung zur Bereitstellung und Übergabe von Druckplatten Not-in-force EP2364940B1 (de)

Applications Claiming Priority (1)

Application Number Priority Date Filing Date Title
DE201010011195 DE102010011195A1 (de) 2010-03-11 2010-03-11 Verfahren und Vorrichtung zur Bereitstellung und Übergabe von Druckplatten

Publications (3)

Publication Number Publication Date
EP2364940A2 true EP2364940A2 (de) 2011-09-14
EP2364940A3 EP2364940A3 (de) 2013-05-29
EP2364940B1 EP2364940B1 (de) 2014-10-22

Family

ID=44201801

Family Applications (1)

Application Number Title Priority Date Filing Date
EP20110155146 Not-in-force EP2364940B1 (de) 2010-03-11 2011-02-21 Verfahren und Vorrichtung zur Bereitstellung und Übergabe von Druckplatten

Country Status (4)

Country Link
EP (1) EP2364940B1 (de)
JP (1) JP2011191760A (de)
CN (1) CN102189738B (de)
DE (1) DE102010011195A1 (de)

Families Citing this family (3)

* Cited by examiner, † Cited by third party
Publication number Priority date Publication date Assignee Title
JP6598579B2 (ja) * 2015-08-18 2019-10-30 キヤノン株式会社 画像形成装置
JP6734815B2 (ja) * 2017-06-19 2020-08-05 清水製作株式会社 刷版処理装置
DE102020207420A1 (de) * 2020-01-20 2021-07-22 Heidelberger Druckmaschinen Aktiengesellschaft Vorrichtung zur Druckplatten-Handhabung an einer Druckmaschine

Citations (5)

* Cited by examiner, † Cited by third party
Publication number Priority date Publication date Assignee Title
DE10134151A1 (de) 2001-07-13 2003-01-30 Heidelberger Druckmasch Ag Vorrichtung zum Vereinzeln von flachen Objekten, vorzugsweise von Druckplatten
US6726433B1 (en) 1996-08-07 2004-04-27 Agfa Corporation Apparatus for loading and unloading a supply of plates in an automated plate handler
DE102008023601A1 (de) 2008-03-06 2009-09-10 Heidelberger Druckmaschinen Ag Übergabevorrichtung für Druckplattentabletts
DE102009020102A1 (de) 2008-05-27 2009-12-03 Heidelberger Druckmaschinen Ag Vereinzelungsvorrichtung für Druckplatten
DE102009052144A1 (de) 2008-11-21 2010-05-27 Heidelberger Druckmaschinen Ag Transportvorrichtung für Druckplatten

Family Cites Families (9)

* Cited by examiner, † Cited by third party
Publication number Priority date Publication date Assignee Title
CN1005130B (zh) * 1985-01-08 1989-09-06 夏普公司 复印机及其类似设备的喂纸盒放置就位机构
DE4038544A1 (de) * 1990-12-04 1992-06-11 Krause Biagosch Gmbh Vorrichtung zur herstellung von druckplatten
JP3912665B2 (ja) * 2002-03-06 2007-05-09 富士フイルム株式会社 画像記録材料枚葉装置
US7004717B2 (en) * 2002-04-05 2006-02-28 Agfa Corporation Plate cassette loader for platesetter
JP4234964B2 (ja) * 2002-09-10 2009-03-04 株式会社オーク製作所 露光装置
DE102004020693A1 (de) * 2004-04-28 2005-11-24 Heidelberger Druckmaschinen Ag Verfahren und Vorrichtung zur Bereitstellung und Übergabe von Kassetten für Druckplatten
JP4703469B2 (ja) * 2006-03-31 2011-06-15 大日本スクリーン製造株式会社 刷版供給装置
PL2098468T3 (pl) * 2008-03-06 2014-07-31 Indag Gesellschaft Fuer Ind Mbh & Co Betriebs Kg Urządzenie do przenoszenia przedmiotów arkuszowych
CN101607648B (zh) * 2009-05-11 2013-02-06 天津长荣印刷设备股份有限公司 一种用于印刷机械的推拉式箱体装置及其工作方法

Patent Citations (5)

* Cited by examiner, † Cited by third party
Publication number Priority date Publication date Assignee Title
US6726433B1 (en) 1996-08-07 2004-04-27 Agfa Corporation Apparatus for loading and unloading a supply of plates in an automated plate handler
DE10134151A1 (de) 2001-07-13 2003-01-30 Heidelberger Druckmasch Ag Vorrichtung zum Vereinzeln von flachen Objekten, vorzugsweise von Druckplatten
DE102008023601A1 (de) 2008-03-06 2009-09-10 Heidelberger Druckmaschinen Ag Übergabevorrichtung für Druckplattentabletts
DE102009020102A1 (de) 2008-05-27 2009-12-03 Heidelberger Druckmaschinen Ag Vereinzelungsvorrichtung für Druckplatten
DE102009052144A1 (de) 2008-11-21 2010-05-27 Heidelberger Druckmaschinen Ag Transportvorrichtung für Druckplatten

Also Published As

Publication number Publication date
JP2011191760A (ja) 2011-09-29
DE102010011195A1 (de) 2011-09-15
CN102189738A (zh) 2011-09-21
EP2364940B1 (de) 2014-10-22
EP2364940A3 (de) 2013-05-29
CN102189738B (zh) 2014-12-03

Similar Documents

Publication Publication Date Title
DE69734738T2 (de) Verfahren und Vorrichtung für ein automatisches Druckplattenbehandlungsgerät mit Entfernung von Zwischenblättern
DE60007226T2 (de) Vorrichtung zum Zuführen von Platten
DE19548492C2 (de) Druckmedien-Transportvorrichtung zum Transportieren von Blättern eines Druckmediums von einem Druckmedientablett zu einem Druckmedienpfad eines separaten Druckers
DE102006032204B3 (de) Verfahren zur Bereitstellung mindestens einer Druckform an ihrem Montageort auf einem Formzylinder einer Rotationsdruckmaschine
DE3403456C2 (de) Halte- und Verriegelungssystem für eine Blattzuführkassette
DE69208951T2 (de) Vorrichtung zum Wechseln von Druckplatten in einer Druckmaschine
DE69807144T2 (de) Aufzeichnungsgerät
DE2422325A1 (de) Kopiermitteltraeger
CH639346A5 (de) Doppelbogenzufuhrvorrichtung fuer drucker.
DE112011101291B4 (de) Medienverarbeitungsvorrichtung mit erweiterten Merkmalen zum Einlegen und Entnehmen von Medien und Druckfolien
DE60317416T2 (de) Plattenwechselvorrichtung
EP1594000B1 (de) Verfahren und Vorrichtung zur Übergabe von Kassetten für Druckplatten
DE69814763T2 (de) Verfahren und Gerät zum automatischen Aufzeichnen von Druckplatten in einem Bilderzeugungssystem
EP2364940B1 (de) Verfahren und Vorrichtung zur Bereitstellung und Übergabe von Druckplatten
EP2130445B1 (de) Vorrichtung und Verfahren zum aufeinander folgenden Entleeren von mit stabförmigen Produkten gefüllten Behältern
DE3025201A1 (de) Vorrichtung fuer den transport und die positionierung von druckplatten
DE3228620A1 (de) Vorrichtung fuer zeilendruckeinrichtungen zur ablage von blattfoermigen aufzeichnungstraegern
DE69928879T2 (de) Drucker mit zwei Betriebspositionen
DE69833398T2 (de) Bilderzeugungssystem mit hocheffizienter Medienbeladung
DE3709058A1 (de) Haltevorrichtung fuer ein zusatzgeraet eines bilderzeugungsgeraets
DE10002093A1 (de) Vakuumoberfläche für eine Nass-Farbstoff-Druckvorrichtung
EP2364939B1 (de) Verfahren und Vorrichtung zur Bereitstellung und Übergabe von Druckplatten
DE202008012225U1 (de) Rollendruckmaschine
DE3047178A1 (de) Vorrichtung zum transportieren und positionieren von druckformen
DE102009052144A1 (de) Transportvorrichtung für Druckplatten

Legal Events

Date Code Title Description
PUAI Public reference made under article 153(3) epc to a published international application that has entered the european phase

Free format text: ORIGINAL CODE: 0009012

AK Designated contracting states

Kind code of ref document: A2

Designated state(s): AL AT BE BG CH CY CZ DE DK EE ES FI FR GB GR HR HU IE IS IT LI LT LU LV MC MK MT NL NO PL PT RO RS SE SI SK SM TR

AX Request for extension of the european patent

Extension state: BA ME

PUAL Search report despatched

Free format text: ORIGINAL CODE: 0009013

AK Designated contracting states

Kind code of ref document: A3

Designated state(s): AL AT BE BG CH CY CZ DE DK EE ES FI FR GB GR HR HU IE IS IT LI LT LU LV MC MK MT NL NO PL PT RO RS SE SI SK SM TR

AX Request for extension of the european patent

Extension state: BA ME

RIC1 Information provided on ipc code assigned before grant

Ipc: B65H 3/44 20060101AFI20130423BHEP

Ipc: B65H 1/04 20060101ALI20130423BHEP

17P Request for examination filed

Effective date: 20131129

RBV Designated contracting states (corrected)

Designated state(s): AL AT BE BG CH CY CZ DE DK EE ES FI FR GB GR HR HU IE IS IT LI LT LU LV MC MK MT NL NO PL PT RO RS SE SI SK SM TR

GRAP Despatch of communication of intention to grant a patent

Free format text: ORIGINAL CODE: EPIDOSNIGR1

INTG Intention to grant announced

Effective date: 20140519

GRAS Grant fee paid

Free format text: ORIGINAL CODE: EPIDOSNIGR3

GRAA (expected) grant

Free format text: ORIGINAL CODE: 0009210

AK Designated contracting states

Kind code of ref document: B1

Designated state(s): AL AT BE BG CH CY CZ DE DK EE ES FI FR GB GR HR HU IE IS IT LI LT LU LV MC MK MT NL NO PL PT RO RS SE SI SK SM TR

REG Reference to a national code

Ref country code: GB

Ref legal event code: FG4D

Free format text: NOT ENGLISH

REG Reference to a national code

Ref country code: CH

Ref legal event code: EP

REG Reference to a national code

Ref country code: AT

Ref legal event code: REF

Ref document number: 692523

Country of ref document: AT

Kind code of ref document: T

Effective date: 20141115

REG Reference to a national code

Ref country code: IE

Ref legal event code: FG4D

Free format text: LANGUAGE OF EP DOCUMENT: GERMAN

REG Reference to a national code

Ref country code: DE

Ref legal event code: R096

Ref document number: 502011004733

Country of ref document: DE

Effective date: 20141204

REG Reference to a national code

Ref country code: FR

Ref legal event code: PLFP

Year of fee payment: 5

REG Reference to a national code

Ref country code: NL

Ref legal event code: VDEP

Effective date: 20141022

REG Reference to a national code

Ref country code: LT

Ref legal event code: MG4D

PG25 Lapsed in a contracting state [announced via postgrant information from national office to epo]

Ref country code: PT

Free format text: LAPSE BECAUSE OF FAILURE TO SUBMIT A TRANSLATION OF THE DESCRIPTION OR TO PAY THE FEE WITHIN THE PRESCRIBED TIME-LIMIT

Effective date: 20150223

Ref country code: NO

Free format text: LAPSE BECAUSE OF FAILURE TO SUBMIT A TRANSLATION OF THE DESCRIPTION OR TO PAY THE FEE WITHIN THE PRESCRIBED TIME-LIMIT

Effective date: 20150122

Ref country code: IS

Free format text: LAPSE BECAUSE OF FAILURE TO SUBMIT A TRANSLATION OF THE DESCRIPTION OR TO PAY THE FEE WITHIN THE PRESCRIBED TIME-LIMIT

Effective date: 20150222

Ref country code: FI

Free format text: LAPSE BECAUSE OF FAILURE TO SUBMIT A TRANSLATION OF THE DESCRIPTION OR TO PAY THE FEE WITHIN THE PRESCRIBED TIME-LIMIT

Effective date: 20141022

Ref country code: ES

Free format text: LAPSE BECAUSE OF FAILURE TO SUBMIT A TRANSLATION OF THE DESCRIPTION OR TO PAY THE FEE WITHIN THE PRESCRIBED TIME-LIMIT

Effective date: 20141022

Ref country code: LT

Free format text: LAPSE BECAUSE OF FAILURE TO SUBMIT A TRANSLATION OF THE DESCRIPTION OR TO PAY THE FEE WITHIN THE PRESCRIBED TIME-LIMIT

Effective date: 20141022

Ref country code: NL

Free format text: LAPSE BECAUSE OF FAILURE TO SUBMIT A TRANSLATION OF THE DESCRIPTION OR TO PAY THE FEE WITHIN THE PRESCRIBED TIME-LIMIT

Effective date: 20141022

PG25 Lapsed in a contracting state [announced via postgrant information from national office to epo]

Ref country code: HR

Free format text: LAPSE BECAUSE OF FAILURE TO SUBMIT A TRANSLATION OF THE DESCRIPTION OR TO PAY THE FEE WITHIN THE PRESCRIBED TIME-LIMIT

Effective date: 20141022

Ref country code: CY

Free format text: LAPSE BECAUSE OF FAILURE TO SUBMIT A TRANSLATION OF THE DESCRIPTION OR TO PAY THE FEE WITHIN THE PRESCRIBED TIME-LIMIT

Effective date: 20141022

Ref country code: PL

Free format text: LAPSE BECAUSE OF FAILURE TO SUBMIT A TRANSLATION OF THE DESCRIPTION OR TO PAY THE FEE WITHIN THE PRESCRIBED TIME-LIMIT

Effective date: 20141022

Ref country code: RS

Free format text: LAPSE BECAUSE OF FAILURE TO SUBMIT A TRANSLATION OF THE DESCRIPTION OR TO PAY THE FEE WITHIN THE PRESCRIBED TIME-LIMIT

Effective date: 20141022

Ref country code: GR

Free format text: LAPSE BECAUSE OF FAILURE TO SUBMIT A TRANSLATION OF THE DESCRIPTION OR TO PAY THE FEE WITHIN THE PRESCRIBED TIME-LIMIT

Effective date: 20150123

Ref country code: SE

Free format text: LAPSE BECAUSE OF FAILURE TO SUBMIT A TRANSLATION OF THE DESCRIPTION OR TO PAY THE FEE WITHIN THE PRESCRIBED TIME-LIMIT

Effective date: 20141022

Ref country code: LV

Free format text: LAPSE BECAUSE OF FAILURE TO SUBMIT A TRANSLATION OF THE DESCRIPTION OR TO PAY THE FEE WITHIN THE PRESCRIBED TIME-LIMIT

Effective date: 20141022

REG Reference to a national code

Ref country code: DE

Ref legal event code: R097

Ref document number: 502011004733

Country of ref document: DE

PG25 Lapsed in a contracting state [announced via postgrant information from national office to epo]

Ref country code: DK

Free format text: LAPSE BECAUSE OF FAILURE TO SUBMIT A TRANSLATION OF THE DESCRIPTION OR TO PAY THE FEE WITHIN THE PRESCRIBED TIME-LIMIT

Effective date: 20141022

Ref country code: CZ

Free format text: LAPSE BECAUSE OF FAILURE TO SUBMIT A TRANSLATION OF THE DESCRIPTION OR TO PAY THE FEE WITHIN THE PRESCRIBED TIME-LIMIT

Effective date: 20141022

Ref country code: EE

Free format text: LAPSE BECAUSE OF FAILURE TO SUBMIT A TRANSLATION OF THE DESCRIPTION OR TO PAY THE FEE WITHIN THE PRESCRIBED TIME-LIMIT

Effective date: 20141022

Ref country code: SK

Free format text: LAPSE BECAUSE OF FAILURE TO SUBMIT A TRANSLATION OF THE DESCRIPTION OR TO PAY THE FEE WITHIN THE PRESCRIBED TIME-LIMIT

Effective date: 20141022

Ref country code: RO

Free format text: LAPSE BECAUSE OF FAILURE TO SUBMIT A TRANSLATION OF THE DESCRIPTION OR TO PAY THE FEE WITHIN THE PRESCRIBED TIME-LIMIT

Effective date: 20141022

PLBE No opposition filed within time limit

Free format text: ORIGINAL CODE: 0009261

STAA Information on the status of an ep patent application or granted ep patent

Free format text: STATUS: NO OPPOSITION FILED WITHIN TIME LIMIT

PG25 Lapsed in a contracting state [announced via postgrant information from national office to epo]

Ref country code: IT

Free format text: LAPSE BECAUSE OF FAILURE TO SUBMIT A TRANSLATION OF THE DESCRIPTION OR TO PAY THE FEE WITHIN THE PRESCRIBED TIME-LIMIT

Effective date: 20141022

26N No opposition filed

Effective date: 20150723

PG25 Lapsed in a contracting state [announced via postgrant information from national office to epo]

Ref country code: LU

Free format text: LAPSE BECAUSE OF FAILURE TO SUBMIT A TRANSLATION OF THE DESCRIPTION OR TO PAY THE FEE WITHIN THE PRESCRIBED TIME-LIMIT

Effective date: 20150221

REG Reference to a national code

Ref country code: CH

Ref legal event code: PL

PG25 Lapsed in a contracting state [announced via postgrant information from national office to epo]

Ref country code: MC

Free format text: LAPSE BECAUSE OF FAILURE TO SUBMIT A TRANSLATION OF THE DESCRIPTION OR TO PAY THE FEE WITHIN THE PRESCRIBED TIME-LIMIT

Effective date: 20141022

Ref country code: LI

Free format text: LAPSE BECAUSE OF NON-PAYMENT OF DUE FEES

Effective date: 20150228

Ref country code: CH

Free format text: LAPSE BECAUSE OF NON-PAYMENT OF DUE FEES

Effective date: 20150228

REG Reference to a national code

Ref country code: IE

Ref legal event code: MM4A

PG25 Lapsed in a contracting state [announced via postgrant information from national office to epo]

Ref country code: IE

Free format text: LAPSE BECAUSE OF NON-PAYMENT OF DUE FEES

Effective date: 20150221

REG Reference to a national code

Ref country code: FR

Ref legal event code: PLFP

Year of fee payment: 6

PG25 Lapsed in a contracting state [announced via postgrant information from national office to epo]

Ref country code: SI

Free format text: LAPSE BECAUSE OF FAILURE TO SUBMIT A TRANSLATION OF THE DESCRIPTION OR TO PAY THE FEE WITHIN THE PRESCRIBED TIME-LIMIT

Effective date: 20141022

PGFP Annual fee paid to national office [announced via postgrant information from national office to epo]

Ref country code: DE

Payment date: 20160229

Year of fee payment: 6

PG25 Lapsed in a contracting state [announced via postgrant information from national office to epo]

Ref country code: MT

Free format text: LAPSE BECAUSE OF FAILURE TO SUBMIT A TRANSLATION OF THE DESCRIPTION OR TO PAY THE FEE WITHIN THE PRESCRIBED TIME-LIMIT

Effective date: 20141022

REG Reference to a national code

Ref country code: FR

Ref legal event code: PLFP

Year of fee payment: 7

REG Reference to a national code

Ref country code: AT

Ref legal event code: MM01

Ref document number: 692523

Country of ref document: AT

Kind code of ref document: T

Effective date: 20160221

PGFP Annual fee paid to national office [announced via postgrant information from national office to epo]

Ref country code: FR

Payment date: 20170221

Year of fee payment: 7

PG25 Lapsed in a contracting state [announced via postgrant information from national office to epo]

Ref country code: BG

Free format text: LAPSE BECAUSE OF FAILURE TO SUBMIT A TRANSLATION OF THE DESCRIPTION OR TO PAY THE FEE WITHIN THE PRESCRIBED TIME-LIMIT

Effective date: 20141022

Ref country code: HU

Free format text: LAPSE BECAUSE OF FAILURE TO SUBMIT A TRANSLATION OF THE DESCRIPTION OR TO PAY THE FEE WITHIN THE PRESCRIBED TIME-LIMIT; INVALID AB INITIO

Effective date: 20110221

Ref country code: AT

Free format text: LAPSE BECAUSE OF NON-PAYMENT OF DUE FEES

Effective date: 20160221

Ref country code: SM

Free format text: LAPSE BECAUSE OF FAILURE TO SUBMIT A TRANSLATION OF THE DESCRIPTION OR TO PAY THE FEE WITHIN THE PRESCRIBED TIME-LIMIT

Effective date: 20141022

PGFP Annual fee paid to national office [announced via postgrant information from national office to epo]

Ref country code: GB

Payment date: 20170221

Year of fee payment: 7

PG25 Lapsed in a contracting state [announced via postgrant information from national office to epo]

Ref country code: BE

Free format text: LAPSE BECAUSE OF NON-PAYMENT OF DUE FEES

Effective date: 20150228

PG25 Lapsed in a contracting state [announced via postgrant information from national office to epo]

Ref country code: TR

Free format text: LAPSE BECAUSE OF FAILURE TO SUBMIT A TRANSLATION OF THE DESCRIPTION OR TO PAY THE FEE WITHIN THE PRESCRIBED TIME-LIMIT

Effective date: 20141022

REG Reference to a national code

Ref country code: DE

Ref legal event code: R119

Ref document number: 502011004733

Country of ref document: DE

PG25 Lapsed in a contracting state [announced via postgrant information from national office to epo]

Ref country code: DE

Free format text: LAPSE BECAUSE OF NON-PAYMENT OF DUE FEES

Effective date: 20170901

PG25 Lapsed in a contracting state [announced via postgrant information from national office to epo]

Ref country code: MK

Free format text: LAPSE BECAUSE OF FAILURE TO SUBMIT A TRANSLATION OF THE DESCRIPTION OR TO PAY THE FEE WITHIN THE PRESCRIBED TIME-LIMIT

Effective date: 20141022

GBPC Gb: european patent ceased through non-payment of renewal fee

Effective date: 20180221

PG25 Lapsed in a contracting state [announced via postgrant information from national office to epo]

Ref country code: AL

Free format text: LAPSE BECAUSE OF FAILURE TO SUBMIT A TRANSLATION OF THE DESCRIPTION OR TO PAY THE FEE WITHIN THE PRESCRIBED TIME-LIMIT

Effective date: 20141022

REG Reference to a national code

Ref country code: FR

Ref legal event code: ST

Effective date: 20181031

PG25 Lapsed in a contracting state [announced via postgrant information from national office to epo]

Ref country code: FR

Free format text: LAPSE BECAUSE OF NON-PAYMENT OF DUE FEES

Effective date: 20180228

Ref country code: GB

Free format text: LAPSE BECAUSE OF NON-PAYMENT OF DUE FEES

Effective date: 20180221