EP2144530B1 - Teleskopführungsschiene - Google Patents
Teleskopführungsschiene Download PDFInfo
- Publication number
- EP2144530B1 EP2144530B1 EP08759387.7A EP08759387A EP2144530B1 EP 2144530 B1 EP2144530 B1 EP 2144530B1 EP 08759387 A EP08759387 A EP 08759387A EP 2144530 B1 EP2144530 B1 EP 2144530B1
- Authority
- EP
- European Patent Office
- Prior art keywords
- rail
- coupling member
- sliding
- telescopic guide
- running
- Prior art date
- Legal status (The legal status is an assumption and is not a legal conclusion. Google has not performed a legal analysis and makes no representation as to the accuracy of the status listed.)
- Not-in-force
Links
- 230000008878 coupling Effects 0.000 claims description 66
- 238000010168 coupling process Methods 0.000 claims description 66
- 238000005859 coupling reaction Methods 0.000 claims description 66
- 238000006073 displacement reaction Methods 0.000 claims description 10
- 238000003780 insertion Methods 0.000 claims description 6
- 230000037431 insertion Effects 0.000 claims description 6
- 238000013016 damping Methods 0.000 claims description 4
- 238000000034 method Methods 0.000 claims description 4
- 230000008569 process Effects 0.000 claims description 4
- 230000008901 benefit Effects 0.000 description 2
- 230000002349 favourable effect Effects 0.000 description 2
- 230000005484 gravity Effects 0.000 description 2
- 238000005096 rolling process Methods 0.000 description 2
- 230000007704 transition Effects 0.000 description 2
- 230000002411 adverse Effects 0.000 description 1
- 230000001419 dependent effect Effects 0.000 description 1
- 239000000284 extract Substances 0.000 description 1
- 230000004048 modification Effects 0.000 description 1
- 238000012986 modification Methods 0.000 description 1
- 230000035515 penetration Effects 0.000 description 1
Images
Classifications
-
- A—HUMAN NECESSITIES
- A47—FURNITURE; DOMESTIC ARTICLES OR APPLIANCES; COFFEE MILLS; SPICE MILLS; SUCTION CLEANERS IN GENERAL
- A47B—TABLES; DESKS; OFFICE FURNITURE; CABINETS; DRAWERS; GENERAL DETAILS OF FURNITURE
- A47B88/00—Drawers for tables, cabinets or like furniture; Guides for drawers
- A47B88/40—Sliding drawers; Slides or guides therefor
- A47B88/49—Sliding drawers; Slides or guides therefor with double extensible guides or parts
- A47B88/493—Sliding drawers; Slides or guides therefor with double extensible guides or parts with rollers, ball bearings, wheels, or the like
-
- A—HUMAN NECESSITIES
- A47—FURNITURE; DOMESTIC ARTICLES OR APPLIANCES; COFFEE MILLS; SPICE MILLS; SUCTION CLEANERS IN GENERAL
- A47B—TABLES; DESKS; OFFICE FURNITURE; CABINETS; DRAWERS; GENERAL DETAILS OF FURNITURE
- A47B88/00—Drawers for tables, cabinets or like furniture; Guides for drawers
- A47B88/40—Sliding drawers; Slides or guides therefor
- A47B88/44—Sequencing or synchronisation of drawer slides or functional units
- A47B88/443—Successive movement of rails within drawer slides, i.e. at least one rail element is not moving during the movement of other elements
-
- A—HUMAN NECESSITIES
- A47—FURNITURE; DOMESTIC ARTICLES OR APPLIANCES; COFFEE MILLS; SPICE MILLS; SUCTION CLEANERS IN GENERAL
- A47B—TABLES; DESKS; OFFICE FURNITURE; CABINETS; DRAWERS; GENERAL DETAILS OF FURNITURE
- A47B2210/00—General construction of drawers, guides and guide devices
- A47B2210/0002—Guide construction for drawers
- A47B2210/0064—Guide sequencing or synchronisation
Definitions
- the present invention relates to a Teleskopfiihrungsschiene for furniture drawer extensions such as drawers or the like, comprising a fixable on a furniture carcass rail, connectable to a furniture drawer track and arranged between the carcass rail and the runner, aussverinrnde middle rail and a flow control, by means of which the running rail during extension the closed position as long as coupled to the middle rail until the middle rail has reached its maximum extension position and is blocked in this position with simultaneous decoupling of the running rail of the center rail relative to the carcass rail and the center rail only again against the carcass rail in the closing direction is displaced when the running rail is displaced maximally in the direction of insertion in relation to the initially blocked center rail and in the process is again coupled to the middle rail.
- Telescopic guide rails of the generic type are known in many embodiments.
- so-called “Quadro-extracts” known, in which rolling bodies are provided in the form of balls in the raceways.
- Such telescopic guide rails are particularly sustainable.
- telescopic guide rails of the generic type, in which the substantially C-shaped profiles of the carcass rail, the aussverinrnden middle rail and the running rail are arranged horizontally next to each other in the use position.
- sequence control different embodiments are also known, wherein the sequence controls are arranged in the region of the raceways of the telescopic guide rails.
- the carrying capacity of the telescopic guide rails can be adversely affected, especially if by the arrangement of a flow control part of the raceways can not be equipped with balls to increase the carrying capacity.
- Telescopic guide rails with a sequence control which are not arranged in the region of the raceways of the balls are also known.
- Such telescopic guide rails are disclosed in the patent documents DE 296 21 957 U1 and EP 0 620 993 A1 disclosed.
- the present invention has for its object to provide a telescopic guide rail of the generic type, which is characterized by a particularly simple and the carrying capacity of the telescopic guide rail in any way impairing flow control.
- a solution to this problem according to the invention is that the sequence control from a provided with two mirror images mutually sliding links provided coupling member and attached to the carcass rail and associated with a first of the link guides first sliding block and a second, attached to the running rail and the second link guide assigned Sliding block consists, wherein the coupling member is pivotally mounted about a perpendicular to the sliding plane of the telescopic guide rail extending axis and the slotted guides V-shaped spread apart such that when entering the first sliding block in the first link guide assigned to him a switching of the coupling member and an associated release causes the second sliding block from the associated second link guide and vice versa.
- This specified solution is intended for a telescopic guide rail, in which the carcass rail, the center rail and the running rail in the position of use are arranged vertically one above the other.
- the sequence control according to the invention can be arranged with great advantage outside of the raceway region of the individual rail elements and thus does not affect in any way the carrying capacity of the entire telescopic guide rail, especially not even if it is equipped with rolling elements in the form of balls in the raceways.
- the telescopic guide rail according to the invention is characterized in that the flow control has an extremely simple and uncomplicated structure and ultimately only from the coupling member with the slotted guides and on the body rail on the one hand and the running rail on the other hand connected sliding blocks exists.
- a further solution of the object according to the invention consists in that the sequence control consists of a coupling member provided with two mirror-symmetrical slide links and a first sliding block attached to the carcass rail and a first of the sliding guides and a second sliding guide fastened to the running rail and the second sliding guide associated sliding block consists, wherein the coupling member is pivotally mounted about an axis parallel to the sliding plane of the telescopic guide rail axis and the slide guides V-shaped spread apart extend such that when entering the first sliding block in the associated first link guide switching the coupling member and an associated Release of the second sliding block from the associated second link guide causes and vice versa.
- This solution is intended for a telescopic guide rail, in which the carcass rail, the center rail and the running rail in the position of use are arranged horizontally next to each other.
- FIGS. 1 to 3 is denoted by the reference numeral 1, a fully illustrated telescopic guide rail comprising a body side fixable carcass rail 2, a connectable to a pull-out part such as a drawer running rail 3 and arranged between the carcass rail 2 and the running rail 3, aussverinrnde center rail 4.
- the telescopic guide rail 1 is provided with a flow control 5, by means of which it is ensured that the running rail 3 can only be moved relative to the center rail 4, when the middle rail 4 is extended to its adjacent body rail 2 maximum, also can on the flow control. 5 be ensured that the center rail 4 from its fully extended position can only be moved back into the closed position when the running rail 3 has been moved back relative to the center rail 4 again maximally in the insertion direction.
- Such a sequence control 5 is desirable in order to avoid an uncontrolled displacement of the center rail 4 relative to the carcass rail 2 and / or the running rail 3, resulting in a favorable load on the rail components. Moreover, the controlled process has a very favorable influence on the operating force and the lowering.
- the sequence control 5 comprises a coupling member 6 and a first sliding block 7 fastened to the carcass rail 2 and a second sliding block 8 fastened to the running rail 3.
- sliding block is here purely functionally to be considered, since it is the sliding blocks 7 and 8 are components in the form of pins, which are attached on the one hand to the carcass rail 2 and on the other hand to the running rail 3.
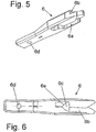
- the coupling member 6 is, which in particular the FIGS. 5 and 6 make clear, provided with a first slide guide 6a and a second slide guide 6b, wherein the two sliding guides 6a and 6b are arranged in mirror image to each other and extend substantially V-shaped spread apart.
- the two slotted guides 6a and 6b are arranged within the coupling member 6 in different planes.
- the depth of the slide guides 6a and 6b is slightly larger than the total thickness of the coupling member 6, so that there is an opening 6c in the overlap region of the two slide guides 6a and 6b.
- the coupling member 6 At its end facing away from the slide guides 6a and 6b, the coupling member 6 is equipped with a bearing bore 6d.
- This bearing bore 6d will pass through a bearing pin 9, which is connected to a fixedly mounted on the center rail 4 bearing block 10.
- the axis of the bearing pin 9 extends perpendicular to the displacement plane of the entire telescopic guide rail 1.
- the coupling member 6 is mounted pivotally within limits.
- the attached to the carcass rail 2 first sliding block 7 is assigned to the corresponding downwardly facing first slide guide 6a.
- the coupling member 6 is then pivoted about the axis of the bearing pin 7, whereby a release of the blockage between the located on the running rail 3 sliding block 8 and the coupling member 6 and simultaneously causes a block between the attached to the carcass rail 2 sliding block 7 and the coupling member 6 becomes.
- the running rail 3 can be separated from the center rail 4 and pulled completely opposite to this, while at the same time the middle rail 4 is secured or blocked against pushing back relative to the carcass rail 2.
- the coupling member 6 is a total of one piece made of plastic. Due to the opening 6c in the transition region between the two slotted guides 6a and 6b here is a certain spring elasticity achieved by the noise during the "switching" between the individual coupling states described above, can be largely damped. In addition, in the storage area of the coupling member 6, a damping spring (not shown) is provided be, which can also take care of the noise attenuation when switching the coupling member 6 care.
- FIGS. 4a to 4d show again in a schematic representation of the sequence of switching of the coupling member 6 through the two sliding blocks 7 and 8.
- FIGS. 10 to 12 show, the center rail 4, on which the coupling member 6 is pivotally mounted, with two mutually angled forms 11, which is associated with a corresponding recess 12 of the coupling member 6.
- the forms 11 and the recess 12 are arranged so that the coupling member 6 is secured in both possible end positions during pivoting against unintentional leaving this pivot position, that is, the coupling member 6 can not fall out of gravity by gravity from one of the pivoting positions. This opens up the possibility of using a telescopic guide rail according to FIGS. 7 to 11 without any modification both on the left and on the right side of a furniture pull-out.
- the characteristics 11 may also be provided on the coupling member 6 and accordingly the corresponding recesses may be provided on the center rail 4.
- the corresponding recesses may be provided on the center rail 4.
- Magnetic regions can also be provided for this purpose on the named components.
- the coupling member 6 which in turn is made entirely of a plastic, in the region of its bearing bore 6d provided with an opening 13 within which spring-like webs 14 are arranged, which carry the central region 15 with the bearing bore 6d.
- this central portion 15 of the coupling member 6 having the bearing bore 6d can be sprung to a certain extent in the direction of displacement and thus damped.
- the coupling member 6 is mounted on the side of the middle rail 4 facing the running rail 3.
- the attached to the carcass rail 2 sliding block 7 can interact properly with the coupling member 6, in the region of the center rail 4 is an opening 16 is provided through which engages the at least the sliding block 7 associated with the corresponding region of the control cam of the coupling member 6.
- sliding plane of the telescopic guide rail 1 has been used repeatedly. This is understood to mean a horizontal plane in the use position within which a furniture drawer mounted on two telescopic guide rails according to the invention is moved.
Landscapes
- Drawers Of Furniture (AREA)
Description
- Die vorliegende Erfindung betrifft eine Teleskopfiihrungsschiene für Möbelauszüge wie Schubkästen oder dergleichen, umfassend eine an einem Möbelkorpus festlegbare Korpusschiene, eine mit einem Möbelauszug verbindbare Laufschiene und eine zwischen der Korpusschiene und der Laufschiene angeordnete, auszugsverlängernde Mittelschiene und eine Ablaufsteuerung, mittels derer die Laufschiene beim Ausfahren aus der Schließlage heraus solange mit der Mittelschiene gekoppelt ist, bis die Mittelschiene ihre maximale Auszugsposition erreicht hat und in dieser Position unter gleichzeitiger Entkopplung der Laufschiene von der Mittelschiene gegenüber der Korpusschiene blockiert ist und die Mittelschiene erst dann wieder gegenüber der Korpusschiene in Schließrichtung verschiebbar ist, wenn die Laufschiene gegenüber der zunächst blockierten Mittelschiene maximal in Einschubrichtung verschoben und dabei wieder mit der Mittelschiene gekoppelt ist.
- Teleskopführungsschienen der gattungsgemäßen Art sind in vielerlei Ausführungsformen bekannt. So sind z.B. sogenannte "Quadro-Auszüge" bekannt, bei denen im Bereich der Laufbahnen Wälzkörper in Form von Kugeln vorgesehen sind. Derartige Teleskopführungsschienen sind besonders tragfähig. Bei derartigen Teleskopführungsschienen liegen die Korpusschiene, die auszugsverlängernde Mittelschiene sowie die mit einem Möbelauszug verbindbare Laufschiene in Gebrauchsstellung vertikal übereinander.
- Es gibt auch Teleskopführungsschienen der gattungsgemäßen Art, bei denen die im Wesentlichen C-förmigen Profile der Korpusschiene, der auszugsverlängernden Mittelschiene sowie der Laufschiene in Gebrauchsstellung horizontal nebeneinander liegend angeordnet sind.
- Bezüglich der Ablaufsteuerung sind ebenfalls unterschiedliche Ausführungsformen bekannt, wobei die Ablaufsteuerungen im Bereich der Laufbahnen der Teleskopführungsschienen angeordnet sind. Dadurch kann die Tragfähigkeit der Teleskopführungsschienen negativ beeinträchtigt werden, insbesondere dann, wenn durch die Anordnung einer Ablaufsteuerung ein Teil der Laufbahnen nicht mit Kugeln zur Erhöhung der Tragfähigkeit ausgestattet sein kann.
- Teleskopführungsschienen mit einer Ablaufsteuerung die nicht im Bereich der Laufbahnen der Kugeln angeordnet sind, sind auch bekannt. Solche Teleskopführungsschienen werden in den Patentdokumenten
DE 296 21 957 U1 undEP 0 620 993 A1 offenbart. - Der vorliegenden Erfindung liegt die Aufgabe zugrunde, eine Teleskopführungsschiene der gattungsgemäßen Art zu schaffen, die sich durch einen besonders einfachen und die Tragfähigkeit der Teleskopführungsschiene in keiner Weise beeinträchtigende Ablaufsteuerung auszeichnet.
- Eine Lösung dieser Aufgabe besteht erfindungsgemäß darin, dass die Ablaufsteuerung aus einem mit zwei spiegelbildlich zueinander verlaufenden Kulissenführungen versehenen Koppelglied und aus einem an der Korpusschiene befestigten und mit einer ersten der Kulissenführungen zugeordneten ersten Kulissenstein und einem zweiten, an der Laufschiene befestigten und der zweiten Kulissenführung zugeordneten Kulissenstein besteht, wobei das Koppelglied um eine lotrecht zur Verschiebeebene der Teleskopführungsschiene verlaufende Achse verschwenkbar gelagert ist und die Kulissenführungen V-förmig gegeneinander gespreizt verlaufen derart, dass beim Einlaufen des ersten Kulissensteines in die ihm zugeordnete erste Kulissenführung ein Umschalten des Koppelgliedes und eine damit verbundene Freigabe des zweiten Kulissensteines aus der ihm zugeordneten zweiten Kulissenführung bewirkt und umgekehrt.
- Diese angegebene Lösung ist bestimmt für eine Teleskopführungsschiene, bei der die Korpusschiene, die Mittelschiene und die Laufschiene in Gebrauchsstellung vertikal übereinander angeordnet sind. Die erfindungsgemäße Ablaufsteuerung kann dabei mit großem Vorteil außerhalb des Laufbahnenbereiches der einzelnen Schienenelemente angeordnet sein und beeinträchtigt somit in keiner Weise die Tragfähigkeit der gesamten Teleskopführungsschiene, insbesondere auch dann nicht, wenn diese mit Wälzkörpern in Form von Kugeln im Bereich der Laufbahnen ausgestattet ist. Darüber hinaus zeichnet sich die erfindungsgemäße Teleskopführungsschiene dadurch aus, dass die Ablaufsteuerung einen extrem einfachen und unkomplizierten Aufbau aufweist und letztlich nur aus dem Koppelglied mit den Kulissenführungen und den an der Korpusschiene einerseits und der Laufschiene andererseits angeschlossenen Kulissensteinen besteht.
- Eine weitere Lösung der erfindungsgemäßen Aufgabe besteht darin, dass die Ablaufsteuerung aus einem mit zwei spiegelbildlich zueinander verlaufenden Kulissenführungen versehenen Koppelglied und aus einem an der Korpusschiene befestigten und mit einer ersten der Kulissenführungen zugeordneten ersten Kulissenstein und einem zweiten, an der Laufschiene befestigten und der zweiten Kulissenführung zugeordneten Kulissenstein besteht, wobei das Koppelglied um eine parallel zur Verschiebeebene der Teleskopführungsschiene verlaufende Achse verschwenkbar gelagert ist und die Kulissenführungen V-förmig gegeneinander gespreizt verlaufen derart, dass beim Einlaufen des ersten Kulissensteines in die ihm zugeordnete erste Kulissenführung ein Umschalten des Koppelgliedes und eine damit verbundene Freigabe des zweiten Kulissensteines aus der ihm zugeordneten zweiten Kulissenführung bewirkt und umgekehrt.
- Diese Lösung ist bestimmt für eine Teleskopführungsschiene, bei der die Korpusschiene, die Mittelschiene und die Laufschiene in Gebrauchsstellung horizontal nebeneinander liegend angeordnet sind.
- Auch für diese Lösung gelten die vorstehend genannten Vorteile.
- Auch der Funktionsablauf der Ablaufsteuerungen ist in beiden Fällen äußerst unkompliziert und einfach, da das Umschalten des Koppelgliedes durch den jeweils in das Koppelglied bzw. in eine der dort vorgesehenen Führungsnuten einlaufenden Kulissenstein erfolgt, so dass beim eigentlichen Schaltvorgang ein Kulissenstein in eine Kopplungsstellung gebracht und der bis dahin in Kopplungsstellung befindliche weitere Kulissenstein aus der Kopplungsposition herausbewegt werden kann. Somit gibt es auch im Übergangsbereich keine unkontrollierte und ungewollte Verschiebemöglichkeit für das jeweils zu blockierende Schienenelement, d.h., dass die Mittelschiene zeitgleich mit der Entkopplung von der Laufschiene mit der Korpusschiene gekoppelt und gegenüber dieser blockiert wird und umgekehrt auch wiederum zeitgleich mit der Laufschiene gekoppelt wird, wenn die Blockierung gegenüber der Korpusschiene aufgehoben ist.
- Für diese Schaltvorgänge sind, wie schon erwähnt, lediglich die einfachen Bauteile erforderlich, so dass ein dauerhaft störungsfreier Betrieb einer derartigen Teleskopführungsschiene gewährleistet ist.
- Weitere Merkmale der Erfindung sind Gegenstand von Unteransprüchen.
- In den beigefügten Zeichnungen sind Ausführungsbeispiele der Erfindung dargestellt, welche im Folgenden näher beschrieben werden.
- Es zeigen:
- Figur 1
- eine perspektivische Darstellung einer erfindungsgemäßen Teleskopführungsschiene im vollkommen zusammengeschobenen Zustand
- Figur 2
- eine Perspektivdarstellung der Teleskopführung gemäß
Figur 1 in einer Verschiebe-Zwischenposition - Figur 3
- eine Perspektivdarstellung der erfindungsgemäßen Teleskopführungsschiene im ausgezogenen Zustand
- Figuren 4a bis 4d
- Draufsichten auf ein Koppelglied einer Ablaufsteuerung der Führungsschiene in verschiedenen Verschiebepositionen
- Figur 5
- eine Perspektivdarstellung des Koppelgliedes der Ablaufsteuerung
- Figur 6
- eine Draufsicht auf das Koppelglied gemäß
Figur 5 - Figur 7
- eine Perspektivdarstellung einer Teleskopführungsschiene mit aufgebrochen gezeigter Laufschiene nach einem weiteren Ausführungsbeispiel der Erfindung
- Figur 8
- eine Ansicht der Teleskopführungsschiene in Richtung des Pfeiles VIII in
Figur 7 bei Vollauszug - Figur 9
- die in
Figur 8 mit IX bezeichnete Einzelheit in vergrößerter Darstellung - Figur 10
- eine der
Figur 8 entsprechende Ansicht einer auszugsverlängernden Mittelschiene der Teleskopführung - Figur 11
- die in
Figur 10 mit XI bezeichnete Einzelheit in vergrößerter Darstellung - Figur 12
- eine Ansicht eines Koppelgliedes der Teleskopführungsschiene nach den
Figuren 7 bis 9 . - In den
Figuren 1 bis 3 ist mit dem Bezugszeichen 1 eine vollständig dargestellte Teleskopführungsschiene bezeichnet, die eine korpusseitig festlegbare Korpusschiene 2, eine mit einem Auszugsteil wie beispielsweise einem Schubkasten verbindbare Laufschiene 3 und eine zwischen der Korpusschiene 2 und der Laufschiene 3 angeordnete, auszugsverlängernde Mittelschiene 4 umfasst. - Außerdem ist die Teleskopführungsschiene 1 mit einer Ablaufsteuerung 5 versehen, mittels derer sichergestellt wird, dass die Laufschiene 3 erst dann gegenüber der Mittelschiene 4 verschoben werden kann, wenn die Mittelschiene 4 gegenüber der ihr benachbarten Korpusschiene 2 maximal ausgezogen ist, außerdem kann über die Ablaufsteuerung 5 sichergestellt werden, dass die Mittelschiene 4 aus ihrer vollständig ausgezogenen Position erst dann wieder in Schließstellung zurückbewegt werden kann, wenn die Laufschiene 3 gegenüber der Mittelschiene 4 wieder maximal in Einschubrichtung zurückbewegt worden ist.
- Eine derartige Ablaufsteuerung 5 ist wünschenswert, um ein unkontrolliertes Verschieben der Mittelschiene 4 gegenüber der Korpusschiene 2 und/oder der Laufschiene 3 zu vermeiden, woraus sich eine günstige Belastung der Schienenkomponenten ergibt. Überdies hat der gesteuerte Ablauf einen äußerst günstigen Einfluss auf die Betätigungskraft sowie die Absenkung.
- Die Ablaufsteuerung 5 umfasst ein Koppelglied 6 und einen an der Korpusschiene 2 befestigten ersten Kulissenstein 7 sowie einen an der Laufschiene 3 befestigten zweiten Kulissenstein 8.
- Der Begriff "Kulissenstein" ist hier rein funktionsbedingt zu betrachten, da es sich bei den Kulissensteinen 7 und 8 um Bauteile in Form von Stiften handelt, die einerseits an der Korpusschiene 2 und andererseits an der Laufschiene 3 befestigt sind.
- Das Koppelglied 6 ist, was insbesondere die
Figuren 5 und 6 deutlich machen, mit einer ersten Kulissenführung 6a und einer zweiten Kulissenführung 6b versehen, wobei die beiden Kulissenführungen 6a und 6b spiegelbildlich zueinander angeordnet sind und im Wesentlichen V-förmig gegeneinander gespreizt verlaufen. Außerdem sind die beiden Kulissenführungen 6a und 6b innerhalb des Koppelgliedes 6 in verschiedenen Ebenen angeordnet. Dabei ist die Tiefe der Kulissenführungen 6a und 6b geringfügig größer als die Gesamtdicke des Koppelgliedes 6, so dass sich im Überschneidungsbereich der beiden Kulissenführungen 6a und 6b ein Durchbruch 6c ergibt. - An seinem den Kulissenführungen 6a und 6b abgewandt liegenden Ende ist das Koppelglied 6 mit einer Lagerbohrung 6d ausgestattet. Diese Lagerbohrung 6d wird durchtreten von einem Lagerzapfen 9, der an einem ortsfest an der Mittelschiene 4 befestigten Lagerbock 10 angeschlossen ist. Die Achse des Lagerzapfens 9 verläuft lotrecht zur Verschiebeebene der gesamten Teleskopführungsschiene 1. Um diese Achse ist das Koppelglied 6 in Grenzen schwenkbar gelagert.
- Der an der Korpusschiene 2 befestigte erste Kulissenstein 7 ist der entsprechend nach unten weisenden, ersten Kulissenführung 6a zugeordnet.
- Der an der Laufschiene 3 befestigte zweite Kulissenstein 8 hingegen ist der nach oben weisenden, zweiten Kulissenführung 6b zugeordnet.
- In der aus
Figur 1 ersichtlichen, vollständig zusammengeschobenen Position der Teleskopführungsschiene 1 greift der angesprochene zweite Kulissenstein 8 in die obere, zweite Kulissenführung 6b des Koppelgliedes 6 ein, wasFigur 1 sehr deutlich zeigt. Wird nun ein mit der Laufschiene 3 verbundener Möbelauszug aus der Schließposition herausgezogen, verschiebt sich die Laufschiene 3 entsprechend in Öffnungsrichtung. In dieser ersten Öffnungsphase ist die Mittelschiene 4 über den Eingriff des zweiten Kulissensteines 8 in die zweite Kulissenführung 6b mit der Laufschiene 3 zwangsgekoppelt, so dass die Laufschiene 3 zunächst gemeinsam mit der Mittelschiene 4 in Auszugsrichtung verschoben wird. Ist der vollständige Auszugsweg der Mittelschiene 4 erreicht, gelangt der an der Korpusschiene 2 befestigte erste Kulissenstein 7 in den Bereich der unteren, ersten Kulissenführung 6a. Dabei wird dann das Koppelglied 6 um die Achse des Lagerzapfens 7 verschwenkt, wodurch eine Freigabe der Blockierung zwischen dem an der Laufschiene 3 befindlichen Kulissenstein 8 und dem Koppelglied 6 sowie gleichzeitig eine Blockierung zwischen dem an der Korpusschiene 2 befestigten Kulissenstein 7 und dem Koppelglied 6 herbeigeführt wird. Dies bedeutet, dass ab dieser Auszugsposition die Laufschiene 3 von der Mittelschiene 4 getrennt und gegenüber dieser vollständig ausgezogen werden kann, während gleichzeitig die Mittelschiene 4 gegen Zurückschieben relativ zur Korpusschiene 2 gesichert oder blockiert ist. - Erst dann, wenn die Laufschiene 3 wieder in Einschubrichtung zurückgefahren wird und der an der Laufschiene 3 befestigte Kulissenstein 8 in die ihm zugeordnete, obere oder zweite Kulissenführung 6b einläuft, wird das Koppelglied 6 wieder um seine Achse 7 geschwenkt, wodurch einerseits nunmehr wieder eine Kopplung zwischen Mittelschiene 4 und Laufschiene 3 und eine Entkopplung zwischen Mittelschiene 4 und Korpusschiene 2 herbeigeführt wird. Somit kann die gekoppelte Einheit von Mittelschiene 4 und Laufschiene 3 wieder zurück in ihre Schließlage bewegt werden.
- Das Koppelglied 6 ist insgesamt einstückig aus Kunststoff hergestellt. Bedingt durch den Durchbruch 6c im Übergangsbereich zwischen den beiden Kulissenführungen 6a und 6b wird hier eine gewisse Federelastizität erreicht, durch die Geräusche beim "Umschalten" zwischen den einzelnen, vorstehend beschriebenen Kopplungszuständen, weitestgehend gedämpft werden können. Zusätzlich kann im Lagerbereich des Koppelgliedes 6 eine Dämpfungsfeder (nicht dargestellt) vorgesehen sein, die ebenfalls zur Geräuschdämpfung beim Umschalten des Koppelgliedes 6 Sorge tragen kann.
- Die
Figuren 4a bis 4d zeigen noch einmal in schematischer Darstellung den Ablauf der Umschaltung des Koppelgliedes 6 durch die beiden Kulissensteine 7 und 8. Diese genannten Figuren machen deutlich, dass durch die beiden Kulissensteine 7 und 8 beim Ausziehen der Teleskopführungsschiene 1 aus der Schließlage heraus bzw. beim Zusammenschieben aus der Auszugsstellung in die Schließlage zurück ein gewünschter, kontrollierter Ablauf der Mittelschiene 4 und der Laufschiene 3 in der Weise erfolgt, dass von der Schließlage ausgehend die Laufschiene 3 erst dann relativ zur Mittelschiene 4 verschiebbar wird, wenn die Mittelschiene 4 gegenüber der Korpusschiene 2 maximal ausgezogen ist und dass - aus der Öffnungsstellung heraus - die Mittelschiene 4 gegenüber der Korpusschiene 2 erst dann zurückgeschoben werden kann, wenn die Laufschiene 3 in ihre maximale Einschubposition gegenüber der Mittelschiene 4 zurückgeschoben worden ist. - Im Gegensatz zu dem vorstehend beschriebenen Ausführungsbeispiel, bei dem die Korpusschiene, die Mittelschiene und die Laufschiene in Gebrauchsstellung vertikal übereinander liegend angeordnet sind, ist in den Zeichnungen 7 bis 12 ein Ausführungsbeispiel der Erfindung dargestellt, bei dem die besagten Schienenteile 2, 4, 3 in Gebrauchsstellung horizontal nebeneinander angeordnet sind.
- Hieraus ergibt sich dann der weitere Unterschied zum Ausführungsbeispiel nach den
Figuren 1 bis 6 , der darin besteht, dass nunmehr der auch in diesem Falle an der Mittelschiene 4 befestigte Lagerzapfen 9 parallel zur Verschiebeebene der gesamten Teleskopführungsschiene 1 verläuft. - Um diesen Lagerzapfen 9 kann nun wieder das Koppelglied 6 in Grenzen verschwenkt und durch die wechselweise an der Korpusschiene 2 bzw. der Laufschiene 3 befestigten Kulissensteine so gesteuert werden, wie dies beim Beschreiben des Ausführungsbeispieles nach den
Figuren 1 bis 6 der Fall ist. - Wie die
Figuren 10 bis 12 zeigen, ist die Mittelschiene 4, an welcher das Koppelglied 6 schwenkbar gelagert ist, mit zwei winklig zueinander verlaufenden Ausprägungen 11 versehen, denen eine korrespondierende Aussparung 12 des Koppelgliedes 6 zugeordnet ist. - Die Ausprägungen 11 und die Aussparung 12 sind so angeordnet, dass das Koppelglied 6 in beiden möglichen Endstellungen beim Verschwenken gegen unbeabsichtigtes Verlassen dieser Verschwenkposition gesichert ist, d.h., das Koppelglied 6 kann nicht durch Schwerkraft aus einer der Verschwenkpositionen herausfallen. Damit wird die Möglichkeit eröffnet, eine Teleskopführungsschiene gemäß den Figuren 7 bis 11 ohne jedwede Änderung sowohl links- wie auch rechtsseitig eines Möbelauszuges zu verwenden.
- Alternativ können selbstverständlich die Ausprägungen 11 auch am Koppelglied 6 vorgesehen sein und dementsprechend die korrespondierenden Aussparungen an der Mittelschiene 4 vorgesehen sein. Darüber hinaus ist es auch denkbar, statt linienförmiger, durchgehender Ausprägungen 11 und entsprechend linienförmig durchgängiger Aussparungen 12 zum Beispiel jeweils buckelartige Erhebungen an einem der korrespondierenden Bauteile und entsprechende Durchbrechungen oder Löcher im jeweils anderen Bauteil vorzusehen, um die Lage des Koppelgliedes 6 in seinen möglichen Endstellungen fixieren zu können. Auch magnetische Bereiche können zu diesem Zweck an den genannten Bauteilen vorgesehen sein.
- Wie insbesondere auch
Figur 12 deutlich macht, ist das Koppelglied 6, welches wiederum insgesamt aus einem Kunststoff hergestellt ist, im Bereich seiner Lagerbohrung 6d mit einer Durchbrechung 13 versehen, innerhalb derer federartig ausgebildete Stege 14 angeordnet sind, welche den Zentralbereich 15 mit der Lagerbohrung 6d tragen. Somit kann dieser die Lagerbohrung 6d aufweisende Zentralbereich 15 des Koppelgliedes 6 in Verschieberichtung in gewissen Grenzen federn und somit gedämpft werden. - Beim Ausführungsbeispiel gemäß den
Figuren 7 bis 12 ist das Koppelglied 6 auf der der Laufschiene 3 zugewandten Seite der Mittelschiene 4 gelagert. Damit der an der Korpusschiene 2 befestigte Kulissenstein 7 einwandfrei mit dem Koppelglied 6 zusammenwirken kann, ist im Bereich der Mittelschiene 4 ein Durchbruch 16 vorgesehen, durch den der zumindest der dem Kulissenstein 7 zugeordnete korrespondierende Bereich der Steuerkurve des Koppelgliedes 6 hindurchgreift. - Alternativ wäre auch die Lagerung des Koppelgliedes 6 zwischen der Korpusschiene 2 und der Mittelschiene 4 denkbar, wobei dann selbstverständlich ein Durchgreifen des Durchbruches 16 durch den entsprechenden Bereich des Koppelgliedes 6 in Richtung der Laufschiene 3 erfolgen muss.
- Ebenso ist es vorstellbar, das Koppelglied 6 in seinem Lagerbereich aufzuspalten und die Lagerung auf beiden Seiten der Mittelschiene 4 vorzusehen.
- Da sich die Funktion der Ablaufsteuerung 5 beim Ausführungsbeispiel nach den
Figuren 7 bis 12 gegenüber dem Ausführungsbeispiel nach denFiguren 1 bis 6 nicht unterscheidet, kann hier auf eine detaillierte Wiederholung der Beschreibung dieses Funktionsablaufes verzichtet werden. Festzuhalten ist lediglich, dass sich die dargestellten Ausführungsbeispiele dahingehend unterscheiden, dass die Lage der Lagerzapfen 9, um welche die Koppelglieder 6 schwenkbar sind, um 90° gegeneinander versetzt angeordnet sind, entsprechend dem unterschiedlichen Aufbau und der unterschiedlichen Lage der Schienenteile 2 bis 4 zueinander, wie weiter oben schon erwähnt. - In der Beschreibung der dargestellten Ausführungsbeispiele ist wiederholt der Begriff der "Verschiebeebene der Teleskopführungsschiene 1" verwendet worden. Hierunter ist eine in Gebrauchslage horizontale Ebene zu verstehen, innerhalb derer ein auf zwei erfindungsgemäßen Teleskopführungsschienen gelagerter Möbelauszug verschoben wird.
Claims (10)
- Teleskopführungsschiene (1) für Möbelauszüge wie Schubkästen oder dergleichen, umfassend eine an einem Möbelkorpus festlegbare Korpusschiene (2), eine mit einem Möbelauszug verbindbare Laufschiene (3) und eine zwischen der Korpusschiene (2) und der Laufschiene (3) angeordnete, auszugsverlängernde Mittelschiene (4) und eine Ablaufsteuerung (5), mittels derer die Laufschiene (3) beim Ausfahren aus der Schließlage heraus solange mit der Mittelschiene (4) gekoppelt ist, bis die Mittelschiene (4) ihre maximale Auszugsposition erreicht hat und in dieser Position unter gleichzeitiger Entkopplung der Laufschiene (3) von der Mittelschiene (4) gegenüber der Korpusschiene (2) blockiert ist und die Mittelschiene (4) erst dann wieder gegenüber der Korpusschiene (2) in Schließrichtung verschiebbar ist, wenn die Laufschiene (3) gegenüber der zunächst blockierten Mittelschiene (4) maximal in Einschubrichtung verschoben und dabei wieder mit der Mittelschiene (4) gekoppelt ist, dadurch gekennzeichnet, dass die Ablaufsteuerung (5) aus einem mit zwei spiegelbildlich zueinander verlaufenden Kulissenführungen (6a, 6b) versehenen Koppelglied (6) und aus einem an der Korpusschiene (2) befestigten und mit einer ersten der Kulissenführungen (6a) zugeordneten ersten Kulissenstein (7) und einem zweiten, an der Laufschiene (3) befestigten und der zweiten Kulissenführung (6b) zugeordneten Kulissenstein (8) besteht, wobei das Koppelglied (6) um eine lotrecht zur in Gebrauchslage horizontal gelegenen Verschiebeebene der Teleskopführungsschiene (1) verlaufende Achse (9) schwenkbar gelagert ist und die Kulissenführungen (6a, 6b) V-förmig gegeneinander gespreizt verlaufen derart, dass beim Einlaufen des ersten Kulissensteines (7) in die ihm zugeordnete erste Kulissenführung (6a) ein Umschalten des Koppelgliedes (6) und eine damit verbundene Freigabe des zweiten Kulissensteines (8) aus der ihm zugeordneten zweiten Kulissenführung (6b) bewirkt und umgekehrt.
- Teleskopführungsschiene nach Anspruch 1, dadurch gekennzeichnet, dass die Kulissensteine (7, 8) an der Korpusschiene (2) bzw. der Laufschiene (3) übereinander liegend angeordnet sind und entsprechend die Kulissenführunggen (6a, 6b) am Koppelglied (6) in unterschiedlichen Höhenebenen des Koppelgliedes (6) angeordnet sind.
- Teleskopführungsschiene nach Anspruch 2, dadurch gekennzeichnet, dass die Tiefe der in Richtung der Korpusschiene (2) nach unten offenen ersten Kulissenführung (6a) und die Tiefe der in Richtung der Laufschiene (3) nach oben offenen zweiten Kulissenführung (6b) jeweils größer ist als die Hälfte der Gesamtdicke des Koppelgliedes (6), so dass im Überlappungsbereich der beiden Kulissenführungen (6a, 6b) im Bereich der Spitze ihres V-förmigen Verlaufes ein Durchbruch (6c) gebildet ist.
- Teleskopführungsschiene nach einem der vorhergehenden Ansprüche, dadurch gekennzeichnet, dass das Koppelglied (6) insgesamt einstückig aus einem Kunststoff gefertigt ist.
- Teleskopführungsschiene nach einem der vorhergehenden Ansprüche, dadurch gekennzeichnet, dass das Koppelglied (6) um die Achse eines Lagerbolzens (9) schwenkbar gelagert ist, wobei der Lagerbolzen (9) von einem an der Mittelschiene (4) befestigten Lagerbock (10) getragen ist.
- Teleskopführungsschiene nach Anspruch 5, dadurch gekennzeichnet, dass im Bereich der Lagerung des Koppelgliedes (6) Dämpfungsmittel zur Geräuschdämpfung beim Umschalten des Koppelgliedes (6) vorgesehen sind.
- Teleskopführungsschiene nach Anspruch 6, dadurch gekennzeichnet, dass als Dämpfungsmittel eine oder mehrere Federn vorgesehen sind.
- Teleskopführungsschiene (1) für Möbelauszüge wie Schubkästen oder dergleichen, umfassend eine an einem Möbelkorpus festlegbare Korpusschiene (2), eine mit einem Möbelauszug verbindbare Laufschiene (3) und eine zwischen der Korpusschiene (2) und der Laufschiene (3) angeordnete, auszugsverlängernde Mittelschiene (4) und eine Ablaufsteuerung (5), mittels derer die Laufschiene (3) beim Ausfahren aus der Schließlage heraus solange mit der Mittelschiene (4) gekoppelt ist, bis die Mittelschiene (4) ihre maximale Auszugsposition erreicht hat und in dieser Position unter gleichzeitiger Entkopplung der Laufschiene (3) von der Mittelschiene (4) gegenüber der Korpusschiene (2) blockiert ist und die Mittelschiene (4) erst dann wieder gegenüber der Korpusschiene (2) in Schließrichtung verschiebbar ist, wenn die Laufschiene (3) gegenüber der zunächst blockierten Mittelschiene (4) maximal in Einschubrichtung verschoben und dabei wieder mit der Mittelschiene (4) gekoppelt ist, dadurch gekennzeichnet, dass die Ablaufsteuerung (5) aus einem mit zwei spiegelbildlich zueinander verlaufenden Kulissenführungen (6a, 6b) versehenen Koppelglied (6) und aus einem an der Korpusschiene (2) befestigten und mit einer ersten der Kulissenführungen (6a) zugeordneten ersten Kulissenstein (7) und einem zweiten, an der Laufschiene (3) befestigten und der zweiten Kulissenführung (6b) zugeordneten Kulissenstein (8) besteht, wobei das Koppelglied (6) um eine parallel zur in Gebrauchslage horizontal gelegenen Verschiebeebene der Teleskopführungsschiene (1) verlaufende Achse (9) schwenkbar gelagert ist und die Kulissenführungen (6a, 6b) V-förmig gegeneinander gespreizt verlaufen derart, dass beim Einlaufen des ersten Kulissensteines (7) in die ihm zugeordnete erste Kulissenführung (6a) ein Umschalten des Koppelgliedes (6) und eine damit verbundene Freigabe des zweiten Kulissensteines (8) aus der ihm zugeordneten zweiten Kulissenführung (6b) bewirkt und umgekehrt.
- Teleskopführungsschiene nach einem der vorhergehenden Ansprüche, dadurch gekennzeichnet, dass die Mittelschiene (4) mit winklig zueinander verlaufenden Ausprägungen (11) und das Koppelglied (6) mit einer diesen Ausprägungen (11) zugeordneten Aussparung (12) ausgestattet ist, wobei jeweils eine der Ausprägungen (11) in die Aussparung (12) des Koppelgliedes (6) eingreift, wenn das Koppelglied (6) in eine seiner möglichen Umschaltstellungen verschwenkt ist.
- Teleskopführungsschiene nach einem der vorhergehenden Ansprüche, dadurch gekennzeichnet, dass das Koppelglied (6) im Umgebungsbereich seiner Lagerbohrung (6d) mit einer Durchbrechung (13) versehen ist, innerhalb derer federartige Stege (14) einen die Lagerbohrung (6d) aufweisenden Zentralbereich (15) federnd abstützen.
Applications Claiming Priority (3)
| Application Number | Priority Date | Filing Date | Title |
|---|---|---|---|
| DE202007006692 | 2007-05-07 | ||
| DE202008004597U DE202008004597U1 (de) | 2007-05-07 | 2008-04-02 | Teleskopführungsschiene |
| PCT/EP2008/055157 WO2008135425A1 (de) | 2007-05-07 | 2008-04-28 | Teleskopführungsschiene |
Publications (2)
| Publication Number | Publication Date |
|---|---|
| EP2144530A1 EP2144530A1 (de) | 2010-01-20 |
| EP2144530B1 true EP2144530B1 (de) | 2017-06-21 |
Family
ID=39768321
Family Applications (1)
| Application Number | Title | Priority Date | Filing Date |
|---|---|---|---|
| EP08759387.7A Not-in-force EP2144530B1 (de) | 2007-05-07 | 2008-04-28 | Teleskopführungsschiene |
Country Status (5)
| Country | Link |
|---|---|
| EP (1) | EP2144530B1 (de) |
| CN (1) | CN101720192B (de) |
| DE (1) | DE202008004597U1 (de) |
| ES (1) | ES2640977T3 (de) |
| WO (1) | WO2008135425A1 (de) |
Cited By (1)
| Publication number | Priority date | Publication date | Assignee | Title |
|---|---|---|---|---|
| WO2019042980A1 (de) | 2017-09-01 | 2019-03-07 | Paul Hettich Gmbh & Co. Kg | Auszugsführung |
Families Citing this family (9)
| Publication number | Priority date | Publication date | Assignee | Title |
|---|---|---|---|---|
| DE202010011853U1 (de) * | 2010-08-25 | 2011-11-28 | Grass Gmbh | Führungseinheit zur Führung eines relativ zu einem Möbelkorpus beweglichen Möbelauszugs, zum Beispiel einer Schublade |
| CN103126354B (zh) * | 2013-03-23 | 2015-06-03 | 伍志勇 | 轮式抽屉滑轨的减噪机构 |
| DE102013113672A1 (de) * | 2013-06-14 | 2014-12-18 | Paul Hettich Gmbh & Co. Kg | Auszugssystem |
| DE102017115952A1 (de) | 2017-07-14 | 2019-01-17 | Paul Hettich Gmbh & Co. Kg | Schiebe- und Hubmechanismus für ein Möbel oder Haushaltsgerät und Möbel oder Haushaltsgerät mit einem derartigen Schiebe- und Hubmechanismus |
| CN108035121B (zh) * | 2018-01-04 | 2024-01-05 | 南京贝奇工业设计有限公司 | 一种用于洗衣机的自动抽屉盒及其控制方法 |
| US10768387B2 (en) * | 2018-04-06 | 2020-09-08 | Belden Canada Inc. | Cross connect system and tray |
| JP6962568B2 (ja) * | 2018-05-29 | 2021-11-05 | 日本アキュライド株式会社 | 伸縮順序機構付きスライドレール |
| DE102018118973A1 (de) * | 2018-08-03 | 2020-02-06 | Liebherr-Verzahntechnik Gmbh | Teleskopschiene |
| DE202018106058U1 (de) * | 2018-10-23 | 2020-01-24 | Accuride International Gmbh | Teleskopschiene |
Family Cites Families (3)
| Publication number | Priority date | Publication date | Assignee | Title |
|---|---|---|---|---|
| EP0620993A1 (de) * | 1993-04-23 | 1994-10-26 | Alfit Aktiengesellschaft | Vollauszug für Schubladen |
| AT406330B (de) * | 1996-01-16 | 2000-04-25 | Blum Gmbh Julius | Ausziehführung für eine schublade |
| CN2642137Y (zh) * | 2003-04-30 | 2004-09-22 | 南俊国际股份有限公司 | 增加使用寿命及可延长伸展长度的抽屉滑轨构造 |
-
2008
- 2008-04-02 DE DE202008004597U patent/DE202008004597U1/de not_active Expired - Lifetime
- 2008-04-28 CN CN200880015068XA patent/CN101720192B/zh not_active Expired - Fee Related
- 2008-04-28 ES ES08759387.7T patent/ES2640977T3/es active Active
- 2008-04-28 EP EP08759387.7A patent/EP2144530B1/de not_active Not-in-force
- 2008-04-28 WO PCT/EP2008/055157 patent/WO2008135425A1/de not_active Ceased
Non-Patent Citations (1)
| Title |
|---|
| None * |
Cited By (3)
| Publication number | Priority date | Publication date | Assignee | Title |
|---|---|---|---|---|
| WO2019042980A1 (de) | 2017-09-01 | 2019-03-07 | Paul Hettich Gmbh & Co. Kg | Auszugsführung |
| DE102017120181A1 (de) | 2017-09-01 | 2019-03-07 | Paul Hettich Gmbh & Co. Kg | Auszugsführung |
| DE102017120181B4 (de) | 2017-09-01 | 2026-03-05 | Paul Hettich Gmbh & Co. Kg | Auszugsführung |
Also Published As
| Publication number | Publication date |
|---|---|
| WO2008135425A1 (de) | 2008-11-13 |
| DE202008004597U1 (de) | 2008-09-18 |
| CN101720192B (zh) | 2011-12-21 |
| EP2144530A1 (de) | 2010-01-20 |
| CN101720192A (zh) | 2010-06-02 |
| ES2640977T3 (es) | 2017-11-07 |
Similar Documents
| Publication | Publication Date | Title |
|---|---|---|
| EP2144530B1 (de) | Teleskopführungsschiene | |
| AT509540B1 (de) | Ausziehführung für schubladen | |
| EP2916688B1 (de) | Schubladenausziehführung | |
| DE112009000174B4 (de) | Gleitführungen für Schubladensysteme und Verschlussmechaniken | |
| AT506062B1 (de) | Rollen-ausziehführung | |
| DE202005004336U1 (de) | Selbsteinzugsvorrichtung für bewegliche Möbelteile | |
| DE202008016409U1 (de) | Selbsteinzugsvorrichtung und Auszugsführung | |
| AT521133B1 (de) | Führungssystem zur Führung eines bewegbar gelagerten Türflügels | |
| AT513856B1 (de) | Selbsteinzugsvorrichtung für ein verschiebbares Möbelteil | |
| EP3838069A1 (de) | Schubladenausziehführung | |
| WO2019033136A1 (de) | Schubladenausziehführung | |
| EP0957714B1 (de) | Unterflur-ausziehführung für schubladen etc. | |
| WO2006106029A1 (de) | Teleskopführung für ein in einem möbelkorpus verschiebbar angeordnetes möbelteil | |
| AT517479B1 (de) | Schubladenausziehführung | |
| EP1384420B1 (de) | Gedämpfte Selbsteinzugseinrichtung | |
| EP2716182B1 (de) | Ausziehführung für ein aus einem Möbelkorpus ausziehbares Möbelteil | |
| WO2024231439A1 (de) | Differenzialausziehführung | |
| EP1103690A1 (de) | Rauchabzugsvorrichtung | |
| EP4003095B1 (de) | Schubladenausziehführung | |
| AT406109B (de) | Ausziehführungsgarnitur für schubladen | |
| EP1721547B1 (de) | Seitenführung für ein aus einem Hochschrankkorpus ausziehbares Hochschrankteil | |
| DE202004007227U1 (de) | Schubladenführung | |
| DE20318735U1 (de) | Teleskopführungsschiene für Möbelauszüge wie Schubkästen o.dgl. | |
| WO2024239031A1 (de) | Schubladenausziehführung | |
| CH681271A5 (de) |
Legal Events
| Date | Code | Title | Description |
|---|---|---|---|
| PUAI | Public reference made under article 153(3) epc to a published international application that has entered the european phase |
Free format text: ORIGINAL CODE: 0009012 |
|
| 17P | Request for examination filed |
Effective date: 20091023 |
|
| AK | Designated contracting states |
Kind code of ref document: A1 Designated state(s): AT BE BG CH CY CZ DE DK EE ES FI FR GB GR HR HU IE IS IT LI LT LU LV MC MT NL NO PL PT RO SE SI SK TR |
|
| AX | Request for extension of the european patent |
Extension state: AL BA MK RS |
|
| DAX | Request for extension of the european patent (deleted) | ||
| REG | Reference to a national code |
Ref country code: DE Ref legal event code: R079 Ref document number: 502008015411 Country of ref document: DE Free format text: PREVIOUS MAIN CLASS: A47B0088100000 Ipc: A47B0088493000 |
|
| GRAP | Despatch of communication of intention to grant a patent |
Free format text: ORIGINAL CODE: EPIDOSNIGR1 |
|
| RIC1 | Information provided on ipc code assigned before grant |
Ipc: A47B 88/493 20170101AFI20170120BHEP |
|
| INTG | Intention to grant announced |
Effective date: 20170210 |
|
| GRAS | Grant fee paid |
Free format text: ORIGINAL CODE: EPIDOSNIGR3 |
|
| GRAA | (expected) grant |
Free format text: ORIGINAL CODE: 0009210 |
|
| AK | Designated contracting states |
Kind code of ref document: B1 Designated state(s): AT BE BG CH CY CZ DE DK EE ES FI FR GB GR HR HU IE IS IT LI LT LU LV MC MT NL NO PL PT RO SE SI SK TR |
|
| REG | Reference to a national code |
Ref country code: GB Ref legal event code: FG4D Free format text: NOT ENGLISH |
|
| REG | Reference to a national code |
Ref country code: CH Ref legal event code: EP |
|
| REG | Reference to a national code |
Ref country code: IE Ref legal event code: FG4D Free format text: LANGUAGE OF EP DOCUMENT: GERMAN |
|
| REG | Reference to a national code |
Ref country code: AT Ref legal event code: REF Ref document number: 902156 Country of ref document: AT Kind code of ref document: T Effective date: 20170715 |
|
| REG | Reference to a national code |
Ref country code: DE Ref legal event code: R096 Ref document number: 502008015411 Country of ref document: DE |
|
| REG | Reference to a national code |
Ref country code: SE Ref legal event code: TRGR |
|
| REG | Reference to a national code |
Ref country code: NL Ref legal event code: MP Effective date: 20170621 |
|
| PG25 | Lapsed in a contracting state [announced via postgrant information from national office to epo] |
Ref country code: HR Free format text: LAPSE BECAUSE OF FAILURE TO SUBMIT A TRANSLATION OF THE DESCRIPTION OR TO PAY THE FEE WITHIN THE PRESCRIBED TIME-LIMIT Effective date: 20170621 Ref country code: FI Free format text: LAPSE BECAUSE OF FAILURE TO SUBMIT A TRANSLATION OF THE DESCRIPTION OR TO PAY THE FEE WITHIN THE PRESCRIBED TIME-LIMIT Effective date: 20170621 Ref country code: NO Free format text: LAPSE BECAUSE OF FAILURE TO SUBMIT A TRANSLATION OF THE DESCRIPTION OR TO PAY THE FEE WITHIN THE PRESCRIBED TIME-LIMIT Effective date: 20170921 Ref country code: GR Free format text: LAPSE BECAUSE OF FAILURE TO SUBMIT A TRANSLATION OF THE DESCRIPTION OR TO PAY THE FEE WITHIN THE PRESCRIBED TIME-LIMIT Effective date: 20170922 Ref country code: LT Free format text: LAPSE BECAUSE OF FAILURE TO SUBMIT A TRANSLATION OF THE DESCRIPTION OR TO PAY THE FEE WITHIN THE PRESCRIBED TIME-LIMIT Effective date: 20170621 |
|
| REG | Reference to a national code |
Ref country code: ES Ref legal event code: FG2A Ref document number: 2640977 Country of ref document: ES Kind code of ref document: T3 Effective date: 20171107 |
|
| REG | Reference to a national code |
Ref country code: LT Ref legal event code: MG4D |
|
| PG25 | Lapsed in a contracting state [announced via postgrant information from national office to epo] |
Ref country code: LV Free format text: LAPSE BECAUSE OF FAILURE TO SUBMIT A TRANSLATION OF THE DESCRIPTION OR TO PAY THE FEE WITHIN THE PRESCRIBED TIME-LIMIT Effective date: 20170621 Ref country code: NL Free format text: LAPSE BECAUSE OF FAILURE TO SUBMIT A TRANSLATION OF THE DESCRIPTION OR TO PAY THE FEE WITHIN THE PRESCRIBED TIME-LIMIT Effective date: 20170621 Ref country code: BG Free format text: LAPSE BECAUSE OF FAILURE TO SUBMIT A TRANSLATION OF THE DESCRIPTION OR TO PAY THE FEE WITHIN THE PRESCRIBED TIME-LIMIT Effective date: 20170921 |
|
| PG25 | Lapsed in a contracting state [announced via postgrant information from national office to epo] |
Ref country code: RO Free format text: LAPSE BECAUSE OF FAILURE TO SUBMIT A TRANSLATION OF THE DESCRIPTION OR TO PAY THE FEE WITHIN THE PRESCRIBED TIME-LIMIT Effective date: 20170621 Ref country code: CZ Free format text: LAPSE BECAUSE OF FAILURE TO SUBMIT A TRANSLATION OF THE DESCRIPTION OR TO PAY THE FEE WITHIN THE PRESCRIBED TIME-LIMIT Effective date: 20170621 Ref country code: EE Free format text: LAPSE BECAUSE OF FAILURE TO SUBMIT A TRANSLATION OF THE DESCRIPTION OR TO PAY THE FEE WITHIN THE PRESCRIBED TIME-LIMIT Effective date: 20170621 Ref country code: SK Free format text: LAPSE BECAUSE OF FAILURE TO SUBMIT A TRANSLATION OF THE DESCRIPTION OR TO PAY THE FEE WITHIN THE PRESCRIBED TIME-LIMIT Effective date: 20170621 |
|
| PG25 | Lapsed in a contracting state [announced via postgrant information from national office to epo] |
Ref country code: PL Free format text: LAPSE BECAUSE OF FAILURE TO SUBMIT A TRANSLATION OF THE DESCRIPTION OR TO PAY THE FEE WITHIN THE PRESCRIBED TIME-LIMIT Effective date: 20170621 Ref country code: IS Free format text: LAPSE BECAUSE OF FAILURE TO SUBMIT A TRANSLATION OF THE DESCRIPTION OR TO PAY THE FEE WITHIN THE PRESCRIBED TIME-LIMIT Effective date: 20171021 |
|
| REG | Reference to a national code |
Ref country code: DE Ref legal event code: R097 Ref document number: 502008015411 Country of ref document: DE |
|
| PLBE | No opposition filed within time limit |
Free format text: ORIGINAL CODE: 0009261 |
|
| STAA | Information on the status of an ep patent application or granted ep patent |
Free format text: STATUS: NO OPPOSITION FILED WITHIN TIME LIMIT |
|
| PG25 | Lapsed in a contracting state [announced via postgrant information from national office to epo] |
Ref country code: DK Free format text: LAPSE BECAUSE OF FAILURE TO SUBMIT A TRANSLATION OF THE DESCRIPTION OR TO PAY THE FEE WITHIN THE PRESCRIBED TIME-LIMIT Effective date: 20170621 |
|
| 26N | No opposition filed |
Effective date: 20180322 |
|
| PG25 | Lapsed in a contracting state [announced via postgrant information from national office to epo] |
Ref country code: SI Free format text: LAPSE BECAUSE OF FAILURE TO SUBMIT A TRANSLATION OF THE DESCRIPTION OR TO PAY THE FEE WITHIN THE PRESCRIBED TIME-LIMIT Effective date: 20170621 |
|
| PG25 | Lapsed in a contracting state [announced via postgrant information from national office to epo] |
Ref country code: MT Free format text: LAPSE BECAUSE OF FAILURE TO SUBMIT A TRANSLATION OF THE DESCRIPTION OR TO PAY THE FEE WITHIN THE PRESCRIBED TIME-LIMIT Effective date: 20170621 |
|
| PG25 | Lapsed in a contracting state [announced via postgrant information from national office to epo] |
Ref country code: MC Free format text: LAPSE BECAUSE OF FAILURE TO SUBMIT A TRANSLATION OF THE DESCRIPTION OR TO PAY THE FEE WITHIN THE PRESCRIBED TIME-LIMIT Effective date: 20170621 |
|
| REG | Reference to a national code |
Ref country code: CH Ref legal event code: PL |
|
| REG | Reference to a national code |
Ref country code: SE Ref legal event code: EUG |
|
| REG | Reference to a national code |
Ref country code: BE Ref legal event code: MM Effective date: 20180430 |
|
| GBPC | Gb: european patent ceased through non-payment of renewal fee |
Effective date: 20180428 |
|
| REG | Reference to a national code |
Ref country code: IE Ref legal event code: MM4A |
|
| PG25 | Lapsed in a contracting state [announced via postgrant information from national office to epo] |
Ref country code: LU Free format text: LAPSE BECAUSE OF NON-PAYMENT OF DUE FEES Effective date: 20180428 Ref country code: SE Free format text: LAPSE BECAUSE OF NON-PAYMENT OF DUE FEES Effective date: 20180429 |
|
| PG25 | Lapsed in a contracting state [announced via postgrant information from national office to epo] |
Ref country code: BE Free format text: LAPSE BECAUSE OF NON-PAYMENT OF DUE FEES Effective date: 20180430 Ref country code: GB Free format text: LAPSE BECAUSE OF NON-PAYMENT OF DUE FEES Effective date: 20180428 Ref country code: CH Free format text: LAPSE BECAUSE OF NON-PAYMENT OF DUE FEES Effective date: 20180430 Ref country code: LI Free format text: LAPSE BECAUSE OF NON-PAYMENT OF DUE FEES Effective date: 20180430 |
|
| PG25 | Lapsed in a contracting state [announced via postgrant information from national office to epo] |
Ref country code: FR Free format text: LAPSE BECAUSE OF NON-PAYMENT OF DUE FEES Effective date: 20180430 Ref country code: IE Free format text: LAPSE BECAUSE OF NON-PAYMENT OF DUE FEES Effective date: 20180428 Ref country code: IT Free format text: LAPSE BECAUSE OF NON-PAYMENT OF DUE FEES Effective date: 20180428 |
|
| REG | Reference to a national code |
Ref country code: AT Ref legal event code: MM01 Ref document number: 902156 Country of ref document: AT Kind code of ref document: T Effective date: 20180428 |
|
| REG | Reference to a national code |
Ref country code: ES Ref legal event code: FD2A Effective date: 20190912 |
|
| PG25 | Lapsed in a contracting state [announced via postgrant information from national office to epo] |
Ref country code: ES Free format text: LAPSE BECAUSE OF NON-PAYMENT OF DUE FEES Effective date: 20180429 Ref country code: AT Free format text: LAPSE BECAUSE OF NON-PAYMENT OF DUE FEES Effective date: 20180428 |
|
| PG25 | Lapsed in a contracting state [announced via postgrant information from national office to epo] |
Ref country code: TR Free format text: LAPSE BECAUSE OF FAILURE TO SUBMIT A TRANSLATION OF THE DESCRIPTION OR TO PAY THE FEE WITHIN THE PRESCRIBED TIME-LIMIT Effective date: 20170621 |
|
| PG25 | Lapsed in a contracting state [announced via postgrant information from national office to epo] |
Ref country code: PT Free format text: LAPSE BECAUSE OF FAILURE TO SUBMIT A TRANSLATION OF THE DESCRIPTION OR TO PAY THE FEE WITHIN THE PRESCRIBED TIME-LIMIT Effective date: 20170621 Ref country code: HU Free format text: LAPSE BECAUSE OF FAILURE TO SUBMIT A TRANSLATION OF THE DESCRIPTION OR TO PAY THE FEE WITHIN THE PRESCRIBED TIME-LIMIT; INVALID AB INITIO Effective date: 20080428 |
|
| PG25 | Lapsed in a contracting state [announced via postgrant information from national office to epo] |
Ref country code: CY Free format text: LAPSE BECAUSE OF FAILURE TO SUBMIT A TRANSLATION OF THE DESCRIPTION OR TO PAY THE FEE WITHIN THE PRESCRIBED TIME-LIMIT Effective date: 20170621 |
|
| PGFP | Annual fee paid to national office [announced via postgrant information from national office to epo] |
Ref country code: DE Payment date: 20210421 Year of fee payment: 14 |
|
| REG | Reference to a national code |
Ref country code: DE Ref legal event code: R119 Ref document number: 502008015411 Country of ref document: DE |
|
| PG25 | Lapsed in a contracting state [announced via postgrant information from national office to epo] |
Ref country code: DE Free format text: LAPSE BECAUSE OF NON-PAYMENT OF DUE FEES Effective date: 20221103 |