EP0620993A1 - Vollauszug für Schubladen - Google Patents
Vollauszug für Schubladen Download PDFInfo
- Publication number
- EP0620993A1 EP0620993A1 EP94890070A EP94890070A EP0620993A1 EP 0620993 A1 EP0620993 A1 EP 0620993A1 EP 94890070 A EP94890070 A EP 94890070A EP 94890070 A EP94890070 A EP 94890070A EP 0620993 A1 EP0620993 A1 EP 0620993A1
- Authority
- EP
- European Patent Office
- Prior art keywords
- rail
- drawer
- extension
- slide
- guide
- Prior art date
- Legal status (The legal status is an assumption and is not a legal conclusion. Google has not performed a legal analysis and makes no representation as to the accuracy of the status listed.)
- Withdrawn
Links
- 230000008878 coupling Effects 0.000 claims description 18
- 238000010168 coupling process Methods 0.000 claims description 18
- 238000005859 coupling reaction Methods 0.000 claims description 18
- 238000003780 insertion Methods 0.000 description 4
- 230000037431 insertion Effects 0.000 description 4
- 210000000078 claw Anatomy 0.000 description 3
- 238000010276 construction Methods 0.000 description 3
- 238000006073 displacement reaction Methods 0.000 description 2
- 230000007935 neutral effect Effects 0.000 description 2
- 239000002699 waste material Substances 0.000 description 2
- 108091034120 Epstein–Barr virus-encoded small RNA Proteins 0.000 description 1
- 239000000969 carrier Substances 0.000 description 1
- 230000018109 developmental process Effects 0.000 description 1
- 230000012447 hatching Effects 0.000 description 1
- 230000014759 maintenance of location Effects 0.000 description 1
- 230000007257 malfunction Effects 0.000 description 1
- 239000000463 material Substances 0.000 description 1
- 230000000007 visual effect Effects 0.000 description 1
Images
Classifications
-
- A—HUMAN NECESSITIES
- A47—FURNITURE; DOMESTIC ARTICLES OR APPLIANCES; COFFEE MILLS; SPICE MILLS; SUCTION CLEANERS IN GENERAL
- A47B—TABLES; DESKS; OFFICE FURNITURE; CABINETS; DRAWERS; GENERAL DETAILS OF FURNITURE
- A47B88/00—Drawers for tables, cabinets or like furniture; Guides for drawers
- A47B88/40—Sliding drawers; Slides or guides therefor
- A47B88/49—Sliding drawers; Slides or guides therefor with double extensible guides or parts
- A47B88/493—Sliding drawers; Slides or guides therefor with double extensible guides or parts with rollers, ball bearings, wheels, or the like
-
- A—HUMAN NECESSITIES
- A47—FURNITURE; DOMESTIC ARTICLES OR APPLIANCES; COFFEE MILLS; SPICE MILLS; SUCTION CLEANERS IN GENERAL
- A47B—TABLES; DESKS; OFFICE FURNITURE; CABINETS; DRAWERS; GENERAL DETAILS OF FURNITURE
- A47B2210/00—General construction of drawers, guides and guide devices
- A47B2210/0002—Guide construction for drawers
- A47B2210/0029—Guide bearing means
- A47B2210/0032—Balls
-
- A—HUMAN NECESSITIES
- A47—FURNITURE; DOMESTIC ARTICLES OR APPLIANCES; COFFEE MILLS; SPICE MILLS; SUCTION CLEANERS IN GENERAL
- A47B—TABLES; DESKS; OFFICE FURNITURE; CABINETS; DRAWERS; GENERAL DETAILS OF FURNITURE
- A47B2210/00—General construction of drawers, guides and guide devices
- A47B2210/0002—Guide construction for drawers
- A47B2210/0029—Guide bearing means
- A47B2210/0037—Rollers
-
- A—HUMAN NECESSITIES
- A47—FURNITURE; DOMESTIC ARTICLES OR APPLIANCES; COFFEE MILLS; SPICE MILLS; SUCTION CLEANERS IN GENERAL
- A47B—TABLES; DESKS; OFFICE FURNITURE; CABINETS; DRAWERS; GENERAL DETAILS OF FURNITURE
- A47B2210/00—General construction of drawers, guides and guide devices
- A47B2210/0002—Guide construction for drawers
- A47B2210/0051—Guide position
- A47B2210/0056—Guide located at the bottom of the drawer
-
- A—HUMAN NECESSITIES
- A47—FURNITURE; DOMESTIC ARTICLES OR APPLIANCES; COFFEE MILLS; SPICE MILLS; SUCTION CLEANERS IN GENERAL
- A47B—TABLES; DESKS; OFFICE FURNITURE; CABINETS; DRAWERS; GENERAL DETAILS OF FURNITURE
- A47B2210/00—General construction of drawers, guides and guide devices
- A47B2210/0002—Guide construction for drawers
- A47B2210/0051—Guide position
- A47B2210/0059—Guide located at the side of the drawer
-
- A—HUMAN NECESSITIES
- A47—FURNITURE; DOMESTIC ARTICLES OR APPLIANCES; COFFEE MILLS; SPICE MILLS; SUCTION CLEANERS IN GENERAL
- A47B—TABLES; DESKS; OFFICE FURNITURE; CABINETS; DRAWERS; GENERAL DETAILS OF FURNITURE
- A47B2210/00—General construction of drawers, guides and guide devices
- A47B2210/0002—Guide construction for drawers
- A47B2210/0064—Guide sequencing or synchronisation
- A47B2210/007—Three slide synchronisation
Definitions
- the invention relates to a full extension for drawers, with a fixed body rail, a middle rail and a drawer rail, the middle rail is guided on the body rail and the drawer rail on the middle rail and locks for limiting the extension lengths of the drawer rail from the middle rail and the middle rail from the body rail are provided.
- full pull-outs of this type have the basic advantage that they make access to the rear part of the drawer, which remains in the carcase, more difficult because of the extension loss path due to the necessary overlap of the two slides in the final pull-out position As the name suggests, allow the drawer to be pulled out completely.
- the rails can be guided against one another by rollers and guideways which are usually designed as flanges.
- rollers and guideways which are usually designed as flanges.
- Other possibilities are to use roller carriages between two interacting guideways of successive rails or to use ball carriages instead of roller carriages.
- ball guides in which balls held in one cage roll on a corresponding guideway of the following rail in a cage.
- the three rails have the same lengths, approximately extending over the length of the shop, and are accommodated in the gap between the shop side wall and the body, the central rail preferably being designed as an S-rail, so that the guideways of this rail for shop and Body rail can be attached one above the other and a small thickness of the guide is made possible.
- so-called underfloor pull-outs are also known, which are preferably implemented as single pull-outs and in which the drawer rail is attached to the drawer floor or in a recess in the drawer floor or on the side wall of the drawer projecting downward beyond the drawer floor and with it engaged body rail is attached to the body via cranked carriers.
- the object of the invention is to provide a full extension of the type mentioned, which allows a simplified design compared to the previous construction, enables simplified assembly and in which with simple Means a self-closing of the drawer can be realized from a certain insertion position.
- the drawer rail is designed as an underfloor rail and the body rail can be attached to the body next to the drawer, the width of the middle rail extending from the drawer rail to the body rail in the area under the drawer being the counter guides for the drawer rail and in the area protruding laterally above the drawer has the counter-guides for the body rail.
- the drawer rail and the part of the middle rail assigned to it can be attached to the underside of the drawer and thus remain largely invisible when the drawer is pulled out.
- the carcass rail and the part of the central rail assigned to it replace the necessary supports there compared to the previously known underfloor pull-outs.
- the greater part of the possible total pull-out length is determined by the pull-out of the drawer slide from the central rail and the body rail has only a length corresponding to the rest of the pull-out length. This is based on the consideration that for the majority of the shop operations, no full extension, but only a partial extension is carried out, for which a single extension would in itself be sufficient.
- the shortened design of the carcass rail not only results in material savings, but also the assembly of the carcass rail is simplified, since it can only be carried out in the front carcass area. If a roller carriage or ball carriage guide is provided between the center rail and the body rail, i.e.
- the body rail can be shortened further reach the given assigned extension length. It is also possible to provide a roller carriage or ball carriage guide between the middle rail and the shop rail in addition to all other known guides, which results in the possibility that only the drawer rail extends over the extended length, but the length of the waste rail can correspond to the shorter body rail.
- the guide formed between the drawer rail and the waste rail is preferably designed in a manner known per se by inclined regions of the guideways of the rails or spring-operated pull-in elements as a self-closing guide for the drawer. If early visibility of the rails in the side area of the drawer is irrelevant and there are no difficulties in installing a longer cabinet rail, it is of course also possible to design the structure so that the middle rail first comes out of the cabinet rail and then the drawer rail the middle rail is pulled out, with the drawer rail first being pushed into the middle rail and then the middle rail being pushed into the carcass rail. In this special case, you will provide the self-run-in bevels or other corresponding guides or feed elements between the middle rail and carcass rail.
- form-locking coupling elements are preferably provided with the locks that limit the drawer lengths, which when pulling out and closing the drawer via stops, control edges or control slides can be actuated so that they couple the middle rail to the body rail at the start of the pull-out, but switch when the full extension length of the drawer rail is reached from the middle rail and, with the connection to the body rail released, couple the drawer rail to the middle rail that can now be pulled out together with it and can be reset with the body rail when retracting into the coupling position of the center rail.
- the coupling elements can be as on the Center rail mounted swivel or slide latches are formed, for which, associated with the switchover points, counter catches are provided in the body and drawer rail or in the body and drawer. If a trolley or ball trolley guide is used, the bolts can also interact with one of these trolleys.
- An extremely reliable and low-noise embodiment consists in the fact that the coupling elements are arranged on the middle rail, one above the other, transversely to the direction of extension, and each have an associated approximately normal to the main plane of the slide, z. B. designed as a retaining bolt on the drawer rail and the body rail, which are attached at a transverse distance from one another, that the two slides have open guide slots for the two retaining bolts according to the side pointing away from the pull-out direction, the one slot one when entering or Extending the bolt forms a transverse adjustment of the slide effecting guide and the other slot merges into a transverse locking extension for the other bolt and the corresponding slots in the two slides are placed opposite one another, so that the bolt connected to the drawer rail when the full extension of the Loading rail from the central rail by adjusting the one slide via the link guide releases the lock of the bolt held up to then in the locking extension of the other slot of the same slide and connected to the body rail and this bolt when leaving the ski Eber adjusts the slider guide of the
- This drawer rail is a U-rail with an integrally formed, lower guide flange 5.
- a roller cage 6 with rollers 7 that can be rotated about horizontal axes and guide rollers 7 a that can be rotated about vertical axes is guided within the U-profile which forms the drawer rail 4.
- a support flange 9 of a central rail 10 engages between the rollers 7 so that they run between the web 8 of the drawer rail 4 and this support flange 9 on the one hand and on the other hand between the support flange 9 and the guide flange 5.
- the rollers 7a run between the downward-standing flange of the central rail 10 and one of the two legs of the U-profile forming the drawer rail.
- the central rail 10 likewise likewise forms a U-profile, in which the web 11 bridges the gap between the drawer 3 and the body 2.
- the second U-leg 12 has an integrally formed, but preferably also free-running ball guide cage 14, which is mounted with balls 13 on a body rail 15 fastened to the body 2.
- a coupling device generally designated 16, for alternately coupling the drawer rail 4 with the central rail 10 or the central rail 10 with the carcass rail 15.
- the locking device generally designated 16 according to FIGS. 2 to 4 is a pivot bolt 17 mounted on the central rail 10 formed, which is T-shaped in its basic form and with its ends alternately locks the rails 10, 15 and the rails 10, 4 against each other, and according to FIGS. 2 to 4 for this locking on the one hand in the shop rail also for additional control Functional edges 30 of the pivot bolt are provided or the other locking end of the bolt 17 engages in a body rail 15 lying in FIGS. 2 and 3 under the roller cage 14.
- the bolt 17 locks the rails 2, 15 against one another.
- the roller or ball cage 6, 14 is not rigidly connected to the rails 4, 15 in the embodiment according to FIGS. 2 to 4, but the rollers or balls supported in them are supported one guide flange each from the drawer rail and the middle rail or the body rail and the middle rail, so that the cages 6, 14 cover only half the extension path when they are pulled out.
- the functional edge 30 of the rail 10 releases the swivel bolt 17 and this can now emerge from the receptacle 18.
- the bolt 17 locks the drawer rail 4 with respect to the central rail 10, so that from the position shown in FIG. 3 until the final pull-out position according to FIG. 4 is reached, only the central rail 10 can be extended relative to the body rail . 4 is determined by stops.
- the central rail 10 can also be equipped with run-in slopes for the rollers of the roller cage 6 in order to ensure that the drawer 3 continues to move into the closed position when it is pushed in from a certain insertion position. If the drawer 3 is pushed in from the position according to FIG.
- pivot bolt 17 instead of the pivot bolt 17 could also another coupling device can be provided, which changes in the different pull-out limit positions from locking the central rail relative to the drawer rail to locking the central rail relative to the carcass rail and vice versa.
- a coupling device is fulfilled by a bolt which can be displaced transversely to the central rail and which, analogously, takes over the function of the pivot bolt 17 according to FIGS. 2 to 4.
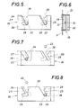
- the coupling device 16 according to FIGS. 5 to 8 has two sliders 19, 20 attached to the web 11 of the middle rail 10 with clearance from the flanges 9, 12, the slider 20 preferably being held on the middle rail 10 with holding claws 21 and the two slides 20, 19 can additionally be guided by tabs bent up from the web 11, which abut the slides 19, 20 at a distance from the holding claws 21, so that a transverse adjustment into the two positions according to FIGS. 7 and 8 is possible.
- the slide 20 has been indicated in full lines and the slide 19 in dash-dot lines in FIGS. 5, 7 and 8.
- the slides 19, 20 have open guide slots 24, 25 (slider 20) in the areas interacting with the bolts 22, 23 on the side facing away from the pull-out side of the rail and opposite (reversed) guide slots 26, 27 on the slide 19.
- the guide slots 24 , 26 have a transverse locking extension 28, 29 and the slots 24, 26 form oblique guide links.
- Fig. 5 shows a position in which the two slides 19, 20 are in a neutral middle position occurring during operation.
- Fig. 7 illustrates the state in which the pull-out eye of the drawer rail connected to the bolt 22 has just been exceeded.
- the bolt 23 leaving the link guide 26 of the slide 20 and connected to the body rail has the slide 20 from the neutral position to the right via the guide link 26 adjusted so that the bolt 22 is locked in the extension 28 of the guide slot 19 and therefore the drawer rail is held relative to the central rail, but because of the release of the bolt 23 the central rail 10 can be pulled out of the body rail.
- the slider 20 hits the bolt 23 again with its link guide 26 and moves to the left when the bolt 22 is unlocked.
- the bolt 22 can therefore emerge from the two slides 19, 20 and adjusts this slide to the right via the link guide 27 of the slider 19, so that the bolt 23 is held in the locking extension 29 of the guide slot 26 of the slider 19 and thereby again the central rail and body rail against one another be fixed.
- cooperating knobs 32 and depressions 31 can be formed on these slides, which result in a slight latching, so that undesired displacements of the slides in possibly undefined positions are avoided, if there are vibrations during the store pull-out or in the end positions, e.g. B. when slamming a drawer comes.
Landscapes
- Drawers Of Furniture (AREA)
Abstract
Bei einem Vollauszug für Schubladen, mit einer feststehenden Korpusschiene(15), einer Mittelschiene (10) und einer Ladenschiene (4), wobei die Mittelschiene (10) an der Korpusschiene (15) und die Ladenschiene (4) an der Mittelschiene (10) geführt ist und Sperren (16) zur Begrenzung der Auszugslängen der Ladenschiene (4) aus der Mittelschiene (10) und der Mittelschiene (10) aus der Korpusschiene (15) vorgesehen sind, ist die Ladenschiene (4) als Unterflurschiene ausgebildet und die Korpusschiene (15) ist neben der Lade (3) am Korpus (2) anbringbar, wobei die in ihrer Breite von der Ladenschiene (4) zur Korpusschiene (15) reichende Mlttelschiene (10) in dem unter der Lade (3) liegenden Bereich die Gegenführungen (9) für die Ladenschiene und in dem seitlich über die Lade vorstehenden Bereich die Gegenführungen (13) für die Korpusschiene (15) aufweist. <IMAGE>
Description
- Die Erfindung betrifft einen Vollauszug für Schubladen, mit einer feststehenden Korpusschiene, einer Mittelschiene und einer Ladenschiene, wobei die Mittelschiene an der Korpusschiene und die Ladenschiene an der Mittelschiene geführt ist und Sperren zur Begrenzung der Auszugslängen der Ladenschiene aus der Mittelschiene und der Mittelschiene aus der Korpusschiene vorgesehen sind.
- Vollauszüge dieser Art haben gegenüber sogenannten Einfachauszügen, die nur Korpus- und Ladenschiene aufweisen und daher wegen des durch den notwendigen Übergriff der beiden Schienen in der Endauszugsstellung gegebenen Auszugsverlustweges den Zugriff zum hinteren, im Korpus verbleibenden Teil der Schublade erschweren, den prinzipiellen Vorteil, daß sie, wie auch der Name sagt, ein völliges, geführtes Herausziehen der Schublade zulassen. Bisher ist, wenn man keine sogenannten Differentialauszüge mit dauernder Verbindung der Schienen durch Zahnräder vorsieht, bei den normalen Vollauszügen die Ein- und Äuszugsreihenfolge nicht genau definiert, was insbesondere bei im Spalt zwischen Schubladenseitenwand und Korpus angebrachten Auszügen den optischen Eindruck teilweise ausgezogener Schubladen mit verschieden weit vorstehenden Laden- und Mittelschienen stört und bei allen Auszügen den prinzipiellen Nacnteil hat, daß der häufig angestrebte Zwangseinlauf der Schublade der durch Einlaufschrägen im Endeingriffsbereich der Führungen von Laden- und Mittelschiene einfach verwirklicht werden könnte, dann nicht einwandfrei arbeitet, wenn die Mittelschiene noch zum Teil aus der Korpusschiene ausgezogen ist. Ein entsprechender einfacher Zwangseinlauf zum Selbstschließen der Schublade ab einer bestimmten Einschubstellung läßt sich daher bisher bei dieser Grundkonstruktion nur bei Einfachauszügen verwirklichen.
- Prinzipiell können bei Vollauszügen der gegenständlichen Art die Schienen aneinander durch Rollen und meist als Flansche ausgebildete Führungsbahnen geführt sein. Andere Möglichkeiten bestehen darin, zwischen zwei zusammenwirkende Führungsbahnen aufeinanderfolgender Schienen Rollenwagen einzusetzen bzw. an Stelle von Rollenwagen Kugelwagen zu verwenden. Es ist auch bekannt, Kugelführungen zu verwenden, bei denen in einem Käfig der einen Schiene gehaltene Kugeln auf einer entsprechenden Führungsbahn der folgenden Schiene abrollen.
- Bei dem bekannten Vollauszug der eingangs genannten Art besitzen die drei Schienen gleiche, etwa über die Ladenlänge reichende Längen und sind im Spalt zwischen Ladenseitenwand und Korpus untergebracht, wobei man vorzugsweise die Mittelschiene als S-Schiene ausbildet, damit die Führungsbahnen dieser Schiene für Laden- und Korpusschiene übereinander angebracht werden können und eine geringe Dicke der Führung ermöglicht wird.
Neben den oben erwähnten seitlichen Auszügen sind auch sogenannte Unterflurauszüge bekannt, die vorzugsweise als Einfachauszüge verwirklicht werden und bei denen die Ladenschiene am Ladenboden bzw. in einer Vertiefung des Ladenbodens oder an der nach unten über den Ladenboden vorragenden Seitenwand der Lade angebracht wird und die mit ihr in Eingriff stehende Korpusschiene über gekröpfte Träger am Korpus befestigt wird. Bei allen Auszügen mit über die Ladenlänge durchgehenden Korpusschienen ergibt sich das zusätzliche Problem der einwandfreien Befestigung des hinteren Schienenendes bei größeren Ladentiefen oder kleineren bzw. engen Ladenöffnungen. - Aufgabe der Erfindung ist die Schaffung eines Vollauszuges der eingangs genannten Art, der gegenüber der bisherigen Konstruktion eine vereinfachte Bauweise zuläßt, eine vereinfachte Montage ermöglicht und bei dem mit einfachen Mitteln ein Selbsteinzug der Schublade ab einer bestimmten Einschiebestellung verwirklicht werden kann.
- Die gestellte Aufgabe wird prinzipiell dadurch gelöst, daß die Ladenschiene als Unterflurschiene ausgebildet und die Korpusschiene neben der Lade am Korpus anbringbar ist, wobei die in ihrer Breite von der Ladenschiene zur Korpusschiene reichende Mlttelschiene in dem unter der Lade liegenden Bereich die Gegenführungen für die Ladenschiene und in dem seitlich über die Lade vorstehenden Bereich die Gegenführungen für die Korpusschiene aufweist.
- Die Ladenschiene und der ihr zugeordnete Teil der Mittelschiene können an der Ladenunterseite angebracht werden und bleiben also beim Ausziehen der Lade weitgehend unsichtbar. Die Korpusschiene und der ihr zugeordnete Teil der Mittelschiene ersetzen gegenüber den bisher bekannten Unterflurauszügen die dort notwendigen Träger.
- Nach einer bevorzugten Ausgestaltung ist vorgesehen, daß der größere Teil der möglichen Gesamtauszugslänge durch den Auszug der Ladenschiene aus der Mittelschiene bestimmt ist und die Korpusschiene nur eine dem Rest der Auszugslänge entsprechende Länge aufweist. Hier geht von der Überlegung aus, daß beim größeren Teil der Ladenbetätigungen kein Vollauszug, sondern nur ein Teilauszug vorgenommen wird, für den an sich ein Einfachauszug ausreichen würde. Durch die verkürzte Ausgestaltung der Korpusschiene ergibt sich nicht nur eine Materialersparnis, sondern die Montage der Korpusschiene wird auch, da sie nur im vorderen Korpusbereich vorzunehmen ist, vereinfacht. Wenn man zwischen Mittelschiene und Korpusschiene eine Rollenwagen- oder Kugelwagenführung vorsieht, also Rollen und/oder Kugeln in einem Käfig unterbringt, der bei der Verschiebung der über diesen Wagen aneinandergeführten Schienen sich nur um die halbe Auszugslänge bewegt, kann man eine weitere Verkürzung der Korpusschiene bei gegebener zugeordneter Auszugslänge erreichen. Man kann auch zwischen Mittelschiene und Ladenschiene neben allen anderen bekannten Führungen eine Rollenwagen- oder Kugelwagenführung vorsehen, wodurch sich die Möglichkeit ergibt, daß nur die Ladenschiene über die Auszugslänge reicht, die Länge der Mlttelschiene aber der kürzeren Korpusschiene entsprechen kann.
- Um einen Selbsteinlauf zu ermöglichen, ist vorzugsweise die zwischen Ladenschiene und Mlttelschiene gebildete Führung in an sich bekannter Weise durch Schrägbereiche der Führungsbahnen der Schienen oder federbetätigte Einzugselemente als selbstschließende Führung für die Lade ausgebildet. Falls eine frühe Sichtbarkeit der Schienen im Seitenbereich der Lade keine Rolle spielt und auch keine Schwierigkeiten bei der Montage einer längeren Korpusschiene bestehen, ist es selbstverständlich auch möglich, die Konstruktion so zu treffen, daß zuerst die Mittelschiene aus der Korpusschiene und dann erst die Ladenschiene aus der Mittelschiene ausgezogen wird, wobei beim Einlauf zuerst die Ladenschiene in die Mittelschiene und dann die Mittelschiene in die Korpusschiene eingeschoben wird. In diesem Sonderfall wird man die Selbsteinlaufeinzugsschrägen bzw. andere entsprechende Führungen oder Einzugselemente zwischen Mittelschiene und Korpusschiene vorsehen.
- Um die Funktion des einfachen Seibsteinlaufes zu gewährleisten und zusätzlich zu erreichen, daß beim Teilauszug an den Ladenseiten noch keine Führungsschiene sichtbar wird, sind vorzugsweise mit den die Auszuglängen begrenzenden Sperren kombinierte, formschlüssige Kupplungselemente vorgesehen, die beim Ausziehen und Einfahren des Auszuges über Anschläge, Steuerkanten oder Steuerkulissen betätigbar sind, so daß sie bei Auszugsbeginn die Mittelschiene mit der Korpusschiene kuppeln, beim Erreichen der vollen Auszugslänge der Ladenschiene aus der Mittelschiene aber umschalten und unter Freigabe der Verbindung mit der Korpusschiene die Ladenschiene mit der nun mit gemeinsam mit ihr ausziehbaren Mittelschiene kuppeln und beim Einfahren wieder in die Kupplungslage der Mittelschiene mit der Korpusschiene rückstellbar sind.
- Bei einer einfachen Ausführung können die Kupplungselemente als an der Mittelschiene gelagerte Schwenk- oder Schieberiegel ausgebildet sein, für die, den Umschaltstellen zugeordnet, in der Korpus- und Ladenschiene bzw. in Korpus und Lade Gegenrasten vorgesehen sind. Bei Verwendung einer Rollwagen- oder Kugelwagenführung können die Riegel auch mit einem dieser Wägen zusammenwirken.
- Eine äußerst betriebssichere und dabei beim Betrieb geräuscharme Ausführungsform besteht darin, daß die Kupplungselemente zwei auf der Mittelschiene übereinander quer zur Auszugsrichtung verstellbar gehaltene Schieber und je ein zugeordnetes etwa normal der Hauptebene der Schieber angeordnetes, z. B. als Haltebolzen ausgebildetes Halteelement auf der Ladenschiene und der Korpusschiene aufweisen, die mit Querabstand voneinander angebracht sind, daß die beiden Schieber nach der von der Auszugsrichtung abweisenden Seite offene Führungsschlitze für die beiden Haltebolzen aufweisen, wobei der eine Schlitz eine beim Ein- bzw. Ausfahren des Bolzens eine Querverstellung des Schiebers bewirkende Kulissenführung bildet und der andere Schlitz in einen querverlaufenden Sperrfortsatz für den anderen Bolzen übergeht und die entsprechenden Schlitze in den beiden Schiebern gegengleich übereinander angebracht sind, so daß der mit der Ladenschiene verbundene Bolzen beim Erreichen des vollen Auszuges der Ladenschiene aus der Mittelschiene durch Verstellung des einen Schiebers über die Kulissenführung die Sperre des bis dahin im Sperrfortsatz des anderen Schlitzes des gleichen Schiebers gehaltenen, mit der Korpusschiene verbundenen Bolzens aufhebt und dieser Bolzen beim Verlassen der Schieber über die ihm zugeordnete Külissenführung des anderen Schiebers diesen in die Sperrlage für den mit der Ladenschiene verbundenen Bolzen verstellt. Statt einem Bolzen kann als Halteelement auch ein anderer, z. B. aus der jeweiligen Schiene aufgebogener und profilierter Lappen ausgebildeter Bauteil bzw. eine ausgeformte Kralle Verwendung finden.
- Um Funktionsstörungen durch beim Öffnen und Schließen anderer Laden im gleichen Möbelteil bzw. bei nur geringem Auszug der geführten Lade auftretende Erschütterungen zu vermeiden, sind in Weiterbildung der zuletzt beschriebenen Konstruktion die beiden Schieber in den beiden, der Sperre jeweils eines Bolzens entsprechenden, möglichen Endstellungen durch in Vertiefungen des einen Schiebers eingreifende Noppen od. dgl. des anderen Schiebers gesichert und nur unter Überwindung der Rückhaltekraft dieser Noppen aus der jeweiligen Lage verstellbar.
- Weitere Einzelheiten und Vorteile des Erfindungsgegenstandes entnimmt man der nachfolgenden Zeichnungsbeschreibung.
- In der Zeichnung ist der Erfindungsgegenstand beispielsweise veranschaulicht.
Es zeigen - Fig. 1
- ein Teilstück einer in einen Korpus eingreifenden mit einem erfindungsgemäßen Vollauszug ausgestatteten Schublade im Querschnitt,
- Fig. 2
- schematisch in Draufsicht einen Vollauszug mit einer Verriegelungsvorrichtung in eingefahrenem Zustand,
- Fig. 3
- den Vollauszug nach Fig. 2 bei voll ausgezogener Ladenschiene in dem Moment, in dem die Verriegelung umgeschaltet wird,
- Fig. 4
- den Vollauszug nach den Fig. 2 und 3 in voll ausgezogener Stellung (Überauszug),
- Fig. 5
- eine aus zwei Kupplungselementen und Haltebolzen bestehende Kupplungsvorrichtung in der Grundstellung in Draufsicht,
- Fig. 6
- einen Längsmittelschnitt zu Fig. 5,
- Fig. 7
- die Kupplungsvorrichtung nach Fig. 5 in der Kupplungsstellung von La denschiene und Mlttelschiene und
- Fig. 8
- die gleiche Kupplungsvorrichtung in der Kupplungsstellung von Mittelschiene und Korpusschiene.
- In den Fig. 1 bis 4 der Zeichnung wurde jeweils nur ein Vollauszug 1 mit der entsprechenden Korpuswand 2 und dem Boden 3 einer Lade veranschaulicht. Beim Ausführungsbeispiel nach Fig. 1 ist eine Ladenschiene 4 unterhalb des Ladenbodens neben einer nach unten gezogenen Seitenwand angebracht.
- Diese Ladenschiene ist eine U-Schiene mit angeformtem, unterem Führungsflansch 5. Ein Rollenkäfig 6 mit um horizontale Achsen drehbaren Laufrollen 7 und um vertikale Achsen drehbaren Führungslaufrollen 7a ist innerhalb des aus die Ladenschiene 4 bildenden U-Profiles geführt. Ein Tragflansch 9 einer Mitteschiene 10 greift zwischen die Rollen 7 ein, so daß diese zwischen dem Steg 8 der Ladenschiene 4 und diesem Tragflansch 9 einerseits und anderseits zwischen dem Tragflansch 9 und dem Führungsflansch 5 laufen. Die Rollen 7a laufen zwischen dem nach unten gezogenen stehenden Flansch der Mittelschiene 10 und je einem der beiden Schenkel des die Ladenschiene bildenden U-Profil.
- Die Mitteschiene 10 bildet in ihrer Grundform ebenfalls ebenfalls ein U-Profil, bei dem der Steg 11 den Spalt zwischen Lade 3 und Korpus 2 überbrückt. Der zweite U-Schenkel 12 besitzt einen angeformt dargestellten, vorzugsweise aber ebenfalls freilaufenden Kugelführungskäfig 14, der mit Kugeln 13 auf einer am Korpus 2 befestigten Korpusschiene 15 gelagert ist. Am Steg 11 des Mittelschienenprofiles liegt eine allgemein mit 16 bezeichnete Kupplungsvorrichtung für die wechselweise Kupplung der Ladenschiene 4 mit der Mittelschiene 10 bzw. der Mittelschiene 10 mit der Korpusschiene 15 auf.
- Wie schon erwähnt wurde, wurden in den Fig. 2 bis 4 die Ladenschiene 4, die Mittelschiene 10 und die Korpusschiene 15 nur einfach in ihren Umrissen dargestellt. Der Rollenkäfig 6 und der Kugelkäfig 14 wurden einfach schraffiert angedeutet. Wie man sieht, reicht nur die Ladenschiene 4 über die gesamte Länge des Ladenbodens 3. Zur Bestimmung der Auszugs- und Einschubreihen- folge des Vollauszuges ist die allgemein mit 16 bezeichnete Verriegelungsvorrichtung nach den Fig. 2 bis 4 als auf der Mittelschiene 10 gelagerter Schwenkriegel 17 ausgebildet, der in seiner Grundform T-förmig ausgeführt ist und mit seinen Enden wechselweise die Schienen 10. 15 bzw. die Schienen 10, 4 gegeneinander verriegelt, wobei nach den Fig. 2 bis 4 für diese Verriegelung einerseits in der Ladenschiene auch zur zusätzlichen Steuerung des Schwenkriegels dienende Funktionskanten 30 vorgesehen sind bzw. das andere Verriegelungsende des Riegels 17 in eine in Fig. 2 und 3 unter dem Rollenkäfig 14 liegende der Korpusschiene 15 eingreift.
- In der eingefahrenen Stellung nach Fig. 2 verriegelt der Riegel 17 die Schienen 2, 15 gegeneinander. Beim Auszug der Lade 3 kann daher nur die Ladenschiene 4 ausgezogen werden. Wie auch bei der Ausführung nach Fig. 1 ist bei der Ausführung nach Fig. 2 bis 4 der Rollen- bzw. Kugelkäfig 6, 14 nicht starr mit den Schienen 4, 15 verbunden, sondern die in ihnen gelagerten Rollen bzw. Kugeln stützen sich auf je einen Führungsflansch der Ladenschiene und der Mittelschiene bzw. der Korpusschiene und der Mittelschiene ab, so daß die Käfige 6, 14 beim Auszug nur den halben Auszugsweg zurücklegen.
- Sobald der volle zulässige Auszug der Ladenschiene 4 aus der Mittelschiene 10 erreicht ist, gibt die Funktionskante 30 der Schiene 10 den Schwenkriegel 17 frei und dieser kann nun aus der Aufnahme 18 austreten. Bei der weiteren Verschiebung (Fig. 4) verriegelt der Riegel 17 die Ladenschiene 4 gegenüber der Mitteschiene 10, so daß ab der Stellung nach Fig. 3 bis zum Erreichen der Endauszugsstellung nach Fig. 4 nur mehr die Mittelschiene 10 gegenüber der Korpusschiene ausgefahren werden kann. Die Endauszugsstellung nach Fig. 4 ist durch Anschläge bestimmt. Die Mittelschiene 10 kann ferner mit Einlaufschrägen für die Rollen des Rollenkäfigs 6 ausgestattet sein, um zu erreichen, daß die Lade 3 beim Einschieben von selbst ab einer bestimmten Einschubstellung in die Schließstellung weiterfährt. Wird die Lade 3 aus der Stellung nach Fig. 4 eingeschoben, dann kann zunächst wegen des Riegels 17 nur die Mitteschiene 10 in die Korpusschiene 15 einziehen. Sobald die Rast 18 erreicht ist, kann der Riegel 17 umschwenken, so daß er nun in der eingeschobenen Stellung die Mittelschiene 10 gegenüber der Ladenschiene 4 verriegelt und in dieser Stellung bis zum Erreichen der vollen Einschubstellung durch die Schiene 4, die Funktionskante 30, die Verriegelungsvertiefung 18 bzw den Eingriff hinter der Korpusschiene 15 gesichert ist.
- Nach einer Ausführungsvariante könnte an Stelle des Schwenkriegels 17 auch eine andere Kupplungseinrichtung vorgesehen werden, die in den verschiedenen Auszugsgrenzstellungen von einer Verriegelung der Mittelschiene gegenüber der Ladenschiene zur Verriegelung der Mittelschiene gegenüber der Korpusschiene und umgekehrt wechselt. Nach einer Möglichkeit wird eine solche Kupplungsvorrichtung durch einen über Anschläge gesteuerten quer zur Mittelschiene verschiebbaren Riegel erfüllt, der sinngemäß die Funktion des Schwenkriegels 17 nach den Fig. 2 bis 4 übernimmt.
- Die Kupplungsvorrichtung 16 nach den Fig. 5 bis 8 besitzt zwei am Steg 11 der Mitteschiene 10 mit Spielabstand von den Flanschen 9, 12 angebrachte Schieber 19, 20, wobei der Schieber 20 vorzugsweise mit Haltepratzen 21 an der Mittelschiene 10 gehalten ist und die beiden Schieber 20, 19 zusätzlich durch aus dem Steg 11 aufgebogene Lappen, die mit Abstand von den Haltepratzen 21 an den Schiebern 19, 20 anliegen, geführt sein können, so daß eine Querverstellung in die beiden Lagen nach den Fig. 7 und 8 möglich ist. Der besseren Übersichtlichkeit halber wurden in den Fig. 5, 7 und 8 der Schieber 20 in vollen Linien und der Schieber 19 strichpunktiert angedeutet. In den mit der Mittelschiene 10 möglichen Verstellbereich der beiden Schieber ragen zwei Haltebolzen 22, 23, wobei der Haltebolzen 22 mit der Ladenschiene und der Bolzen 23 mit der Korpusschiene verbunden ist. Die Schieber 19, 20 besitzen in den mit den Bolzen 22, 23 zusammenwirkenden Bereichen nach der von der Auszugsseite der Schiene abweisenden Seite offene Führungsschlitze 24, 25 (Schieber 20) und gegengleiche (seitenvertauschte) Führungsschlitze 26, 27 am Schieber 19. Die Führungsschlitze 24, 26 besitzen einen querverlaufenden Sperrfortsatz 28, 29 und die Schlitze 24, 26 bilden schräg verlaufende Führungskulissen.
- Fig. 5 zeigt eine Stellung, in der sich die beiden Schieber 19, 20 in einer neutralen, beim Betrieb vorkommenden Mittellage befinden. Fig. 7 veranschaulicht den Zustand, in dem gerade das Auszugsenae der Ladenschiene, die mit dem Bolzen 22 verbunden ist, überschritten wurde. Der die Kulissenführung 26 des Schiebers 20 verlassende, mit der Korpusschiene verbundene Bolzen 23 hat über die Führungskulisse 26 den Schieber 20 aus der Neutrallage nach rechts verstellt, so daß der Bolzen 22 im Fortsatz 28 des Führungschlitzes 19 verriegelt ist und daher die Ladenschiene gegenüber der Mittelschiene festgehalten wird, wegen der Freigabe des Bolzens 23 aber ein Ausziehen der Mittelschiene 10 aus der Korpusschiene ermöglicht wird. Beim Einfahren der Mittelschiene in die Korpusschiene trifft der Schieber 20 mit seiner Kulissenführung 26 wieder auf den Bolzen 23 auf und verschiebt sich unter Entriegelung des Bolzens 22 nach links. Der Bolzen 22 kann daher aus den beiden Schiebern 19, 20 austreten und verstellt über die Kulissenführung 27 des Schiebers 19 diesen Schieber nach rechts, so daß der Bolzen 23 im Sperrfortsatz 29 des Führungsschlitzes 26 des Schiebers 19 festgehalten wird und dadurch wieder Mittelschiene und Korpusschiene gegeneinander fixiert werden. Zur Fixierung der Schieber 19, 20 in den beiden Verriegelungsendstellungen nach den Fig. 7 und 8 können an diesen Schiebern zusammenwirkende Noppen 32 und Vertiefungen 31 ausgebildet werden, die eine leichte Verrastung ergeben, so daß unerwünschte Verstellungen der Schieber in gegebenenfalls undefinierte Lagen vermieden werden, wenn es während des Ladenauszuges oder auch in den Endstellungen zu Erschütterungen, z. B. beim Zuschlagen einer Lade, kommt.
Claims (9)
- Vollauszug für Schubladen, mit einer feststehenden Korpusschiene (15), einer Mittelschiene (10) und einer Ladenschiene (4), wobei die Mittelschiene (10) an der Korpusschiene (15) und die Ladenschiene (4) an der Mittelschiene (10) geführt ist und Sperren (16) zur Begrenzung der Auszugslängen der Ladenschiene (4) aus der Mittelschiene (10) und der Mittelschiene (10) aus der Korpusschiene (15) vorgesehen sind, dadurch gekennzeichnet, daß die Ladenschiene (4) als Unterflurschiene ausgebildet und die Korpusschiene (15) neben der Lade (3) am Korpus (2) anbringbar ist, wobei die in ihrer Breite von der Ladenschiene (4) zur Korpusschiene (15) reichende Mittelschiene (10) in dem unter der Lade (3) liegenden Bereich die Gegenführungen (9) für die Ladenschiene und in dem seitlich über die Lade vorstehenden Bereich die Gegenführungen (13) für die Korpusschiene (15) aufweist.
- Vollauszug nach Anspruch 1, dadurch gekennzeichnet, daß der größere Teil der möglichen Gesamtauszugslänge durch den Auszug der Ladenschiene (4) aus der Mittelschiene (10) bestimmt ist und die Korpusschiene (15) nur eine dem Rest der Auszugslänge entsprechende Länge aufweist.
- Vollauszug nach den Ansprüchen 1 und 2, dadurch gekennzeichnet, daß zwischen Mitteschiene (10) und Korpusschiene (15) eine Rollwagen- oder Kugewagenführung (13, 14) vorgesehen ist.
- Vollauszug nach einem der Ansprüche 1 bis 3, dadurch gekennzeichnet, daß auch zwischen Mitteschiene (10) und Ladenschiene (4) eine Rollenwagen- oder Kugelwagenführung (6) vorgesehen ist und nur die Ladenschiene über die Auszugslänge reicht, die Länge der Mittelschiene aber der kürzeren Korpusschiene (15) entspricht.
- Vollauszug nach einem der Ansprüche 1 bis 4, dadurch gekennzeichnet, daß die zwischen Ladenschiene (4) und Mittelschiene (10) gebildete Führung in an sich bekannter Weise durch Schrägbereiche der Führungsbahnen oder federbetätigte Einzugselemente als selbstschließende Führung für die Lade ausgebildet ist.
- Vollauszug nach einem der Ansprüche 1 bis 5, dadurch gekennzeichnet, daß, vorzugsweise mit den die Auszuglängen begrenzenden Sperren kombinierte, formschlüssige Kupplungselemente (16, 17, 19 - 31) vorgesehen sind, die beim Ausziehen und Einfahren des Auszuges über Anschläge, Steuerkanten (18) oder Steuerkulissen (25, 27) betätigbar sind, so daß sie bei Auszugsbeginn die Mitteschiene (10) mit der Korpusschiene (15) kuppeln, beim Erreichen der vollen Auszugslänge der Ladenschiene (4) aus der Mittelschiene aber umschalten und unter Freigabe der Verbindung mit der Korpusschiene die Ladenschiene mit der nun mit gemeinsam mit ihr ausziehbaren Mittelschiene kuppeln und beim Einfahren wieder in die Kupplungslage der Mittelschiene mit der Korpusschiene rückstellbar sind.
- Vollauszug nach Anspruch 6, dadurch gekennzeichnet, daß die Kupplungselemente als an der Mittelschiene (10) gelagerte Schwenk- oder Schieberiegel (17) ausgebildet sind. für die. den Umschaltstellen zugeordnet, in der Korpus und Ladenschiene bzw. in Korpus und Lade Gegenrasten (18) vorgesehen sind.
- Vollauszug nach Anspruch 6, dadurch gekennzeichnet, daß die Kupplungselemente (16) zwei auf der Mittelschiene (10) übereinander quer zur Auszugsrichtung verstellbar gehaltene Schieber (19, 20) und je ein zugeordnetes etwa normal der Hauptebene der Schieber angeordnetes, z. B. als Haltebolzen (22, 23) ausgebildetes Halteelement auf der Ladenschiene (4) und der Korpusschiene (15) aufweisen, die mit Querabstand voneinander angebracht sind, daß die beiden Schieber nach der von der Auszugsrichtung abweisenden Seite offene Führungsschlitze (24 - 27) für die beiden Haltebolzen aufweisen, wobei der eine Schlitz (25, 27) eine beim Ein- bzw. Ausfahren des Bolzens eine Querverstellung des Schiebers bewirkende Kulissenführung bildet und der andere Schlitz (24, 26) in einen querverlaufenden Sperrfortsatz (28, 29) für den anderen Bolzen übergeht und die entsprechenden Schlitze in den beiden Schiebern gegengleich übereinander angebracht sind, so daß der mit der Ladenschiene (4) verbundene Bolzen (22) beim Erreichen des vollen Auszuges der Ladenschiene aus der Mittelschiene durch Verstellung des einen Schiebers über die Kulissenführung (27) die Sperre des bis dahin im Sperrfortsatz (29) des anderen Schlitzes des gleichen Schiebers gehaltenen, mit der Korpusschiene verbundenen Bolzens aufhebt und dieser Bolzen (23) beim Verlassen der Schieber über die ihm zugeordnete Kulissenführung (25) des anderen Schiebers (20) diesen in die Sperrlage für den mit der Ladenschiene (4) verbundenen Bolzen (22) verstellt.
- Vollauszug nach Anspruch 8, dadurch gekennzeichnet, daß die beiden Schieber (19, 20) in den beiden, der Sperre jeweils eines Bolzens (22, 23) entsprechenden, möglichen Endstellungen durch in Vertiefungen (31) des einen Schiebers (19) eingreifende Noppen od. dgl. (32) des anderen Schiebers (20) gesichert und nur unter Überwindung der Rückhaltekraft dieser Noppen aus der jeweiligen Lage verstellbar sind.
Applications Claiming Priority (2)
| Application Number | Priority Date | Filing Date | Title |
|---|---|---|---|
| AT800/93 | 1993-04-23 | ||
| AT80093 | 1993-04-23 |
Publications (1)
| Publication Number | Publication Date |
|---|---|
| EP0620993A1 true EP0620993A1 (de) | 1994-10-26 |
Family
ID=3500016
Family Applications (1)
| Application Number | Title | Priority Date | Filing Date |
|---|---|---|---|
| EP94890070A Withdrawn EP0620993A1 (de) | 1993-04-23 | 1994-04-20 | Vollauszug für Schubladen |
Country Status (1)
| Country | Link |
|---|---|
| EP (1) | EP0620993A1 (de) |
Cited By (10)
| Publication number | Priority date | Publication date | Assignee | Title |
|---|---|---|---|---|
| US5570942A (en) * | 1994-07-27 | 1996-11-05 | Fulterer Gesellschaft M.B.H. | Under-bottom guide for pull-out drawers |
| EP0820712B1 (de) * | 1996-07-26 | 2001-05-30 | Julius Blum Gesellschaft m.b.H. | Vollauszugsführung für Schubladen |
| EP0998865A3 (de) * | 1998-10-29 | 2003-09-17 | Accuride International GmbH | Auszugsführung mit Verriegelung |
| EP1647206A2 (de) | 2004-10-14 | 2006-04-19 | Paul Hettich GmbH & Co. KG | Teleskopierbare Auszugschiene für ein ausziehbares Möbelteil |
| DE202006006065U1 (de) * | 2006-04-13 | 2007-08-23 | Alfit Ag | Unterflur-Führungsanordnung für Möbelteile, insbesondere im Korpus von Möbelstücken |
| WO2008135425A1 (de) * | 2007-05-07 | 2008-11-13 | Paul Hettich Gmbh & Co. Kg | Teleskopführungsschiene |
| WO2012052332A1 (en) * | 2010-10-18 | 2012-04-26 | Tyco Electronics Corporation India Pvt Limited | Improvements in and relating to telescopic double slide rails |
| DE102017120181A1 (de) * | 2017-09-01 | 2019-03-07 | Paul Hettich Gmbh & Co. Kg | Auszugsführung |
| CN110553188A (zh) * | 2019-10-08 | 2019-12-10 | 苏州荣文库柏照明系统股份有限公司 | 一种用于筒灯的可调节支撑梁 |
| CN114828696A (zh) * | 2019-09-30 | 2022-07-29 | 凯斯宝马控股有限公司 | 抽拉式柜体单元 |
Citations (2)
| Publication number | Priority date | Publication date | Assignee | Title |
|---|---|---|---|---|
| US2142897A (en) * | 1937-08-03 | 1939-01-03 | Melvin H Harmon | Drawer slide or guide |
| US4285560A (en) * | 1979-09-24 | 1981-08-25 | Schwab Safe Co., Inc. | Anti-racking device |
-
1994
- 1994-04-20 EP EP94890070A patent/EP0620993A1/de not_active Withdrawn
Patent Citations (2)
| Publication number | Priority date | Publication date | Assignee | Title |
|---|---|---|---|---|
| US2142897A (en) * | 1937-08-03 | 1939-01-03 | Melvin H Harmon | Drawer slide or guide |
| US4285560A (en) * | 1979-09-24 | 1981-08-25 | Schwab Safe Co., Inc. | Anti-racking device |
Cited By (12)
| Publication number | Priority date | Publication date | Assignee | Title |
|---|---|---|---|---|
| US5570942A (en) * | 1994-07-27 | 1996-11-05 | Fulterer Gesellschaft M.B.H. | Under-bottom guide for pull-out drawers |
| EP0820712B1 (de) * | 1996-07-26 | 2001-05-30 | Julius Blum Gesellschaft m.b.H. | Vollauszugsführung für Schubladen |
| EP0998865A3 (de) * | 1998-10-29 | 2003-09-17 | Accuride International GmbH | Auszugsführung mit Verriegelung |
| EP1647206A2 (de) | 2004-10-14 | 2006-04-19 | Paul Hettich GmbH & Co. KG | Teleskopierbare Auszugschiene für ein ausziehbares Möbelteil |
| EP1647206A3 (de) * | 2004-10-14 | 2012-02-15 | Paul Hettich GmbH & Co. KG | Teleskopierbare Auszugschiene für ein ausziehbares Möbelteil |
| DE202006006065U1 (de) * | 2006-04-13 | 2007-08-23 | Alfit Ag | Unterflur-Führungsanordnung für Möbelteile, insbesondere im Korpus von Möbelstücken |
| WO2008135425A1 (de) * | 2007-05-07 | 2008-11-13 | Paul Hettich Gmbh & Co. Kg | Teleskopführungsschiene |
| WO2012052332A1 (en) * | 2010-10-18 | 2012-04-26 | Tyco Electronics Corporation India Pvt Limited | Improvements in and relating to telescopic double slide rails |
| RU2615266C2 (ru) * | 2010-10-18 | 2017-04-04 | Тайко Электроникс Корпорейшн Индия Пвт Лимитед, Индия | Усовершенствования, касающиеся телескопических двойных рельсовых направляющих |
| DE102017120181A1 (de) * | 2017-09-01 | 2019-03-07 | Paul Hettich Gmbh & Co. Kg | Auszugsführung |
| CN114828696A (zh) * | 2019-09-30 | 2022-07-29 | 凯斯宝马控股有限公司 | 抽拉式柜体单元 |
| CN110553188A (zh) * | 2019-10-08 | 2019-12-10 | 苏州荣文库柏照明系统股份有限公司 | 一种用于筒灯的可调节支撑梁 |
Similar Documents
| Publication | Publication Date | Title |
|---|---|---|
| EP2770876B1 (de) | Synchronisierte verriegelung für ein bewegbares möbelteil | |
| EP2429339B1 (de) | Ausstossvorrichtung für bewegbares möbelteil | |
| EP0011675B1 (de) | Ausziehführung für Schubladen u.dgl. | |
| DE3026544A1 (de) | Ausziehfuehrungsgarnitur fuer schubladen o.dgl. | |
| EP0525153A1 (de) | Ausziehführung für schubladen. | |
| EP1500763B1 (de) | Ausziehsperreinrichtung für mindestens zwei wechselweise aus einem Möbelkorpus ausziehbare Schubladen | |
| EP0620993A1 (de) | Vollauszug für Schubladen | |
| DE4224281A1 (de) | Auszugsvorrichtung für Schrankauszüge | |
| DE9209667U1 (de) | Verschluß zur zentralen Ver- und Entriegelung von Schubladen | |
| DE102010036853B4 (de) | Vorrichtung zur Synchronisation von Schließvorrichtungen | |
| DE102008004545B4 (de) | Linearführungssystem mit Selbsteinzug | |
| EP1716778B1 (de) | Schublade für einen freistehenden Korpus, welche beidseitig ausziehbar ist | |
| AT520805A1 (de) | Ausziehführung | |
| DE4028877A1 (de) | Schubkastenauszug | |
| EP0855487B1 (de) | Führungseinrichtung für eine Schiebetür | |
| EP0809956A2 (de) | Auszugeinrichtung für ein in einem Schrankelement einschieb- und ausziehbaren Einbauteil | |
| EP0998865B1 (de) | Auszugsführung mit Verriegelung | |
| EP0639687B1 (de) | Auszugführung | |
| DE3014545C2 (de) | Schubladenführung für die Geldschublade einer Registrierkasse in Kassentischen, Verkaufstheken o.dgl. | |
| EP0523424B1 (de) | Schubladenführung | |
| EP0698707B1 (de) | Zentralverriegelungseinrichtung für einen Werkzeugwagen | |
| DE102010061137A1 (de) | Duschtrennwand oder -kabine | |
| DE1553575A1 (de) | Zentralverschluss fuer mehrere uebereinander angeordnete Schubladen und/oder Schubfaecher,insbesondere fuer Bueromoebel wie Schreibtische u.dgl. | |
| DE9407640U1 (de) | Schrank mit beidseitig ausziehbarer Lade | |
| AT406109B (de) | Ausziehführungsgarnitur für schubladen |
Legal Events
| Date | Code | Title | Description |
|---|---|---|---|
| PUAI | Public reference made under article 153(3) epc to a published international application that has entered the european phase |
Free format text: ORIGINAL CODE: 0009012 |
|
| AK | Designated contracting states |
Kind code of ref document: A1 Designated state(s): DE ES IT |
|
| STAA | Information on the status of an ep patent application or granted ep patent |
Free format text: STATUS: THE APPLICATION IS DEEMED TO BE WITHDRAWN |
|
| 18D | Application deemed to be withdrawn |
Effective date: 19950427 |