EP2061053A2 - Schaltgerät für Gleichstrom-Anwendungen - Google Patents
Schaltgerät für Gleichstrom-Anwendungen Download PDFInfo
- Publication number
- EP2061053A2 EP2061053A2 EP08019482A EP08019482A EP2061053A2 EP 2061053 A2 EP2061053 A2 EP 2061053A2 EP 08019482 A EP08019482 A EP 08019482A EP 08019482 A EP08019482 A EP 08019482A EP 2061053 A2 EP2061053 A2 EP 2061053A2
- Authority
- EP
- European Patent Office
- Prior art keywords
- switching contact
- contact element
- movable
- housing
- arc
- Prior art date
- Legal status (The legal status is an assumption and is not a legal conclusion. Google has not performed a legal analysis and makes no representation as to the accuracy of the status listed.)
- Withdrawn
Links
- 230000005291 magnetic effect Effects 0.000 claims description 37
- 238000000926 separation method Methods 0.000 claims description 28
- 238000010791 quenching Methods 0.000 claims description 25
- 230000000171 quenching effect Effects 0.000 claims description 22
- 230000015572 biosynthetic process Effects 0.000 claims description 3
- 238000007664 blowing Methods 0.000 description 3
- 238000004519 manufacturing process Methods 0.000 description 3
- 230000004048 modification Effects 0.000 description 3
- 238000012986 modification Methods 0.000 description 3
- 230000006978 adaptation Effects 0.000 description 2
- 101100390736 Danio rerio fign gene Proteins 0.000 description 1
- 101100390738 Mus musculus Fign gene Proteins 0.000 description 1
- 230000008033 biological extinction Effects 0.000 description 1
- 239000004020 conductor Substances 0.000 description 1
- 238000010276 construction Methods 0.000 description 1
- 230000006378 damage Effects 0.000 description 1
- 238000001514 detection method Methods 0.000 description 1
- 230000004907 flux Effects 0.000 description 1
- 239000000446 fuel Substances 0.000 description 1
- 238000002955 isolation Methods 0.000 description 1
- 230000003014 reinforcing effect Effects 0.000 description 1
Images
Classifications
-
- H—ELECTRICITY
- H01—ELECTRIC ELEMENTS
- H01H—ELECTRIC SWITCHES; RELAYS; SELECTORS; EMERGENCY PROTECTIVE DEVICES
- H01H9/00—Details of switching devices, not covered by groups H01H1/00 - H01H7/00
- H01H9/30—Means for extinguishing or preventing arc between current-carrying parts
- H01H9/44—Means for extinguishing or preventing arc between current-carrying parts using blow-out magnet
- H01H9/443—Means for extinguishing or preventing arc between current-carrying parts using blow-out magnet using permanent magnets
-
- H—ELECTRICITY
- H01—ELECTRIC ELEMENTS
- H01H—ELECTRIC SWITCHES; RELAYS; SELECTORS; EMERGENCY PROTECTIVE DEVICES
- H01H9/00—Details of switching devices, not covered by groups H01H1/00 - H01H7/00
- H01H9/30—Means for extinguishing or preventing arc between current-carrying parts
- H01H9/34—Stationary parts for restricting or subdividing the arc, e.g. barrier plate
- H01H9/36—Metal parts
-
- H—ELECTRICITY
- H01—ELECTRIC ELEMENTS
- H01H—ELECTRIC SWITCHES; RELAYS; SELECTORS; EMERGENCY PROTECTIVE DEVICES
- H01H1/00—Contacts
- H01H1/12—Contacts characterised by the manner in which co-operating contacts engage
- H01H1/14—Contacts characterised by the manner in which co-operating contacts engage by abutting
- H01H1/20—Bridging contacts
Definitions
- the invention relates to a switching device for DC applications, using components of switching devices for AC applications, eg. As circuit breaker, circuit breaker, switch disconnector and residual current circuit breaker is constructed.
- switching devices which have one or more current paths, which in turn comprise fixed and movable switching contact elements.
- the movable switching contact elements are movable together between a closed position, in which the mutually associated movable and stationary switching contact elements, and an open position, in which forms an insulating gap between the respectively associated movable and stationary switching contact elements.
- arc quenching devices such as arc guide rails, arc splitter stacks or Deion packages. These arcing devices divide the arcs into individual partial arcs; if the arc voltages are higher than the driving voltages, the arcs are safely erased.
- blowing magnets which generate a magnetic field with a strength and orientation which exert on the arcs a deflection force (Lorenz force), which deflects the arcs toward the arc extinguishing devices.
- Lorenz force deflection force
- the arcs are stretched as known per se, cooled and divided into partial arcs and thereby extinguished.
- Switching devices of the aforementioned type for AC applications are, for example, in DE 103 52 934 B4 .
- EP 0 980 085 B1 and EP 0 217 106 B1 describe.
- the object of the invention is to be able to inexpensively produce switching devices with DC switching capacity and -Rennerfunktion.
- This magnet can either be arranged on the outside of the housing (see above variant 1) or be integrated in one of the at least three receiving areas for the current paths (see above variant 2), in which case the respective receiving area is free of the movable switching contact element, or but is integrated in a special receiving space of the housing of the switching device for AC applications (see variant 3 above), in which normally a magnetic field amplifying element for amplifying the intrinsic magnetic field of the arc is housed.
- a special feature of the switching device according to the invention for DC applications is that by the introduction of external or internal magnets, preferably permanent magnets, the DC switching capacity of conventional AC switching devices is significantly increased. In this case, it is not necessary for each separating section and each extinguishing device to be assigned a single magnet, as is the case in known DC switching devices.
- At least one (outer) magnet is located on the outside of at least one of the two side walls of the housing. It is expedient if at least one outer magnet is arranged on both side walls.
- the or the outer magnets "enforce" with their field lines, the juxtaposed separation sections of the individual current paths within the housing.
- the magnetic flux or the magnetic field that traverses the separating sections can be amplified by a magnetic return element with which the two magnets are coupled. All of these components (one or more outer magnets and one or more return elements) can be easily disposed on the outside of the housing of the AC switching device to improve its DC switching capability.
- a housing for AC switching devices as a switching device for DC applications at least one of the current paths (and in particular at least one of the movable switching contact elements), as required for the AC application, not provided.
- AC switching devices are generally three- or four-pole, you need in DC switching devices at most two-pole versions. This makes it possible to dispense with the construction of a DC switching device based on the housing for an AC switching device on the third or the fourth current path. This also reduces the manufacturing cost of the DC switching device. But it is also possible to maintain the current paths of an AC switchgear housing and to connect at least two of the current paths in series to such a switching device for possibly single-pole Use shutdown in DC applications using multiple isolation links.
- the corresponding receiving area of the switching device housing can be used to accommodate the (blowing) magnet or an additional (blowing) magnet.
- the switching devices according to the invention can be designed as ON-OFF switching devices (so-called load switch) or as a power or circuit breaker, the addition of a load switch with additional functionality, namely the automatic detection and shutdown in the event of a short-circuit current or the like provided are.
- FIGS. 1 to 4 a first embodiment of a switching device 10 according to the invention for DC applications is shown, which is constructed on the basis of a switching device for AC applications.
- the switching device 10 has a switching device housing 12 by two receiving areas 16,18,20 are arranged side by side between two opposite (outer) side walls 14, wherein in each receiving space a flow path 22 is located.
- each current path 22 comprises a movable switching contact element 24 and two mutually opposite stationary switching contact elements 26, 28, which are each provided with connection terminals 30.
- the three movable switching contact elements 24 are in common between a closed position (see Fig. 1 ) and an open position (see Fig.
- each flow path 22 has two separating sections 42, 43 which, when the movable switching contact elements 24 are open, form between their ends and the first and second stationary switching contact elements 26, 28 associated with these ends (see FIG Fig. 2 ).
- the first magnets 44 have a magnetic field with field lines in an orientation which extend transversely to the separating lines 42,43 and generate a Lorenzkraft on this separating lines 42,43 forming arcs, which drive the arcs in the direction of the first erasing devices 36 .
- the second outer magnets 46 in turn generate a magnetic field lines and an alignment, which extend transversely to the second separation lines 43 and generate a Lorenzkraft on this second separating lines 43 forming arcs, which deflect the arcs in the direction of the second erasers 38.
- the first magnets 44 are aligned with the first separation paths 42, while the second magnets 46 are arranged in extension of the adjacent second separation sections 43.
- the three-pole, originally intended for AC applications switching device 10 can now be used for DC applications, with its DC Abschalt governance compared to the DC switching capacity of an AC switching device is significantly improved, without requiring significant structural changes , Rather, it is only necessary to arrange the aforementioned magnets 44, 46 on the outside of the opposite outer sides 14 of the housing 12 of the switching device 10, wherein it should be noted that in principle a first or a second magnet, ie for all the first separating lines 42 and for all second separation lines 43 each a single magnet is required. Likewise, it should be mentioned at this point that it is not absolutely necessary for the realization of the invention to provide a switching device 10 which has two separating sections per current path.
- AC switchgear housings which have one single isolating path per current path 22, that is to have a movable switching contact element and a single fixed switching contact element per current path 22, so that then for all isolating sections only a single magnet is required.
- FIGS. 5 and 6 is a comparison with the embodiment of FIGS. 1 to 4 slightly modified switching device 10 'shown, the housing 12 is constructed and constructed as it is based on the FIGS. 1 to 3 and having alternately configured outboard first and second magnets 44, 46.
- the individual components of the housing 12 according to the FIGS. 5 and 6 equal or functionally identical to the individual components of the switching device 10 of FIGS. 1 to 4 are, they are in the FIGS. 5 and 6 with the same reference numerals as in the FIGS. 1 to 4 Mistake. So is in the FIGS.
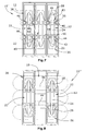
- Fig. 7 shows a plan view of the housing 12 of a modified switching device 10 "with the top removed and modification for DC applications Fig. 7 equal or functionally identical to the individual components of the switching device 10 of FIGS. 1 to 4 are, they are in Fig. 7 with the same reference numerals as in the FIGS. 1 to 4 Mistake.
- the housing 12 is according to Fig. 7 constructed as in the FIGS. 1 to 3 played.
- the housing 12 according to Fig. 7 Receiving spaces 56, which are associated with the separation sections 42,43 and are arranged on both sides of these separation sections.
- These receiving spaces 56 are used in an AC switching device of recording own magnetic field amplifying elements, as required for AC switching devices with smaller short-circuit currents to deflect the arc in the arc quenching device, where it then comes to extinguish the arc.
- the magnetic field reinforcing elements are removed, so that the receiving spaces 56 are now free to accommodate the magnets 44,46. It is possible that, unlike in Fig. 7 shown, for example, the middle current path 22 is removed, so that the switching device 10 "can be used as a two-pole DC switching device.
- the three current paths of the switching devices 10, 10 'and 10 can be connected in series (by external electrical conductors, not shown in the drawing), in order to function as a single-pole DC switching device with a total of six separating sections
- the potentially possible three current paths only two are used to implement a two-pole DC switching device
- all four current paths in Series can be switched or only two of the current paths are used as a two-pole DC switching device.
- FIG. 8 Finally, there is shown another embodiment of a DC switching device 10 "'constructed on the basis of an AC switching device housing 12. Also with respect to FIG Fig. 8 applies that those individual components of the switching device housing 12, the functionally identical or constructively equal to the elements of the switching device housing 12 of the FIGS. 1 to 3 are provided with the same reference numerals.
- the middle flow path 22 is not present, ie the middle receiving region 18 is free of a flow path 22 and in particular free of the movable switch contact element 24. Also in Fig. 8 have shown that the central receiving area 18 does not have any arc extinguishing devices. Thus, the middle receiving area 18 can now be used to receive the first and second magnets 44, 46 which are arranged in the receiving area 18 in the height of the separating lines 42 and 43 of the current paths 22 of the adjacent receiving areas 16 and 20.
Landscapes
- Arc-Extinguishing Devices That Are Switches (AREA)
Abstract
Description
- Die Erfindung betrifft ein Schaltgerät für Gleichstrom-Anwendungen, das unter Verwendung von Komponenten von Schaltgeräten für Wechselstrom-Anwendungen, z. B. Leitungsschutzschalter, Leistungsschalter, Lasttrennschalter und Fehlerstromschutzschalter, konstruiert ist.
- Zur Abschaltung von Kurzschlussströmen in Verbrauchernetzen werden zumeist Schaltgeräte verwendet, die eine bzw. mehrere Strombahnen aufweisen, welche ihrerseits feststehende und bewegbare Schaltkontaktelemente umfassen. Die bewegbaren Schaltkontaktelemente sind dabei gemeinsam zwischen einer Schließstellung, in der sich die einander zugeordneten bewegbaren und feststehenden Schaltkontaktelementen berühren, und einer Öffnungsstellung bewegbar, in der sich eine Trennstrecke zwischen den einander jeweils zugeordneten bewegbaren und feststehenden Schaltkontaktelementen bildet. Sobald die bewegbaren Schaltkontaktelemente unter Last, d. h. unter Stromfluss in die Öffnungsstellung bewegt werden, entstehen längs der Trennstrecken (Ausschalt-) Lichtbögen. Die Dauer der Lichtbögen bestimmt die Schaltzeit, da der Stromfluss zwischen den Schaltkontaktelementen aufrechterhalten wird. Außerdem wird durch die Lichtbögen eine große Wärmemenge freigesetzt, die zur thermischen Zerstörung der Schaltkontaktelemente und damit zur Verringerung der Lebensdauer des Schaltgeräts führen. Es ist daher notwendig, die Lichtbögen möglichst schnell zu löschen, was durch Lichtbogenlöscheinrichtungen wie beispielsweise Lichtbogenleitschienen, Lichtbogenlöschblechpakete oder Deion-Pakete erfolgen kann. Durch diese Löscheinrichtungen werden die Lichtbögen in einzelne Teillichtbögen unterteilt; wenn die Lichtbogenspannungen höher sind als die treibenden Spannungen, werden die Lichtbögen sicher gelöscht.
- Bei Wechselstrom-Anwendungen wird die Löschung der Lichtbögen dadurch begünstigt, dass der Strom einen natürlichen Nulldurchgang hat. Bei großen abzuschaltenden (Kurzschluss-)Strömen kann es aber nach dem Stromnulldurchgang zu einer Rückzündung der Lichtbögen kommen; die sich bei großen Strömen bildenden Lichtbögen erzeugen aber ihrerseits ein derart großes Eigenmagnetfeld, so dass sie selbsttätig zu den Lichtbogenlöscheinrichtungen hin abgelenkt und schließlich zum Erlöschen gebracht werden.
- Bei Schaltgeräten für Gleichstrom-Anwendungen kommt es zu keiner selbstständigen Unterbrechung des Lichtbogens wie beim Nulldurchgang des Wechselstroms. Im Falle von Gleichstrom-Anwendungen werden daher sogenannte Blasmagnete eingesetzt, die ein Magnetfeld mit einer Stärke und Ausrichtung erzeugen, welche auf die Lichtbögen eine Ablenkkraft (Lorenzkraft) ausüben, die die Lichtbögen zu den Lichtbogenlöscheinrichtungen hin ablenkt. In den Löscheinrichtungen werden die Lichtbögen wie an sich bekannt gestreckt, gekühlt und in Teillichtbögen aufgeteilt und dadurch zum Erlöschen gebracht.
- Schaltgeräte der vorstehend genannten Art für Wechselstrom-Anwendungen sind beispielsweise in
DE 103 52 934 B4 ,DE 102 12 948 B4 ,DE 20 2005 007 878 U1 ,EP 1 594 148 A1 ,EP 0 980 085 B1 undEP 0 217 106 B1 beschreiben. - Entsprechend dem Stand der Technik existiert eine Trennung zwischen Wechselstrom- und Gleichstrom-Schaltgeräten. Während Wechselstrom-Schaltgeräte in ein- oder mehrpoliger Ausgestaltung in sehr großen Stückzahlen kostengünstig hergestellt werden können, werden Gleichstrom-Schaltgeräte als ein- oder zweipolige Schaltgeräte in deutlich geringeren Stückzahlen gefertigt. Daher handelt es sich bei Gleichstrom-Schaltgeräten, teilweise mit vorgegebener Einspeiserichtung, um Spezialgeräte. Die Nutzung regenerativer Energiequellen wie beispielsweise Solarenergie, Brennstoffzellen, Batteriebänke usw. erfordert vermehrt Schaltgeräte mit Gleichstrom-Schaltvermögen und Trennerfunktion im kleinen und mittleren Strombereich bei Spannungen bis zu ca. 1000 V.
- Aufgabe der Erfindung ist es, Schaltgeräte mit Gleichstrom-Schaltvermögen und -Trennerfunktion kostengünstig herstellen zu können.
- Zur Lösung dieser Aufgabe wird gemäß einer ersten Variante der Erfindung ein Schaltgerät für Gleichstrom-Anwendungen vorgeschlagen, das versehen ist mit
- einem Gehäuse, das zwei einander gegenüberliegende Seitenwände aufweist,
- mindestens drei Aufnahmebereichen für zueinander im wesentlichen parallele Strombahnen mit Trennstrecken, wobei die Aufnahmebereiche in dem Gehäuse zwischen dessen Seitenwänden nebeneinanderliegend angeordnet sind und mindestens zwei der Aufnahmebereiche mit jeweils einer Strombahn versehen sind und jede Strombahn mindestens ein feststehendes Schaltkontaktelement und ein bewegbares Schaltkontaktelement aufweist, das zum Kontaktieren des feststehenden Schaltkontaktelements in eine Schließstellung und zur Bildung der Trennstrecke in eine Öffnungsstellung bewegbar ist, in der ein sich längs der Trennstrecke erstreckender Lichtbogen ausbildbar ist, wobei sämtliche bewegbaren Schaltkontaktelemente gemeinsam aus ihren Öffnungsstellungen in ihre Schließstellungen und umgekehrt bewegbar sind,
- den Strombahnen zugeordneten Löscheinrichtungen, die ebenfalls nebeneinanderliegend in dem Gehäuse zwischen dessen beiden Seitenwänden angeordnet sind und
- mindestens einem außen an mindestens einer der Seitenwände angeordneten Magnet, vorzugsweise Permanentmagnet, mit einem Magnetfeld mit im wesentlichen quer zu den Trennstrecken verlaufenden Feldlinien und einer Ausrichtung zur Erzeugung von auf die Lichtbögen wirkenden und diese in die Löscheinrichtungen hineintreibenden Ablenkkräften.
- Gemäß einer zweiten Variante der Erfindung wird ein Schaltgerät für Gleichstrom-Anwendungen vorgeschlagen, das versehen ist mit
- einem Gehäuse, das zwei einander gegenüberliegende Seitenwände aufweist,
- mindestens drei Aufnahmebereichen für zueinander im wesentlichen parallele Strombahnen mit Trennstrecken, wobei die Aufnahmebereiche in dem Gehäuse zwischen dessen Seitenwänden nebeneinanderliegend angeordnet sind und mindestens zwei der Aufnahmebereiche mit jeweils einer Strombahn versehen sind und jede Strombahn mindestens ein feststehendes Schaltkontaktelement und ein bewegbares Schaltkontaktelement aufweist, das zum Kontaktieren des feststehenden Schaltkontaktelements in eine Schließstellung und zur Bildung der Trennstrecke in eine Öffnungsstellung bewegbar ist, in der ein sich längs der Trennstrecke erstreckender Lichtbogen ausbildbar ist, wobei sämtliche bewegbaren Schaltkontaktelemente gemeinsam aus ihren Öffnungsstellungen in ihre Schließstellungen und umgekehrt bewegbar sind,
- wobei mindestens einer der Aufnahmebereiche frei von einer Strombahn und frei von zumindest dem bewegbaren Schaltkontaktelement ist,
- den Strombahnen zugeordneten Löscheinrichtungen, die ebenfalls nebeneinanderliegend in dem Gehäuse zwischen dessen beiden Seitenwänden angeordnet sind,
- mindestens einem in dem mindestens einen freien Aufnahmeraum angeordneten Magnet, vorzugsweise Permanentmagnet, mit einem Magnetfeld mit im wesentlichen quer zu den Trennstrecken verlaufenden Feldlinien und einer Ausrichtung zur Erzeugung von auf die Lichtbögen wirkenden und diese in die Löschkammern hineintreibenden Ablenkkräften.
- Schließlich wird zur Lösung der vorstehend genannten Aufgabe gemäß einer dritten Variante der Erfindung ein Schaltgerät für Gleichstrom-Anwendungen vorgeschlagen, der versehen ist mit
- einem Gehäuse, das zwei einander gegenüberliegende Seitenwände aufweist,
- mindestens drei Aufnahmebereichen für zueinander im wesentlichen parallele Strombahnen mit Trennstrecken, wobei die Aufnahmebereiche in dem Gehäuse zwischen dessen Seitenwänden nebeneinanderliegend angeordnet sind und mindestens zwei der Aufnahmebereiche mit jeweils einer Strombahn versehen sind und jede Strombahn mindestens ein feststehendes Schaltkontaktelement und ein bewegbares Schaltkontaktelement aufweist, das zum Kontaktieren des feststehenden Schaltkontaktelements in eine Schließstellung und zur Bildung der Trennstrecke in eine Öffnungsstellung bewegbar ist, in der ein sich längs der Trennstrecke erstreckender Lichtbogen ausbildbar ist, wobei sämtliche bewegbaren Schaltkontaktelemente gemeinsam aus ihren Öffnungsstellungen in ihre Schließstellungen und umgekehrt bewegbar sind,
- den Strombahnen zugeordneten Löscheinrichtungen, die ebenfalls nebeneinanderlegend in dem Gehäuse zwischen dessen beiden Seitenwänden angeordnet sind, und
- in dem Gehäuse beidseitig der Paare aus jeweils einem bewegbaren und einem feststehenden Schaltkontaktelement ausgebildeten Aufnahmeräumen für Magnetfeldverstärkungselemente zur Verstärkung des Eigenmagnetfeldes eines sich längs der Trennstrecke ausbildenden Lichtbogens,
- wobei in mindestens einem der Aufnahmeräume ein Magnet mit einem Magnetfeld, vorzugsweise Permanentmagnet, mit im wesentlichen quer zu den Trennstrecken verlaufenden Feldlinien und einer Ausrichtung zur Erzeugung von auf die Lichtbögen wirkenden und diese in die Löscheinrichtungen hineintreibenden Ablenkkräften angeordnet ist.
- Sämtlichen zuvor genannten Varianten des erfindungsgemäßen Schaltgeräts für Gleichstrom-Anwendungen gemeinsam ist der Gedanke, bei der Herstellung des Schaltgeräts auf das Gehäuse eines Schaltgeräts für Wechselstrom-Anwendungen zurückzugreifen, um dieses Gehäuse auf einfache Art und Weise und mit geringem Aufwand für die Gleichstrom-Anwendung anzupassen. Dies bedeutet, dass das Gehäuse des Schaltgeräts für Wechselstrom-Anwendungen um einen Magnet, vorzugsweise Permanentmagnet, ergänzt werden muss. Dieser Magnet kann entweder an der Außenseite des Gehäuses angeordnet sein (siehe obige Variante 1) oder aber in einem der mindestens drei Aufnahmebereiche für die Strombahnen integriert sein (siehe obige Variante 2), wobei dann der betreffende Aufnahmebereich frei von dem bewegbaren Schaltkontaktelement ist, oder aber in einem speziellen Aufnahmeraum des Gehäuses des Schaltgeräts für Wechselstrom-Anwendungen integriert ist (siehe obige Variante 3), in dem normalerweise ein Magnetfeldverstärkungselement zur Verstärkung des Eigenmagnetfeldes des Lichtbogens untergebracht ist.
- Eine Besonderheit des erfindungsgemäßen Schaltgeräts für Gleichstrom-Anwendungen besteht darin, dass durch die Einführung externer oder interner Magnete, vorzugsweise Permanentmagnete, das Gleichstrom-Schaltvermögen konventioneller Wechselstrom-Schaltgeräte erheblich erhöht wird. Dabei braucht nicht notwendigerweise jeder Trennstrecke und jeder Löscheinrichtung jeweils ein einzelner Magnet zugeordnet zu sein, wie dies bei bekannten Gleichstrom-Schaltgeräten der Fall ist.
- Bei der oben genannten ersten Variante des erfindungsgemäßen Schaltgeräts befindet sich mindestens ein (Außen-)Magnet außen an mindestens einer der beiden Seitenwände des Gehäuses. Zweckmäßig ist es, wenn an beiden Seitenwänden mindestens ein Außenmagnet angeordnet ist. Der bzw. die Außenmagnete "durchsetzen" mit ihren Feldlinien die nebeneinander angeordneten Trennstrecken der einzelnen Strombahnen innerhalb des Gehäuses. Der Magnetfluss bzw. das Magnetfeld, das die Trennstrecken durchquert, kann durch ein magnetisches Rückschlusselement, mit dem die beiden Magnete gekoppelt sind, verstärkt werden. Sämtliche dieser Komponenten (ein oder mehrere Außenmagnete sowie ein oder mehrere Rückschlusselemente) können auf einfache Art und Weise außen an dem Gehäuse des Wechselstrom-Schaltgeräts angeordnet werden, um dessen Gleichstrom-Schaltvermögen zu verbessern. Ferner ist es möglich, bei Verwendung eines Gehäuses für Wechselstrom-Schaltgeräte als Schaltgerät für Gleichstrom-Anwendungen mindestens eine der Strombahnen (und hier insbesondere mindestens eines der bewegbaren Schaltkontaktelemente), wie es für die Wechselstrom-Anwendung erforderlich ist, nicht vorzusehen. Während nämlich Wechselstrom-Schaltgeräte im allgemeinen drei- oder vierpolig ausgebildet sind, benötigt man bei Gleichstrom-Schaltgeräten allenfalls zweipolige Ausführungen. Damit ist es möglich, für die Konstruktion eines Gleichstrom-Schaltgeräts auf Basis des Gehäuses für ein Wechselstrom-Schaltgerät auf die dritte oder die vierte Strombahn zu verzichten. Dies reduziert ebenfalls die Herstellungskosten des Gleichstrom-Schaltgeräts. Es ist aber auch möglich, die Strombahnen eines Wechselstrom-Schaltgerätgehäuses beizubehalten und mindestens zwei der Strombahnen in Reihe zu schalten, um ein derartiges Schaltgerät zur ggf. einpoligen Abschaltung bei Gleichstrom-Anwendungen unter Verwendung mehrerer Trennstrecken zu nutzen.
- Sofern bei einem drei- oder vierpoligen Wechselstrom-Schaltgerätgehäuse mindestens eine Strombahn und insbesondere mindestens ein bewegbares Schaltkontaktelement nicht vorhanden ist, kann der entsprechende Aufnahmebereich des Schaltgerätgehäuses zur Unterbringung des (Blas-)Magneten oder eines zusätzlichen (Blas-)Magneten genutzt werden.
- Die erfindungsgemäßen Schaltgeräte können als EIN-AUS-Schaltgeräte (sogenannte Lastschalter) oder aber auch als Leistungs- bzw. Schutzschalter ausgebildet sein, die über einen Lastschalter hinaus mit einer zusätzlichen Funktionalität, nämlich der automatischen Erkennung und Abschaltung im Falle eines Kurzschlussstroms oder dergleichen, versehen sind.
- Die Erfindung wird nachfolgend anhand verschiedener Ausführungsbeispiele und unter Bezugnahme auf die Zeichnung näher erläutert. Im Einzelnen zeigen dabei:
- Fig. 1
- eine Seitenansicht eines dreipoligen Wechselstrom-Schaltgerätgehäuses bei in ihren Schließstellungen befindlichen bewegbaren Schaltelementen,
- Fig. 2
- eine Seitenansicht ähnlich der gemäß
Fig. 1 , jedoch bei in den Öffnungsstellungen befindlichen bewegbaren Schaltkontaktelementen, - Fig. 3
- eine Draufsicht auf das Schaltgerätgehäuse gemäß den
Fign. 1 und 2 , wobei seitlich zweier einander gegenüberliegender Seitenwände des Gehäuses jeweils ein zusätzliches Element angeordnet ist, dass jeweils zwei Permanentmagnete trägt, - Fig. 4
- eine perspektivische Ansicht eines der Seitenelemente gemäß
Fig. 3 , - Fig. 5
- eine perspektivische Darstellung eines alternativ ausgebildeten Schaltgeräts für Gleichstrom-Anwendungen, bei dem die außenliegenden Magnete über Rückschlusselemente magnetisch gekoppelt sind,
- Fig. 6
- eine perspektivische Darstellung der Magnetanordnung mit Rückschlusselementen, wie sie im Ausführungsbeispiel des Schaltgerätgehäuses nach
Fig. 5 eingesetzt sind, - Fig. 7
- eine Draufsicht auf ein weiteres Ausführungsbeispiel eines Wechselstrom-Schaltgerätgehäuses, welches für die Verwendung als Gleichstrom-Schaltgehäuse modifiziert ist, und
- Fig. 8
- eine Draufsicht ähnlich der gemäß
Fig. 7 , wobei ein alternativ ausgestaltetes Wechselstrom-Schaltgerätgehäuse gezeigt ist, dass für die Nutzung als Gleichstrom-Schaltgerät modifiziert ist. - In den
Fign. 1 bis 4 ist ein erstes Ausführungsbeispiel eines erfindungsgemäßen Schaltgeräts 10 für Gleichstrom-Anwendungen gezeigt, das auf Basis eines Schaltgeräts für Wechselstrom-Anwendungen konstruiert ist. Das Schaltgerät 10 weist ein Schaltgerätgehäuse 12 auf, indem zwischen zwei gegenüberliegenden (Außen-)Seitenwänden 14 drei Aufnahmebereiche 16,18,20 nebeneinanderliegend angeordnet sind, wobei sich in jedem Aufnahmeraum eine Strombahn 22 befindet. Dabei umfasst jede Strombahn 22 ein bewegbares Schaltkontaktelement 24 sowie zwei einander gegenüberliegende feststehende Schaltkontaktelemente 26,28, die jeweils mit Anschlussklemmen 30 versehen sind. Die drei bewegbaren Schaltkontaktelemente 24 sind dabei gemeinsam zwischen einer Schließstellung (sieheFig. 1 ) und einer Öffnungsstellung (sieheFig. 2 ) bewegbar, und zwar mit Hilfe eines in diesem Ausführungsbeispiel als Knebelschalter 31 ausgebildeten Betätigungselements 32, das in gewohnter Weise mit einem Schaltschloss 34 zum Verriegeln der bewegbaren Schaltkontaktelemente 24 in deren Schließstellungen und zur gemeinsamen Freigabe der bewegbaren Schaltkontaktelemente 24 zusammenwirkt. Den einzelnen Strombahnen 22 zugeordnet sind jeweils zwei Lichtbogenlöscheinrichtungen 36,38, die jeweils in Form von einzelnen übereinander angeordneten Löschblechen 40 ausgebildet sind, wie dies an sich bekannt ist. Außerdem weist jede Strombahn 22 zwei Trennstrecken 42,43 auf, die sich bei geöffneten bewegbaren Schaltkontaktelementen 24 zwischen deren Enden und den diesen Enden zugeordneten ersten und zweiten feststehenden Schaltkontaktelementen 26,28 ausbilden (sieheFig. 2 ). Längs dieser Trennstrecken 42,43 bilden sich beim Öffnen des dreipoligen Schaltgeräts 10 unter Last Lichtbögen aus, die mit Hilfe der Lichtbogenlöscheinrichtungen 36,38 gelöscht werden müssen. Da bei Gleichstrom-Anwendungen das Löschen der Lichtbögen nicht aufgrund des Nulldurchgangs des Stroms erleichtert bzw. erreicht werden kann, bedarf es für die Gleichstrom-Anwendung des Schaltgeräts 10 des Vorsehens von ersten und zweiten Permanentmagneten 44,46, die im Ausführungsbeispiel gemäß denFign. 1 bis 4 außen an den Seitenwänden 14 angeordnet sind und von scheibenförmigen Halteelementen 48,50 gehalten sind. Dabei weisen die ersten Magnete 44 ein Magnetfeld mit Feldlinien in einer Ausrichtung auf, die quer zu den Trennstrecken 42,43 verlaufen und auf sich längs dieser Trennstrecken 42,43 bildende Lichtbögen eine Lorenzkraft erzeugen, welche die Lichtbögen in Richtung auf die ersten Löscheinrichtungen 36 treiben. Die zweiten außenliegenden Magnete 46 erzeugen ihrerseits ein Magnetfeld mit Feldlinien und einer Ausrichtung, die quer zu den zweiten Trennstrecken 43 verlaufen und auf sich längs dieser zweiten Trennstrecken 43 ausbildende Lichtbögen eine Lorenzkraft erzeugen, welche die Lichtbögen in Richtung auf die zweiten Löscheinrichtungen 38 ablenken. Dabei sind die ersten Magnete 44 zu den ersten Trennstrecken 42 ausgerichtet, während die zweiten Magnete 46 in Verlängerung der nebeneinanderliegenden zweiten Trennstrecken 43 angeordnet sind. Auf diese Weise lässt sich nun also das dreipolige, ursprünglich für Wechselstrom-Anwendungen gedachte Schaltgerät 10 für Gleichstrom-Anwendungen einsetzen, wobei sein Gleichstrom-Abschaltvermögen gegenüber dem Gleichstrom-Schaltvermögen eines Wechselstrom-Schaltgeräts deutlich verbessert ist, ohne dass es dazu wesentlicher konstruktiver Änderungen bedarf. Es ist vielmehr lediglich erforderlich, außen an den gegenüberliegenden Außenseiten 14 des Gehäuses 12 des Schaltgeräts 10 die zuvor erwähnten Magnete 44,46 anzuordnen, wobei anzumerken ist, dass grundsätzlich ein erster bzw. ein zweiter Magnet, also für sämtliche ersten Trennstrecken 42 und für sämtliche zweiten Trennstrecken 43 jeweils ein einziger Magnet erforderlich ist. Ebenso sei an dieser Stelle erwähnt, dass es zur Realisierung der Erfindung nicht zwingend erforderlich ist, ein Schaltgerät 10 vorzusehen, das pro Strombahn zwei Trennstrecken aufweist. Die Adaption eines Wechselstrom-Schaltgeräts zur Anwendung für Gleichstrom-Applikationen ist auch bei Wechselstrom-Schaltgerätgehäusen möglich, die pro Strombahn 22 über eine einzige Trennstrecke verfügen, also pro Strombahn 22 ein bewegbares Schaltkontaktelement und ein einziges feststehendes Schaltkontaktelement aufweisen, so dass dann für sämtliche Trennstrecken lediglich ein einziger Magnet erforderlich ist. - In den
Fign. 5 und 6 ist ein gegenüber dem Ausführungsbeispiel derFign. 1 bis 4 leicht modifiziertes Schaltgerät 10' gezeigt, dessen Gehäuse 12 so konstruiert und aufgebaut ist, wie es anhand derFign. 1 bis 3 gezeigt ist, und der über alternativ ausgestaltete außenliegende erste und zweite Magnete 44,46 verfügt. Soweit die Einzelbestandteile des Gehäuses 12 gemäß denFign. 5 und 6 gleich bzw. funktionsgleich mit den Einzelbestandteilen des Schaltgeräts 10 derFign. 1 bis 4 sind, sind sie in denFign. 5 und 6 mit den gleichen Bezugszeichen wie in denFign. 1 bis 4 versehen. So ist in denFign. 5 und 6 gezeigt, dass die beiden ersten Magnete 44 und die beiden zweiten Magnete 46 über magnetische Rückschlusselemente 52,54 magnetisch miteinander gekoppelt sind, was dazu führt, dass das Magnetfeld zwischen den sich jeweils gegenüberliegenden ersten und zweiten Magneten 44,46 verstärkt ist. Somit ergibt sich also ein verstärktes Magnetfeld, welches quer zu den ersten bzw. zweiten Trennstrecken 42,43 verläuft, was zu einer verbesserten bzw. verstärkten Lichtbogenlöschfunktion führt bzw. was es ermöglicht, bei gleicher Lichtbogenlöschfunktion wie im Ausführungsbeispiel derFign. 1 bis 4 mit kleineren Magneten 44,46 zu arbeiten. -
Fig. 7 zeigt eine Draufsicht auf das Gehäuse 12 eines modifizierten Schaltgeräts 10" bei entferntem Oberteil und Modifikation für Gleichstrom-Anwendungen. Soweit die Einzelbestandteile des Gehäuses 12 gemäßFig. 7 gleich bzw. funktionsgleich mit den Einzelbestandteilen des Schaltgeräts 10 derFign. 1 bis 4 sind, sind sie inFig. 7 mit den gleichen Bezugszeichen wie in denFign. 1 bis 4 versehen. - Grundsätzlich ist das Gehäuse 12 gemäß
Fig. 7 so aufgebaut, wie in denFign. 1 bis 3 wiedergegeben. Zusätzlich weist das Gehäuse 12 gemäßFig. 7 Aufnahmeräume 56 auf, die den Trennstrecken 42,43 zugeordnet sind und beidseitig dieser Trennstrecken angeordnet sind. Diese Aufnahmeräume 56 dienen bei einem Wechselstrom-Schaltgerät der Aufnahme von Eigenmagnetfeldverstärkungselementen, wie sie bei Wechselstrom-Schaltgeräten bei kleineren Kurzschlussströmen erforderlich sind, um den Lichtbogen in die Lichtbogenlöscheinrichtung abzulenken, wo es dann zur Löschung des Lichtbogens kommt. Für die Anwendung bzw. für die Adaption des Wechselstrom-Schaltgerätgehäuses 12 für Gleichstrom-Anwendungen sind die Magnetfeld-Verstärkungselemente entfernt, so dass die Aufnahmeräume 56 nunmehr frei sind, um die Magnete 44,46 aufzunehmen. Dabei ist es möglich, dass, anders als inFig. 7 gezeigt, beispielsweise die mittlere Strombahn 22 entfernt ist, so dass das Schaltgerät 10" als zweipoliges Gleichstrom-Schaltgerät einsetzbar ist. - An dieser Stelle sei erwähnt, dass die drei Strombahnen der Schaltgeräte 10,10' und 10" in Reihe geschaltet werden können (durch externe, in den Fign. nicht gezeigte elektrische Leiter), um als einpolige Gleichstrom-Schaltgerät mit insgesamt sechs Trennstrecken zu fungieren. Es ist aber ebenso denkbar, dass von den potentiell möglichen drei Strombahnen lediglich zwei genutzt werden, um ein zweipoliges Gleichstrom-Schaltgerät zu realisieren. Im Falle eines vierpoligen Wechselstrom-Schaltgeräts, das für Gleichstrom-Anwendungen modifiziert werden soll, können sämtliche vier Strombahnen in Reihe geschaltet werden oder aber lediglich zwei der Strombahnen als zweipoliges Gleichstrom-Schaltgerät genutzt werden.
-
Fig. 8 zeigt schließlich ein weiteres Ausführungsbeispiel eines Gleichstrom-Schaltgeräts 10"', das auf Basis eines Wechselstrom-Schaltgerätgehäuses 12 konstruiert ist. Auch bezüglichFig. 8 gilt, dass diejenigen Einzelbestandteile des Schaltgerätgehäuses 12, die funktionsgleich bzw. konstruktiv gleich mit den Elementen des Schaltgerätgehäuses 12 derFign. 1 bis 3 sind, mit den gleichen Bezugszeichen versehen sind. - Im Unterscheid zum Ausführungsbeispiel gemäß der
Fign. 1 bis 3 ist beim Ausführungsbeispiel gemäßFig. 8 die mittlere Strombahn 22 nicht vorhanden, d. h. der mittlere Aufnahmebereich 18 ist frei von einer Strombahn 22 und insbesondere frei von dem bewegbaren Schalterkontaktelement 24. Auch ist inFig. 8 gezeigt, dass der mittlere Aufnahmebereich 18 keinerlei Lichtbogenlöscheinrichtungen aufweist. Damit kann der mittlere Aufnahmebereich 18 nunmehr zur Aufnahme der ersten und zweiten Magnete 44,46 genutzt werden, die in dem Aufnahmebereich 18 in Höhe der Trennstrecken 42 bzw. 43 der Strombahnen 22 der benachbarten Aufnahmebereiche 16 und 20 angeordnet sind. - Die Vorteile der erfindungsgemäß vorgesehenen Verwendung konventioneller Wechselstrom-Schaltgeräte für Gleichstrom-Anwendungen sind in der geringen Modifikation der konventionellen, in großen Stückzahlen und damit kostengünstig herstellbaren Wechselstrom-Schaltgeräten und in der damit verbundenen kostengünstigen Herstellung von Gleichstrom-Schaltgeräten (geringer Zeit- und Entwicklungsaufwand für die Modifikation und Vermeidung einer eigenständigen Entwicklung für ein reines Gleichstrom-Schaltgerät) zu sehen.
Claims (15)
- Schaltgerät für Gleichstrom-Anwendungen, mit- einem Gehäuse (12), das zwei einander gegenüberliegende Seitenwände (14) aufweist,- mindestens drei Aufnahmebereichen (16,18,20) für zueinander im wesentlichen parallele Strombahnen (22) mit Trennstrecken (42,43), wobei die Aufnahmebereiche (16,18,20) in dem Gehäuse (12) zwischen dessen Seitenwänden (14) nebeneinanderliegend angeordnet sind und mindestens zwei der Aufnahmebereiche (16,18,20) mit jeweils einer Strombahn (22) versehen sind und jede Strombahn (22) mindestens ein feststehendes Schaltkontaktelement (26,28) und ein bewegbares Schaltkontaktelement (24) aufweist, das zum Kontaktieren des feststehenden Schaltkontaktelements (26,28) in eine Schließstellung und zur Bildung der Trennstrecke (42,43) in eine Öffnungsstellung bewegbar ist, in der ein sich längs der Trennstrecke (42,43) erstreckender Lichtbogen ausbildbar ist, wobei sämtliche bewegbaren Schaltkontaktelemente (24) gemeinsam aus ihren Öffnungsstellungen in ihre Schließstellungen und umgekehrt bewegbar sind,- den Strombahnen (22) zugeordneten Lichtbogenlöscheinrichtungen (36,38), die ebenfalls nebeneinanderliegend in dem Gehäuse (12) zwischen dessen beiden Seitenwänden (14) angeordnet sind und- mindestens einem außen an mindestens einer der Seitenwände (14) angeordneten Magnet (44,46) mit einem Magnetfeld mit im wesentlichen quer zu den Trennstrecken (42,43) verlaufenden Feldlinien und einer Ausrichtung zur Erzeugung von auf die Lichtbögen wirkenden und diese zu den Lichtbogenlöscheinrichtungen (36,38) hin ablenkenden Ablenkkräften.
- Schaltgerät nach Anspruch 1, dadurch gekennzeichnet, dass der mindestens eine Magnet (44,46) magnetisch mit einem Rückschlusselement (52,54) gekoppelt ist, das sich von dem Magnet (44,46) aus außerhalb des Gehäuses (12) bis zur Anlage an der gegenüberliegenden Seitenwand (14) erstreckt.
- Schaltgerät nach Anspruch 1 oder 2, dadurch gekennzeichnet, dass außen an den beiden Seitenwänden (14) jeweils mindestens ein Magnet (44,46) angeordnet ist.
- Schaltgerät nach Anspruch 2 und 3, dadurch gekennzeichnet, dass die beiden Magnete (44,46) über das Rückschlusselement (52,54) magnetisch miteinander gekoppelt sind.
- Schaltgerät nach einem der Ansprüche 1 bis 4, dadurch gekennzeichnet, dass jede Strombahn (22) ein bewegbares Schaltkontaktelement (24) und zwei gegenüberliegende erste und zweite feststehende Schaltkontaktelemente (26,28) aufweist, wobei sich in der Öffnungsstellung zwischen dem ersten feststehenden Schaltkontaktelement (26) und dem bewegbaren Schaltkontaktelement (24) eine erste Trennstrecke (42) und zwischen dem zweiten feststehenden Schaltkontaktelement (28) und dem bewegbaren Schaltkontaktelement (24) eine zweite Trennstrecke (43) ausbildet und wobei jeder ersten Trennstrecke (42) eine erste Lichtbogenlöscheinrichtung (36) und jeder zweiten Trennstrecke (43) eine zweite Lichtbogenlöscheinrichtung (38) zugeordnet ist, und dass an mindestens einer der Seitenwände (14) zwei Magnete (44,46) angeordnet sind, die ein erstes und ein zweites Magnetfeld erzeugen, wobei das erste Magnetfeld im wesentlichen quer zu den ersten Trennstrecken (42) verlaufende Feldlinien und eine Ausrichtung zur Erzeugung von Ablenkkräften zum Treiben von sich längs der ersten Trennstrecken (42) ausbildenden Lichtbögen in die ersten Lichtbogenlöscheinrichtungen (36) hinein aufweist und das zweite Magnetfeld im wesentlichen quer zu den zweiten Trennstrecken (43) verlaufende Feldlinien und eine Ausrichtung zur Erzeugung von Ablenkkräften zum Treiben von sich längs der zweiten Trennstrecken (43) ausbildenden Lichtbögen zu den zweiten Lichtbogenlöscheinrichtungen (38) hin aufweist.
- Schaltgerät nach Anspruch 4 und 5, dadurch gekennzeichnet, dass auf beiden Seitenwänden (14) des Gehäuses (12) jeweils ein erster und ein zweiter Magnet (44,46) angeordnet ist, wobei die beiden ersten Magnete (44) über ein erstes Rückschlusselement (52) und die beiden zweiten Magnete (46) über ein zweites Rückschlusselement (54) oder sämtliche Magnete (44,46) über ein gemeinsames Rückschlusselement magnetisch gekoppelt sind.
- Schaltgerät für Gleichstrom-Anwendungen, mit- einem Gehäuse (12), das zwei einander gegenüberliegende Seitenwände (14) aufweist,- mindestens drei Aufnahmebereichen (16,18,20) für zueinander im wesentlichen parallele Strombahnen (22) mit Trennstrecken (42,43), wobei die Aufnahmebereiche (16,18,20) in dem Gehäuse (12) zwischen dessen Seitenwänden (14) nebeneinanderliegend angeordnet sind und mindestens zwei der Aufnahmebereiche (16,18,20) mit jeweils einer Strombahn (22) versehen sind und jede Strombahn (22) mindestens ein feststehendes Schaltkontaktelement (26,28) und ein bewegbares Schaltkontaktelement (24) aufweist, das zum Kontaktieren des feststehenden Schaltkontaktelements (26,28) in eine Schließstellung und zur Bildung der Trennstrecke (42,43) in eine Öffnungsstellung bewegbar ist, in der ein sich längs der Trennstrecke (42,43) erstreckender Lichtbogen ausbildbar ist, wobei sämtliche bewegbaren Schaltkontaktelemente (24) gemeinsam aus ihren Öffnungsstellungen in ihre Schließstellungen und umgekehrt bewegbar sind,- wobei mindestens einer der Aufnahmebereiche (16,18,20) frei von einer Strombahn (22) und frei von zumindest dem bewegbaren Schaltkontaktelement (24) ist,- den Strombahnen (22) zugeordneten Lichtbogenlöscheinrichtungen (36,38), die ebenfalls nebeneinanderliegend in dem Gehäuse (12) zwischen dessen beiden Seitenwänden (14) angeordnet sind, und- mindestens einem in dem mindestens einen freien Aufnahmeraum (16,18,20) angeordneten Magnet (44,46) mit einem Magnetfeld mit im wesentlichen quer zu den Trennstrecken (42,43) verlaufenden Feldlinien und einer Ausrichtung zur Erzeugung von auf die Lichtbögen wirkenden und diese zu den Lichtbogenlöscheinrichtungen (36,38) hin ablenkenden Ablenkkräften.
- Schaltgerät nach Anspruch 7, dadurch gekennzeichnet, dass jede Strombahn (22) ein bewegbares Schaltkontaktelement (24) und zwei gegenüberliegende erste und zweite feststehende Schaltkontaktelemente (26,28) aufweist, wobei sich in der Öffnungsstellung zwischen dem ersten feststehenden Schaltkontaktelement (26) und dem bewegbaren Schaltkontaktelement (24) eine erste Trennstrecke (42) und zwischen dem zweiten feststehenden Schaltkontaktelement (28) und dem bewegbaren Schaltkontaktelement (24) eine zweite Trennstrecke (43) ausbildet und wobei jeder ersten Trennstrecke (42) eine erste Lichtbogenlöscheinrichtung (36) und jeder zweiten Trennstrecke (43) eine zweite Lichtbogenlöscheinrichtung (38) zugeordnet ist, und dass in dem mindestens einen freien Aufnahmebereich (16,18,20) zwei Magnete (44,46) angeordnet sind, die ein erstes und ein zweites Magnetfeld erzeugen, wobei das erste Magnetfeld im wesentlichen quer zu den ersten Trennstrecken (42) verlaufende Feldlinien und eine Ausrichtung zur Erzeugung von Ablenkkräften zum Treiben von sich längs der ersten Trennstrecken (42) ausbildenden Lichtbögen zu den ersten Lichtbogenlöscheinrichtungen (36) hin aufweist und das zweite Magnetfeld im wesentlichen quer zu den zweiten Trennstrecken (43) verlaufende Feldlinien und eine Ausrichtung zur Erzeugung von Ablenkkräften zum Treiben von sich längs der zweiten Trennstrecken (43) ausbildenden Lichtbögen zu den zweiten Lichtbogenlöscheinrichtungen (38) hin aufweist.
- Schaltgerät für Gleichstrom-Anwendungen, mit- einem Gehäuse (12), das zwei einander gegenüberliegende Seitenwände (14) aufweist,- mindestens drei Aufnahmebereichen (16,18,20) für zueinander im wesentlichen parallele Strombahnen (22) mit Trennstrecken (42,43), wobei die Aufnahmebereiche (16,18,20) in dem Gehäuse (12) zwischen dessen Seitenwänden (14) nebeneinanderliegend angeordnet sind und mindestens zwei der Aufnahmebereiche (16,18,20) mit jeweils einer Strombahn (22) versehen sind und jede Strombahn (22) mindestens ein feststehendes Schaltkontaktelement (26,28) und ein bewegbares Schaltkontaktelement (24) aufweist, das zum Kontaktieren des feststehenden Schaltkontaktelements (26,28) in eine Schließstellung und zur Bildung der Trennstrecke (42,43) in eine Öffnungsstellung bewegbar ist, in der ein sich längs der Trennstrecke (42,43) erstreckender Lichtbogen ausbildbar ist, wobei sämtliche bewegbaren Schaltkontaktelemente (24) gemeinsam aus ihren Öffnungsstellungen in ihre Schließstellungen und umgekehrt bewegbar sind,- den Strombahnen (22) zugeordneten Lichtbogenlöscheinrichtungen (36,38), die ebenfalls nebeneinanderliegend in dem Gehäuse (12) zwischen dessen beiden Seitenwänden (14) angeordnet sind, und- in dem Gehäuse (12) beidseitig der Paare aus jeweils einem bewegbaren (24) und einem feststehenden Schaltkontaktelement (26,28) ausgebildeten Aufnahmeräumen (56) für Magnetfeldverstärkungselemente zur Verstärkung des Eigenmagnetfeldes eines sich längs der Trennstrecke (42,43) ausbildenden Lichtbogens,- wobei in mindestens einem der Aufnahmeräume (56) ein Magnet (44,46) mit einem Magnetfeld mit im wesentlichen quer zu den Trennstrecken (42,43) verlaufenden Feldlinien und einer Ausrichtung zur Erzeugung von auf die Lichtbögen wirkenden und diese zu den Lichtbogenlöscheinrichtungen (36,38) ablenkenden Ablenkkräften angeordnet ist.
- Schaltgerät nach Anspruch 9, dadurch gekennzeichnet, dass jede Strombahn (22) ein bewegbares Schaltkontaktelement (24) und zwei gegenüberliegende erste und zweite feststehende Schaltkontaktelemente (26,28) aufweist, wobei sich in der Öffnungsstellung zwischen dem ersten feststehenden Schaltkontaktelement (26) und dem bewegbaren Schaltkontaktelement (24) eine erste Trennstrecke (42) und zwischen dem zweiten feststehenden Schaltkontaktelement (28) und dem bewegbaren Schaltkontaktelement (24) eine zweite Trennstrecke (43) ausbildet und wobei jeder ersten Trennstrecke (42) eine erste Lichtbogenlöscheinrichtung (36) und jeder zweiten Trennstrecke (43) eine zweite Lichtbogenlöscheinrichtung (38) zugeordnet ist, und dass beidseitig jedes ersten Paares aus jeweils dem einen Ende des bewegbaren Schaltkontaktelements (24) und dem diesem zugeordneten ersten feststehenden Schaltkontaktelement (26) ein erster Aufnahmeraum (56) für ein Magnetfeldverstärkungselement und beidseitig jedes zweiten Paares aus jeweils dem anderen Ende des bewegbaren Schaltkontaktelements (24) und dem diesem zugeordneten zweiten bewegbaren Schaltkontaktelement (24) ein zweiter Aufnahmeraum (56) für ein Magnetfeldverstärkungselement ausgebildet ist, wobei in mindestens einem der ersten und in mindestens einem der zweiten Aufnahmeräume (56) jeweils ein Magnet (44,46) zur Erzeugung von Ablenkkräften angeordnet ist, die auf sich längs der ersten bzw. zweiten Trennstrecken (42,43) ausbildende Lichtbögen wirken und diese zu den ersten bzw. zweiten Lichtbogenlöscheinrichtungen (36,38) hin ablenken.
- Schaltgerät für Gleichstrom-Anwendungen, mit- einem Gehäuse (12), das zwei einander gegenüberliegende Seitenwände (14) aufweist,- mindestens drei Aufnahmebereichen (16,18,20) für zueinander im wesentlichen parallele Strombahnen (22) mit Trennstrecken (42,43), wobei die Aufnahmebereiche (16,18,20) in dem Gehäuse (12) zwischen dessen Seitenwänden (14) nebeneinanderliegend angeordnet sind und mindestens zwei der Aufnahmebereiche (16,18,20) mit jeweils einer Strombahn (22) versehen sind und jede Strombahn (22) mindestens ein feststehendes Schaltkontaktelement (26,28) und ein bewegbares Schaltkontaktelement (24) aufweist, das zum Kontaktieren des feststehenden Schaltkontaktelements (26,28) in eine Schließstellung und zur Bildung der Trennstrecke (42,43) in eine Öffnungsstellung bewegbar ist, in der ein sich längs der Trennstrecke (42,43) erstreckender Lichtbogen ausbildbar ist, wobei sämtliche bewegbaren Schaltkontaktelemente (24) gemeinsam aus ihren Öffnungsstellungen in ihre Schließstellungen und umgekehrt bewegbar sind,- wobei mindestens einer der Aufnahmebereiche (16,18,20) frei von einer Strombahn (22) und frei von zumindest dem bewegbaren Schaltkontaktelement (24) ist,- den Strombahnen (22) zugeordneten Lichtbogenlöscheinrichtungen (36,38), die ebenfalls nebeneinanderliegend in dem Gehäuse (12) zwischen dessen beiden Seitenwänden (14) angeordnet sind,- mindestens einem außen an mindestens einer der Seitenwände (14) des Gehäuses (12) angeordneten Außenmagnet und- mindestens einem in dem mindestens einen freien Aufnahmebereich (16,18,20) des Gehäuses (12) angeordneten Innenmagnet,- wobei der mindestens eine Außenmagnet und der mindestens eine Innenmagnet zusammen ein Gesamtmagnetfeld mit Feldlinien, die im wesentlichen quer zu den Trennstrecken (42,43) verlaufen, und einer Ausrichtung zur Erzeugung von Ablenkkräften bilden, die auf sich längs der Trennstrecken (42,43) ausbildende Lichtbögen wirken und diese zu den Löschkammern hin ablenken.
- Schaltgerät für Gleichstrom-Anwendungen, mit- einem Gehäuse (12), das zwei einander gegenüberliegende Seitenwände (14) aufweist,- mindestens drei Aufnahmebereichen (16,18,20) für zueinander im wesentlichen parallele Strombahnen (22) mit Trennstrecken (42,43), wobei die Aufnahmebereiche (16,18,20) in dem Gehäuse (12) zwischen dessen Seitenwänden (14) nebeneinanderliegend angeordnet sind und mindestens zwei der Aufnahmebereiche (16,18,20) mit jeweils einer Strombahn (22) versehen sind und jede Strombahn (22) mindestens ein feststehendes Schaltkontaktelement (26,28) und ein bewegbares Schaltkontaktelement (24) aufweist, das zum Kontaktieren des feststehenden Schaltkontaktelements (26,28) in eine Schließstellung und zur Bildung der Trennstrecke (42,43) in eine Öffnungsstellung bewegbar ist, in der ein sich längs der Trennstrecke (42,43) erstreckender Lichtbogen ausbildbar ist, wobei sämtliche bewegbaren Schaltkontaktelemente (24) gemeinsam aus ihren Öffnungsstellungen in ihre Schließstellungen und umgekehrt bewegbar sind,- den Strombahnen (22) zugeordneten Lichtbogenlöscheinrichtungen (36,38), die ebenfalls nebeneinanderliegend in dem Gehäuse (12) zwischen dessen beiden Seitenwänden (14) angeordnet sind und- in dem Gehäuse (12) beidseitig der Paare aus jeweils einem bewegbaren (24) und einem feststehenden Schaltkontaktelement (26,28) ausgebildeten Aufnahmeräumen (56) für Magnetfeldverstärkungselemente zur Verstärkung des Eigenmagnetfeldes eines sich längs der Trennstrecke (42,43) ausbildenden Lichtbogens,- mindestens einem außen an mindestens einer der Seitenwände (14) des Gehäuses (12) angeordneten Außenmagnet und mindestens einem in einem der Aufnahmeräume (56) des Gehäuses (12) angeordneten Innenmagnet,- wobei der mindestens eine Außenmagnet und der mindestens eine Innenmagnet zusammen ein Gesamtmagnetfeld mit Feldlinien, die im wesentlichen quer zu den Trennstrecken (42,43) verlaufen, und eine Ausrichtung zur Erzeugung von Ablenkkräften bilden, die auf sich längs der Trennstrecken (42,43) ausbildende Lichtbögen wirken und diese zu den Lichtbogenlöscheinrichtungen (36,38) hin ablenken.
- Schaltgerät nach einem der Ansprüche 1 bis 12, gekennzeichnet durch ein Schaltschloss zur gleichzeitigen Betätigung und Verriegelung der bewegbaren Schaltkontaktelemente (24).
- Schaltgerät nach einem der Ansprüche 1 bis 13, dadurch gekennzeichnet, dass der Magnet (44,46) oder die Magnete (44,46) als Permanentmagnet bzw. Permanentmagnete ausgebildet ist/sind.
- Schaltgerät nach einem der Ansprüche 1 bis 14, dadurch gekennzeichnet, dass die Lichtbogenlöscheinrichtungen (36,38) jeweils Löschkammern mit übereinander angeordneten Löschblechen aufweisen.
Priority Applications (1)
| Application Number | Priority Date | Filing Date | Title |
|---|---|---|---|
| EP11175842A EP2383761A1 (de) | 2007-11-17 | 2008-11-07 | Schaltgerät für Gleichstrom-Anwendungen |
Applications Claiming Priority (1)
| Application Number | Priority Date | Filing Date | Title |
|---|---|---|---|
| DE102007054958A DE102007054958A1 (de) | 2007-11-17 | 2007-11-17 | Schaltgerät für Gleichstrom-Anwendungen |
Publications (2)
| Publication Number | Publication Date |
|---|---|
| EP2061053A2 true EP2061053A2 (de) | 2009-05-20 |
| EP2061053A3 EP2061053A3 (de) | 2010-05-12 |
Family
ID=40328454
Family Applications (2)
| Application Number | Title | Priority Date | Filing Date |
|---|---|---|---|
| EP11175842A Withdrawn EP2383761A1 (de) | 2007-11-17 | 2008-11-07 | Schaltgerät für Gleichstrom-Anwendungen |
| EP08019482A Withdrawn EP2061053A3 (de) | 2007-11-17 | 2008-11-07 | Schaltgerät für Gleichstrom-Anwendungen |
Family Applications Before (1)
| Application Number | Title | Priority Date | Filing Date |
|---|---|---|---|
| EP11175842A Withdrawn EP2383761A1 (de) | 2007-11-17 | 2008-11-07 | Schaltgerät für Gleichstrom-Anwendungen |
Country Status (3)
| Country | Link |
|---|---|
| US (1) | US7915985B2 (de) |
| EP (2) | EP2383761A1 (de) |
| DE (1) | DE102007054958A1 (de) |
Cited By (20)
| Publication number | Priority date | Publication date | Assignee | Title |
|---|---|---|---|---|
| WO2011147458A1 (en) * | 2010-05-28 | 2011-12-01 | Abb Research Ltd | A dc switching device |
| EP2393094A1 (de) * | 2010-06-07 | 2011-12-07 | Eaton Industries GmbH | Schalteinheit mit Bogenauslöscheinheiten |
| EP2463878A1 (de) * | 2010-12-07 | 2012-06-13 | Eaton Industries GmbH | Schalter mit Löschkammer |
| EP2551867A1 (de) * | 2011-07-28 | 2013-01-30 | Eaton Industries GmbH | Schütz für Gleichstrombetrieb |
| EP2590192A1 (de) | 2011-11-02 | 2013-05-08 | Eaton Industries GmbH | Schalter für einen mehrpoligen Gleichstrombetrieb |
| EP2597664A1 (de) | 2011-11-24 | 2013-05-29 | Eaton Industries GmbH | Schalter für Gleichstrombetrieb mit mindestens einer Schaltkammer |
| EP2597666A1 (de) | 2011-11-24 | 2013-05-29 | Eaton Industries GmbH | Schalter für Gleichstrombetrieb mit mindestens einer Schaltkammer |
| EP2597665A1 (de) | 2011-11-24 | 2013-05-29 | Eaton Industries GmbH | Schalter für Gleichstrombetrieb mit mindestens einer Schaltkammer |
| EP2600367A1 (de) | 2011-11-29 | 2013-06-05 | Eaton Industries GmbH | Schaltgerät für Gleichstromanwendungen |
| EP2600371A1 (de) | 2011-11-29 | 2013-06-05 | Eaton Industries GmbH | Schaltgerät geeignet für einen Gleichstrombetrieb |
| WO2013079511A1 (de) | 2011-11-29 | 2013-06-06 | Eaton Electrical Ip Gmbh & Co. Kg | Permanentmagnetanordnung fuer eine lichtbogentreiberanordnung und schaltgeraet |
| EP2608236A1 (de) | 2011-12-22 | 2013-06-26 | Eaton Industries GmbH | Für einen Gleichstrombetrieb geeignetes Schaltgerät |
| EP2608234A1 (de) | 2011-12-22 | 2013-06-26 | Eaton Industries GmbH | Gleichstromschaltgerät |
| EP2642500A1 (de) | 2012-03-21 | 2013-09-25 | Eaton Industries GmbH | DC-Schalter ohne Löschkammern |
| EP2690639A1 (de) * | 2012-07-24 | 2014-01-29 | Gorlan Team, S.L.U. | Verfahren und Vorrichtung zum Abschalten elektrischer Ströme mit Lichtbogenlöschung |
| WO2014068053A1 (de) * | 2012-10-31 | 2014-05-08 | Eaton Industries (Austria) Gmbh | Gleichstromschaltgerät |
| EP2743950A1 (de) * | 2012-12-13 | 2014-06-18 | Eaton Electrical IP GmbH & Co. KG | Polaritätsunabhängiges Schaltgerät zum führen und trennen von Gleichströmen |
| EP2747108A2 (de) | 2012-12-20 | 2014-06-25 | Eaton Electrical IP GmbH & Co. KG | Schaltgeraet geeignet fuer einen Gleichstrombetrieb |
| EP2747109A1 (de) | 2012-12-20 | 2014-06-25 | Eaton Electrical IP GmbH & Co. KG | Schaltgerät |
| US9552945B2 (en) | 2012-09-27 | 2017-01-24 | Eaton Electrical Ip Gmbh & Co. Kg | Direct current switch with a device for arc extinction independent of current direction |
Families Citing this family (27)
| Publication number | Priority date | Publication date | Assignee | Title |
|---|---|---|---|---|
| EP2431989B1 (de) * | 2010-09-20 | 2014-09-24 | Sécheron SA | Elektromechanischer Schutzschalter |
| EP2463877A1 (de) * | 2010-12-07 | 2012-06-13 | Eaton Industries GmbH | Schalter mit Löschkammer |
| EP2463876A1 (de) * | 2010-12-07 | 2012-06-13 | Eaton Industries GmbH | Schalter mit Löschkammer |
| JP5777440B2 (ja) * | 2011-08-03 | 2015-09-09 | 富士通コンポーネント株式会社 | 電磁継電器及び電磁継電器の製造方法 |
| JP5856426B2 (ja) * | 2011-10-07 | 2016-02-09 | 富士電機株式会社 | 接点装置及びこれを使用した電磁接触器 |
| WO2013070465A1 (en) * | 2011-11-09 | 2013-05-16 | Eaton Corporation | Electrical switching apparatus including magnet assembly and first and second arc chambers |
| IN2012CH00815A (de) | 2012-03-05 | 2015-08-21 | Gen Electric | |
| JP5966469B2 (ja) * | 2012-03-15 | 2016-08-10 | オムロン株式会社 | 封止接点装置 |
| US9343251B2 (en) | 2013-10-30 | 2016-05-17 | Eaton Corporation | Bi-directional direct current electrical switching apparatus including small permanent magnets on ferromagnetic side members and one set of arc splitter plates |
| JP2016110843A (ja) | 2014-12-05 | 2016-06-20 | オムロン株式会社 | 電磁継電器 |
| CN107077996B (zh) | 2014-12-05 | 2019-03-29 | 欧姆龙株式会社 | 电磁继电器 |
| JP6414453B2 (ja) * | 2014-12-05 | 2018-10-31 | オムロン株式会社 | 電磁継電器 |
| DE102015000796B4 (de) * | 2015-01-22 | 2017-03-02 | Schaltbau Gmbh | Schaltgerät mit permanentmagnetischer Lichtbogenlöschung |
| KR101943363B1 (ko) * | 2015-04-13 | 2019-04-17 | 엘에스산전 주식회사 | 전자개폐기 |
| US10566160B2 (en) * | 2015-05-18 | 2020-02-18 | Gigavac, Llc | Passive triggering mechanisms for use with switching devices incorporating pyrotechnic features |
| US11239038B2 (en) | 2015-05-18 | 2022-02-01 | Gigavac, Llc | Mechanical fuse device |
| DE102017106300B4 (de) * | 2017-03-23 | 2023-07-27 | Schaltbau Gmbh | Schaltgerät mit verbesserter permanentmagnetischer Lichtbogenlöschung |
| DE102017125685A1 (de) * | 2017-11-03 | 2019-05-09 | Schaltbau Gmbh | Schaltgerät mit Lichtbogenlöscheinrichtung und Lichtbogenführung |
| DE102018204104A1 (de) * | 2018-03-16 | 2019-09-19 | Ellenberger & Poensgen Gmbh | Schalteinheit zur Trennung eines Stromkreises und Schutzschalter |
| GB2576338A (en) * | 2018-08-15 | 2020-02-19 | Eaton Intelligent Power Ltd | Switching device and method for operating a switching device |
| US11276535B2 (en) * | 2018-08-28 | 2022-03-15 | Gigavac, Llc | Passive triggering mechanisms for use with switching devices incorporating pyrotechnic features |
| FR3095890B1 (fr) * | 2019-05-06 | 2021-07-16 | Schneider Electric Ind Sas | Pôle limiteur d’interrupteur électrique et interrupteur électrique à courant continu comportant un tel pôle limiteur |
| US11443910B2 (en) | 2019-09-27 | 2022-09-13 | Gigavac, Llc | Contact levitation triggering mechanisms for use with switching devices incorporating pyrotechnic features |
| US12300456B2 (en) | 2019-11-19 | 2025-05-13 | Gigavac, Llc | Switching devices incorporating rupture disk |
| KR102349754B1 (ko) * | 2019-12-06 | 2022-01-11 | 엘에스일렉트릭(주) | 아크 박스 및 이를 포함하는 전자 접촉기 |
| JP7505213B2 (ja) * | 2020-03-13 | 2024-06-25 | オムロン株式会社 | 電磁継電器 |
| KR102578555B1 (ko) | 2020-03-13 | 2023-09-14 | 엘에스일렉트릭(주) | 기중 차단기 |
Citations (6)
| Publication number | Priority date | Publication date | Assignee | Title |
|---|---|---|---|---|
| EP0217106B1 (de) | 1985-08-30 | 1991-10-16 | Licentia Patent-Verwaltungs-GmbH | Löscheinrichtung für einen Allstrom-Leitungsschutzschalter |
| EP1594148A1 (de) | 2004-05-05 | 2005-11-09 | ABB PATENT GmbH | Lichtbogenlöscheinrichtung für einen Leitungsschutzschalter |
| DE10352934B4 (de) | 2003-11-11 | 2005-12-22 | Siemens Ag | Lichtbogen-Löschvorrichtung |
| DE202005007878U1 (de) | 2005-05-19 | 2006-09-28 | Schaltbau Gmbh | Löschkammer |
| DE10212948B4 (de) | 2001-03-28 | 2006-11-09 | Schaltbau Gmbh | Schütz für AC- und DC-Betrieb |
| EP0980085B1 (de) | 1998-08-13 | 2006-11-22 | Siemens Aktiengesellschaft | Leitungsschutzschalter mit lichtbogenbetätigter Blasspule |
Family Cites Families (28)
| Publication number | Priority date | Publication date | Assignee | Title |
|---|---|---|---|---|
| DE340964C (de) | 1920-02-24 | 1921-09-21 | Theodor Aspe | Zigarrenspitze mit Saugrohren zum Absaugen des Rauches in der Naehe der Brennstelle |
| US2332446A (en) * | 1941-01-13 | 1943-10-19 | Allen Bradley Co | Permanent magnet blowout for electric switches |
| US2575060A (en) * | 1947-08-07 | 1951-11-13 | Allen Bradley Co | Arc interrupter for electric switches |
| US2875304A (en) * | 1956-03-30 | 1959-02-24 | Westinghouse Electric Corp | Circuit interrupter |
| DE1915972U (de) * | 1962-12-06 | 1965-05-20 | Stotz Kontakt Gmbh | Lichtbogenloeschvorrichtung mit permanentmagnet. |
| DE1874564U (de) * | 1963-04-09 | 1963-06-27 | Continental Elektro Ind Ag | Schaltkammer fuer gleichstromschaltgeraete, insbesondere gleichstromschuetze. |
| DE1884948U (de) * | 1963-10-10 | 1963-12-27 | Weyer & Zandet K G | Lichtbogenloeschvorrichtung zum fuer gleichstromschaltgeraete. |
| FR1541532A (fr) * | 1966-10-22 | 1968-10-04 | Siemens Ag | Dispositif d'extinction de l'arc électrique pour appareils de commutation à courant continu |
| DE2433536C3 (de) * | 1974-07-12 | 1980-04-17 | Schaltbau Gesellschaft Mbh, 8000 Muenchen | Elektromagnetisches Schaltgerät mit Klappanker |
| DE2448144C3 (de) * | 1974-10-09 | 1980-02-07 | Schaltbau Gesellschaft Mbh, 8000 Muenchen | Kontaktsystem fur einen um eine Achse drehbaren Klappanker |
| JPS5713628A (en) * | 1980-06-27 | 1982-01-23 | Mitsubishi Electric Corp | Direct current electromagnetic contactor |
| FR2491676A1 (fr) * | 1980-10-03 | 1982-04-09 | Thomson Csf | Relais electromagnetique |
| EP0098085A1 (de) | 1982-06-25 | 1984-01-11 | United Kingdom Atomic Energy Authority | Metallische Beschichtungen mit geringer Porösität |
| JPS59169010A (ja) * | 1983-03-17 | 1984-09-22 | 富士電機株式会社 | 消弧装置 |
| JP2658170B2 (ja) * | 1988-05-11 | 1997-09-30 | オムロン株式会社 | 開閉器 |
| US5004874A (en) * | 1989-11-13 | 1991-04-02 | Eaton Corporation | Direct current switching apparatus |
| US4962406A (en) * | 1989-12-26 | 1990-10-09 | Westinghouse Electric Corp. | Compact DC/AC circuit breaker with common arc extinguishing capability |
| FR2699322B1 (fr) * | 1992-12-10 | 1995-03-17 | Merlin Gerin | Disjoncteur modulaire à courant continu. |
| DE4342129A1 (de) * | 1993-12-10 | 1995-06-14 | Abb Patent Gmbh | Elektrischer Schalter |
| JP3321963B2 (ja) * | 1994-02-22 | 2002-09-09 | 株式会社デンソー | プランジャ型電磁継電器 |
| US5416455A (en) * | 1994-02-24 | 1995-05-16 | Eaton Corporation | Direct current switching apparatus |
| DE19943965A1 (de) * | 1999-09-14 | 2001-03-15 | Moeller Gmbh | Niederspannungsschaltgerät |
| CN1323410C (zh) * | 1999-10-14 | 2007-06-27 | 松下电工株式会社 | 接点装置 |
| JP2004311389A (ja) * | 2003-02-21 | 2004-11-04 | Sumitomo Electric Ind Ltd | 直流リレー |
| JP2005026182A (ja) * | 2003-07-02 | 2005-01-27 | Matsushita Electric Works Ltd | 電磁開閉装置 |
| DE102005007282A1 (de) * | 2005-02-17 | 2006-08-24 | Abb Patent Gmbh | Elektrisches Installationsgerät mit Lichtbogen-Vorkammerraum, Vorkammerplatten und strombegrenzender Lichtbogenlöscheinrichtung |
| JP2007324038A (ja) * | 2006-06-02 | 2007-12-13 | Mitsubishi Electric Corp | 回路遮断器 |
| DE102006035844B4 (de) * | 2006-08-01 | 2008-06-19 | Schaltbau Gmbh | Schütz für Gleichstrom- und Wechselstrombetrieb |
-
2007
- 2007-11-17 DE DE102007054958A patent/DE102007054958A1/de not_active Ceased
-
2008
- 2008-11-07 EP EP11175842A patent/EP2383761A1/de not_active Withdrawn
- 2008-11-07 EP EP08019482A patent/EP2061053A3/de not_active Withdrawn
- 2008-11-14 US US12/271,562 patent/US7915985B2/en active Active
Patent Citations (6)
| Publication number | Priority date | Publication date | Assignee | Title |
|---|---|---|---|---|
| EP0217106B1 (de) | 1985-08-30 | 1991-10-16 | Licentia Patent-Verwaltungs-GmbH | Löscheinrichtung für einen Allstrom-Leitungsschutzschalter |
| EP0980085B1 (de) | 1998-08-13 | 2006-11-22 | Siemens Aktiengesellschaft | Leitungsschutzschalter mit lichtbogenbetätigter Blasspule |
| DE10212948B4 (de) | 2001-03-28 | 2006-11-09 | Schaltbau Gmbh | Schütz für AC- und DC-Betrieb |
| DE10352934B4 (de) | 2003-11-11 | 2005-12-22 | Siemens Ag | Lichtbogen-Löschvorrichtung |
| EP1594148A1 (de) | 2004-05-05 | 2005-11-09 | ABB PATENT GmbH | Lichtbogenlöscheinrichtung für einen Leitungsschutzschalter |
| DE202005007878U1 (de) | 2005-05-19 | 2006-09-28 | Schaltbau Gmbh | Löschkammer |
Cited By (46)
| Publication number | Priority date | Publication date | Assignee | Title |
|---|---|---|---|---|
| WO2011147458A1 (en) * | 2010-05-28 | 2011-12-01 | Abb Research Ltd | A dc switching device |
| US8502102B2 (en) | 2010-05-28 | 2013-08-06 | Abb Research Ltd. | DC switching device |
| RU2561716C2 (ru) * | 2010-06-07 | 2015-09-10 | ИТОН ЭЛЕКТРИКАЛ АйПи ГМБХ УНД КО. КГ | Блок переключения с блоками гашения дуги |
| EP2393094A1 (de) * | 2010-06-07 | 2011-12-07 | Eaton Industries GmbH | Schalteinheit mit Bogenauslöscheinheiten |
| WO2011154380A1 (en) | 2010-06-07 | 2011-12-15 | Eaton Industries Gmbh | Switch unit with arc-extinguishing units |
| US8921728B2 (en) | 2010-06-07 | 2014-12-30 | Eaton Electrical Ip Gmbh & Co. Kg | Switch unit with arc-extinguishing units |
| EP2463878A1 (de) * | 2010-12-07 | 2012-06-13 | Eaton Industries GmbH | Schalter mit Löschkammer |
| WO2012076606A1 (de) * | 2010-12-07 | 2012-06-14 | Eaton Industries Gmbh | Schalter mit loeschkammer |
| RU2581599C2 (ru) * | 2010-12-07 | 2016-04-20 | ИТОН ЭЛЕКТРИКАЛ АйПи ГМБХ УНД КО. КГ | Выключатель с дугогасительной камерой |
| US9208977B2 (en) | 2010-12-07 | 2015-12-08 | Eaton Electrical Ip Gmbh & Co. Kg | Switch having a quenching chamber |
| WO2013014281A1 (de) * | 2011-07-28 | 2013-01-31 | Eaton Electrical Ip Gmbh & Co. Kg | Schütz für gleichstrombetrieb |
| US8937519B2 (en) | 2011-07-28 | 2015-01-20 | Eaton Electrical Ip Gmbh & Co. Kg | Contactor for DC operation |
| EP2551867A1 (de) * | 2011-07-28 | 2013-01-30 | Eaton Industries GmbH | Schütz für Gleichstrombetrieb |
| WO2013064629A1 (de) | 2011-11-02 | 2013-05-10 | Eaton Electrical Ip Gmbh & Co. Kg | Schalter für einen mehrpoligen gleichstrombetrieb |
| EP2590192A1 (de) | 2011-11-02 | 2013-05-08 | Eaton Industries GmbH | Schalter für einen mehrpoligen Gleichstrombetrieb |
| WO2013076299A1 (de) | 2011-11-24 | 2013-05-30 | Eaton Electrical Ip Gmbh & Co. Kg | Schalter fuer gleichstrombetrieb mit mindestens einer schaltkammer |
| WO2013076310A1 (de) | 2011-11-24 | 2013-05-30 | Eaton Electrical Ip Gmbh & Co. Kg | Schalter fuer gleichstrombetrieb mit mindestens einer schaltkammer |
| EP2597664A1 (de) | 2011-11-24 | 2013-05-29 | Eaton Industries GmbH | Schalter für Gleichstrombetrieb mit mindestens einer Schaltkammer |
| EP2597666A1 (de) | 2011-11-24 | 2013-05-29 | Eaton Industries GmbH | Schalter für Gleichstrombetrieb mit mindestens einer Schaltkammer |
| EP2597665A1 (de) | 2011-11-24 | 2013-05-29 | Eaton Industries GmbH | Schalter für Gleichstrombetrieb mit mindestens einer Schaltkammer |
| WO2013076303A1 (de) | 2011-11-24 | 2013-05-30 | Eaton Electrical Ip Gmbh & Co. Kg | Schalter fuer gleichstrombetrieb mit mindestens einer schaltkammer |
| EP2600367A1 (de) | 2011-11-29 | 2013-06-05 | Eaton Industries GmbH | Schaltgerät für Gleichstromanwendungen |
| EP2600371A1 (de) | 2011-11-29 | 2013-06-05 | Eaton Industries GmbH | Schaltgerät geeignet für einen Gleichstrombetrieb |
| US9552944B2 (en) | 2011-11-29 | 2017-01-24 | Eaton Electrical Ip Gmbh & Co. Kg | Switching device for direct current applications |
| US10290439B2 (en) | 2011-11-29 | 2019-05-14 | Eaton Intelligent Power Limited | Permanent magnet assembly for an arc driver assembly and switching device |
| EP2631928A1 (de) | 2011-11-29 | 2013-08-28 | Eaton Industries GmbH | Permanentmagnetanordnung für eine Lichtbogentreiberanordnung und Schaltgerät |
| WO2013079508A1 (de) | 2011-11-29 | 2013-06-06 | Eaton Electrical Ip Gmbh & Co. Kg | Schaltgeraet geeignet fuer einen gleichstrombetrieb |
| WO2013079269A1 (de) | 2011-11-29 | 2013-06-06 | Eaton Electrical Ip Gmbh & Co. Kg | Schaltgeraet fuer gleichstromanwendungen |
| WO2013079511A1 (de) | 2011-11-29 | 2013-06-06 | Eaton Electrical Ip Gmbh & Co. Kg | Permanentmagnetanordnung fuer eine lichtbogentreiberanordnung und schaltgeraet |
| WO2013092351A1 (de) | 2011-12-22 | 2013-06-27 | Eaton Electrical Ip Gmbh & Co. Kg | Fuer einen gleichstrombetrieb geeignetes schaltgeraet |
| WO2013092348A1 (de) | 2011-12-22 | 2013-06-27 | Eaton Electrical Ip Gmbh & Co. Kg | Schaltgeraet geeignet fuer einen gleichstrombetrieb |
| EP2608236A1 (de) | 2011-12-22 | 2013-06-26 | Eaton Industries GmbH | Für einen Gleichstrombetrieb geeignetes Schaltgerät |
| US9552943B2 (en) | 2011-12-22 | 2017-01-24 | Eaton Electrical Ip Gmbh & Co. Kg | Switching device which is suitable for DC operation |
| EP2608234A1 (de) | 2011-12-22 | 2013-06-26 | Eaton Industries GmbH | Gleichstromschaltgerät |
| EP2642500A1 (de) | 2012-03-21 | 2013-09-25 | Eaton Industries GmbH | DC-Schalter ohne Löschkammern |
| WO2013139870A1 (de) | 2012-03-21 | 2013-09-26 | Eaton Electrical Ip Gmbh & Co. Kg | Dc-schalter ohne loeschkammern |
| EP2690639A1 (de) * | 2012-07-24 | 2014-01-29 | Gorlan Team, S.L.U. | Verfahren und Vorrichtung zum Abschalten elektrischer Ströme mit Lichtbogenlöschung |
| US9552945B2 (en) | 2012-09-27 | 2017-01-24 | Eaton Electrical Ip Gmbh & Co. Kg | Direct current switch with a device for arc extinction independent of current direction |
| WO2014068053A1 (de) * | 2012-10-31 | 2014-05-08 | Eaton Industries (Austria) Gmbh | Gleichstromschaltgerät |
| RU2656231C2 (ru) * | 2012-10-31 | 2018-06-04 | Итон Индастриз (Острия) Гмбх | Коммутационный аппарат постоянного тока |
| EP2743950A1 (de) * | 2012-12-13 | 2014-06-18 | Eaton Electrical IP GmbH & Co. KG | Polaritätsunabhängiges Schaltgerät zum führen und trennen von Gleichströmen |
| US9129761B2 (en) | 2012-12-20 | 2015-09-08 | Eaton Electrical Ip Gmbh & Co. Kg | Switching device suitable for direct current operation |
| US9418804B2 (en) | 2012-12-20 | 2016-08-16 | Eaton Electrical Ip Gmbh & Co. Kg | Switching device |
| DE102013111953A1 (de) | 2012-12-20 | 2014-06-26 | Eaton Electrical Ip Gmbh & Co. Kg | Schaltgerät |
| EP2747109A1 (de) | 2012-12-20 | 2014-06-25 | Eaton Electrical IP GmbH & Co. KG | Schaltgerät |
| EP2747108A2 (de) | 2012-12-20 | 2014-06-25 | Eaton Electrical IP GmbH & Co. KG | Schaltgeraet geeignet fuer einen Gleichstrombetrieb |
Also Published As
| Publication number | Publication date |
|---|---|
| US20090127229A1 (en) | 2009-05-21 |
| EP2061053A3 (de) | 2010-05-12 |
| EP2383761A1 (de) | 2011-11-02 |
| US7915985B2 (en) | 2011-03-29 |
| DE102007054958A1 (de) | 2009-06-04 |
Similar Documents
| Publication | Publication Date | Title |
|---|---|---|
| EP2061053A2 (de) | Schaltgerät für Gleichstrom-Anwendungen | |
| EP2786385B1 (de) | Schaltgeraet fuer gleichstromanwendungen | |
| EP1313117B1 (de) | Lichtbogenlöschanordnung für ein elektronisches Schaltgerät | |
| EP3428942B1 (de) | Gleichstrom-lichtbogenlöschvorrichtung und elektromechanisches gleichstrom-schaltgerät | |
| EP2649629A1 (de) | Schalter mit loeschkammer | |
| DE102011089234B4 (de) | Lichtbogen-Löschvorrichtung und Schutzschaltgerät | |
| EP2783378B1 (de) | Schaltanordnung fuer gleichstrombetrieb mit mindestens einer schaltkammer | |
| EP2774158B1 (de) | Schalter für einen mehrpoligen gleichstrombetrieb | |
| DE3852436T2 (de) | Lichtbogenlöschvorrichtung. | |
| WO2012010227A1 (de) | Unidirektional schaltendes dc-schütz | |
| EP2783379B1 (de) | Schalter fuer gleichstrombetrieb mit mindestens einer schaltkammer | |
| DE102007054960B3 (de) | Schaltgerät für Gleichstrom-Anwendungen | |
| EP0350825B1 (de) | Elektrisches Schaltgerät | |
| EP0251160B1 (de) | Löscheinrichtung für elektrische Schalter | |
| EP2795643B1 (de) | Schaltgeraet geeignet fuer einen gleichstrombetrieb | |
| DE3337562A1 (de) | Loescheinrichtung fuer einen leitungsschutzschalter | |
| DE1005153B (de) | Lichtbogenloeschvorrichtung fuer elektrische Schalter | |
| WO2007147648A1 (de) | Leistungsschalter oder leitungsschutzschalter | |
| DE3443122A1 (de) | Vorrichtung zur unterbrechung von stromkreisen | |
| EP0358287B1 (de) | Antriebsbauteil für einen mehrpoligen Niederspannungs-Leistungsschalter | |
| DE1232644B (de) | Schaltgeraet mit einer eine Loeschblechanordnung enthaltenden Lichtbogenkammer | |
| DE19525286C2 (de) | Mehrpoliger Vakuumschalter mit einer Antriebsvorrichtung | |
| DE1025967B (de) | Lichtbogenloeschkammer mit im Wege des Lichtbogens angeordneten Platten aus Isolierstoff | |
| EP0227585B1 (de) | Trennkontaktanordnung für an Führungsteilen verfahrbar angeordnete Schaltgeräte | |
| DE3810977C2 (de) | Strombegrenzende Schalteinrichtung mit elektrodynamisch öffnenden Schaltstücken |
Legal Events
| Date | Code | Title | Description |
|---|---|---|---|
| PUAI | Public reference made under article 153(3) epc to a published international application that has entered the european phase |
Free format text: ORIGINAL CODE: 0009012 |
|
| AK | Designated contracting states |
Kind code of ref document: A2 Designated state(s): AT BE BG CH CY CZ DE DK EE ES FI FR GB GR HR HU IE IS IT LI LT LU LV MC MT NL NO PL PT RO SE SI SK TR |
|
| AX | Request for extension of the european patent |
Extension state: AL BA MK RS |
|
| PUAL | Search report despatched |
Free format text: ORIGINAL CODE: 0009013 |
|
| RAP1 | Party data changed (applicant data changed or rights of an application transferred) |
Owner name: EATON INDUSTIES GMBH |
|
| AK | Designated contracting states |
Kind code of ref document: A3 Designated state(s): AT BE BG CH CY CZ DE DK EE ES FI FR GB GR HR HU IE IS IT LI LT LU LV MC MT NL NO PL PT RO SE SI SK TR |
|
| AX | Request for extension of the european patent |
Extension state: AL BA MK RS |
|
| RAP1 | Party data changed (applicant data changed or rights of an application transferred) |
Owner name: EATON INDUSTRIES GMBH |
|
| 17P | Request for examination filed |
Effective date: 20101112 |
|
| 17Q | First examination report despatched |
Effective date: 20101220 |
|
| AKX | Designation fees paid |
Designated state(s): AT BE BG CH CY CZ DE DK EE ES FI FR GB GR HR HU IE IS IT LI LT LU LV MC MT NL NO PL PT RO SE SI SK TR |
|
| STAA | Information on the status of an ep patent application or granted ep patent |
Free format text: STATUS: THE APPLICATION IS DEEMED TO BE WITHDRAWN |
|
| 18D | Application deemed to be withdrawn |
Effective date: 20130604 |