EP1849937A2 - Klipsbefestigung für die Schnellmontage von Beschlageinrichtungen, wie Schwenkhebelverschlüsse, Scharnierteile in Durchbrüchen in einer dünnen Wand - Google Patents
Klipsbefestigung für die Schnellmontage von Beschlageinrichtungen, wie Schwenkhebelverschlüsse, Scharnierteile in Durchbrüchen in einer dünnen Wand Download PDFInfo
- Publication number
- EP1849937A2 EP1849937A2 EP07010668A EP07010668A EP1849937A2 EP 1849937 A2 EP1849937 A2 EP 1849937A2 EP 07010668 A EP07010668 A EP 07010668A EP 07010668 A EP07010668 A EP 07010668A EP 1849937 A2 EP1849937 A2 EP 1849937A2
- Authority
- EP
- European Patent Office
- Prior art keywords
- spring
- fastening according
- clip
- holding
- thin wall
- Prior art date
- Legal status (The legal status is an assumption and is not a legal conclusion. Google has not performed a legal analysis and makes no representation as to the accuracy of the status listed.)
- Withdrawn
Links
Images
Classifications
-
- E—FIXED CONSTRUCTIONS
- E05—LOCKS; KEYS; WINDOW OR DOOR FITTINGS; SAFES
- E05B—LOCKS; ACCESSORIES THEREFOR; HANDCUFFS
- E05B9/00—Lock casings or latch-mechanism casings ; Fastening locks or fasteners or parts thereof to the wing
- E05B9/08—Fastening locks or fasteners or parts thereof, e.g. the casings of latch-bolt locks or cylinder locks to the wing
-
- E—FIXED CONSTRUCTIONS
- E05—LOCKS; KEYS; WINDOW OR DOOR FITTINGS; SAFES
- E05B—LOCKS; ACCESSORIES THEREFOR; HANDCUFFS
- E05B1/00—Knobs or handles for wings; Knobs, handles, or press buttons for locks or latches on wings
- E05B1/0092—Moving otherwise than only rectilinearly or only rotatively
-
- Y—GENERAL TAGGING OF NEW TECHNOLOGICAL DEVELOPMENTS; GENERAL TAGGING OF CROSS-SECTIONAL TECHNOLOGIES SPANNING OVER SEVERAL SECTIONS OF THE IPC; TECHNICAL SUBJECTS COVERED BY FORMER USPC CROSS-REFERENCE ART COLLECTIONS [XRACs] AND DIGESTS
- Y10—TECHNICAL SUBJECTS COVERED BY FORMER USPC
- Y10S—TECHNICAL SUBJECTS COVERED BY FORMER USPC CROSS-REFERENCE ART COLLECTIONS [XRACs] AND DIGESTS
- Y10S411/00—Expanded, threaded, driven, headed, tool-deformed, or locked-threaded fastener
- Y10S411/913—Self-expanding anchor
-
- Y—GENERAL TAGGING OF NEW TECHNOLOGICAL DEVELOPMENTS; GENERAL TAGGING OF CROSS-SECTIONAL TECHNOLOGIES SPANNING OVER SEVERAL SECTIONS OF THE IPC; TECHNICAL SUBJECTS COVERED BY FORMER USPC CROSS-REFERENCE ART COLLECTIONS [XRACs] AND DIGESTS
- Y10—TECHNICAL SUBJECTS COVERED BY FORMER USPC
- Y10T—TECHNICAL SUBJECTS COVERED BY FORMER US CLASSIFICATION
- Y10T70/00—Locks
- Y10T70/70—Operating mechanism
- Y10T70/7441—Key
- Y10T70/7486—Single key
- Y10T70/7508—Tumbler type
- Y10T70/7559—Cylinder type
- Y10T70/7655—Cylinder attaching or mounting means
Definitions
- the invention relates to a Klipsbefest Trent suitable for the quick assembly of fitting devices, such as socket wrench locks, swivel lever locks, hinge parts, in openings in a thin wall, comprising a on the one, outer side of the thin wall to be arranged, the outer edge of the opening overlapping headboard, of which a the breakthrough in the mounted position protruding hull part protrudes from the resilient in the direction of its outer surface retaining elements, the free end of a first inclined surface (inlet chamfer), which serves for spring-loaded pushing back of the holding elements (36) through the breakthrough edge, and a second thereto substantially perpendicular Inclined surface (chamfer) for play-free support of the body part on the edge or edge of the opening of the other, inner side of the thin wall, are arranged, wherein the body part and the holding element and spring are separate parts.
- fitting devices such as socket wrench locks, swivel lever locks, hinge parts
- the intended for a snap lock housing comprises a to be arranged on the one, outer side of the thin wall, the outer edge of the breakthrough overlapping head portion, namely a flange from which a breakthrough in the mounted position protrudes hull part from the yielding in the direction of its outer surface Tongue elements project whose free end has an inclined surface for play-free support of the body part on the edge of the opening of the other, inner side of the thin wall.
- the holding force of the integral with the body part holding or tongue elements is dependent on the spring tension, which depends on the plastic material used and therefore can not be made arbitrarily large.
- the object of the invention is to develop a Klipsbefestist for quick assembly of fittings in an alternative to the prior art, in particular to provide a Klipsbefestist that does not have the above disadvantages.
- the holding elements are at a distance from the thin wall about a plane perpendicular to the plane of the thin wall axis or parallel axis rotatably mounted lever, wherein the holding element has a projection / return, with a stroke in the direction of movement determining return / Projection cooperates, which is supported or formed by the body part.
- support elements held or carried in the fuselage part are provided for supporting the holding elements after the mounting of the fitting device in the thin wall. (Claim 2).
- two diametrically opposed holding elements are provided, which are supported by spring devices such as coil spring and / or wedge devices such as tapered screw (claim 3). Since the spring means can be provided with freely selectable spring force, the locking force can be adapted to the respective task and is not dependent on the plastic material.
- the locking force is highly dependent on the shape of the fitting and the material property of the plastic used.
- the holding element is a flat part in the direction of movement, from whose one or both side edges of the strips emanate for better guidance in the direction of movement.
- the holding element has a direction of movement extending, substantially rectangular opening, in which a coil compression spring is used.
- the holding element is a flat in the direction of movement part with a width smaller than the round diameter of the spring.
- the holding element holds a katzbuckelnde spring.
- the channel receiving the holding element grips a part of the spring projecting from the holding element (FIG. 45F).
- the retaining element has two opposing lateral nests for receiving half the spring width of the spring and the channel on a matching recess for the remaining spring width.
- these have projections which protrude at the transverse edges of the respective aperture for receiving the spring into the respective other aperture, forming the support surfaces for the spring.
- the holding element consists of a package of a first and a second and possibly further flat parts each having a rectangular opening, which have a common opening for flush receiving a coil compression spring such that in the unloaded state, the coil spring in the Working position is pressed.
- the holding element is a flat in the direction of movement part with an opening, extending from the transverse to the direction of movement extending side edges projections for aligning the coil spring.
- the holding element is housed in a housing which in turn is mountable in a thick wall.
- the holding element has inclined surfaces of the same angle for inlet and outlet and thus operates like a ball catch.
- the holding element forms a straight centering surface in front of the inlet bevel.
- the holding element forms approach, return or threaded surfaces into which a tool, such as keys or screwdriver blade for moving the or the holding elements can engage in the retracted position.
- the body part has a part partition or undercut or breakthrough edge on which the levers are axially supported by a shoulder or hook.
- the holding elements are formed by displaceably held levers, whoseorientsstangente is parallel or perpendicular to the longitudinal extent of the fitting.
- the holding element is formed by a stamped part.
- the head part in the region of the retaining element, has a recess for receiving Kantenausbeulept.
- two or more holding elements are arranged side by side in each case.
- fuselage and headboard are molded in one piece.
- fuselage and headboard are two parts that are screwed, welded or clipped.
- the fitting device is a swivel or folding lever lock for attachment in an elongated or in two shorter rectangular openings, one breakthrough a lever bearing and the other breakthrough receives a lever lock, wherein at least one of the openings for receiving at least one body part with Retaining elements according to one of the preceding claims.
- the pivoting or folding lever lock on a trough for lockable recording of the actuating lever wherein the trough forms the head part of one or two fuselage parts with holding elements in the region of the lever support, such as drive shaft.
- the pivoting or folding lever lock on a trough for lockable recording of the actuating lever wherein the trough on the one hand forms the Schugrifffcheche for the thumb of a lever lock, on the other hand, the head part of a body part with holding elements in the lever locking.
- the fitting device a hinge part, a rod guide, a lock case, a handle tube, a Socket wrench, a sash lock or a handle approach is.
- FIG. 1A is a longitudinal sectional view of a pivot lever closure 10, which in two
- Rectangular openings 12, 14 of a thin wall 16, here a sheet metal cabinet door leaf, is arranged, see also Fig. 27. Leaving the central web 17 away, there is a long rectangular opening, which would also be suitable.
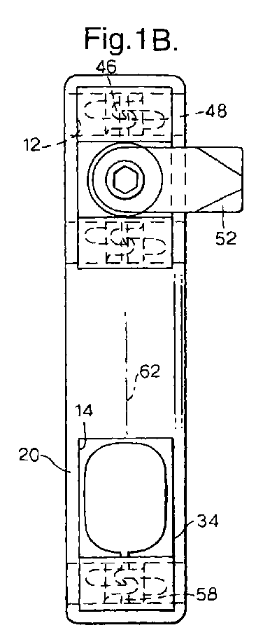
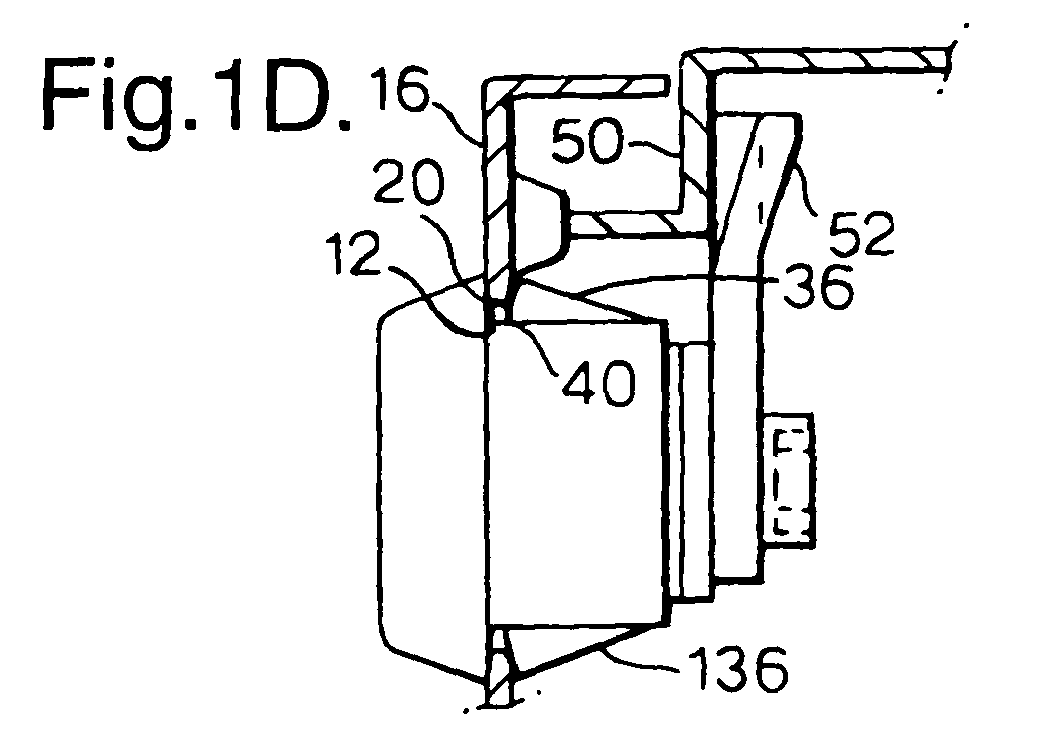
- the fitting device here the pivot lever lock comprises in the region of each opening 12 or 14 on the one, outer side 18 of the thin wall 16 to be arranged, the outer edge 20 of the opening 12 and 14 overlapping head part, here in the form of the pivot lever 22 receiving trough 24, from which head part or trough 24, a breakthrough 12 and 14 in the mounted position each protruding hull part 26 emanates.
- flexible tongues or retaining elements 36 project toward the outer surface 34, the free end of which has an inclined surface 38 for play-free support of the body part 26, 28 on the edge or edge 40 of the opening 12 or 14 of the other, inner side 42 of the thin wall 16 has.
- the locking elements are hooks hooking each other, wherein the material of these hooks expediently consists of polyamide, that is flexible enough to sufficiently dodge the linear insertion of the holding elements 36 in the body part 26, 28 and to each other
- FIG. 1 B hooked above and below hooked so that they remain in the Fig. 1 B shown position and so the outgoing from the trough 24 fuselage parts 32, 28, 128 in the associated rectangular breakthrough safe be held.
- This fuse can be designed by appropriately strong spring means 44 so that under normal circumstances and operating conditions, the retaining elements or Klipsetti 36 does not retract against the force of the spring 44.
- the closure comprises, as shown here, a projection tongue 52 which lies behind a door frame edge 50
- the two diametrally opposed holding elements 36, 136 are loaded to different degrees.
- the pressure exerted on the side of the tongue 52 in its rear grip position is for the most part taken up by the holding element 36 opposite edge 20 of the tiller, while the holding member 36 is little loaded, which is exactly the opposite on the opposite side, as this holding member 136 is the strongest loaded.
- the two levers 236 are pressed at their inner end in each case by a common strong compression spring 244 to the outside.
- the tongue can be provided with a rotatable cross stop, which is indicated at 64. Also connected to the trough bar lock body with pinion and rods can be mounted and clipped, especially if the central web 17 is omitted between the two openings 12, 14 in the thin wall 16 and so an elongated opening is formed, the openings 12, 14, see FIG. 2.
- the upper body portion 26, projecting from the trough 14, serves as a bearing for a drive shaft 66 at the end of which is outside the door leaf of the hand lever 22 hinged about an axis perpendicular to the door leaf axis 68 out is, while the inner end of the shaft 66 terminates with a square on which a square opening having tongue 52 is fitted and held by a fastening screw 72.
- a receiving portion 30 for an outgoing from the hand lever 22 cylinder lock interlocking part, with excentered tongue or thumb 70 is provided, which can be locked behind a return surface 74 by actuation of a cylinder key 76 in the retracted position.
- a spring rear handle 174 can alternatively be provided, wherein the rotating tongue 170 could also be mounted in a torsionally rigid manner on the cylindrical roller by means of clip devices.
- FIG. 4 shows a two-part hinge with the hinge parts 80, 82, wherein the lower, first hinge part 80 is fixed by means of the clip member 228 described in connection with the pivot lever handle on the door frame 250, while the second, upper hinge part 82 with the door leaf is connected by means of the holding element 236, see Fig. 4D.
- the lower hinge part 80 and upper hinge part 82 are interconnected by a hinge pin 84 which is crimped in the lower hinge part 80, while its upper end is rotatably received in a bore 86 of the upper hinge part 82.
- Lower hinge part 80 is connected to a door frame 150, by means of a clip fastening 228, while the upper hinge part 82 by means of clip fastening 232 pivotally holds a metal door 216 about the hinge axis of the hinge pin 84.
- the rectangular opening required for this purpose in the door frame 250 or in the door leaf 216 is illustrated, for example, in FIG. 12 and provided with the reference number 78.
- the clip attachment includes a on the outer side of the thin wall or of the frame 250 and the door panel 216 to be arranged, the outer edge of the opening 78 overlapping head portion or hinge flaps 88 (Fig. 4D), of which the opening 78 in mounted Position projecting fuselage part 228 emanates from the resilient in the direction of its outer surface holding or tongue elements 336 as shown in FIG. 8A or 436 of FIG. 10, the free end of an inclined surface 38 for play-free support of the body portion 228 and thus of the hinge 80 on the edge the aperture 78 of the other, inner side of the thin wall 250, is arranged.
- a construction can be selected, as has already been described in connection with the pivot lever lock, or as it is selected according to an embodiment of FIGS. 5A to 5C.
- the hook hooking serves a pin of FIG. 6 as a lock.
- Two metal components according to FIGS. 5A to 5C are inserted in a rectangular guide channel according to FIG. 8B and held in the inserted position by an externally screwed pin according to FIG. 6 in such a way that they can move around each other for a short distance, but can not fall out.
- FIG. 9A, 9B and 9C an embodiment for a hinge is shown, in which one hinge part is welded to the door leaf 416, while the other hinge part is held on the door frame 450 with a further embodiment of the clip fastening according to the invention.
- This consists of the door leaf plane at a distance about an axis perpendicular to the door leaf axis rotatably arranged lever means 436, which are pressed by spring means to the outside and then take edge portions of a arranged in the door leaf 450 rectangular opening.
- a rectangular opening 78 is shown, as it is suitable for the embodiment described here, a lock.
- a hinge element as shown in FIGS. 10 and 11 in side view and front view, could be clipped into this rectangular opening 78.
- the structure is similar to that of FIG. 3, but this is an (upper) hinge part 228.
- Fig. 13 shows a pivot lever with a arranged at the lower end, known per se hook attachment, however, at the upper end of the invention holding elements are provided.
- a hook fastening means hook 100 As shown in FIG. 13 at the lower end only small forces are effective, a hook fastening means hook 100, while in the tongue area, 52, where the closing forces and the rotation of the hand lever cause greater forces occur, the device 836 according to the invention is provided, be It is one of the preceding embodiments, especially the embodiment by means of conical screw, Fig. 14, 15.
- a hook 100 At the other end of the key plate or head part 24 is in Fig. 13, a hook 100.
- a socket wrench In the embodiment of FIG. 17 is a socket wrench, in the embodiment of FIG. 18 to a lever lock.
- FIG. 19 shows in a sectional view from above a hinge part 382, on whose head part forming tabs 388 the body part 326 is fastened by means of cap screws 27. These screws 27 simultaneously limit the stroke of the fastening elements 1136, see the slot 29, in which the screw cross section 27 can migrate.
- FIGS. 20 or 21 an axial sectional view in a bottom view, upon insertion, the elements 1136 move inwardly against the force of the spring 344 within the channel as far as the elongated hole extension 29 permits and then back in Jump lock position, which can be seen in Fig. 20.
- This separation of the head and torso parts of the fastening system is z. B. advantageous if grooves 31 are to be provided for Abdichtringe 33. This can lead to injection molding tools that are difficult to handle when a one-piece production is desired.
- the hinge member 82 is shown in Figs. 22, 23 and 24 in three different views.
- the groove 35 can be seen, in which the free legs of the U-part 326 are used, as well as the threaded holes 37, in which the screws 27 can be screwed.
- FIGS. 25 and 26 show the guide part for the holding elements 1136 in an end view and a side view.
- FIG. 27 and 28 show in a side view and in a plan view an embodiment with lever-shaped, cross-spring-supported (3644), about an axis perpendicular to the wall plane 16 axis 3661 pivotable holding members 3636, see also Fig. 9A to 9C.
- Fig. 29 and 30 show in a front view and a side view end face or frontally mounted, in a circular arc around a Wandebebe 16 parallel axis 60 guided, each spring-loaded (3744) holding or Klipside 3736.
- the attachment of the fitting 3724 in the breakthrough center of the Casserole arc is further inside, based on the pivot point 60 of the Klips institute arranged to achieve the clamping function. See also Fig. 3.
- FIGS. 31 and 32 show in a side view and in a plan view holding elements 3836 as in FIGS. 29, 30, wherein, however, a plurality of holding elements 3836 are mounted side by side on a shaft 3860. They transmit larger forces.
- the shaft 3860 is mounted multiple times (at both ends and in the middle) in the joining part 3826, e.g. in the body portion 3826 of a fitting, e.g. Hinge part 3824 as shown.
- FIG. 34 in a front view and FIG. 35 in a side view and in further views show a clip fastening with retaining elements 4136 secured by a pin 4194 and formed by two opposing, spring-supported (4144) elements 4136, FIG. the mirror image Stacking over the spring retainer have a closed aperture 4185 in which a helical compression spring 4144 is biased.
- a recessed longitudinally inserted 4183 forms in mirror image layering a groove for receiving a plug 4194, which aligns with its neck 4105 the Klipselementvers 4106 in the channel 4113 centered.
- FIG. 37 shows in various views the individual parts 4136 (twice) and 4194 of the clip element package 4106.
- Figures 38 and 39 show a construction in which the elements are centered by bending down a grooved rib 4294.
- FIG. 40 and 41 shows a packaged, open spring channel 4385 formed clip element 4336 formed of thin material in which the attached hook 4351 is retained in an outer opening 4307 of the channel 4313 and secures the clip elements 4336 against the spring pressure 4344. Again, these are counteracting packaged clip elements.
- FIG. 42 illustrates these two individual packages 4306 of the arrangement of FIGS. 40 and 41.
- Fig. 43A shows two other arrangements (resilient nose 4359 integral with plate 4336 or nose piece 4363 sandwiched in a recess of plate 4336 to hold the clip elements in their operative position against spring force (against spring force because spring channel 4385 faces rearward) is open).
- FIGS. 43B to 43D show clip elements 4336b with closed half shell 4308 for receiving the spring 4344; after removal of the possibly provided plug (see FIG. 34), the clip elements 4336 can be fitted with a screwdriver blade 4301 or similar tool (see, for example, FIGS Fig. 81 B) for disassembly of the fastened part 4324 (fitting, trim panel).
- FIG. 44A shows the retraction of splined clip portions 4436 with a splined shaft 4402.
- Fig. 44B shows a housing 4424 of a fastener for the side by side
- Fig. 44C shows a screwdriver blade 4401
- Figs. 44D and 44E side-by-side snap-action clip members for retraction with the screwdriver of Fig. 44C mounted in a fastener housing
- Fig. 44F the associated ones Clip Elements 4436 in plan view.
- Fig. 45A illustrates in 6 partial images individual (non-stratified) clip elements 4536 for individual use on end or side surfaces of fittings or other structural parts, with T-section 4503 to improve the leadership characteristics of particularly short or high clip elements, the partial image right in Top view of a frontal application 4524.
- the spring 4544 is inserted prestressed.
- Fig. 45B illustrates a clip element with a rectangular aperture 4683 for spring reception, end edges of the aperture 4683 are provided with one-sided or two-sided projections to securely hold the spring during pre-assembly.
- Fig. 45C shows a clip member 4736 to be used singly.
- the spring 4744 may be inserted (biased) centrally or one-sidedly (Fig. 45C), from Fig. 45D the finding arises that when the spring 4744 is one-sided, it tends to tilt and thereby the pre-mounted clip element securely holds in the mounting space.
- Fig. 45E shows the mounting space 4747 for the clip 4736 of FIG. 45D, while maintaining the reference dimensions A in clip 4736 and spring 4747 in the mounting space to be fastened by clipping 4724 the position of the clip 4736 is set.
- Fig. 45F shows in two fields that with centrally arranged spring in Klipselement it is secured by the following measures against falling out: either the hole for the spring (spring test 4747) is reduced in the rear area so that the spring 4744 at the onset of the preassembled Clip element jammed or surfaces, see left part of Fig. 45F, or tips, see right part of Fig. 45F, attached, the intermediate dimension is smaller than the diameter of the Spring is;
- Fig. 45G in 7 partial pictures clip elements with a rectangular cross-section, used for Klipsbefest Trent a component front, spring arrangement centered or laterally, Fig. 46A and 46B, the creation of a guide channel 4813 for clip elements 4836 on a sheet metal part, such as hinge tabs 4824, by Anyaken a rectangular pipe section.
- FIG. 47A and 47B show a broad clip element 9436 for receiving large forces with springs 4944 prestressed on both sides in the closed nest 4983, cat humps of the springs 4944 secures clip element 4936 from falling out of the channel 4933.
- FIG. 47C shows a depression 4947 with a half spring cross section to recognize both sides for receiving the clip element 4936 of FIG. 47B.
- FIGS. 48A and 48B illustrate a clip member 5036, similar to FIG. 42D, with reciprocal lobes 5015 that enable full engagement of the spring end surfaces 5044.
- Figures 49A and 49B show a clip member 5136 inserted into an enveloping housing 5126 for mounting in an otherwise unsuitable material, such as wood.
- the cross section of the housing 5126 is rectangular here.
- Fig. 50D shows an embodiment with a clip member 5336, the inlet and outlet angle is the same and can take over in conjunction with a bore 5337 ball catch function.
- FIGS. 51A to 51C clip elements 5436 similar to FIG. 42D with an outer centering surface 5439 for better insertion into the mounting hole, if for certain reasons to dispense with a centrally-oriented measure such as plugs.
- fastening is provided by means of fastening elements arranged in a channel, see reference number 1636.
- the fastening here takes place with retaining elements 1636 arranged on the end faces, which, since they are somewhat shorter than in other embodiments, in addition to be guided by a groove, which can be seen at 65, see FIGS. 57A, 57B, 57C, while the mounting of the pinion, shown in FIGS. 58A, 58B, takes place in a body part 1632, which in FIG. 53C is recognize, in Fig. 59 is additionally a lid 67 can be seen, which represents an additional storage for the pinion.
- This cover can either be supported on a recess 69 in the body part of the fitting, see FIGS. 54A, 54B, or on the edges of the locking rods 71, as can be seen in FIGS. 52B, 53B.
- Figs. 60A, 60B, 60C, 60D show a similar construction as described above, but here the clip fitting for the cap is located at the front corners and these engage in apertures formed by the lid shown in Figs. 61A, Figs. 61 B, 61 C and 61 D is shown, so it attack the hooks 73 in the openings 75 shown in Fig. 61C, so that the holder of FIG. 61A results.
- FIGS. 62A, 62B Shown in FIGS. 62A, 62B is a toggle fastener with closure rod 75 which operates without a cap, instead having a one-piece housing, lateral guide webs 79 for the rods 75 carrying clip means 77 thereby holding the rods in place.
- the attachment of the housing by means of a hook 81 on one side (in Fig. 62A right) and on the other side by means of the holding element device 1836 according to the invention.
- FIGS. 63A, 63B is a housing clipped in accordance with the invention, with fastening elements 2136, which housing has an attached adapter 87, shown in FIGS. 65A, 65B, 65C, by means of which adapter 87 a wing tongue 89 , shown in FIGS. 64A, 64B, can be mounted. Round rods 275 can be attached to the wing tongue, as shown in FIGS. 63A, 63B.
- the adapter forms stop surfaces 91, see the Fig. 63C, to which the nose 93 abuts the Drehwegbegrenzung the wing tongue 89.
- FIGS. 66A, 66B, 66C show an embodiment in which a holding device 2236 according to the invention is welded to a sheet metal hinge 95. Welding is punctiform, see reference numeral 97. In the area of welding attachment, the spring 2336 has, moreover, a bead 99, which has a stiffening effect, Fig. 72D.
- FIGS. 67A, 67B, 67C and 67D and 67E an arrangement is shown in which two mutually movable holding elements 2636 are mounted in a channel against each other displaceable against spring force. Through an incision 111, in which a grub screw 113 engages, the movement of the elements 2636 is linearly limited.
- this is a cost-effective, but also assembly-friendly arrangement.
- the flat sheet metal parts to be used can be punched cheaply. In built-in situation, but not yet mounted on the cupboard, the two openings of the sheet metal parts are congruent even when preloaded compression spring.
- the overall arrangement is very narrow and is therefore space-saving. In special situations, the Klipsplatten can also be used solitary and in adaptation to space crimped.
- Fig. 69A shows the compression spring
- Fig. 69B the grub screw, in place of which also a pin shown in Fig. 78C is usable, but which would not be disassembled.
- Fig. 67E shows how the parts can also meet in the guide channel.
- a one-sided protuberance 115 for the breakthrough leaves the spring at the end in each case over the entire surface.
- FIGS. 70A, 70B and 70C A similar embodiment is shown in FIGS. 70A, 70B and 70C, in which the fastening 2736 according to the invention is used with a pivoting lever.
- the pivoting lever drives a pusher which secures the door in a frame when it is closed.
- Figs. 71A, 71B show details of the trough portion to be defined in the door panel, while Figs. 72A, 72B show two views of the slider.
- Fig. 73A again shows a grub screw and Fig. 73B shows a wire spring.
- FIGS 74A, 74B show an embodiment which solves the problem that occurs when the load on the sheet edge by the clip members becomes too high and an outward bump is created.
- the hinge leaf is no longer clean.
- a return on the inside of the hinge leaf is created in the region of the clip element, see reference numeral 117, in which the bump 119 is received.
- the clip element 2836 pushes behind and the secure attachment is still ensured without disadvantages.
- Fig. 75 shows in a sectional view at 119 the bulged sheet, which may have been caused by high stress on the high edges.
- Fig. 74A a view from the side showing the channel structure with clip elements and recess can be seen.
- Fig. 74B shows a rear view with the channel structure without clip pieces, but with a return for receiving the bulge.
- the fixing plug 123 engaging with a slot 125 formed by the holding members 3036 is not loaded by the spring 3044 because the opposing holding members 3036 hold each other.
- the fixing plug 123 holds the holding members 3036 only in the correct (central) position so that the Einklipsvorgang is not disturbed.
- the design allows for simplified assembly, and only a spring 3044 is used because the central partition in the channel, which were present in other embodiments, can be omitted here.
- FIGS. 76A to 76C show the associated holding members 3036 as a single part.
- Figures 78A-78C show, in three different views, a guide channel-forming cap 3230 which may be bolted, which would have tool-side advantages for the introduction of channels 3233 for a seal 3233. It would not work with sliders in the tool. If the guide channel part is screwed on, the central fixation attachment 3293 can be produced by ejection (sheet metal part) or casting (die casting, plastic injection molding). The fixing plug 123 described in the previous embodiment (Figs. 76A to 76E) would not be necessary here.
- FIGS. 79A to 79C show, in three different views, an arrangement in which a quadruple arrangement of clipping plates 3136 results in a particularly heavy loading capacity.
- the U-part for forming the guide channel 3128 is bolted here. Overlying U-legs are recessed in the back of the head portion 3124. The Klipsplatten lead between the Verschraubungszylindern 3127 and in the inner wall of the U-part.
- the holding elements 5536 are formed by two juxtaposed metal pieces or plastic pieces. They form mutually facing projections / recesses, such that with a rotatable tool or key 82, the two retaining elements 5536-1, 5536-2 retracted by rotating the tool 82 against the force of the spring 5542 and thereby dismantling the hinge of the door panel 5514 can be.
- the structure is suitably made so that the lever 82 automatically remains in the open position, so that all hinges can be brought into the open position simultaneously with multiple hinges and so all hinges are simultaneously deductible from the door leaf.
- the tool is provided with a pinion 84, which engage in corresponding toothings 86 of the two holding elements 5636-1, 5636-2 and also upon rotation of the tool with the pinion 84 retracting the two holding elements is allowed into the housing, so as to pull the housing out of the opening in the thin wall.
- the 45 ° inclined surface 127 of the holding elements 5736 causes them to be urged by the spring pressure of the spring 5742 outward in the direction of the channel walls 129, whereby friction in the channel and the holding members may possibly already be sufficiently fixed by this friction, so that the fixation plug 131 recognizable in Fig. 81A is not needed. If the plug 131 for securing the holding elements 5736 is not required, the plug 131 also does not need to be removed if the release key 133 is to be inserted through the opening 135 in the manhole cover 137 into the return region 139 formed by the two holding elements 5736. When the key 133 is then turned counterclockwise as shown in Fig.
- the key pushes its wings 141 against the end surface 143 of the recess portion 139, thereby displacing the holding member 5736 into the channel until the position shown in Fig. 81I is reached Time the key is turned 90 ° and holds itself. Then, the entire unit shown in FIG. 81A can be pulled out of the aperture shown in FIG. 81D in the thin wall 5714, including possibly other hinge elements which have also been brought into the retracted position with a corresponding key.
- FIG. 81 J, K, L, M, N, O, P serves as a holding element is a flat Piece of metal which has an opening 84 for receiving the spring 42, and two opposing projections 86 which receive on the spring 5842 securing this, so that here is a handle unit of holding element and spring is given.
- This unit can be received in the correspondingly shaped opening 88 in the body part 38, see FIG. 81K, the recess 90 provided for the spring being shorter than the corresponding recess 92 for the holding element 5836, whereby the spring 5842 receives a bearing surface, if the holding member 5836 is pushed in the position shown in FIG. 81 J.
- the spring can hold there and is prevented from falling out of the holding element 5836 with the spring 5842.
- a hinge is shown in which the hinge part has an opening 119 like the thin wall 1614, wherein the holding part 1634 and the body part 1630 have their own head part 1628.
- the hinge part shown in Fig. 16D also has holes 145 for an alternative attachment by means of cap screws.
- head portion 1738 and body portion 130 are two parts bolted together, with two screws 17108 being used.
- the pairs of retaining elements 1736 are present in duplicate, and arranged symmetrically to the right and left of the screw 17108.
- FIGS. 84A, 84B, 84C The arrangement according to FIGS. 84A, 84B, 84C is similarly designed, the fastening element in FIG. 84D and the spring in FIG. 84E being shown as fixedly assembled parts in FIGS. 84F and 84G. Supporting projections are provided in FIG. 84H, in which case it should be added that, for reasons of stability, the retaining element has a shape deviating from the flat shape, see FIG. 841.
- FIGS. 85A, 85B, 85C two springs are provided, each of which is inserted laterally into the associated holding element 36. The other half of the spring element is received by the body part 1030.
- Fig. 80A also shows the peculiarity that in the case of very thin wall material reinforcing plates 94, 96 are provided on both sides, which are clamped by the holding elements and thus also hold the thin door leaf 1014 and support.
- nubs 1192 can also be achieved here that the construction holds in position.
- the two metal parts are stronger, so that they can take a total of the spring.
- the head of the screw 149 is conical and pushes the two holding members 2136 apart.
- the conical screw constructions Compared to a construction according to the invention according to FIG. 86A, in which a spring spreads the two holding elements 2036, the conical screw constructions have the disadvantage that when the sheet edges later buckle or buckle under load, the screw has to be tightened by hand. A spring automatically slides and compensates automatically.
- the aperture in the thin wall need not necessarily be rectangular, as shown for example in FIG. He can also have any other shape, such as oval or round.
- a round embodiment can be seen in Fig. 86B, but must be provided for a rotation lock, the round breakthrough shape in contrast to the rectangular breakthrough shape does not deliver.
- Securing the first hinge part can be done, for example, by the second hinge part, if it is fixed enough (eg, on the frame), or by the arrangement of two, as seen in Fig. 86B spaced apart circular apertures 2012, or by additional molded on the hinge part pins 151 which prevent rotation, see Fig. 86C, if appropriate holes are present in the door leaf, which receive these pins.
- 89 shows a cross-sectional view of a window frame 2514 with an elongated opening 2512 in which a hinge part 2516 made of extruded aluminum profile can be inserted in order to then fix it with a T-shaped wedge element 2536. Since the press tool and production are simpler, the production is cheaper. Also, the eye for a pin 2520 can be left open and can be produced by pressing.
- Figures 90A, 90B and 90C show three different views of a short shield as a single component
- Figures 91A and 91B show two views of a suitable cross-sectionally double-T shaped support member
- Figures 92A and 92B show two views of one half of the associated two-piece lock box.
- 90A, 90B and 90C show, in various views, a headboard or key plate having an entry surface 44, and also having a preassembled rod lock interlocking and fixing contour 92, for example, the halves of Figs. 92A and 92B, these cuts being cuts 90 for hooking with the shield or Ausschwenkhebelgriffelement has.
- FIGs. 93A to 93B The arrangement shown in Figs. 93A to 93B is suitable for the operation of a spine actuator, as indicated in Fig. 93A, and a pivot lever operation, see Fig. 93H.
- the specially designed attachment hook 17 holds the trough 716, fixed in the sheet metal section in the lower area.
- the attachable cap 715 shown in Figure 93H has only the gasket 781 to press against the door leaf 14 shown in Figure 93H is shown in cross-section and adapts as a molding of the cap shape.
- possible clip surfaces are indicated, which cooperate with corresponding corrugations of the clip surfaces 785 of the trough.
- the pinion 750 of FIG. 93A drives the shutter bars 52, 152 and is itself driven by a lever 718 via a square mandrel.
- a pre-assembly of the handle 718 in the trough 716 can be done by a shaft lock 719.
- a socket operation 796 e.g. B. as a square, or as a handle operation, shown in phantom provided.
- the two halves of the lock case 724 are clipable by spring inserts 723 received in corresponding pockets 729 with clips, the springs of the tabs 723 engaging the rear handle edges 731 and the clipped two halves to unite to a lock box 724.
- the resulting lock case 724 has pockets 733 for carriage 736 and a pocket 735 for the associated spring 732.
- Characterized the spring 732 is tensioned, which then penetrates in the position of the lock box 724 on the support member 734 in the opening opening with recess area 740 and locked there.
- a finger grip 737 is provided with which the carriage 736 can be pulled out and thereby passes into the release position.
- Head portion 716 may include a centering lug 739 to center the head portion 716 in the wall cutout 12.
- the lock case 724 shown in FIG. 93H has a recess 741 in which a can penetrate over the sheet 14 projecting lug 739, so as to center the lock case.
- the lock case 824 can be disconnected from the clipped key blade or body 816 by operation of keys.
- the pushbuttons 837 shown in Figs. 94A to 94D are simply inserted prior to assembly of the lock case 824 and are limited in their internal movement, but upon actuation push the clip members 836, which do not perform linear motion but pivotal movement, back to the release position.
- the four rivets 821 shown in Fig. 94E may also be replaced by rectangular clips to hold the lock box halves together when made of a suitable compliant material such as polyamide PA.
- the holding element 836 with the spring 832 is arranged pivotably about an axis 11 arranged parallel to the plane parallel to this plane and has at its end a rising curve 13, with which the holding element 836 lays in the end position behind a rear grip surface 45, as already shown in FIG 94C recognizable. In this position, the component 824 can no longer move away from the component 816. At the same time the door panel 14 is clamped between them and then simultaneously again under centering, as already described, the fitting held in the door leaf.
- Fig. 94D shows, moreover, in addition to the folded door leaf 14, a door frame 114, both of which form a fold region, in which the compact lock 824 can be accommodated.
- the key plate 816 may be provided for socket wrenches, handles in L or D shape as well as for lever locks.
- Figures 95A-95F show a particularly simple construction in which, in kinematic inversion, the carriages 1036 are formed or carried by the head portion 1016, see in particular Figures 95B and 95F.
- a rotary latch 1000 is provided instead of the rods, but this (or one with the illustrated drive - square 1096 - torsionally rigid connected (double) lever) additionally have hinged to him rods.
- the invention can be evaluated commercially in control cabinet construction.
Landscapes
- Engineering & Computer Science (AREA)
- Mechanical Engineering (AREA)
- Clamps And Clips (AREA)
- Hinges (AREA)
- Connection Of Plates (AREA)
- Snaps, Bayonet Connections, Set Pins, And Snap Rings (AREA)
- Insertion Pins And Rivets (AREA)
- Lock And Its Accessories (AREA)
- Dowels (AREA)
- Cartons (AREA)
- Helmets And Other Head Coverings (AREA)
Abstract
Description
- Die Erfindung betrifft eine Klipsbefestigung geeignet für die Schnellmontage von Beschlageinrichtungen, wie Steckschlüsselverschlüsse, Schwenkhebelverschlüsse, Scharnierteile, in Durchbrüchen in einer dünnen Wand, umfassend ein auf der einen, äußeren Seite der dünnen Wand anzuordnendes, den äußeren Rand des Durchbruchs überdeckendes Kopfteil, von dem ein den Durchbruch in montierter Stellung durchragendes Rumpfteil ausgeht, von dem in Richtung seiner Außenfläche nachgiebige Halteelemente vorspringen, deren freies Ende eine erste Schrägfläche (Einlaufschrägung), die zum federbelasteten Zurückschieben der Halteelemente (36) durch die Durchbruchkante dient, und eine dazu im wesentlichen senkrechte zweite Schrägfläche (Auslaufschrägung) zur spielfreien Abstützung des Rumpfteils auf dem Rand oder Kante des Durchbruchs der anderen, inneren Seite der dünnen Wand, angeordnet sind, wobei Rumpfteil und Halteelement und Feder getrennte Teile sind.
- Aus der
) ist bereits eine Klipsbefestigung der oben angegebenen Art bekannt. Außerdem zeigt diese Druckschrift Halteelemente, die um eine zur dünnen Wand parallele Achse verschwenkbar sind Es fehlt ein Hinweis, wie die Hubweite der Haltelemente 6 festgelegt werde kann. Die in Fig. 1 erkennbare Feder 7 und die Kontakte 8 scheinen dazu nicht geeignet zu sein..FR-A-2 746 944 (TEAUPEL RENE - Einen ähnlichen Aufbau zeigt die
DE 342 387 C (DAMM & LADWIG ). Auch hier ist nicht erkennbar, ob und ggf. wie die Hubweite festgelegt werden kann, möglicherweise ist die Ringfeder e dafür verantwortlich. - Aus der
US-PS 5 435 159 ist eine Klipsbefestigung für die Schnellmontage eines Verschlußgehäuses bekannt, die beispielsweise in einem runden Durchbruch in einer dünnen Wand angeordnet werden kann. Das für einen Vorreiberverschluß gedachte Gehäuse umfaßt ein auf der einen, äußeren Seite der dünnen Wand anzuordnendes, den äußeren Rand des Durchbruches überdeckendes Kopfteil, nämlich einen Flansch, von dem ein den Durchbruch in montierter Stellung durchragendes Rumpfteil ausgeht, von dem in Richtung seiner Außenfläche nachgiebige Zungenelemente vorspringen, deren freies Ende eine Schrägfläche zur spielfreien Abstützung des Rumpfteils auf dem Rand des Durchbruches der anderen, inneren Seite der dünnen Wand aufweist. Die Haltekraft der mit dem Rumpfteil einstückigen Halte- oder Zungenelemente ist abhängig von deren Federspannung, die vom benutzten Kunststoffmaterial abhängt und daher nicht beliebig groß gemacht werden kann. - Aus der
EP 0258491 A1 ist eine ähnliche Konstruktion bekannt, mit der ein Schließzylinder mittels einem den Schließzylinder aufnehmenden, Haltezungen bildenden Kunststoffgehäuse in dünnwandigen Türen, Schubladen oder dgl. befestigbar ist. Durch schräge Flächen an den Zungenenden wird eine erwünschte Anpassbarkeit an üblicherweise auftretende Variationen der zu verriegelnden Bauteile erreicht. In Spalte 9 der Druckschrift wird auch beschrieben, daß die federnden Zungen nach Montage des Schließzylinders in dem Gehäuse nicht mehr nach innen ausweichen können. Nachteilig ist hier, daß eine ganz bestimmte Konstruktion, nämlich ein rundes Gehäuse mit darin eingeführtem Schließzylinder vorgesehen werden muß, um diese Arretierung der Zungen nach der Montage zu ermöglichen. - Aufgabe der Erfindung ist es, eine Klipsbefestigung für die Schnellmontage von Beschlageinrichtungen in Alternative zum Stand der Technik zu entwickeln, insbesondere eine Klipsbefestigung zu schaffen, die obige Nachteile nicht aufweist.
- Zur Lösung der Aufgabe ist vorgesehen, dass die Halteelemente im Abstand zur dünnen Wand um eine zur Ebene der dünnen Wand senkrechte Achse oder parallele Achse drehbar angeordnete Hebel sind, wobei das Halteelement einen Vorsprung/Rücksprung aufweist, der mit einem die Hubweite in Bewegungsrichtung bestimmenden Rücksprung/Vorsprung zusammenwirkt, der von dem Rumpfteil getragen oder gebildet wird.
- Dadurch wird es möglich, für im Prinzip beliebig geformte Beschlageinrichtungen, also nicht nur für runde Schließzylinder, eine Klipsbefestigung zur schnellen Montage von Beschlageinrichtungen, wie Schwenkhebelverschlüssen, Scharnierteilen, Zylindergehäusen, Griffen, Abdeckplatten und dgl. in Durchbrüchen einer dünnen Wand zu schaffen, deren Haltekraft nicht von dem für die Zungen verwendeten Kunststoffmaterial abhängig ist und damit theoretisch beliebig gestaltet und an die jeweilige Aufgabenstellung angepaßt werden kann.
- Gemäß einer Weiterbildung sind in dem Rumpfteil von diesem gehaltene oder getragene Stützelemente zur Stützung der Halteelemente nach der Montage der Beschlageinrichtung in der dünnen Wand vorgesehen. (Anspruch 2).
- Gemäß einer anderen Weiterbildung der Erfindung sind zwei diametral zueinander angeordnete Halteelemente vorgesehen, die durch Federeinrichtungen wie Spiralfeder und/oder Keileinrichtungen wie Kegelschraube gestützt werden (Anspruch 3). Da die Federeinrichtungen mit an sich frei wählbarer Federkraft vorgesehen werden können, kann die Verriegelungskraft an die jeweilige Aufgabenstellung angepaßt werden und ist nicht vom Kunststoffmaterial abhängig.
- Beim Stand der Technik ist die Verriegelungskraft stark abhängig von der Form des Beschlages und der Materialeigenschaft des verwendeten Kunststoffs.
- Bei unterschiedlicher Belastung der beiden sich diametral gegenüberliegenden Halteelemente, wie bei Verwendung mit einem Vorreiber, ist es günstig, wenn das eine, schwächer belastete Verriegelungsteil aus nachgiebigem Kunststoff, wie Polyamid, und das andere, stärker belastete Verriegelungsteil aus Metall besteht. (Anspruch 17).
- Gemäß Anspruch 4 ist das Halteelement ein in Bewegungsrichtung flachesTeil, von deren einer oder von deren beiden Seitenkanten Leisten zur besseren Führung in der Bewegungsrichtung ausgehen.
- Gemäß Anspruch 5 weist das Halteelement einen in Bewegungsrichtung sich erstreckenden, im wesentlichen rechteckigen Durchbruch auf, in den eine Spiraldruckfeder eingesetzt ist.
- Gemäß Anspruch 6 ist das Halteelement ein in Bewegungsrichtung flaches Teil mit einer Breite kleiner als der Runddurchmesser der Feder.
- Gemäß Anspruch 7 hält das Halteelement eine katzbuckelnde Feder.
- Gemäß Anspruch 8 nimmt der das Halteelement aufnehmende Kanal einen aus dem Halteelement vorspringenden Teil der Feder klemmend in Eingriff nimmt (Fig. 45F).
- Gemäß Anspruch 9 weist das Halteelement zwei sich gegenüber liegende seitliche Nester zur Aufnahme der halben Federbreite der Feder und der Kanal einen passenden Rücksprung für die jeweils restliche Federbreite auf.
- Gemäß Anspruch 10 weisen bei zwei nebeneinander angeordneten Halteelementen diese an den Querkanten des jeweiligen Durchbruchs zur Aufnahme der Feder in den jeweils anderen Durchbruch ragende Ansätze aufweist, die Stützflächen für die Feder bilden.
- Gemäß Anspruch 11 besteht das Halteelement aus einem Paket aus einem ersten und einen zweiten und ggf. weiteren flachen Teilen jeweils mit rechteckigem Durchbruch, die einen gemeinsame Durchbruch zur bündigen Aufnahme einer Spiraldruckfeder derart aufweisen, daß im unbelastetem Zustand die Spiralfeder in die Arbeitstellung gedrückt wird.
- Gemäß Anspruch 12 ist das Halteelement ein in Bewegungsrichtung flaches Teil mit einem Durchbruch, von dessen quer zur Bewegungsrichtung sich erstreckende Seitenkanten Vorsprünge zur Ausrichtung der Spiralfeder ausgehen.
- Gemäß Anspruch 13 ist das Halteelement in einem Gehäuse untergebracht, das seinerseits in einer dicken Wand montierbar ist.
- Gemäß Anspruch 14 weist das Halteelement Schrägflächen gleichen Winkels für Ein- und Auslauf aufweist und dadurch wie ein Kugelschnäpper arbeitet.
- Gemäß Anspruch 15 bildet das Halteelement vor der Einlaufschrägung eine gerade Zentrierfläche.
- Gemäß Anspruch 16 bildet das Halteelement Ansatz-, Rücksprung- oder Gewindeflächen, in die ein Werkzeug, wie Schlüssel oder Schraubendreherklinge zur Verschiebung des oder der Halteelemente in die zurückgezogene Stellung eingreifen kann.
- Gemäß Anspruch 17 besteht bei unterschiedlicher Belastung der beiden sich diametral gegenüber liegenden Halteelemente, wie bei Verwendung mit einem Vorreiber, das eine, schwächer belastete Halteelement aus nachgiebigem Kunststoff, wie Polyamid, und das andere, stärker belastete Halteelement aus starrem Material, wie Metall.
- Gemäß Anspruch 18 besitzt der Rumpfteil eine Teiltrennwand oder Hinterschneidung oder Durchbruchkante, an der sich die Hebel mit einer Schulter oder Haken axial abstützen.
- Gemäß Anspruch 19 bzw. 20 werden die Halteelemente von verschieblich gehaltenen Hebeln gebildet, deren Bewegungstangente parallel oder senkrecht zur Längserstreckung der Beschlageinrichtung liegt.
- Gemäß Anspruch 21 ist das Halteelement durch ein Stanzteil gebildet.
- Gemäß Anspruch 22 weist im Bereich des Halteelements der Kopfteil einen Rücksprung zur Aufnahme von Kantenausbeulungen aufweist.
- Gemäß Anspruch 23 sind jeweils zwei oder mehr Halteelemente nebeneinander angeordnet sind.
- Gemäß Anspruch 24 sind Rumpfteil und Kopfteil einstückig gespritzt sind.
- Gemäß Anspruch 25 sind Rumpfteil und Kopfteil zwei Teile, die verschraubt, verschweißt oder verklipst sind.
- Gemäß Anspruch 26 ist die Beschlageinrichtung ein Schwenk- oder Klapphebelverschluß zur Befestigung in einem langgestreckten oder in zwei kürzeren rechteckigen Durchbrüchen, wobei der eine Durchbruch eine Hebellagerung und der andere Durchbruch eine Hebelarretierung aufnimmt, wobei zumindest einer der Durchbrüche auch zur Aufnahme von zumindest einem Rumpfteil mit Halteelementen gemäß einem der vorhergehenden Ansprüchen dient.
- Gemäß Anspruch 27 weist der Schwenk- oder Klapphebelverschluß eine Mulde zur arretierbaren Aufnahme des Betätigungshebels auf, wobei die Mulde den Kopfteil von ein oder zwei Rumpfteilen mit Halteelementen im Bereich der Hebellagerung, wie Antriebswelle bildet.
- Gemäß Anspruch 28 weist der Schwenk- oder Klapphebelverschluß eine Mulde zur arretierbaren Aufnahme des Betätigungshebels auf, wobei die Mulde einerseits die Hintergrifffläche für den Daumen einer Hebelarretierung, andererseits den Kopfteil von einem Rumpfteil mit Haltelementen im Bereich der Hebelarretierung bildet.
- Gemäß den weiteren Ansprüchen 29 bis 35 stellt die Beschlageinrichtung ein Scharnierteil, eine Stangenführung, ein Schloßkasten, ein Griffrohr, ein Steckschlüssellager, ein Vorreiberverschluß oder ein Griffansatz ist.
- Die Erfindung wird nachfolgend von Ausführungsbeispielen näher erläutert, die in den Zeichnungen dargestellt sind.
- Es zeigt:
- Fig. 1A
- eine axiale Schnittansicht einer Mulde für einen Schwenkhebelverschluß, bei der eine Klipsbefestigung verwendet ist;
- Fig. 1 B
- eine Ansicht von hinten auf die mit der Klipsbefestigung gemäß Fig. 1A befestigte Mulde;
- Fig. 1C
- eine Querschnittsansicht durch die Klipsbefestigung für die Mulde gemäß Fig. 1A und 1B;
- Fig. 1D
- eine Ansicht von oben auf die Mulde gemäß Fig. 1A und 1B;
- Fig. 2
- zwei Durchbrüche, in die ein Schwenkhebelverschluß gemäß Fig. 1A, 1B mit Klipseinrichtungen eingebaut werden kann;
- Fig. 3
- in einer Ansicht ähnlich der Fig. 1C eine erfindungsgemäße Ausführungsform der klipsartigen Halteelemente;
- Fig. 4A
- ein mit einer Klipsbefestigung versehenes Scharnier in einer Draufsicht;
- Fig. 4B
- das obere Scharnierteil von Fig. 4A;
- Fig. 4C
- eine Ansicht von oben auf das Scharnierteil gemäß Fig. 4B;
- Fig. 4D
- die beiden Scharnierteile der Fig. 4A mit Klipsbefestigung zur Verwendung bei einem Schrank aus Blechmaterial;
- Fig. 5A, 5B und 5C
- verschiedene Ansichten der bei der Ausführungsform gemäß Fig. 4A verwendeten Halteelemente;
- Fig. 6
- den Haltestift, der bei den Halteelementen gemäß Fig. 5 verwendet wird;
- Fig. 7A und 7B
- in zwei verschiedenen Ansichten die in der Klipseinrichtung zweifach verwendete Feder;
- Fig. 8A und 8B
- zwei verschiedene Ansichten der Klipseinrichtung, wie sie bei dem Scharnier gemäß Fig. 4A verwendet werden kann;
- Fig. 9A, 9B und 9C
- drei verschiedene Ansichten einer alternativen Ausführungsform der Erfindung mit einer teilweise klipsbaren und teilweise verschweißbaren Scharniereinrichtung;
- Fig. 10 und 11
- zwei Ansichten eines Scharniers mit alternativer Klipseinrichtung;
- Fig. 12
- einen Durchbruch, in der ein Scharnier mit Klipseinrichtung z. B. gemäß Fig. 13 und 14 eingebaut werden kann;
- Fig. 13
- eine alternative Ausführungsform für einen Schwenkhebelverschluß, bei dem nur der obere Teil mit der erfindungsgemäßen Klipseinrichtung befestigt ist, der untere Teil jedoch mit einem Haken;
- Fig. 14 und 15
- zwei Ansichten einer Ausführungsform mit konischer Schraube;
- Fig. 16
- eine zu den Klipseinrichtungen gemäß Fig. 13 bis 15 passende Einbauöffnung in einer dünnen Wand;
- Fig. 17
- in Seitenansicht eine Ausführungsform, bei der anstelle eines Schwenkhebelverschlusses gemäß Fig. 13 ein mittels Haken befestigbares Schlüsselschild mit Dornbetätigung dargestellt ist;
- Fig. 18
- in einer ähnlichen Darstellung wie Fig. 17 eine Anordnung mit einer Griffhebelbetätigung, befestigt mit nur einem Klipselement am einen Ende und mit einem Haken am anderen Ende;
- Fig. 19 bis 21
- verschiedene Ansichten einer erfindungsgemäßen Befestigung für ein Scharnierelement, wobei Kopfteil und Rumpfteil zweistückig sind und mittels Schrauben zusammengehalten werden;
- Fig. 22 bis 24
- das Kopfteil des Scharnierelements in drei verschiedenen Ansichten;
- Fig. 25 und 26
- zwei Ansichten des U-förmigen Rumpfteils der Anordnung gemäß Fig. 19 bis 21;
- Fig. 27 und 28
- in einer Seitenansicht und in einer Draufsicht eine Ausführungsform mit hebelförmigen, kreuzweise federgestützte Halteelementen, siehe auch Fig. 9A bis 9C;
- Fig. 29 und 30
- in einer Frontansicht und einer Seitenansicht stirnflächig oder stirnseitig gelagerte, im Kreisbogen geführte, jeweils für sich federbelastete Halteoder Klipselemente;
- Fig. 31 und 32
- in einer Seitenansicht und in eine Draufsicht Halteelemente wie in Fig. 29A, 30, wobei jedoch mehrere Halteelemente nebeneinander auf einer Welle gelagert sind;
- Fig. 34
- in einer Frontansicht und Fig. 35 in einer Seitenansicht sowie in weiteren Ansichten (Fig. 36, 37) ein durch einen Stift gesichertes und hubbegrenztes Halteelement, gebildet aus zwei gegenläufigen, federgestützten Elementen, die bei spiegelbildliche Übereinanderstapelung für die Federaufnahme einen geschlossenen Durchbruch aufweisen, in der eine Spiraldruckfeder vorgespannt wird; der längsseitige eingebrachte Rücksprung bildet bei spiegelbildlicher Schichtung eine Nut für die Aufnahme eines Stopfens, der mit seinem Ansatz das Klipselementpaket im Kanal mittig ausrichtet;
- Fig. 37
- in verschiedenen Ansichten Einzelteile des Klipselementpaketes;
- Fig. 38 und 39
- eine Konstruktion, bei der die Elemente mittig ausgerichtet werden durch Herunterbiegen einer durch Nuten erzeugten Rippe;.
- Fig. 40
- aus dünnem Material paketierte, mit offenem Federkanal versehene Klipselemente, bei denen der angebrachte Haken sich in einer äußeren Öffnung des Kanals hält und die Klipselemente gegen den Federdruck sichert;
- Fig. 41
- gegenläufig arbeitende paketierte Klipselemente;
- Fig. 42
- die Einzelteile der Anordnung der Fig. 40 und 41;
- Fig. 43A
- eine andere Anordnung, um die Klipselemente gegen Federkraft in ihrer Funktionsstellung zu halten (gegen Federkraft, weil der Federkanal nach hinten offen ist);
- Fig. 43B bis 43D
- Klipselemente mit geschlossener Halbschale zur Aufnahme der Feder, nach Entfernen des Stopfens lassen sich die Klipselemente mit einer Schraubendreherklinge oder ähnlichen Werkzeug (siehe z.B: Fig. 81 B) zur Demontage des befestigten Teils (Beschlagteil, Verkleidungsblech) zurückziehen;
- Fig. 44A
- das Zurückziehen der Klipsteile mit verzahntem Schaft;
- Fig. 44B
- ein Gehäuse eines Befestigungselementes für die nebeneinander liegende Montage von paketierten Klipselementen gemäß Figur 42;
- Fig. 44C
- eine Schraubenzieherklinge;
- Fig. 44D und 44E
- nebeneinander angeordnete Klipselemente mit längsseitigem Rücksprung zum Zurückziehen mit dem Schraubendreher gemäß Fig. 44C, montiert in einem Befestigungselementegehäuse;
- Fig. 44F
- Klipselemente in Draufsicht;
- Fig. 45A
- in 6 Teilbildern einzelne (nicht geschichtete) Klipselemente für den einzelnen Einsatz an Stirn- oder Seitenflächen von Beschlägen oder sonstigen Konstruktionsteilen, mit T-Querschnitt zur Verbesserung der Führungseigenschaften bei besonders kurzen oder hohen Klipselementen; Teilbild rechts zeigt in Draufsicht eine stirnflächige Anwendung; die Feder wird vorgespannt eingesetzt;
- Fig. 45B
- ein Klipselement mit rechteckigem Durchbruch zur Federaufnahme, Stirnkanten des Durchbruchs mit einseitigen oder zweiseitigen Vorsprüngen, Feder wird sicher bei der Vormontage gehalten;
- Fig. 45C
- ein einzeln zu verwendendes Klipselement; Feder kann mittig oder einseitig eingesetzt werden (vorgespannt);
- Fig. 45D
- die Erkenntnis, daß bei einseitig eingesetzter Feder diese zum Katzbuckeln neigt und dadurch das vormontierte Klipselement sicher im Montageraum festhält;
- Fig. 45E
- Montageraum für das Klipselement gemäß Fig. 45D, bei Einhaltung der Referenzmaße A bei Klipselement und Federnest im Montageraum des durch Klipsen zu befestigendem Beschlages wird die Position des Klipselementes festgelegt;
- Fig. 45F
- die Erkenntnis, daß bei mittig angeordneter Feder im Klipselement es durch folgende Maßnahmen gegen Herausfallen gesichert wird: 1. Bohrung für die Feder (Federnest) wird in hinterem Bereich so verkleinert, daß die Feder beim Einsetzen des vormontierten Klipselementes verklemmt, 2. oder es werden Flächen oder Spitzen angebracht, deren Zwischenmaß kleiner ist als der Durchmesser der Feder beträgt;
- Fig. 45G
- in 7 Teilbildern Klipselemente mit rechteckigem Querschnitt, stirnflächig zur Klipsbefestigung eines Bauteiles eingesetzt, Federanordnung mittig oder seitlich;
- Fig. 46A und 46B
- die Schaffung eines Führungskanals für Klipselemente an einem Blechteil, wie Scharnierlappen, durch Anpunkten eines rechteckigen Rohrabschnittes;
- Fig. 47A und 47B
- ein breites Klipselement für die Aufnahme großer Kräfte mit beidseitig im geschlossenem Nest vorgespannten Federn, Katzenbuckel der Federn sichert Klipselement gegen Herausfallen;
- Fig. 47C
- eine Vertiefung mit halben Federquerschnitt beidseitig zur Aufnahme des Klipselementes gemäß Fig. 47B;
- Fig. 48A und 48B
- Klipselement ähnlich wie gemäß Fig. 42D mit wechselseitig eintauchenden Ansätzen, die die volle Auflage der Federstirnflächen ermöglichen;
- Fig. 49A und 49B
- in umhüllendes Gehäuse eingesetztes Klipselement für die Montage in einem sonst nicht geeigneten Werkstoff wie Holz; Querschnitt des Gehäuses rechteckig;
- Fig. 50 A bis 50C
- wie vorstehend, aber runder Querschnitt und mit Kragen;
- Fig. 50D
- mit Klipselement, dessen Ein- und Auslaufwinkel gleich ist und im Zusammenspiel mit einer Bohrung Kugelschnäpperfunktion übernehmen kann;
- Fig. 51A bis 51C
- Klipselemente ähnlich wie gemäß Fig. 42D mit einer äußeren Zentrierfläche zum besseren Einführen in die Einbauöffnung, wenn aus bestimmten Gründen auf eine mittig ausrichtende Maßnahme wie Stopfen verzichtet werden soll.
- Fig. 52A und 52B
- zwei verschiedene Schnittdarstellungen eines Steckschlüsselschloßkastens mit erfindungsgemäßer Befestigung an den Stirnseiten des Schloßkastens, mit einer die Nuß lagernden Kappe die Klipseinrichtungen besitzt, die die Stange hintergreifen;
- Fig. 53A bis 53C
- als Einzelteil in zwei verschiedenen Ansichten den Schloßkasten;
- Fig. 54A und 54B
- eine Ausführungsform mit einer Kappe, die am Schloßkasten gehalten ist;
- Fig. 55A bis 55D
- verschiedene Ansichten des in einer Wand eingebauten Schloßkastens gemäß Fig. 52, mit zugehöriger klipsbarer Abdeckung für den zweiten Durchbruch;
- Fig. 56
- die zugehörige Verschlußstange;
- Fig. 57A bis 57C
- in verschiedenen Ansichten das zugehörige Befestigungselement;
- Fig. 58A und 58B
- in zwei verschiedenen Ansichten das zugehörige Ritzel;
- Fig. 59
- den Schloßkasten mit aufgesetztem Deckel;
- Fig. 60A bis 60C
- in verschiedenen Ansichten eine Ausführungsform ähnlich der gemäß Fig. 59, wobei jedoch die Klipsbefestigung für die Kappe an den stirnseitigen Ecken in Durchbrüchen greifen;
- Fig. 61A bis 61 D
- in verschiedenen Ansichten den Schloßkasten gemäß Fig. 60, jedoch mit aufgesetztem Deckel;
- Fig. 62A bis 62B
- in zwei verschiedenen Ansichten eine Hebelbetätigung mit Schloßkasten, in der einerseits mit einer Hakeneinrichtung, andererseits erfindungsgemäß in einer dünnen Wand befestigt ist;
- Fig. 63A bis 63C
- drei verschiedene Ansichten eines erfindungsgemäß einklipsbaren Gehäuses mit aufgesetztem Adapter zur Flügelzungenanwendung und zur Montage von Rundstangen;
- Fig. 64A, 64B
- zwei verschiedene Ansichten der zugehörigen Flügelzunge;
- Fig. 65A bis 65C
- den zugehörige Verschlußkastendeckel;
- Fig. 66A bis 66D
- verschiedene Ansichten eines Metallscharniers mit angeschweißten Führungskanälen;
- Fig. 67A bis 67C
- drei verschiedene Ansichten eines erfindungsgemäßen Scharniers mit Klipsbefestigung;
- Fig. 67D
- eine weitere Ansicht;
- Fig. 68A und 68B
- zwei Ansichten des zugehörigen Schiebers;
- Fig. 69A bis 69C
- die Feder, eine Schraube und ein Stift als Bestandteile der Befestigungseinrichtung gemäß Fig. 76A bis D;
- Fig. 70A bis 70C
- drei verschiedene Ansichten eines ähnlichen Befestigungselements wie bei Fig. 76A bis C, jedoch hier für einen Verschluß;
- Fig. 71A und 71 B
- die Verschlußmulde mit ihrer Befestigungseinrichtung als Einzelteil;
- Fig. 72A und 72B
- der Schieber als Einzelteil in zwei verschiedenen Ansichten;
- Fig. 73A und 73B
- eine Madenschraube und eine Feder zugehörig zu dem Verschluß gemäß Fig. 79A bis 79C als Einzelteile;
- Fig. 74A und 74B
- zwei verschiedene Ansichten eines Klipsscharniers, bei dem auch Blechausbeulungen gemäß Fig. 84 unschädlich sind;
- Fig. 75
- die Blechausbeulungen am Rand des Durchbruchs;
- Fig. 76A, 76B und 76C
- in drei verschiedenen Ansichten eine noch andere Ausführungsform der Erfindung;
- Fig. 76D
- eine ähnliche Darstellung wie Fig. 76C, jedoch mit ausgefahrenen Halteelementen;
- Fig. 76E
- eine Ansicht ähnlich der Fig. 76D;
- Fig. 77A bis 77C
- das bei Fig. 76A bis 76E verwendete Halteelement als Einzelteil in drei verschiedenen Ansichten;
- Fig. 78A bis 78C
- drei verschiedene Ansichten einer Ausführungsform, bei der ein Führungskanal durch einen aufgeschraubten Aufsatz gebildet wird;
- Fig. 79A bis 79C
- drei verschiedene Ansichten einer Ausführungsform für schwere Belastung, bei der vier Klipsplatten die Halteelemente bilden.
- Fig. 80A, 80B, 80C, 80D
- verschiedene Ansichten eines mit einem Schlüssel lösbaren Scharniers gemäß der Erfindung;
- Fig. 80E und 80F
- eine abgewandelte Ausführungsform eines mit Schlüssel lösbaren Scharniers;
- Fig. 81A, 81B und 81C
- verschiedene Ansichten eines anderen mit Schlüssel lösbaren Scharniers;
- Fig. 81 D
- den zugehörigen Durchbruch in einer dünnen Wand;
- Fig. 81 E und 81 F
- ein zugehöriges Halteelement in zwei verschiedenen Darstellungen;
- Fig. 81G, 81H und 81I
- weitere Darstellungen dieses Halteelements während des Betriebs;
- Fig. 81J, 81K, 81L
- eine andere Ausführungsform eines geeigneten Halteelements;
- Fig. 81M, 81N, 81O, 81P
- eine noch andere Ausführungsform des Halteelements;
- Fig. 82A, 82B, 82C und 82D
- verschiedene Ansichten eines Halteelements, das von dem Scharnierblatt getrennt ist;
- Fig. 83A, 83B und 83C
- eine Ausführungsform, bei der das Rumpfteil aufgeschraubt ist;
- Fig. 84A, 84B und 84C
- verschiedene Ansichten eines alternativen Scharniers mit erfindungsgemäßen Merkmalen;
- Fig. 84D, 84E, 84F, 84G
- verschiedene Ansichten des zugehörigen Halteelements;
- Fig. 84H, 84I
- eine andere Ausführungsform des Halteelements;
- Fig. 85A, 85B, 85C und 85D
- verschiedene Ansichten eines anderen Scharnierteils mit erfindungsgemäßen Merkmalen;
- Fig. 85E, 85F, 85G
- die zugehörigen Halteelemente als Einzelteildarstellung;
- Fig. 85H
- in einer Stirnansicht die T-Form des Halteelements;
- Fig. 85
- in einer geschnittenen Draufsicht eine Ausführungsform mit Verkeilungsschraube;
- Fig. 86A
- in einer Teilweise geschnittenen Draufsicht eine Ausführungsform mit rundem Durchbruch;
- Fig. 86B
- eine Ansicht von unten gemäß Fig. 22A auf ein Scharnierteil, das zwei runde Durchbrüche erfordert;
- Fig. 86C
- eine Draufsicht auf ein Scharnierteil mit einem runden Durchbruch und zwei Führungslöchern;
- Fig. 87
- eine Ansicht ähnlich der Fig. 21 zur Darstellung einer Keileinrichtung in Form einer konischen Kopfschraube;
- Fig. 88
- in einer Querschnittsansicht den Eckbereich eines Schaltschrankes mit zwei Scharnierteilen, die mittels Stift bzw. erfindungsgemäß am Türblatt bzw. am Türrahmen befestigt sind;
- Fig. 89
- in einer Querschnittsansicht ein T-förmiges Klipselement aus gepreßtem Aluminiumprofil.
- Fig. 90A, 90B und 90C
- drei verschiedene Ansichten eines kurzen Schildes als Einzelbauteil;
- Fig. 91A und 91 B
- zwei Ansichten eines im Querschnitt Doppel-T-förmigen Halteelements;
- Fig. 92A, 92B und 92C
- drei Ansichten der einen Hälfte des zweiteiligen Schloßkastens;
- Fig. 93A, 93B, 93C
- in drei Ansichten ein Stangenschloß gemäß einer weiteren Ausführungsform;
- Fig. 93D und 93E
- in zwei Ansichten den zugehörigen Schlitten;
- Fig. 93F und 93G
- zwei Ansichten einer Hälfte des aus zwei identischen Hälften zusammen steckbaren Schloßkastens ;
- Fig. 93H
- die Seitenansicht einer zu dem vorhergehenden Stangenschloß passenden Mulde eines Schwenkhebelverschlusses;
- Fig. 94A und 94B
- in zwei unterschiedlichen Ansichten eine auseinandergezogene Darstellung der Teile eines Stangenschlosses mit schwenkbaren Halte- oder Klipselementen mit Entriegelungsdrucktasten;
- Fig. 94C und 94D
- das Stangenschloß im in dem Durchbruch einer dünnen Wand montiertem Zustand;
- Fig. 94E
- eine weitere Ansicht des Stangenschlosses mit Stangen; und
- Fig. 95A bis 95F
- eine noch andere Ausführungsform.
- Als Beispiel für eine erfindungsgemäße Befestigung eines Beschlags ist in Fig. 1A eine Längsschnittansicht eines Schwenkhebelverschlusses 10 dargestellt, der in zwei
- Rechteckdurchbrüchen 12, 14 einer dünnen Wand 16, hier eines Blechschranktürblattes, angeordnet ist, siehe auch Fig. 27. Läßt man den Mittelsteg 17 weg, ergibt sich eine lange Rechtecköffnung, die auch geeignet wäre.
- Die Beschlageinrichtung, hier der Schwenkhebelverschluß, umfaßt im Bereich eines jeden Durchbruches 12 bzw. 14 ein auf der einen, äußeren Seite 18 der dünnen Wand 16 anzuordnendes, den äußeren Rand 20 des Durchbruchs 12 bzw. 14 überdeckendes Kopfteil, hier in Form einer den Schwenkhebel 22 aufnehmenden Mulde 24, von welchem Kopfteil bzw. Mulde 24 ein den Durchbruch 12 bzw. 14 in montierter Stellung jeweils durchragendes Rumpfteil 26 ausgeht. Von diesem Rumpfteil 26 springen, wie Fig. 1C darstellt, in Richtung der Außenfläche 34 nachgiebige Zungen- oder Halteelemente 36 vor, deren freies Ende eine Schrägfläche 38 zur spielfreien Abstützung des Rumpfteils 26, 28 auf dem Rand oder der Kante 40 des Durchbruchs 12 bzw. 14 der anderen, inneren Seite 42 der dünnen Wand 16 aufweist.
- Die von dem Kopfteil, hier also der Mulde 24, ausgehenden Rumpfteile 28, 32 weisen gegen beliebige Kraft einer Feder 44 in dem Rumpfteil 26 verschiebliche Halteelemente 36 auf, wobei diese Halteelemente nach ihrer Montage im Rumpfteil durch sich verriegelnde Verriegelungselemente 46,48 gehalten werden. In der Fig. 1 B ist dargestellt, daß die Verriegelungselemente sich gegenseitig verhakende Haken darstellen, wobei das Material dieser Haken zweckmäßigerweise aus Polyamid besteht, also flexibel genug ist, um beim linearen Einschieben der Halteelemente 36 in das Rumpfteil 26, 28 ausreichend ausweichen und aneinander vorbei gelangen zu können und zurückfedernd sich gemäß Fig. 1 B oben und unten befestigt zu verhaken, so daß sie in der Fig. 1 B dargestellten Stellung verharren und so die von der Mulde 24 ausgehenden Rumpfteile 32, 28, 128 in dem zugehörigen Rechteckdurchbruch sicher festgehalten werden. Diese Sicherung kann durch entsprechend kräftige Federeinrichtungen 44 so gestaltet werden, daß unter normalen Umständen und Betriebsbedingungen die Halteelemente oder Klipselemente 36 gegen die Kraft der Feder 44 nicht zurückweichen.
- Umfaßt der Verschluß, wie hier dargestellt, eine sich hinter einer Türrahmenabkantung 50 legende Vorreiberzunge 52, werden die beiden diametral gegenüberliegenden Halteelemente 36, 136 unterschiedlich stark belastet. Die auf seiten der Zunge 52 in seiner Hintergriffstellung ausgeübte Druck wird zum größten Teil vom dem Halteelement 36 gegenüberliegenden Rand 20 der Vorreibermulde aufgenommen, während das Halteelement 36 wenig belastet ist, was auf der gegenüberliegenden Seite genau umgekehrt ist, da wird dieses Halteelement 136 am stärksten belastet. Um dieser unterschiedlichen Belastung Rechnung zu tragen, kann es nützlich sein, daß besonders belastete Klipselement 136 aus Metall zu fertigen, und nicht aus Kunststoff. Da gleichzeitig das weniger stark belastete Halteelement 36 aus Kunststoff wie Polyamid gefertigt ist, bleibt dieses Halteelement nachgiebig und ermöglicht so das federnde Zurückweichen beim Einschieben und gegeneinander Verriegeln der beiden Halteelemente 36, 136.
- Während bei der Ausführungsform gemäß Fig. 1C die beiden Verriegelungsteile 36, 136 in einem zur Türblattebene parallelen, im Querschnitt recheckigen Zylinder verschieblich angeordnete Schlitten 56 sind, die durch eine zwischen ihnen angeordnete verrastende Hakeneinrichtung 46, 38 gegen die Kraft von zwei Druckfedern 44, die sich an einer mittigen Wand 58 abstützen, gehalten werden, ist bei der Ausführungsform gemäß Fig. 3 die Anordnung derart gestaltet, daß die Halteelemente 236 im Abstand A zur Türblattebene 16 um eine zur Türblattebene paralelle Achse 60 drehbar angeordnete Hebel 236 sind.
- Die beiden Hebel 236 werden an ihrem inneren Ende jeweils durch eine gemeinsame kräftige Druckfeder 244 nach außen gedrückt.
- Durch die Klipseinrichtungen gelingt es, den dargestellten Hebelverschluß durch einfaches Eindrücken in zwei passend gestaltete Rechteckdurchbrüche in der dünnen Wand zu montieren, indem beim Einschieben in Richtung der Muldenachse 62 liegenden Kanten der beider Durchbrüche 14, 12 die anliegenden Schrägflächen der Halteelemente 36, 136, 236 gegen die Kraft der Feder 44, 144, 244 nach innen drücken und nach Erreichen der Schrägfläche 38 zurückspringen lassen und damit die Mulde im Türblatt festlegen.
- Hinsichtlich des Aufbaus des Schwenkhebelverschlusses sei noch erwähnt, daß zur Umstellung des Schwenkhebels auf Rechts- bzw. Linksbetrieb die Zunge mit einem verdrehbaren Kreuzanschlag versehen sein kann, der bei 64 angedeutet ist. Auch ein mit der Mulde verbundener Stangenschloßkörper mit Ritzel und Stangen läßt sich montieren und einklipsen, insbesondere dann, wenn der Mittelsteg 17 zwischen den beiden Durchbrüchen 12, 14 in der dünnen Wand 16 weggelassen wird und so eine langgestreckte Öffnung entsteht, die die Durchbrüche 12, 14 mit umfaßt, siehe Fig. 2.
- Wie aus den Fig. 1A und 1 B hervorgeht, dient der obere Rumpfteil 26, der von der Mulde 14 vorspringt, als Lager für eine Antriebswelle 66, an deren außerhalb des Türblatts liegenden Ende der Handhebel 22 um eine zur Türblattebene senkrechte Achse 68 herausschwenkbar angelenkt ist, während das innere Ende der Welle 66 mit einem Vierkant endet, auf die eine Vierkantöffnung aufweisende Zunge 52 aufgesteckt und mittels einer Befestigungsschraube 72 gehalten ist.
- An den Lagerblock für die Welle 66 schließt sich oberhalb und/oder unterhalb jeweils ein Halteelement 28, 128 an, wobei die Halteelemente sowie der Lagerblock zusammen die Abmessungen für den Durchtritt durch die rechteckige Öffnung im Türblatt bilden.
- Am unteren Ende der Mulde ist ein Aufnahmebereich 30 für einen von dem Handhebel 22 ausgehendes Zylinderschloßverriegelungsteil, mit exzenterbewegter Zunge oder Daumen 70 vorgesehen, der hinter eine Rücksprungfläche 74 durch Betätigung eines Zylinderschlüssels 76 in eingeklappter Stellung verriegelt werden kann.
- Um bei abgezogenem Schlüssel eine Einklappbewegung und Verriegelung durchführen zu können, kann alternativ ein Federhintergriff 174 vorgesehen sein, wobei auch die rotierende Zunge 170 durch Klipseinrichtungen drehstarr auf der Zylinderwalze montierbar sein könnte.
- In Fig. 4 und folgenden wird ein Anwendungsfall dargestellt, bei der die erfindungsgemäße Klipsbefestigung bei einem Scharnier angewendet wird. So zeigt die Fig. 4A und 4D ein zweiteiliges Scharnier mit den Scharnierteilen 80, 82, wobei das untere, erste Scharnierteil 80 mittels dem im Zusammenhang mit dem Schwenkhebelgriff beschriebenen Klipselement 228 an dem Türrahmen 250 festgelegt ist, während das zweite, obere Scharnierteil 82 mit dem Türblatt mittels des Halteelementes 236 verbunden ist, siehe Fig. 4D.
- Das untere Scharnierteil 80 und obere Scharnierteil 82 sind durch einen Scharnierstift 84 miteinander verbunden, der im unteren Scharnierteil 80 fest verstemmt ist, während sein oberes Ende in einer Bohrung 86 des oberen Scharnierteils 82 drehbar aufgenommen ist. Unteres Scharnierteil 80 ist mit einem Türrahmen 150 verbunden, und zwar mittels einer Klipsbefestigung 228, während das obere Scharnierteil 82 mittels Klipsbefestigung 232 eine Blechtür 216 um die Scharnierachse des Scharnierstiftes 84 schwenkbar hält.
- Die dafür im Türrahmen 250 bzw. im Türblatt 216 benötigte Rechtecköffnung ist beispielsweise in Fig. 12 dargestellt und mit der Bezugszahl 78 versehen. Auch hier umfaßt die Klipsbefestigung ein auf der äußeren Seite der dünnen Wand bzw. des Rahmens 250 und der Türblatteinrichtung 216 anzuordnendes, den äußeren Rand des Durchbruches 78 überdeckendes Kopfteil bzw. Scharnierlappen 88 (Fig. 4D), von dem ein den Durchbruch 78 in montierter Stellung durchragendes Rumpfteil 228 ausgeht, von dem in Richtung seiner Außenfläche nachgiebige Halte- oder Zungenelemente 336 gemäß Fig. 8A oder 436 gemäß Fig. 10 vorspringen, deren freies Ende eine Schrägfläche 38 zur spielfreien Abstützung des Rumpfteils 228 und damit des Scharniers 80 auf dem Rand des Durchbruchs 78 der anderen, inneren Seite der dünnen Wand 250, angeordnet ist. Entsprechendes gilt für das Scharnierteil 82 und das Türblatt 216.
- Zur Befestigung des Scharniers kann eine Konstruktion gewählt werden, wie sie bereits im Zusammenhang mit dem Schwenkhebelverschluß beschrieben wurde, oder aber wie sie gemäß einer Ausführungsform nach den Fig. 5A bis 5C gewählt ist. Statt der sich verhakenden Haken dient hier ein Stift gemäß Fig. 6 als Arretierung. Zwei Bauteile aus Metall gemäß Fig. 5A bis 5C werden in einem Rechteckführungskanal gemäß Fig. 8B eingeschoben und durch einen von außen angeschraubten Stift gemäß Fig. 6 in der eingeschobenen Stellung festgehalten, derart, daß sie sich zwar um ein kurzes Stück zueinander bewegen können, aber nicht herausfallen können. Erreicht wird dies einerseits durch Rücksprung 90, der eine Laufbahn für die halbe Stiftbreite des Stiftes 92 ergibt, und durch die Spiralfeder 344, die sich einerseits in einer Öffnung 94 des Teils 336 abstützt, andererseits auf einer Zwischenwand 358. Das Teil 336 ist derart symmetrisch geformt, daß es die Montagemöglichkeit gemäß Fig. 8A und 8B ermöglicht.
- In den Fig. 9A, 9B und 9C ist eine Ausführungsform für ein Scharnier dargestellt, bei dem das eine Scharnierteil am Türblatt 416 angeschweißt ist, während das andere Scharnierteil am Türrahmen 450 mit einer weiteren Ausführungsform der erfindungsgemäßen Klipsbefestigung gehalten ist. Diese besteht aus zur Türblattebene im Abstand um eine zur Türblattebene senkrechte Achse drehbar angeordnete Hebeleinrichtungen 436, die durch Federeinrichtungen nach außen gedrückt werden und dann Randbereiche einer im Türblatt 450 angeordneten rechteckigen Öffnung ergreifen.
- In Fig. 12 ist ein Rechteckdurchbruch 78 dargestellt, wie er für die hier beschriebene Ausgestaltung eine Arretierung geeignet ist. So könnte ein Scharnierelement, wie es in den Fig. 10 und 11 in Seitenansicht und Stirnansicht dargestellt ist, in diesem Rechteckdurchbruch 78 eingeklipst werden. Im übrigen ist der Aufbau ähnlich dem der Fig. 3, wobei es sich hier jedoch um ein (oberes) Scharnierteil 228 handelt.
- Die Fig. 14 und 15 zeigen eine Ausführungsform in zwei verschiedenen Ansichten, bei der mit der konischen Schraube 98 zwei Halteelemente 736 auseinander gedrückt werden, wodurch sich eine besonders große Haltekraft ergibt, wobei der Schraubenkopf innen liegt und eine Blindbefestigung damit nicht möglich ist. Man könnte aber auch mit einer Schraube von außen eine konische Mutter anziehen, was die gleiche Wirkung hätte, und außerdem eine Blindmontage ermöglichen würde.
- Fig. 13 zeigt einen Schwenkhebel mit einer am unteren Ende angeordneten, an sich bekannten Hakenbefestigung, wobei jedoch am oberen Ende erfindungsgemäße Halteelemente vorgesehen sind. Da gemäß Fig. 13 am unteren Ende nur geringe Kräfte wirksam werden, reicht eine Hakenbefestigung mittels Hakens 100, während im Zungenbereich, 52, wo die Schließkräfte und die Verdrehung des Handhebels bewirken, daß größere Kräfte auftreten, die erfindungsgemäße Einrichtung 836 vorgesehen ist, sei es eine der vorstehenden Ausführungsformen, sei es speziell die Ausführungsform mittels konischer Schraube, Fig. 14, 15.
- Auf diese Weise läßt sich je nach Belastung die optimale Befestigungsart wählen.
- Während beim Schwenkhebelverschluß gemäß Fig. 13 ein oberes Ende mit zwei Halteelementen 836 festgelegt ist, ist bei den Ausführungsformen gemäß Fig. 17 und Fig. 18 jeweils nur ein derartiges Halteelement 1036 vorgesehen.
- Am anderen Ende des Schlüsselschildes oder Kopfteils 24 befindet sich in Fig. 13 ein Haken 100. Bei der Ausführungsform gemäß Fig. 17 handelt es sich um einen Steckschlüsselverschluß, bei der Ausführungsform gemäß Fig. 18 um einen Hebelverschluß.
- Fig. 19 zeigt in einer Schnittansicht von oben ein Scharnierteil 382, an dessen den Kopfteil bildenden Lappen 388 das Rumpfteil 326 mittels Kopfschrauben 27 befestigt ist. Diese Schrauben 27 begrenzen gleichzeitig den Hub der Befestigungselemente 1136, siehe das Langloch 29, in den der Schraubenquerschnitt 27 wandern kann.
- Wie aus den Fig. 20 oder 21, einer axialen Schnittansicht in einer Ansicht von unten hervorgeht, bewegen sich beim Einschieben die Elemente 1136 in dem Kanal nach innen gegen die Kraft der Feder 344, so weit es die Langlocherstreckung 29 zuläßt, um dann wieder in Verriegelungsstellung zu springen, die in Fig. 20 erkennbar ist. Diese Trennung der Kopf- und Rumpfteile des Befestigungssystems ist z. B. dann von Vorteil, wenn Nuten 31 für Abdichtringe 33 vorgesehen werden sollen. Das kann zu Werkzeugen für das Spritzgußverfahrens führen, die schwer zu handhaben sind, wenn eine einteilige Herstellung gewünscht wird.
- Das Scharnierteil 82 ist in den Fig. 22, 23 und 24 in drei verschiedenen Ansichten herausgezeichnet. In den Figuren ist auch die Nut 35 erkennbar, in die die freien Schenkel des U-Teils 326 eingesetzt werden, ebenso wie die Gewindebohrungen 37, in die die Schrauben 27 eingeschraubt werden können.
- In den Fig. 25 und 26 ist in einer Stirnansicht und einer Seitenansicht das Führungsteil für die Halteelemente 1136 dargestellt.
- Fig. 27 und 28 zeigen in einer Seitenansicht und in einer Draufsicht eine Ausführungsform mit hebelförmigen, kreuzweise federgestützten (3644), um eine zur Wandebene 16 senkrechte Achse 3661 verschwenkbaren Halteelementen 3636, siehe auch Fig. 9A bis 9C.
- Fig. 29 und 30 zeigen in einer Frontansicht und einer Seitenansicht stirnflächig oder stirnseitig gelagerte, im Kreisbogen um eine zur Wandebebe 16 parallele Achse 60 geführte, jeweils für sich federbelastete (3744) Halte- oder Klipselemente 3736. Die Befestigung des Beschlagteils 3724 im Durchbruchmittelpunkt des Auflaufkreisbogens ist weiter innen, bezogen auf den Drehpunkt 60 der Klipselemente, angeordnet, um die Klemmfunktion zu erreichen. Siehe dazu auch die Fig. 3.
- Fig. 31 und 32 zeigen in einer Seitenansicht und in eine Draufsicht Halteelemente 3836 wie in Fig. 29, 30, wobei jedoch mehrere Halteelemente 3836 nebeneinander auf einer Welle 3860 gelagert sind. Sie übertragen größere Kräfte. Die Welle 3860 ist mehrfach (an beiden Enden und mittig) im Fügeteil 3826 gelagert, z.B. im Rumpfteil 3826 eines Beschlagteils, z.B. Scharnierteils 3824, wie dargestellt.
- Fig. 34 in einer Frontansicht und Fig. 35 in einer Seitenansicht sowie in weiteren Ansichten (Fig. 36, 37) zeigen eine Klipsbefestigung mit durch einen Stift 4194 gesicherte und hubbegrenzte Halteelemente 4136, gebildet aus zwei gegenläufigen, federgestützten (4144) Elementen 4136, die bei spiegelbildliche Übereinanderstapelung für die Federaufnahme einen geschlossenen Durchbruch 4185 aufweisen, in der eine Spiraldruckfeder 4144 vorgespannt wird. Ein längsseitig eingebrachter Rücksprung 4183 bildet bei spiegelbildlicher Schichtung eine Nut für die Aufnahme eines Stopfens 4194, der mit seinem Ansatz 4105 das Klipselementpaket 4106 im Kanal 4113 mittig ausrichtet. Fig. 37 zeigt in verschiedenen Ansichten die Einzelteile 4136 (zweifach) und 4194 des Klipselementpaketes 4106.
- Fig. 38 und 39 zeigen eine Konstruktion, bei der die Elemente mittig ausgerichtet werden durch Herunterbiegen einer durch Nuten erzeugten Rippe 4294..
- Fig. 40 und 41 zeigt ein aus dünnem Material gebildete, paketierte, mit offenem Federkanal 4385 versehene Klipselemente 4336, bei denen der angebrachte Haken 4351 sich in einer äußeren Öffnung 4307 des Kanals 4313 hält und die Klipselemente 4336 gegen den Federdruck 4344 sichert. Es handelt sich hier wiederum um gegenläufig arbeitende paketierte Klipselemente. Fig. 42 macht diese zwei Einzelpakete 4306 der Anordnung der Fig. 40 und 41 deutlich.
- Fig. 43A zeigt zwei andere Anordnungen (federnde, mit der Platte 4336 einstückige Nase 4359 bzw. Zweistückig in einen Rücksprung der Platte 4336 eingelegtes Nasenteil 4363, um die Klipselemente gegen Federkraft in ihrer Funktionsstellung zu halten (gegen Federkraft, weil der Federkanal 4385 nach hinten offen ist).
- Fig. 43B bis 43D zeigen Klipselemente 4336bmit geschlossener Halbschale 4308 zur Aufnahme der Feder 4344, nach Entfernen des ggf. vorgesehenen Stopfens (siehe Fig. 34) lassen sich die Klipselemente 4336 mit einer Schraubendreherklinge 4301 oder ähnlichen Werkzeug (siehe z.B: Fig. 45D und Fig. 81 B) zur Demontage des befestigten Teils 4324 (Beschlagteil, Verkleidungsblech) zurückziehen.
- Fig. 44A zeigt das Zurückziehen verzahnter Klipsteile 4436 mit einem verzahntem Schaft 4402.
- Fig. 44B zeigt ein Gehäuse 4424 eines Befestigungselementes für die nebeneinander liegende Montage von paketierten Klipselementen 4336 gemäß Figur 42, Fig. 44C eine Schraubenzieherklinge 4401, und Fig. 44D und 44E nebeneinander angeordnete Klipselemente mit längsseitigem Rücksprung zum Zurückziehen mit dem Schraubendreher gemäß Fig. 44C, montiert in einem Befestigungselementegehäuse, und Fig. 44F die zugehörigen Klipselemente 4436 in Draufsicht.
- Fig. 45A erläutert in 6 Teilbildern einzelne (nicht geschichtete) Klipselemente 4536 für den einzelnen Einsatz an Stirn- oder Seitenflächen von Beschlägen oder sonstigen Konstruktionsteilen, mit T-Querschnitt 4503 zur Verbesserung der Führungseigenschaften bei besonders kurzen oder hohen Klipselementen, wobei das Teilbild rechts in Draufsicht eine stirnflächige Anwendung 4524. Die Feder 4544 wird vorgespannt eingesetzt.
- Fig. 45B stellt ein Klipselement mit rechteckigem Durchbruch 4683 zur Federaufnahme dar, Stirnkanten des Durchbruchs 4683 sind mit einseitigen oder zweiseitigen Vorsprüngen versehen, um die Feder sicher bei der Vormontage zu halten.
- Fig. 45C zeigt ein einzeln zu verwendendes Klipselement 4736. Die Feder 4744 kann mittig oder einseitig (Fig. 45C) eingesetzt werden (vorgespannt), wobei aus Fig. 45D die Erkenntnis erwächst, daß bei einseitig eingesetzter Feder 4744 diese zum Katzbuckeln neigt und dadurch das vormontierte Klipselement sicher im Montageraum festhält. Fig. 45E zeigt den Montageraum 4747 für das Klipselement 4736 gemäß Fig. 45D, bei Einhaltung der Referenzmaße A bei Klipselement 4736 und Federnest 4747 im Montageraum des durch Klipsen zu befestigendem Beschlages 4724 wird die Position des Klipselementes 4736 festgelegt.
- Fig. 45F zeigt in zwei Teilbildern, daß bei mittig angeordneter Feder im Klipselement es durch folgende Maßnahmen gegen Herausfallen gesichert wird: Entweder wird die Bohrung für die Feder (Federnest 4747) wird in hinterem Bereich so verkleinert, daß die Feder 4744 beim Einsetzen des vormontierten Klipselementes verklemmt, oder es werden Flächen, siehe linke Teilfigur von Fig. 45F, oder Spitzen, siehe rechte Teilfigur von Fig. 45F, angebracht, deren Zwischenmaß kleiner ist als der Durchmesser der Feder beträgt;
- Fig. 45G in 7 Teilbildern Klipselemente mit rechteckigem Querschnitt, stirnflächig zur Klipsbefestigung eines Bauteiles eingesetzt, Federanordnung mittig oder seitlich, Fig. 46A und 46B die Schaffung eines Führungskanals 4813 für Klipselemente 4836 an einem Blechteil, wie Scharnierlappen 4824, durch Anpunkten eines rechteckigen Rohrabschnittes.
- Fig. 47A und 47B zeigen ein breites Klipselement 9436 für die Aufnahme großer Kräfte mit beidseitig im geschlossenem Nest 4983 vorgespannten Federn 4944, Katzenbuckel der Federn 4944 sichert Klipselement 4936 gegen Herausfallen aus dem Kanal 4933. In Fig. 47C ist eine Vertiefung 4947 mit halben Federquerschnitt beidseitig zur Aufnahme des Klipselementes 4936 gemäß Fig. 47B zu erkennen.
- Fig. 48A und 48B zeigen ein Klipselement 5036 ähnlich wie gemäß Fig. 42D mit wechselseitig eintauchenden Ansätzen 5015, die die volle Auflage der Federstirnflächen 5044 ermöglichen.
- Fig. 49A und 49B zeigen ein in ein umhüllendes Gehäuse 5126 eingesetztes Klipselement 5136 für die Montage in einem sonst nicht geeigneten Werkstoff wie Holz. Der Querschnitt des Gehäuses 5126 ist hier rechteckig. Fig. 50 A bis 50C, wie vorstehend, aber runder Querschnitt für das Gehäuse 5226 und dieses mit Kragen.
- Fig. 50D zeigt eine Ausführungsform mit einem Klipselement 5336, dessen Ein- und Auslaufwinkel gleich ist und im Zusammenspiel mit einer Bohrung 5337 Kugelschnäpperfunktion übernehmen kann.
- Fig. 51A bis 51C Klipselemente 5436 ähnlich wie gemäß Fig. 42D mit einer äußeren Zentrierfläche 5439 zum besseren Einführen in die Einbauöffnung, wenn aus bestimmten Gründen auf eine mittig ausrichtende Maßnahme wie Stopfen verzichtet werden soll.
- Bei der Anordnung gemäß der Fig. 52A, 52B, ist eine Befestigung mittels in einem Kanal angeordneter Befestigungselemente vorgesehen, siehe Bezugszahl 1636. Die Befestigung erfolgt hier mit an den Stirnseiten angeordneten Halteelementen 1636, die, da sie etwas kürzer sind als bei anderen Ausführungsformen, zusätzlich durch eine Nut geführt werden, die bei 65 zu erkennen ist, siehe Fig. 57A, 57B, 57C, während die Lagerung des Ritzels, dargestellt in den Fig. 58A, 58B, in einem Rumpfteil 1632 erfolgt, der in Fig. 53C zu erkennen ist, in Fig. 59 ist zusätzlich ein Deckel 67 zu erkennen, der eine zusätzliche Lagerung für das Ritzel darstellt. Dieser Deckel kann sich entweder an einem Rücksprung 69 im Rumpfteil des Beschlages abstützen, siehe Fig. 54A, 54B, oder aber an den Kanten der Verschlußstangen 71, wie in den Fig. 52B, 53B erkennbar wird.
- Die Fig. 60A, 60B, 60C, 60D zeigen eine ähnliche Konstruktion wie vorstehend geschildert, jedoch ist hier die Klipsbefestigung für die Kappe an den stirnseitigen Ecken angeordnet und diese greifen in Durchbrüche, die vom Deckel gebildet werden, der in den Fig. 61A, 61 B, 61C und 61 D dargestellt ist, es greifen also die Haken 73 in die in Fig. 61C dargestellten Durchbrüche 75, so daß sich die Halterung gemäß Fig. 61A ergibt.
- In den Fig. 62A, 62B ist ein Knebelverschluß mit Verschlußstange 75 dargestellt, der ohne Kappe arbeitet, statt dessen ein einteiliges Gehäuse aufweist, wobei seitliche Führungsstege 79 für die Stangen 75 Klipseinrichtungen 77 tragen und dadurch die Stangen festhalten. Die Befestigung des Gehäuses erfolgt mittels eines Hakens 81 auf der einen Seite (in Fig. 62A rechts) und auf der anderen Seite mittels der erfindungsgemäßen Halteelementeeinrichtung 1836.
- Bei der in den Fig. 63A, 63B dargestellten Ausführungsform handelt es sich um ein erfindungsgemäß eingeklipstes Gehäuse, mit Befestigungselementen 2136, welches Gehäuse einen aufgesetzten Adapter 87 aufweist, dargestellt in den Fig. 65A, 65B, 65C, mittels welchen Adapter 87 eine Flügelzunge 89, dargestellt in den Fig. 64A, 64B, montiert werden kann. An die Flügelzunge lassen sich Rundstangen 275 anlenken, wie in den Fig. 63A, 63B dargestelllt. Der Adapter bildet Anschlagflächen 91, siehe die Fig. 63C, an die die Nase 93 zur Drehwegbegrenzung der Flügelzunge 89 anschlägt.
- In den Fig. 66A, 66B, 66C ist eine Ausführungsform dargestellt, bei der eine erfindungsgemäße Halteeinrichtung 2236 an einem Metallblechscharnier 95 angeschweißt ist. Das Verschweißen erfolgt punktförmig, siehe Bezugszahl 97. Im Bereich der Schweißbefestigung weist die Feder 2336 im übrigen eine Umbördelung 99 auf, die eine versteifende Wirkung hat, Fig. 72D.
- In den Fig. 67A, 67B, 67C und 67D und 67E ist eine Anordnung dargestellt, bei der zwei zueinander bewegliche Halteelemente 2636 in einem Kanal gegeneinander verschieblich gegen Federkraft gelagert sind. Durch einen Einschnitt 111, in dem eine Madenschraube 113 eingreift, wird die Bewegung der Elemente 2636 linear begrenzt. Zu den Anordnungen gemäß Fig. 67A bis 69C sei noch angemerkt, daß es sich dabei um eine kostengünstige, aber auch montagefreundliche Anordnung handelt. Die zu benutzenden Flachblechteile lassen sich billig stanzen. In eingebauter Situation, aber noch nicht am Schrankblech montiert, sind die beiden Durchbrüche der Blechteile auch bei vorgespannter Druckfeder deckungsgleich. Die drei Teile, zwei Stück Klipsplatten und ein Stück Druckfeder vorgespannt, bilden ein in sich stabiles Paket, so daß es einfach in den Führungskanal eingeschoben werden kann. Der dann eingedrückte Stift sichert die Einheit nur gegen Herausfallen. Erst bei Montage in der Einbauöffnung entwickeln die Klipsplatten eine von der Feder verursachte Relativbewegung. Die Gesamtanordnung baut sehr schmal und ist deshalb platzsparend. Bei besonderen Situationen können die Klipsplatten auch solitär und in Anpassung an Platzverhältnisse gekröpft eingesetzt werden.
- Fig. 69A zeigt die Druckfeder, Fig. 69B die Madenschraube, anstelle der auch ein in 78C dargestellter Stift verwendbar ist, der allerdings nicht demontierbar wäre.
- Fig. 67E zeigt, wie die Teile sich auch im Führungskanal begegnen können. Eine einseitige Ausstülpung 115 für den Durchbruch läßt die Feder am Ende jeweils vollflächig aufliegen.
- Eine ähnliche Ausführungsform zeigen die Fig. 70A, 70B und 70C, bei der die erfindungsgemäße Befestigung 2736 bei einem Schwenkhebel eingesetzt ist. Der Schwenkhebel treibt einen Vorreiber an, der die Tür in einem Rahmen festlegt, wenn diese verschlossen ist.
- Die Fig. 71A, 71 B zeigen Details des in dem Türblatt festzulegenden Muldenbereichs, während die Fig. 72A, 72B zwei Ansichten des Schiebers wiedergeben.
- Fig. 73A zeigt wiederum eine Madenschraube und Fig. 73B eine Drahtfeder.
- Die Fig. 74A, 74B zeigen eine Ausführungsform, die das Problem löst, das auftritt, wenn die Belastung durch die Klipselemente an der Blechkante zu hoch wird und eine nach außen zeigende Beule entsteht. Bei den bisher geschilderten Ausführungsformen liegt das Scharnierblatt dann nicht mehr sauber an. Zur Lösung dieses Problems wird im Bereich des Klipselementes ein Rücksprung auf der Innenseite des Scharnierblattes geschaffen, siehe die Bezugszahl 117, in welchem die Beule 119 aufgenommen wird. Das Klipselement 2836 schiebt nach und die sichere Befestigung ist ohne Nachteile immer noch sichergestellt.
- Fig. 75 zeigt in einer Schnittansicht bei 119 das ausgebeulte Blech, das durch hohe Belastung an den hohen Kanten entstanden sein kann.
- In Fig. 74A ist eine Ansicht von der Seite zur Darstellung des Kanalaufbaus mit Klipselementen und Rücksprung zu erkennen. Fig. 74B zeigt eine Ansicht von hinten mit dem Kanalaufbau ohne Klipsstücke, jedoch mit Rücksprung zur Aufnahme der Ausbeulung.
- Bei der in den Fig. 76 A bis 76C dargestellten Konstruktion wird der Fixierungsstopfen 123, der in einen von den Halteelementen 3036 gebildeten Schlitz 125 eingreift, nicht durch Feder 3044 belastet, da die sich gegenüberliegenden Halteelemente 3036 sich gegenseitig halten. Der Fixierungsstopfen 123 hält die Halteelemente 3036 nur in der richtigen (mittigen) Stellung, damit der Einklipsvorgang nicht gestört wird.
- Die Konstruktion ermöglicht eine vereinfachte Montage, und nur eine Feder 3044 wird benutzt, da die mittige Zwischenwand im Kanal, die bei anderen Ausführungsformen vorhanden waren, hier entfallen kann.
- Fig. 76A bis 76C zeigen die zugehörigen Halteelemente 3036 als Einzelteil.
- Die Fig. 78A bis 78C zeigen in drei verschiedenen Ansichten einen den Führungskanal bildenden Aufsatz 3230, der verschraubt werden kann, was für die Einbringung von Kanälen 3233 für eine Dichtung 3233werkzeugseitige Vorteile hätte. Es müßte nicht mit Schiebern im Werkzeug gearbeitet werden. Wird das Führungskanalteil angeschraubt, kann der mittige Fixierungsansatz 3293 durch Herausdrückung (Blechteil) oder Angießen (Druckguß, Kunststoffspritzguß) erzeugt werden. Der Fixierungsstopfen 123, der in der vorhergehenden Ausführungsform (Fig. 76A bis 76E) beschrieben wurde, wäre hier nicht nötig.
- Die Fig. 79A bis 79C zeigen in drei verschiedenen Ansichten eine Anordnung, bei der durch vierfache Anordnung von Klipsplatten 3136 eine besonders schwere Belastbarkeit erreicht wird. Das U-Teil zur Bildung des Führungskanals 3128 ist hier verschraubt. Aufliegende U-Schenkel sind in der Rückseite des Kopfteils 3124 eingelassen. Die Klipsplatten führen sich zwischen den Verschraubungszylindern 3127 und in der Innenwand des U-Teils.
- Bei der Anordnung gemäß Fig. 80A, 80B, 80C, 80D sind die Halteelemente 5536 von zwei nebeneinander liegenden Metallstücken oder Kunststoffstücken gebildet. Sie bilden zueinander gerichtete Vor-/Rücksprünge, derart, daß mit einem drehbaren Werkzeug oder Schlüssel 82 die beiden Halteelemente 5536-1, 5536-2 durch Drehen des Werkzeuges 82 gegen die Kraft der Feder 5542 zurückgezogen und dadurch das Scharnier von dem Türblatt 5514 demontiert werden kann. Der Aufbau ist zweckmäßigerweise so getroffen, daß der Hebel 82 selbsttätig in der geöffneten Stellung verharrt, so daß bei mehreren Scharnieren alle gleichzeitig in die Offenstellung gebracht werden können und so alle Scharniere gleichzeitig vom Türblatt abziehbar sind.
- Bei der Anordnung gemäß der Fig. 80E und 80F ist das Werkzeug mit einem Ritzel 84 versehen, das in entsprechende Verzahnungen 86 der beiden Halteelemente 5636-1, 5636-2 eingreifen und ebenfalls bei Drehung des Werkzeuges mit dem Ritzel 84 ein Zurückziehen der beiden Halteelemente in das Gehäuse ermöglicht wird, um so das Gehäuse aus dem Durchbruch in der dünnen Wand herauszuziehen.
- Diese Öffnung ist von Seiten des Scharniers möglich, also von außerhalb des Türblattbereichs, man kann auch seine Blindmontage wieder lösen.
- Bei der Anordnung gemäß Fig. 81A, 81 B, 81C ist dagegen eine Lösung mit Werkzeug von der Innenseite her vorgesehen.
- Die mit 45° verlaufende schräge Fläche 127 der Halteelemente 5736, siehe insbesondere Fig. 81C und Fig. 81 G, führt dazu, daß diese durch den Federdruck der Feder 5742 nach außen in Richtung auf die Kanalwände 129 gedrängt werden, wodurch im Kanal Reibung entsteht und die Halteelemente möglicherweise bereits durch diese Reibung ausreichend fixiert werden, so daß der in Fig. 81A erkennbare Fixierungsstopfen 131 nicht benötigt wird. Ist der Stopfen 131 zur Sicherung der Halteelemente 5736 nicht erforderlich, braucht der Stopfen 131 auch nicht entfernt zu werden, wenn der Löseschlüssel 133 durch die Öffnung 135 im Kanaldeckel 137 in den durch die beiden Halteelemente 5736 gebildeten Rücksprungbereich 139 eingeführt werden soll. Wird der Schlüssel 133 dann gemäß Fig. 81A gegen Uhrzeigerrichtung gedreht drückt der Schlüssel mit seinen Flügeln 141 gegen die Endfläche 143 des Rücksprungbereichs 139 und verschiebt dabei das Halteelement 5736 in den Kanal hinein, bis die in Fig. 81I dargestellte Stellung erreicht ist, zu welchem Zeitpunkt der Schlüssel um 90° verdreht ist und sich selbst hält. Dann kann die ganze in Fig. 81A dargestellte Einheit aus dem Durchbruch, dargestellt in Fig. 81 D, in der dünnen Wand 5714 herausgezogen werden, einschließlich ggf. weiterer Scharnierelemente, die ebenfalls mit einem entsprechenden Schlüssel in die zurückgezogene Stellung gebracht worden sind.
- Bei der Anordnung gemäß Fig. 81 J, K, L, M, N, O, P dient als Halteelement ein flaches Metallstück, das einen Durchbruch 84 zur Aufnahme der Feder 42 aufweist, sowie zwei sich gegenüberliegende Vorsprünge 86, die sich an der Feder 5842 diese sichernd aufnehmen, so daß hier eine Handhabeeinheit von Halteelement und Feder gegeben ist.
- Diese Einheit kann in die entsprechend geformte Öffnung 88 im Rumpfteil 38 aufgenommen werden, siehe die Fig. 81 K, die für die Feder vorgesehene Aussparung 90 ist kürzer als die entsprechende Aussparung 92 für das Halteelement 5836, wodurch die Feder 5842 eine Anlagefläche bekommt, wenn das Halteelement 5836 in Stellung gemäß Fig. 81 J geschoben wird.
- Bringt man am Ende der Aussparung 90 für die Feder einen Noppen 94 an, kann sich die Feder dort festhalten und wird ein Herausfallen des Halteelements 5836 mit der Feder 5842 verhindert.
- In den Fig. 82A, 82B, 82C und 82D ist ein Scharnier dargestellt, bei dem das Scharnierteil einen Durchbruch 119 wie die dünne Wand 1614 aufweist, wobei das Halteteil 1634 und das Rumpfteil 1630 ihr eigenes Kopfteil 1628 besitzen. Das in Fig. 16D dargestellte Scharnierteil weist außerdem Bohrungen 145 für eine alternative Befestigung mittels Kopfschrauben auf.
- Bei der in den Fig. 83A, 83B und 83C dargestellten Anordnung sind Kopfteil 1738 und Rumpfteil 130 zwei miteinander verschraubte Teile, wobei hier zwei Schrauben 17108 verwendet sind. Zur Erhöhung der Stabilität sind die Halteelementpaare 1736 doppelt vorhanden, und symmetrisch rechts und links von der Verschraubung 17108 angeordnet.
- Ähnlich gestaltet ist die Anordnung gemäß der Fig. 84A, 84B, 84C, wobei das Befestigungselement in Fig. 84D und die Feder in Fig. 84E als fest zusammengebaute Teile in Fig. 84F und 84G dargestellt sind. Halterungsvorsprünge sind in Fig. 84H vorgesehen, wobei hier noch hinzukommt, daß das Halteelement aus Stabilitätsgründen eine von der flachen Form abweichende Gestalt hat, siehe Fig. 841.
- Bei der Anordnung der Fig. 85A, 85B, 85C sind zwei Federn vorgesehen, die jeweils seitlich in das zugehörige Halteelement 36 eingelegt ist. Die andere Hälfte des Federelements wird vom Rumpfteil 1030 aufgenommen. Fig. 80A zeigt noch die Besonderheit, daß im Falle von sehr dünnem Wandmaterial beidseitig Verstärkungsbleche 94, 96 vorgesehen sind, die von den Halteelementen eingeklemmt werden und damit auch das dünne Türblatt 1014 festhalten und stützen.
- Bei der Anordnung gemäß Fig. 85D, E, F, G und H sind zwei nebeneinanderliegende Metallstücke 136 vorgesehen, die gemeinsam von einer Feder 1144 derart gehalten werden, daß diese drei Teile eine in sich stabile Handhabeeinheit bilden, also getrennt gehandhabt und bei Bedarf dann in eine entsprechende Ausnehmung im Rumpfteil 1130 eingeschoben werden kann, wie in Fig. 90E erkennbar wird.
- Durch hier angebrachten Noppen 1192 kann auch hier erreicht werden, daß sich die Konstruktion in Stellung hält.
- Gemäß Fig. 85H sind die beiden Metallteile stärken, so daß sie insgesamt die Feder aufnehmen können.
- Bei der in Fig. 87 dargestellten Anordnung ist der Kopf der Schraube 149 konisch und drückt die beiden Halteelemente 2136 auseinander.
- Gegenüber einer erfindungsgemäßen Konstruktion gemäß Fig. 86A, bei der eine Feder die beiden Halteelemente 2036 spreizt, haben die Konstruktionen mit konischer Schraube den Nachteil, daß dann, wenn bei Belastung später die Blechkanten verrunden oder sich ausbeulen, die Schraube von Hand nachgezogen werden muß. Eine Feder schiebt automatisch nach und gleicht automatisch aus.
- Der Durchbruch in der dünnen Wand muß nicht unbedingt rechteckig sein, wie er beispielsweise in Fig. 2 dargestellt ist. Er kann auch an sich jede beliebige andere Form haben, beispielsweise oval oder rund. Eine runde Ausführungsform ist in Fig. 86B zu erkennen, wobei jedoch für eine Drehsicherung gesorgt werden muß, die die runde Durchbruchform im Gegensatz zur rechteckigen Durchbruchform nicht liefert. Eine Sicherung des ersten Scharnierteils (z.B. an der Tür befestigt) kann beispielsweise durch das zweite Scharnierteil erfolgen, falls dieses (z. B. am Rahmen) fest genug angebracht ist, oder durch die Anordnung von, wie in Fig. 86B zu erkennen, zwei im Abstand zueinander angeordnete runde Durchbrüche 2012, oder auch durch zusätzliche am Scharnierteil angegossene Stifte 151, die eine Verdrehung verhindern, siehe Fig. 86C, sofern entsprechende Bohrungen im Türblatt vorhanden sind, die diese Stifte aufnehmen.
- Fig. 89 zeigt in einer Querschnittsansicht einen Fensterrahmen 2514, mit einem langgestreckten Durchbruch 2512, in dem ein aus gepreßtem Aluprofil bestehendes Scharnierteil 2516 eingeschoben werden kann, um es anschließend mit einem T-förmigen Keilelement 2536 festzulegen. Da das Preßwerkzeug und Produktion einfacher sind, ist die Herstellung billiger. Auch das Auge für einen Stift 2520 kann offengelassen werden und ist dadurch im Preßverfahren herstellbar.
- Fig. 90A, 90B und 90C zeigen drei verschiedene Ansichten eines kurzen Schildes als Einzelbauteil, Fig. 91A und 91 B zwei Ansichten eines geeigneten im Querschnitt Doppel-T-förmigen Halteelements und Fig. 92A und 92B zeigen zwei Ansichten der einen Hälfte des zugehörigen zweiteiligen Schloßkastens.
- Die Fig. 90A, 90B und 90C zeigen in verschiedenen Ansichten ein Kopfteil oder Schlüsselschild mit einer Einlauffläche 44, außerdem mit einer Verhakungs- und Fixierungskontur 92 für ein vormontiertes Stangenschloß, beispielsweise aus den Hälften gemäß Fig. 92A und 92B aufgebaut, wobei diese Hälften Einschnitte 90 zur Verhakung mit dem Schild oder Ausschwenkhebelgriffelement besitzt.
- Die in den Fig. 93A bis 93B dargestellte Anordnung eignet sich für Dornbetätigung als Betätigung, in Fig. 93A angedeutet, und Schwenkhebelbetätigung, siehe Fig. 93H. Der hier speziell ausgestaltete Befestigungshaken 17 hält die Mulde 716, im Blechausschnitt im unteren Bereich fest. Die in der Fig. 93H dargestellte aufsteckbare Kappe 715 hat nur die Dichtung 781 an das Türblatt 14 anzupressen, die in Fig. 93H im Querschnitt gezeigt ist und sich als Formteil der Kappenform anpaßt. Bei 783 in Fig. 93B sind mögliche Klipsflächen angedeutet, die mit entsprechenden Riffelungen der Klipsflächen 785 der Mulde zusammenarbeiten.
- Das Ritzel 750 gemäß Fig. 93A treibt die Verschlußstangen 52, 152 an und wird selbst über einen Vierkantdorn von einem Hebel 718 angetrieben. Eine Vormontage des Griffes 718 in der Mulde 716 kann durch eine Wellensicherung 719 erfolgen.
- Gemäß Fig. 93A ist eine Steckschlüsselbetätigung 796, z. B. als Vierkant, oder als Handgriffbetätigung, gestrichelt dargestellt, vorgesehen.
- Die beiden Hälften des Schloßkastens 724, eine ist in Fig. 93F und 93E dargestellt, sind verklipsbar, und zwar durch Federeinsätze 723, die in entsprechende Taschen 729 mit Klipsen aufgenommen werden, wobei die Federn der Ansätze 723 Hintergriffkanten 731 greifen und die verklipsten beiden Hälften zu einem Schloßkasten 724 vereinigen. Der so entstandene Schloßkasten 724 besitzt Taschen 733 für Schlitten 736 und eine Tasche 735 für die zugehörige Feder 732. Ähnlich wie schon bei anderen Konstruktionen beschrieben, gehen von dem Kopfteil bzw. der Mulde 716 Stützelemente 734 aus, mit Einlaufschräge 744, die beim Aufsetzen des Schloßkastens 724 auf die Stützelemente 734 der Mulde 716 die Schlitten 736 nach außen schieben. Dadurch wird die Feder 732 gespannt, die anschließend in Stellung des Schloßkastens 724 auf dem Stützelement 734 in die Durchbruchöffnung mit Rücksprungfläche 740 eindringt und sich dort verriegelt.
- Für die Montage der Schlitten ist ein Fingergriff 737 vorgesehen, mit dem der Schlitten 736 herausgezogen werden kann und dieser dadurch in Freigabestellung gelangt.
- Kopfteil 716 kann einen Zentrieransatz 739 aufweisen, um das Kopfteil 716 in dem Wandausschnitt 12 zu zentrieren. Durch Wenden des Schloßkastens 724, siehe Fig. 93B, kann die Ausführungsform von links auf rechts geändert werden.
- Der Schloßkasten 724 gemäß Fig. 93H weist einen Rücksprung 741 auf, in den ein über das Blech 14 vorspringender Ansatz 739 eindringen kann, um so den Schloßkasten zu zentrieren.
- Bei der in den Fig. 94A bis 94E dargestellten Ausführungsform läßt sich der Schloßkasten 824 vom mit dem verklipsten Schlüsselschild oder Rumpfteil 816 durch Betätigung von Tasten wieder trennen. Die Drucktasten 837 gemäß Fig. 94A bis 94D werden einfach vor Montage des Schloßkasten 824 eingelegt und sind in ihrer inneren Bewegung begrenzt, können aber bei Betätigung die Klipselemente 836, die hier keine lineare Bewegung sondern eine Schwenkbewegung ausführen, in die Freigabestellung zurückdrücken.
- Die in Fig. 94E dargestellten vier Niete 821 können zum Zusammenhalten der Schloßkastenhälften bei deren Ausführung aus einem geeigneten nachgiebigen Material, wie Polyamid PA, auch durch rechteckige Klipse ersetzt werden.
- Das Halteelement 836 mit Feder 832 ist um eine von der Wandflächenebene entfernt angeordnete zu dieser Ebene parallele Achse 11 schwenkbar angeordnet und besitzt an ihrem Ende eine ansteigende Kurve 13, mit der sich das Halteelement 836 in Endstellung hinter eine Hintergrifffläche 45 legt, wie bereits in Fig. 94C erkennbar. In dieser Stellung kann sich das Bauteil 824 nicht mehr von dem Bauteil 816 entfernen. Gleichzeitig wird das Türblech 14 zwischen ihnen eingeklemmt und dann gleichzeitig wieder unter Zentrierung, wie bereits beschrieben, der Beschlag in dem Türblatt festgehalten.
- Erst bei Betätigung der beidseitigen Drucktasten 837 gelangen die Stützelemente 836 in ihre Freigabestellung, so daß der Stangenverschluß 810 dann demontiert werden kann.
- Fig. 94D zeigt im übrigen noch neben dem abgekanteten Türblatt 14 einen Türrahmen 114, die beide einen Abkantungsbereich bilden, in dem das kompakte Schloß 824 untergebracht werden kann. Das Schlüsselschild 816 kann für Steckschlüssel, Handgriffe in L- oder D-Form sowie auch für Hebelverschlüsse vorgesehen sein.
- Die Fig. 95A bis 95F zeigen eine besonders einfache Konstruktion, bei der in kinematischer Umkehrung die Schlitten 1036 vom Kopfteil 1016 gebildet oder getragen werden, siehe insbesondere Fig. 95B und 95F.
- Die Schlitten 1036 - zwei gegenläufige, eine Spiralfeder 1032 umschließende Metallplatten - nehmen bei der Montage jeweils einen vom Schloßkasten 1024 gebildeten Ansatz oder Stützelement 1026 in Eingriff, welcher Ansatz 1026 seinerseits den inneren Durchbruchrand 1028 der dünnen Wand 1016 in Eingriff nimmt, es liegt insoweit auch hier eine "indirekte Klipsbefestigung" vor.
- Bei der dargestellten Anordnung ist anstelle der Stangen ein Drehriegel 1000 vorgesehen, jedoch kann dieser (oder ein mit dem dargestellten Antrieb - Vierkant 1096 - drehstarr verbundener (Doppel-)Hebel) zusätzlich an ihm angelenkte Stangen aufweisen.
- Die Erfindung ist im Schaltschrankbau gewerblich auswertbar.
-
- 10
- Schwenkhebelverschluß
- 12
- Rechteckdurchbruch
- 13, 3913
- Kanal
- 14
- Rechteckdurchbruch
- 15, 5039
- Ansatz
- 16, 216, 416
- dünne Wand, Türblatt, Blechtür
- 17
- Mittelsteg
- 18
- äußere Seite
- 19
- Einlaufschräge
- 20
- Rand
- 22
- Schwenkhebel, Handhebel
- 24, 124, 2424, 3124, 3624, 3724, 3824
- Mulde, Schlüsselschild, Kopfteil
- 26, 326, 3626, 3726, 3826
- Rumpfteil
- 27, 3127
- Kopfschrauben, Verschraubungszylinder
- 28, 228, 3128
- Rumpfteil, Klipsbefestigung, Führungskanal
- 29
- Langloch
- 30
- Rumpfteil, Aufnahmebereich, Aufsatz
- 31
- Nuten
- 32, 232, 1632
- Rumpfteil, Klipsbefestigung
- 33
- Abdichtringe, Dichtungsstreifen
- 34
- Außenfläche des Rumpfteils
- 35
- Nut
- 36, 136, 236, 336, 436, 836, 1036, 1636, 1836, 2136, 2236, 2636, 2736, 2836, 3036, 3136, 3636, 3736, 3836, 3936, 4036
- Halte- oder Zungenelement, Hebel(einrichtung)
- 37, 5337
- Gewindebohrung, Bohrung
- 38
- Schrägfläche, Auslaufschräge
- 39, 5439
- Sackloch, Zentrierfläche
- 40
- Kante
- 42
- innere Seite der dünnen Wand
- 443
- Loch
- 44, 144, 244, 344, 3044, 3644, 3744, 3844
- Feder
- 45
- Stift
- 46
- Verriegelungselement
- 47, 3947
- Sackloch, Nest
- 48
- Verriegelungselement
- 49
- Bohrung
- 50, 150, 250, 450
- (Tür)Rahmen
- 51
- Haken
- 52
- Vorreiber(zunge)
- 53
- innere Zahnung
- 54
- Zylinder
- 56
- Schlitten
- 58, 358
- (Zwischen)Wand
- 4059
- Haken
- 60, 3860
- Achse
- 61, 3661
- Achse
- 62
- Achse
- 4363
- Haken
- 64
- verdrehbarer Kreuzanschlag
- 65
- Führungsnut
- 66
- Antriebswelle
- 67
- Deckel
- 68
- Achse
- 69
- Rücksprung
- 70, 170
- Zunge, Daumen
- 71
- Stangen
- 72
- Schraube
- 73
- Haken
- 74
- Rücksprungfläche
- 75, 275
- Stange, Rundstange
- 76
- Schlüssel
- 77
- Klipseinrichtungen
- 78
- Durchbruch
- 79
- Führungssteg
- 80
- unteres, erstes Scharnierteil
- 181
- Haken
- 82, 282, 382
- zweites, oberes Scharnierteil
- 4183
- Einsatz
- 84
- Scharnierstift
- 4185
- Durchbruch für Feder
- 86
- Bohrung
- 87
- Adapter
- 88, 388
- Lappen
- 89
- Flügelzunge
- 90
- Rücksprung
- 91
- Anschlagflächen
- 92
- Stift
- 93
- Nase, Fixierungsansatz
- 94, 4194
- Keil, Stift, Eindrückung
- 95
- Metallblechscharnier
- 96
- Wanddurchbrechung
- 97
- Punktschweißung
- 98
- konische Schraube
- 99
- Umbördelung
- 100
- Haken
- 101
- Klinge
- 4402
- Bohrung
Verbreitung
Schrägführung - 4105
- Ansatz
- 4106, 4306
- Paket
- 4307
- Öffnung
- 4308
- Halbschale
- 111
- Einschnitt
- 113
- Madenschraube
- 115
- einseitige Ausstülpung
- 117
- Rücksprung
- 119
- Ausbeulung
- 123
- Fixierungsstopfen
- 125
- Schlitz
Claims (35)
- Klipsbefestigung geeignet für die Schnellmontage von Beschlageinrichtungen, wie Steckschlüsselverschlüssen, Schwenkhebelverschlüsse (10), Scharnierteile (80, 82), in Durchbrüchen (12, 14) in einer dünnen Wand (16, 50), umfassend ein auf der einen, äußeren Seite (18) der dünnen Wand (16) anzuordnendes, den äußeren Rand (20) des Durchbruchs überdeckendes Kopfteil (24), von dem ein den Durchbruch in montierter Stellung durchragendes Rumpfteil (26, 28, 30, 32) ausgeht, von dem in Richtung seiner Außenfläche nachgiebige Halteelemente (36) vorspringen, deren freies Ende eine erste Schrägfläche (19) (Einlaufschrägung), die zum federbelasteten Zurückschieben des Halteelementes (36) durch die Durchbruchkante dient, und eine dazu im wesentlichen senkrechte zweite Schrägfläche (38) (Auslaufschrägung) zur spielfreien Abstützung des Rumpfteils auf dem Rand oder Kante (40) des Durchbruchs der anderen, inneren Seite (42) der dünnen Wand (16), angeordnet sind, wobei Rumpfteil (26, 28, 30,32) und Halteelement (36) und Feder (44) getrennte Teile sind, dadurch gekennzeichnet, daß die Halteelemente im Abstand zur dünnen Wand (116) um eine zur Ebene der dünnen Wand (16) senkrechte Achse (3661) oder parallelen Achse (60, 3860) drehbar angeordnete Hebel (436, 3636) (236, 3236, 3826) sind, daß das Halteelement einen Vorsprung/Rücksprung (45; 4183, 4351, 4359, 4383) aufweist, der mit einem die Hubweite in Bewegungsrichtung bestimmenden Rücksprung/Vorsprung (3929; 4105, 4294, 4307) zusammenwirkt, der von dem Rumpfteil (3926, 4126, 4226, 4313) getragen oder gebildet wird.
- Klipsbefestigung nach Anspruch 1 dadurch gekennzeichnet, daß von diesem Rumpfteil (26, 28, 30, 32) gehaltene oder getragene Stützelemente (46, 48, 94, 96) zur Stützung der Halteelemente (36) nach der Montage der Beschlageinrichtung in der dünnen Wand (16) vorgesehen sind.
- Klipsbefestigung nach Anspruch 2, dadurch gekennzeichnet, daß zwei diametral zueinander angeordnete Halteelemente (36) durch Federeinrichtungen wie Spiralfeder (44) und/oder Keileinrichtungen (94) wie Kegelschraube (98) gestützt werden.
- Klipsbefestigung nach Anspruch 1 oder 2, dadurch gekennzeichnet, daß das Halteelement (4536) ein in Bewegungsrichtung flaches Teil ist, von deren einer oder von deren beiden Seitenkanten Leisten (4503) zur besseren Führung in der Bewegungsrichtung ausgehen.
- Klipsbefestigung nach Anspruch 1 oder 2, dadurch gekennzeichnet, daß das Halteelement (4136) einen in Bewegungsrichtung sich erstreckenden, im wesentlichen rechteckigen Durchbruch (4185) aufweist, in den eine Spiraldruckfeder (4144) eingesetzt ist.
- Klipsbefestigung nach Anspruch 5, dadurch gekennzeichnet, daß das Halteelement (5436) ein in Bewegungsrichtung flaches Teil mit einer Breite kleiner als der Runddurchmesser der Feder (5444) ist.
- Klipsbefestigung nach Anspruch 6, dadurch gekennzeichnet, daß das Halteelement (4736) eine katzbuckelnde Feder (4744) hält.
- Klipsbefestigung nach Anspruch 5, dadurch gekennzeichnet, daß der das Halteelement (4747) aufnehmende Kanal einen aus dem Halteelement vorspringenden Teil der Feder klemmend in Eingriff nimmt (Fig. 45F).
- Klipsbefestigung nach Anspruch 5, dadurch gekennzeichnet, daß das Halteelement (4936) zwei sich gegenüber liegende seitliche Nester zur Aufnahme der halben Federbreite der Feder (4944) und der Kanal einen passenden Rücksprung (4947) für die jeweils restliche Federbreite aufweist.
- Klipsbefestigung nach Anspruch 5, dadurch gekennzeichnet, daß bei zwei nebeneinander angeordneten Halteelementen (5036) diese an den Querkanten des jeweiligen Durchbruchs zur Aufnahme der Feder (5044) in den jeweils anderen Durchbruch ragende Ansätze (5015) aufweist, die Stützflächen für die Feder (5044) bilden.
- Klipsbefestigung nach Anspruch 5, dadurch gekennzeichnet, daß das Halteelement (5436) aus einem Paket aus einem ersten und einen zweiten und ggf. weiteren flachen Teilen jeweils mit rechteckigem Durchbruch (4185) besteht, die einen gemeinsame Durchbruch zur bündigen Aufnahme einer Spiraldruckfeder (4144) derart aufweisen, daß im unbelastetem Zustand die Spiralfeder in die Arbeitsteilung gedrückt wird.
- Klipsbefestigung nach Anspruch 1, 5 oder 6, dadurch gekennzeichnet, daß das Halteelement (4536) ein in Bewegungsrichtung flaches Teil mit einem Durchbruch (4683) ist, von dessen quer zur Bewegungsrichtung sich erstreckende Seitenkanten Vorsprünge zur Ausrichtung der Spiralfeder ausgehen.
- Klipsbefestigung nach Anspruch 1, dadurch gekennzeichnet, daß das Halteelement (5136) in einem Gehäuse (5126) untergebracht ist, das seinerseits in einer dicken Wand montierbar ist.
- Klipsbefestigung nach Anspruch 1, dadurch gekennzeichnet, daß das Halteelement (5336) Schrägflächen (5319, 5338) gleichen Winkels für Ein- und Auslauf aufweist und dadurch wie ein Kugelschnäpper arbeitet.
- Klipsbefestigung nach Anspruch 1, dadurch gekennzeichnet, daß das Halteelement (5436) vor der Einlaufschrägung (5419) eine gerade Zentrierfläche (5439) bildet.
- Klipsbefestigung nach Anspruch 1, dadurch gekennzeichnet, daß das Halteelement (4336, 4436) Ansatz-, Rücksprung- oder Gewindeflächen (4383) bilden, in die ein Werkzeug, wie Schlüssel oder Schraubendreherklinge (4301; 4402) zur Verschiebung des oder der Halteelemente in die zurückgezogene Stellung eingreifen kann..
- Klipsbefestigung nach Anspruch 1, dadurch gekennzeichnet, daß bei unterschiedlicher Belastung der beiden sich diametral gegenüber liegenden Halteelemente, wie bei Verwendung mit einem Vorreiber (52), das eine, schwächer belastete Halteelement (36) aus nachgiebigem Kunststoff, wie Polyamid, und das andere, stärker belastete Halteelement (136) aus starrem Material, wie Metall besteht.
- Klipsbefestigung nach Anspruch 1 bis 17, dadurch gekennzeichnet, daß der Rumpfteil (3726) eine Teiltrennwand (358) oder Hinterschneidung oder Durchbruchkante besitzt, an der sich der Hebel (3736) mit einer Schulter (3751) oder Haken axial abstützen.
- Klipsbefestigung nach Anspruch 1, 2 oder 3, dadurch gekennzeichnet, daß die Halteelemente von Hebeln (56) gebildet werden, deren Bewegungstangente senkrecht zur Längserstreckung der Beschlageinrichtung liegt.
- Klipsbefestigung nach Anspruch 1, 2 oder 3, dadurch gekennzeichnet, daß die Halteelemente (5436) von Hebeln gebildet werden, deren Bewegungstangente parallel zur Längsersteckung der Beschlageinrichtung liegt.
- Klipsbefestigung nach Anspruch 1, dadurch gekennzeichnet, daß das Halteelement (2636, 2736) durch ein Stanzteil gebildet ist.
- Klipsbefestigung nach Anspruch 1, dadurch gekennzeichnet, daß im Bereich des Halteelements (2836) der Kopfteil einen Rücksprung (117) zur Aufnahme von Kantenausbeulungen (119) aufweist.
- Klipsbefestigung nach Anspruch 1, dadurch gekennzeichnet, daß jeweils zwei oder mehr Halteelemente (3136, 3836) nebeneinander angeordnet sind.
- Klipsbefestigung nach Anspruch 1, dadurch gekennzeichnet, daß Rumpfteil (26, 28, 30, 32) und Kopfteil (24) einstückig gespritzt sind.
- Klipsbefestigung nach Anspruch 1, dadurch gekennzeichnet, daß Rumpfteil und Kopfteil zwei Teile sind, die verschraubt (Fig. 31A, B, C; Fig. 89A, B, C), verschweißt (Fig. 72A, 72B, 72C) oder verklipst sind.
- Klipsbefestigung nach einem der Ansprüche 1 bis 32 wobei die Beschlageinrichtung ein Schwenk- oder Klapphebelverschluß (10) zur Befestigung in einem langgestreckten (12, 17, 14) oder in zwei kürzeren rechteckigen Durchbrüchen (12, 14) ist, wobei der eine Durchbruch (12) eine Hebellagerung (66) und der andere Durchbruch (14) eine Hebelarretierung (170, 70) aufnimmt, dadurch gekennzeichnet, daß zumindest einer der Durchbrüche (12, 14) auch zur Aufnahme von zumindest einem Rumpfteil (28, 128, 32) mit Halteelementen gemäß einem der vorhergehenden Ansprüchen 1 bis 26 dient.
- Klipsbefestigung nach Anspruch 25, wobei der Schwenk- oder Klapphebelverschluß eine Mulde (24) zur arretierbaren Aufnahme des Betätigungshebels (22) aufweist, dadurch gekennzeichnet, daß die Mulde (24) den Kopfteil von ein oder zwei Rumpfteilen mit Halteelementen im Bereich der Hebellagerung, wie Antriebswelle (66) bildet.
- Klipsbefestigung nach Anspruch 25 oder 26, wobei der Schwenk- oder Klapphebelverschluß (10) eine Mulde (24) zur arretierbaren Aufnahme des Betätigungshebels (22) aufweist, dadurch gekennzeichnet, daß die Mulde (24) einerseits die Hintergrifffläche (74, 174) für den Daumen einer Hebelarretierung (70, 170), andererseits den Kopfteil von einem Rumpfteil mit Haltelementen im Bereich der Hebelarretierung bildet.
- Klipsbefestigung nach einem der Ansprüche 1 bis 24, wobei die Beschlageinrichtung ein Scharnierteil (80, 82) darstellt.
- Klipsbefestigung nach einem der Ansprüche 1 bis 24, wobei die Beschlageinrichtung eine Stangenführung (Fig. 55) ist.
- Klipsbefestigung nach einem der Ansprüche 1 bis 31, wobei die Beschlageinrichtung ein Schloßkasten (Fig. 60A) ist.
- Klipsbefestigung nach einem der Ansprüche 1 bis 24, wobei die Beschlageinrichtung ein Griffrohr (Fig. 62A) ist.
- Klipsbefestigung nach einem der Ansprüche 1 bis 24, wobei die Beschlageinrichtung ein Steckschlüssellager (Fig. 63) ist.
- Klipsbefestigung nach einem der Ansprüche 1 bis 24, wobei die Beschlageinrichtung ein Vorreiberverschluß (Fig. 70) ist.
- Klipsbefestigung nach einem der Ansprüche 1 bis 24, wobei die Beschlageinrichtung ein Griffansatz (Fig. 74) ist.
Applications Claiming Priority (3)
| Application Number | Priority Date | Filing Date | Title |
|---|---|---|---|
| DE200420001161 DE202004001161U1 (de) | 2004-01-26 | 2004-01-26 | Klipsbefestigung für die Schnellmontage von Beschlageinrichtungen, wie Schwenkhebelverschlüsse, Scharnierteile in einer dünnen Wand |
| DE200420003238 DE202004003238U1 (de) | 2004-02-27 | 2004-02-27 | Klipsbefestigung für die Schnellmontage von Beschlageinrichtungen, wie Schwenkhebelverschlüsse, Scharnierteile in Durchbrüchen in einer dünnen Wand |
| EP05707016A EP1711673B1 (de) | 2004-01-26 | 2005-01-26 | Klipsbefestigung für die schnellmontage von beschlageinrichtungen, wie schwenkhebelverschlüsse, scharnierteile in durchbrüchen in einer dünnen wand |
Related Parent Applications (1)
| Application Number | Title | Priority Date | Filing Date |
|---|---|---|---|
| EP05707016A Division EP1711673B1 (de) | 2004-01-26 | 2005-01-26 | Klipsbefestigung für die schnellmontage von beschlageinrichtungen, wie schwenkhebelverschlüsse, scharnierteile in durchbrüchen in einer dünnen wand |
Publications (2)
| Publication Number | Publication Date |
|---|---|
| EP1849937A2 true EP1849937A2 (de) | 2007-10-31 |
| EP1849937A3 EP1849937A3 (de) | 2008-04-30 |
Family
ID=34809633
Family Applications (5)
| Application Number | Title | Priority Date | Filing Date |
|---|---|---|---|
| EP05715211A Expired - Lifetime EP1709270B1 (de) | 2004-01-26 | 2005-01-26 | Klipsbefestigung für die montage von beschlageinrichtungen, wie verschlüsse, scharnierteile, griffe in durchbrüchen in einer dünnen wand |
| EP05707016A Expired - Lifetime EP1711673B1 (de) | 2004-01-26 | 2005-01-26 | Klipsbefestigung für die schnellmontage von beschlageinrichtungen, wie schwenkhebelverschlüsse, scharnierteile in durchbrüchen in einer dünnen wand |
| EP05707010A Withdrawn EP1709269A1 (de) | 2004-01-26 | 2005-01-26 | Klipsbefestigung mittels blattfedereinrichtungen für die schnellmontage von beschlageinrichtungen, wie schwenkhebelverschlüsse, scharnierteile in durchbrüchen in einer dünnen wand |
| EP20070010668 Withdrawn EP1849937A3 (de) | 2004-01-26 | 2005-01-26 | Klipsbefestigung für die Schnellmontage von Beschlageinrichtungen, wie Schwenkhebelverschlüsse, Scharnierteile in Durchbrüchen in einer dünnen Wand |
| EP20070010100 Expired - Lifetime EP1845222B1 (de) | 2004-01-26 | 2005-01-26 | Klipsbefestigung für die Montage von Beschlageinrichtungen, wie Verschlüsse, Scharnierteile, Griffe in Durchbrüchen in einer dünnen Wand |
Family Applications Before (3)
| Application Number | Title | Priority Date | Filing Date |
|---|---|---|---|
| EP05715211A Expired - Lifetime EP1709270B1 (de) | 2004-01-26 | 2005-01-26 | Klipsbefestigung für die montage von beschlageinrichtungen, wie verschlüsse, scharnierteile, griffe in durchbrüchen in einer dünnen wand |
| EP05707016A Expired - Lifetime EP1711673B1 (de) | 2004-01-26 | 2005-01-26 | Klipsbefestigung für die schnellmontage von beschlageinrichtungen, wie schwenkhebelverschlüsse, scharnierteile in durchbrüchen in einer dünnen wand |
| EP05707010A Withdrawn EP1709269A1 (de) | 2004-01-26 | 2005-01-26 | Klipsbefestigung mittels blattfedereinrichtungen für die schnellmontage von beschlageinrichtungen, wie schwenkhebelverschlüsse, scharnierteile in durchbrüchen in einer dünnen wand |
Family Applications After (1)
| Application Number | Title | Priority Date | Filing Date |
|---|---|---|---|
| EP20070010100 Expired - Lifetime EP1845222B1 (de) | 2004-01-26 | 2005-01-26 | Klipsbefestigung für die Montage von Beschlageinrichtungen, wie Verschlüsse, Scharnierteile, Griffe in Durchbrüchen in einer dünnen Wand |
Country Status (8)
| Country | Link |
|---|---|
| US (2) | US9617754B2 (de) |
| EP (5) | EP1709270B1 (de) |
| CN (1) | CN101736939B (de) |
| AT (3) | ATE555266T1 (de) |
| DE (2) | DE112005000142A5 (de) |
| PL (1) | PL1711673T3 (de) |
| RU (1) | RU2341634C2 (de) |
| WO (3) | WO2005071194A1 (de) |
Families Citing this family (33)
| Publication number | Priority date | Publication date | Assignee | Title |
|---|---|---|---|---|
| JP4758357B2 (ja) * | 2004-01-26 | 2011-08-24 | ラムザウア ディーター | 開口部に取付けるためのヒンジ |
| DE202004003238U1 (de) | 2004-02-27 | 2005-07-07 | Ramsauer, Dieter | Klipsbefestigung für die Schnellmontage von Beschlageinrichtungen, wie Schwenkhebelverschlüsse, Scharnierteile in Durchbrüchen in einer dünnen Wand |
| ATE555266T1 (de) * | 2004-01-26 | 2012-05-15 | Dieter Ramsauer | Klipsbefestigung für die montage von beschlageinrichtungen, wie verschlüsse, scharnierteile, griffe in durchbrüchen in einer dünnen wand |
| EP1723297B1 (de) | 2004-02-27 | 2012-04-18 | Dieter Ramsauer | Griff zur montage in einem durchbruch |
| DE202005008844U1 (de) * | 2005-06-03 | 2006-10-12 | Dieter Ramsauer | Schnappverschluß für einen dünnwandigen Schrank |
| DE202006002592U1 (de) | 2006-02-18 | 2007-06-28 | Ramsauer, Dieter | Verspannbare Befestigungseinrichtung |
| FR2909952B1 (fr) * | 2006-12-19 | 2009-03-20 | Valeo Securite Habitacle Sas | Antivol de vehicule comprenant un boitier equipe et procede de realisation dudit boitier. |
| DE202008018448U1 (de) | 2007-02-15 | 2014-01-10 | Hautau Gmbh | Parallel abstellbarer Beschlag für einen Schiebeflügel eines Fensters oder einer Tür |
| DE202007005983U1 (de) * | 2007-04-24 | 2008-08-28 | Ramsauer, Dieter | Schnappbefestigung |
| DE202007009671U1 (de) | 2007-07-11 | 2008-11-13 | Ramsauer, Dieter | Nutenstein |
| US8220846B2 (en) | 2008-08-15 | 2012-07-17 | Vision Industries Group, Inc. | Latch for tiltable sash windows |
| US8336927B2 (en) | 2008-08-15 | 2012-12-25 | Luke Liang | Tilt latch with cantilevered angular extension |
| DE202009004280U1 (de) * | 2009-04-01 | 2010-08-12 | Ramsauer, Dieter | Schnappbefestigung |
| JP5307637B2 (ja) * | 2009-06-11 | 2013-10-02 | 株式会社パイオラックス | ヒンジ装置 |
| US8308096B2 (en) | 2009-07-14 | 2012-11-13 | TDY Industries, LLC | Reinforced roll and method of making same |
| CN102777072B (zh) * | 2012-07-13 | 2014-11-05 | 宁波虎王保险箱有限公司 | 弹簧手柄 |
| CN103835601B (zh) * | 2013-09-23 | 2017-12-15 | 许继集团有限公司 | 铰链座及使用该铰链座的机柜柜门 |
| US9876462B2 (en) | 2015-08-27 | 2018-01-23 | Solarcity Corporation | Support system for photovoltaic mounting rail having cylindrical base that rotates into a locked position |
| US9874021B2 (en) | 2015-08-28 | 2018-01-23 | Solarcity Corporation | Tile and slate roof flashing systems |
| US9673583B2 (en) | 2015-08-28 | 2017-06-06 | Solarcity Corporation | Photovoltaic mounting rail connector with drop-down connection to first photovoltaic module and slide-in connection to second photovoltaic module |
| FR3047265A1 (fr) * | 2016-02-02 | 2017-08-04 | Sotralu | Serrure d'ouvrant a embase elastiquement emboitable |
| DE202016003803U1 (de) * | 2016-06-17 | 2017-09-20 | Dieter Ramsauer | Scharniersystem |
| DE102016117378B3 (de) * | 2016-09-15 | 2017-05-18 | Rittal Gmbh & Co. Kg | Scharnieranordnung für einen Schaltschrank |
| DE202017001165U1 (de) | 2017-03-06 | 2018-06-08 | Dieter Ramsauer | Snapverbinder |
| US20180370001A1 (en) * | 2017-06-21 | 2018-12-27 | Web Industries, Inc. | End cap remover |
| RU184531U1 (ru) * | 2018-05-17 | 2018-10-30 | Эътибар Юсиф Оглы Балаев | Петля для дверных и оконных пролетов |
| CN108571244B (zh) * | 2018-06-20 | 2023-08-08 | 佛山东鹏洁具股份有限公司 | 一种一键式快拆装柜门铰及其安装结构 |
| CN109348662B (zh) * | 2018-11-22 | 2023-11-24 | 武汉银桥南海光电有限公司 | 一种通信柜柜门的可启闭锁紧密封结构 |
| RU196486U1 (ru) * | 2019-12-02 | 2020-03-03 | Общество с ограниченной ответственностью "Сатурн" | Петля шарнирная |
| CN112996277B (zh) * | 2021-02-05 | 2023-08-15 | 四川恩巨电子科技有限公司 | 一种电源适配器的电路板组装方法 |
| US12221810B2 (en) | 2021-07-09 | 2025-02-11 | Hoffman Enclosures Inc. | Apparatus and methods for securing an equipment cabinet |
| EP4345231A1 (de) * | 2022-09-30 | 2024-04-03 | Asmith Manufactoring Company | Verriegelungsanordnung für eine tür eines verteilerkastens |
| CN120503268B (zh) * | 2025-07-18 | 2025-09-12 | 山西力乐包装科技有限公司 | 一种纸张加工用输送裁剪设备 |
Family Cites Families (48)
| Publication number | Priority date | Publication date | Assignee | Title |
|---|---|---|---|---|
| DE310246C (de) * | 1900-01-01 | |||
| US577285A (en) * | 1897-02-16 | Draft-bolt | ||
| US531791A (en) * | 1895-01-01 | Metallic bung | ||
| US1454890A (en) * | 1920-03-27 | 1923-05-15 | Larrabee B Harpe | Snap fastener |
| US1399159A (en) * | 1920-12-10 | 1921-12-06 | Segal Metal Products Company I | Cylinder-lock |
| DE342387C (de) * | 1921-01-22 | 1921-10-17 | Damm & Ladwig | Befestigung fuer Einsatzschloesser |
| US1426239A (en) * | 1921-11-15 | 1922-08-15 | Witzberger Heating Appliances | Spring stove bolt |
| US1538320A (en) * | 1924-06-06 | 1925-05-19 | Gullong Jacob | Plate lock |
| US1584851A (en) * | 1925-02-03 | 1926-05-18 | Buffalo Brake Beam Co | Self-locking pin |
| US1659992A (en) * | 1925-09-17 | 1928-02-21 | Buffalo Brake Beam Co | Self-locking pin or bolt |
| US1756718A (en) * | 1928-05-05 | 1930-04-29 | Wild Gunther Philip | Latching device |
| FR670715A (fr) | 1929-03-02 | 1929-12-04 | Perfectionnements aux clavettes | |
| DE1703285A1 (de) * | 1968-04-27 | 1972-01-13 | Nolden Celina Willimzik Geb | Vorrichtung zum Arretieren,Ausrichten und selbsttaetigen Verriegeln von Tueren an Moebelstuecken |
| SE334109B (de) * | 1968-05-27 | 1971-04-05 | Libu Shovel Co Ag | |
| US3921334A (en) * | 1974-02-06 | 1975-11-25 | Sr William R Black | Window guard apparatus |
| US4059041A (en) * | 1976-04-12 | 1977-11-22 | The Raymond Lee Organization, Inc. | Snap-on screw |
| US4074941A (en) * | 1976-07-12 | 1978-02-21 | Appleton Electric Company | Cam operated toggle for securing a light fixture or the like to a tube |
| BE883121A (fr) * | 1980-05-06 | 1980-11-06 | Lowe Et Fletcher Belge S A | Serrure a fixation rapide |
| DE3437806C2 (de) * | 1984-10-16 | 1986-10-16 | Dieter 3052 Bad Nenndorf Rasche | Schloß |
| DE3582248D1 (de) * | 1985-11-22 | 1991-04-25 | Dieter Ramsauer | 180-grad-scharnier. |
| DE8622709U1 (de) | 1986-08-23 | 1986-10-23 | Huwil-Werke GmbH Möbelschloß- und Beschlagfabriken, 5207 Ruppichteroth | Befestigungsvorrichtung für Schließzylinder |
| US4882919A (en) * | 1988-07-07 | 1989-11-28 | Valhi Inc. | Flush mounted panel lock construction |
| DE3904535A1 (de) * | 1989-02-15 | 1990-08-23 | Karrenberg Fa Wilhelm | Schliesszylinder mit ausreisssicherung |
| US4925351A (en) * | 1989-03-21 | 1990-05-15 | Trw, Inc. | Push-in fastener clip |
| US5435159A (en) | 1989-10-03 | 1995-07-25 | Ramsauer; Dieter | Lock housing with flange for fitting in an aperture in a thin wall like a sheet metal cupboard door or sheet metal casing cover |
| DE9110175U1 (de) * | 1991-08-16 | 1991-10-02 | Ferco International, Sarrebourg | Beschlagteil zur Klemmbefestigung in einer mindestens einseitig hinterschnittenen Profilnut |
| US5251467A (en) * | 1992-09-08 | 1993-10-12 | Loctec Corporation | Front-installed cam lock |
| DE9411368U1 (de) * | 1994-07-04 | 1994-09-15 | WH Münzprüfer Dietmar Trenner GmbH, 14167 Berlin | Schnappvorrichtung zum Befestigen eines plattenförmigen Teils in einer Öffnung einer Gehäusewand |
| US5445159A (en) * | 1994-11-21 | 1995-08-29 | Cheng; Wang | Minimally invasive method to determine the left ventricular pressure waveform |
| JPH08210008A (ja) * | 1995-02-03 | 1996-08-13 | Takigen Mfg Co Ltd | 扉等の保持装置 |
| FR2746944A1 (fr) * | 1996-03-28 | 1997-10-03 | Teaupel Rene | Dispositif d'assujettissement, d'identification et de controle de l'indentification de pieces |
| FR2761719B1 (fr) * | 1997-04-03 | 1999-06-18 | Ferco Int Usine Ferrures | Ferrure de verrouillage pour ouvrant coulissant |
| KR100238181B1 (ko) * | 1997-06-03 | 2000-01-15 | 윤종용 | 휴대용 컴퓨터 |
| DE29711740U1 (de) * | 1997-07-04 | 1998-11-05 | Ramsauer, Dieter, 42555 Velbert | Durch Vorhängeschloß sichtbare Schwenkhebelbetätigung für den Verschluß von Schaltschranktüren o.dgl. |
| RU2125146C1 (ru) * | 1997-12-09 | 1999-01-20 | Снитко Александр Степанович | Петля для створки |
| US6023953A (en) * | 1998-01-30 | 2000-02-15 | Southco, Inc. | Slam latch with opposing slides |
| US5904462A (en) * | 1998-06-17 | 1999-05-18 | Gonzalez; Maximo | Structural beam locking bolt |
| US5975592A (en) * | 1998-07-11 | 1999-11-02 | Lin; Joe | Multi-component lock assembly |
| FR2791080B1 (fr) | 1999-03-18 | 2001-06-08 | Sotralu | Serrures a fixations dites invisibles pour coulissants ou analogues |
| DE20006876U1 (de) * | 2000-04-14 | 2001-08-23 | Ramsauer, Dieter, 42555 Velbert | Verschluß zur Montage in einem Durchbruch in einer dünnen Wand |
| US6553796B2 (en) * | 2000-05-19 | 2003-04-29 | Compx International Inc. | Electrical panel lock with locking plug head |
| AT413297B (de) * | 2000-09-21 | 2006-01-15 | Roto Frank Eisenwaren | Befestigungsanordnung für einen beschlagsteil |
| US6508092B1 (en) * | 2001-01-24 | 2003-01-21 | The Eastern Company | Snap-in mount for CAM locks and the like |
| DE10122125C1 (de) | 2001-05-07 | 2002-09-05 | Huwil Werke Gmbh | Schließzylinder |
| KR100484832B1 (ko) * | 2002-11-28 | 2005-04-22 | 엘지전자 주식회사 | 건조기 도어의 랫치 어셈블리 |
| ATE555266T1 (de) * | 2004-01-26 | 2012-05-15 | Dieter Ramsauer | Klipsbefestigung für die montage von beschlageinrichtungen, wie verschlüsse, scharnierteile, griffe in durchbrüchen in einer dünnen wand |
| CN2821662Y (zh) * | 2005-07-02 | 2006-09-27 | 鸿富锦精密工业(深圳)有限公司 | 壳体锁固装置 |
| EP2371425B1 (de) * | 2008-12-31 | 2017-02-15 | Sang-Sun Lee | Sprinkler mit einem integrierten ventil sowie feuerlöschsystem damit |
-
2005
- 2005-01-26 AT AT05715211T patent/ATE555266T1/de active
- 2005-01-26 DE DE112005000142T patent/DE112005000142A5/de not_active Withdrawn
- 2005-01-26 WO PCT/EP2005/000731 patent/WO2005071194A1/de not_active Ceased
- 2005-01-26 RU RU2006127106A patent/RU2341634C2/ru not_active IP Right Cessation
- 2005-01-26 WO PCT/EP2005/000728 patent/WO2005071192A1/de not_active Ceased
- 2005-01-26 EP EP05715211A patent/EP1709270B1/de not_active Expired - Lifetime
- 2005-01-26 EP EP05707016A patent/EP1711673B1/de not_active Expired - Lifetime
- 2005-01-26 EP EP05707010A patent/EP1709269A1/de not_active Withdrawn
- 2005-01-26 AT AT07010100T patent/ATE527419T1/de active
- 2005-01-26 US US10/587,367 patent/US9617754B2/en active Active
- 2005-01-26 DE DE112005000145T patent/DE112005000145D2/de not_active Expired - Fee Related
- 2005-01-26 EP EP20070010668 patent/EP1849937A3/de not_active Withdrawn
- 2005-01-26 US US10/587,352 patent/US7690083B2/en active Active
- 2005-01-26 CN CN2009102115282A patent/CN101736939B/zh not_active Expired - Fee Related
- 2005-01-26 AT AT05707016T patent/ATE515617T1/de active
- 2005-01-26 PL PL05707016T patent/PL1711673T3/pl unknown
- 2005-01-26 EP EP20070010100 patent/EP1845222B1/de not_active Expired - Lifetime
- 2005-01-26 WO PCT/EP2005/000755 patent/WO2005071199A1/de not_active Ceased
Also Published As
| Publication number | Publication date |
|---|---|
| DE112005000142A5 (de) | 2007-05-24 |
| WO2005071192A1 (de) | 2005-08-04 |
| EP1849937A3 (de) | 2008-04-30 |
| RU2341634C2 (ru) | 2008-12-20 |
| CN101736939A (zh) | 2010-06-16 |
| EP1709270B1 (de) | 2012-04-25 |
| ATE515617T1 (de) | 2011-07-15 |
| ATE527419T1 (de) | 2011-10-15 |
| DE112005000145D2 (de) | 2006-10-26 |
| US7690083B2 (en) | 2010-04-06 |
| US20070271735A1 (en) | 2007-11-29 |
| EP1845222B1 (de) | 2011-10-05 |
| EP1711673B1 (de) | 2011-07-06 |
| WO2005071194B1 (de) | 2005-09-15 |
| PL1711673T3 (pl) | 2011-12-30 |
| RU2006127106A (ru) | 2008-03-10 |
| US9617754B2 (en) | 2017-04-11 |
| US20070175252A1 (en) | 2007-08-02 |
| WO2005071199A9 (de) | 2005-10-20 |
| WO2005071192B1 (de) | 2005-10-20 |
| HK1101421A1 (en) | 2007-10-18 |
| EP1845222A2 (de) | 2007-10-17 |
| WO2005071199B1 (de) | 2005-09-15 |
| CN101736939B (zh) | 2013-03-20 |
| EP1709270A1 (de) | 2006-10-11 |
| EP1845222A3 (de) | 2008-04-30 |
| ATE555266T1 (de) | 2012-05-15 |
| WO2005071194A1 (de) | 2005-08-04 |
| WO2005071199A1 (de) | 2005-08-04 |
| EP1709269A1 (de) | 2006-10-11 |
| EP1711673A1 (de) | 2006-10-18 |
Similar Documents
| Publication | Publication Date | Title |
|---|---|---|
| EP1711673B1 (de) | Klipsbefestigung für die schnellmontage von beschlageinrichtungen, wie schwenkhebelverschlüsse, scharnierteile in durchbrüchen in einer dünnen wand | |
| EP1709267B1 (de) | Klipsbefestigung für die schnellmontage von beschlageinrichtungen, wie schwenkhebelverschlüsse, scharnierteile in durchbrüchen in einer dünnen wand | |
| EP0261267A1 (de) | Stangenverschluss für Blechschranktüren | |
| EP1857616A2 (de) | Verschluss zur Montage in Durchbrüchen in einer dünnen Wand | |
| EP1723342B1 (de) | Klips- oder schnappbefestigung zur festlegung einer dünnen wand an einen wandträger | |
| DE3631516C2 (de) | ||
| EP1109983B1 (de) | Anschraubscharnier mit raststellung | |
| EP0783616B1 (de) | Stangenverschluss | |
| EP1711672B1 (de) | Scharnier zur montage in einem durchbruch | |
| WO2003004814A1 (de) | Stangenverschluss | |
| EP1709268B1 (de) | Stangenschloss zur montage in einem durchbruch in einer dünnen wand (indirekte klipsbefestigung) | |
| DE202005001315U1 (de) | Klipsbefestigung für die Schnellmotage von Beschlageinrichtungen, wie Schwenkhebelverschlüsse, Scharnierteile in Durchbrüchen in einer dünnen Wand | |
| DE29703607U1 (de) | Betätigungshandhabe | |
| DE202004018340U1 (de) | Schnappbefestigung zur Festlegung eines Beschlages oder einer dünnen Wand an einen Beschlagträger oder Wandträger | |
| DE9104766U1 (de) | Antipaniktürschloß | |
| DE29813289U1 (de) | Laderaumtür | |
| DE202004004066U1 (de) | Verschluß mit Klemmbefestigung | |
| DE29817033U1 (de) | Fallenverschluß | |
| DE19932986A1 (de) | Zusatzbeschlag für Türen oder Fenster | |
| DE202004004593U1 (de) | Scharnier zur Montage in einem Durchbruch | |
| DE20001977U1 (de) | Verriegelungsvorrichtung für eine in einem Gehäuse laufende Schublade o.dgl., insbesondere zum Einbau in eine Werkstatteinrichtung an Bord eines Kraftfahrzeuges, Schublade sowie Verschlußklappe dafür und Werkstatteinrichtung für ein Fahrzeug |
Legal Events
| Date | Code | Title | Description |
|---|---|---|---|
| PUAI | Public reference made under article 153(3) epc to a published international application that has entered the european phase |
Free format text: ORIGINAL CODE: 0009012 |
|
| AC | Divisional application: reference to earlier application |
Ref document number: 1711673 Country of ref document: EP Kind code of ref document: P |
|
| AK | Designated contracting states |
Kind code of ref document: A2 Designated state(s): AT BE BG CH CY CZ DE DK EE ES FI FR GB GR HU IE IS IT LI LT LU MC NL PL PT RO SE SI SK TR |
|
| PUAL | Search report despatched |
Free format text: ORIGINAL CODE: 0009013 |
|
| AK | Designated contracting states |
Kind code of ref document: A3 Designated state(s): AT BE BG CH CY CZ DE DK EE ES FI FR GB GR HU IE IS IT LI LT LU MC NL PL PT RO SE SI SK TR |
|
| RIC1 | Information provided on ipc code assigned before grant |
Ipc: E05D 5/02 20060101AFI20080326BHEP Ipc: E05D 7/12 20060101ALI20080326BHEP Ipc: E05B 9/08 20060101ALI20080326BHEP |
|
| 17P | Request for examination filed |
Effective date: 20080625 |
|
| 17Q | First examination report despatched |
Effective date: 20080725 |
|
| AKX | Designation fees paid |
Designated state(s): AT BE BG CH CY CZ DE DK EE ES FI FR GB GR HU IE IS IT LI LT LU MC NL PL PT RO SE SI SK TR |
|
| STAA | Information on the status of an ep patent application or granted ep patent |
Free format text: STATUS: THE APPLICATION IS DEEMED TO BE WITHDRAWN |
|
| 18D | Application deemed to be withdrawn |
Effective date: 20130801 |


