EP1576632B1 - Optische betriebsanzeige für ein haushaltgerät sowie haushaltgerät, insbesondere einbau-haushaltgerät - Google Patents
Optische betriebsanzeige für ein haushaltgerät sowie haushaltgerät, insbesondere einbau-haushaltgerät Download PDFInfo
- Publication number
- EP1576632B1 EP1576632B1 EP03782307A EP03782307A EP1576632B1 EP 1576632 B1 EP1576632 B1 EP 1576632B1 EP 03782307 A EP03782307 A EP 03782307A EP 03782307 A EP03782307 A EP 03782307A EP 1576632 B1 EP1576632 B1 EP 1576632B1
- Authority
- EP
- European Patent Office
- Prior art keywords
- domestic appliance
- signal light
- light
- optical
- appliance according
- Prior art date
- Legal status (The legal status is an assumption and is not a legal conclusion. Google has not performed a legal analysis and makes no representation as to the accuracy of the status listed.)
- Expired - Lifetime
Links
- 230000003287 optical effect Effects 0.000 title claims abstract description 28
- 238000004140 cleaning Methods 0.000 description 3
- 230000000007 visual effect Effects 0.000 description 2
- 239000003086 colorant Substances 0.000 description 1
- 239000004020 conductor Substances 0.000 description 1
- 238000001514 detection method Methods 0.000 description 1
- 238000001035 drying Methods 0.000 description 1
- 239000003517 fume Substances 0.000 description 1
- 238000000034 method Methods 0.000 description 1
- 230000000284 resting effect Effects 0.000 description 1
- 230000011664 signaling Effects 0.000 description 1
Images
Classifications
-
- A—HUMAN NECESSITIES
- A47—FURNITURE; DOMESTIC ARTICLES OR APPLIANCES; COFFEE MILLS; SPICE MILLS; SUCTION CLEANERS IN GENERAL
- A47L—DOMESTIC WASHING OR CLEANING; SUCTION CLEANERS IN GENERAL
- A47L15/00—Washing or rinsing machines for crockery or tableware
- A47L15/42—Details
- A47L15/4293—Arrangements for programme selection, e.g. control panels; Indication of the selected programme, programme progress or other parameters of the programme, e.g. by using display panels
-
- H—ELECTRICITY
- H01—ELECTRIC ELEMENTS
- H01H—ELECTRIC SWITCHES; RELAYS; SELECTORS; EMERGENCY PROTECTIVE DEVICES
- H01H9/00—Details of switching devices, not covered by groups H01H1/00 - H01H7/00
- H01H9/16—Indicators for switching condition, e.g. "on" or "off"
Definitions
- the invention relates to a household appliance, in particular a built-in domestic appliance with a visual indicator.
- DE 100 22 206 C2 is a built-in dishwasher with a hinged door described that has on its upper face an optical power indicator with one or more light sources, which are covered with the door closed by a resting on top of the dishwasher countertop.
- a light guide is connected to a fixed position on the worktop base over the door fume protection element, which directs the signal light of the overlaid optical power indicator to the front of the device.
- a device comprising a stove and a cooker hood known.
- An extractor hood is arranged above the stove, wherein the extractor hood has a display device designed for light projection.
- the display device is in communication with hearth sink electronics and projects graphic symbols onto a projection surface that represent functional processes and states of the cooker.
- the invention is based on the object for a household appliance, in particular a built-in household appliance, to improve the visibility of the signal light at least one optical operating indicator.
- the projection surface is a floor area.
- an arrangement of the optical power indicator in the household appliance is particularly simple and inexpensive to carry out and, moreover, the signal light projected onto the floor area is particularly clearly visible to the user.
- the projection surface is outside the household appliance.
- an area can be selected that is particularly visible to the user. In this way, the user can always recognize the operating state of the household appliance, which increases the user-friendliness.
- the optical operating display comprises at least one light source such as a light-emitting diode or a laser diode.
- Light emitting diodes or laser diodes are particularly suitable as light sources for the optical operating display, since due to their emission characteristics, the signal light on the projection surface for the user is clearly visible.
- the optical operating display is designed such that signal light of different color can be emitted for different operating states. This has the advantage that different operating states are particularly easy to recognize by the user for the different colors.
- the optical operating display is designed such that for different operating conditions signal light can be emitted from a different number of light sources. Also in this way, the different operating conditions are easy for the user to distinguish.
- the visibility of the signal light at least one optical operating indicator is substantially improved.
- FIG. 1 An in FIG. 1 perspective obliquely from the front, schematically illustrated domestic appliance 1 has a front door 2 and a base 3.
- a front panel 4 In front of the front door 2 of the household appliance 1, a front panel 4 is mounted.
- FIG. 1 Two alternative positions for a visual status indicator and various floor areas on which a signal light can be projected are shown.
- a signal light 8 is projected onto a first floor area 9.
- a signal light 8' is projected onto a second floor area 9 '.
- FIG. 1 It is how to FIG. 1 described, particularly advantageous if the signal light 8, 8 'on floor areas 9, 9' is projected, since these floor areas 9, 9 'are visible to a user and thus visibility of the signal light 8, 8' is guaranteed. But there are also other projection surfaces possible, such as one of the front door 2 opposite wall or cabinet surface. Also possible positions for the optical operating display 7, 7 'are not on the in FIG. 1 specified positions 6, 6 'limited.
- FIG. 2 are schematic representations of various operating conditions with projected signal light FIG. 1 shown.
- the domestic appliance 1 in the exemplary embodiment shown is a dishwasher with the four operating states: CLEANING, RINSING, DRYING, FINISHED.
- CLEANING, RINSING, DRYING, FINISHED can in FIG. 2 be at four juxtaposed positions 14, 15, 16 and 17 signal light points on or off.
- the projected signal light 10 represents the operating state CLEANING and consists of a red signal light spot at the position 14. The signal light points of the positions 15, 16 and 17 are switched off.
- the projected signal light 11 represents the operating state RINSING and consists of a red signal light point at the positions 14 and 15. The signal light points of the positions 16 and 17 are switched off.
- the projected signal light 12 represents the DRY state and consists of one red signal light spot at positions 14, 15 and 16. The signal light point of position 17 is switched off.
- the projected signal light 13 represents the operating state DONE and consists of a red signal light point at the positions 14, 15 and 16 and a green signal light point at position 17.
- the operating state DONE can also be represented by the fact that the red signal light points at the positions 14, 15 and 16 are switched off and only the green signal light point at position 17 is switched on. It can e.g. also be selected to represent the different operating conditions, a signal light point with a different color.
- the representation of different operating states is not limited to the projection of individual points of light. It can, for example, a whole lettering, such as CLEANING be projected
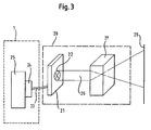
- optical operational display 20 is one of the optical operating displays after FIG. 1 , It consists of an electronic board 21 with a light source 22.
- the electronic board 21 is connected by a cable 23 via a serial interface 24 with a control electronics 25 of the household appliance 1.
- the control electronics 25 can be switched on or off.
- a signal light 26 emitted by the light source 22 is projected by an optical system 27 onto the projection surface 28.
- the signal light 26 can be increased, for example. If a light-emitting diode is used as the light source 22, optics 27 can be dispensed with in the simplest case, resulting in a particularly cost-effective variant.
- the visibility of the signal light of at least one optical operating display 7, 7 ', 20 is substantially improved in a household appliance, in particular in a built-in household appliance.
Landscapes
- Illuminated Signs And Luminous Advertising (AREA)
- Cookers (AREA)
- Washing And Drying Of Tableware (AREA)
- Cold Air Circulating Systems And Constructional Details In Refrigerators (AREA)
- Telephone Function (AREA)
- Bidet-Like Cleaning Device And Other Flush Toilet Accessories (AREA)
- Brushes (AREA)
- Electric Ovens (AREA)
Description
- Die Erfindung betrifft für ein Haushaltgerät, insbesondere ein Einbau-Haushaltgerät mit einer optischen Betriebsanzeige.
- Es sind verschiedene Haushaltgeräte bekannt, wie beispielsweise Küchen-Haushaltgeräte, die im wesentlichen Herde, Kältegeräte und Geschirrspülmaschinen umfassen. Insbesondere bei Kältegeräten und bei Geschirrspülmaschinen gibt es sogenannte vollintegrierbare Haushaltgeräte, deren gesamte Frontfläche mit einer Gerätefrontverkleidung versehen ist, welche an umgebende Möbelfronten angepasst sein kann. Bei einer Sonderform eines Einbau-Haushaltgeräts, einem vollintegrierbaren Haushaltgerät, auch genannt, besteht das Problem, dass eine optische Betriebsanzeige, bei einer geschlossenen Vordertür des voll-integrierbaren Haushaltgeräts durch die Gerätefrontverkleidung verborgen ist, so dass der Betriebszustand des vollintegrierbaren Haushaltgeräts nicht überprüfbar ist.
- Aus
EP 0 691 100 A1 ist ein Einbau-Haushaltsgerät mit einem Gehäuse und einer Vordertür bekannt, wobei an einem oberen Rand der Vordertür eine Leuchtsignaleinrichtung vorgesehen ist, welche einen bestimmten Betriebszustand des Geräts anzeigt und welche bei geschlossener Vordertür verborgen ist. Dort sind zwischen dem oberen Rand der Vordertür und einer parallel zu diesem Rand verlaufenden Fläche Mittel vorgesehen, die ein von der Leuchtsignaleinrichtung abgestrahltes Licht in Richtung der Vorderseite der Vordertür übertragen. - In
DE 100 22 206 C2 ist eine einbaufähige Geschirrspülmaschine mit einer schwenkbaren Gerätetür beschrieben, die auf ihrer oberen Stirnfläche eine optische Betriebsanzeige mit einer oder mehreren Lichtquellen aufweist, welche bei geschlossener Gerätetür von einer oben auf der Geschirrspülmaschine aufliegenden Arbeitsplatte überdeckt werden. Dort ist ein Lichtleiter mit einem an der Arbeitsplattenunterseite über der Gerätetür lagefixierten Wrasenschutzelement verbunden, welcher das Signallicht der überdeckten optischen Betriebsanzeige zur Gerätefrontseite lenkt. - Der Nachteil der in
EP 0 691 100 A1 und inDE 100 22 206 C2 beschriebenen Einrichtungen besteht darin, dass das Signallicht im Lichtleiter für einen Benutzer, der vor dem Einbau-Haushaltsgerät bzw. der Geschirrspülmaschine steht schlecht sichtbar ist, da sich der Lichtleiter in einem Spalt zwischen Arbeitsplattenunterseite und Gerätetürrand befindet und von oben von der Arbeitsplatte abgedeckt wird. Insbesondere wird ein Erkennen des Signallichts bei Verwendung einer Gerätefrontverkleidung großer Stärke erschwert, da auf diese Weise der Lichtleiter zusätzlich von unten durch die Gerätefrontverkleidung abgedeckt wird. - Ferner ist aus der
EP 1 207 353 eine Vorrichtung, umfassend einen Herd und eine Dunstabzugshube bekannt. Über dem Herd ist eine Dunstabzugshaube angeordnet, wobei die Dunstabzugshaube eine zur Lichtprojektion ausgebildete Anzeigeeinrichtung aufweist. Die Anzeigeeinrichtung steht über Funk mit einer Herdmuldenelektronik in Verbindung und projiziert grafische Symbole auf eine Projektionsfläche, die Funktionsabläufe und -zustände des Herds repräsentieren. - Der Erfindung liegt die Aufgabe zugrunde, für ein Haushaltgerät, insbesondere ein Einbau-Haushaltgerät, die Sichtbarkeit des Signallichts wenigstens einer optischen Betriebsanzeige zu verbessern.
- Diese Aufgabe wird durch ein Haushaltsgerät gemäß dem Anspruch 1 gelöst.
- Erfindungsgemäß ist die Projektionsfläche ein Fußbodenbereich. Auf diese Weise ist eine Anordnung der optischen Betriebsanzeige im Haushaltgerät besonders einfach und kostengünstig durchführbar und darüber hinaus ist das auf den Fußbodenbereich projizierte Signallicht für den Benutzer besonders gut sichtbar.
- Nach einem bevorzugten Merkmal der Erfindung liegt die Projektionsfläche ausserhalb des Haushaltgeräts. Damit kann ein Bereich gewählt werden, der für den Benutzer besonders gut einsehbar ist. Auf diese Weise kann der Benutzer jederzeit den Betriebszustand des Haushaltgeräts erkennen, wodurch sich die Benutzerfreundlichkeit erhöht.
- In besonders vorteilhafter Weise umfasst die optische Betriebsanzeige zumindest eine Lichtquelle wie beispielsweise eine Leuchtdiode oder eine Laserdiode. Leuchtdioden oder Laserdioden sind als Lichtquellen für die optische Betriebsanzeige besonders geeignet, da aufgrund deren Abstrahlcharakteristiken das Signallicht auf der Projektionsfläche für den Benutzer gut erkennbar ist.
- Nach einer vorteilhaften Ausführungsform der Erfindung ist die optische Betriebsanzeige derart ausgebildet, dass für unterschiedliche Betriebszustände Signallicht unterschiedlicher Farbe abstrahlbar ist. Dies hat den Vorteil, dass unterschiedlich Betriebszustände besonders einfach anhand der unterschiedlichen Farben für den Benutzer erkennbar sind.
- Nach einer weiteren vorteilhaften Ausführungsform der Erfindung ist die optische Betriebsanzeige derart ausgebildet, dass für unterschiedliche Betriebszustände Signallicht von einer unterschiedlichen Anzahl von Lichtquellen abstrahlbar ist. Auch auf diese Weise sind die unterschiedlichen Betriebszustände für den Benutzer leicht zu unterscheiden.
- Weitere Merkmale der Erfindung und vorteilhafte Ausführungsformen der Erfindung sind in den Unteransprüchen gekennzeichnet.
- Mit der Erfindung ist bei einem Haushaltgerät, insbesondere bei einem Einbau-Haushaltgerät, die Sichtbarkeit des Signallichts wenigstens einer optischen Betriebsanzeige wesentlich verbessert.
- Die Erfindung wird nachstehend anhand den in der Zeichnung dargestellten Ausführungsbeispielen erläutert. Es zeigen:
- Figur 1
- ein Haushaltgerät in schematischer perspektivischer Darstellung,
- Figur 2
- schematische Darstellungen verschiedener Betriebszustände mit projiziertem Signallicht nach
Figur 1 und - Figur 3
- eine der optischen Betriebsanzeigen nach
Figur 1 in schematischer Darstellung. - Ein in
Figur 1 perspektivisch schräg von vorne, schematisch dargestelltes Haushaltgerät 1 weist eine Vordertür 2 und einen Sockel 3 auf. Vor der Vordertür 2 des Haushaltgeräts 1 ist eine Gerätefrontverkleidung 4 montiert. InFigur 1 zwei alternativen Positionen für eine optische Betriebsanzeige sowie verschiedene Fußbodenbereiche auf die ein Signallicht projizierbar ist gezeigt. An einem unteren Rand 4 der Vordertür 2 befindet sich eine erste mögliche Position 6 für eine optische Betriebsanzeige 7. Durch diese Betriebsanzeige 7 wird ein Signallicht 8 auf einen ersten Fußbodenbereich 9 projiziert. An der Vorderseite 3' des Sockels 3 befindet sich eine alternative Position 6' für die optische Betriebsanzeige 7'. Durch die Betriebsanzeige 7' wird ein Signallicht 8' auf einen zweiten Fußbodenbereich 9' projiziert. - Es ist, wie zu
Figur 1 beschrieben, besonders vorteilhaft, wenn das Signallicht 8, 8' auf Fußbodenbereiche 9, 9' projizierbar ist, da diese Fußbodenbereiche 9, 9' für einen Benutzer einsehbar sind und somit eine Sichtbarkeit des Signallichts 8, 8' gewährleistet ist. Es sind aber auch andere Projektionsflächen möglich, wie beispielsweise eine der Vordertür 2 gegenüberliegende Wand- oder Schrankfläche. Auch sind mögliche Positionen für die optische Betriebsanzeige 7, 7' nicht auf die inFigur 1 angegebenen Positionen 6, 6' beschränkt. - In
Figur 2 sind schematische Darstellungen verschiedener Betriebszustände mit projiziertem Signallicht ausFigur 1 gezeigt. - Das Haushaltgerät 1 im gezeigten Ausführungsbeispiel ist eine Geschirrspülmaschine mit den vier Betriebszuständen: REINIGEN, KLARSPÜLEN, TROCKNEN, FERTIG. Zur Darstellung dieser vier Betriebszustände können in
Figur 2 an vier nebeneinander angeordneten Positionen 14, 15, 16 und 17 Signallichtpunkte an- oder ausgeschaltet sein. - Das projizierte Signallicht 10 stellt den Betriebszustand REINIGEN dar und besteht aus einem roten Signallichtpunkt an der Position 14. Die Signallichtpunkte der Positionen 15, 16 und 17 sind ausgeschaltet. Das projizierte Signallicht 11 stellt den Betriebszustand KLARSPÜLEN dar und besteht aus je einem roten Signallichtpunkt an den Positionen 14 und 15. Die Signallichtpunkte der Positionen 16 und 17 sind ausgeschaltet. Das projizierte Signallicht 12 stellt den Betriebszustand TROCKNEN dar und besteht aus je einem roten Signallichtpunkt an den Positionen 14, 15 und 16. Der Signallichtpunkt der Position 17 ist ausgeschaltet. Das projizierte Signallicht 13 stellt den Betriebszustand FERTIG dar und besteht aus je einem roten Signallichtpunkt an den Positionen 14, 15 und 16 und einem grünen Signallichtpunkt an Position 17.
- Es sind für die Darstellung der vier Betriebszustände auch andere Kombinationen der Signallichtpunkte möglich. Beispielsweise kann der Betriebszustand FERTIG auch dadurch dargestellt werden, dass die roten Signallichtpunkte an den Positionen 14, 15 und 16 ausgeschaltet sind und nur der grüne Signallichtpunkt an Position 17 angeschaltet ist. Es kann z.B. auch zur Darstellung der unterschiedlichen Betriebszustände ein Signallichtpunkt mit einer anderen Farbe gewählt werden.
- Es ist, wie in
Figur 2 gezeigt, besonders vorteilhaft zur Darstellung unterschiedlicher Betriebszustände Kombinationen einzelner Lichtpunkte zu verwenden, da dies unter Verwendung von Leuchtdioden oder Laserdioden besonders kostengünstig zu bewerkstelligen ist. Die Darstellung unterschiedlicher Betriebszustände ist aber nicht auf die Projektion einzelner Lichtpunkte beschränkt. Es kann beispielsweise auch ein ganzer Schriftzug, wie z.B. REINIGEN, projiziert werden - Die in
Figur 3 besonders detailliert gezeigte optische Betriebsanzeige 20 ist eine der optischen Betriebsanzeigen nachFigur 1 . Sie besteht aus einer Elektronik-Platine 21 mit einer Lichtquelle 22. Die Elektronik-Platine 21 ist durch ein Kabel 23 über eine serielle Schnittstelle 24 mit einer Steuerungselektronik 25 des Haushaltgeräts 1 verbunden. Auf diese Weise kann über die Steuerungselektronik 25 die Lichtquelle 22 an- oder ausgeschaltet werden. Ein von der Lichtquelle 22 abgestrahltes Signallicht 26 wird von einer Optik 27 auf die Projektionsfläche 28 projiziert. - Mit Hilfe der Optik 27 kann das Signallicht 26 beispielsweise vergrößert werden. Wird als Lichtquelle 22 eine Leuchtdiode verwendet, kann im einfachsten Fall auf die Optik 27 verzichtet werden, wodurch sich eine besonders kostengünstige Variante ergibt.
- Mit der Erfindung ist bei einem Haushaltgerät, insbesondere bei einem Einbau-Haushaltgerät, die Sichtbarkeit des Signallichts wenigstens einer optischen Betriebsanzeige 7, 7', 20 wesentlich verbessert.
Claims (9)
- Haushaltgerät, insbesondere Einbau-Haushaltgerät mit einer optische Betriebsanzeige, die derart ausgebildet ist, dass wenigstens ein von der optischen Betriebsanzeige (7, 7', 20) abgestrahltes Signallicht (8, 8', 26) auf eine Projektionsfläche (9, 9', 28) abbildbar ist,
dadurch gekennzeichnet,
dass die Projektionsfläche (28) ein Fußbodenbereich (9, 9') ist. - Haushaltgerät nach Anspruch 1, dadurch gekennzeichnet, dass die Projektionsfläche (9, 9') ausserhalb des Haushaltgeräts (1) liegt.
- Haushaltgerät nach einem der vorangehenden Ansprüche, dadurch gekennzeichnet, dass mit dem wenigstens einem Signallicht (8, 8') zumindest ein Betriebszustand (10, 11, 12, 13) signalisierbar ist.
- Haushaltgerät nach einem der vorangehenden Ansprüche, dadurch gekennzeichnet, dass die optische Betriebsanzeige (20) zumindest eine Lichtquelle (22) umfasst.
- Haushaltgerät nach Anspruch 4, dadurch gekennzeichnet, dass die zumindest eine Lichtquelle (22) eine Leuchtdiode ist.
- Haushaltgerät nach Anspruch 5, dadurch gekennzeichnet, dass die zumindest eine Lichtquelle (22) eine Laserdiode ist.
- Haushaltgerät nach einem der vorangehenden Ansprüche, dadurch gekennzeichnet, dass die optische Betriebsanzeige (7, 7') derart ausgebildet ist, dass für unterschiedliche Betriebszustände (10, 13) Signallicht (8, 8') unterschiedlicher Farbe (14, 17) abstrahlbar ist.
- Haushaltgerät nach einem der vorangehenden Ansprüche, dadurch gekennzeichnet, dass die optische Betriebsanzeige (7, 7') derart ausgebildet ist, dass für unterschiedliche Betriebszustände (10, 11, 12, 13) Signallicht (8, 8') von einer unterschiedlichen Anzahl von Lichtquellen (14, 15, 16, 17) abstrahlbar ist.
- Haushaltgerät nach einem der vorangehenden Ansprüche, dadurch gekennzeichnet, dass die optische Betriebsanzeige (7, 7') derart ausgebildet ist, dass für unterschiedliche Betriebszustände (10, 11, 12, 13) Signallicht (8, 8') an verschiedene Positionen (14, 15, 16, 17) der Projektionsfläche (9, 9') abbildbar ist.
Applications Claiming Priority (3)
| Application Number | Priority Date | Filing Date | Title |
|---|---|---|---|
| DE10259763 | 2002-12-19 | ||
| DE10259763.4A DE10259763B4 (de) | 2002-12-19 | 2002-12-19 | Haushaltgerät, insbesondere Einbau-Haushaltgerät |
| PCT/EP2003/013719 WO2004057636A1 (de) | 2002-12-19 | 2003-12-04 | Optische betriebsanzeige für ein haushaltgerät sowie haushaltgerät, insbesondere einbau-haushaltgerät |
Publications (3)
| Publication Number | Publication Date |
|---|---|
| EP1576632A1 EP1576632A1 (de) | 2005-09-21 |
| EP1576632B1 true EP1576632B1 (de) | 2008-12-03 |
| EP1576632B2 EP1576632B2 (de) | 2016-08-31 |
Family
ID=32404006
Family Applications (1)
| Application Number | Title | Priority Date | Filing Date |
|---|---|---|---|
| EP03782307.7A Expired - Lifetime EP1576632B2 (de) | 2002-12-19 | 2003-12-04 | Optische betriebsanzeige für ein haushaltgerät sowie haushaltgerät, insbesondere einbau-haushaltgerät |
Country Status (6)
| Country | Link |
|---|---|
| EP (1) | EP1576632B2 (de) |
| AT (1) | ATE416470T1 (de) |
| AU (1) | AU2003289961A1 (de) |
| DE (3) | DE20221918U1 (de) |
| ES (1) | ES2316842T5 (de) |
| WO (1) | WO2004057636A1 (de) |
Cited By (7)
| Publication number | Priority date | Publication date | Assignee | Title |
|---|---|---|---|---|
| DE102011075095A1 (de) | 2011-05-02 | 2012-11-08 | BSH Bosch und Siemens Hausgeräte GmbH | Geschirrspülmaschine mit mindestens zwei Leuchtstreifen an mindestens einer Seitenkante des Möbelblattes ihrer Tür |
| DE102011076374A1 (de) | 2011-05-24 | 2012-11-29 | BSH Bosch und Siemens Hausgeräte GmbH | Einbau-Haushaltsgeschirrspülmaschine mit Projektionseinrichtung im Sockel sowie zugehöriges Sockelverkleidungselement |
| DE102011081334A1 (de) | 2011-05-24 | 2012-11-29 | BSH Bosch und Siemens Hausgeräte GmbH | Haushaltsgeschirrspülmaschine mit einer Projektionseinrichtung in ihrem Sockel |
| US8870392B2 (en) | 2010-03-01 | 2014-10-28 | Electrolux Home Products Corporation N.V. | Projector and household appliance comprising such a projector |
| DE102015105111A1 (de) | 2014-04-04 | 2015-10-08 | Miele & Cie. Kg | Haushaltsgerät mit Anzeigeeinrichtung im Türgriff |
| DE102016112640A1 (de) | 2016-07-11 | 2018-01-11 | Miele & Cie. Kg | Vorrichtung und Verfahren zum Unterstützen eines energiesparenden Betriebs eines Bodenpflegegeräts und Bodenpflegegerät |
| US10076227B2 (en) | 2010-03-26 | 2018-09-18 | BSH Hausgeräte | Dishwasher |
Families Citing this family (32)
| Publication number | Priority date | Publication date | Assignee | Title |
|---|---|---|---|---|
| DE102004038418A1 (de) * | 2004-07-30 | 2006-03-23 | E.G.O. Elektro-Gerätebau GmbH | System eines Haushaltsgeräts |
| TR200701166T1 (tr) | 2004-08-27 | 2007-04-24 | Ar�El�K Anon�M ��Rket� | Bir ev cihazı |
| DE102004062751A1 (de) * | 2004-12-27 | 2006-07-06 | BSH Bosch und Siemens Hausgeräte GmbH | Haushaltgerät |
| DE102004062752A1 (de) * | 2004-12-27 | 2006-07-06 | BSH Bosch und Siemens Hausgeräte GmbH | Integriertes Betriebsanzeigeelement |
| DE102005058667A1 (de) * | 2005-12-08 | 2007-06-14 | BSH Bosch und Siemens Hausgeräte GmbH | Geschirrspülmaschine mit verbesserter Tür |
| DE202006003239U1 (de) * | 2006-01-31 | 2007-06-21 | Liebherr-Hausgeräte Ochsenhausen GmbH | Haushaltsgerät |
| DE102006049396A1 (de) | 2006-10-19 | 2008-04-24 | BSH Bosch und Siemens Hausgeräte GmbH | Haushaltsgerät mit Projektionsanzeige |
| SE530683C2 (sv) * | 2006-12-15 | 2008-08-12 | Asko Cylinda Ab | Indikeringsanordning för indikering av status i en hushållsmaskin |
| EP2346620A4 (de) * | 2008-10-05 | 2018-01-17 | J Cantrell | Zustandswarnsystem, steuersystem und verfahren für eine topf- und pfannenspülmaschine |
| AU2009298104B2 (en) | 2008-10-05 | 2016-07-28 | Electrolux Professional, Inc. | Condition warning system, control system and method for pot and pan washing machine |
| FR2956726B1 (fr) * | 2010-02-23 | 2012-03-16 | Fagorbrandt Sas | Appareil electromenager comprenant un dispositif d'affichage |
| DE102010030673A1 (de) | 2010-06-29 | 2011-12-29 | BSH Bosch und Siemens Hausgeräte GmbH | Haushaltsgerät, insbesondere Spülmaschine mit einer Fläche zum Darstellen von Informationen |
| US9161675B2 (en) | 2011-03-09 | 2015-10-20 | Bsh Home Appliances Corporation | Household appliance including information light device |
| EP2591711A1 (de) * | 2011-11-09 | 2013-05-15 | Electrolux Home Products Corporation N.V. | Virtuelle Tasten |
| DE102013110412B4 (de) * | 2013-09-20 | 2024-05-16 | Miele & Cie. Kg | Haushaltgerät mit einer optischen Betriebsanzeige |
| ES1106784Y (es) * | 2014-02-12 | 2014-07-10 | Ffuuss 2013 S L | Secamanos |
| DE102015210195A1 (de) | 2015-06-02 | 2016-12-22 | BSH Hausgeräte GmbH | Wasserführendes Haushaltsgerät |
| KR102012487B1 (ko) | 2015-06-11 | 2019-08-20 | 엘지전자 주식회사 | 냉장고 및 냉장고 제어 방법 |
| CN104947378A (zh) * | 2015-06-24 | 2015-09-30 | 无锡小天鹅股份有限公司 | 洗衣机 |
| DE102016216035A1 (de) | 2016-08-25 | 2018-03-01 | E.G.O. Elektro-Gerätebau GmbH | Elektrogerät, Anordnung eines solchen Elektrogeräts mit einer Blende und Verfahren zur Herstellung einer solchen Anordnung |
| CN106367925A (zh) * | 2016-09-30 | 2017-02-01 | 无锡小天鹅股份有限公司 | 衣物处理装置 |
| CN108505278B (zh) * | 2017-02-24 | 2021-02-05 | 无锡小天鹅电器有限公司 | 基于复式洗衣机的操控系统和方法 |
| DE102017207220A1 (de) * | 2017-04-28 | 2018-10-31 | BSH Hausgeräte GmbH | Darstellung von Information an einem Kühlgerät |
| PL70778Y1 (pl) * | 2017-07-03 | 2019-05-31 | Amica Spolka Akcyjna | Moduł lampy zmywarki |
| CN108125643A (zh) * | 2017-12-05 | 2018-06-08 | 佛山市顺德区美的洗涤电器制造有限公司 | 洗碗机及控制方法 |
| CN108478161B (zh) * | 2018-06-20 | 2023-08-25 | 佛山市顺德区美的洗涤电器制造有限公司 | 洗碗机的碗篮控制装置及洗碗机 |
| CN108742460B (zh) * | 2018-06-20 | 2023-07-21 | 佛山市顺德区美的洗涤电器制造有限公司 | 洗碗机的碗篮控制装置及洗碗机 |
| EP4088617B1 (de) * | 2021-05-11 | 2025-11-26 | BSH Hausgeräte GmbH | Anordnung umfassend ein möbel und ein elektrogerät |
| DE102022129298A1 (de) * | 2022-11-07 | 2024-05-08 | Emz-Hanauer Gmbh & Co. Kgaa | Haushaltsgerät mit Lichtstrahlprojektionseinrichtung |
| WO2024143960A1 (ko) * | 2022-12-30 | 2024-07-04 | 삼성전자주식회사 | 디스플레이 장치 및 이를 포함하는 가전 기기 |
| WO2024143965A1 (ko) * | 2022-12-30 | 2024-07-04 | 삼성전자주식회사 | 디스플레이 장치 및 이를 포함하는 가전 기기 |
| CN119856115A (zh) * | 2022-12-30 | 2025-04-18 | 三星电子株式会社 | 显示器装置以及包括该显示器装置的家用电器 |
Family Cites Families (17)
| Publication number | Priority date | Publication date | Assignee | Title |
|---|---|---|---|---|
| US2875668A (en) | 1957-01-30 | 1959-03-03 | Mckenzie G Stuart | Projector for time indications |
| US3136210A (en) | 1960-05-19 | 1964-06-09 | Charles A Barrett | Apparatus for shadow projection of clock dial |
| US3619592A (en) | 1970-03-09 | 1971-11-09 | Tappan Co The | Washing machine with illuminated interior |
| IT225651Y1 (it) * | 1991-06-13 | 1997-01-13 | Zanussi Elettrodomestici | Lavastoviglie con pannello di comando |
| IT1266873B1 (it) | 1994-07-06 | 1997-01-21 | Merloni Elettrodomestici Spa | Apparato elettrodomestico del tipo integrabile |
| EP0742308B1 (de) * | 1995-05-11 | 1999-08-11 | Miele & Cie. GmbH & Co. | Haushaltgerät mit einer Anzeigevorrichtung |
| KR100214624B1 (ko) * | 1996-12-03 | 1999-08-02 | 구자홍 | 냉장고의 외부 표시장치 |
| DE19701640A1 (de) * | 1997-01-10 | 1998-07-16 | Ego Elektro Geraetebau Gmbh | Kontaktwärmeübertragendes Kochsystem mit einer Elektro-Kochplatte |
| CN1217130C (zh) * | 1997-06-30 | 2005-08-31 | 株式会社丰臣 | 操作机器用面板 |
| DE19737357C2 (de) * | 1997-08-27 | 2001-07-12 | Bsh Bosch Siemens Hausgeraete | Gargerät mit als Bildschirmplatte ausgebildetem Bildschirm |
| JPH11266944A (ja) * | 1998-03-20 | 1999-10-05 | Minolta Co Ltd | プロジェクター付きシステムキッチン及び調理場 |
| DE29901468U1 (de) | 1999-01-29 | 1999-05-06 | Strobl, Matthias, 33739 Bielefeld | Dekorativer Deckenfluter |
| WO2000052500A1 (fr) * | 1999-03-02 | 2000-09-08 | K-Dream | Dispositif pour la projection d'images et appareil de cuisson, appareil electromenager ou domotique et systeme de projection d'image mettant en oeuvre ledit dispositif |
| DE10022206C2 (de) * | 2000-05-06 | 2002-06-13 | Miele & Cie | Geschirrspülmaschine, insbesondere einbaufähige Geschirrspülmaschine mit einer optischen Betriebsanzeige |
| EP1207353B1 (de) | 2000-11-22 | 2005-11-16 | BSH Bosch und Siemens Hausgeräte GmbH | Dunstabzugshaube mit einer Anzeigeeinrichtung |
| DE20103517U1 (de) | 2001-02-28 | 2001-05-10 | Rational Ag | Gargerät mit funktionalisierter Gargerätetür |
| DE20221965U1 (de) † | 2002-11-25 | 2009-12-31 | Electrolux Home Products Corporation N.V. | In einer Möbelreihe integrierbares Haushaltgerät mit einer Anzeigevorrichtung |
-
2002
- 2002-12-19 DE DE20221918U patent/DE20221918U1/de not_active Expired - Lifetime
- 2002-12-19 DE DE10259763.4A patent/DE10259763B4/de not_active Expired - Lifetime
-
2003
- 2003-12-04 ES ES03782307.7T patent/ES2316842T5/es not_active Expired - Lifetime
- 2003-12-04 AU AU2003289961A patent/AU2003289961A1/en not_active Abandoned
- 2003-12-04 DE DE50310879T patent/DE50310879D1/de not_active Expired - Lifetime
- 2003-12-04 AT AT03782307T patent/ATE416470T1/de not_active IP Right Cessation
- 2003-12-04 EP EP03782307.7A patent/EP1576632B2/de not_active Expired - Lifetime
- 2003-12-04 WO PCT/EP2003/013719 patent/WO2004057636A1/de not_active Ceased
Cited By (10)
| Publication number | Priority date | Publication date | Assignee | Title |
|---|---|---|---|---|
| US8870392B2 (en) | 2010-03-01 | 2014-10-28 | Electrolux Home Products Corporation N.V. | Projector and household appliance comprising such a projector |
| US10076227B2 (en) | 2010-03-26 | 2018-09-18 | BSH Hausgeräte | Dishwasher |
| DE102011075095A1 (de) | 2011-05-02 | 2012-11-08 | BSH Bosch und Siemens Hausgeräte GmbH | Geschirrspülmaschine mit mindestens zwei Leuchtstreifen an mindestens einer Seitenkante des Möbelblattes ihrer Tür |
| DE102011075095B4 (de) | 2011-05-02 | 2023-11-30 | BSH Hausgeräte GmbH | Geschirrspülmaschine mit mindestens zwei Leuchtstreifen an mindestens einer Seitenkante des Möbelblattes ihrer Tür |
| DE102011076374A1 (de) | 2011-05-24 | 2012-11-29 | BSH Bosch und Siemens Hausgeräte GmbH | Einbau-Haushaltsgeschirrspülmaschine mit Projektionseinrichtung im Sockel sowie zugehöriges Sockelverkleidungselement |
| DE102011081334A1 (de) | 2011-05-24 | 2012-11-29 | BSH Bosch und Siemens Hausgeräte GmbH | Haushaltsgeschirrspülmaschine mit einer Projektionseinrichtung in ihrem Sockel |
| DE102011076374B4 (de) | 2011-05-24 | 2025-01-16 | BSH Hausgeräte GmbH | Einbau-Haushaltsgeschirrspülmaschine mit Projektionseinrichtung im Sockel sowie zugehöriges Sockelverkleidungselement |
| DE102011081334B4 (de) | 2011-05-24 | 2025-01-16 | BSH Hausgeräte GmbH | Haushaltsgeschirrspülmaschine mit einer Projektionseinrichtung in ihrem Sockel |
| DE102015105111A1 (de) | 2014-04-04 | 2015-10-08 | Miele & Cie. Kg | Haushaltsgerät mit Anzeigeeinrichtung im Türgriff |
| DE102016112640A1 (de) | 2016-07-11 | 2018-01-11 | Miele & Cie. Kg | Vorrichtung und Verfahren zum Unterstützen eines energiesparenden Betriebs eines Bodenpflegegeräts und Bodenpflegegerät |
Also Published As
| Publication number | Publication date |
|---|---|
| ATE416470T1 (de) | 2008-12-15 |
| ES2316842T3 (es) | 2009-04-16 |
| DE20221918U1 (de) | 2009-04-16 |
| AU2003289961A1 (en) | 2004-07-14 |
| DE10259763B4 (de) | 2017-02-09 |
| EP1576632A1 (de) | 2005-09-21 |
| WO2004057636A1 (de) | 2004-07-08 |
| ES2316842T5 (es) | 2017-01-10 |
| DE10259763A1 (de) | 2004-07-01 |
| DE50310879D1 (de) | 2009-01-15 |
| EP1576632B2 (de) | 2016-08-31 |
Similar Documents
| Publication | Publication Date | Title |
|---|---|---|
| EP1576632B1 (de) | Optische betriebsanzeige für ein haushaltgerät sowie haushaltgerät, insbesondere einbau-haushaltgerät | |
| EP1421893B2 (de) | In einer Möbelreihe integrierbares Haushaltgerät mit einer Anzeigevorrichtung | |
| EP1937131B1 (de) | Haushaltgerät, insbesondere einbau-haushaltgerät mit einer steuerbaren betriebsanzeige | |
| EP1581090B1 (de) | Einbau-haushaltgerät | |
| EP1833348B1 (de) | Haushaltger[t | |
| EP2096975B1 (de) | Haushaltsgerät mit projektionsanzeige | |
| DE102004062752A1 (de) | Integriertes Betriebsanzeigeelement | |
| EP1346336A2 (de) | Elektrisch betriebenes haushaltgerät | |
| DE102004046484B4 (de) | Kastenförmige Bedienblende | |
| EP1575412B1 (de) | Haushaltgerät, insbesondere einbau-haushaltgerät | |
| EP1933688B1 (de) | Geschirrspülmaschine, insbesondere haushalt-geschirrspülmaschine mit einer steuerbaren betriebsanzeige | |
| EP1859720B1 (de) | Haushaltsgerät, insbesondere Geschirrspüler, mit optischer Betriebsanzeige | |
| DE19737524A1 (de) | Hausgerät mit einem Gehäuseelement | |
| EP4062108B1 (de) | Dunstabzugsvorrichtung mit wrasenleitplatte und beleuchtungseinrichtung | |
| DE102023201625A1 (de) | Geschirrspülmaschine mit einem Türgriff und zumindest einem Leuchtelement | |
| EP1113230A2 (de) | Hausgerät | |
| DE202019005824U1 (de) | Dunstabzugsvorichtung mit Wrasenleitplatte und Beleuchtungseinrichtung | |
| DE102023106434A1 (de) | Haushaltgerät, Verfahren zum Betreiben und Bedienknebel | |
| EP4474714A1 (de) | Haushaltsgerät | |
| DE102023104137A1 (de) | Haushaltsgerät, vorzugsweise Küchengerät | |
| EP1467229A2 (de) | Anzeigeeinheit für ein Haushaltsgerät | |
| DE202005018789U1 (de) | Zwischenbodenleuchte | |
| DE2902206A1 (de) | Kuechenarbeitsplatte |
Legal Events
| Date | Code | Title | Description |
|---|---|---|---|
| PUAI | Public reference made under article 153(3) epc to a published international application that has entered the european phase |
Free format text: ORIGINAL CODE: 0009012 |
|
| 17P | Request for examination filed |
Effective date: 20050719 |
|
| AK | Designated contracting states |
Kind code of ref document: A1 Designated state(s): AT BE BG CH CY CZ DE DK EE ES FI FR GB GR HU IE IT LI LU MC NL PT RO SE SI SK TR |
|
| AX | Request for extension of the european patent |
Extension state: AL LT LV MK |
|
| DAX | Request for extension of the european patent (deleted) | ||
| RIN1 | Information on inventor provided before grant (corrected) |
Inventor name: CLASSEN, EGBERT Inventor name: HERING, REINHARD |
|
| GRAP | Despatch of communication of intention to grant a patent |
Free format text: ORIGINAL CODE: EPIDOSNIGR1 |
|
| GRAS | Grant fee paid |
Free format text: ORIGINAL CODE: EPIDOSNIGR3 |
|
| GRAA | (expected) grant |
Free format text: ORIGINAL CODE: 0009210 |
|
| AK | Designated contracting states |
Kind code of ref document: B1 Designated state(s): AT BE BG CH CY CZ DE DK EE ES FI FR GB GR HU IE IT LI LU MC NL PT RO SE SI SK TR |
|
| REG | Reference to a national code |
Ref country code: GB Ref legal event code: FG4D Free format text: NOT ENGLISH |
|
| REG | Reference to a national code |
Ref country code: CH Ref legal event code: NV Representative=s name: SIEMENS SCHWEIZ AG Ref country code: CH Ref legal event code: EP |
|
| REG | Reference to a national code |
Ref country code: IE Ref legal event code: FG4D Free format text: LANGUAGE OF EP DOCUMENT: GERMAN |
|
| REF | Corresponds to: |
Ref document number: 50310879 Country of ref document: DE Date of ref document: 20090115 Kind code of ref document: P |
|
| PGFP | Annual fee paid to national office [announced via postgrant information from national office to epo] |
Ref country code: CH Payment date: 20081222 Year of fee payment: 6 |
|
| PGFP | Annual fee paid to national office [announced via postgrant information from national office to epo] |
Ref country code: AT Payment date: 20081218 Year of fee payment: 6 |
|
| REG | Reference to a national code |
Ref country code: SE Ref legal event code: TRGR |
|
| REG | Reference to a national code |
Ref country code: CH Ref legal event code: PCAR Free format text: SIEMENS SCHWEIZ AG;INTELLECTUAL PROPERTY FREILAGERSTRASSE 40;8047 ZUERICH (CH) |
|
| REG | Reference to a national code |
Ref country code: ES Ref legal event code: FG2A Ref document number: 2316842 Country of ref document: ES Kind code of ref document: T3 |
|
| NLV1 | Nl: lapsed or annulled due to failure to fulfill the requirements of art. 29p and 29m of the patents act | ||
| PG25 | Lapsed in a contracting state [announced via postgrant information from national office to epo] |
Ref country code: NL Free format text: LAPSE BECAUSE OF FAILURE TO SUBMIT A TRANSLATION OF THE DESCRIPTION OR TO PAY THE FEE WITHIN THE PRESCRIBED TIME-LIMIT Effective date: 20081203 Ref country code: FI Free format text: LAPSE BECAUSE OF FAILURE TO SUBMIT A TRANSLATION OF THE DESCRIPTION OR TO PAY THE FEE WITHIN THE PRESCRIBED TIME-LIMIT Effective date: 20081203 Ref country code: SI Free format text: LAPSE BECAUSE OF FAILURE TO SUBMIT A TRANSLATION OF THE DESCRIPTION OR TO PAY THE FEE WITHIN THE PRESCRIBED TIME-LIMIT Effective date: 20081203 |
|
| BERE | Be: lapsed |
Owner name: BSH BOSCH UND SIEMENS HAUSGERATE G.M.B.H. Effective date: 20081231 |
|
| REG | Reference to a national code |
Ref country code: IE Ref legal event code: FD4D |
|
| PG25 | Lapsed in a contracting state [announced via postgrant information from national office to epo] |
Ref country code: IE Free format text: LAPSE BECAUSE OF FAILURE TO SUBMIT A TRANSLATION OF THE DESCRIPTION OR TO PAY THE FEE WITHIN THE PRESCRIBED TIME-LIMIT Effective date: 20081203 Ref country code: MC Free format text: LAPSE BECAUSE OF NON-PAYMENT OF DUE FEES Effective date: 20081231 Ref country code: BG Free format text: LAPSE BECAUSE OF FAILURE TO SUBMIT A TRANSLATION OF THE DESCRIPTION OR TO PAY THE FEE WITHIN THE PRESCRIBED TIME-LIMIT Effective date: 20090303 Ref country code: RO Free format text: LAPSE BECAUSE OF FAILURE TO SUBMIT A TRANSLATION OF THE DESCRIPTION OR TO PAY THE FEE WITHIN THE PRESCRIBED TIME-LIMIT Effective date: 20081203 Ref country code: EE Free format text: LAPSE BECAUSE OF FAILURE TO SUBMIT A TRANSLATION OF THE DESCRIPTION OR TO PAY THE FEE WITHIN THE PRESCRIBED TIME-LIMIT Effective date: 20081203 |
|
| PG25 | Lapsed in a contracting state [announced via postgrant information from national office to epo] |
Ref country code: CZ Free format text: LAPSE BECAUSE OF FAILURE TO SUBMIT A TRANSLATION OF THE DESCRIPTION OR TO PAY THE FEE WITHIN THE PRESCRIBED TIME-LIMIT Effective date: 20081203 Ref country code: PT Free format text: LAPSE BECAUSE OF FAILURE TO SUBMIT A TRANSLATION OF THE DESCRIPTION OR TO PAY THE FEE WITHIN THE PRESCRIBED TIME-LIMIT Effective date: 20090504 |
|
| PGFP | Annual fee paid to national office [announced via postgrant information from national office to epo] |
Ref country code: SE Payment date: 20081222 Year of fee payment: 6 |
|
| PLBI | Opposition filed |
Free format text: ORIGINAL CODE: 0009260 |
|
| PG25 | Lapsed in a contracting state [announced via postgrant information from national office to epo] |
Ref country code: SK Free format text: LAPSE BECAUSE OF FAILURE TO SUBMIT A TRANSLATION OF THE DESCRIPTION OR TO PAY THE FEE WITHIN THE PRESCRIBED TIME-LIMIT Effective date: 20081203 Ref country code: BE Free format text: LAPSE BECAUSE OF NON-PAYMENT OF DUE FEES Effective date: 20081231 |
|
| 26 | Opposition filed |
Opponent name: WHIRLPOOL EUROPE SRL Effective date: 20090827 Opponent name: AEG HAUSGERAETE GMBH Effective date: 20090828 |
|
| PLAX | Notice of opposition and request to file observation + time limit sent |
Free format text: ORIGINAL CODE: EPIDOSNOBS2 |
|
| PG25 | Lapsed in a contracting state [announced via postgrant information from national office to epo] |
Ref country code: DK Free format text: LAPSE BECAUSE OF FAILURE TO SUBMIT A TRANSLATION OF THE DESCRIPTION OR TO PAY THE FEE WITHIN THE PRESCRIBED TIME-LIMIT Effective date: 20081203 |
|
| PLAF | Information modified related to communication of a notice of opposition and request to file observations + time limit |
Free format text: ORIGINAL CODE: EPIDOSCOBS2 |
|
| PLBB | Reply of patent proprietor to notice(s) of opposition received |
Free format text: ORIGINAL CODE: EPIDOSNOBS3 |
|
| EUG | Se: european patent has lapsed | ||
| PG25 | Lapsed in a contracting state [announced via postgrant information from national office to epo] |
Ref country code: LU Free format text: LAPSE BECAUSE OF NON-PAYMENT OF DUE FEES Effective date: 20081204 Ref country code: HU Free format text: LAPSE BECAUSE OF FAILURE TO SUBMIT A TRANSLATION OF THE DESCRIPTION OR TO PAY THE FEE WITHIN THE PRESCRIBED TIME-LIMIT Effective date: 20090604 Ref country code: CY Free format text: LAPSE BECAUSE OF FAILURE TO SUBMIT A TRANSLATION OF THE DESCRIPTION OR TO PAY THE FEE WITHIN THE PRESCRIBED TIME-LIMIT Effective date: 20081203 |
|
| REG | Reference to a national code |
Ref country code: CH Ref legal event code: PL |
|
| PG25 | Lapsed in a contracting state [announced via postgrant information from national office to epo] |
Ref country code: AT Free format text: LAPSE BECAUSE OF NON-PAYMENT OF DUE FEES Effective date: 20091204 |
|
| PG25 | Lapsed in a contracting state [announced via postgrant information from national office to epo] |
Ref country code: CH Free format text: LAPSE BECAUSE OF NON-PAYMENT OF DUE FEES Effective date: 20091231 Ref country code: LI Free format text: LAPSE BECAUSE OF NON-PAYMENT OF DUE FEES Effective date: 20091231 Ref country code: GR Free format text: LAPSE BECAUSE OF FAILURE TO SUBMIT A TRANSLATION OF THE DESCRIPTION OR TO PAY THE FEE WITHIN THE PRESCRIBED TIME-LIMIT Effective date: 20090304 |
|
| PLAB | Opposition data, opponent's data or that of the opponent's representative modified |
Free format text: ORIGINAL CODE: 0009299OPPO |
|
| R26 | Opposition filed (corrected) |
Opponent name: ELECTROLUX ROTHENBURG GMBH FACTORY AND DEVELOPMENT Effective date: 20090828 Opponent name: WHIRLPOOL EUROPE SRL Effective date: 20090827 |
|
| PG25 | Lapsed in a contracting state [announced via postgrant information from national office to epo] |
Ref country code: SE Free format text: LAPSE BECAUSE OF NON-PAYMENT OF DUE FEES Effective date: 20091205 |
|
| APBM | Appeal reference recorded |
Free format text: ORIGINAL CODE: EPIDOSNREFNO |
|
| APBP | Date of receipt of notice of appeal recorded |
Free format text: ORIGINAL CODE: EPIDOSNNOA2O |
|
| APAH | Appeal reference modified |
Free format text: ORIGINAL CODE: EPIDOSCREFNO |
|
| APAW | Appeal reference deleted |
Free format text: ORIGINAL CODE: EPIDOSDREFNO |
|
| APBQ | Date of receipt of statement of grounds of appeal recorded |
Free format text: ORIGINAL CODE: EPIDOSNNOA3O |
|
| APAY | Date of receipt of notice of appeal deleted |
Free format text: ORIGINAL CODE: EPIDOSDNOA2O |
|
| APBM | Appeal reference recorded |
Free format text: ORIGINAL CODE: EPIDOSNREFNO |
|
| APBP | Date of receipt of notice of appeal recorded |
Free format text: ORIGINAL CODE: EPIDOSNNOA2O |
|
| APBQ | Date of receipt of statement of grounds of appeal recorded |
Free format text: ORIGINAL CODE: EPIDOSNNOA3O |
|
| TPAC | Observations filed by third parties |
Free format text: ORIGINAL CODE: EPIDOSNTIPA |
|
| RAP2 | Party data changed (patent owner data changed or rights of a patent transferred) |
Owner name: BSH HAUSGERAETE GMBH |
|
| REG | Reference to a national code |
Ref country code: DE Ref legal event code: R081 Ref document number: 50310879 Country of ref document: DE Owner name: BSH HAUSGERAETE GMBH, DE Free format text: FORMER OWNER: BSH BOSCH UND SIEMENS HAUSGERAETE GMBH, 81739 MUENCHEN, DE Effective date: 20150407 |
|
| REG | Reference to a national code |
Ref country code: ES Ref legal event code: PC2A Owner name: BSH HAUSGERATE GMBH Effective date: 20150527 |
|
| REG | Reference to a national code |
Ref country code: FR Ref legal event code: CD Owner name: BSH HAUSGERATE GMBH Effective date: 20151022 |
|
| REG | Reference to a national code |
Ref country code: FR Ref legal event code: PLFP Year of fee payment: 13 |
|
| APBU | Appeal procedure closed |
Free format text: ORIGINAL CODE: EPIDOSNNOA9O |
|
| TPAC | Observations filed by third parties |
Free format text: ORIGINAL CODE: EPIDOSNTIPA |
|
| PUAH | Patent maintained in amended form |
Free format text: ORIGINAL CODE: 0009272 |
|
| STAA | Information on the status of an ep patent application or granted ep patent |
Free format text: STATUS: PATENT MAINTAINED AS AMENDED |
|
| 27A | Patent maintained in amended form |
Effective date: 20160831 |
|
| AK | Designated contracting states |
Kind code of ref document: B2 Designated state(s): AT BE BG CH CY CZ DE DK EE ES FI FR GB GR HU IE IT LI LU MC NL PT RO SE SI SK TR |
|
| REG | Reference to a national code |
Ref country code: DE Ref legal event code: R102 Ref document number: 50310879 Country of ref document: DE |
|
| REG | Reference to a national code |
Ref country code: FR Ref legal event code: PLFP Year of fee payment: 14 |
|
| REG | Reference to a national code |
Ref country code: ES Ref legal event code: DC2A Ref document number: 2316842 Country of ref document: ES Kind code of ref document: T5 Effective date: 20170110 |
|
| REG | Reference to a national code |
Ref country code: FR Ref legal event code: PLFP Year of fee payment: 15 |
|
| PGFP | Annual fee paid to national office [announced via postgrant information from national office to epo] |
Ref country code: TR Payment date: 20221129 Year of fee payment: 20 Ref country code: GB Payment date: 20221222 Year of fee payment: 20 Ref country code: FR Payment date: 20221219 Year of fee payment: 20 Ref country code: DE Payment date: 20221231 Year of fee payment: 20 |
|
| PGFP | Annual fee paid to national office [announced via postgrant information from national office to epo] |
Ref country code: ES Payment date: 20230119 Year of fee payment: 20 |
|
| PGFP | Annual fee paid to national office [announced via postgrant information from national office to epo] |
Ref country code: IT Payment date: 20221230 Year of fee payment: 20 |
|
| REG | Reference to a national code |
Ref country code: DE Ref legal event code: R071 Ref document number: 50310879 Country of ref document: DE |
|
| REG | Reference to a national code |
Ref country code: GB Ref legal event code: PE20 Expiry date: 20231203 Ref country code: ES Ref legal event code: FD2A Effective date: 20231227 |
|
| PG25 | Lapsed in a contracting state [announced via postgrant information from national office to epo] |
Ref country code: GB Free format text: LAPSE BECAUSE OF EXPIRATION OF PROTECTION Effective date: 20231203 |
|
| PG25 | Lapsed in a contracting state [announced via postgrant information from national office to epo] |
Ref country code: ES Free format text: LAPSE BECAUSE OF EXPIRATION OF PROTECTION Effective date: 20231205 |
|
| PG25 | Lapsed in a contracting state [announced via postgrant information from national office to epo] |
Ref country code: GB Free format text: LAPSE BECAUSE OF EXPIRATION OF PROTECTION Effective date: 20231203 Ref country code: ES Free format text: LAPSE BECAUSE OF EXPIRATION OF PROTECTION Effective date: 20231205 |