EP1568495B1 - Maschine zum Verarbeiten von Bogen aus Bedruckstoff - Google Patents
Maschine zum Verarbeiten von Bogen aus Bedruckstoff Download PDFInfo
- Publication number
- EP1568495B1 EP1568495B1 EP05100276.4A EP05100276A EP1568495B1 EP 1568495 B1 EP1568495 B1 EP 1568495B1 EP 05100276 A EP05100276 A EP 05100276A EP 1568495 B1 EP1568495 B1 EP 1568495B1
- Authority
- EP
- European Patent Office
- Prior art keywords
- support
- sheet
- support segments
- sheets
- machine according
- Prior art date
- Legal status (The legal status is an assumption and is not a legal conclusion. Google has not performed a legal analysis and makes no representation as to the accuracy of the status listed.)
- Expired - Lifetime
Links
- 238000007639 printing Methods 0.000 claims description 16
- 230000015572 biosynthetic process Effects 0.000 claims description 7
- 238000003825 pressing Methods 0.000 claims description 6
- 230000000694 effects Effects 0.000 claims description 5
- 239000000463 material Substances 0.000 claims description 4
- 238000012545 processing Methods 0.000 claims description 4
- 238000000034 method Methods 0.000 claims 1
- 238000011161 development Methods 0.000 description 8
- 230000018109 developmental process Effects 0.000 description 8
- 230000008859 change Effects 0.000 description 7
- 230000009471 action Effects 0.000 description 6
- 238000005096 rolling process Methods 0.000 description 4
- 238000005299 abrasion Methods 0.000 description 3
- 238000013461 design Methods 0.000 description 3
- 230000007246 mechanism Effects 0.000 description 3
- 230000002093 peripheral effect Effects 0.000 description 3
- 230000008901 benefit Effects 0.000 description 2
- 210000003746 feather Anatomy 0.000 description 2
- 230000014759 maintenance of location Effects 0.000 description 2
- 230000005540 biological transmission Effects 0.000 description 1
- 238000005266 casting Methods 0.000 description 1
- 238000012937 correction Methods 0.000 description 1
- 230000009849 deactivation Effects 0.000 description 1
- 230000001419 dependent effect Effects 0.000 description 1
- 238000012423 maintenance Methods 0.000 description 1
- 238000004519 manufacturing process Methods 0.000 description 1
- 230000007935 neutral effect Effects 0.000 description 1
- 238000007645 offset printing Methods 0.000 description 1
- 230000010363 phase shift Effects 0.000 description 1
- 230000002028 premature Effects 0.000 description 1
- 239000000758 substrate Substances 0.000 description 1
- 230000001360 synchronised effect Effects 0.000 description 1
- 238000012549 training Methods 0.000 description 1
- 238000011144 upstream manufacturing Methods 0.000 description 1
- 239000002699 waste material Substances 0.000 description 1
Images
Classifications
-
- B—PERFORMING OPERATIONS; TRANSPORTING
- B41—PRINTING; LINING MACHINES; TYPEWRITERS; STAMPS
- B41F—PRINTING MACHINES OR PRESSES
- B41F22/00—Means preventing smudging of machine parts or printed articles
Definitions
- the present invention relates to a machine for processing sheets of printing material, comprising a cylinder for transporting the sheets and with a sheet support rotatably mounted arch supports, which each comprise support segments for pressing the sheets to the cylinder, and was formed against the following background :
- Sheet-fed presses may have a sheet delivery, which includes in the transport direction leading gripper bars for holding leading end of the sheets to be interpreted and trailing gripper bars for simultaneous retention of trailing arc ends of the sheet.
- the set of leading gripper bars on one pair of chains and the set of trailing gripper bars can be attached to another pair of chains.
- the leading gripper bridges and the trailing gripper bridges run around an outfeed drum, which is equipped with said arch supports.
- the arch supports serve to press the respective sheet to an impression cylinder adjacent the impression cylinder when the respective leading gripper bridge has already taken the leading end of the sheet and the cooperating with this leading gripper bridge trailing gripper bridge has not yet taken the trailing end of the sheet.
- each of the leading gripper bridges runs at a certain distance relative to the trailing gripper bridge associated trailing gripper bridge latter. This distance depends on the arc length of the sheets, which may vary from job to job. A change in the arc length requires a correction of said distance in the context of a so-called format changeover of the cantilever. In this format change the leading gripper bridge is set to a greater or lesser distance relative to its associated trailing gripper bridge by the leading the Gripper bridge bearing pair of chains relative to the trailing gripper bridge bearing chain pair is adjusted.
- the arch supports are temporarily located between these two gripper bars during the circulation of the associated leading gripper bar and trailing gripper bar, an adjustment of the effective circumferential length of the arch supports to the changed distance between the gripper bars is required as part of the format change. For example, the arch supports must be shortened if in the format change the leading gripper bridge to the trailing gripper bridge must be adjusted out so that the arch supports this adjustment of the leading gripper bars do not hinder.
- the invention is therefore an object of the invention to provide a machine of the type mentioned above, the arch supports allow a comparatively small width contacted by them pressure-free corridors and have a long service life.
- the machine according to the invention for processing sheets of printing material with a cylinder for transporting the sheets and with a sheet support rotation axis rotatably mounted arch supports, which each support segments for pressing the sheet to the cylinder, is characterized in that the support segments relative to Bogen span-rotation axis skewed pivot axes are either pivotally mounted in an active position and in a passive position.
- the skewed pivot axes make it possible for the support segments to be lined up in the active position on one and the same alignment line, which is curved in a circular arc around the arch support rotation axis. Due to the aligned in the active position arrangement of the support segments whose track width or rolling line width and the corresponding width of the pressure-free corridor of the arc on which the support segments roll, be kept relatively narrow.
- a further advantage is the fact that the support segments can have segment heads for supporting pressure pads acting as treads.
- the segment heads are much more stable than that according to the prior art ( DE 100 14 417 A1 ) carrier tape used to carry the tread.
- the service life of the segment heads is practically unlimited and the service life of the pressure pads is comparatively high.
- the segment heads of the support segments in the passive position form an imbricated formation.
- the imbricated formation allows pivoting all in the passive position to be adjusted support segments of the sheet support on one and the same side of the sheet support, namely after the one of the sheet support nearest sprocket side facing away from the sheet support.
- the support segments would have to be pivoted alternately to one and the other side of the sheet support in the passive position, so that then some of the support segments between the sheet support and the sprocket and hinder the sprocket very close format setting of the sheet support would.
- Another advantage of the imbricated formation is to be seen in the fact that it makes it possible to arrange the skewed pivot axes of all the support segments at the same radial distance relative to the arch support rotation axis.
- the skewed pivot axes are accordingly on one and the same circular arc whose center of curvature is the arch support rotation axis.
- the support segments can be manufactured as identical parts that are not different from each other with respect to their segment length to be measured between the segment head and the pivot axis.
- the support segments each have a first stop and a second stop and the preferably designed as curves attacks are arranged offset from one another such that a relative to the support segments pivotable Shift lever for folding the respective support segment abuts the first stop and for unfolding this Support segment abuts the second stop.
- the adjustment of the respective support segment in the active position is thus effected by the same actuator as the adjustment of the support segment in the passive position, namely by the shift lever. Also, only a single drive is required for the two folding movements of the support segment.
- the supporting segments belong to bistable tilting jumpers, each of which has an indifferent dead position
- the tilting jumpers each comprise a spring with a spring force action line which runs in the indifferent dead position through the respective skewed pivot axes.
- the machine has a boom, the leading gripper bridges for holding leading end of the sheet and trailing gripper arms for simultaneous retention of trailing bow ends of the sheet comprises.
- the arch supports are components of a delivery drum of the serving for laying the sheet boom.
- the delivery drum presses with the sheet supports or their activated support segments the respective arc against the peripheral surface of the cylinder, so that the trailing gripper bridge can support the trailing end of the arm undisturbed by the cylinder support by a arranged on the delivery drum suction bridge.
- pawls are assigned to lock the support segments in the passive position and the pawls are lined up so that a pivotable relative to the pawls lever arm strikes in the course of its pivotal movement of the pawls successively to their operation.
- the pawls prevent an unintentional abutment of an operator to the present in the passive position support segments adjustment of these support segments in the active position.
- Such inadvertent erection of the support segments could otherwise result in a collision occurring between one of the leading gripper bars and the unintentionally erected support segments and resulting machine damage.
- the support segments an arrival and Ab Victoriainrauma assigned to each in a pivoting and thereby taking place in a parking position pivoting the support segments, wherein seen in the pivoting direction of the active position upstream of the passive position and the parking position is arranged downstream, and comprises the supply and Abstellinutter a rotatable relative to the support segments and coaxially mounted with the Bogen mon rotation axis switching ring.
- the Andschreibpolster preferably consist of a rubber-elastic and relatively soft plastic whose resistance to wear caused by abrasion (eraser effect) is inevitably relatively low.
- the cylinder to which the sheet supports press the sheet is preferably an impression cylinder whose peripheral surface is provided with a rough anti-smearing surface structure.
- the sheet to be pressed is located between the pressing pads and the anti-smearing surface structure, so that the latter can cause no abrasion on the pressure pads during printing operation.
- There is no arc between the anti-smearing surface structure and the Andschreibpolstern so that they would roll it directly on the anti-Abschmier surface structure and would be exposed by the latter a strong abrasion, when the Andschreibpolster for the Neutral would not be turned off by means of the arrival and Abstell Rhein of the impression cylinder and its anti-Abschmier surface structure.
- FIG. 1 a is a machine 1 for processing sheets 2 of substrate schematically and shown in plan view.
- the machine 1 is a sheet-fed printing press and comprises for the lithographic offset printing a printing unit 3 with a cylinder 4 and further comprises a boom 5 with a first chain conveyor 6 and a second chain conveyor 7.
- the cylinder is an impression cylinder 4.
- the endless chain 9 of the first chain conveyor 6 carry between them in a direction of transport 11 leading gripper bars 10 for holding leading end of the sheet 12 of the sheet second
- the second chain conveyor on the drive side and operator side Chain conveyor 7 also comprises on each of the two sides of the machine a sprocket 13 and an endless chain 14 circulating around the latter.
- the endless chains 14 of the second chain conveyor 7 carry trailing gripper bridges 15 for trailing arc ends 16 in the transport direction 11.
- Each of the trailing gripper bars 15 forms together with one of the leading gripper bridges 10, a pair of gripper bars, which holds the respective sheet 2 at both ends during its delivery to a delivery stack 17 toward transport.
- An arcuate support 18 to the side and a sheet support 19 located to the operator side are structurally identical to each other and serve to press the respective arch 2 against the circumferential surface of the impression cylinder 4.
- the arch supports 18, 19 are components of a skeletonized drum 20, namely a delivery drum 20, the boom 5 and are along their geometrical arch support rotation axis 21 continuously from a in FIG. 1a Format setting shown in full line for a maximum sheet width of sheet 2 in an in FIG. 1 a with phantom line indicated format setting for a minimum sheet width and also in between these two Extreme settings lying intermediate positions for medium bow widths adjustable.
- the drive-side sheet support 18 is aligned with a non-printing side edge and the operator-side sheet support 19 with the other non-printing side edge of the respective sheet 2.
- the sheet supports 18, 19 are arranged between the arranged on the drive side sprockets 8, 9 of the chain conveyor 6, 7 and their operated side sprockets motor axially displaceable.
- the optional to each other or away from each other taking place axial adjustment of the arch supports 18, 19 required drive (engine, transmission) is not shown in the drawing for reasons of clarity.
- the delivery drum 20 is a clawless support drum, i. H. it does not include a gripper system for clamping the sheets 2.
- FIG. 1b is the machine 1 in the side view and less schematic than in FIG. 1 a shown.
- FIG. 2a shows a provided for a maximum arc length of the sheet 2 format setting of the machine 1.
- the leading gripper bridge 10 is set to one of the arc length correspondingly large distance relative to the trailing gripper bar 15 of the respective gripper pair.
- This adjustment of the leading gripper bridge 10 is effected by a rotation of the sprocket 8 of the first chain conveyor 6 relative to the sprocket 13 of the second chain conveyor 7.
- This Radvertextung has one of correcting format difference corresponding phase shift of the endless chain 9, to which the leading gripper bar 10 is attached, relatively to the endless chain 14, to which the trailing gripper bridge 15 is attached, the result.
- the arch support 8 essentially comprises T-shaped support segments 22 which the respective sheet 2 in a common tangent point 23 (see.
- FIG. 1b of the delivery drum 20 and the impression cylinder 4 press on the latter.
- Segment heads 24 of the support segments 22 form a substantially from the leading gripper bridge 10 to the trailing gripper bridge 15 extending circumferential row. In the maximum format setting all support segments 22 are erected so that they protrude into the space between the two gripper bars 10, 15.
- FIG. 2b shows a format setting for a minimum arc length.
- the distance between the two gripper bars 10, 15 by a corresponding circulation angle adjustment of the first chain conveyor 6 relative to the second chain conveyor 7 relative to the in FIG. 2a shown format setting reduced by about half.
- the leading gripper bridge 10 is hineingaten in the region of the circumferential row of the support segments 22.
- This requires the folding of some of the support segments 22 in a proximal passive position 22.1, which is located radially retarded with respect to the delivery drum 20 and the first chain conveyor 6.
- By folding in the support segments 22 movement space for in parallel to the arch support axis of rotation 21 transverse direction across the sheet support 18 and the support segments 22 also extending leading gripper bar 10 is provided.
- the leading gripper bridge 10 can be moved over the retracted support segments 22 and unhindered by the latter to the remaining support segments 22 that are unfolded in a distal active position 22.2.
- the remaining in the active position 22.2 support segments 22 are still and opposite FIG. 2a unchanged aligned so that the segment heads 24 are in alignment and adjoin one another with a small gap width almost in bursts.
- the segment heads 24 are aligned unswept and form the segment heads 24 together with a concentric with the sprockets 8, 13 rolling surface, which is interrupted only by the very narrow gaps between the support segments 22.
- the misaligned in the passive position 22.1 support segments 22 are aligned so that their segment heads 24 overlap each other in a scaly formation S.
- the segment heads 24 of the folded support segments 22 each partially hide the segment head of the each adjacent support segment 22, if a basis for the arcuate axis of rotation 21 parallel line of sight is based.
- the positions 22.1, 22.2 correspondingly different orientations of the segment heads 24 are best in the three-dimensional FIG. 3 to recognize.
- the retracted support segments 22 of the drive-side sheet support 18 point to the operator-side sheet support 19 and the folded support segments 22 of the operator-side sheet support 19 point to the drive-side sheet support 18.
- All einzklappenden support segments 22 of the respective sheet support 18 and 19 are therefore folded in the same direction, namely inside the machine, so that the respective sheet support 18 and 19 after deactivation of some of their support segments 22 is still very narrow and compact and very wide along the arch support rotation axis 21 to the outside and close to the respective sprocket 13 zoom can be adjusted.
- FIG. 4 is shown using the example of the drive-side sheet support 18, that the sheet support 18, 19 are mounted in a drum frame 25 with traversal guide rails 26.
- the guide rails 26 are aligned parallel to the sheet support rotational axis 21.
- the delivery drum 20 has a suction bridge 29 for vacuum trapping the trailing arc ends 16.
- the suction bridge 29 takes over the trailing end of the sheet 16 of the respective sheet 2 from the impression cylinder 4, then the trailing gripper bridge 15 of the second chain conveyor 7 can safely detect the trailing end of the sheet 16 ,
- the arch support 18 includes a support plate 30, in which the support segments 22 about hinges 31 (see. FIG. 2a and FIGS. 5 to 7 ) are pivotally mounted around either in the passive position 22.1 and the active position 22.2.
- Each pivot 31 defines a pivot axis 32 of the respective support segment 22 as shown in FIG FIG. 5 is shown using the example of a support segment 22 shown as a detail therein.
- very tight juxtaposition of the support segments 22 in their active position 22.2 is particularly advantageous that the pivot axes 32 are skewed relative to the sheet support rotational axis 21.
- the pivot axes 32 are thus neither aligned parallel to the arcuate axis of rotation 21 nor perpendicular to the latter.
- FIG. 5 shows further that the segment head 24 is equipped with a rubber-elastic Andschreibpolster 33, which has a substantially triangular tapered, pointed profile.
- the Andschreibpolster 33 of the respective sheet support 18 and 19 contact the sheet 2 quasi along a circumferentially extending track line when they press the sheet 2 to the impression cylinder 4.
- Each support segment 22 has as stops a first curve 34 and a second curve 35.
- the support segment 22 and the curves 34, 35 are made of one and the same piece, for. B. as a casting made.
- a shift lever 36 with a cam roller 37 is pivotally mounted about the sheet support rotational axis 21 in the sheet support 18.
- the first curve 34 is substantially hook-shaped and begins at the segment head 24 opposite end of the support segment 22 and extends substantially curved to the segment head 24 out.
- the second curve 35 is substantially finger-shaped and arranged between the segment head 24 and the first curve 34.
- the shift lever 36 and its cam roller 37 occurs with one after the other of the first curves 34 in switching contact, so that the support segments 22 are folded one after the other.
- the shift lever 36 or its cam roller 37 With the second curves 35 successively in switching contact, so that one of the support segments 22 is unfolded after the other again.
- the first curves 34 are thus Einklappkurven or - attacks and serve to adjust the support segments 22 from the active position 22.2 in the passive position 22.1.
- the essentially radial erection of the support segments 22 On the other hand serve the second curves 35, which Ausklappkurven or stops are.
- Each support segment 22 forms together with its pivot 31 and a spring 38, a bistable K-jump (over-center device) K.
- the spring 38 is a tension spring and with its one spring end to the support plate 30 in a first attachment point 39 and with its other spring end attached to the support segment 22 in a second attachment point 40.
- the attachment points 39, 40 are retaining pins for suspending spring eyes of the spring 38.
- the spring 38 is permanently biased and has, as in FIG. 6 is shown, a spring force line of action 41 on which the attachment points 39, 40 are located.
- the Figures 5 and 7 show the two stable positions of the Kippsprungwerkes K, namely FIG. 5 said asset item 22.2 and FIG. 7 said passive position 22.1.
- the direction of action of the spring force action line 41 changes when the latter passes through the swivel joint 31 during the folding over of the support segment 22.
- the shift lever 36 needs with its cam roller 37, the first curve 34 in the adjustment of the support segment 22 from the active position 22.2 (see. FIG. 5 ) into the liability position 22.1 (cf. FIG. 7 ) only until the spring force line of action 41 has just happened during its side change relative to the rotary joint 31 and thus the support segment 22 its Dead position 22.3 has exceeded. Thereafter, the maintenance of the contact between the first curve 34 and the shift lever 36 is no longer required and the support segment 22 is pulled only by the spring 38 alone in the passive position 22.1; the support segment 22 automatically jumps to the selected stable position.
- Each support segment 22 is equipped with a safety device that prevents inadvertent folding and unfolding of the respective support segment 22.
- the securing devices are designed as a locking mechanism and hold the support segments 22 firmly both in the active position 22.2 and in the passive position 22.1.
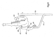
- Each locking mechanism comprises a two-armed pawl 42, which locks the respective support segment 22 in the active position 22.2 on a first latching surface 43 of the support segment 22 by means of a locking hook 48, as shown in FIG FIG. 8 is shown, and locked in the passive position 22.1 to a second locking surface 44, as shown in FIG. 9 is shown.
- Each pawl 42 is sprung with a spring 45 which holds the pawl 42 in the locked position.
- the spring 45 is a leg spring seated on a pivot pin of the pawl 42. All pawls 42 of the respective support segment series are by means of one and the same actuator successively and against the effects of the springs 45 at Folding the support segments 22 unlocked.
- this actuator is the aforementioned shift lever 36, which in its multi-part and fork-shaped training except his the cam roller 37 supporting lever arm provided with a wedge surface 49 and with the latter the pawl 42 at its the pawl 48 opposite ratchet lever actuated lever arm 47.
- the lever arm 47 is pivoted about the arch support rotational axis 21 so that it abuts one after the other of the pawls 42 and just before the cam roller 37 begins to press against the first curve 34, the respective pawl 42 against the return action of the spring 45 except disabling engagement swings.
- FIGS. 10a to 10c show an arrival and Abstell driving A for selectively hiring and stopping the support segments 22 to and from the impression cylinder 4.
- the arrival and Abstell driving A includes as a central actuator a switching ring 50 with switching rollers 51, each of which another from the active position 22.2 in which the support segment 22 is employed against the counter-pressure cylinder 4 or the sheet 2 conveyed thereon, into a set-down position 22.4, in which the support segment 22 is out of rolling contact with the sheet 2 on the counter-pressure cylinder 4, and moved back.
- the segment heads 24 are closer by a few millimeters radial distance a than in the active position 22.2 on the Bogen viten rotation axis 21. Seen radially is the active position 22.2 between the Abstellposition 22.4 and the passive position 22.1, closer to the former than to the latter.
- the switching ring 50 is mounted substantially coaxially with the sheet support rotational axis 21 and rotatable relative to the support plate 30 in the latter.
- FIGS. 10a and 11a The around the arch support rotation axis 21 around taking place and depending on the rotation of the hiring or stopping the support segments 22 to or from the impression cylinder 4 serving rotational movement of the switching ring 50 is in the FIGS. 10a and 11a indicated by an arrow 52.
- Roller shafts 53 of the circumferentially equidistant from each other as the support segments 22 arranged switching rollers 51 have with respect to the delivery drum 20 radial orientations.
- Each support segment 22 has a first contact surface 54 with which it rests in the active position 22.2 on the respective switching roller 51, as shown in FIG FIG. 10b is shown, and a second contact surface 55, with which the support segment 22 abuts in the Abstellposition 22.4 on the scarf roller 51, as the latter in FIG. 11b is shown.
- the spring 38 (see. FIG. 5 ) of the Kippsprungwerkes K holds in the two positions (active position 22.2, Abstellposition 22.4), the respective contact surface 54, 55 in contact with the scarf roller 51.
- the second contact surface 55 forms a relative to the switching ring 50 inclined wedge surface and forms together with the first contact surface 54th a cam track for the switching roller 51.
- An anti-clockwise rotation of the switching ring 50 from its in FIG. 10a As a result, the rotational angle position shown results in the second contact surfaces 55 coming into opposition with the switching rollers 51 and the springs 38 of the tilting jumpers K being able to pivot the support segments 22 out of the active position 22.2 into the parking position 22.4.
- a clockwise turning back of the switching ring 50 has the consequence that the switching rollers 51 run up on the second contact surfaces 55 up to the first contact surfaces 54 and get back in the opposite with the latter, so that the support segments 22 of the contact surfaces 54, 55 against the Effect of the springs 38 are pivoted from the parking position 22.4 in the active position 22.2 and held in the latter.
Landscapes
- Feeding Of Articles By Means Other Than Belts Or Rollers (AREA)
- Discharge By Other Means (AREA)
- Separation, Sorting, Adjustment, Or Bending Of Sheets To Be Conveyed (AREA)
Applications Claiming Priority (2)
| Application Number | Priority Date | Filing Date | Title |
|---|---|---|---|
| DE102004009703A DE102004009703A1 (de) | 2004-02-27 | 2004-02-27 | Maschine zum Verarbeiten von Bogen aus Bedruckstoff |
| DE102004009703 | 2004-02-27 |
Publications (2)
| Publication Number | Publication Date |
|---|---|
| EP1568495A1 EP1568495A1 (de) | 2005-08-31 |
| EP1568495B1 true EP1568495B1 (de) | 2014-04-23 |
Family
ID=34745307
Family Applications (1)
| Application Number | Title | Priority Date | Filing Date |
|---|---|---|---|
| EP05100276.4A Expired - Lifetime EP1568495B1 (de) | 2004-02-27 | 2005-01-18 | Maschine zum Verarbeiten von Bogen aus Bedruckstoff |
Country Status (5)
| Country | Link |
|---|---|
| US (1) | US7156021B2 (enExample) |
| EP (1) | EP1568495B1 (enExample) |
| JP (1) | JP4679928B2 (enExample) |
| CN (1) | CN100467270C (enExample) |
| DE (1) | DE102004009703A1 (enExample) |
Families Citing this family (13)
| Publication number | Priority date | Publication date | Assignee | Title |
|---|---|---|---|---|
| JP2006069209A (ja) * | 2004-08-30 | 2006-03-16 | Heidelberger Druckmas Ag | 印刷技術的な機械を通ってシートを搬送する装置 |
| DE102012010886A1 (de) * | 2012-06-01 | 2013-12-05 | Heidelberger Druckmaschinen Aktiengesellschaft | Übertragungstrommel zum Fördern eines Bogens |
| DE102017218411B4 (de) | 2017-10-13 | 2021-06-10 | Koenig & Bauer Ag | Bogentransportvorrichtung und Verfahren zum Transportieren von Bogen von einem Bogenführungszylinder an ein Bogenfördersystem |
| DE102017218412A1 (de) | 2017-10-13 | 2019-04-18 | Koenig & Bauer Ag | Bogentransportvorrichtung und Verfahren zum Transportieren von Bogen von einem Bogenführungszylinder an ein Bogenfördersystem |
| WO2019072650A1 (de) | 2017-10-13 | 2019-04-18 | Koenig & Bauer Ag | Bogenverarbeitende maschine mit einer bogentransportvorrichtung und verfahren zum transportieren von bogen von einem bogenführungszylinder an ein bogenfördersystem |
| DE102017012198B9 (de) | 2017-10-13 | 2022-10-06 | Koenig & Bauer Ag | Bogentransportvorrichtung und Verfahren zum Transportieren von Bogen von einem Bogenführungszylinder an ein Bogenfördersystem |
| CN111683814B (zh) | 2017-10-13 | 2022-07-01 | 柯尼格及包尔公开股份有限公司 | 加工单张纸的机器和传送单张纸的方法 |
| DE102017218409A1 (de) | 2017-10-13 | 2019-04-18 | Koenig & Bauer Ag | Bogentransportvorrichtung und Verfahren zum Transportieren von Bogen von einem Bogenführungszylinder an ein Bogenfördersystem |
| EP3694717B1 (de) | 2017-10-13 | 2021-12-01 | Koenig & Bauer AG | Bogenverarbeitende maschine mit einer bogentransportvorrichtung und verfahren zum transportieren von bogen von einem bogenführungszylinder an ein bogenfördersystem |
| DE102017218410B4 (de) | 2017-10-13 | 2021-06-17 | Koenig & Bauer Ag | Bogentransportvorrichtung und Verfahren zum Transportieren von Bogen von einem Bogenführungszylinder an ein Bogenfördersystem |
| DE102017218413B4 (de) | 2017-10-13 | 2025-02-27 | Koenig & Bauer Ag | Bogentransportvorrichtung und Verfahren zum Transportieren von Bogen von einem Bogenführungszylinder an ein Bogenfördersystem |
| DE102017218407B4 (de) | 2017-10-13 | 2021-06-17 | Koenig & Bauer Ag | Bogentransportvorrichtung und Verfahren zum Transportieren von Bogen von einem Bogenführungszylinder an ein Bogenfördersystem |
| CN113319601B (zh) * | 2021-06-01 | 2022-12-23 | 广东艾普升智能装备有限公司 | 一种便于更换刀具的数控机床 |
Citations (1)
| Publication number | Priority date | Publication date | Assignee | Title |
|---|---|---|---|---|
| DE4315513A1 (de) * | 1993-05-10 | 1994-11-17 | Heidelberger Druckmasch Ag | Einrichtung zur Formatanpassung einer Bogenübergabetrommel |
Family Cites Families (13)
| Publication number | Priority date | Publication date | Assignee | Title |
|---|---|---|---|---|
| US3442506A (en) * | 1967-06-30 | 1969-05-06 | Miehle Goss Dexter Inc | Antismudge sheet transfer device |
| DE2518334C2 (de) * | 1975-04-25 | 1976-11-11 | Heidelberger Druckmasch Ag | Bogentragscheibe fuer bogenueberfuehrungstrommeln |
| DE2813136C3 (de) * | 1978-03-25 | 1986-04-17 | Heidelberger Druckmaschinen Ag, 6900 Heidelberg | Bogentrageinrichtung, die axial und in Umfangsrichtung verstellbar auf einer Überführtrommel angeordnet ist |
| EP0089080B1 (en) * | 1982-03-16 | 1986-07-09 | Agfa-Gevaert N.V. | Sheet-holding apparatus |
| US5839030A (en) * | 1995-11-13 | 1998-11-17 | Agfa-Gevaert N.V. | Drum-type imagesetter with variable diameter |
| US6684774B2 (en) * | 1997-05-09 | 2004-02-03 | Heidelberger Druckmaschinen Ag | Sheet-fed rotary printing press |
| DE19719624C1 (de) * | 1997-05-09 | 1998-06-10 | Heidelberger Druckmasch Ag | Bogenrotationsdruckmaschine |
| DE19826891A1 (de) * | 1998-06-17 | 1999-12-23 | Heidelberger Druckmasch Ag | Bogenrotationsdruckmaschine |
| JP2000177104A (ja) * | 1998-12-18 | 2000-06-27 | Mitsubishi Heavy Ind Ltd | 枚葉印刷機の中間胴 |
| DE19912709C2 (de) * | 1999-03-20 | 2000-12-28 | Koenig & Bauer Ag | Übergabetrommel mit schwenkbaren Trommelkappen |
| DE10014417A1 (de) * | 2000-03-24 | 2001-09-27 | Heidelberger Druckmasch Ag | Vorrichtung zum Transport eines Bogens für eine Rotationsdruckmaschine |
| DE10355045B4 (de) * | 2002-12-20 | 2018-09-06 | Heidelberger Druckmaschinen Ag | Verfahren zur Variation eines Trommelprofils einer Vario-Trommel und Vario-Trommel zur Durchführung des Verfahrens |
| JP2005007858A (ja) * | 2003-06-18 | 2005-01-13 | Heidelberger Druckmas Ag | 被印刷体枚葉紙を処理する機械を運転する方法 |
-
2004
- 2004-02-27 DE DE102004009703A patent/DE102004009703A1/de not_active Withdrawn
-
2005
- 2005-01-18 EP EP05100276.4A patent/EP1568495B1/de not_active Expired - Lifetime
- 2005-02-24 JP JP2005048405A patent/JP4679928B2/ja not_active Expired - Fee Related
- 2005-02-28 US US11/068,297 patent/US7156021B2/en not_active Expired - Fee Related
- 2005-02-28 CN CNB2005100524718A patent/CN100467270C/zh not_active Expired - Fee Related
Patent Citations (1)
| Publication number | Priority date | Publication date | Assignee | Title |
|---|---|---|---|---|
| DE4315513A1 (de) * | 1993-05-10 | 1994-11-17 | Heidelberger Druckmasch Ag | Einrichtung zur Formatanpassung einer Bogenübergabetrommel |
Also Published As
| Publication number | Publication date |
|---|---|
| JP4679928B2 (ja) | 2011-05-11 |
| JP2005238844A (ja) | 2005-09-08 |
| US7156021B2 (en) | 2007-01-02 |
| HK1080800A1 (zh) | 2006-05-04 |
| DE102004009703A1 (de) | 2005-09-15 |
| CN1660574A (zh) | 2005-08-31 |
| CN100467270C (zh) | 2009-03-11 |
| EP1568495A1 (de) | 2005-08-31 |
| US20050188869A1 (en) | 2005-09-01 |
Similar Documents
| Publication | Publication Date | Title |
|---|---|---|
| EP1568495B1 (de) | Maschine zum Verarbeiten von Bogen aus Bedruckstoff | |
| EP1136263B1 (de) | Vorrichtung zum Transport eines Bogens für eine Rotationsdruckmaschine | |
| EP0432660B1 (de) | Einrichtung zum Wechseln einer Druckplatte | |
| EP0683123B1 (de) | Rotations-Rollendruckmaschine mit einer Registervorrichtung zum Ausrichten der Papierbahn | |
| EP0614838A1 (de) | Auswechselbare Andrückrolle | |
| EP0769376B1 (de) | Bogendruckmaschine | |
| DE3207622C2 (de) | Vorrichtung zum An-, Ab- und Einstellen von Auftragwalzen am Plattenzylinder von Druckmaschinen | |
| EP0384385B1 (de) | Vorrichtung zur Veränderung der Bahnlage einer Bedruckstoffbahn | |
| EP1541510B1 (de) | Vorrichtung zum Fördern eines Bogens durch eine drucktechnische Maschine | |
| EP0978467B1 (de) | Ausleger für eine Druckmaschine | |
| EP4221982B1 (de) | Als siebdruckeinheit ausgebildete bogendruckeinheit und verfahren zum betreiben einer als siebdruckeinheit ausgebildeten bogendruckeinheit | |
| DE29718968U1 (de) | Anordnung zur Korrektur des Fan-Out-Effektes an Rollenrotationsdruckmaschinen | |
| DE10354673A1 (de) | Vorrichtung zum Aussondern von Bogen aus dem Ausleger einer Bogenrotationsdruckmaschine | |
| DE3145104A1 (de) | Umlenkstation fuer in verladeanlagen mit senkrechten und waagerechten foerderzweigen angewandte bandfoerderer mit einem durch ein deckband abgeschlossenen wellkantengurt | |
| DE3114581C2 (de) | Fördervorrichtung für eine Bogen-Rotationsdruckmaschine | |
| DE4131887C1 (enExample) | ||
| EP0467832B1 (de) | Vorrichtung zur Übergabe einzelner Bögen an den Druckzylinder einer Bogenrotationsdruckmaschine | |
| DE19901699A1 (de) | Verfahren und eine Vorrichtung zur Durchführung des Verfahrens zur Beseitigung von rhythmischen Passerfehlern in Rotationsdruckmaschinen | |
| DE3002591C2 (enExample) | ||
| DE10035354B4 (de) | Offsetdruckmaschine | |
| EP1384695B1 (de) | Flächige Bedruckstoffe verarbeitende Maschine mit einem Hilfsstapelträger | |
| DE2358223B2 (de) | Umführtrommel mit Greifereinrichtungen zur Erfassung der Bogenvorder- und Bogenhinterkante für Druckmaschinen | |
| DE2625750A1 (de) | Verfahren und vorrichtung zum wahlweisen wenden eines bogens in einer rotationsdruckmaschine | |
| DE10248974B4 (de) | Greiferanordnung in einer Rotationsdruckmaschine | |
| DE3429008A1 (de) | Vorrichtung zum transportieren von bogen hinter einer auslegertrommel |
Legal Events
| Date | Code | Title | Description |
|---|---|---|---|
| PUAI | Public reference made under article 153(3) epc to a published international application that has entered the european phase |
Free format text: ORIGINAL CODE: 0009012 |
|
| AK | Designated contracting states |
Kind code of ref document: A1 Designated state(s): AT BE BG CH CY CZ DE DK EE ES FI FR GB GR HU IE IS IT LI LT LU MC NL PL PT RO SE SI SK TR |
|
| AX | Request for extension of the european patent |
Extension state: AL BA HR LV MK YU |
|
| 17P | Request for examination filed |
Effective date: 20060228 |
|
| AKX | Designation fees paid |
Designated state(s): AT BE BG CH CY CZ DE DK EE ES FI FR GB GR HU IE IS IT LI LT LU MC NL PL PT RO SE SI SK TR |
|
| 17Q | First examination report despatched |
Effective date: 20110425 |
|
| R17C | First examination report despatched (corrected) |
Effective date: 20110429 |
|
| GRAP | Despatch of communication of intention to grant a patent |
Free format text: ORIGINAL CODE: EPIDOSNIGR1 |
|
| INTG | Intention to grant announced |
Effective date: 20131211 |
|
| RIN1 | Information on inventor provided before grant (corrected) |
Inventor name: STELTER, DR. MARIUS Inventor name: NICOLA, PAUL Inventor name: MUTSCHALL, STEFAN Inventor name: FOERCH, DR. PETER Inventor name: MOEHRINGER, MARKUS Inventor name: KLEE, ALEXANDER |
|
| GRAS | Grant fee paid |
Free format text: ORIGINAL CODE: EPIDOSNIGR3 |
|
| GRAA | (expected) grant |
Free format text: ORIGINAL CODE: 0009210 |
|
| AK | Designated contracting states |
Kind code of ref document: B1 Designated state(s): AT BE BG CH CY CZ DE DK EE ES FI FR GB GR HU IE IS IT LI LT LU MC NL PL PT RO SE SI SK TR |
|
| REG | Reference to a national code |
Ref country code: GB Ref legal event code: FG4D Free format text: NOT ENGLISH |
|
| REG | Reference to a national code |
Ref country code: CH Ref legal event code: EP |
|
| REG | Reference to a national code |
Ref country code: AT Ref legal event code: REF Ref document number: 663556 Country of ref document: AT Kind code of ref document: T Effective date: 20140515 |
|
| REG | Reference to a national code |
Ref country code: IE Ref legal event code: FG4D Free format text: LANGUAGE OF EP DOCUMENT: GERMAN |
|
| REG | Reference to a national code |
Ref country code: DE Ref legal event code: R096 Ref document number: 502005014305 Country of ref document: DE Effective date: 20140528 |
|
| REG | Reference to a national code |
Ref country code: NL Ref legal event code: VDEP Effective date: 20140423 |
|
| REG | Reference to a national code |
Ref country code: LT Ref legal event code: MG4D |
|
| PG25 | Lapsed in a contracting state [announced via postgrant information from national office to epo] |
Ref country code: LT Free format text: LAPSE BECAUSE OF FAILURE TO SUBMIT A TRANSLATION OF THE DESCRIPTION OR TO PAY THE FEE WITHIN THE PRESCRIBED TIME-LIMIT Effective date: 20140423 Ref country code: CY Free format text: LAPSE BECAUSE OF FAILURE TO SUBMIT A TRANSLATION OF THE DESCRIPTION OR TO PAY THE FEE WITHIN THE PRESCRIBED TIME-LIMIT Effective date: 20140423 Ref country code: IS Free format text: LAPSE BECAUSE OF FAILURE TO SUBMIT A TRANSLATION OF THE DESCRIPTION OR TO PAY THE FEE WITHIN THE PRESCRIBED TIME-LIMIT Effective date: 20140823 Ref country code: FI Free format text: LAPSE BECAUSE OF FAILURE TO SUBMIT A TRANSLATION OF THE DESCRIPTION OR TO PAY THE FEE WITHIN THE PRESCRIBED TIME-LIMIT Effective date: 20140423 Ref country code: NL Free format text: LAPSE BECAUSE OF FAILURE TO SUBMIT A TRANSLATION OF THE DESCRIPTION OR TO PAY THE FEE WITHIN THE PRESCRIBED TIME-LIMIT Effective date: 20140423 Ref country code: GR Free format text: LAPSE BECAUSE OF FAILURE TO SUBMIT A TRANSLATION OF THE DESCRIPTION OR TO PAY THE FEE WITHIN THE PRESCRIBED TIME-LIMIT Effective date: 20140724 Ref country code: BG Free format text: LAPSE BECAUSE OF FAILURE TO SUBMIT A TRANSLATION OF THE DESCRIPTION OR TO PAY THE FEE WITHIN THE PRESCRIBED TIME-LIMIT Effective date: 20140723 |
|
| PG25 | Lapsed in a contracting state [announced via postgrant information from national office to epo] |
Ref country code: ES Free format text: LAPSE BECAUSE OF FAILURE TO SUBMIT A TRANSLATION OF THE DESCRIPTION OR TO PAY THE FEE WITHIN THE PRESCRIBED TIME-LIMIT Effective date: 20140423 Ref country code: PL Free format text: LAPSE BECAUSE OF FAILURE TO SUBMIT A TRANSLATION OF THE DESCRIPTION OR TO PAY THE FEE WITHIN THE PRESCRIBED TIME-LIMIT Effective date: 20140423 Ref country code: SE Free format text: LAPSE BECAUSE OF FAILURE TO SUBMIT A TRANSLATION OF THE DESCRIPTION OR TO PAY THE FEE WITHIN THE PRESCRIBED TIME-LIMIT Effective date: 20140423 |
|
| PG25 | Lapsed in a contracting state [announced via postgrant information from national office to epo] |
Ref country code: PT Free format text: LAPSE BECAUSE OF FAILURE TO SUBMIT A TRANSLATION OF THE DESCRIPTION OR TO PAY THE FEE WITHIN THE PRESCRIBED TIME-LIMIT Effective date: 20140825 |
|
| REG | Reference to a national code |
Ref country code: DE Ref legal event code: R097 Ref document number: 502005014305 Country of ref document: DE |
|
| PG25 | Lapsed in a contracting state [announced via postgrant information from national office to epo] |
Ref country code: EE Free format text: LAPSE BECAUSE OF FAILURE TO SUBMIT A TRANSLATION OF THE DESCRIPTION OR TO PAY THE FEE WITHIN THE PRESCRIBED TIME-LIMIT Effective date: 20140423 Ref country code: CZ Free format text: LAPSE BECAUSE OF FAILURE TO SUBMIT A TRANSLATION OF THE DESCRIPTION OR TO PAY THE FEE WITHIN THE PRESCRIBED TIME-LIMIT Effective date: 20140423 Ref country code: RO Free format text: LAPSE BECAUSE OF FAILURE TO SUBMIT A TRANSLATION OF THE DESCRIPTION OR TO PAY THE FEE WITHIN THE PRESCRIBED TIME-LIMIT Effective date: 20140423 Ref country code: DK Free format text: LAPSE BECAUSE OF FAILURE TO SUBMIT A TRANSLATION OF THE DESCRIPTION OR TO PAY THE FEE WITHIN THE PRESCRIBED TIME-LIMIT Effective date: 20140423 Ref country code: SK Free format text: LAPSE BECAUSE OF FAILURE TO SUBMIT A TRANSLATION OF THE DESCRIPTION OR TO PAY THE FEE WITHIN THE PRESCRIBED TIME-LIMIT Effective date: 20140423 |
|
| PLBE | No opposition filed within time limit |
Free format text: ORIGINAL CODE: 0009261 |
|
| STAA | Information on the status of an ep patent application or granted ep patent |
Free format text: STATUS: NO OPPOSITION FILED WITHIN TIME LIMIT |
|
| PG25 | Lapsed in a contracting state [announced via postgrant information from national office to epo] |
Ref country code: IT Free format text: LAPSE BECAUSE OF FAILURE TO SUBMIT A TRANSLATION OF THE DESCRIPTION OR TO PAY THE FEE WITHIN THE PRESCRIBED TIME-LIMIT Effective date: 20140423 |
|
| 26N | No opposition filed |
Effective date: 20150126 |
|
| REG | Reference to a national code |
Ref country code: DE Ref legal event code: R097 Ref document number: 502005014305 Country of ref document: DE Effective date: 20150126 |
|
| PG25 | Lapsed in a contracting state [announced via postgrant information from national office to epo] |
Ref country code: BE Free format text: LAPSE BECAUSE OF NON-PAYMENT OF DUE FEES Effective date: 20150131 |
|
| PG25 | Lapsed in a contracting state [announced via postgrant information from national office to epo] |
Ref country code: SI Free format text: LAPSE BECAUSE OF FAILURE TO SUBMIT A TRANSLATION OF THE DESCRIPTION OR TO PAY THE FEE WITHIN THE PRESCRIBED TIME-LIMIT Effective date: 20140423 |
|
| REG | Reference to a national code |
Ref country code: CH Ref legal event code: PL |
|
| PG25 | Lapsed in a contracting state [announced via postgrant information from national office to epo] |
Ref country code: LU Free format text: LAPSE BECAUSE OF FAILURE TO SUBMIT A TRANSLATION OF THE DESCRIPTION OR TO PAY THE FEE WITHIN THE PRESCRIBED TIME-LIMIT Effective date: 20150118 |
|
| GBPC | Gb: european patent ceased through non-payment of renewal fee |
Effective date: 20150118 |
|
| PG25 | Lapsed in a contracting state [announced via postgrant information from national office to epo] |
Ref country code: MC Free format text: LAPSE BECAUSE OF FAILURE TO SUBMIT A TRANSLATION OF THE DESCRIPTION OR TO PAY THE FEE WITHIN THE PRESCRIBED TIME-LIMIT Effective date: 20140423 |
|
| PG25 | Lapsed in a contracting state [announced via postgrant information from national office to epo] |
Ref country code: LI Free format text: LAPSE BECAUSE OF NON-PAYMENT OF DUE FEES Effective date: 20150131 Ref country code: GB Free format text: LAPSE BECAUSE OF NON-PAYMENT OF DUE FEES Effective date: 20150118 Ref country code: CH Free format text: LAPSE BECAUSE OF NON-PAYMENT OF DUE FEES Effective date: 20150131 |
|
| REG | Reference to a national code |
Ref country code: FR Ref legal event code: ST Effective date: 20150930 |
|
| REG | Reference to a national code |
Ref country code: IE Ref legal event code: MM4A |
|
| PG25 | Lapsed in a contracting state [announced via postgrant information from national office to epo] |
Ref country code: FR Free format text: LAPSE BECAUSE OF NON-PAYMENT OF DUE FEES Effective date: 20150202 |
|
| PG25 | Lapsed in a contracting state [announced via postgrant information from national office to epo] |
Ref country code: IE Free format text: LAPSE BECAUSE OF NON-PAYMENT OF DUE FEES Effective date: 20150118 |
|
| REG | Reference to a national code |
Ref country code: AT Ref legal event code: MM01 Ref document number: 663556 Country of ref document: AT Kind code of ref document: T Effective date: 20150118 |
|
| PG25 | Lapsed in a contracting state [announced via postgrant information from national office to epo] |
Ref country code: AT Free format text: LAPSE BECAUSE OF NON-PAYMENT OF DUE FEES Effective date: 20150118 |
|
| PG25 | Lapsed in a contracting state [announced via postgrant information from national office to epo] |
Ref country code: HU Free format text: LAPSE BECAUSE OF FAILURE TO SUBMIT A TRANSLATION OF THE DESCRIPTION OR TO PAY THE FEE WITHIN THE PRESCRIBED TIME-LIMIT; INVALID AB INITIO Effective date: 20050118 |
|
| PG25 | Lapsed in a contracting state [announced via postgrant information from national office to epo] |
Ref country code: TR Free format text: LAPSE BECAUSE OF FAILURE TO SUBMIT A TRANSLATION OF THE DESCRIPTION OR TO PAY THE FEE WITHIN THE PRESCRIBED TIME-LIMIT Effective date: 20140423 |
|
| PGFP | Annual fee paid to national office [announced via postgrant information from national office to epo] |
Ref country code: DE Payment date: 20200131 Year of fee payment: 16 |
|
| REG | Reference to a national code |
Ref country code: DE Ref legal event code: R119 Ref document number: 502005014305 Country of ref document: DE |
|
| PG25 | Lapsed in a contracting state [announced via postgrant information from national office to epo] |
Ref country code: DE Free format text: LAPSE BECAUSE OF NON-PAYMENT OF DUE FEES Effective date: 20210803 |