EP1539373B9 - Bodenlegevorrichtung für papiersäcke - Google Patents
Bodenlegevorrichtung für papiersäcke Download PDFInfo
- Publication number
- EP1539373B9 EP1539373B9 EP03773616A EP03773616A EP1539373B9 EP 1539373 B9 EP1539373 B9 EP 1539373B9 EP 03773616 A EP03773616 A EP 03773616A EP 03773616 A EP03773616 A EP 03773616A EP 1539373 B9 EP1539373 B9 EP 1539373B9
- Authority
- EP
- European Patent Office
- Prior art keywords
- glue
- valves
- application head
- bottoming device
- bottoming
- Prior art date
- Legal status (The legal status is an assumption and is not a legal conclusion. Google has not performed a legal analysis and makes no representation as to the accuracy of the status listed.)
- Expired - Lifetime
Links
- 239000003292 glue Substances 0.000 claims abstract description 209
- 238000004026 adhesive bonding Methods 0.000 claims abstract description 26
- 230000015572 biosynthetic process Effects 0.000 claims description 2
- 238000005553 drilling Methods 0.000 claims 5
- XLYOFNOQVPJJNP-UHFFFAOYSA-N water Substances O XLYOFNOQVPJJNP-UHFFFAOYSA-N 0.000 claims 3
- 238000000034 method Methods 0.000 claims 2
- 238000007789 sealing Methods 0.000 claims 2
- 239000000853 adhesive Substances 0.000 description 27
- 230000001070 adhesive effect Effects 0.000 description 27
- 238000004519 manufacturing process Methods 0.000 description 6
- 229920002472 Starch Polymers 0.000 description 3
- 238000004513 sizing Methods 0.000 description 3
- 235000019698 starch Nutrition 0.000 description 3
- 239000008107 starch Substances 0.000 description 3
- 238000006073 displacement reaction Methods 0.000 description 2
- 239000002689 soil Substances 0.000 description 2
- 239000004568 cement Substances 0.000 description 1
- 238000004140 cleaning Methods 0.000 description 1
- 230000006835 compression Effects 0.000 description 1
- 238000007906 compression Methods 0.000 description 1
- 230000001419 dependent effect Effects 0.000 description 1
- 239000006185 dispersion Substances 0.000 description 1
- 238000001125 extrusion Methods 0.000 description 1
- 238000009408 flooring Methods 0.000 description 1
- 239000011888 foil Substances 0.000 description 1
- 239000000463 material Substances 0.000 description 1
- 238000003825 pressing Methods 0.000 description 1
Images
Classifications
-
- B—PERFORMING OPERATIONS; TRANSPORTING
- B05—SPRAYING OR ATOMISING IN GENERAL; APPLYING FLUENT MATERIALS TO SURFACES, IN GENERAL
- B05C—APPARATUS FOR APPLYING FLUENT MATERIALS TO SURFACES, IN GENERAL
- B05C11/00—Component parts, details or accessories not specifically provided for in groups B05C1/00 - B05C9/00
- B05C11/10—Storage, supply or control of liquid or other fluent material; Recovery of excess liquid or other fluent material
-
- B—PERFORMING OPERATIONS; TRANSPORTING
- B05—SPRAYING OR ATOMISING IN GENERAL; APPLYING FLUENT MATERIALS TO SURFACES, IN GENERAL
- B05C—APPARATUS FOR APPLYING FLUENT MATERIALS TO SURFACES, IN GENERAL
- B05C5/00—Apparatus in which liquid or other fluent material is projected, poured or allowed to flow on to the surface of the work
- B05C5/02—Apparatus in which liquid or other fluent material is projected, poured or allowed to flow on to the surface of the work the liquid or other fluent material being discharged through an outlet orifice by pressure, e.g. from an outlet device in contact or almost in contact, with the work
- B05C5/027—Coating heads with several outlets, e.g. aligned transversally to the moving direction of a web to be coated
- B05C5/0275—Coating heads with several outlets, e.g. aligned transversally to the moving direction of a web to be coated flow controlled, e.g. by a valve
- B05C5/0279—Coating heads with several outlets, e.g. aligned transversally to the moving direction of a web to be coated flow controlled, e.g. by a valve independently, e.g. individually, flow controlled
-
- B—PERFORMING OPERATIONS; TRANSPORTING
- B31—MAKING ARTICLES OF PAPER, CARDBOARD OR MATERIAL WORKED IN A MANNER ANALOGOUS TO PAPER; WORKING PAPER, CARDBOARD OR MATERIAL WORKED IN A MANNER ANALOGOUS TO PAPER
- B31B—MAKING CONTAINERS OF PAPER, CARDBOARD OR MATERIAL WORKED IN A MANNER ANALOGOUS TO PAPER
- B31B2150/00—Flexible containers made from sheets or blanks, e.g. from flattened tubes
-
- B—PERFORMING OPERATIONS; TRANSPORTING
- B31—MAKING ARTICLES OF PAPER, CARDBOARD OR MATERIAL WORKED IN A MANNER ANALOGOUS TO PAPER; WORKING PAPER, CARDBOARD OR MATERIAL WORKED IN A MANNER ANALOGOUS TO PAPER
- B31B—MAKING CONTAINERS OF PAPER, CARDBOARD OR MATERIAL WORKED IN A MANNER ANALOGOUS TO PAPER
- B31B2150/00—Flexible containers made from sheets or blanks, e.g. from flattened tubes
- B31B2150/001—Flexible containers made from sheets or blanks, e.g. from flattened tubes with square or cross bottom
-
- B—PERFORMING OPERATIONS; TRANSPORTING
- B31—MAKING ARTICLES OF PAPER, CARDBOARD OR MATERIAL WORKED IN A MANNER ANALOGOUS TO PAPER; WORKING PAPER, CARDBOARD OR MATERIAL WORKED IN A MANNER ANALOGOUS TO PAPER
- B31B—MAKING CONTAINERS OF PAPER, CARDBOARD OR MATERIAL WORKED IN A MANNER ANALOGOUS TO PAPER
- B31B2160/00—Shape of flexible containers
- B31B2160/20—Shape of flexible containers with structural provision for thickness of contents
-
- B—PERFORMING OPERATIONS; TRANSPORTING
- B31—MAKING ARTICLES OF PAPER, CARDBOARD OR MATERIAL WORKED IN A MANNER ANALOGOUS TO PAPER; WORKING PAPER, CARDBOARD OR MATERIAL WORKED IN A MANNER ANALOGOUS TO PAPER
- B31B—MAKING CONTAINERS OF PAPER, CARDBOARD OR MATERIAL WORKED IN A MANNER ANALOGOUS TO PAPER
- B31B50/00—Making rigid or semi-rigid containers, e.g. boxes or cartons
- B31B50/60—Uniting opposed surfaces or edges; Taping
- B31B50/72—Uniting opposed surfaces or edges; Taping by applying and securing strips or sheets
-
- B—PERFORMING OPERATIONS; TRANSPORTING
- B31—MAKING ARTICLES OF PAPER, CARDBOARD OR MATERIAL WORKED IN A MANNER ANALOGOUS TO PAPER; WORKING PAPER, CARDBOARD OR MATERIAL WORKED IN A MANNER ANALOGOUS TO PAPER
- B31B—MAKING CONTAINERS OF PAPER, CARDBOARD OR MATERIAL WORKED IN A MANNER ANALOGOUS TO PAPER
- B31B70/00—Making flexible containers, e.g. envelopes or bags
- B31B70/60—Uniting opposed surfaces or edges; Taping
- B31B70/62—Uniting opposed surfaces or edges; Taping by adhesives
-
- Y—GENERAL TAGGING OF NEW TECHNOLOGICAL DEVELOPMENTS; GENERAL TAGGING OF CROSS-SECTIONAL TECHNOLOGIES SPANNING OVER SEVERAL SECTIONS OF THE IPC; TECHNICAL SUBJECTS COVERED BY FORMER USPC CROSS-REFERENCE ART COLLECTIONS [XRACs] AND DIGESTS
- Y10—TECHNICAL SUBJECTS COVERED BY FORMER USPC
- Y10T—TECHNICAL SUBJECTS COVERED BY FORMER US CLASSIFICATION
- Y10T156/00—Adhesive bonding and miscellaneous chemical manufacture
- Y10T156/17—Surface bonding means and/or assemblymeans with work feeding or handling means
- Y10T156/1702—For plural parts or plural areas of single part
- Y10T156/1705—Lamina transferred to base from adhered flexible web or sheet type carrier
-
- Y—GENERAL TAGGING OF NEW TECHNOLOGICAL DEVELOPMENTS; GENERAL TAGGING OF CROSS-SECTIONAL TECHNOLOGIES SPANNING OVER SEVERAL SECTIONS OF THE IPC; TECHNICAL SUBJECTS COVERED BY FORMER USPC CROSS-REFERENCE ART COLLECTIONS [XRACs] AND DIGESTS
- Y10—TECHNICAL SUBJECTS COVERED BY FORMER USPC
- Y10T—TECHNICAL SUBJECTS COVERED BY FORMER US CLASSIFICATION
- Y10T156/00—Adhesive bonding and miscellaneous chemical manufacture
- Y10T156/17—Surface bonding means and/or assemblymeans with work feeding or handling means
- Y10T156/1702—For plural parts or plural areas of single part
- Y10T156/1712—Indefinite or running length work
- Y10T156/1722—Means applying fluent adhesive or adhesive activator material between layers
Definitions
- the invention relates to a bottoming device for paper sacks according to the preamble of claim 1.
- sacks include cement bags, which are usually manufactured as valve sacks.
- valve leaflets are usually introduced in the bottom folding in the soil.
- glue - usually starch glue - formed.
- the gluing of the components to be glued each of the bag is usually carried out by a mounted on a rotating roller format part - often called cliché - brought in a revolution of the roller with glue rollers or other Leim arrived- or transfer parts in contact and thereby applied with glue ,
- the format plate transfers the glue stored on it to the respective bag component to be glued.
- the format part is provided with characteristic elevations, which are adapted to a specific sack format. If sacks with other dimensions are to be made on the Bodenlegevorraum, the format parts are exchanged.
- the illustrated type of glue application has been proven in the Bodenlegevorraumen for paper sacks, as can be applied in this way, large amounts of hard-to-use starch glue clean.
- this type of glue transfer necessitates the provision and subsequent cleaning of a variety of mechanical size transfer components, such as the cliché roll and size parts.
- pamphlets DE 100 53 064 A and US 2002/079327 disclose devices that operate on the same principle.
- An advantageous embodiment of the invention can make a glue transfer to the parts to be glued, without a leimsomedes part of Bodenlegevorraum - like the glue reservoir or Leim Arthur - touches the bag components.
- the glue outlet openings should be suitably spaced from the parts to be glued.
- the glue can then be sprayed against the parts to be glued.
- the non-contact glue application can avoid that the contours of the format are smeared by the touch and thus falsified.
- a further advantageous embodiment of the invention has a plurality of glue outlet openings, which are provided on a glue application head.
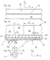
- FIG. 1 shows a glue application device, as used in the prior art usually for gluing of soil sheets 2.
- glue is transferred from a glue cylinder 11 to the format part or plate 12, which is supported by a plate cylinder 13 and about the axis of the plate cylinder 13 in the arrow 16 sketched direction is moved.
- the cliché or format part 12 transfers glue to the bottom sheets 2, which are carried by the pliers cylinder 14 during the glue transfer.
- the bottom sheets 2 are previously conveyed by a transport device, not shown, along the dashed line 18 in the direction of the arrow x in the gap between the cylinders 13 and 14.
- the rotation of the forceps cylinder 14 in the direction outlined by the arrow 15 promotes the glued slip on to the sack bottoms 1, which are transported by a transport device also not shown in the direction of the arrow w.
- the sacks 19 are closed by the sack bottoms 1.
- a pressure is built up, the ticket 2 and sack bottoms pressed together and thus permanently connects.
- FIG. 2 shows a further glue application device 20 according to the prior art, which is usually used for gluing the sack bottoms 1.
- a cliché or format part 22 which is attached to the circumference of the plate cylinder 23, brought by the rotation of the plate cylinder 23 about its axis 25 in the direction of arrow 27 with the glue transfer cylinders 28 in conjunction and thus applied with glue.
- the format part 22 similar to the format part 12, not shown depressions, which are filled in contact with the glue transfer rollers with glue.
- the sizing transfer rollers 28, in turn, limit the opening of a sizing reservoir 21 and, on their periphery, transport glue from the sizing reservoir 21 to the plate 22 during their rotation.
- the cliché or format part 22 passes in the further course of the rotational movement of the cylinder 23 in the nip 24 between the cylinders 29 and 23. There transfers the cliché 22 glue on a bag bottom 1.
- the bag is previously from a conveyor, not shown along the dashed line 26 has been transported into the nip.
- FIG. 3 shows a sketch of a Zettelbeleimungsstation 30 of a cross-bottom layer according to the invention, which already segregated notes 2, which are conveyed in the direction of arrow x, provided with glue marks 3.
- the gluing station 30 is equipped with an application head 31.
- This gun is supplied with the help of the hose 33 with glue.
- the glue is distributed in the interior of the applicator head 31 by suitable glue lines on the valves 32, which are mounted on the applicator head 31 in two rows, which extend transversely to the conveying direction x of the slip 2.
- These valves 32 are at least able to release or prevent the glue flow. They are controlled by external - preferably electrical signals and they can withstand the glue pressure.
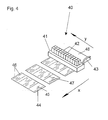
- FIG. 4 shows a gluing station 40, which externally as well as the gluing station 30 from FIG. 3 is constructed.
- the different glue tracks 44 to 47 show that a wide variety of adhesive formats can be realized with such a device without having to use format parts. In this case, a variation of the cliché width, that is to say the extent of the adhesive surface in the y direction, can be achieved by disengaging or connecting valves 42 during the production of sacks of this adhesive format.
- valves switched off in this way are thus not active during the entire duration of the gluing of slips 2, 48 or sack bottoms of a format.
- rectangular adhesive formats - as in FIG. 3 are shown - which are formed from continuous glue marks 3, 47 of equal length.
- valves that are active in the production of an adhesive format, closed after the production of a continuous glue trace 47 and 48 are opened at the arrival of the next still unglued billet 48 at the glue outlet openings.
- this sequence of operations leads at industry standard Beleimungs Malawien to considerable demands on the switching time of the valves 32.
- the valves 42 must be opened or closed even faster than in the production of continuous glue traces 47th ,
- a substantial variation of the applied amount of adhesive is possible in particular by the application of multiple interrupted glue traces 44.
- the further variation of the shape of the adhesive format - which includes distinct deviations from the rectangular shape - requires the application of short 45 and discontinuous glue marks 46.
- the adhesive formats 4 it is often necessary for the adhesive formats 4 to be in the form of a "u" 4a) or rectangular frame 4b ), like that in the FIGS. 9 a) and b) will be shown.
- a different control of the valves during the gluing of a bag component 1, 2 to be glued is necessary. It is advantageous if the valves provided in the bottom-laying device have a switching time or are switched in a time which is less than 5 ms. Then, a large part of the variations of adhesive formats required in the industry, which can be achieved by changing individual glue track lengths in the x-direction, can be realized in the manner described above at the usual gluing speeds.
- the different glue tracks 45 to 48 give an idea of how flexibly such a device according to the invention can generate formats when the valves are switched even faster.
- the in the Figures 3 and 4 Illustrated embodiments of the invention are already isolated to the actual gluing shown slip 2 just as suitable as for gluing paper webs, which can later be separated. Even with sack bases 1, the gluing can be carried out analogously.
- FIGS. 5 a), b) and c) show a preferred embodiment of the glue line within one embodiment of the application head 50 to the valves 32.
- the Leimaustrittsbohrept 71 and the Leimzutechnisch from the valves 32 to the Leimaustritts effet 71 are with regard to the clarity of FIGS. 5 a) to c) not shown here.
- the glue line via two transverse channels 52 and 53, which in the FIGS. 5a) and 5b ) are shown in dashed lines. These channels extend in the application head 50 substantially transverse to the conveying direction x of the slip 2 or bag bottoms. 1 FIG. 5c) shows that these two glue channels 52, 53 are holes in the embodiment shown for manufacturing reasons.
- the channels could as well have a different shape.
- the glue channels 52, 53 rise in the vertical direction z to each valve glue channels 55, through which the glue passes directly to the valve 32.
- the two glue channels 52 and 53 may be connected to the front side of the head opposite the glue feed lines by a further glue channel which runs in the application head 50 in the x direction.
- the glue for example, via the glue channel 52, which is provided for this purpose with a feed line to run, flow through the connecting channel and flow through the glue channel 53, to finally run off by a Leimablauf.
- a Leimzirkulation would be possible by such a gun.
- FIGS. 5 a) to c) waived was in the FIGS. 5 a) to c) waived.
- FIGS. 6 and 7 again illuminate the relationship between the number of valves 32 and the glue outlet openings 71st This ratio decisively influences the setting possibilities of the adhesive format width.
- adhesive format width is again to understand the expansion of the adhesive format 4 in the y-direction. If only a limited number of valves is provided, each of which is assigned a large number of glue outlet openings, the desired format width can only be made roughly, ie with too low a resolution. Studies show, however, that at least a satisfactory proportion of industry-standard formats with a minimum number of five independently controllable valves 32 can be displayed in an advantageous manner.
- applicator head 60 a plurality of rows of valves VRi to n are arranged successively in the transport direction of the bag components to be glued x successive.
- the reference numbers of the valves 32 and their associated glue channels 72, 73 are indicated with the numbers of the respective valve row in.
- An arrangement of the valves 32 in the y-direction one behind the other is advantageous, since the candidate for such a glue applicator valves 32 have a significant width B, which often exceeds the desired distance between the glue marks in the direction transverse to the transport of the bag components.
- it is advantageous to assign each valve several glue outlet openings, as in FIG. 7b) is shown.
- FIG. 7 a) shows a way to make the sack components 1, 2 facing side 76 of an applicator head 70.
- the application head 70 essentially consists of a valve mounting plate 75 on which the valves 32 are located.
- the glue outlet openings are located on a line which here runs orthogonally to the conveying direction x of the slip 2.
- the holes 71 in the x direction at the same height.
- FIG. 7b ) shows how glue passes from the valves 32 to the glue outlet openings 71.
- the valves 32i see first valve series VRi.
- FIG. 7b ) shown embodiment shows three rows of valves are provided, of which the two rear are not shown.
- each valve 32i to 32iii are assigned four glue outlet openings 71.
- the braces 77i-iii mark three adjacent groups of glue outlet openings 71, each group being associated with a valve of each of the three valve rows VRi-iii.
- the openings of the valves are centric, ie in the center of their width B. These valve openings are aligned with the upper glue outlet channel 72.
- the rows of valves VRi to VRiii are here in each case by the distance C in y. Direction against each other.
- the distance A between the glue outlet openings 71 is much smaller than the valve width B. So let initially very fine, slightly spaced glue lines 3 produce that are easy to transform by smearing or pressing in a flat order.
- the distance C between two upper glue exit channels 72 adjacent in the y direction defines the resolution already discussed above in the adjustment of the format width by selectively switching valves off or on.
- the distance C also defines the resolution in the adjustment of the shape of the adhesive format, that is, the desired deviation from the in FIG. 3 shown rectangular shape of the format 4, which already above with reference to the FIGS. 4 and 9a ) b) were discussed.
- FIG. 7b ) shows in this context, the importance of the dimension D, which results from the addition of the distances A between the glue outlet openings 71, which are fed by a valve with glue.
- the dimension D is significantly smaller than the valve width B (here D ⁇ B / 3).
- This circumstance is extremely advantageous, since the larger resolution associated with it, with the variation of format width and shape, permits a more exact reduction of these quantities to what is actually necessary. This will save glue. This is possible with sufficient resolution even without the exchange of format parts 12, 22.
- FIGS. 8 a) to 8 c) Illustrated in plan views of an embodiment, the movability of an applicator head 80 in the y-direction relative to the sheets 2.
- This embodiment of the invention opens up further possibilities of variation in the area of the resolution and the format width and thus further increases the flexibility in the free design of the adhesive profile 4, without necessitating the exchange of format parts.
- the mobility is apparent from the location of the center lines o and p shown for illustration, which the application head 80 and the Go through piece of paper 2 in the middle. In FIG. 8a ) these two lines are aligned.
- a relative displacement of the applicator head 80 relative to the slip 2 has taken place. An extensive presentation of a displacement mechanism was omitted here.
- the U-shaped glue format is composed of continuous 3 and short glue traces 45.
- the glue format in the form of a rectangular frame 4b) is composed of continuous 3 and interrupted glue traces 46.
- the different course of the glue traces comes about by a selective control of the glue valves 32 during the gluing of a sack component 1, 2 to be glued.
- no pumps or pressure vessels have been shown which are usually necessary to convey the glue and to build up or maintain the necessary glue pressure for extrusion.
Landscapes
- Making Paper Articles (AREA)
- Supplying Of Containers To The Packaging Station (AREA)
- Coating Apparatus (AREA)
- Control And Other Processes For Unpacking Of Materials (AREA)
Description
- Die Erfindung betrifft eine Bodenlegevorrichtung für Papiersäcke nach dem Oberbegriff des Anspruchs 1.
- Vorrichtungen dieser Art werden zur Herstellung der verschiedensten Arten von Säcken eingesetzt. Zu diesen Säcken gehören Zementsäcke, die in der Regel als Ventilsäcke gefertigt werden. Zu diesem Zweck werden in der Regel Ventilzettel bei der Bodenfaltung in die Böden eingebracht.
Wichtig ist jedoch die Unterscheidung zwischen Pinch-, Klotzböden und Kreuzböden. Bei der Bildung von Kreuzbodensäcken, welche beispielsweise in derDE 090 145 48 U1 und derDE 3020043 A1 dargestellt sind, werden besondere Anforderungen an die Beleimung gestellt.
Bei allen Vorrichtungen dieser Art werden die Sackböden mit Hilfe von Leim - in der Regel Stärke leim - gebildet. Zu diesem Zweck werden - wie im Oberbegriff des Anspruchs 1 dargestellt - entweder die gefalteten Böden oder die ihnen zugeordneten Zettel oder beide vorgenannte zu beleimende Elemente mit einer Leimschicht versehen und anschließend zusammengeführt.
Die Beleimung der jeweils zu beleimenden Bestandteile des Sackes erfolgt in der Regel, indem ein auf einer rotierenden Walze befestigtes Formatteil - oft auch Klischee genannt - bei einer Umdrehung der Walze mit Leimwalzen oder sonstigen Leimspeicher- oder Übertragungsteilen in Kontakt gebracht und dabei mit Leim beaufschlagt wird. Im weiteren Verlauf der Walzendrehung überträgt die Formatplatte den auf ihr gespeicherten Leim auf den jeweils zu beleimenden Sackbestandteil.
Zu diesem Zweck ist das Formatteil mit charakteristischen Erhöhungen versehen, die auf ein bestimmtes Sackformat abgestimmt sind. Wenn Säcke mit anderen Abmessungen auf der Bodenlegevorrichtung gefertigt werden sollen, werden die Formatteile ausgetauscht.
Die dargestellte Art des Leimauftrags hat sich bei den Bodenlegevorrichtungen für Papiersäcke bewährt, da sich auf diese Weise große Mengen des schwer zu handhabenden Stärkeleimes sauber auftragen lassen.
Diese Art des Leimübertrages macht jedoch die Bereitstellung und spätere Reinigung einer Vielzahl mechanischer Leimübertragungskomponenten - wie zum Beispiel der Klischeewalze und der Formatteile - notwendig. - Daher wird in der
DE 35 06 393 A1 vorgeschlagen, auf mechanische Leimübertragungskomponenten zu verzichten und statt dessen eine Beleimungsstation vorzusehen, - welche mit zumindest einem Leimreservoir oder zumindest einer Leimleitung ausgestattet ist, in dem oder der der Leim einem Druck, der höher als der Umgebungsdruck ist, ausgesetzt ist,
- wobei das zumindest eine Leimreservoir oder die zumindest eine Leimleitung mit mindestens einer Leimaustrittsöffnung versehen ist, durch welche Leim direkt auf die Zettel und/oder gefalteten Böden gebracht wird,
- wobei in der zumindest einen Beleimungsstation ein Auftragskopf vorgesehen ist, welcher zumindest einen Teil des zumindest einen Leimreservoirs oder der zumindest einen Leimleitung enthält und dem zumindest eine Leimaustrittsöffnung zugeordnet ist,
- die Leimzuführleitungen, welche den Leim den Leimaustrittsöffnungen zuführen, zumindest ein Ventil aufweisen und
- wobei an dem Auftragskopf Ventile angebracht sind, welche auf der den zu beleimenden Sackbestandteilen abgewandten Seite des Auftragskopfes angebracht sind.
- Auch die Druckschriften
DE 100 53 064 A undUS 2002/079327 offenbaren Vorrichtungen, die nach dem gleichen Prinzip arbeiten. - Nachteilig bei der Beleimungsstation nach der
DE 35 06 393 A1 ist jedoch der komplizierte Aufbau mit einem Leimverteilerkapf sowie flexiblen Anschlussleitungen zu den Ventilen. - Daher hat die vorliegende Erfindung die Aufgabe, diese Teile überflüssig zu machen.
Diese Aufgabe wird dadurch gelöst, - dass die Ventile durch Bohrungen oder Kammern im Auftragkopf mit Leim versorgbar sind,
- dass eine erste Bohrung oder Kammer mit einer Leimzuleitung versehen ist,
- dass die eine erste Bohrung oder Kammer und eine zweite Bohrung oder Kammer an der der Leimzuleitung entgegen gesetzten Stirnseite des Auftragskopfes mit einem Leimkanal verbunden sind und
- dass die eine zweite Bohrung oder Kammer mit einem Leimablauf versehen ist.
- Eine vorteilhafte Ausführungsform der Erfindung kann einen Leimübertrag auf die zu beleimenden Teile vornehmen, ohne dass ein leimführendes Teil der Bodenlegevorrichtung - wie das Leimreservoir oder die Leimleitung - die Sackbestandteile berührt. Zu diesem Zweck sollten die Leimaustrittsöffnungen in geeigneter Weise von den zu beleimenden Teilen beabstandet sein. Der Leim kann dann regelrecht gegen die zu beleimenden Teile gespritzt werden.
Durch den berührungslosen Leimauftrag kann vermieden werden, dass die Konturen des Formats durch die Berührung verschmiert und damit verfälscht werden. - Ein Verschmieren der Konturen durch Teile der Beleimungsstation kann jedoch auch beabsichtigt sein. Insbesondere wenn der Leimauftrag nicht vollflächig, sondern beispielsweise in Form von Leimspuren erfolgt, kann durch eine Verschmierung der Leimspuren die Vollflächigkeit herbeigeführt werden. Diese Verschmierung kann beispielsweise durch einen direkten Kontakt des Leimreservoirs oder der Leimleitung mit den Leimspuren vorgenommen werden. In der Regel werden jedoch zusätzliche Walzen zu einer Verschmierung oder Verpressung der Leimspuren beitragen.
Eine weitere vorteilhafte Ausführungsform der Erfindung besitzt eine Mehrzahl von Leimaustrittsöffnungen, welche an einem Leimauftragskopf vorgesehen sind. - Weitere Ausführungsbeispiele der Erfindung gehen aus der gegenständlichen Beschreibung und den Ansprüchen hervor.
Die einzelnen Figuren zeigen: - Fig. 1
- Eine Leimauftragsvorrichtung für Sackbodenzettel nach dem Stand der Technik
- Fig. 2
- Eine Leimauftragsvorrichtung für Kreuzböden nach dem Stand der Technik
- Fig. 3
- Ansicht einer erfindungsgemäßen Beleimungsstation
- Fig. 4
- Ansicht einer erfindungsgemäßen Beleimungsstation, welche kompliziertere Klebeformate erzeugt.
- Fig. 5 a)
- Eine Seitenansicht auf ein Ausführungsbeispiel der Erfindung mit einer Leimleitung zur Leimversorgung der Ventile
- Fig. 5 b)
- Eine Draufsicht des in
Figur 5a ) gezeigten Ausführungsbeispiels - Fig. 5 c)
- Eine andere Seitenansicht des in
Figur 5a ) gezeigten Ausführungsbeispiels - Fig. 6
- Eine Ansicht eines Auftragskopfes mit einer Mehrzahl von Ventilreihen
- Fig. 7 a)
- Eine Ansicht der den zu beleimenden Teilen zugewandten Seite eines Ausführungsbeispiels eines Auftragskopfes
- Fig. 7 b)
- Eine Illustration der Leimführung von den Ventilen zu den Leimaustrittsöffnungen in dem Ausführungsbeispiel nach
Figur 7 a) . - Fig. 7 c)
- Einen vergrößerten Ausschnitt aus
Figur 7 b) - Fig. 8 a)
- Einen Auftragskopf, der in y-Richtung beweglich ist, in der Draufsicht
- Fig. 8 b)
- Einen Auftragskopf, der in y-Richtung beweglich ist, in der Draufsicht
- Fig. 8 c)
- Einen Auftragskopf, der in y-Richtung beweglich ist, in der Draufsicht
- Fig. 9 a)
- Einen Zettel 2 mit einem u-förmigen Klebstoffformat
- Fig. 9 b)
- Einen Zettel 2 mit einem Klebstoffformat in Form eines rechteckigen Rahmens
- In den folgenden Figuren werden sowohl erfindungsgemäße Leimauftragsvorrichtungen für Kreuzbodensäcke als auch Vorrichtungen des Standes der Technik gezeigt. Die erfindungsgemäßen Vorrichtungen, die gezeigt werden, beleimen lediglich Bodenblätter 2. Sie könnten jedoch ebenso gut Kreuzböden 1 beleimen.
Figur 1 zeigt eine Leimauftragsvorrichtung, wie sie nach dem Stand der Technik in der Regel zur Beleimung von Bodenzetteln 2 eingesetzt wird. Bei dieser Vorrichtung wird Leim von einem Leimzylinder 11 auf das Formatteil oder Klischee 12 übertragen, welches von einem Klischeezylinder 13 getragen und um die Achse des Klischeezylinders 13 in der durch den Pfeil 16 skizzierten Richtung bewegt wird. Bei dieser Rotationsbewegung überträgt das Klischee oder Formatteil 12 Leim auf die Bodenzettel 2, welche während des Leimübertrags von dem Zangenzylinder 14 getragen werden. Die Bodenzettel 2 werden zuvor von einer nicht dargestellten Transporteinrichtung entlang der gestrichelten Linie 18 in Richtung des Pfeils x in den Spalt zwischen den Zylindern 13 und 14 gefördert. Die Rotation des Zangenzylinders 14 in der durch den Pfeil 15 skizzierten Richtung fördert die beleimten Zettel weiter zu den Sackböden 1, welche durch eine ebenfalls nicht dargestellte Transporteinrichtung in Richtung des Pfeils w transportiert werden. Die Säcke 19 werden durch die Sackböden 1 abgeschlossen.
Zwischen dem Zangenzylinder 14 und der Transporteinrichtung der Säcke wird ein Druck aufgebaut, der Zettel 2 und Sackböden miteinander verpresst und damit dauerhaft verbindet.
Figur 2 zeigt eine weitere Leimauftragseinrichtung 20 nach dem Stand der Technik, welche in der Regel zum Beleimen der Sackböden 1 eingesetzt wird. Zu diesem Zweck wird ein Klischee oder Formatteil 22, welches am Umfang des Klischeezylinders 23 angebracht ist, durch die Rotation des Klischeezylinders 23 um seine Achse 25 in Richtung des Pfeils 27 mit den Leimübertragungszylindern 28 in Verbindung gebracht und damit mit Leim beaufschlagt. Zu diesem Zweck besitzt das Formatteil 22, ähnlich wie das Formatteil 12, hier nicht dargestellte Vertiefungen, welche beim Kontakt mit den Leimübertragungswalzen mit Leim gefüllt werden.
Die Leimübertragungswalzen 28 begrenzen ihrerseits die Öffnung eines Leimreservoirs 21 und transportieren auf ihrem Umfang während ihrer Rotation Leim vom Leimreservoir 21 zum Klischee 22. - Das Klischee- oder Formatteil 22 gelangt im weiteren Verlauf der Rotationsbewegung des Zylinders 23 in den Walzenspalt 24 zwischen den Zylindern 29 und 23. Dort übertragt das Klischee 22 Leim auf einen Sackboden 1. Der Sack ist zuvor von einer nicht dargestellten Fördervorrichtung entlang der gestrichelten Linie 26 in den Walzenspalt transportiert worden.
- Bei einem Wechsel der Sackformate werden die Formatteile 12, 22 gegen auf das neue Sackformat abgestimmte Formatteile ausgetauscht.
-
Figur 3 zeigt eine Skizze einer Zettelbeleimungsstation 30 eines erfindungsgemäßen Kreuzbodenlegers, welcher bereits vereinzelte Zettel 2, welche in Richtung des Pfeils x gefördert werden, mit Leimspuren 3 versieht. Zu diesem Zweck ist die Beleimungsstation 30 mit einem Auftragskopf 31 ausgestattet. Dieser Auftragskopf wird mit Hilfe des Schlauchs 33 mit Leim versorgt. Der Leim wird im Inneren des Auftragskopfes 31 durch geeignete Leimleitungen auf die Ventile 32 verteilt, welche in zwei Reihen, welche quer zur Förderrichtung x der Zettel 2 verlaufen, auf dem Auftragskopf 31 angebracht sind. Diese Ventile 32 sind zumindest in der Lage, den Leimfluss freizugeben oder zu unterbinden. Sie sind durch externe - vorzugsweise elektrische Signale ansteuerbar und sie 32 halten dem Leimdruck stand.
Auf der inFigur 3 nicht dargestellten Unterseite des Auftragskopfs 31 befinden sich die Leimaustrittsöffnungen 71, durch welche der Leim den Auftragskopf 31 verlässt und die Leimspuren 3 bildet. Der Pfeil x zeigt in Transportrichtung der Zettel 2, während der Pfeil y in die dazu quer verlaufende horizontale Richtung weist.
Figur 4 zeigt eine Beleimungsstation 40, welche äußerlich genauso wie die Beleimungsstation 30 ausFigur 3 aufgebaut ist. Die unterschiedlichen Leimspuren 44 bis 47 zeigen, dass die verschiedensten Klebstoffformate mit einer solchen Vorrichtung realisierbar sind, ohne dass Formatteile zum Einsatz kommen müssen. Hierbei ist eine Variation der Klischeebreite, also der Ausdehnung der Klebefläche in y-Richtung, durch ein Aus- beziehungsweise Zuschalten von Ventilen 42 während der Herstellung von Säcken dieses Klebstoffformats realisierbar. Die auf diese Weise abgeschalteten Ventile sind damit währen der gesamten Dauer der Beleimung von Zetteln 2, 48 oder Sackböden eines Formates nicht aktiv. Auf diese Weise entstehen vorzugsweise rechteckige Klebstoffformate - wie sie inFigur 3 dargestellt sind - welche sich aus durchgehenden in der Regel gleichlangen Leimspuren 3, 47 bilden. - Doch bereits zu diesem Zweck müssen die Ventile, die bei der Herstellung eines Klebstoffformats aktiv sind, nach der Herstellung einer durchgehenden Leimspur 47 geschlossen und bei der Ankunft des nächsten noch unbeleimten Zettels 48 an den Leimaustrittsöffnungen wieder geöffnet werden. Bereits diese Arbeitssequenz führt bei branchenüblichen Beleimungsgeschwindigkeiten zu erheblichen Anforderungen an die Schaltzeit der Ventile 32. Sollen weitere Variationen an der Form des Klebstoffformats oder der Klebstoffmenge vorgenommen werden, so müssen die Ventile 42 noch schneller geöffnet oder geschlossen werden können als bei der Herstellung durchgehender Leimspuren 47.
So ist eine wesentliche Variation der aufgetragenen Klebstoffmenge insbesondere durch das Aufbringen mehrfach unterbrochener Leimspuren 44 möglich. Die weitere Variation der Form des Klebstoffformats - zu der deutliche Abweichungen von der Rechteckform gehören - erfordert das Aufbringen kurzer 45 und unterbrochener Leimspuren 46. Oft ist es beispielsweise erforderlich, dass die Klebstoffformate 4 die Form eines "u" 4a) oder eines rechteckigen Rahmens 4b) haben, wie das in denFiguren 9 a) und b) gezeigt wird. Zu diesem Zweck ist eine unterschiedliche Ansteuerung der Ventile während der Beleimung eines zu beleimenden Sackbestandteils 1, 2 notwendig.
Es ist vorteilhaft, wenn die in der Bodenlegevorrichtung vorgesehenen Ventile eine Schaltzeit besitzen beziehungsweise in einer Zeit geschaltet werden, welche kleiner ist als 5ms. Dann lassen sich ein Großteil der in der Branche benötigten Variationen von Klebstoffformaten, die durch die Änderung einzelner Leimspurlängen in x-Richtung vornehmbar sind, in der oben dargestellten Weise bei gängigen Beleimungsgeschwindigkeiten realisieren. - Die unterschiedlichen Leimspuren 45 bis 48 lassen erahnen, wie flexibel eine solche erfindungsgemäße Vorrichtung Formate generieren kann, wenn die Ventile noch schneller geschaltet werden.
Die in denFiguren 3 und4 dargestellten Ausführungsformen der Erfindung sind zu der tatsächlich dargestellten Beleimung bereits vereinzelter Zettel 2 genauso geeignet, wie zur Beleimung von Papierbahnen, welche später vereinzelt werden können. Auch bei Sackböden 1 kann die Beleimung analog vorgenommen werden. - Die
Figuren 5 a), b) und c) zeigen eine bevorzugte Ausführungsform der Leimleitung innerhalb einer Ausführungsform des Auftragskopfes 50 zu den Ventilen 32. Auch die Leimaustrittsbohrungen 71 und die Leimzuleitung von den Ventilen 32 zu den Leimaustrittsleitungen 71 werden mit Rücksicht auf die Übersichtlichkeit derFiguren 5 a) bis c) hier nicht gezeigt.
Die Leimleitung erfolgt über zwei Querkanäle 52 und 53, welche in denFiguren 5a) und 5b ) gestrichelt dargestellt sind. Diese Kanäle verlaufen im Auftragskopf 50 im wesentlichen quer zur Förderrichtung x der Zettel 2 oder Sackböden 1.Figur 5 c) zeigt, dass diese beiden Leimkanäle 52, 53 in der gezeigten Ausführungsform aus fertigungstechnischen Gründen Bohrungen sind. Die Kanäle könnten jedoch ebenso gut eine andere Form haben.
Von den Leimkanälen 52, 53 steigen in vertikaler Richtung z zu jedem Ventil Leimkanäle 55 auf, durch welche der Leim unmittelbar zum Ventil 32 gelangt.
Vorteilhafterweise können die beiden Leimkanäle 52 und 53 an der den Leimzuleitungen entgegengesetzten Stirnseite des Kopfes durch einen weiteren Leimkanal, welcher im Auftragskopf 50 in x-Richtung verläuft, verbunden sein. Auf diese Weise kann der Leim beispielsweise über den Leimkanal 52, welcher zu diesem Zweck mit einer Zuleitung versehen ist, zulaufen, den Verbindungskanal durchströmen und durch den Leimkanal 53 fließen, um schließlich durch einen Leimablauf abzulaufen. Auf diese Weise wäre eine Leimzirkulation durch einen solchen Auftragskopf möglich.
Auf die Darstellung dieser zusätzlichen Merkmale wurde jedoch in denFiguren 5 a) bis c) verzichtet. - Die
Figuren 6 und7 beleuchten noch einmal das Verhältnis zwischen der Zahl der Ventile 32 und der Leimaustrittsöffnungen 71.
Dieses Verhältnis beeinflusst in entscheidender Weise die Einstellmöglichkeiten der Klebstoffformatbreite. Unter Klebstoffformatbreite ist wieder die Ausdehnung des Klebstoffformats 4 in y-Richtung zu verstehen. Wenn nur eine begrenzte Anzahl von Ventilen vorgesehen ist, der jeweils eine große Anzahl von Leimaustrittsöffnungen zugeordnet ist, so lässt sich die gewünschte Formatbreite nur grob, also mit zu geringer Auflösung vornehmen.
Untersuchungen zeigen jedoch, dass zumindest ein befriedigender Anteil an branchenüblichen Formaten mit einer Mindestanzahl von fünf unabhängig voneinander ansteuerbaren Ventile 32 in vorteilhafter Weise darstellbar ist. - Bei dem in
Figur 6 gezeigten Auftragskopf 60 sind eine Vielzahl von Ventilreihen VRi bis n in der Transportrichtung der zu beleimenden Sackbestandteile x aufeinander abfolgend angeordnet. Um die Zuordnung der Ventile und zu den Ventilreihen zu verdeutlichen sind die Bezugszahlen der Ventile 32 und der ihnen zugeordneten Leimkanäle 72, 73 mit den Nummern der jeweiligen Ventilreihe i-n indiziert.
Eine Anordnung der Ventile 32 in y-Richtung hintereinander ist vorteilhaft, da die für eine solche Leimauftragsvorrichtung in Frage kommenden Ventile 32 eine nicht unerhebliche Baubreite B aufweisen, die nicht selten den gewünschten Abstand zwischen den Leimspuren in der Richtung quer zum Transport der Sackbestandteile übertrifft. Generell ist zwar von Vorteil, jedem Ventil mehrere Leimaustrittsöffnungen zuzuordnen, wie das inFigur 7 b) gezeigt ist. Allerdings führt bei einer solchen Ausführungsform der Erfindung das Verschließen eines Ventils zur Unterbrechung gleich mehrerer Leimspuren, so dass letztlich doch eine geringere Auflösung bei der freien Gestaltung der Breite des Klebeformats 4 in Kauf genommen werden muss.
Bei einer Anordnung einer sehr großen Zahl von Ventilen 32 auf einem Auftragskopf 61 besteht die Möglichkeit, die Klebespuren in y-Richtung eng nebeneinander zu beabstanden und gleichzeitig eine sehr hohe Auflösung bei der Gestaltung des Klebeprofils zu erreichen. Zu diesem Zweck ist es auch möglich, die Ventilreihen in y-Richtung gegeneinander zu versetzen. Auch bei einem Auftragskopf mit einer Vielzahl von Ventilreihen VRi bis VRn kann durch die Art der Führung der vertikalen Leimaustrittskanäle 72, 73 in x-Richtung dafür Sorge getragen werden, dass die Leimaustrittsöffnungen auf einer Linie liegen, wie inFigur 7 a) gezeigt.
Die erwähnteFigur 7 a) zeigt eine Möglichkeit, die den Sackbestandteilen 1, 2 zugewandte Seite 76 eines Auftragskopfs 70 zu gestalten. Der Auftragskopf 70 besteht hierbei im Wesentlichen aus einer Ventilmontageplatte 75, auf der sich die Ventile 32 befinden. Wie bereits erwähnt liegen die Leimaustrittsöffnungen auf einer Linie, welche hier orthogonal zur Förderrichtung x der Zettel 2 verläuft. Damit liegen in dem gezeigten Ausführungsbeispiel der Erfindung die Bohrungen 71 in x-Richtung auf gleicher Höhe.
In Folge einer unterschiedlichen Positionierung der Austrittsöffnungen 71 in x-Richtung müssten bei der Ansteuerung der Ventile Laufzeitunterschiede berücksichtigt werden, die dadurch zustande kommen, dass das gleiche Sackbestandteil 1, 2 die ungleich in x-Richtung angeordneten Leimaustrittsöffnungen zu verschiedenen Zeitpunkten passiert. Diese Laufzeitunterschiede sind geschwindigkeitsabhängig und damit schwer zu berücksichtigen. Daher ist die inFigur 7 a) gezeigte Anordnung ausgesprochen vorteilhaft.
Figur 7b ) zeigt in welcher Weise Leim von den Ventilen 32 zu den Leimaustrittsöffnungen 71 gelangt. In der inFigur 2 gezeigten Ansicht sind lediglich die Ventile 32i ersten Ventilreihe VRi zu sehen. Bei dem inFigur 7b ) gezeigten Ausführungsbeispiel sind jedoch drei Ventilreihen vorgesehen, von denen die beiden hinteren nicht dargestellt sind. Jedoch sind bei dieser Ausführungsform jedem Ventil 32i bis 32iii vier Leimaustrittsöffnungen 71 zugeordnet. Die geschweiften Klammern 77i bis iii markieren drei benachbarte Gruppen von Leimaustrittsöffnungen 71 wobei jede Gruppe jeweils einem Ventil aus jeder der drei Ventilreihen VRi bis iii zugeordnet ist. In y-Richtung liegen die Öffnungen der Ventile zentrisch, also im Mittelpunkt ihrer Breite B. Diese Ventilöffnungen fluchten mit dem oberen Leimaustrittskanal 72. Um diese Art der Anordnung zu ermöglichen, sind die Ventilreihen VRi bis VRiii hier jeweils um den Abstand C in y-Richtung gegeneinander versetzt. Bei der dargestellten Anordnung ist der Abstand A zwischen den Leimaustrittsöffnungen 71 sehr viel kleiner als die Ventilbreite B. Damit lassen sich zunächst einmal sehr feine, gering voneinander beabstandete Leimspuren 3 erzeugen, die leicht durch Verschmieren oder Verpressen in einen flächigen Auftrag zu verwandeln sind.
Bei der vorliegenden Ausführungsform der Erfindung definiert der Abstand C zwischen zwei in y-Richtung benachbarten oberen Leimaustrittskanälen 72 die bereits oben diskutierte Auflösung bei der Einstellung der Formatbreite durch selektives Aus- oder Zuschalten von Ventilen. In gleicher Weise definiert der Abstand C auch die Auflösung bei der Einstellung der Form des Klebstoffformats, das heißt der gewollten Abweichung von der inFigur 3 gezeigten Rechteckform des Formats 4, welche bereits oben mit Bezug auf dieFiguren 4 und9a ) b) diskutiert wurden.
Figur 7b ) zeigt in diesem Zusammenhang auch die Bedeutung des Maßes D, welches sich aus der Addition der Abstände A zwischen den Leimaustrittsöffnungen 71 ergibt, die von einem Ventil mit Leim gespeist werden.
Bei dem inFigur 7b ) gezeigten Ausführungsbeispiel ist es insbesondere dank der beschriebenen Anordnung verschiedener Ventilreihen VRn hintereinander möglich, dass auch das Maß D deutlicher kleiner ist als die Ventilbreite B (hier ist D < B/3). Dieser Umstand ist ausgesprochen vorteilhaft, da die mit ihm einhergehende größere Auflösung bei der Variation von Formatbreite und Form eine exaktere Reduzierung dieser Größen auf das tatsächlich Notwendige erlaubt. Damit wird Leim gespart. Dies ist bei ausreichender Auflösung auch ohne den Austausch von Formatteilen 12, 22 möglich. - In den
Figuren 8 a) bis 8 c) wird in Draufsichten auf ein Ausführungsbeispiel die Verfahrbarkeit eines Auftragskopfes 80 in y-Richtung relativ zu den Zetteln 2 illustriert. Diese Ausgestaltung der Erfindung eröffnet weitere Variationsmöglichkeiten im Bereich der Auflösung und der Formatbreite und steigert damit die Flexibilität bei der freien Gestaltung des Klebeprofils 4 weiter, ohne den Austausch von Formatteilen notwendig zu machen.
Die Verfahrbarkeit wird anhand der Lage der zur Illustration eingezeichneten Mittellinien o und p deutlich, welche den Auftragskopf 80 beziehungsweise den Zettel 2 in der Mitte durchlaufen. InFigur 8a ) fluchten diese beiden Linien. In den beiden anderen Figuren hat eine Relativverschiebung des Auftragskopfes 80 gegenüber dem Zettel 2 stattgefunden. Auf eine umfängliche Darstellung eines Verschiebemechanismusses wurde an dieser Stelle verzichtet.
Wie bereits erwähnt zeigen dieFiguren 9a ) und b) ein u-förmiges 4a) und ein rechteckiges Leimformat 4b) auf zwei Zetteln 2. Das u-förmige Leimformat setzt sich aus durchgehenden 3 und kurzen Leimspuren 45 zusammen. Das Leimformat in Form eines rechteckigen Rahmens 4b) setzt sich aus durchgehenden 3 und unterbrochenen Leimspuren 46 zusammen. Der unterschiedliche Verlauf der Leimspuren kommt durch eine selektive Ansteuerung der Leimventile 32 während des Beleimens eines zu beleimenden Sackbestandteils 1, 2 zustande.
In den Figuren wurden keine Pumpen oder Druckkessel gezeigt, die in der Regel notwendig sind, um den Leim zu fördern und den für die Extrusion notwendigen Leimdruck aufzubauen oder aufrechtzuerhalten. Alle gezeigten und durch die Unteransprüche beschriebenen Ausführungsbeispiele der Erfindung eigenen sich auch für eine indirekte Beleimung von Sackbestandteilen 1, 2 bei der der Leim zunächst auf eine Walze oder eine andere Form übertragen wird, bevor es auf die Sackbestandteile gelangt.Bezugszeichenliste x Förderrichtung der Zettel y Raumrichtung quer zur Förderrichtung der Zettel (horizontal) z Raumrichtung quer zur Förderrichtung der Zettel (vertikal) w Förderrichtung der Sackböden 1 1 Sackboden 2 Zettel 3 Leimspur 4 rechteckiges Klebstoffformat 4a) u-förmiges Klebstoffformat 4b) Klebstoffformat in Form eines rechteckigen Rahmens 10 bekannte Beleimungsstation, vorzugsweise für Zettel 11 Leimzylinder 12 Klischee beziehungsweise Formatteil 13 Klischeezylinder 14 Zangenzylinder 15 Pfeil in Drehrichtung des Zangenzylinders 14 16 Pfeil in Drehrichtung des Klischeezylinders 13 17 Pfeil in Drehrichtung des Leimzylinders 17 18 gestrichelte Linie 19 Sack 20 bekannte Beleimungsstation, vorzugsweise für Kreuzböden 21 Leimreservoir 22 Klischee beziehungsweise Formatteil 23 Klischeezylinder 24 Walzenspalt 25 Achsen der Zylinder 26 gestrichelte Linie, die den Transportweg der Säcke skizziert 27 Drehrichtung der Zylinder 28 Leimübertragungszylinder 29 Gegendruckzylinder 30 erfindungsgemäße Beleimungsstation 31 Auftragskopf bzw. -platte 32 Ventile 32n Ventil der n-ten Ventilreihe 33 Leimzuleitung/Schlauch 40 erfindungsgemäße Beleimungsstation 41 Auftragskopf bzw. -platte 42 Ventile 43 Leimzuleitung/Schlauch 44 in regelmäßigen Abständen unterbrochene Leimspur 45 kurze Leimspur 46 unterbrochene Leimspur 47 durchgehende Leimspur 48 unbeleimter Zettel 50 Auftragskopf 52 Leimkanal in y Richtung (horizontal) am Auftragskopf 53 Leimkanal in y Richtung(horizontal) am Auftragskopf 55 Leimkanal in z-Richtung (vertikal) am Auftragskopf 56 Montageplatte 60 Auftragskopf mit n-Ventilreihen 61 Ventilmontageplatte VRi erste Ventilreihe VRii zweite Ventilreihe VRn n-te Ventilreihe 66 die der zu beleimenden Sackbestandteile abgewandte Seite der Ventilmontageplatte 70 Auftragskopf 71 Leimaustrittsöffnung 72 oberer Leimaustrittskanal 73 unterer Leimaustrittskanal 75 Ventilmontageplatte 76 die der zu beleimenden Sackbestandteile zugewandte Seite der Ventilmontageplatte 77i erste Gruppe von Leimaustrittsöffnungen 77ii zweite Gruppe von Leimaustrittsöffnungen 77iii dritte Gruppe von Leimaustrittsöffnungen A Abstand zwischen zwei Leimaustrittsöffnungen 71 in y-Richtung B Breite des Ventils 32 in y-Richtung C Abstand zwischen zwei in y-Richtung benachbarten oberen Leimaustrittskanälen in y-Richtung D Summe der Abstände zwischen den Leimaustrittsöffnungen 71, welche von einem Ventil mit Leimversorgt werden. 80 Ausführungsbeispiel eines Auftragskopfes o Mittellinie des Auftragskopfes 80 p Mittellinie des Zettel 2 y Raumrichtung quer zur Förderrichtung der Sackbestandteile 101 Leimzulauf 102 (elektrische) Steuerleitung 103 elektromagnetisches Ventil 104 Grundplatte 105 Zwischenplatte 106 Stiftplatte 107 Papier/Folie 108 Klebstoff/Leim (Stärkebasis oder Dispersion) 109 110 Stiftkopf 111 Leimzufluss 112 Stecker 113 Austrittsöffnung 114 Dichtung 115 Kanal 116 Zulauf 117 Leimzuführungsbohrung 118 Stiftsicherung (Sprengring) 119 Formatplattensystem 120 Stift 121 Pfeil in Richtung des Material(107)transports
Claims (32)
- Bodenlegevorrichtung für Kreuzbodenpapiersäcke (1),- welche die Kreuzböden (1) von Papiersäcken bildet,- indem sie Faltungen an Enden der Schlauchabschnitte, aus denen die Säcke (1) hergestellt werden, vornimmt,- die auf diese Weise an den Schlauchenden gefalteten Böden (1) und/oder die für die Beleimung mit den Böden (1) vorgesehene Zettel (2) in Beleimungsstationen (10,20,30,40) mit Leimschichten versieht,- und die gefalteten Böden (1) und die Zettel (2) miteinander in Kontakt bringt und verleimt,- mit zumindest einer Beleimungsstation (10,20,30,40),- welche (10,20,30,40) mit zumindest einem Leimreservoir (21) oder zumindest einer Leimleitung (33,52,53) ausgestattet ist, in dem oder der der Leim einem Druck, der höher als der Umgebungsdruck ist, ausgesetzt ist,- wobei das zumindest eine Leimreservoir (21) oder die zumindest eine Leimleitung (33,52,53,55.72,73) mit mindestens einer Leimaustrittsöffnung (71) versehen ist, durch welche Leim direkt auf die Zettel (2) und/oder gefalteten Böden (1) gebracht wird,- wobei in der zumindest einen Beleimungsstation (10,20,30,40,50,60,70) ein Auftragskopf (31,41,50,60,80) vorgesehen ist, welcher zumindest einen Teil des zumindest einen Leimreservoirs (21) oder der zumindest einen Leimleitung (33,52,53,55,72,73) enthält und dem zumindest eine Leimaustrittsöffnung (71) zugeordnet ist,- die Leimzuführleitungen (33,52,53,55,72,73), welche den Leim den Leimaustrittsöffnungen (71) zuführen, zumindest ein Ventil (32) aufweisen und- wobei an dem Auftragskopf (31,41,50,60,80) Ventile (32) angebracht sind, welche auf der den zu beleimenden Sackbestandteilen abgewandten Seite des Auftragskopfes angebracht sind,dadurch gekennzeichnet,
dass die Ventile durch Bohrungen oder Kammern im Auftragkopf mit Leim versorgbar sind,
dass eine erste Bohrung oder Kammer mit einer Leimzuleitung versehen ist,
dass die eine erste Bohrung oder Kammer und eine zweite Bohrung oder Kammer an der der Leimzuleitung entgegen gesetzten Stirnseite des Auftragskopfes mit einem Leimkanal verbunden sind und
dass die eine zweite Bohrung oder Kammer mit einem Leimablauf versehen ist. - Bodenlegevorrichtung nach Anspruch 1,
dadurch gekennzeichnet, dass
mehr Leimauftragsöffnungen (71) als Ventile (32) an dem Auftragskopf (31,41,50,60,80) vorgesehen sind. - Bodenlegevorrichtung nach einem der vorstehenden Ansprüche,
dadurch gekennzeichnet dass
Bodenlegevorrichtung nach dem vorstehenden Anspruch,
dadurch gekennzeichnet, dass
die zumindest eine Bohrung oder Kammer (52,53) im Wesentlichen quer zur Transportrichtung (x) der Sackbestandteile (1,2) verläuft. - Bodenlegevorrichtung nach einem der vorstehenden Ansprüche,
dadurch gekennzeichnet, dass
der Leimübertrag zwischen der zumindest einen Leimaustrittsöff nung (71) oder anderen leimführenden Teilen der Bodenlegevorrichtung und den Zetteln (2) und/oder gefalteten Böden (1) berührungslos vornehmbar ist. - Bodenlegevorrichtung nach einem der vorstehenden Ansprüche,
dadurch gekennzeichnet, dass
der Auftragskopf (31, 41, 50, 60, 80) eine Mehrzahl von Leimaustrittsöffnungen (71) aufweist. - Bodenlegevorrichtung nach Anspruch 5,
dadurch gekennzeichnet, dass
der Auftragskopf (31,41,50,60,80) plattenartig (61) ausgeprägt ist, wobei die Leimaustrittsöffnungen (71) auf der dem zu beleimenden Sackbestandteil zugewandten Seite (76) vorgesehen sind. - Bodenlegevorrichtung nach einem der vorstehenden Ansprüche,
dadurch gekennzeichnet, dass
zumindest ein Teil der Leimauftragsöffnungen (71) in der quer zur Transportrichtung verlaufenden Raumrichtung (y) einen Abstand (A) voneinander haben, welcher kleiner ist als die Breite (B) der Ventile (32). - Bodenlegevorrichtung nach einem der vorstehenden Ansprüche,
dadurch gekennzeichnet, dass
die Leimauftragsöffnungen (71), welche in dem Auftragskopf (31,41,50,60,80) vorgesehen sind, in einer Linie, welche im wesentlichen quer zur Transportrichtung (y) der zu beleimenden Sackbestandteile (1,2) verläuft, liegen. - Bodenlegevorrichtung nach einem der vorstehenden Ansprüche,
dadurch gekennzeichnet, dass
zumindest ein Teil der Ventile (32) auf dem Auftragskopf (31) in der zu der Förderrichtung (x) der Sackbestandteile (1,2) verlaufenden Richtung versetzt angeordnet ist. - Bodenlegevorrichtung nach dem vorstehenden Anspruch,
dadurch gekennzeichnet, dass
die Ventile (32) in verschiedenen Reihen (VR1,VRn), welche quer (y) zur Förderrichtung (x) der Sackbestandteile (1,2) verlaufen, angeordnet sind. - Bodenlegevorrichtung nach einem der vorstehenden Ansprüche,
dadurch gekennzeichnet, dass
der Auftragskopf (31,41,50,60,80) quer zur Transportrichtung (y) der zu beleimenden Sackbestandteile (1,2) verfahrbar ist. - Bodenlegevorrichtung nach einem der vorstehenden Ansprüche,
dadurch gekennzeichnet, dass
der Auftragskopf (31,41,50,60,80) aus der Leimauftragsposition schwenkbar ist. - Bodenlegevorrichtung nach dem vorstehenden Anspruch,
dadurch gekennzeichnet, dass
der schwenkbare Auftragskopf (31,41,50,60,80) verschiedene, bestimmten Funktionen zugeordnete Stillstandspositionen einnehmen kann. - Bodenlegevorrichtung nach dem vorstehenden Anspruch,
dadurch gekennzeichnet, dass
zumindest zwei Stillstandspositionen des Auftragskopfes (31,41,50,60,80) vorgesehen sind, welche zumindest zweien der folgenden Funktionen zugeordnet sind:- Auftrag von Leim auf die zu beleimenden Sackbestandteile (1,2)- Abdichten der Leimaustrittsöffnungen (71)- Abstreifen des den Auftragskopf (31) verunreinigenden Leimes- Spülen des Auftragskopfes (31) - Bodenlegevorrichtung nach einem der vorstehenden Ansprüche,
dadurch gekennzeichnet, dass
der Abstand der zumindest einen Austrittsöffnung (71) beim Auftragen von Leim auf die zu beleimenden Sackbestandteile (1,2) frei wählbar ist. - Bodenlegevorrichtung nach einem der vorstehenden Ansprüche,
dadurch gekennzeichnet, dass
die zumindest eine Leimleitung (33,52,53,55,72,73) oder das zumindest eine Leimreservoir (21) über einen Wasseranschluss verfügt. - Bodenlegevorrichtung nach dem vorstehenden Anspruch,
dadurch gekennzeichnet, dass
der Wasseranschluss über ein Rückschlagventil verfügt. - Bodenlegevorrichtung nach einem der vorstehenden Ansprüche,
dadurch gekennzeichnet, dass
die zumindest eine Leimleitung (33,52,53,55,72,73) oder das zumindest eine Leimreservoir (21) über zumindest eines der folgenden Merkmale verfügt:- ein Druckentlastungsventil,- einen Drucksensor,- einen Druckregler. - Bodenlegevorrichtung nach einem der vorstehenden Ansprüche,
dadurch gekennzeichnet, dass- der Auftragskopf (31) auf der den zu beleimenden Sackbestandteilen (1,2) zugewandten Seite (76) über einen Vorsprung verfügt,- welcher bei der Beleimung den zu beleimenden Sackbestandteilen (1,2) näher ist als die Austrittsöffnungen (71). - Bodenlegevorrichtung nach einem der vorstehenden Ansprüche,
dadurch gekennzeichnet, dass
der Auftragskopf (31) über flexible Leitungen mit Leim und/oder Wasser versorgt wird. - Bodenlegevorrichtung nach einem der vorstehenden Ansprüche,
dadurch gekennzeichnet, dass- zumindest ein Ventil (32), welches zumindest eine Leimaustrittsöffnung (71) mit Leim versorgt, unabhängig von den anderen Ventilen (32) ansteuerbar ist,- so dass der Auftrag der von der zumindest einen Leimauftragsöffnung (71) erzeugten Leimspur (3) wahlweise gestartet und gestoppt werden kann. - Bodenlegevorrichtung nach dem vorstehenden Anspruch,
dadurch gekennzeichnet, dass
das Öffnen und Schließen des zumindest einen Ventils (32) auch während der Beleimung eines zu beleimenden Sackbestandteils (1,2) vornehmbar ist. - Bodenlegevorrichtung nach einem der vorstehenden Ansprüche,
dadurch gekennzeichnet, dass
mindestens fünf Ventile (32) vorgesehen sind. - Vorrichtung nach Anspruch 7,
dadurch gekennzeichnet, dass
die Summe (D) der Abstände (A) der Leimausrittsöffnungen, welche von einem Ventil mit Leim gespeist werden, in der quer (y) zur Transportrichtung (x) der zu beleimenden Sackbestandteile (1,2) verlaufenden Raumrichtung kleiner ist als die Breite (B) der Ventile (32). - Vorrichtung nach einem der vorstehenden Ansprüche,
dadurch gekennzeichnet, dass
die Leimkanäle (52,53), welche den Leim zu einer Mehrzahl von Ventilen (32) transportieren, eine gemeinsame Querschnittsfläche aufweisen, welche mindestens halb so groß ist wie die Summe der Querschnittsflächen der Leimaustrittsöffnungen (71), durch die dieser Leim extrudiert wird. - Vorrichtung nach einem der vorstehenden Ansprüche,
dadurch gekennzeichnet, dass
eine harte Gegenlage - vorzugsweise ein metallener Zylinder - vorgesehen ist, auf welchem sich die zu beleimenden Sackbestandteile (1,2) während des Beleimens befinden. - Vorrichtung nach einem der vorstehenden Ansprüche,
dadurch gekennzeichnet, dass
in der Transportrichtung des Leims nach den Ventilen weitere Verschlüsse vorgesehen sind, mit denen die Leimkanäle (72,73,77,115) und/oder Leimaustrittsöffnungen (71,113) verschließbar sind. - Vorrichtung nach dem vorstehenden Anspruch,
dadurch gekennzeichnet, dass
die Verschließbarkeit der Leimkanäle (72,73,77,115) und/oder Leimaustrittsöffnungen (71,113) durch Stifte (120) und/oder Schrauben gewährleistet wird. - Vorrichtung nach dem vorstehenden Anspruch,
dadurch gekennzeichnet, dass
der Verschluss der Kanäle (115) und/oder Leimaustrittsöffnungen mit Stiften (120) erfolgt, welche in einem Formatplattensystem (119) drehbar gehaltert sind,
welche (120) über einen Leimdurchlass verfügen,
der bei einer Drehung der Stifte (120) die Kanäle (115) und/oder Austrittsöffnungen (113) verschließt. - Vorrichtung nach Anspruch 30,
dadurch gekennzeichnet, dass
Stifte (120) oder Schrauben zumindest in einen Teil der Austrittsöffnungen (113) eingeführt werden,
wobei die Hauptträgheitsachsen der Stifte (120) oder Schrauben mit der Achse der Austrittsöffnung (113) zusammenfallen. - Verfahren zum Betrieb einer Bodenlegevorrichtung nach einem der vorstehenden Ansprüche,
dadurch gekennzeichnet, dass- zumindest ein Ventil (32),- welches bei der Bildung eines bestimmten Leimformats (4) aktiv ist,- während der Beleimung eines Sackbestandteils (1,2) zu anderen Zeitpunkten geöffnet oder geschlossen wird als die anderen Ventile (32). - Verfahren nach dem vorstehenden Anspruch,
dadurch gekennzeichnet, dass
der Zeitraum zwischen dem Öffnen und Schließen des Ventils (32) weniger als 5 ms beträgt.
Applications Claiming Priority (9)
| Application Number | Priority Date | Filing Date | Title |
|---|---|---|---|
| DE10243230 | 2002-09-13 | ||
| DE10242732 | 2002-09-13 | ||
| DE10243230 | 2002-09-13 | ||
| DE10242539 | 2002-09-13 | ||
| DE10242732A DE10242732A1 (de) | 2002-09-13 | 2002-09-13 | Bedienungsstation und ein Bedienverfahren für einen Kreuzbodenleger |
| DE10242539 | 2002-09-13 | ||
| DE10309893 | 2003-03-05 | ||
| DE10309893.3A DE10309893B4 (de) | 2002-09-13 | 2003-03-05 | Bodenlegevorrichtung für Papiersäcke sowie Verfahren zum Betrieb einer Bodenlegevorrichtung |
| PCT/EP2003/009663 WO2004033113A1 (de) | 2002-09-13 | 2003-08-29 | Bodenlegevorrichtung für papiersäcke |
Publications (3)
| Publication Number | Publication Date |
|---|---|
| EP1539373A1 EP1539373A1 (de) | 2005-06-15 |
| EP1539373B1 EP1539373B1 (de) | 2009-01-21 |
| EP1539373B9 true EP1539373B9 (de) | 2009-09-02 |
Family
ID=32096962
Family Applications (1)
| Application Number | Title | Priority Date | Filing Date |
|---|---|---|---|
| EP03773616A Expired - Lifetime EP1539373B9 (de) | 2002-09-13 | 2003-08-29 | Bodenlegevorrichtung für papiersäcke |
Country Status (9)
| Country | Link |
|---|---|
| US (1) | US7731647B2 (de) |
| EP (1) | EP1539373B9 (de) |
| JP (1) | JP4648189B2 (de) |
| AT (1) | ATE421388T1 (de) |
| AU (1) | AU2003282007A1 (de) |
| BR (1) | BR0311895B1 (de) |
| DE (1) | DE50311128D1 (de) |
| ES (1) | ES2321604T3 (de) |
| WO (1) | WO2004033113A1 (de) |
Families Citing this family (6)
| Publication number | Priority date | Publication date | Assignee | Title |
|---|---|---|---|---|
| ITFI20040046A1 (it) * | 2004-02-24 | 2004-05-24 | Fabio Perini | Macchina e metodo per produrre tubi di cartone |
| EP2346676B1 (de) * | 2008-10-27 | 2012-08-08 | Windmöller & Hölscher KG | Vorrichtung und ein verfahren zur weiterverarbeitung von sackhalbzeugen sowie beleimungsstation für sackhalbzeuge |
| EP2392452B1 (de) * | 2010-06-02 | 2017-04-19 | Windmöller & Hölscher KG | Vorrichtung und Verfahren zur Erzeugung von Schläuchen oder Schlauchabschnitten |
| TWM448450U (zh) * | 2012-05-30 | 2013-03-11 | yao-zhang Lin | 可作淋膜編織袋貼合包底之全自動製袋機 |
| WO2020097354A2 (en) * | 2018-11-09 | 2020-05-14 | Illinois Tool Works Inc. | Modular fluid application device for varying fluid coat weight |
| CN113002063A (zh) * | 2021-03-26 | 2021-06-22 | 上海艾录包装股份有限公司 | 一种防脱胶的点胶机构 |
Family Cites Families (41)
| Publication number | Priority date | Publication date | Assignee | Title |
|---|---|---|---|---|
| DE81100C (de) | ||||
| DE1107062B (de) | 1960-04-21 | 1961-05-18 | Willy Hesselmann | Vorrichtung zum Auftragen fluessiger oder pasteuser Substanzen |
| US3286689A (en) * | 1963-10-14 | 1966-11-22 | Textile Machine Works | Adhesive applicator |
| US3669067A (en) * | 1967-09-29 | 1972-06-13 | Boise Cascade Corp | Apparatus for impregnating corrugated cardboard |
| DE2201744C2 (de) * | 1972-01-14 | 1982-04-22 | Boise Cascade Corp., 83728 Boise, Id. | Verfahren und Vorrichtung zur Hohlraumimprägnierung einer Wellpappenbahn |
| US4256526A (en) * | 1977-08-10 | 1981-03-17 | Nordson Corporation | Method for applying a hot melt adhesive pattern to a moving substrate |
| US4156398A (en) * | 1977-08-10 | 1979-05-29 | Nordson Corporation | Apparatus for applying a hot melt adhesive pattern to a moving substrate |
| US4157149A (en) * | 1977-10-31 | 1979-06-05 | Moen Lenard E | Multiple nozzle fluid dispenser for complex fluid delivery patterns |
| DE3020043A1 (de) | 1980-05-24 | 1981-12-03 | Bischof Und Klein Gmbh & Co, 4540 Lengerich | Kreuzbodensack |
| US4343259A (en) * | 1980-07-11 | 1982-08-10 | Weyerhaeuser Company | Apparatus for applying adhesive in corrugated board manufacture |
| JPS6225260Y2 (de) * | 1981-03-26 | 1987-06-27 | ||
| US4430147A (en) * | 1981-09-03 | 1984-02-07 | Kliklok Corporation | Hot melt adhesive applicators |
| JPS58124265U (ja) * | 1982-02-15 | 1983-08-24 | ニユ−ロング株式会社 | ホツトメルト接着剤塗布装置における熱ヒ−タ− |
| US4488665A (en) * | 1982-05-24 | 1984-12-18 | Spraymation, Inc. | Multiple-outlet adhesive applicator apparatus and method |
| DE3506393A1 (de) | 1985-02-23 | 1986-08-28 | Windmöller & Hölscher, 4540 Lengerich | Leimauftragsvorrichtung |
| US4687137A (en) * | 1986-03-20 | 1987-08-18 | Nordson Corporation | Continuous/intermittent adhesive dispensing apparatus |
| US4874451A (en) * | 1986-03-20 | 1989-10-17 | Nordson Corporation | Method of forming a disposable diaper with continuous/intermittent rows of adhesive |
| EP0275337B1 (de) * | 1987-01-20 | 1990-06-27 | Nordson Corporation | Geschlossene Schachtel und Verfahren und Vorrichtung zum Abgeben von Leim zu deren Herstellung |
| DE3804856A1 (de) * | 1988-02-17 | 1989-08-31 | Macon Gmbh Klebstoff Auftragsg | Vorrichtung zum flaechigen auftragen von leim oder dergleichen |
| DE9014548U1 (de) | 1990-10-20 | 1991-01-03 | Bischof Und Klein Gmbh & Co, 4540 Lengerich | Flexibles Verpackungsbehältnis in Form eines Ventilsackes oder -beutels |
| JPH06285418A (ja) * | 1993-04-07 | 1994-10-11 | Kao Corp | 粘性体の塗布方法 |
| DE9410692U1 (de) * | 1994-07-02 | 1994-09-22 | Paridis, Georgios, 42327 Wuppertal | Vorrichtung zum Auftragen von Klebstoff insbesondere auf Teppich-Sockelleisten |
| DE19521478C1 (de) * | 1995-06-13 | 1996-09-12 | Itw Dynatec Gmbh Klebetechnik | Auftragskopf zur dosierten Abgabe von strömenden Medien |
| DE19522619C2 (de) * | 1995-06-22 | 1998-11-12 | Fischer & Krecke Gmbh & Co | Verfahren zur Herstellung von Bodenbeuteln mit Innenriegel |
| JP3559110B2 (ja) * | 1995-07-28 | 2004-08-25 | ザ・パック株式会社 | 合成樹脂フィルムがラミネートされた立体紙袋及びその製造方法 |
| JPH09142488A (ja) * | 1995-11-13 | 1997-06-03 | Chuetsu Package Kk | 紙 袋 |
| US5740963A (en) * | 1997-01-07 | 1998-04-21 | Nordson Corporation | Self-sealing slot nozzle die |
| DE19719000A1 (de) * | 1997-05-06 | 1998-11-12 | Focke & Co | Verfahren und Vorrichtung zum Aufbringen von Leim auf Zuschnitte für Packungen |
| IT1295199B1 (it) | 1997-09-26 | 1999-05-04 | Gd Spa | Metodo di controllo di un'unita' di gommatura. |
| US6368409B1 (en) * | 1997-11-25 | 2002-04-09 | Nordson Corporation | Electrostatic dispensing apparatus and method |
| DE19842266B4 (de) | 1998-09-15 | 2004-11-04 | Windmöller & Hölscher Kg | Verfahren zum Steuern von Klebstoffaufträgen auf kontinuierlich bewegte Sack- oder Beutelwerkstücke |
| DE19935117B4 (de) | 1999-07-27 | 2004-11-25 | Windmöller & Hölscher Kg | Vorrichtung zum Aufbringen von formatmäßigen Klebstoffaufträgen auf eine Übertragungswalze |
| US6342264B1 (en) * | 1999-10-29 | 2002-01-29 | Nordson Corporation | Method and apparatus for dispensing material onto substrates |
| US6401976B1 (en) * | 2000-03-23 | 2002-06-11 | Nordson Corporation | Electrically operated viscous fluid dispensing apparatus and method |
| JP2002045782A (ja) * | 2000-08-01 | 2002-02-12 | Nordson Kk | 接着剤の塗布方法 |
| AU2002234531B2 (en) * | 2000-12-01 | 2005-12-15 | Henkel Kommanditgesellschaft Auf Aktien | Device for regulated application of adhesives and/or sealants |
| DE20100107U1 (de) | 2000-12-01 | 2001-04-26 | Henkel KGaA, 40589 Düsseldorf | Vorrichtung zum geregelten Auftragen von Kleb- und/oder Dichtstoffen |
| US6673152B2 (en) * | 2001-11-07 | 2004-01-06 | Nordson Corporation | Right angle gluer |
| US6932870B2 (en) * | 2002-05-03 | 2005-08-23 | Kimberly-Clark Worldwide, Inc. | System and process for dispensing an adhesive onto a core during the formation of rolled products |
| US6805660B1 (en) * | 2003-04-07 | 2004-10-19 | Doug Finch | Process for manufacturing a flat-bottom bag and bag formed thereby |
| US6955722B2 (en) * | 2003-06-27 | 2005-10-18 | S.C. Johnson Home Storage, Inc. | Method and apparatus for application of a material to a substrate |
-
2003
- 2003-08-29 EP EP03773616A patent/EP1539373B9/de not_active Expired - Lifetime
- 2003-08-29 JP JP2005500973A patent/JP4648189B2/ja not_active Expired - Fee Related
- 2003-08-29 BR BRPI0311895-9A patent/BR0311895B1/pt not_active IP Right Cessation
- 2003-08-29 AT AT03773616T patent/ATE421388T1/de active
- 2003-08-29 ES ES03773616T patent/ES2321604T3/es not_active Expired - Lifetime
- 2003-08-29 US US10/524,266 patent/US7731647B2/en not_active Expired - Fee Related
- 2003-08-29 AU AU2003282007A patent/AU2003282007A1/en not_active Abandoned
- 2003-08-29 DE DE50311128T patent/DE50311128D1/de not_active Expired - Lifetime
- 2003-08-29 WO PCT/EP2003/009663 patent/WO2004033113A1/de not_active Ceased
Also Published As
| Publication number | Publication date |
|---|---|
| JP2006514891A (ja) | 2006-05-18 |
| US20060048899A1 (en) | 2006-03-09 |
| DE50311128D1 (de) | 2009-03-12 |
| WO2004033113A1 (de) | 2004-04-22 |
| ES2321604T3 (es) | 2009-06-09 |
| AU2003282007A1 (en) | 2004-05-04 |
| EP1539373A1 (de) | 2005-06-15 |
| ATE421388T1 (de) | 2009-02-15 |
| US7731647B2 (en) | 2010-06-08 |
| EP1539373B1 (de) | 2009-01-21 |
| BR0311895A (pt) | 2005-04-05 |
| JP4648189B2 (ja) | 2011-03-09 |
| BR0311895B1 (pt) | 2011-02-22 |
Similar Documents
| Publication | Publication Date | Title |
|---|---|---|
| DE10309893B4 (de) | Bodenlegevorrichtung für Papiersäcke sowie Verfahren zum Betrieb einer Bodenlegevorrichtung | |
| DE69511458T2 (de) | Etiketten und Verfahren zu deren Herstellung | |
| DE4224235C5 (de) | Breiten-Einstellvorrichtung für eine Papierbahn, sowie damit ausgestattete Rotationspresse | |
| EP1648688B1 (de) | Bodenlegevorrichtung für papiersäcke | |
| WO1998055278A1 (de) | Verfahren sowie einrichtung zum querperforieren einer laufenden papierbahn | |
| DE10327646B4 (de) | Vorrichtung zur Bildung eines Leimprofils für Kreuzbodensäcke | |
| EP3254767A2 (de) | Bodenlegevorrichtung zur herstellung von säcken | |
| EP1539373B9 (de) | Bodenlegevorrichtung für papiersäcke | |
| EP1646495B1 (de) | Bodenlegevorrichtung für papiersäcke | |
| EP1539374B1 (de) | Vorrichtung zur bildung eines leimprofils für kreuzbodensäcke | |
| EP1539471A1 (de) | Bedienungsstation und ein bedienverfahren f r einen kreuzbod enleger | |
| EP3851271A1 (de) | Verfahren und vorrichtung zur herstellung einzelner schlauchstücke sowie schlauchstücke und säcke | |
| EP1155831A2 (de) | Heissprägeverfahren und Heissprägevorrichtung | |
| EP2346676B1 (de) | Vorrichtung und ein verfahren zur weiterverarbeitung von sackhalbzeugen sowie beleimungsstation für sackhalbzeuge | |
| DE102011108954A1 (de) | Vorrichtung zum Stanzen mit hydrostatischer Zylinderlagerung | |
| EP2344328B1 (de) | Verfahren und vorrichtung zur weiterverarbeitung von sackhalbzeugen | |
| DE2048079A1 (de) | Verfahren und Vorrichtung zum Kontak tieren | |
| DE2026050B2 (de) | Verfahren zum bearbeiten mehrerer bahneinheiten | |
| DE102004018401A1 (de) | Verfahren und Vorrichtung zur Voreinstellung einer Druckmaschine | |
| EP3381685B1 (de) | Druckmaschine | |
| DE102008053032B4 (de) | Vorrichtung zur Herstellung von Säcken unterschiedlichen Formats sowie Beleimungsstation | |
| DE102013113289A1 (de) | Vorrichtung sowie Verfahren zum Schneiden eines Bahnmaterials in Teilbahnen und Spreizen der Teilbahnen | |
| EP1502887B1 (de) | Verfahren zur Voreinstellung einer Druckmaschine | |
| DE69611429T2 (de) | Verfahren und vorrichtung zum wärmen und kontinuierlichen beschichten von schmelzklebstoff auf einer kunststofffolie | |
| DE2230161A1 (de) | Vorrichtung zum gummieren von papierboegen |
Legal Events
| Date | Code | Title | Description |
|---|---|---|---|
| PUAI | Public reference made under article 153(3) epc to a published international application that has entered the european phase |
Free format text: ORIGINAL CODE: 0009012 |
|
| 17P | Request for examination filed |
Effective date: 20050413 |
|
| AK | Designated contracting states |
Kind code of ref document: A1 Designated state(s): AT BE BG CH CY CZ DE DK EE ES FI FR GB GR HU IE IT LI LU MC NL PT RO SE SI SK TR |
|
| AX | Request for extension of the european patent |
Extension state: AL LT LV MK |
|
| DAX | Request for extension of the european patent (deleted) | ||
| 17Q | First examination report despatched |
Effective date: 20061124 |
|
| GRAP | Despatch of communication of intention to grant a patent |
Free format text: ORIGINAL CODE: EPIDOSNIGR1 |
|
| GRAS | Grant fee paid |
Free format text: ORIGINAL CODE: EPIDOSNIGR3 |
|
| GRAA | (expected) grant |
Free format text: ORIGINAL CODE: 0009210 |
|
| AK | Designated contracting states |
Kind code of ref document: B1 Designated state(s): AT BE BG CH CY CZ DE DK EE ES FI FR GB GR HU IE IT LI LU MC NL PT RO SE SI SK TR |
|
| REG | Reference to a national code |
Ref country code: GB Ref legal event code: FG4D Free format text: NOT ENGLISH |
|
| REG | Reference to a national code |
Ref country code: CH Ref legal event code: EP |
|
| REG | Reference to a national code |
Ref country code: IE Ref legal event code: FG4D Free format text: LANGUAGE OF EP DOCUMENT: GERMAN |
|
| REF | Corresponds to: |
Ref document number: 50311128 Country of ref document: DE Date of ref document: 20090312 Kind code of ref document: P |
|
| REG | Reference to a national code |
Ref country code: ES Ref legal event code: FG2A Ref document number: 2321604 Country of ref document: ES Kind code of ref document: T3 |
|
| PG25 | Lapsed in a contracting state [announced via postgrant information from national office to epo] |
Ref country code: FI Free format text: LAPSE BECAUSE OF FAILURE TO SUBMIT A TRANSLATION OF THE DESCRIPTION OR TO PAY THE FEE WITHIN THE PRESCRIBED TIME-LIMIT Effective date: 20090121 Ref country code: SI Free format text: LAPSE BECAUSE OF FAILURE TO SUBMIT A TRANSLATION OF THE DESCRIPTION OR TO PAY THE FEE WITHIN THE PRESCRIBED TIME-LIMIT Effective date: 20090121 |
|
| REG | Reference to a national code |
Ref country code: IE Ref legal event code: FD4D |
|
| PG25 | Lapsed in a contracting state [announced via postgrant information from national office to epo] |
Ref country code: PT Free format text: LAPSE BECAUSE OF FAILURE TO SUBMIT A TRANSLATION OF THE DESCRIPTION OR TO PAY THE FEE WITHIN THE PRESCRIBED TIME-LIMIT Effective date: 20090622 Ref country code: SE Free format text: LAPSE BECAUSE OF FAILURE TO SUBMIT A TRANSLATION OF THE DESCRIPTION OR TO PAY THE FEE WITHIN THE PRESCRIBED TIME-LIMIT Effective date: 20090421 |
|
| PG25 | Lapsed in a contracting state [announced via postgrant information from national office to epo] |
Ref country code: IE Free format text: LAPSE BECAUSE OF FAILURE TO SUBMIT A TRANSLATION OF THE DESCRIPTION OR TO PAY THE FEE WITHIN THE PRESCRIBED TIME-LIMIT Effective date: 20090121 Ref country code: CZ Free format text: LAPSE BECAUSE OF FAILURE TO SUBMIT A TRANSLATION OF THE DESCRIPTION OR TO PAY THE FEE WITHIN THE PRESCRIBED TIME-LIMIT Effective date: 20090121 Ref country code: EE Free format text: LAPSE BECAUSE OF FAILURE TO SUBMIT A TRANSLATION OF THE DESCRIPTION OR TO PAY THE FEE WITHIN THE PRESCRIBED TIME-LIMIT Effective date: 20090121 Ref country code: DK Free format text: LAPSE BECAUSE OF FAILURE TO SUBMIT A TRANSLATION OF THE DESCRIPTION OR TO PAY THE FEE WITHIN THE PRESCRIBED TIME-LIMIT Effective date: 20090121 |
|
| PLBE | No opposition filed within time limit |
Free format text: ORIGINAL CODE: 0009261 |
|
| STAA | Information on the status of an ep patent application or granted ep patent |
Free format text: STATUS: NO OPPOSITION FILED WITHIN TIME LIMIT |
|
| PG25 | Lapsed in a contracting state [announced via postgrant information from national office to epo] |
Ref country code: SK Free format text: LAPSE BECAUSE OF FAILURE TO SUBMIT A TRANSLATION OF THE DESCRIPTION OR TO PAY THE FEE WITHIN THE PRESCRIBED TIME-LIMIT Effective date: 20090121 Ref country code: RO Free format text: LAPSE BECAUSE OF FAILURE TO SUBMIT A TRANSLATION OF THE DESCRIPTION OR TO PAY THE FEE WITHIN THE PRESCRIBED TIME-LIMIT Effective date: 20090121 |
|
| 26N | No opposition filed |
Effective date: 20091022 |
|
| PG25 | Lapsed in a contracting state [announced via postgrant information from national office to epo] |
Ref country code: BG Free format text: LAPSE BECAUSE OF FAILURE TO SUBMIT A TRANSLATION OF THE DESCRIPTION OR TO PAY THE FEE WITHIN THE PRESCRIBED TIME-LIMIT Effective date: 20090421 |
|
| PG25 | Lapsed in a contracting state [announced via postgrant information from national office to epo] |
Ref country code: MC Free format text: LAPSE BECAUSE OF NON-PAYMENT OF DUE FEES Effective date: 20090831 |
|
| REG | Reference to a national code |
Ref country code: CH Ref legal event code: PL |
|
| GBPC | Gb: european patent ceased through non-payment of renewal fee |
Effective date: 20090829 |
|
| PG25 | Lapsed in a contracting state [announced via postgrant information from national office to epo] |
Ref country code: LI Free format text: LAPSE BECAUSE OF NON-PAYMENT OF DUE FEES Effective date: 20090831 Ref country code: CH Free format text: LAPSE BECAUSE OF NON-PAYMENT OF DUE FEES Effective date: 20090831 |
|
| PG25 | Lapsed in a contracting state [announced via postgrant information from national office to epo] |
Ref country code: GR Free format text: LAPSE BECAUSE OF FAILURE TO SUBMIT A TRANSLATION OF THE DESCRIPTION OR TO PAY THE FEE WITHIN THE PRESCRIBED TIME-LIMIT Effective date: 20090422 |
|
| PG25 | Lapsed in a contracting state [announced via postgrant information from national office to epo] |
Ref country code: GB Free format text: LAPSE BECAUSE OF NON-PAYMENT OF DUE FEES Effective date: 20090829 |
|
| PG25 | Lapsed in a contracting state [announced via postgrant information from national office to epo] |
Ref country code: LU Free format text: LAPSE BECAUSE OF NON-PAYMENT OF DUE FEES Effective date: 20090829 |
|
| PG25 | Lapsed in a contracting state [announced via postgrant information from national office to epo] |
Ref country code: HU Free format text: LAPSE BECAUSE OF FAILURE TO SUBMIT A TRANSLATION OF THE DESCRIPTION OR TO PAY THE FEE WITHIN THE PRESCRIBED TIME-LIMIT Effective date: 20090722 |
|
| PG25 | Lapsed in a contracting state [announced via postgrant information from national office to epo] |
Ref country code: CY Free format text: LAPSE BECAUSE OF FAILURE TO SUBMIT A TRANSLATION OF THE DESCRIPTION OR TO PAY THE FEE WITHIN THE PRESCRIBED TIME-LIMIT Effective date: 20090121 |
|
| REG | Reference to a national code |
Ref country code: FR Ref legal event code: PLFP Year of fee payment: 14 |
|
| REG | Reference to a national code |
Ref country code: FR Ref legal event code: PLFP Year of fee payment: 15 |
|
| REG | Reference to a national code |
Ref country code: FR Ref legal event code: PLFP Year of fee payment: 16 |
|
| PGFP | Annual fee paid to national office [announced via postgrant information from national office to epo] |
Ref country code: TR Payment date: 20190808 Year of fee payment: 17 Ref country code: NL Payment date: 20190829 Year of fee payment: 17 |
|
| PGFP | Annual fee paid to national office [announced via postgrant information from national office to epo] |
Ref country code: BE Payment date: 20190829 Year of fee payment: 17 |
|
| PGFP | Annual fee paid to national office [announced via postgrant information from national office to epo] |
Ref country code: AT Payment date: 20190820 Year of fee payment: 17 |
|
| PGFP | Annual fee paid to national office [announced via postgrant information from national office to epo] |
Ref country code: DE Payment date: 20200831 Year of fee payment: 18 Ref country code: ES Payment date: 20200923 Year of fee payment: 18 Ref country code: FR Payment date: 20200824 Year of fee payment: 18 |
|
| PGFP | Annual fee paid to national office [announced via postgrant information from national office to epo] |
Ref country code: IT Payment date: 20200820 Year of fee payment: 18 |
|
| REG | Reference to a national code |
Ref country code: NL Ref legal event code: MM Effective date: 20200901 |
|
| REG | Reference to a national code |
Ref country code: AT Ref legal event code: MM01 Ref document number: 421388 Country of ref document: AT Kind code of ref document: T Effective date: 20200829 |
|
| REG | Reference to a national code |
Ref country code: BE Ref legal event code: MM Effective date: 20200831 |
|
| PG25 | Lapsed in a contracting state [announced via postgrant information from national office to epo] |
Ref country code: AT Free format text: LAPSE BECAUSE OF NON-PAYMENT OF DUE FEES Effective date: 20200829 |
|
| PG25 | Lapsed in a contracting state [announced via postgrant information from national office to epo] |
Ref country code: BE Free format text: LAPSE BECAUSE OF NON-PAYMENT OF DUE FEES Effective date: 20200831 |
|
| PG25 | Lapsed in a contracting state [announced via postgrant information from national office to epo] |
Ref country code: NL Free format text: LAPSE BECAUSE OF NON-PAYMENT OF DUE FEES Effective date: 20200901 |
|
| REG | Reference to a national code |
Ref country code: DE Ref legal event code: R119 Ref document number: 50311128 Country of ref document: DE |
|
| PG25 | Lapsed in a contracting state [announced via postgrant information from national office to epo] |
Ref country code: TR Free format text: LAPSE BECAUSE OF NON-PAYMENT OF DUE FEES Effective date: 20200829 |
|
| PG25 | Lapsed in a contracting state [announced via postgrant information from national office to epo] |
Ref country code: IT Free format text: LAPSE BECAUSE OF NON-PAYMENT OF DUE FEES Effective date: 20210829 Ref country code: FR Free format text: LAPSE BECAUSE OF NON-PAYMENT OF DUE FEES Effective date: 20210831 Ref country code: DE Free format text: LAPSE BECAUSE OF NON-PAYMENT OF DUE FEES Effective date: 20220301 |
|
| REG | Reference to a national code |
Ref country code: ES Ref legal event code: FD2A Effective date: 20220930 |
|
| PG25 | Lapsed in a contracting state [announced via postgrant information from national office to epo] |
Ref country code: ES Free format text: LAPSE BECAUSE OF NON-PAYMENT OF DUE FEES Effective date: 20210830 |