EP1536066B1 - Schallschutzelement - Google Patents
Schallschutzelement Download PDFInfo
- Publication number
- EP1536066B1 EP1536066B1 EP04014299A EP04014299A EP1536066B1 EP 1536066 B1 EP1536066 B1 EP 1536066B1 EP 04014299 A EP04014299 A EP 04014299A EP 04014299 A EP04014299 A EP 04014299A EP 1536066 B1 EP1536066 B1 EP 1536066B1
- Authority
- EP
- European Patent Office
- Prior art keywords
- sound
- soundproofing element
- element according
- absorption structure
- soundproofing
- Prior art date
- Legal status (The legal status is an assumption and is not a legal conclusion. Google has not performed a legal analysis and makes no representation as to the accuracy of the status listed.)
- Expired - Lifetime
Links
- 230000004888 barrier function Effects 0.000 claims abstract description 21
- 239000002250 absorbent Substances 0.000 claims abstract description 15
- 238000010521 absorption reaction Methods 0.000 claims description 25
- 239000000463 material Substances 0.000 claims description 23
- 239000006096 absorbing agent Substances 0.000 claims description 18
- 229910052782 aluminium Inorganic materials 0.000 claims description 6
- XAGFODPZIPBFFR-UHFFFAOYSA-N aluminium Chemical compound [Al] XAGFODPZIPBFFR-UHFFFAOYSA-N 0.000 claims description 6
- 229910052751 metal Inorganic materials 0.000 claims description 6
- 239000002184 metal Substances 0.000 claims description 6
- 239000004033 plastic Substances 0.000 claims description 4
- 229920003023 plastic Polymers 0.000 claims description 4
- 239000012780 transparent material Substances 0.000 claims description 4
- 239000011521 glass Substances 0.000 claims description 3
- 238000010276 construction Methods 0.000 claims description 2
- 229920003229 poly(methyl methacrylate) Polymers 0.000 claims description 2
- 239000004926 polymethyl methacrylate Substances 0.000 claims description 2
- 239000013535 sea water Substances 0.000 claims description 2
- 239000004411 aluminium Substances 0.000 claims 2
- 239000000835 fiber Substances 0.000 claims 1
- 229910052500 inorganic mineral Inorganic materials 0.000 claims 1
- 239000011707 mineral Substances 0.000 claims 1
- 230000000007 visual effect Effects 0.000 description 5
- 238000009413 insulation Methods 0.000 description 4
- 239000011435 rock Substances 0.000 description 3
- 230000002745 absorbent Effects 0.000 description 1
- 239000000853 adhesive Substances 0.000 description 1
- 230000001070 adhesive effect Effects 0.000 description 1
- 239000003795 chemical substances by application Substances 0.000 description 1
- 230000001419 dependent effect Effects 0.000 description 1
- 238000011161 development Methods 0.000 description 1
- 230000018109 developmental process Effects 0.000 description 1
- 230000006355 external stress Effects 0.000 description 1
- 238000004519 manufacturing process Methods 0.000 description 1
- 239000002557 mineral fiber Substances 0.000 description 1
- 238000005457 optimization Methods 0.000 description 1
- 150000003839 salts Chemical class 0.000 description 1
Images
Classifications
-
- E—FIXED CONSTRUCTIONS
- E01—CONSTRUCTION OF ROADS, RAILWAYS, OR BRIDGES
- E01F—ADDITIONAL WORK, SUCH AS EQUIPPING ROADS OR THE CONSTRUCTION OF PLATFORMS, HELICOPTER LANDING STAGES, SIGNS, SNOW FENCES, OR THE LIKE
- E01F8/00—Arrangements for absorbing or reflecting air-transmitted noise from road or railway traffic
- E01F8/0005—Arrangements for absorbing or reflecting air-transmitted noise from road or railway traffic used in a wall type arrangement
- E01F8/0017—Plate-like elements
-
- E—FIXED CONSTRUCTIONS
- E01—CONSTRUCTION OF ROADS, RAILWAYS, OR BRIDGES
- E01F—ADDITIONAL WORK, SUCH AS EQUIPPING ROADS OR THE CONSTRUCTION OF PLATFORMS, HELICOPTER LANDING STAGES, SIGNS, SNOW FENCES, OR THE LIKE
- E01F8/00—Arrangements for absorbing or reflecting air-transmitted noise from road or railway traffic
- E01F8/0005—Arrangements for absorbing or reflecting air-transmitted noise from road or railway traffic used in a wall type arrangement
- E01F8/0023—Details, e.g. foundations
Definitions
- the invention relates to a soundproofing element and a noise barrier, in particular for roads, highways, railways u. like.
- Noise barriers, noise barriers or noise barriers are used everywhere where citizens are to be protected from noise, especially traffic noise. Noise barriers, however, can not be poured everywhere due to the large space requirement. Especially at the edge of roads, highways and railways is the space available for noise protection often low. Only narrow noise barriers or noise barriers can be used in these areas. At noise barriers high demands are made. They must absorb the sound in the best possible way, be weather-resistant, robust against falling rocks or vandalism and be cost-effective. At the same time, the visual impression is important. Inner city areas should not be spoiled by concrete walls, and motorists and train passengers should not be completely excluded from the environment. Noise barriers are therefore at least partially transparent.
- the soundproofing element described therein has two posts that hold a sound-absorbing insert of transparent material. In addition to the posts are still a cross member on the ground and a cross member to about two-thirds of the height of the sound-absorbing insert for holding just this provided.
- the aforementioned soundproofing element Due to its structure, the aforementioned soundproofing element is largely transparent. However, the visual impression and the transparency are disturbed by the massive cross members. In addition, the sound absorption of the soundproofing element is not optimal.
- a soundproofing element is known, is dispensed with the cross member.
- the sound insulation element itself consists only of a self-supporting, transparent, sound-absorbing insert.
- To build a noise barrier several of these sound insulation elements are lined up and connected. At the ends of the noise barrier posts are provided, which serve to hold the respective edge sound insulation elements.
- the soundproofing element described above Even with the soundproofing element described above, the soundproofing is not optimal. Likewise, it is not necessarily desirable to have a completely free view of a busy traffic route, especially in the inner-city area.
- FR 2 551 784 A3 a soundproofing element is known in which a sound-absorbing insert is held in a profile frame.
- a sound absorbing structure disposed between the sound absorbing liner and the profile frame. The sound absorption structure surrounds the sound-absorbing insert in its edge region, but leaves the middle area free. The problem with this arrangement is that the additional sound absorption structure is at least partially exposed to the weather conditions unprotected.
- the present invention is based on the problem of performing a soundproofing element of the type in question as weather resistant and robust as possible, at the same time to ensure optimum sound insulation and to achieve a pleasant visual impression. Along with this, noise barriers should also be optimized.
- the sound absorption structure comprises a core of absorber material surrounded by a moisture protection cover at least on the sides which are exposed to the weather, and an outer support element is provided which simultaneously serves as a support for the absorber material and as protection against falling rocks or vandalism serves.
- the additional sound absorption structure covers the sound-absorbing liner peripherally circumferential.
- the central region of the soundproofing element remains transparent.
- sound passage openings should be provided in the sides of the support element which are primarily acted upon by sound waves.
- the free area thus formed should be about 60% to about 90% of the total area, preferably about 70% to about 80%, so that the sound waves can penetrate into the absorber material.
- the sound-absorbing, transparent insert consists of acrylic glass. This is unbreakable, weatherproof and easy to handle.
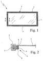
- Fig. 1 shows a soundproofing element 1 for a noise barrier.
- the soundproofing element 1 has a dimensionally stable profile frame 2 and a sound-absorbing insert 3 held by the profile frame 2.
- the sound-absorbing insert 3 is made of transparent material.
- a sound absorption structure 4 is provided.
- the sound absorption structure 4 is here and preferably arranged so that it covers the sound-absorbing insert 3 peripherally circumferentially. critical for all embodiments, the sound absorption structure 4 covers at most a part of the sound-absorbing insert 3. In the case of the edge-side arrangement of the sound absorption structure 4, it can also project beyond the insert 3 at the edge, that is, at least in part next to the insert 3. However, the sound absorption structure 4 can also be arranged completely next to the sound-absorbing insert 3. In this arrangement, the sound-absorbing insert 3 is also not partially covered by the sound absorption structure 4.
- the sound absorption structure 4 here and preferably has a core of absorber material 5, a moisture protection sleeve 6 and an outer support element 7.
- the absorber material 5 is designed here as a mineral fiber material, which is particularly well suited to absorb sound.
- the absorber material 5 has a density of about 80 kg / m 3 to about 120 kg / m 3 .
- the density is preferably about 90 kg / m 3 to about 110 kg / m 3 .
- the moisture protection cover 6 is arranged so that here the absorber material 5 is covered from all sides, which are exposed to the weather. In the present case, these are two sides 8, 9.
- the moisture protection cover 6 is designed as Glasvlieskaschtechnik.
- the outer support member 7 comprises the absorber material from other sides.
- the outer support member 7 thus serves simultaneously to protect the absorber material 5 from falling rocks, vandalism o. ⁇ ..
- sound passage openings 7 ' are provided, so that the sound waves can penetrate into the absorber material 5 and are not only reflected back.
- the free surface formed by the sound passage openings 7 ' is about 60% to about 90%, preferably about 70% to about 80%.
- the outer support member 7 may be designed as an expanded metal grid, perforated plate or plastic grid element.
- the outer support member 7 is designed as a perforated plate consisting of aluminum. The free surface in the outer support element also loosens the visual impression of the soundproofing element 1. It does not seem so massive.
- the sound absorption structure 4 usually has a thickness of about 50 mm to about 250 mm, preferably from about 70 mm to about 150 mm.
- the sound-absorbing insert 3 has a thickness of about 5 mm to about 30 mm, preferably from about 15 mm to about 25 mm. The parameters are chosen so that the sound absorption is sufficient, while the soundproofing element is not too massive and still manageable.
- an amorphous material is preferably used, in particular a glass or a plastic.
- a glass or a plastic for further information on which material is suitable, reference is hereby made to DE 199 06 989 A1.
- the profile frame 2 made of aluminum and is designed in particular seawater resistant. This is of particular advantage since the soundproofing element 1 is exposed to high loads in the winter when using salt as a scattering agent.
- the sound-absorbing insert 3 and the sound absorption structure 4 are held on the edge side by the profile frame 2.
- the attachment to the profile frame 2 is effected by a clamping pressure, screwing o. ⁇ .
- the sound-absorbing insert 3 is surrounded by a separate frame 10 which is then attached to / in the profile frame.
- the soundproofing element 1 is designed to be absorbent in a preferred embodiment in accordance with the requirements of ZTV-Lsw 88 (Additional Technical Regulations and Guidelines for the Construction of Noise Protection Roads, Edition 1988). It also complies in particular with the requirements of Group A2 of Annex A of the standard DIN EN 1793-1 (German Industrial Standard - European Standard). Compliance with certain standards and regulations are prescribed in Germany for the use of a soundproofing element 1 on certain roads.
- Fig. 3 shows a further embodiment of a soundproofing element 1 according to the invention.
- the sound-absorbing insert 3 has its own frame 10.
- the frame 10 of the sound-absorbing insert 3 comprises these at two opposite edges.
- the sound-absorbing insert 3 is covered only at these edges.
- the sound-absorbing insert 3 is fastened by means of its frame 10 to the profile frame 2.
- the profile frame 2 of the soundproofing element 1 is here and preferably designed as a rectangular tube.
- the profile frame 2 is significantly wider than the sound-absorbing insert 3 together with its frame 10, so that a substantially right-angled corner is formed by the profile frame 2 and the sound-absorbing insert 3.
- an angle section 11 made of metal, preferably made of aluminum, arranged so that one side of the angle section 11 can be fastened to the profile frame 2 and the other side of the angle section 11 on the frame 10 of the sound-absorbing insert 3 can be fastened.
- a Z-profile 12, 13 made of metal, preferably made of aluminum.
- the Z-profile 12 is arranged so that at the sound-absorbing insert 3 opposite side between the profile frame 2 and Z-profile 12 is a gap.
- the Z-profile 13 is arranged so that at the profile frame 2 opposite side between the angle section 11 and the Z-profile 13 is a gap.
- the outer support member 7 is shaped so that it projects into both columns.
- the cavity formed between the angle section 11 and the outer support member 7 is filled by the absorber material 5 with the moisture protection sleeve 6.
- the outer support member 7 is fixed by an adhesive joint, a welded joint, a screw o. ⁇ .
- the outer support element 7 can also be fastened by a striking plate 14, which is arranged on the profile frame 2 and the outer support element 7.
- the soundproofing element 1 usually has a length of about 1.5 m to about 6.0 m, preferably, from about 2.0 m to about 2.5 m or about 4.0 m to about 5.0 m.
- the soundproofing element 1 usually has a height of from about 0.3 m to about 4.0 m, preferably from about 0.5 m to about 1.0 m or from about 1.0 m to about 3.0 m.
- Fig. 4 shows a noise barrier 15 which consists of at least one soundproofing element 1 and two edge-side posts 16, 17.
- the posts 16, 17 are used to hold the soundproofing element 1.
- an arbitrarily long noise protection wall 15 can be formed.
Landscapes
- Engineering & Computer Science (AREA)
- Architecture (AREA)
- Civil Engineering (AREA)
- Structural Engineering (AREA)
- Life Sciences & Earth Sciences (AREA)
- Sustainable Development (AREA)
- Devices Affording Protection Of Roads Or Walls For Sound Insulation (AREA)
- Surgical Instruments (AREA)
- Glass Compositions (AREA)
- Materials For Medical Uses (AREA)
- Soundproofing, Sound Blocking, And Sound Damping (AREA)
Description
- Die Erfindung betrifft ein Schallschutzelement und eine Lärmschutzwand, insbesondere für Straßen, Autobahnen, Schienenwege u. dgl.
- Lärmschutzwälle, Lärmschutzwände oder Lärmschutzfassaden werden überall dort eingesetzt, wo Bürger vor Lärm, insbesondere Verkehrslärm geschützt werden sollen. Lärmschutzwälle können jedoch aufgrund des großen Platzbedarfs nicht überall aufgeschüttet werden. Gerade am Rand von Straßen, Autobahnen und Schienenwegen ist der für Lärmschutz zur Verfügung stehende Platz oft gering. An diesen Stellen können nur schmale Lärmschutzwände oder Lärmschutzfassaden verwendet werden. An Lärmschutzwände werden hohe Anforderungen gestellt. Sie müssen den Schall bestmöglich absorbieren, wetterbeständig, robust gegen Steinschlag oder Vandalismus und kostengünstig sein. Zugleich ist auch der optische Eindruck von Bedeutung. Innerstädtische Bereiche sollen nicht durch Betonwände verschandelt werden, und auch Autofahrer und Zugfahrgäste sollen nicht vollständig von der Umwelt ausgeschlossen werden. Lärmschutzwände werden daher zumindest teilweise transparent ausgeführt.
- Aus der DE 42 30 786 A1 ist ein Schallschutzelement für eine Lärmschutzwand bekannt. Das dort beschriebene Schallschutzelement weist zwei Pfosten auf, die eine schallabsorbierende Einlage aus transparentem Material halten. Zusätzlich zu den Pfosten sind noch ein Querträger am Boden und ein Querträger auf etwa Zweidrittel der Höhe der schallabsorbierenden Einlage zur Halterung eben dieser vorgesehen.
- Durch seinen Aufbau ist das zuvor genannte Schallschutzelement weitestgehend transparent. Der optische Eindruck und die Transparenz werden jedoch durch die massiven Querträger gestört. Außerdem ist die Schallabsorption des Schallschutzelementes nicht optimal.
- Aus der DE 199 06 989 A1 ist ein Schallschutzelement bekannt, bei dem auf Querträger verzichtet wird. Das Schallschutzelement selbst besteht nur aus einer selbsttragenden, transparenten, schallabsorbierenden Einlage. Zum Aufbau einer Lärmschutzwand werden mehrere dieser Schallschutzelemente aneinander gereiht und miteinander verbunden. An den Enden der Lärmschutzwand sind Pfosten vorgesehen, die zur Halterung der jeweiligen randseitigen Schallschutzelemente dienen.
- Auch bei dem zuvor beschriebenen Schallschutzelement ist der Schallschutz nicht optimal. Ebenso ist es gerade im innerstädtischen Bereich nicht unbedingt wünschenswert, einen vollständig freien Blick auf einen stark frequentierten Verkehrsweg zu haben.
- Aus der den Ausgangspunkt der vorliegenden Erfindung bildenden FR 2 551 784 A3 ist ein Schallschutzelement bekannt, bei dem eine schallabsorbierende Einlage in einem Profilrahmen gehalten wird. Zusätzlich zu der schallabsorbierenden Einlage ist ein Schallabsorptionsaufbau vorgesehen, der zwischen der schallabsorbierenden Einlage und dem Profilrahmen angeordnet ist. Der Schallabsorptionsaufbau umgibt die schallabsorbiernde Einlage in ihrem Randbereich, läßt den Mittelbereich jedoch frei. Problematisch bei dieser Anordnung ist, daß der zusätzliche Schallabsorptionsaufbau zumindest in Teilbereichen den Witterungseinflüssen nahe ungeschützt ausgeliefert ist.
- Der vorliegenden Erfindung liegt das Problem zugrunde, ein Schallschutzelement der in Rede stehenden Art möglichst wetterbeständig und robust auszuführten, gleichzeitig einen optimalen Schallschutz zu gewährleisten und einen angenehmen optischen Eindruck zu erzielen. Einhergehend damit sollen auch Lärmschutzwände optimiert werden.
- Das obige Problem wird bei einem Schallschutzelement mit den Merkmalen des Oberbegriffs von Anspruch 1 durch die Merkmale des kennzeichnenden Teils von Anspruch 1 sowie bei einer Lärmschutzwand mit den Merkmalen von Anspruch 14 gelöst. Bevorzugte Ausgestaltungen und Weiterbildungen sind Gegenstand der Unteransprüche.
- Zum Schutz vor äußeren Beanspruchungen weist der Schallabsorptionsaufbau einen Kern aus Absorbermaterial auf, der mit einer Feuchtigkeitsschutzhülle mindestens an den Seiten umgeben ist, die der Witterung ausgesetzt sind, und es ist ein äußeres Stützelement vorgesehen, das gleichzeitig als Halterung des Absorbermaterials und als Schutz gegen Steinschlag oder Vandalismus dient.
- Für den optischen Eindruck und konstruktiv besonders zweckmäßig ist es, wenn der zusätzliche Schallabsorptionsaufbau die schallabsorbierende Einlage randseitig umlaufend abdeckt. Dadurch bleibt der Mittelbereich des Schallschutzelementes transparent.
- Zur optimalen Schallabsorption sollten in den von Schallwellen primär beaufschlagten Seiten des Stützelementes Schalldurchtrittsöffnungen vorgesehen sein. Die so gebildete freie Fläche sollte etwa 60 % bis etwa 90 % der Gesamtfläche betragen, vorzugsweise etwa 70 % bis etwa 80 %, so daß die Schallwellen in das Absorbermaterial eindringen können.
- Besonders vorteilhaft ist es, wenn die schallabsorbierende, transparente Einlage aus Acrylglas besteht. Dieses ist bruchfest, wetterbeständig und leicht handhabbar.
- Weitere Einzelheiten, Merkmale, Ziele und Vorteile der vorliegenden Erfindung werden nachfolgend anhand der Zeichnung eines bevorzugten Ausführungsbeispiels näher erläutert. In der Zeichnung zeigt
- Fig. 1
- eine Frontansicht eines erfindungsgemäßen Schallschutzelementes,
- Fig. 2
- einen Schnitt durch das Schallschutzelement aus Fig. 1 entlang der Linie II-II,
- Fig. 3
- einen Schnitt durch ein weiteres Ausführungsbeispiel eines erfindungsgemäßen Schallschutzelementes und
- Fig. 4
- eine perspektivische Ansicht einer Lärmschutzwand.
- Fig. 1 zeigt ein Schallschutzelement 1 für eine Lärmschutzwand. Das Schallschutzelement 1 weist einen formstabilen Profilrahmen 2 und eine von dem Profilrahmen 2 gehaltene, schallabsorbierende Einlage 3 auf. Die schallabsorbierende Einlage 3 besteht aus transparentem Material. Zusätzlich zu der schallabsorbierenden Einlage 3 ist ein Schallabsorptionsaufbau 4 vorgesehen.
- Der Schallabsorptionsaufbau 4 ist hier und vorzugsweise so angeordnet, daß er die schallabsorbierende Einlage 3 randseitig umlaufend abdeckt. Entscheidend für alle Ausführungen ist, daß der Schallabsorptionsaufbau 4 maximal einen Teil der schallabsorbierenden Einlage 3 abdeckt. Bei randseitiger Anordnung des Schallabsorptionsaufbaus 4 kann dieser die Einlage 3 auch randseitig überragen, also zumindest zum Teil neben der Einlage 3 angeordnet sein. Der Schallabsorptionsaufbau 4 kann aber auch vollständig neben der schallabsorbierenden Einlage 3 angeordnet sein. Bei dieser Anordnung ist die schallabsorbierende Einlage 3 auch nicht zum Teil von dem Schallabsorptionsaufbau 4 abgedeckt.
- Der Schallabsorptionsaufbau 4 (Fig. 2) weist hier und vorzugsweise einen Kern aus Absorbermaterial 5, eine Feuchtigkeitsschutzhülle 6 und ein äußeres Stützelement 7 auf. Das Absorbermaterial 5 ist hier als Mineralfasermaterial ausgeführt, das besonders gut geeignet ist, Schall zu absorbieren. Das Absorbermaterial 5 weist eine Dichte von etwa 80 kg/m3 bis etwa 120 kg/m3 auf. Aus Optimierungsgründen zwischen Schallschutz einerseits und Handhabbarkeit des Schallschutzelementes 1 andererseits beträgt die Dichte vorzugsweise etwa 90 kg/m3 bis etwa 110 kg/m3.
- Die Feuchtigkeitsschutzhülle 6 ist so angeordnet, daß hier das Absorbermaterial 5 von allen Seiten, die der Witterung ausgesetzt sind, abgedeckt ist. Im vorliegenden Fall sind dies zwei Seiten 8, 9. Die Feuchtigkeitsschutzhülle 6 kann das Absorbermaterial 5 aber auch von allen Seiten abdecken. Dies kann bei automatisierter Fertigung des Schallschutzelements 1 von Vorteil sein. In besonderer Ausführung ist die Feuchtigkeitsschutzhülle 6 als Glasvlieskaschierung ausgeführt.
- Das äußere Stützelement 7 dient der Befestigung des Absorbermaterials 5. Es umfaßt das Absorbermaterial 5 und damit die Feuchtigkeitsschutzhülle 6 an mindestens zwei Seiten 8, 9. Es ist aber auch möglich, daß das äußere Stützelement 7 das Absorbermaterial von weiteren Seiten umfaßt. Das äußere Stützelement 7 dient damit gleichzeitig zum Schutz des Absorbermaterials 5 vor Steinschlag, Vandalismus o. ä.. In mindestens einer Seite, hier und vorzugsweise in zwei Seiten des Stützelementes 7, die der Witterung ausgesetzt sind, sind Schalldurchtrittsöffnungen 7' vorgesehen, so daß die Schallwellen bis in das Absorbermaterial 5 eindringen können und nicht nur zurückreflektiert werden. Die von den Schalldurchtrittsöffnungen 7' gebildete freie Fläche beträgt etwa 60 % bis etwa 90 %, vorzugsweise etwa 70 % bis etwa 80 %. Das äußere Stützelement 7 kann als Streckmetallgitter, Lochblech oder Kunststoff-Gitterelement ausgeführt sein. Vorzugsweise ist das äußere Stützelement 7 als Lochblech bestehend aus Aluminium ausgeführt. Die freie Fläche in dem äußeren Stützelement lockert auch den optischen Eindruck des Schallschutzelementes 1 auf. Es erscheint nicht so massiv.
- Der Schallabsorptionsaufbau 4 weist üblicherweise eine Dicke von etwa 50 mm bis etwa 250 mm, vorzugsweise von etwa 70 mm bis etwa 150 mm auf. Die schallabsorbierende Einlage 3 weist eine Dicke von etwa 5 mm bis etwa 30 mm, vorzugsweise von etwa 15 mm bis etwa 25 mm auf. Die Parameter sind dabei so gewählt, daß die Schallabsorption ausreichend, dabei das Schallschutzelement nicht zu massiv und noch handhabbar ist.
- Für die schallabsorbierende Einlage wird vorzugsweise ein amorphes Material verwendet, insbesondere ein Glas oder ein Kunststoff. Für weitere Ausführungen, welches Material geeignet ist, wird hiermit auf die DE 199 06 989 A1 verwiesen.
- In bevorzugter Ausführung besteht der Profilrahmen 2 aus Aluminium und ist insbesondere seewasserbeständig ausgeführt. Dies ist von besonderem Vorteil, da das Schallschutzelement 1 gerade im Winter bei Einsatz von Salz als Streumittel hohen Belastungen ausgesetzt ist.
- Die schallabsorbierende Einlage 3 und der Schallabsorptionsaufbau 4 werden randseitig von dem Profilrahmen 2 gehalten. Die Befestigung an dem Profilrahmen 2 erfolgt dabei durch eine Klemmpressung, Anschrauben o. ä. In bevorzugter Ausführung ist die schallabsorbierende Einlage 3 von einem eigenem Rahmen 10 umgeben der dann an/in dem Profilrahmen befestigt ist.
- Das Schallschutzelement 1 ist in bevorzugter Ausführung entsprechend den Anforderungen der ZTV-Lsw 88 (Zusätzliche Technische Vorschriften und Richtlinien für die Ausführung von Lärmschutzwänden an Straßen, Ausgabe 1988) absorbierend ausgeführt. Es entspricht insbesondere auch den Anforderungen an die Gruppe A2 des Anhangs A der Norm DIN EN 1793-1 (Deutsche Industrie Norm - Europäische Norm). Die Einhaltung bestimmter Normen und Verordnungen ist in Deutschland für den Einsatz eines Schallschutzelementes 1 an bestimmten Verkehrswegen vorgeschrieben.
- Fig. 3 zeigt ein weiteres Ausführungsbeispiel eines erfindungsgemäßen Schallschutzelementes 1. Bei diesem Ausführungsbeispiel weist die schallabsorbierende Einlage 3 einen eigenen Rahmen 10 auf. Hier und vorzugsweise umfaßt der Rahmen 10 der schallabsorbierenden Einlage 3 diese an zwei gegenüberliegenden Rändern. Die schallabsorbierende Einlage 3 wird dabei nur an diesen Rändern abgedeckt. Die schallabsorbierende Einlage 3 ist mittels ihres Rahmens 10 an dem Profilrahmen 2 befestigt.
- Der Profilrahmen 2 des Schallschutzelementes 1 ist hier und vorzugsweise als Rechteckrohr ausgeführt. Der Profilrahmen 2 ist deutlich breiter als die schallabsorbierende Einlage 3 zusammen mit ihrem Rahmen 10, so daß durch den Profilrahmen 2 und die schallabsorbierende Einlage 3 eine im wesentlichen rechtwinklige Ecke gebildet wird. In dieser Ecke ist ein Winkelprofil 11 aus Metall, vorzugsweise aus Aluminium, so angeordnet, daß eine Seite des Winkelprofils 11 an dem Profilrahmen 2 befestigbar ist und die andere Seite des Winkelprofils 11 an dem Rahmen 10 der schallabsorbierenden Einlage 3 befestigbar ist. An jedem der zwei Enden des Winkelprofils 11 ist ein Z-Profil 12, 13 aus Metall, vorzugsweise aus Aluminium angeordnet. Das Z-Profil 12 ist dabei so angeordnet, daß an der der schallabsorbierende Einlage 3 gegenüberliegenden Seite zwischen Profilrahmen 2 und Z-Profil 12 ein Spalt ist. Das Z-Profil 13 ist so angeordnet, daß an der dem Profilrahmen 2 gegenüberliegenden Seite zwischen dem Winkelprofil 11 und dem Z-Profil 13 ein Spalt ist. Das äußere Stützelement 7 ist so geformt, daß es in beide Spalten hineinragt. Der zwischen dem Winkelprofil 11 und dem äußeren Stützelement 7 gebildete Hohlraum ist durch das Absorbermaterial 5 mit der Feuchtigkeitsschutzhülle 6 ausgefüllt. Das äußere Stützelement 7 ist durch eine Klebverbindung, eine Schweißverbindung, eine Schraubverbindung o. ä. befestigt. Das äußere Stützelement 7 kann aber auch durch ein Schließblech 14, welches an dem Profilrahmen 2 und dem äußeren Stützelement 7 angeordnet ist, befestigt sein.
- Das Schallschutzelement 1 weist üblicherweise eine Länge von etwa 1,5 m bis etwa 6,0 m auf, vorzugsweise, von etwa 2,0 m bis etwa 2,5 m oder von etwa 4,0 m bis etwa 5,0 m. Das Schallschutzelement 1 weist üblicherweise eine Höhe von etwa 0,3 m bis etwa 4,0 m, vorzugsweise, von etwa 0,5 m bis etwa 1,0 m oder von etwa 1,0 m bis etwa 3,0 m auf.
- Fig. 4 zeigt eine Lärmschutzwand 15 die aus mindestens einem Schallschutzelement 1 und zwei randseitigen Pfosten 16, 17 besteht. Die Pfosten 16, 17 dienen zur Halterung des Schallschutzelementes 1. Durch Aneinanderreihung von mehreren Schallschutzelementen 1 mit einer entsprechenden Anzahl Pfosten 16, 17 dazwischen kann eine beliebig lange Lärmschutzwand 15 gebildet werden. Desweiteren ist es möglich, mehrere Schallschutzelemente 1 übereinander anzuordnen, so daß auch die Höhe der Lärmschutzwand 15 variabel gestaltet werden kann.
Claims (14)
- Schallschutzelement für eine Lärmschutzwand
mit einem formstabilen Profilrahmen (2) und mindestens einer von dem Profilrahmen (2) gehaltenen schallabsorbierenden Einlage (3),
wobei zusätzlich zu der schallabsorbierenden Einlage (3) ein Schallabsorptionsaufbau (4) vorgesehen ist und
wobei der Schallabsorptionsaufbau (4) im Profilrahmen (2) dergestalt angeordnet ist, daß er höchstens einen Teil der schallabsorbierenden Einlage (3) abdeckt,
dadurch gekennzeichnet,
daß die schallabsorbierende Einlage aus transparentem Material besteht und
daß der Schallabsorptionsaufbau (4) einen Kern aus Absorbermaterial (5), eine Feuchtigkeitsschutzhülle (6) und ein äußeres Stützelement (7) aufweist. - Schallschutzelement nach Anspruch 1, dadurch gekennzeichnet, daß der Schallabsorptionsaufbau (4) so angeordnet ist, daß durch die gesamte Fläche des Schallabsorptionsaufbaus (4) ein Teil der schallabsorbierenden Einlage (3) abgedeckt ist.
- Schallschutzelement nach Anspruch 1 oder 2, dadurch gekennzeichnet, daß der Schallabsorptionsaufbau (4) die schallabsorbierende Einlage (3) randseitig abdeckt, und vorzugsweise, daß der Schallabsorptionsaufbau (4) die schallabsorbierende Einlage (3) randseitig umlaufend abdeckt.
- Schallschutzelement nach Anspruch 1, dadurch gekennzeichnet, daß der Schallabsorptionsaufbau (4) neben der schallabsorbierenden Einlage (3) angeordnet ist, so daß kein Teil der schallabsorbierende Einlage (3) abgedeckt ist.
- Schallschutzelement nach einem der vorherigen Ansprüche, dadurch gekennzeichnet, daß das Absorbermaterial (5) als Mineralfasermaterial ausgeführt ist, und/oder, daß das Absorbermaterial (5) eine Dichte von etwa 80 kg/m3 bis etwa 120 kg/m3, vorzugsweise von etwa 90 kg/m3 bis etwa 110 kg/m3 aufweist.
- Schallschutzelement nach einem der Ansprüche 1 bis 5, dadurch gekennzeichnet, daß die Feuchtigkeitsschutzhülle (6) als Glasvlieskaschierung ausgeführt ist.
- Schallschutzelement nach einem der Ansprüche 1 bis 6, dadurch gekennzeichnet, daß die Feuchtigkeitsschutzhülle (6) das Absorbermaterial (5) von mindestens einer Seite, vorzugsweise von zwei Seiten abdeckt.
- Schallschutzelement nach einem der Ansprüche 1 bis 7, dadurch gekennzeichnet, daß das äußere Stützelement (7) mindestens zwei Seiten des Absorbermaterials (5) umfaßt.
- Schallschutzelement nach einem der Ansprüche 1 bis 8, dadurch gekennzeichnet, daß in mindestens einer Seite, vorzugsweise in zwei Seiten des äußeren Stützelementes (7) Schalldurchtrittsöffnungen (7') vorgesehen sind, und vorzugsweise, daß die von den Schalldurchtrittsöffnungen (7') gebildete freie Fläche etwa 60 % bis etwa 90 % der Gesamtfläche, vorzugsweise etwa 70 % bis etwa 80 % beträgt, und/oder, daß das äußere Stützelement (7) als Streckmetallgitter, Lochblech oder Kunststoff-Gitterelement ausgeführt ist, vorzugsweise, daß das äußere Stützelement (7) als Streckmetallgitter oder Lochblech aus Aluminium ausgeführt ist.
- Schallschutzelement nach einem der vorherigen Ansprüche, dadurch gekennzeichnet, daß der Schallabsorptionsaufbau (4) eine Dicke von etwa 50 mm bis etwa 250 mm, vorzugsweise von etwa 70 mm bis etwa 150 mm aufweist, und/oder, daß die schallabsorbierende Einlage (3) eine Dicke von etwa 5 mm bis etwa 30 mm, vorzugsweise von etwa 15 mm bis etwa 25 mm aufweist.
- Schallschutzelement nach einem der vorherigen Ansprüche, dadurch gekennzeichnet, daß das Schallschutzelement (1) eine Länge von etwa 1,5 m bis etwa 6,0 m, vorzugsweise, von etwa 2,0 m bis etwa 2,5 m oder von etwa 4,0 m bis etwa 5,0 m aufweist, und/oder, daß das Schallschutzelement (1) eine Höhe von etwa 0,3 m bis etwa 4,0 m, vorzugsweise, von etwa 0, 5 m bis etwa 1,0 m oder von etwa 1,0 m bis etwa 3,0 m aufweist.
- Schallschutzelement nach einem der vorherigen Ansprüche, dadurch gekennzeichnet, daß das transparente Material der schallabsorbierenden Einlage (3) ein amorphes Material ist, und/oder, vorzugsweise, daß die schallabsorbierende Einlage (3) aus einem Glas oder einem Kunststoff, insbesondere Acrylglas ausgeführt ist.
- Schallschutzelement nach einem der vorherigen Ansprüche, dadurch gekennzeichnet, daß der Profilrahmen (2) als Rechteckrohr ausgeführt ist, und/oder, vorzugsweise, daß der Profilrahmen (2) aus Metall, insbesondere aus Aluminium besteht, und/oder, weiter vorzugsweise, daß der Profilrahmen (2) seewasserbeständig ausgeführt ist.
- Lärmschutzwand, bestehend aus mindestens einem Schallschutzelement (1) nach einem der Ansprüche 1 bis 13 und mindestens zwei Pfosten (16, 17).
Applications Claiming Priority (2)
| Application Number | Priority Date | Filing Date | Title |
|---|---|---|---|
| DE10356291 | 2003-11-28 | ||
| DE10356291A DE10356291B4 (de) | 2003-11-28 | 2003-11-28 | Schallschutzelment |
Publications (2)
| Publication Number | Publication Date |
|---|---|
| EP1536066A1 EP1536066A1 (de) | 2005-06-01 |
| EP1536066B1 true EP1536066B1 (de) | 2006-05-17 |
Family
ID=34442399
Family Applications (1)
| Application Number | Title | Priority Date | Filing Date |
|---|---|---|---|
| EP04014299A Expired - Lifetime EP1536066B1 (de) | 2003-11-28 | 2004-06-18 | Schallschutzelement |
Country Status (4)
| Country | Link |
|---|---|
| EP (1) | EP1536066B1 (de) |
| CN (1) | CN100419167C (de) |
| AT (1) | ATE326583T1 (de) |
| DE (2) | DE10356291B4 (de) |
Cited By (1)
| Publication number | Priority date | Publication date | Assignee | Title |
|---|---|---|---|---|
| DE202014008764U1 (de) | 2014-11-06 | 2015-01-09 | Eurovia Beton Gmbh Nl Teco Schallschutz | Schallschutzelement |
Families Citing this family (4)
| Publication number | Priority date | Publication date | Assignee | Title |
|---|---|---|---|---|
| CN101858061B (zh) * | 2010-06-28 | 2012-10-24 | 四川正升声学科技有限公司 | 通风泄压式声屏障模块 |
| CN101899817B (zh) * | 2010-06-28 | 2012-11-07 | 四川正升声学科技有限公司 | 一种高速铁路通风泄压式吸隔声屏障 |
| CN107165069A (zh) * | 2017-06-13 | 2017-09-15 | 合肥钢骨玻璃制品有限公司 | 一种钢骨玻璃隔音屏障 |
| CN111503807A (zh) * | 2020-05-26 | 2020-08-07 | 重庆恒鼎泰环境科技有限公司 | 一种自然隔音通风器 |
Family Cites Families (12)
| Publication number | Priority date | Publication date | Assignee | Title |
|---|---|---|---|---|
| NL8002686A (nl) * | 1980-05-09 | 1981-12-01 | Vapotherm Bv | Geluidwerend schot. |
| NL8303128A (nl) * | 1983-09-09 | 1985-04-01 | Alcoa Nederland Bv | Geluidsisolerende wand. |
| DD219529A1 (de) * | 1983-11-11 | 1985-03-06 | Berlin Baumechanisierung | Leichtes aufsatzfenster fuer fensterfluegel |
| DE8524319U1 (de) * | 1985-08-24 | 1985-10-10 | Röhm GmbH, 6100 Darmstadt | Verglasungssprosse |
| US5015119A (en) * | 1989-09-11 | 1991-05-14 | Schmanski Donald W | Vision blocking barrier |
| DE9200477U1 (de) * | 1992-01-17 | 1992-04-16 | Colberg Metall-, Stahl- und Kunststofftechnik GmbH, 3150 Peine | Lärmschutzwandelement |
| DE4230786A1 (de) * | 1992-09-15 | 1994-05-19 | Simon Ernst Otto Karl | Lärmschutzwandsegment |
| DE29510861U1 (de) * | 1995-07-05 | 1995-09-28 | Koch GmbH & Co. KG, 56412 Nentershausen | Lärmschutzwand |
| DE29608228U1 (de) * | 1996-05-07 | 1996-08-01 | Koch GmbH & Co. KG, 56412 Nentershausen | Lärmschutzwand |
| DE19906989A1 (de) * | 1999-02-19 | 2000-09-14 | Roehm Gmbh | Lärmschutzwandsegment |
| DE29911461U1 (de) * | 1999-07-02 | 2000-04-06 | Jung, Thomas, Dipl.-Designer, 45529 Hattingen | Großflächig transparente Schallschutzwände |
| DE20021724U1 (de) * | 2000-12-21 | 2001-03-01 | R. Kohlhauer GmbH, 76571 Gaggenau | Lärmschutzwand |
-
2003
- 2003-11-28 DE DE10356291A patent/DE10356291B4/de not_active Expired - Fee Related
-
2004
- 2004-06-18 EP EP04014299A patent/EP1536066B1/de not_active Expired - Lifetime
- 2004-06-18 DE DE502004000579T patent/DE502004000579D1/de not_active Expired - Fee Related
- 2004-06-18 AT AT04014299T patent/ATE326583T1/de not_active IP Right Cessation
- 2004-07-30 CN CNB2004100552906A patent/CN100419167C/zh not_active Expired - Fee Related
Cited By (2)
| Publication number | Priority date | Publication date | Assignee | Title |
|---|---|---|---|---|
| DE202014008764U1 (de) | 2014-11-06 | 2015-01-09 | Eurovia Beton Gmbh Nl Teco Schallschutz | Schallschutzelement |
| EP3018256A1 (de) | 2014-11-06 | 2016-05-11 | EUROVIA Beton GmbH | Schallschutzelement |
Also Published As
| Publication number | Publication date |
|---|---|
| DE10356291A1 (de) | 2005-07-07 |
| DE502004000579D1 (de) | 2006-06-22 |
| CN100419167C (zh) | 2008-09-17 |
| DE10356291B4 (de) | 2006-01-05 |
| CN1621621A (zh) | 2005-06-01 |
| EP1536066A1 (de) | 2005-06-01 |
| ATE326583T1 (de) | 2006-06-15 |
Similar Documents
| Publication | Publication Date | Title |
|---|---|---|
| EP1536066B1 (de) | Schallschutzelement | |
| EP2163706A2 (de) | Wandverkleidung mit Füllmaterial | |
| EP2126218B1 (de) | Absorber mit trägerprofilen | |
| EP1911901B1 (de) | Trennwand | |
| EP0278326B1 (de) | Befestigungseinrichtung für Verkleidungsplatten | |
| DE2829273A1 (de) | Laermschutzelement | |
| DE7711360U1 (de) | Wandelement gegen laermimmission | |
| CH688097A5 (de) | Bausatz zur Erstellung einer Schallschutzwand. | |
| DE3426639C2 (de) | ||
| DE3009082A1 (de) | Wandelement zum errichten von laermschutzwaenden | |
| EP1992740B1 (de) | Schallschutzelement und Verfahren zu dessen Herstellung | |
| DE2544469A1 (de) | Laermschutzwand | |
| DE102004056332B4 (de) | Verwendung eines Verbundwerkstoffs zur Dämmung von Schall und Erschütterungen | |
| DE102010005484B4 (de) | Lärmschutz-Vorrichtung | |
| DE3631257A1 (de) | Bauelemente fuer schalltschutzwaende, wand aus solchen bauelementen sowie vorrichtung zur herstellung solcher bauelemente | |
| DE3919280A1 (de) | Schallschutzwand | |
| DE102009041730A1 (de) | Bügel zur Festlegung zumindest einer Tafel an einem Befestigungsgrund | |
| DE2451520A1 (de) | Laermschutzelement | |
| DE102009041731A1 (de) | Pfosten einer Wand aus einen Füllraum begrenzenden Tafeln und Pfosten | |
| EP2521815B1 (de) | Begrünbares lärmschutzelement und lärmschutzwand | |
| DE2354047B2 (de) | Lärmschutzwand | |
| EP3018256B1 (de) | Schallschutzelement | |
| DE102007015861A1 (de) | Trennwand | |
| DE1927194A1 (de) | Grossformatige,duennwandige keramische Platte | |
| WO1998026131A1 (de) | Schallschutzwand |
Legal Events
| Date | Code | Title | Description |
|---|---|---|---|
| PUAI | Public reference made under article 153(3) epc to a published international application that has entered the european phase |
Free format text: ORIGINAL CODE: 0009012 |
|
| AK | Designated contracting states |
Kind code of ref document: A1 Designated state(s): AT BE BG CH CY CZ DE DK EE ES FI FR GB GR HU IE IT LI LU MC NL PL PT RO SE SI SK TR |
|
| AX | Request for extension of the european patent |
Extension state: AL HR LT LV MK |
|
| 17P | Request for examination filed |
Effective date: 20050527 |
|
| GRAP | Despatch of communication of intention to grant a patent |
Free format text: ORIGINAL CODE: EPIDOSNIGR1 |
|
| AKX | Designation fees paid |
Designated state(s): AT BE BG CH CY CZ DE DK EE ES FI FR GB GR HU IE IT LI LU MC NL PL PT RO SE SI SK TR |
|
| GRAS | Grant fee paid |
Free format text: ORIGINAL CODE: EPIDOSNIGR3 |
|
| GRAA | (expected) grant |
Free format text: ORIGINAL CODE: 0009210 |
|
| AK | Designated contracting states |
Kind code of ref document: B1 Designated state(s): AT BE BG CH CY CZ DE DK EE ES FI FR GB GR HU IE IT LI LU MC NL PL PT RO SE SI SK TR |
|
| PG25 | Lapsed in a contracting state [announced via postgrant information from national office to epo] |
Ref country code: SK Free format text: LAPSE BECAUSE OF FAILURE TO SUBMIT A TRANSLATION OF THE DESCRIPTION OR TO PAY THE FEE WITHIN THE PRESCRIBED TIME-LIMIT Effective date: 20060517 Ref country code: IT Free format text: LAPSE BECAUSE OF FAILURE TO SUBMIT A TRANSLATION OF THE DESCRIPTION OR TO PAY THE FEE WITHIN THE PRESCRIBED TIME-LIMIT;WARNING: LAPSES OF ITALIAN PATENTS WITH EFFECTIVE DATE BEFORE 2007 MAY HAVE OCCURRED AT ANY TIME BEFORE 2007. THE CORRECT EFFECTIVE DATE MAY BE DIFFERENT FROM THE ONE RECORDED. Effective date: 20060517 Ref country code: CZ Free format text: LAPSE BECAUSE OF FAILURE TO SUBMIT A TRANSLATION OF THE DESCRIPTION OR TO PAY THE FEE WITHIN THE PRESCRIBED TIME-LIMIT Effective date: 20060517 Ref country code: FI Free format text: LAPSE BECAUSE OF FAILURE TO SUBMIT A TRANSLATION OF THE DESCRIPTION OR TO PAY THE FEE WITHIN THE PRESCRIBED TIME-LIMIT Effective date: 20060517 Ref country code: PL Free format text: LAPSE BECAUSE OF FAILURE TO SUBMIT A TRANSLATION OF THE DESCRIPTION OR TO PAY THE FEE WITHIN THE PRESCRIBED TIME-LIMIT Effective date: 20060517 Ref country code: RO Free format text: LAPSE BECAUSE OF FAILURE TO SUBMIT A TRANSLATION OF THE DESCRIPTION OR TO PAY THE FEE WITHIN THE PRESCRIBED TIME-LIMIT Effective date: 20060517 Ref country code: IE Free format text: LAPSE BECAUSE OF FAILURE TO SUBMIT A TRANSLATION OF THE DESCRIPTION OR TO PAY THE FEE WITHIN THE PRESCRIBED TIME-LIMIT Effective date: 20060517 Ref country code: GB Free format text: LAPSE BECAUSE OF FAILURE TO SUBMIT A TRANSLATION OF THE DESCRIPTION OR TO PAY THE FEE WITHIN THE PRESCRIBED TIME-LIMIT Effective date: 20060517 Ref country code: SI Free format text: LAPSE BECAUSE OF FAILURE TO SUBMIT A TRANSLATION OF THE DESCRIPTION OR TO PAY THE FEE WITHIN THE PRESCRIBED TIME-LIMIT Effective date: 20060517 |
|
| REG | Reference to a national code |
Ref country code: GB Ref legal event code: FG4D Free format text: NOT ENGLISH |
|
| RIN1 | Information on inventor provided before grant (corrected) |
Inventor name: RIEMANN, REINHARD Inventor name: METHNER, BERND Inventor name: MACKO, TORSTEN |
|
| REG | Reference to a national code |
Ref country code: CH Ref legal event code: EP |
|
| REG | Reference to a national code |
Ref country code: IE Ref legal event code: FG4D Free format text: LANGUAGE OF EP DOCUMENT: GERMAN |
|
| REG | Reference to a national code |
Ref country code: CH Ref legal event code: NV Representative=s name: KELLER & PARTNER PATENTANWAELTE AG |
|
| REF | Corresponds to: |
Ref document number: 502004000579 Country of ref document: DE Date of ref document: 20060622 Kind code of ref document: P |
|
| PG25 | Lapsed in a contracting state [announced via postgrant information from national office to epo] |
Ref country code: MC Free format text: LAPSE BECAUSE OF NON-PAYMENT OF DUE FEES Effective date: 20060630 Ref country code: BE Free format text: LAPSE BECAUSE OF NON-PAYMENT OF DUE FEES Effective date: 20060630 |
|
| PG25 | Lapsed in a contracting state [announced via postgrant information from national office to epo] |
Ref country code: SE Free format text: LAPSE BECAUSE OF FAILURE TO SUBMIT A TRANSLATION OF THE DESCRIPTION OR TO PAY THE FEE WITHIN THE PRESCRIBED TIME-LIMIT Effective date: 20060817 Ref country code: DK Free format text: LAPSE BECAUSE OF FAILURE TO SUBMIT A TRANSLATION OF THE DESCRIPTION OR TO PAY THE FEE WITHIN THE PRESCRIBED TIME-LIMIT Effective date: 20060817 |
|
| PG25 | Lapsed in a contracting state [announced via postgrant information from national office to epo] |
Ref country code: ES Free format text: LAPSE BECAUSE OF FAILURE TO SUBMIT A TRANSLATION OF THE DESCRIPTION OR TO PAY THE FEE WITHIN THE PRESCRIBED TIME-LIMIT Effective date: 20060828 |
|
| PG25 | Lapsed in a contracting state [announced via postgrant information from national office to epo] |
Ref country code: PT Free format text: LAPSE BECAUSE OF FAILURE TO SUBMIT A TRANSLATION OF THE DESCRIPTION OR TO PAY THE FEE WITHIN THE PRESCRIBED TIME-LIMIT Effective date: 20061017 |
|
| ET | Fr: translation filed | ||
| GBV | Gb: ep patent (uk) treated as always having been void in accordance with gb section 77(7)/1977 [no translation filed] |
Effective date: 20060517 |
|
| REG | Reference to a national code |
Ref country code: IE Ref legal event code: FD4D |
|
| PLBE | No opposition filed within time limit |
Free format text: ORIGINAL CODE: 0009261 |
|
| STAA | Information on the status of an ep patent application or granted ep patent |
Free format text: STATUS: NO OPPOSITION FILED WITHIN TIME LIMIT |
|
| 26N | No opposition filed |
Effective date: 20070220 |
|
| BERE | Be: lapsed |
Owner name: EUROVIA BETON G.M.B.H. NL TECO SCHALLSCHUTZ Effective date: 20060630 |
|
| PG25 | Lapsed in a contracting state [announced via postgrant information from national office to epo] |
Ref country code: GR Free format text: LAPSE BECAUSE OF FAILURE TO SUBMIT A TRANSLATION OF THE DESCRIPTION OR TO PAY THE FEE WITHIN THE PRESCRIBED TIME-LIMIT Effective date: 20060818 |
|
| PG25 | Lapsed in a contracting state [announced via postgrant information from national office to epo] |
Ref country code: BG Free format text: LAPSE BECAUSE OF FAILURE TO SUBMIT A TRANSLATION OF THE DESCRIPTION OR TO PAY THE FEE WITHIN THE PRESCRIBED TIME-LIMIT Effective date: 20060817 Ref country code: EE Free format text: LAPSE BECAUSE OF FAILURE TO SUBMIT A TRANSLATION OF THE DESCRIPTION OR TO PAY THE FEE WITHIN THE PRESCRIBED TIME-LIMIT Effective date: 20060517 |
|
| PG25 | Lapsed in a contracting state [announced via postgrant information from national office to epo] |
Ref country code: LU Free format text: LAPSE BECAUSE OF NON-PAYMENT OF DUE FEES Effective date: 20060618 Ref country code: HU Free format text: LAPSE BECAUSE OF FAILURE TO SUBMIT A TRANSLATION OF THE DESCRIPTION OR TO PAY THE FEE WITHIN THE PRESCRIBED TIME-LIMIT Effective date: 20061118 Ref country code: TR Free format text: LAPSE BECAUSE OF FAILURE TO SUBMIT A TRANSLATION OF THE DESCRIPTION OR TO PAY THE FEE WITHIN THE PRESCRIBED TIME-LIMIT Effective date: 20060517 |
|
| PGFP | Annual fee paid to national office [announced via postgrant information from national office to epo] |
Ref country code: NL Payment date: 20080618 Year of fee payment: 5 |
|
| PG25 | Lapsed in a contracting state [announced via postgrant information from national office to epo] |
Ref country code: CY Free format text: LAPSE BECAUSE OF FAILURE TO SUBMIT A TRANSLATION OF THE DESCRIPTION OR TO PAY THE FEE WITHIN THE PRESCRIBED TIME-LIMIT Effective date: 20060517 |
|
| PGFP | Annual fee paid to national office [announced via postgrant information from national office to epo] |
Ref country code: FR Payment date: 20080613 Year of fee payment: 5 |
|
| PGFP | Annual fee paid to national office [announced via postgrant information from national office to epo] |
Ref country code: AT Payment date: 20090615 Year of fee payment: 6 |
|
| PGFP | Annual fee paid to national office [announced via postgrant information from national office to epo] |
Ref country code: CH Payment date: 20090617 Year of fee payment: 6 |
|
| PGFP | Annual fee paid to national office [announced via postgrant information from national office to epo] |
Ref country code: DE Payment date: 20090821 Year of fee payment: 6 |
|
| NLV4 | Nl: lapsed or anulled due to non-payment of the annual fee |
Effective date: 20100101 |
|
| REG | Reference to a national code |
Ref country code: FR Ref legal event code: ST Effective date: 20100226 |
|
| PG25 | Lapsed in a contracting state [announced via postgrant information from national office to epo] |
Ref country code: FR Free format text: LAPSE BECAUSE OF NON-PAYMENT OF DUE FEES Effective date: 20090630 |
|
| PG25 | Lapsed in a contracting state [announced via postgrant information from national office to epo] |
Ref country code: NL Free format text: LAPSE BECAUSE OF NON-PAYMENT OF DUE FEES Effective date: 20100101 |
|
| REG | Reference to a national code |
Ref country code: CH Ref legal event code: PL |
|
| PG25 | Lapsed in a contracting state [announced via postgrant information from national office to epo] |
Ref country code: DE Free format text: LAPSE BECAUSE OF NON-PAYMENT OF DUE FEES Effective date: 20110101 Ref country code: CH Free format text: LAPSE BECAUSE OF NON-PAYMENT OF DUE FEES Effective date: 20100630 Ref country code: LI Free format text: LAPSE BECAUSE OF NON-PAYMENT OF DUE FEES Effective date: 20100630 |
|
| PG25 | Lapsed in a contracting state [announced via postgrant information from national office to epo] |
Ref country code: AT Free format text: LAPSE BECAUSE OF NON-PAYMENT OF DUE FEES Effective date: 20100618 |