EP1522630A2 - Befestigung von Strassenbanketten - Google Patents

Befestigung von Strassenbanketten Download PDF

Info

Publication number
EP1522630A2
EP1522630A2 EP04016895A EP04016895A EP1522630A2 EP 1522630 A2 EP1522630 A2 EP 1522630A2 EP 04016895 A EP04016895 A EP 04016895A EP 04016895 A EP04016895 A EP 04016895A EP 1522630 A2 EP1522630 A2 EP 1522630A2
Authority
EP
European Patent Office
Prior art keywords
attachment
street
fixing
banquets
banquet
Prior art date
Legal status (The legal status is an assumption and is not a legal conclusion. Google has not performed a legal analysis and makes no representation as to the accuracy of the status listed.)
Granted
Application number
EP04016895A
Other languages
English (en)
French (fr)
Other versions
EP1522630B1 (de
EP1522630A3 (de
Inventor
Peter Rausch
Current Assignee (The listed assignees may be inaccurate. Google has not performed a legal analysis and makes no representation or warranty as to the accuracy of the list.)
Individual
Original Assignee
Individual
Priority date (The priority date is an assumption and is not a legal conclusion. Google has not performed a legal analysis and makes no representation as to the accuracy of the date listed.)
Filing date
Publication date
Priority claimed from AT8152004A external-priority patent/AT413395B/de
Application filed by Individual filed Critical Individual
Priority to SI200431397T priority Critical patent/SI1522630T1/sl
Publication of EP1522630A2 publication Critical patent/EP1522630A2/de
Publication of EP1522630A3 publication Critical patent/EP1522630A3/de
Application granted granted Critical
Publication of EP1522630B1 publication Critical patent/EP1522630B1/de
Anticipated expiration legal-status Critical
Expired - Lifetime legal-status Critical Current

Links

Images

Classifications

    • EFIXED CONSTRUCTIONS
    • E01CONSTRUCTION OF ROADS, RAILWAYS, OR BRIDGES
    • E01CCONSTRUCTION OF, OR SURFACES FOR, ROADS, SPORTS GROUNDS, OR THE LIKE; MACHINES OR AUXILIARY TOOLS FOR CONSTRUCTION OR REPAIR
    • E01C11/00Details of pavings
    • E01C11/22Gutters; Kerbs ; Surface drainage of streets, roads or like traffic areas
    • E01C11/221Kerbs or like edging members, e.g. flush kerbs, shoulder retaining means ; Joint members, connecting or load-transfer means specially for kerbs
    • EFIXED CONSTRUCTIONS
    • E01CONSTRUCTION OF ROADS, RAILWAYS, OR BRIDGES
    • E01CCONSTRUCTION OF, OR SURFACES FOR, ROADS, SPORTS GROUNDS, OR THE LIKE; MACHINES OR AUXILIARY TOOLS FOR CONSTRUCTION OR REPAIR
    • E01C19/00Machines, tools or auxiliary devices for preparing or distributing paving materials, for working the placed materials, or for forming, consolidating, or finishing the paving
    • E01C19/48Machines, tools or auxiliary devices for preparing or distributing paving materials, for working the placed materials, or for forming, consolidating, or finishing the paving for laying-down the materials and consolidating them, or finishing the surface, e.g. slip forms therefor, forming kerbs or gutters in a continuous operation in situ
    • E01C19/4886Machines, tools or auxiliary devices for preparing or distributing paving materials, for working the placed materials, or for forming, consolidating, or finishing the paving for laying-down the materials and consolidating them, or finishing the surface, e.g. slip forms therefor, forming kerbs or gutters in a continuous operation in situ for forming in a continuous operation kerbs, gutters, berms, safety kerbs, median barriers or like structures in situ, e.g. by slip-forming, by extrusion

Definitions

  • the invention relates to a fastening of street banquets or the like of concrete or asphalt or dergl.,
  • the attachment on the upper side of the control profile the street banquet is adjusted and breakthroughs and a method for producing a Such attachment according to the invention.
  • German utility model GM 79 03 240 (Haslinger) is a generic attachment in the form of a plate, where the object of this invention is an anchoring for roadside posts to provide.
  • the training of these, individually arranged, Plate aims to the area around the delineator cover to keep the green vegetation behind and mowing to save.
  • WO 94/25679 (Bender) describes a facing stone, the for borders of beds, discounts, but also used by paved areas or the like can be. This borderstone could indeed be in the Banquet area is used, but is for this not trained and does not fall under the generic term of the main claim of the subject application.
  • the here as more or less generic listed known plates are, with the exception of the edging stone from WO 94/25679 (Bender), grid plates.
  • the grid plate from the GM 79 03 240 (Haslinger) has a breakthrough for the inclusion of delineators, however, represents only a single plate and is thus not able to go through a street banquet to fix.
  • the shape of this plate is not suitable for a continuous longitudinal attachment, because they have a uniform banquet width does not match.
  • the other mentioned plates with Breakthroughs are aimed at the greening of surfaces, which are conditionally passable, they are suitable but not for heavy traffic by e.g. Lorry the road maintenance and they are not able to support the edge of the road throughout and full.
  • the edging stone from WO 94/25679 corresponds in its conception more to one Garden element and brings for the attachment of street banquets the required features are not included. So it lacks e.g. the breakthrough with the at Leitpost adapted cross-section and adapted to a banquet Training the top.
  • the invention now eliminates identified shortcomings and has the task of securing a street banquet throughout and to fulfill the required characteristics.
  • a first step this is done by that the attachment (1) is profiled on the upper side and has a slope from the roadway to the outside, on the roadway edge (2) then fed in the longitudinal direction goes through and for the traffic of trucks is designed to be passable.
  • the banquet area is also heavy Truck is passable, such. with vehicles the road administration, and the roadway is through this Construction secured and supported on the edge, which Edge damage be kept behind.
  • claim 2 receives the attachment (1) Upper side transverse to the longitudinal direction extending about trough or groove-like depressions (3) and arranged in intervals breakthroughs (4) with a Leitpflöcke (5) adapted cross-section.
  • the depressions (3) cause a slowing down the laterally flowing Surface waters and thus prevent outages in the Banquet area. Furthermore, the depressions (3) act for departing road users as a warning device by the resulting booming rolling noise of the vehicle tires.
  • the advantage of breakthroughs (4) lies on the hand.
  • the width of the attachment (1) corresponds to the respective Kirt width, thus between about 30 and 100cm, depending on the expansion of the road, and secures in adapted Width the required area.
  • the wells (3) are about 10cm wide and about 10mm deep and have a distance from each other of about 20cm up. This dimensioning or arrangement allows the function of water braking without the Attachment (1) in its thickness and load capacity substantially is weakened and causes when crossing the warning tire roar.
  • the openings (4) sit centrally in a recess (3), what a symmetrical design of the top the banquet attachment (1), the distance of the Breakthroughs (4) from the theoretical roadside (that is in Austria the center of the lane marking in Shape of a white line slightly inside the roadway edge) complies with the applicable standard.
  • the attachment (1) has a reinforcement made of steel, plastic, textile, glass or the like in rod, mesh, lattice or fibrous design.
  • Claim 7 and 8 provide an embodiment, wherein the attachment (1) of street banquets from approximately plate-shaped Segments (6) is composed and where the segments (6) on one of its end sides an approximately Trapezoidal to about semicircular recess (7) and at the other of its end faces one into the recess (7) of the adjacent segment matching protruding Has pins (8) and / or that the segments (7) have at their end sides recesses (7 '), the one Half of the cross section of a Leitpflockes (5) adapted are.
  • This type of execution offers the advantage that street sections or banquet areas lower Extent can be fixed, the Segments (6) stored in stock and laid dry can be, with a composite effect between the Segments (6) is given.
  • the top of the segments (6) with a fitted smooth finish layer and the bottom be provided with a rough surface. That brings a quality improvement of the top with itself and increases the friction between the segments (6) and the Bottom, whereby the segments (6) improved grip achieve.
  • Claims 9 and 10 relate to the methods of preparation the attachment in two operations.
  • the first Operation describes the production by paver, also slipform paver, the roadside works along and, similar to the manufacturing of Betonleit paragraphn (also Betongleit paragraphn) the mounting mass forms, performs on line and pre-compressed.
  • the second operation is done with a vibrating screed or the like, and such the shape of the attachment (1) is adjusted and as Formwork and compaction device with vibrators (Joggers) equipped for prefabricated attachment (1) put on and here the depressions (3) shaken and a breakthrough (4) by means of shaping pile is pressed or pushed out.
  • the vibrating screed can e.g. used as an elongated device of 4 or 6m in length become.
  • FIG . 1 shows an attachment (1) of street banquettes in an oblique view towards the street.
  • the attachment (1) runs along the Fahrbankante (2), which it supports, in the longitudinal direction without interruption in a through. It is designed so that it can also be used by heavy trucks.
  • On the upper side there are trough-shaped to trough-like recesses (3) which can slow down the outflowing surface waters and serve as a warning device for departing vehicles or their handlebars, causing strong rolling noises of the vehicle tires.
  • openings (4) are provided at regular intervals, whose cross section corresponds to those of Leitpflöcken (5), and can accommodate them with exact support.
  • the example shows a plant in the making, with the attachment (1) is still partially free.
  • Fig.2 a cross section, it can be seen how the attachment (1) fits snugly against the roadway edge (2) of a road and supports it. The expert can easily imagine that while the roadside edge is secured against Abdschreibungen and tears.
  • the attachment (1) has an approximately wedge-shaped cross section, the top of which falls to the outside. At the top is also the recess (3) can be seen, which opens into an opening (4), in which a Leitpflock (5) is mounted.
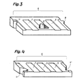
  • On the outside of the attachment (1) includes a humus layer for greening and as a transition into the terrain. 3 shows an oblique view of an inventive segment (6).
  • the narrower longitudinal side can be seen, which faces away from the road.
  • the cross section of the segment (6) is wedge-shaped, wherein the upper side has a slope from the roadway to the outside.
  • Recesses (3) are formed transversely to the longitudinal direction, with a longitudinal strip without depressions (3) passing on the roadway side.
  • an opening (4) is arranged, whose cross section is adapted to that of a Leitpflockes (5).
  • a recess (7) is formed, on the other end side of a pin (8) which is a recess (7) of an adjacent segment (6) can be assigned.
  • FIG. 4 also an oblique view, shows a segment (6) which differs from that in FIG. 3 in that instead of the recess (7) and pin (8), recesses (7 ') are formed, each one half of the a Leitpflockes (5) correspond to adapted cross-section.
  • a Leitpflock (5) may be used.
  • the invention also includes the possibility to combine the segments, wherein on one end side both a recess (7) and a recess (7 ') and at the other end side a pin (8) and a recess (7') are formed ,
  • the invention is not limited to these illustrated Examples, but may be within the meaning of the invention be realized in further embodiments, e.g. with a different shape of the wells (3) or with a different choice of ratios of width and thickness the attachment (1).

Landscapes

  • Engineering & Computer Science (AREA)
  • Architecture (AREA)
  • Civil Engineering (AREA)
  • Structural Engineering (AREA)
  • Road Paving Structures (AREA)
  • Lubricants (AREA)
  • Shovels (AREA)

Abstract

Es wird die Befestigung(1) von Straßenbanketten beschrieben, wobei die Befestigung aus Beton oder Asphalt oder dergleichen hergestellt und an das Regelprofil des Straßenbankettes angepasst ist, und wobei die Befestigung(1) oberseitig profiliert ist und eine Neigung von der Fahrbahn nach außen besitzt, an die Fahrbahnkante(2) satt anschließend in Längsrichtung durchgeht und für den Verkehr von Lastkraftfahrzeugen befahrbar ausgebildet ist. Die Befestigung(1) weist oberseitig querlaufende Vertiefungen(3) und Durchbrüche(4) auf, deren Querschnitt an jene von Leitpflöcken (5) angepasst ist. Die Befestigung kann auch in Form von Segmenten(6) hergestellt sein. Des weiteren wird ein Verfahren zur Herstellung solcher erfindungsgemäßer Befestigungen(1) beschrieben. <IMAGE>

Description

Die Erfindung betrifft eine Befestigung von Straßenbanketten oder dergl. aus Beton oder Asphalt oder dergl., wobei die Befestigung oberseitig an das Regelprofil des Straßenbankettes angepasst ist und Durchbrüche aufweist, und ein Verfahren zur Herstellung einer solchen erfindungsgemäßen Befestigung.
Eine solche Befestigung von Straßenbanketten der eingangs erwähnten Gattung ist in Form einer Platte aus der Webseite der Ebenseer Betonwerke (www.ebenseer.at) unter dem Namen "Me-Ba Rasengitter" bekannt geworden. Dieses Element besitzt Durchbrüche, die senkrecht von oben nach unten verlaufen und dabei ihren Querschnitt nicht verändern. Daraus folgt, dass die Stege zwischen den Durchbrüchen eine einheitliche Stärke aufweisen. Solche bekannte Rasengitter werden auf den Erdboden verlegt und mit Humuserde befüllt, wodurch an der Oberseite der Durchbrüche Rasen wachsen kann. Diese Rasengitter haben den Zweck, die mit ihnen ausgestatteten Flächen befahrbar zu machen und dienen vorwiegend der Parkplatzgestaltung.
Eine weitere ähnliche Entwicklung ist ebenfalls aus der Webseite der Ebenseer Betonwerke unter dem Namen "UNI rasenver- bundplatte" bekannt geworden. Sie ist im Aufbau und in ihrer Funktion der oben beschriebenen Gitterplatte sehr verwandt.
Aus der Schrift des deutschen Gebrauchsmusters GM 79 03 240 (Haslinger) ist eine gattungsgemäße Befestigung in Form einer Platte bekannt geworden, wobei die Aufgabe dieser Erfindung darin besteht, eine Verankerung für Straßenleitpfosten zu Verfügung zu stellen. Die Ausbildung dieser, einzeln für sich angeordnete, Platte zielt darauf ab, den Bereich um den Leitpfosten abzudecken, um den Grünbewuchs hintan zu halten und Mäharbeiten zu ersparen.
Die WO 94/25679 (Bender) beschreibt einen Einfassungsstein, der für Einfassungen von Beeten, Rabatten, aber auch von Pflaster- flächen oder dergleichen verwendet werden kann. Dieser Einfassungsstein könnte zwar im Bankettbereich eingesetzt werden, ist aber hierfür nicht ausgebildet und fällt auch nicht unter den Oberbegriff des Hauptanspruches der gegenständlichen Anmeldung.
Die AT Patentschrift Nr. 339 944 (Haindl) und die deutsche Gebrauchsmusteranmeldung P.A.016511*13.1.65 (Knauer) haben Platten mit Durchbrüchen zum Gegenstand, welche mit den oben angeführten Platten der Ebenseer Betonwerke identisch sind oder zumindest frappante Ähnlichkeit besitzen.
Die hier als mehr oder weniger gattungsgemäß angeführten bekannten Platten sind, mit Ausnahme des Einfassungssteines aus der WO 94/25679 (Bender), Gitterplatten. Die Gitterplatte aus dem GM 79 03 240 (Haslinger) besitzt einen Durchbruch für die Aufnahme von Leitpfosten, stellt jedoch nur eine Einzelplatte dar und ist somit nicht in der Lage, ein Straßenbankett durchlaufend zu befestigen. Die Formgebung dieser Platte ist für eine durchgehende Längsbefestigung nicht geeignet, weil sie einer einheitlichen Bankettbreite nicht entspricht. Die weiteren angeführten Platten mit Durchbrüchen sind auf die Begrünung von Flächen ausgerichtet, die bedingt befahrbar sind, sie eignen sich jedoch nicht für den Schwerverkehr durch z.B. Lastkraftwagen der Straßenmeistereien und sie sind nicht in der Lage, den Fahrbahnrand durchgehend und satt abzustützen. Der Einfassungsstein aus der WO 94/25679 (Bender) entspricht in seiner Konzeption eher einem Gartenelement und bringt für die Befestigung von Straßenbanketten die erforderlichen Merkmale nicht mit. So fehlt ihm z.B. der Durchbruch mit dem an Leitpfosten angepassten Querschnitt und die an ein Bankett angepasste Ausbildung der Oberseite.
Die Erfindung beseitigt nun aufgezeigte Mängel und hat die Aufgabe, ein Straßenbankett durchgehend zu befestigen und die hierzu erforderlichen Merkmale zu erfüllen. In einem ersten Schritt erfolgt dies dadurch, dass die Befestigung(1) oberseitig profiliert ist und eine Neigung von der Fahrbahn nach außen besitzt, an die Fahrbahnkante(2) satt anschließend in Längsrichtung durchgeht und für den Verkehr von Lastkraftfahrzeugen befahrbar ausgebildet ist. Dadurch ist erreicht, dass der Bankett- bereich auch von schweren Lastkraftwagen befahrbar ist, wie z.B. mit Fahrzeugen der Straßenverwaltung, und die Fahrbahn ist durch diese Konstruktion am Rand gesichert und gestützt, wodurch Randbeschädigungen hintan gehalten werden.
Gemäß den Merkmalen des Anspruches 2 erhält die Befestigung(1) oberseitig quer zur Längsrichtung verlaufende etwa mulden- oder rinnenartige Vertiefungen(3) und in Abständen angeordnete Durchbrüche(4) mit einem an Leitpflöcke(5) angepasstem Querschnitt. Die Vertiefungen(3) bewirken ein Abbremsen der seitlich abfließenden Oberflächenwässer und verhindern somit Ausrisse im Bankettbereich. Weiters wirken die Vertiefungen(3) für abkommende Verkehrsteilnehmer als Warneinrichtung durch entstehende dröhnende Rollgeräusche der Fahrzeugreifen. Der Vorteil der Durchbrüche(4) liegt auf der Hand.
Die Breite der Befestigung(1) entspricht der jeweiligen Bankettbreite, somit etwa zwischen 30 und 100cm, je nach Ausbau der Straße, und sichert in angepasster Breite den erforderlichen Bereich.
Die Vertiefungen(3) sind etwa 10cm breit und etwa 10mm tief und weisen einen Achsabstand voneinander von etwa 20cm auf. Diese Dimensionierung bzw. Anordnung ermöglicht die Funktion der Wasserbremsung, ohne dass die Befestigung(1) in ihrer Dicke und Tragfähigkeit wesentlich geschwächt ist, und bewirkt beim Überfahren das warnende Reifendröhnen.
Die Durchbrüche(4) sitzen mittig in einer Vertiefung(3), was eine symmetrische Gestaltung der Oberseite der Bankettbefestigung(1) ergibt, der Abstand der Durchbrüche(4) vom theoretischen Fahrbahnrand (das ist in Österreich die Mitte der Fahrbahnrandmarkierung in Form einer weißen Linie etwas innerhalb der Fahrbahnkante) entspricht der hierfür gültigen Norm.
Um die Befahrbarkeit mit schweren Fahrzeugen zu gewähr- leisten, besitzt die Befestigung(1) eine Bewehrung aus Stahl, Kunststoff, Textil, Glas oder dergleichen in stab-, netz-, gitter- oder faserförmigen Ausführung.
Anspruch 7 und 8 sehen eine Ausführungsart vor, wobei die Befestigung(1) von Straßenbanketten aus etwa plattenförmigen Segmenten(6) zusammengesetzt ist und wobei die Segmente(6) an einer ihrer Endseiten eine etwa trapezförmige bis etwa halbkreisförmige Ausnehmung(7) und an der anderen ihrer Endseiten eine in die Ausnehmung(7) des benachbarten Segmentes passenden vorspringenden Zapfen(8) besitzt und/oder dass die Segmente(7) an ihren Endseiten Ausnehmungen(7') aufweisen, die einer Hälfte des Querschnittes eines Leitpflockes(5) angepasst sind. Diese Art der Ausführung bietet den Vorteil, dass Straßenabschnitte bzw. Bankettbereiche geringeren Ausmaßes befestigt werden können, wobei die Segmente(6) auf Vorrat gelagert und trocken verlegt werden können, wobei eine Verbundwirkung zwischen den Segmenten(6) gegeben ist. Im Falle von Beton als Werkstoff kann die Oberseite der Segmente(6) mit einer glatten Vorsatzschicht ausgestattet und die Unterseite mit einer rauhen Oberfläche versehen sein. Das bringt eine Qualitätsverbesserung der Oberseite mit sich und erhöht die Reibung zwischen den Segmenten(6) und dem Boden, wodurch die Segmente(6) einen verbesserten Halt erzielen.
Anspruch 9 und 10 betreffen die Verfahren zur Herstellung der Befestigung in zwei Arbeitsgängen. Der erste Arbeitsgang beschreibt die Herstellung mittels Fertiger, auch Gleitschalungsfertiger, der den Straßenrand entlang arbeitet und, ähnlich wie bei der Herstellung von Betonleitwänden (auch Betongleitwänden) die Befestigungsmasse formt, linienmäßig ausführt und vorverdichtet. Der zweite Arbeitsgang wird mit einer Rüttelbohle oder dergleichen ausgeführt, wobei eine solche der Form der Befestigung(1) angepasst ist und als Schalungs- und Verdichtungs- gerät mit Vibratoren (Rüttlern) ausgerüstet auf die vorgefertigte Befestigung(1) aufgesetzt und hierbei die Vertiefungen(3) eingerüttelt und ein Durchbruch(4) mittels Formpfahl aus- bzw. durchgedrückt wird. Die Rüttelbohle kann z.B. als längliches Gerät von 4 oder 6m Länge eingesetzt werden.
Die Erfindung ist in der Zeichnung in vier Figuren schematisch und beispielsweise dargestellt. Dabei bedeuten die Figuren:
Fig. 1:
Schrägansicht einer erfindungsgemäßen Befestigung von Straßenbanketten;
Fig. 2:
Querschnitt durch eine erfindungsgemäß ausgebildete Befestigung von Straßenbanketten;
Fig. 3:
Schrägansicht eines Segmentes zur Befestigung von Straßenbanketten;
Fig. 4:
Schrägansicht eines Segmentes zur Befestigung von Straßenbanketten.
Beschreibung der Figuren: Fig.1 zeigt, in einer Schrägansicht zur Straße hin, eine Befestigung(1) von Straßenbanketten. Die Befestigung(1) läuft entlang der Fahrbankante(2), welche sie abstützt, in Längsrichtung ohne Unterbrechung in einem durch. Sie ist so bemessen, dass sie auch von schweren Lastkraftfahrzeugen befahren werden kann. Oberseitig sind etwa rinnenartige bis etwa muldenartige Vertiefungen(3) angeordnet, die abfließende Oberflächenwässer abbremsen können, und die für abkommende Fahrzeuge, bzw. deren Lenkern, als Warneinrichtung dienen, indem sie starke Rollgeräusche der Fahrzeugreifen verursachen. In den Vertiefungen (3) sind in regelmäßigen Abständen Durchbrüche(4) vorgesehen, deren Querschnitt jenen von Leitpflöcken(5) entspricht, und diese bei exaktem Halt aufnehmen können. Das Beispiel zeigt eine Anlage im Entstehen, wobei die Befestigung(1) zum Teil noch frei ist. In Fig.2, einem Querschnitt, sieht man, wie die Befestigung(1) satt an die Fahrbahnkante(2) einer Straße anschließt und diese abstützt. Der Fachmann kann sich unschwer vorstellen, dass dabei der Fahrbahnrand vor Abdrückungen und Ausrissen gesichert wird. Die Befestigung(1) hat einen etwa keilförmigen Querschnitt, dessen Oberseite nach außen zu fällt. An der Oberseite ist auch die Vertiefung(3) zu sehen, die in einen Durchbruch(4) mündet, in welchem ein Leitpflock(5) gelagert ist. An der Außenseite der Befestigung(1) schließt eine Humusschicht zur Begrünung und als Übergang in das Gelände an. Fig.3 zeigt in einer Schrägansicht ein erfindungsgemäßes Segment(6). Im Vordergrund ist die schmalere Längsseite zu sehen, die der Fahrbahn abgewandt ist. Somit ist zu erkennen, dass der Querschnitt des Segmentes(6) keilförmig ausgebildet ist, wobei die Oberseite ein Gefälle von der Fahrbahn nach außen besitzt. Quer zur Längsrichtung sind Vertiefungen(3) ausgebildet, wobei fahrbahnseitig ein Längsstreifen ohne Vertiefungen(3) durchgeht. In der mittleren Vertiefung ist ein Durchbruch(4) angeordnet, dessen Querschnitt jenem eines Leitpflockes(5) angepasst ist. An einer der Endseiten ist eine Ausnehmung(7) ausgebildet, an der anderen Endseite ein Zapfen(8), der einer Ausnehmung(7) eines benachbarten Segmentes(6) zuordenbar ist. Fig.4, ebenfalls eine Schrägansicht, zeigt ein Segment(6), das sich von jenem in Fig.3 dadurch unterscheidet, dass anstatt Ausnehmung(7) und Zapfen(8) Ausnehmungen(7') ausgebildet sind, die je einer Hälfte des eines Leitpflockes(5) angepasstem Querschnitt entsprechen. Somit kann bei Aneinanderreihung solcher Segmente(6) jeweils zwischen den Segmenten(6) ein Leitpflock(5) eingesetzt sein. Die Erfindung umschließt jedoch auch die Möglichkeit, die Segmente zu kombinieren, wobei an einer Endseite sowohl eine Ausnehmung(7) als auch eine Ausnehmung(7') und an der anderen Endseite ein Zapfen(8) und eine Ausnehmung(7') ausgebildet sind.
Die Erfindung beschränkt sich nicht auf diese dargestellten Beispiele, sondern kann im Sinne der Erfindung in weiteren Ausführungsformen realisiert werden, z.B. bei anderer Formgebung der Vertiefungen(3) oder bei anderer Wahl der Verhältnisse von Breite und Dicke der Befestigung(1).

Claims (10)

  1. Befestigung von Straßenbanketten oder dergl. aus Beton oder Asphalt oder dergl., wobei die Befestigung oberseitig an das Regelprofil des Straßenbankettes angepasst ist und Durchbrüche aufweist,
    dadurch gekennzeichnet, dass
    die Befestigung(1) oberseitig profiliert ist und eine Neigung von der Fahrbahn nach außen besitzt, an die Fahrbahnkante(2) satt anschließend in Längsrichtung durchgeht und für den Verkehr von Lastkraftfahrzeugen befahrbar ausgebildet ist.
  2. Befestigung von Straßenbanketten nach Anspruch 1,
    dadurch gekennzeichnet, dass
    die Befestigung(1) oberseitig quer zur Längsrichtung verlaufende etwa mulden- oder rinnenartige Vertiefungen(3) und in Abständen angeordnete Durchbrüche(4) mit einem an Leitpflöcke(5) angepasstem Querschnitt besitzt.
  3. Befestigung von Straßenbanketten nach Anspruch 1 oder 2,
    dadurch gekennzeichnet, dass
    die Breite der Befestigung(1) der jeweiligen Bankettbreite entspricht und somit etwa zwischen 30 und 100 cm beträgt.
  4. Befestigung von Straßenbanketten nach Anspruch 1, 2 oder 3,
    dadurch gekennzeichnet, dass
    die Vertiefungen(3) etwa 10 cm breit und etwa 10 mm tief sind und von einander einen Achsabstand von etwa 20 cm aufweisen.
  5. Befestigung von Straßenbanketten nach Anspruch 1, 2, 3 oder 4,
    dadurch gekennzeichnet, dass
    die Durchbrüche(4) mittig in einer Vertiefung angeordnet sind und einen vom theoretischen Fahrbahnrand normgemäßen Abstand besitzen.
  6. Befestigung von Straßenbanketten nach einem der Ansprüche 1 bis 5,
    dadurch gekennzeichnet, dass
    die Befestigung(1) eine Bewehrung aus Stahl, Kunststoff, Textil, Glas oder dergl. in stab-, netz-, gitter- oder faserförmigen Ausführung besitzt.
  7. Befestigung von Straßenbanketten nach einem der Ansprüche 1 bis 6,
    dadurch gekennzeichnet, dass
    sie aus etwa plattenförmigen Segmenten(6) zusammengesetzt ist, wobei die Segmente(6) an einer ihrer Endseiten eine etwa trapezförmige bis etwa halbkreisförmige Ausnehmung(7) und an der anderen ihrer Endseiten eine in die Ausnehmung(7) des benachbarten Segmentes passenden vorspringenden Zapfen(8) besitzt und/oder dass die Segmente(6)an ihren Endseiten Ausnehmungen (7') aufweisen, die einer Hälfte des Querschnittes eines Leitpflockes(5) angepasst sind.
  8. Befestigung von Straßenbanketten nach Anspruch 7,
    dadurch gekennzeichnet, dass
    im Falle von Beton als Werkstoff die Oberseite mit einer glatten Vorsatzschicht ausgestattet und dass die Unterseite mit einer rauhen Oberfläche versehen ist.
  9. Verfahren zur Herstellung einer Befestigung von Straßenbanketten nach einem der Ansprüche 1 bis 6,
    dadurch gekennzeichnet, dass
    die Befestigung mit einem den Straßenrand entlang arbeitenden Fertiger, Gleitschalungsfertiger oder dergleichen, hergestellt wird.
  10. Verfahren nach Anspruch 9,
    dadurch gekennzeichnet, dass
    in einem zweiten Arbeitsgang die nach Anspruch 9 hergestellte Bankettbefestigung(1) mit einer Rüttelbohle oder dergleichen nachbearbeitet wird, wobei die Verdichtung der Bankettbefestigung(1) verbessert und die oberseitige Profilierung mit Vertiefungen (3) und Durchbrüchen(4) hergestellt wird.
EP04016895A 2003-10-07 2004-07-17 Befestigung von Strassenbanketten Expired - Lifetime EP1522630B1 (de)

Priority Applications (1)

Application Number Priority Date Filing Date Title
SI200431397T SI1522630T1 (sl) 2003-10-07 2004-07-17 Pritrditev cestnih banket

Applications Claiming Priority (4)

Application Number Priority Date Filing Date Title
AT15802003 2003-10-07
AT15802003 2003-10-07
AT8152004 2004-05-12
AT8152004A AT413395B (de) 2004-05-12 2004-05-12 Befestigung von strassenbanketten und verfahren zur herstellung derselben

Publications (3)

Publication Number Publication Date
EP1522630A2 true EP1522630A2 (de) 2005-04-13
EP1522630A3 EP1522630A3 (de) 2005-10-19
EP1522630B1 EP1522630B1 (de) 2010-02-24

Family

ID=34314326

Family Applications (1)

Application Number Title Priority Date Filing Date
EP04016895A Expired - Lifetime EP1522630B1 (de) 2003-10-07 2004-07-17 Befestigung von Strassenbanketten

Country Status (4)

Country Link
EP (1) EP1522630B1 (de)
AT (1) ATE458862T1 (de)
DE (1) DE502004010800D1 (de)
SI (1) SI1522630T1 (de)

Cited By (5)

* Cited by examiner, † Cited by third party
Publication number Priority date Publication date Assignee Title
DE102009007146A1 (de) * 2009-02-02 2010-08-05 Kaller, Ansgar, Dipl.-Ing. Formstein und Verkehrsfläche mit Formstein
EP2374933A3 (de) * 2010-04-12 2013-03-27 Egon Böhling Oberflächenbelag
EP3091124A1 (de) * 2015-05-07 2016-11-09 Peter Geiger Stein zur befestigung von strassenbanketten
EP3739123A1 (de) * 2019-05-14 2020-11-18 W Quadrat GmbH Vorrichtung zum fertigen eines strassenbanketts
CN116815586A (zh) * 2023-06-25 2023-09-29 徐工集团工程机械股份有限公司道路机械分公司 一种摊铺机及摊铺控制方法

Families Citing this family (6)

* Cited by examiner, † Cited by third party
Publication number Priority date Publication date Assignee Title
WO2015024656A1 (de) 2013-08-23 2015-02-26 Betonwerk Kwade Gmbh & Co. Kommanditgesellschaft Formstein aus beton
DE202013007607U1 (de) 2013-08-23 2014-11-24 Betonwerk Kwade Gmbh & Co. Kg Formstein aus Beton
DE202014000061U1 (de) 2014-01-10 2014-05-20 Karl Kortmann Formstein aus Beton
DE102015108238A1 (de) 2015-05-26 2016-12-01 Peter Rausch Bankettplatte
DE202016000911U1 (de) 2016-02-12 2016-06-14 Betonwerk Kwade Gmbh & Co. Kommanditgesellschaft Formstein aus Beton
DE102021100992A1 (de) 2021-01-19 2022-07-21 Betonwerk Lintel Gmbh & Co. Kg Formstein aus Beton zur Begrenzung von Fahrbahnen für Straßen

Citations (2)

* Cited by examiner, † Cited by third party
Publication number Priority date Publication date Assignee Title
AT339944B (de) 1974-04-19 1977-11-10 Haindl Leopold Formstein
WO1994025679A1 (en) 1993-04-28 1994-11-10 Bender David C Edging block

Family Cites Families (7)

* Cited by examiner, † Cited by third party
Publication number Priority date Publication date Assignee Title
US2826128A (en) * 1953-08-11 1958-03-11 Summers Otto Murray Signaling section at the edge of a highway lane
GB853557A (en) * 1957-11-13 1960-11-09 Croft Granite Brick And Concre Roadways
DE7903240U1 (de) * 1979-02-07 1979-05-03 Haslinger, Max, 8162 Schliersee Verankerungsplatte fuer strassenleitpfosten
AUPN558995A0 (en) * 1995-09-22 1995-10-19 Sharpe, Alan Method of laying roadway materials
DE10054818A1 (de) * 2000-10-24 2002-04-25 Godelmann Jun Verfahren zum Herstellen von Bodenplatten aus Beton sowie nach diesem Verfahren hergestellte Bodenplatte
NL1019009C1 (nl) * 2001-09-21 2003-03-25 Kellen Beton B V Bestratingselement.
AUPR947601A0 (en) * 2001-12-14 2002-01-24 Eggleton, Richard Clive Improvements in machines for laying concrete edge strips

Patent Citations (2)

* Cited by examiner, † Cited by third party
Publication number Priority date Publication date Assignee Title
AT339944B (de) 1974-04-19 1977-11-10 Haindl Leopold Formstein
WO1994025679A1 (en) 1993-04-28 1994-11-10 Bender David C Edging block

Cited By (5)

* Cited by examiner, † Cited by third party
Publication number Priority date Publication date Assignee Title
DE102009007146A1 (de) * 2009-02-02 2010-08-05 Kaller, Ansgar, Dipl.-Ing. Formstein und Verkehrsfläche mit Formstein
EP2374933A3 (de) * 2010-04-12 2013-03-27 Egon Böhling Oberflächenbelag
EP3091124A1 (de) * 2015-05-07 2016-11-09 Peter Geiger Stein zur befestigung von strassenbanketten
EP3739123A1 (de) * 2019-05-14 2020-11-18 W Quadrat GmbH Vorrichtung zum fertigen eines strassenbanketts
CN116815586A (zh) * 2023-06-25 2023-09-29 徐工集团工程机械股份有限公司道路机械分公司 一种摊铺机及摊铺控制方法

Also Published As

Publication number Publication date
SI1522630T1 (sl) 2010-06-30
EP1522630B1 (de) 2010-02-24
ATE458862T1 (de) 2010-03-15
EP1522630A3 (de) 2005-10-19
DE502004010800D1 (de) 2010-04-08

Similar Documents

Publication Publication Date Title
DE29710241U1 (de) Befestigung von Verkehrsflächen im Freien mit Pflastersteinen oder Platten
EP1522630B1 (de) Befestigung von Strassenbanketten
AT508575A1 (de) Schutzvorrichtung
DE4036444A1 (de) Plattenfoermiger pflasterstein
DE102007046249B4 (de) Gleiskörper mit geklebten Trögen
EP3041993B1 (de) Formstein aus beton
DE3133420A1 (de) Begrenzungselement
DE7318067U (de) Fugendichtung fuer die dehnungsfugen von betonplatten-fahrbahnkonstruktionen
DE8312556U1 (de) Markierungsstein in form eines laenglichen, balkenartigen koerpers
AT360574B (de) Stuetz- und futtermauer
WO2009147586A1 (de) Verkehrsleiteinrichtung
EP1199408A1 (de) Überfahrbare Kreisverkehrsinsel sowie Verfahren zur Herstellung eines Auflagers und einer Verankerung für eine überfahrbare Kreisverkehrsinsel
AT413395B (de) Befestigung von strassenbanketten und verfahren zur herstellung derselben
DE2222429A1 (de) Strassenfugendichtung und Enddammanordnung
EP0224048A2 (de) Verbundplattenelement für Spurbahnen und Verfahren zu dessen Verlegung
EP1837441B1 (de) Parkplatz
DE102015113034A1 (de) Rückhaltesystem, insbesondere aus Beton, und Verfahren zu dessen Herstellung
DE102004020101A1 (de) Bankettplatte
AT281896B (de) Rasterfliese aus kunststoff
EP2374933B1 (de) Oberflächenbelag
DE10242314B4 (de) Abflussmuldensystem
DE29609029U1 (de) Kunststeinelement
DE3622715A1 (de) Begruenbare laermschutzwand
AT509151B1 (de) Strassenanordnung
DE580437C (de) Strassenfahrbahn

Legal Events

Date Code Title Description
PUAI Public reference made under article 153(3) epc to a published international application that has entered the european phase

Free format text: ORIGINAL CODE: 0009012

AK Designated contracting states

Kind code of ref document: A2

Designated state(s): AT BE BG CH CY CZ DE DK EE ES FI FR GB GR HU IE IT LI LU MC NL PL PT RO SE SI SK TR

AX Request for extension of the european patent

Extension state: AL HR LT LV MK

PUAL Search report despatched

Free format text: ORIGINAL CODE: 0009013

AK Designated contracting states

Kind code of ref document: A3

Designated state(s): AT BE BG CH CY CZ DE DK EE ES FI FR GB GR HU IE IT LI LU MC NL PL PT RO SE SI SK TR

AX Request for extension of the european patent

Extension state: AL HR LT LV MK

RIC1 Information provided on ipc code assigned before grant

Ipc: 7E 01C 11/22 A

Ipc: 7E 01C 19/43 B

Ipc: 7E 01C 9/00 B

Ipc: 7E 01F 9/047 B

Ipc: 7E 01C 19/48 B

17P Request for examination filed

Effective date: 20051112

AKX Designation fees paid

Designated state(s): AT BE BG CH CY CZ DE DK EE ES FI FR GB GR HU IE IT LI LU MC NL PL PT RO SE SI SK TR

AXX Extension fees paid

Extension state: HR

Payment date: 20051112

17Q First examination report despatched

Effective date: 20071213

GRAP Despatch of communication of intention to grant a patent

Free format text: ORIGINAL CODE: EPIDOSNIGR1

GRAS Grant fee paid

Free format text: ORIGINAL CODE: EPIDOSNIGR3

GRAA (expected) grant

Free format text: ORIGINAL CODE: 0009210

AK Designated contracting states

Kind code of ref document: B1

Designated state(s): AT BE BG CH CY CZ DE DK EE ES FI FR GB GR HU IE IT LI LU MC NL PL PT RO SE SI SK TR

AX Request for extension of the european patent

Extension state: HR

REG Reference to a national code

Ref country code: GB

Ref legal event code: FG4D

Free format text: NOT ENGLISH

REG Reference to a national code

Ref country code: CH

Ref legal event code: EP

REG Reference to a national code

Ref country code: IE

Ref legal event code: FG4D

Free format text: LANGUAGE OF EP DOCUMENT: GERMAN

REF Corresponds to:

Ref document number: 502004010800

Country of ref document: DE

Date of ref document: 20100408

Kind code of ref document: P

REG Reference to a national code

Ref country code: CH

Ref legal event code: NV

Representative=s name: CABINET ROLAND NITHARDT CONSEILS EN PROPRIETE INDU

REG Reference to a national code

Ref country code: RO

Ref legal event code: EPE

REG Reference to a national code

Ref country code: NL

Ref legal event code: T3

PG25 Lapsed in a contracting state [announced via postgrant information from national office to epo]

Ref country code: PT

Free format text: LAPSE BECAUSE OF FAILURE TO SUBMIT A TRANSLATION OF THE DESCRIPTION OR TO PAY THE FEE WITHIN THE PRESCRIBED TIME-LIMIT

Effective date: 20100625

PG25 Lapsed in a contracting state [announced via postgrant information from national office to epo]

Ref country code: PL

Free format text: LAPSE BECAUSE OF FAILURE TO SUBMIT A TRANSLATION OF THE DESCRIPTION OR TO PAY THE FEE WITHIN THE PRESCRIBED TIME-LIMIT

Effective date: 20100224

Ref country code: FI

Free format text: LAPSE BECAUSE OF FAILURE TO SUBMIT A TRANSLATION OF THE DESCRIPTION OR TO PAY THE FEE WITHIN THE PRESCRIBED TIME-LIMIT

Effective date: 20100224

REG Reference to a national code

Ref country code: IE

Ref legal event code: FD4D

REG Reference to a national code

Ref country code: SK

Ref legal event code: T3

Ref document number: E 7477

Country of ref document: SK

PG25 Lapsed in a contracting state [announced via postgrant information from national office to epo]

Ref country code: SE

Free format text: LAPSE BECAUSE OF FAILURE TO SUBMIT A TRANSLATION OF THE DESCRIPTION OR TO PAY THE FEE WITHIN THE PRESCRIBED TIME-LIMIT

Effective date: 20100224

Ref country code: ES

Free format text: LAPSE BECAUSE OF FAILURE TO SUBMIT A TRANSLATION OF THE DESCRIPTION OR TO PAY THE FEE WITHIN THE PRESCRIBED TIME-LIMIT

Effective date: 20100604

Ref country code: CY

Free format text: LAPSE BECAUSE OF FAILURE TO SUBMIT A TRANSLATION OF THE DESCRIPTION OR TO PAY THE FEE WITHIN THE PRESCRIBED TIME-LIMIT

Effective date: 20100224

Ref country code: IE

Free format text: LAPSE BECAUSE OF FAILURE TO SUBMIT A TRANSLATION OF THE DESCRIPTION OR TO PAY THE FEE WITHIN THE PRESCRIBED TIME-LIMIT

Effective date: 20100224

Ref country code: GR

Free format text: LAPSE BECAUSE OF FAILURE TO SUBMIT A TRANSLATION OF THE DESCRIPTION OR TO PAY THE FEE WITHIN THE PRESCRIBED TIME-LIMIT

Effective date: 20100525

Ref country code: EE

Free format text: LAPSE BECAUSE OF FAILURE TO SUBMIT A TRANSLATION OF THE DESCRIPTION OR TO PAY THE FEE WITHIN THE PRESCRIBED TIME-LIMIT

Effective date: 20100224

PG25 Lapsed in a contracting state [announced via postgrant information from national office to epo]

Ref country code: BG

Free format text: LAPSE BECAUSE OF FAILURE TO SUBMIT A TRANSLATION OF THE DESCRIPTION OR TO PAY THE FEE WITHIN THE PRESCRIBED TIME-LIMIT

Effective date: 20100524

REG Reference to a national code

Ref country code: HU

Ref legal event code: AG4A

Ref document number: E008560

Country of ref document: HU

PLBE No opposition filed within time limit

Free format text: ORIGINAL CODE: 0009261

STAA Information on the status of an ep patent application or granted ep patent

Free format text: STATUS: NO OPPOSITION FILED WITHIN TIME LIMIT

PG25 Lapsed in a contracting state [announced via postgrant information from national office to epo]

Ref country code: DK

Free format text: LAPSE BECAUSE OF FAILURE TO SUBMIT A TRANSLATION OF THE DESCRIPTION OR TO PAY THE FEE WITHIN THE PRESCRIBED TIME-LIMIT

Effective date: 20100224

26N No opposition filed

Effective date: 20101125

PG25 Lapsed in a contracting state [announced via postgrant information from national office to epo]

Ref country code: MC

Free format text: LAPSE BECAUSE OF NON-PAYMENT OF DUE FEES

Effective date: 20100731

GBPC Gb: european patent ceased through non-payment of renewal fee

Effective date: 20100717

PG25 Lapsed in a contracting state [announced via postgrant information from national office to epo]

Ref country code: GB

Free format text: LAPSE BECAUSE OF NON-PAYMENT OF DUE FEES

Effective date: 20100717

PG25 Lapsed in a contracting state [announced via postgrant information from national office to epo]

Ref country code: LU

Free format text: LAPSE BECAUSE OF NON-PAYMENT OF DUE FEES

Effective date: 20100717

PG25 Lapsed in a contracting state [announced via postgrant information from national office to epo]

Ref country code: TR

Free format text: LAPSE BECAUSE OF FAILURE TO SUBMIT A TRANSLATION OF THE DESCRIPTION OR TO PAY THE FEE WITHIN THE PRESCRIBED TIME-LIMIT

Effective date: 20100224

REG Reference to a national code

Ref country code: DE

Ref legal event code: R082

Ref document number: 502004010800

Country of ref document: DE

REG Reference to a national code

Ref country code: CH

Ref legal event code: PUE

Owner name: FRIEDRICH GRASPOINTNER, AT

Free format text: FORMER OWNER: RAUSCH, PETER, AT

REG Reference to a national code

Ref country code: AT

Ref legal event code: PC

Ref document number: 458862

Country of ref document: AT

Kind code of ref document: T

Owner name: ING. FRIEDRICH GRASPOINTNER, BERNHARD KNOBLECH, AT

Effective date: 20131112

REG Reference to a national code

Ref country code: DE

Ref legal event code: R081

Ref document number: 502004010800

Country of ref document: DE

Owner name: KNOBLECHNER, BERNHARD, AT

Free format text: FORMER OWNER: RAUSCH, PETER, THOERL, AT

Effective date: 20131126

Ref country code: DE

Ref legal event code: R081

Ref document number: 502004010800

Country of ref document: DE

Owner name: GRASPOINTNER, FRIEDRICH, AT

Free format text: FORMER OWNER: RAUSCH, PETER, THOERL, AT

Effective date: 20131126

REG Reference to a national code

Ref country code: NL

Ref legal event code: SD

Effective date: 20140207

REG Reference to a national code

Ref country code: SI

Ref legal event code: SP73

Owner name: FRIEDRICH GRASPOINTNER; AT

Effective date: 20140307

REG Reference to a national code

Ref country code: HU

Ref legal event code: GB9C

Owner name: BERNHARD KNOBLECHNER, AT

Free format text: FORMER OWNER(S): RAUSCH, PETER, AT

Ref country code: HU

Ref legal event code: GB9C

Owner name: ING. FRIEDRICH GRASPOINTNER, AT

Free format text: FORMER OWNER(S): RAUSCH, PETER, AT

REG Reference to a national code

Ref country code: SK

Ref legal event code: PC4A

Ref document number: E 7477

Country of ref document: SK

Owner name: GRASPOINTNER FRIEDRICH, ING., OBERWANG, AT

Free format text: FORMER OWNER: RAUSCH PETER, THOERL, STEIERMARK, AT

Effective date: 20130619

Ref country code: SK

Ref legal event code: PC4A

Ref document number: E 7477

Country of ref document: SK

Owner name: KNOBLECHNER BERNHARD, OBERWANG, AT

Free format text: FORMER OWNER: RAUSCH PETER, THOERL, STEIERMARK, AT

Effective date: 20130619

PG25 Lapsed in a contracting state [announced via postgrant information from national office to epo]

Ref country code: IT

Free format text: LAPSE BECAUSE OF NON-PAYMENT OF DUE FEES

Effective date: 20140717

REG Reference to a national code

Ref country code: FR

Ref legal event code: TP

Owner name: ING- FRIEDRICH GRASPOINTNER ET BERNHARD KNOBLE, AT

Effective date: 20150320

PGFP Annual fee paid to national office [announced via postgrant information from national office to epo]

Ref country code: IT

Payment date: 20150709

Year of fee payment: 11

PGRI Patent reinstated in contracting state [announced from national office to epo]

Ref country code: IT

Effective date: 20151214

REG Reference to a national code

Ref country code: FR

Ref legal event code: PLFP

Year of fee payment: 13

REG Reference to a national code

Ref country code: FR

Ref legal event code: PLFP

Year of fee payment: 14

PG25 Lapsed in a contracting state [announced via postgrant information from national office to epo]

Ref country code: IT

Free format text: LAPSE BECAUSE OF NON-PAYMENT OF DUE FEES

Effective date: 20140717

PGRI Patent reinstated in contracting state [announced from national office to epo]

Ref country code: IT

Effective date: 20151214

REG Reference to a national code

Ref country code: FR

Ref legal event code: PLFP

Year of fee payment: 15

PGFP Annual fee paid to national office [announced via postgrant information from national office to epo]

Ref country code: BE

Payment date: 20220607

Year of fee payment: 19

PGFP Annual fee paid to national office [announced via postgrant information from national office to epo]

Ref country code: NL

Payment date: 20220726

Year of fee payment: 19

PGFP Annual fee paid to national office [announced via postgrant information from national office to epo]

Ref country code: SI

Payment date: 20220715

Year of fee payment: 19

PGFP Annual fee paid to national office [announced via postgrant information from national office to epo]

Ref country code: CZ

Payment date: 20230607

Year of fee payment: 20

PGFP Annual fee paid to national office [announced via postgrant information from national office to epo]

Ref country code: SK

Payment date: 20230606

Year of fee payment: 20

PGFP Annual fee paid to national office [announced via postgrant information from national office to epo]

Ref country code: RO

Payment date: 20230713

Year of fee payment: 20

Ref country code: CH

Payment date: 20230801

Year of fee payment: 20

Ref country code: AT

Payment date: 20230606

Year of fee payment: 20

PGFP Annual fee paid to national office [announced via postgrant information from national office to epo]

Ref country code: HU

Payment date: 20230616

Year of fee payment: 20

Ref country code: FR

Payment date: 20230710

Year of fee payment: 20

Ref country code: DE

Payment date: 20230606

Year of fee payment: 20

REG Reference to a national code

Ref country code: NL

Ref legal event code: MM

Effective date: 20230801

REG Reference to a national code

Ref country code: BE

Ref legal event code: MM

Effective date: 20230731

PG25 Lapsed in a contracting state [announced via postgrant information from national office to epo]

Ref country code: NL

Free format text: LAPSE BECAUSE OF NON-PAYMENT OF DUE FEES

Effective date: 20230801

PG25 Lapsed in a contracting state [announced via postgrant information from national office to epo]

Ref country code: NL

Free format text: LAPSE BECAUSE OF NON-PAYMENT OF DUE FEES

Effective date: 20230801

PG25 Lapsed in a contracting state [announced via postgrant information from national office to epo]

Ref country code: SI

Free format text: LAPSE BECAUSE OF NON-PAYMENT OF DUE FEES

Effective date: 20230718

PG25 Lapsed in a contracting state [announced via postgrant information from national office to epo]

Ref country code: SI

Free format text: LAPSE BECAUSE OF NON-PAYMENT OF DUE FEES

Effective date: 20230718

Ref country code: BE

Free format text: LAPSE BECAUSE OF NON-PAYMENT OF DUE FEES

Effective date: 20230731

REG Reference to a national code

Ref country code: SI

Ref legal event code: KO00

Effective date: 20240430

REG Reference to a national code

Ref country code: DE

Ref legal event code: R071

Ref document number: 502004010800

Country of ref document: DE

REG Reference to a national code

Ref country code: CH

Ref legal event code: PL

REG Reference to a national code

Ref country code: SK

Ref legal event code: MK4A

Ref document number: E 7477

Country of ref document: SK

Expiry date: 20240717

REG Reference to a national code

Ref country code: AT

Ref legal event code: MK07

Ref document number: 458862

Country of ref document: AT

Kind code of ref document: T

Effective date: 20240717

PG25 Lapsed in a contracting state [announced via postgrant information from national office to epo]

Ref country code: CZ

Free format text: LAPSE BECAUSE OF EXPIRATION OF PROTECTION

Effective date: 20240717

PG25 Lapsed in a contracting state [announced via postgrant information from national office to epo]

Ref country code: SK

Free format text: LAPSE BECAUSE OF EXPIRATION OF PROTECTION

Effective date: 20240717

PG25 Lapsed in a contracting state [announced via postgrant information from national office to epo]

Ref country code: SK

Free format text: LAPSE BECAUSE OF EXPIRATION OF PROTECTION

Effective date: 20240717

Ref country code: CZ

Free format text: LAPSE BECAUSE OF EXPIRATION OF PROTECTION

Effective date: 20240717