EP1256293A2 - Stuhl, insbesondere Bürostuhl - Google Patents

Stuhl, insbesondere Bürostuhl Download PDF

Info

Publication number
EP1256293A2
EP1256293A2 EP02010377A EP02010377A EP1256293A2 EP 1256293 A2 EP1256293 A2 EP 1256293A2 EP 02010377 A EP02010377 A EP 02010377A EP 02010377 A EP02010377 A EP 02010377A EP 1256293 A2 EP1256293 A2 EP 1256293A2
Authority
EP
European Patent Office
Prior art keywords
seat
backrest
support
chair
link
Prior art date
Legal status (The legal status is an assumption and is not a legal conclusion. Google has not performed a legal analysis and makes no representation as to the accuracy of the status listed.)
Granted
Application number
EP02010377A
Other languages
English (en)
French (fr)
Other versions
EP1256293A3 (de
EP1256293B1 (de
Inventor
Armin Sander
Martin Potrykus
Peter Horn
Current Assignee (The listed assignees may be inaccurate. Google has not performed a legal analysis and makes no representation or warranty as to the accuracy of the list.)
SANDER, ARMIN
Original Assignee
ITO Design und Marketing Armin Sander
Priority date (The priority date is an assumption and is not a legal conclusion. Google has not performed a legal analysis and makes no representation as to the accuracy of the date listed.)
Filing date
Publication date
Application filed by ITO Design und Marketing Armin Sander filed Critical ITO Design und Marketing Armin Sander
Publication of EP1256293A2 publication Critical patent/EP1256293A2/de
Publication of EP1256293A3 publication Critical patent/EP1256293A3/de
Application granted granted Critical
Publication of EP1256293B1 publication Critical patent/EP1256293B1/de
Anticipated expiration legal-status Critical
Expired - Lifetime legal-status Critical Current

Links

Images

Classifications

    • AHUMAN NECESSITIES
    • A47FURNITURE; DOMESTIC ARTICLES OR APPLIANCES; COFFEE MILLS; SPICE MILLS; SUCTION CLEANERS IN GENERAL
    • A47CCHAIRS; SOFAS; BEDS
    • A47C1/00Chairs adapted for special purposes
    • A47C1/02Reclining or easy chairs
    • A47C1/031Reclining or easy chairs having coupled concurrently adjustable supporting parts
    • A47C1/032Reclining or easy chairs having coupled concurrently adjustable supporting parts the parts being movably-coupled seat and back-rest
    • A47C1/03255Reclining or easy chairs having coupled concurrently adjustable supporting parts the parts being movably-coupled seat and back-rest with a central column, e.g. rocking office chairs
    • AHUMAN NECESSITIES
    • A47FURNITURE; DOMESTIC ARTICLES OR APPLIANCES; COFFEE MILLS; SPICE MILLS; SUCTION CLEANERS IN GENERAL
    • A47CCHAIRS; SOFAS; BEDS
    • A47C1/00Chairs adapted for special purposes
    • A47C1/02Reclining or easy chairs
    • A47C1/031Reclining or easy chairs having coupled concurrently adjustable supporting parts
    • A47C1/032Reclining or easy chairs having coupled concurrently adjustable supporting parts the parts being movably-coupled seat and back-rest
    • A47C1/03294Reclining or easy chairs having coupled concurrently adjustable supporting parts the parts being movably-coupled seat and back-rest slidingly movable in the base frame, e.g. by rollers

Definitions

  • the invention relates to a chair, in particular office chair, with an over a backrest carrier articulated on a backrest and with one synchronously movable seat, the front area via a sliding guide and the rear area via a seat link with the seat support connected is.
  • the synchronous mechanism serves to adjust the backrest change the position of the seat at the same time.
  • the invention is therefore based on the object of a chair, in particular a chair Office chair, with a particularly suitable and easy-to-implement synchronizing mechanism specify.
  • the invention is based on the consideration that with a chair or Seating with adjustable seat and adjustable backrest the adjustment options from the seat on the one hand and the backrest on the other can be viewed independently.
  • the construction thus points initially two degrees of freedom.
  • the backrest can be adjusted only a single degree of freedom when the articulation of the backrest on the seat support in a simple manner via the rigid with the backrest connected backrest support is realized on the seat support via a single Rotational axis is rotatably attached.
  • the seat can be more complex Have adjustment options, being analogous to the adjustability of the backrest nevertheless it can be assumed that the setting options the seat can be written with a single degree of freedom.
  • the movement can do both a translation and a tilting movement or a combination of different forms of movement.
  • the seat surface can be moved in a rigid axis connected to it be provided in the elongated hole provided in the backrest link. It is advantageous however, the upper pivot point common to the seat surface and the seat link in a corresponding slot in the backrest handlebar.
  • the seat handlebar is included expediently concave in the direction of the seat.
  • the sliding guide provided in the front seating area can be adjusted in the seat support provided slot and one guided therein, rigid with the seat connected axis or be realized by a cylinder. Regardless of that advantageously an obliquely downward in the direction of the seat support Sliding guide provided. Due to the inclined arrangement of the length compensation element effective front sliding guide of the seat not just an undesirable lifting of the front edge of the seat when leaning back avoided the backrest, but rather a lowering of the The front edge of the seat is reached when the backrest is tilted back. This Lowering is more pronounced, the more the inclination of the sliding guide deviates from the horizontal and runs towards the vertical.
  • the seat link connected to the seat outward inclination of the seat handlebars forward and down becomes more ergonomic
  • the seat increases when you lean back the backrest mainly lowers in its rear area, while at the same time the front edge of the seat back and forth moved down. This gives the seat in the desired manner in its rear area a greater range of motion than in the front Area.
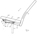
  • the chair 1 designed as an office chair according to FIG. 1 comprises a fixed one Dashed base 2 connected seat support 3. With the seat support 3, a backrest 5 is rotatably connected via a backrest support 4. The Backrest 5 is out of the rest position shown in FIG. 1 the reclined position or position shown in Fig. 2 tiltable backwards. The inclination of the backrest 5 is done by a rotation of one Pivot D1.
  • the backrest support is firmly connected to the backrest 5 4 connected to the seat support 3 via an axis of rotation A, the fulcrum D1 is essentially given by the central axis of this axis of rotation A.
  • a seat surface 6 is also articulated on the seat support 3 via a seat link 7, which in the exemplary embodiment is convex in the direction of the seat 6 or is curved.
  • the seat link 7 is with the seat support 3 via a swivel joint D2 and with the seat 6 in its rear area, i.e. in the backrest 5 facing rear seat half 6b rotatable via a swivel joint D3 connected.
  • the pivot points D2 and D3 are in turn by corresponding ones Realized axes of rotation via which the seat link 7 with the seat support 3 on the one hand and is rotatably connected to the seat 6 on the other hand.
  • the seat surface 6 is connected to the seat support 3 via a sliding guide 8.
  • the sliding guide 8 can be designed in a manner not shown in the form of an elongated hole in the seat support 3 and a rigid axis 9 guided therein and connected to the seat surface 6 or — as shown — as a cylinder guided in the seat support 3. This is then rotatably connected to the seat 6 via the axis 9.
  • the sliding guide 8 is inclined in the direction of the base 2.
  • the backrest 5 is tilted backwards into that shown in Fig. 2 Positioned, the backrest support 4 is clockwise by this inclination rotated and thus the seat link 7 together with the seat 6 down emotional.
  • the angle ⁇ between the seat link 7 and the vertical increases V from about 45 ° to 60 ° to about 90 °.
  • the seat handlebar is in the end position 7 almost horizontal.
  • the seat link 7 lies with the seat surface 6 connecting upper pivot D3 based on the seat 6 lower than that the backrest support 4 with the seat support 3 connecting pivot D1, while this is in the rest position below the pivot point D3.

Landscapes

  • Health & Medical Sciences (AREA)
  • Dentistry (AREA)
  • General Health & Medical Sciences (AREA)
  • Chairs For Special Purposes, Such As Reclining Chairs (AREA)
  • Chairs Characterized By Structure (AREA)
  • Hydrogenated Pyridines (AREA)

Abstract

Bei einem Stuhl (1), insbesondere einem Bürostuhl, mit einer über einen Lehnenträger (4) an einem Sitzträger (3) angelenkten Rückenlehne (5) und mit einer synchron hierzu bewegbaren Sitzfläche (6), deren vorderer Bereich (6a) über eine Schiebeführung (8) und deren hinterer Bereich (6b) über einen Sitzlenker (7) mit dem Sitzträger (3) verbunden ist, ist der Abstand (a) des den Sitzlenker (7) mit der Sitzfläche (6) verbindenden oberen Drehpunktes (D3) zur Rückenlehne (5) kleiner ist als der Abstand (b) des den Sitzlenker (7) mit dem Sitzträger (3) verbindenden unteren Drehpunktes (D2) zur Rückenlehne (5). Zur Synchronisation zwischen der Bewegung der Rückenlehne (5) und der Bewegung der Sitzfläche (6) ist eine Schiebeführung (10) der Sitzfläche (6) im Lehnenträger (4) vorgesehen. <IMAGE>

Description

Die Erfindung bezieht sich auf einen Stuhl, insbesondere Bürostuhl, mit einer über einen Lehnenträger an einem Sitzträger angelenkten Rückenlehne und mit einer synchron hierzu bewegbaren Sitzfläche, deren vorderer Bereich über eine Schiebeführung und deren hinterer Bereich über einen Sitzlenker mit dem Sitzträger verbunden ist.
Sitzmöbel und insbesondere Stühle, bei denen sich deren Sitzfläche und deren Rückenlehne synchron bewegen, sind mit verschiedenen Synchronmechaniken in Gebrauch. Die Synchronmechanik dient dazu, bei Verstellung der Rückenlehne gleichzeitig die Position der Sitzfläche zu verändern.
So ist aus der DE 42 19 599 A1 ein Stuhl oder Sessel mit synchron verstellbarer Neigung von Rückenlehne und Sitz bekannt. Bei diesem Stuhl wird mittels eines an der Sitzfläche in deren hinteren Bereich einerseits und am Sitzträger andererseits angelenkten Sitzlenker mit zunehmender Neigung der Rückenlehne die Sitzfläche angehoben, wobei gleichzeitig ein einerseits mit der Sitzfläche und andererseits mit dem Lehnenlenker drehbar verbundener Schlepphebel die Sitzfläche nach hinten zieht. Aufgrund dieses Anhebens der Sitzfläche im hinteren, der Rükkenlehne zugewandten Bereich kann der Benutzer beim Zurücklehnen der Rükkenlehne auf der Sitzfläche nach vorne rutschen. Bei einer Synchronbewegung von Rückenlehne und Sitzfläche sollte sich die Sitzfläche jedoch zumindest soweit nach hinten und nach unten neigen, dass die vom Benutzer beim Zurücklehnen auf den Sitz oder die Sitzfläche ausgeübte Schubkraft aufgenommen bzw. aufgefangen wird.
Der Erfindung liegt daher die Aufgabe zugrunde, einen Stuhl, insbesondere einen Bürostuhl, mit besonders geeignetem und einfach realisierbarem Synchronmechanismus anzugeben.
Diese Aufgabe wird erfindungsgemäß gelöst durch die Merkmale des Anspruchs 1. Dazu ist einerseits der Abstand des den Sitzlenker mit der Sitzfläche verbindenden oberen Drehpunktes zur Rückenlehne kleiner als der Abstand des den Sitzlenker mit dem Sitzträger verbindenden unteren Drehpunktes zur Rückenlehne. Dadurch erfolgt mit zunehmender Neigung der Rückenlehne keine Anhebung, sondern vorteilhafterweise eine Absenkung der Sitzfläche. Andererseits ist zur Synchronisation zwischen der Bewegung der Rückenlehne und der Bewegung der Sitzfläche eine Schiebeführung der Sitzfläche im Lehnenlenker vorgesehen.
Die Erfindung geht dabei von der Überlegung aus, dass bei einem Stuhl oder Sitzmöbel mit verstellbarer Sitzfläche und verstellbarer Rückenlehne die Verstellmöglichkeiten von Sitzfläche einerseits und Rückenlehne andererseits zunächst unabhängig voneinander betrachtet werden können. Die Konstruktion weist somit zunächst zwei Freiheitsgrade auf. Die Verstellmöglichkeit der Rückenlehne weist dabei lediglich einen einzigen Freiheitsgrad auf, wenn die Anlenkung der Rükkenlehne am Sitzträger in einfacher Weise über den mit der Rückenlehne starr verbundenen Lehnenträger realisiert wird, der am Sitzträger über eine einzige Drehachse drehbar befestigt ist. Darüber hinaus kann die Sitzfläche komplexere Verstellmöglichkeiten aufweisen, wobei analog zur Verstellbarkeit der Rückenlehne dennoch davon ausgegangen werden kann, dass auch die Einstellmöglichkeiten der Sitzfläche mit einem einzigen Freiheitsgrad beschreibbar sind. Die Bewegung der Sitzfläche kann hierbei sowohl eine Translation als auch eine Kippbewegung oder eine Kombination verschiedener Bewegungsformen sein.
Eine Kopplung der Bewegungen der Sitzfläche einerseits und der Rückenlehne andererseits sollte dabei zunächst sicherstellen, dass jeder möglichen Position der Rückenlehne eine Position der Sitzfläche zugeordnet ist, wodurch die gesamte Konstruktion auf einen Freiheitsgrad beschränkt wird. Diese Anforderungen sowie ein sowohl dauerhaft stabiler als auch konstruktiv einfach ausgeführter Kopelmechanismus werden durch eine Schiebeführung der Sitzfläche im Lehnenlenker erfüllt. Dadurch ist insgesamt eine besonders einfache Synchronmechanik gegeben.
Hierzu kann die Sitzfläche über eine mit dieser verbundenen starren Achse in einem im Lehnenlenker vorgesehenen Langloch geführt sein. Vorteilhafterweise ist jedoch der der Sitzfläche und dem Sitzlenker gemeinsame obere Drehpunkt in einem entsprechenden Langloch im Lehnenlenker geführt. Der Sitzlenker ist dabei zweckmäßigerweise in Richtung der Sitzfläche konkav gewölbt ausgeführt.
Die im vorderen Sitzbereich vorgesehene Schiebeführung kann durch ein im Sitzträger vorgesehenes Langloch und eine darin geführte, mit der Sitzfläche starr verbundene Achse oder durch einen Zylinder realisiert sein. Unabhängig davon ist vorteilhafterweise eine in Richtung auf den Sitzträger schräg nach unten verlaufende Schiebeführung vorgesehen. Durch die geneigte Anordnung der als Längenausgleichselement wirksamen vorderen Schiebeführung der Sitzfläche wird nicht nur ein unerwünschtes Anheben der Vorderkante der Sitzfläche beim Zurückneigen der Rückenlehne vermieden, sondern vielmehr eine Absenkung der Vorderkante der Sitzfläche beim Zurückneigen der Rückenlehne erreicht. Diese Absenkung ist umso stärker ausgeprägt, je mehr die Neigung der Schiebeführung von der Horizontalen abweicht und in Richtung zur Vertikalen verläuft.
Durch die vom mit der Sitzfläche verbundenen oberen Drehpunkt des Sitzlenkers ausgehende Neigung des Sitzlenkers nach vorne und nach unten wird in ergonomischer Hinsicht der Komfort dadurch erhöht, dass sich die Sitzfläche beim Zurückneigen der Rückenlehne hauptsächlich in ihrem hinteren Bereich absenkt, während sich gleichzeitig die Vorderkante der Sitzfläche nach hinten und nach unten bewegt. Dadurch erhält die Sitzfläche in gewünschter Art und Weise in deren hinteren Bereich einen größeren Bewegungsspielraum als in deren vorderen Bereich.
Nachfolgend werden Ausführungsbeispiele der Erfindung anhand einer Zeichnung näher erläutert. Darin zeigen:
Fig. 1
in schematischer Seitenansicht einen Bürostuhl in Ruheposition,
Fig. 2
den Bürostuhl gemäß Fig. 1 in nach hinten zurückgeneigter Endstellung.
Einander entsprechende Teile sind in beiden Figuren mit den gleichen Bezugszeichen versehen.
Der als Bürostuhl ausgebildete Stuhl 1 gemäß Fig. 1 umfasst einen fest mit einem strichliniert dargestellten Standfuß 2 verbundenen Sitzträger 3. Mit dem Sitzträger 3 ist über einen Lehnenträger 4 eine Rückenlehne 5 drehbar verbunden. Die Rückenlehne 5 ist dabei aus der in der Fig. 1 gezeigten Ruheposition heraus in die in Fig. 2 dargestellte zurückgeneigte Position oder Stellung nach hinten neigbar. Die Neigung der Rückenlehne 5 erfolgt dabei durch eine Drehung um einen Drehpunkt D1. Dazu ist der mit der Rückenlehne 5 fest verbundene Lehnenträger 4 mit dem Sitzträger 3 über eine Drehachse A verbunden, wobei der Drehpunkt D1 im Wesentlichen durch die Mittelachse dieser Drehachse A gegeben ist.
Am Sitzträger 3 ist weiterhin eine Sitzfläche 6 über einen Sitzlenker 7 angelenkt, der im Ausführungsbeispiel in Richtung auf die Sitzfläche 6 konvex gewölbt oder gebogen ausgeführt ist. Der Sitzlenker 7 ist mit dem Sitzträger 3 über ein Drehgelenk D2 und mit der Sitzfläche 6 in deren hinteren Bereich, d.h. in der der Rükkenlehne 5 zugewandten hinteren Sitzhälfte 6b über ein Drehgelenk D3 drehbar verbunden. Die Drehpunkte D2 und D3 sind wiederum durch entsprechende Drehachsen realisiert, über die der Sitzlenker 7 mit dem Sitzträger 3 einerseits und mit der Sitzfläche 6 andererseits drehbar verbunden ist.
Im vorderen Bereich, d.h. in der der Rückenlehne 5 abgewandten vorderen Sitzhälfte 6a ist die Sitzfläche 6 über eine Schiebeführung 8 mit dem Sitzträger 3 verbunden. Die Schiebeführung 8 kann in nicht näher dargestellter Weise als Langloch im Sitzträger 3 und darin geführter, mit der Sitzfläche 6 verbundener starrer Achse 9 oder - wie dargestellt - als im Sitzträger 3 geführter Zylinder ausgeführt sein. Dieser ist dann mit der Sitzfläche 6 über die Achse 9 drehbar verbunden. Dabei verläuft die Schiebeführung 8 in Richtung auf den Standfuß 2 geneigt. Der Neigungswinkel α zwischen der Schiebeführung 8 und der Vertikalen V beträgt dabei α = (45 ± 30)°, wobei α vorzugsweise 45° ist.
Zur Synchronisation der Bewegung der Rückenlehne 5 und der Bewegung der Sitzfläche 6 ist diese in einer im Lehnenträger 4 vorgesehenen Schiebeführung 10 geführt. Dabei ist zweckmäßigerweise im Lehnenträger 4 ein Langloch 11 vorgesehen, in dem die den Drehpunkt D3 zwischen der Sitzfläche 6 und dem Sitzlenker 7 bildende Achse 12 geführt ist. Alternativ kann auch in diesem Bereich an der Sitzfläche 6 eine separate Achse 12 vorgesehen sein, die dann nicht mit dem Drehpunkt D3 zusammenfällt.
Wird die Rückenlehne 5 durch Neigung nach hinten in die in Fig. 2 dargestellte Position gebracht, so wird durch diese Neigung der Lehnenträger 4 im Uhrzeigersinn gedreht und damit der Sitzlenker 7 zusammen mit der Sitzfläche 6 nach unten bewegt. Dabei nimmt der Winkel β zwischen dem Sitzlenker 7 und der Vertikalen V von etwa 45° bis 60° auf etwa 90° zu. In der Endstellung liegt der Sitzlenker 7 somit nahezu horizontal.
Infolge der Neigung der Rückenlehne 5 senkt sich zusammen mit dem Drehpunkt D3 die Sitzfläche 6 in ihrem hinteren Bereich 6b ab. Gleichzeitig bewegt sich die Vorderkante 13 der Sitzfläche 6 nach hinten und nach unten, wobei der dazu erforderliche Längenausgleich durch die vordere Schiebeführung 8 erfolgt. Die dadurch bedingte Verschiebung der Vorderkante 13 der Sitzfläche 6 zum in Fig. 1 dargestellten Punkt 13' ist durch den Längenpfeil 14 veranschaulicht. Diese Absenkung der vorderen Sitzkante 13 ist geringer als die Absenkung des hinteren Bereichs 6b der Sitzfläche 6, so dass diese insgesamt abgesenkt und im Uhrzeigersinn geneigt wird.
In nach hinten zurückgeneigter Stellung liegt der den Sitzlenker 7 mit der Sitzfläche 6 verbindende obere Drehpunkt D3 bezogen auf die Sitzfläche 6 tiefer als der den Lehnenträger 4 mit dem Sitzträger 3 verbindende Drehpunkt D1, während dieser in der Ruheposition unterhalb des Drehpunktes D3 liegt.
Bezugszeichenliste
1
Stuhl
2
Standfuß
3
Sitzträger
4
Lehnenträger
5
Rückenlehne
6
Sitzfläche
6a
vordere Sitzhälfte
6b
hintere Sitzhälfte
7
Sitzträger
8
Schiebeführung
9
Achse
10
Schiebeführung
11
Langloch
12
Achse
13
Sitzvorderkante
14
Pfeil
A
Drehachse
a,b
Abstand
α,β
Neigungswinkel
D1 bis D3
Drehpunkt
V
Vertikale

Claims (5)

  1. Stuhl, insbesondere Bürostuhl, mit einer über einen Lehnenträger (4) an einem Sitzträger (3) angelenkten Rückenlehne (5) und mit einer synchron hierzu bewegbaren Sitzfläche (6), deren vorderer Bereich (6a) über eine Schiebeführung (8) und deren hinterer Bereich (6b) über einen Sitzlenker (7) mit dem Sitzträger (3) verbunden ist,
       dadurch gekennzeichnet, dass der Abstand (a) des den Sitzlenker (7) mit der Sitzfläche (6) verbindenden oberen Drehpunktes (D3) zur Rückenlehne (5) kleiner ist als der Abstand (b) des den Sitzlenker (7) mit dem Sitzträger (3) verbindenden unteren Drehpunktes (D2) zur Rückenlehne (5), und dass zur Synchronisation zwischen der Bewegung der Rückenlehne (5) und der Bewegung der Sitzfläche (6) eine Schiebeführung (10) der Sitzfläche (6) im Lehnenträger (4) vorgesehen ist.
  2. Stuhl nach Anspruch 1,
       dadurch gekennzeichnet, dass der obere Drehpunkt (D3) in einem im Lehnenträger (4) vorgesehenen Langloch (11) geführt ist.
  3. Stuhl nach Anspruch 1 oder 2,
       dadurch gekennzeichnet, dass im vorderen Bereich (6a) der Sitzfläche (6) eine in Richtung auf den Sitzträger (3) schräg nach unten verlaufende Schiebeführung (8) vorgesehen ist.
  4. Stuhl nach einem der Ansprüche 1 bis 3,
       dadurch gekennzeichnet, dass der Sitzlenker (7) in Richtung zur Sitzfläche (6) konkav gewölbt ist.
  5. Stuhl nach einem der Ansprüche 1 bis 4,
       dadurch gekennzeichnet, dass in nach hinten zurückgeneigter Stellung der Rückenlehne (5) der den Sitzlenker (7) mit der Sitzfläche (6) verbindende obere Drehpunkt (D3) bezogen auf die Sitzfläche (6) tiefer liegt als ein den Lehnenträger (4) mit dem Sitzträger (3) verbindender Drehpunkt (D1).
EP02010377A 2001-05-11 2002-05-08 Stuhl, insbesondere Bürostuhl Expired - Lifetime EP1256293B1 (de)

Applications Claiming Priority (2)

Application Number Priority Date Filing Date Title
DE10122946 2001-05-11
DE10122946A DE10122946C1 (de) 2001-05-11 2001-05-11 Stuhl, insbesondere Bürostuhl

Publications (3)

Publication Number Publication Date
EP1256293A2 true EP1256293A2 (de) 2002-11-13
EP1256293A3 EP1256293A3 (de) 2003-11-26
EP1256293B1 EP1256293B1 (de) 2007-01-03

Family

ID=7684422

Family Applications (1)

Application Number Title Priority Date Filing Date
EP02010377A Expired - Lifetime EP1256293B1 (de) 2001-05-11 2002-05-08 Stuhl, insbesondere Bürostuhl

Country Status (4)

Country Link
US (1) US6692075B2 (de)
EP (1) EP1256293B1 (de)
AT (1) ATE349934T1 (de)
DE (2) DE10122946C1 (de)

Cited By (2)

* Cited by examiner, † Cited by third party
Publication number Priority date Publication date Assignee Title
DE102006023981A1 (de) * 2006-05-22 2007-12-06 Wilkhahn Wilkening + Hahne Gmbh & Co. Kg Stuhl
EP2792275A1 (de) 2013-04-18 2014-10-22 Thergofit GmbH Lehnstuhl

Families Citing this family (21)

* Cited by examiner, † Cited by third party
Publication number Priority date Publication date Assignee Title
DE10194640B4 (de) * 2000-10-16 2008-03-27 Kokuyo Co., Ltd. Stuhl
NO317791B1 (no) * 2002-01-04 2004-12-13 Stokke As Bevegelig ledd
DE10318759B3 (de) 2003-04-25 2004-07-29 Armin Sander Stuhl, insbesondere Bürostuhl, und modulares Stuhlkonzept
US20090015050A1 (en) * 2004-03-13 2009-01-15 Hans Dehli Articulating chair
DE202005004880U1 (de) 2005-03-26 2006-08-03 Sander, Armin Stuhl, insbesondere Bürostuhl
US7261368B1 (en) * 2006-02-27 2007-08-28 Todd Clausnitzer Ergonomic chair
US7717515B2 (en) * 2006-04-24 2010-05-18 Humanscale Corporation Chair having an automatically adjusting resistance to tilting
PT1908374E (pt) * 2006-10-06 2009-05-18 Stoll Giroflex Ag Cadeira de escritório sincronizada
WO2011124027A1 (zh) * 2010-04-07 2011-10-13 Lin Jingheng 具有自由滑滚联动机构的座椅家具
CN103167816A (zh) * 2010-10-19 2013-06-19 株式会社冈村制作所 带扶手的椅子
DE102011104972B4 (de) 2011-06-08 2015-03-05 Haworth, Inc. Sitzmöbel, insbesondere Bürostuhl
US9504326B1 (en) 2012-04-10 2016-11-29 Humanscale Corporation Reclining chair
US9706845B2 (en) 2012-09-20 2017-07-18 Steelcase Inc. Chair assembly
US9801471B2 (en) 2014-04-17 2017-10-31 Hni Technologies Inc. Chair and chair control assemblies, systems, and methods
AU2016247797B2 (en) 2015-04-13 2019-08-01 Steelcase Inc. Seating arrangement
US10966527B2 (en) 2017-06-09 2021-04-06 Steelcase Inc. Seating arrangement and method of construction
US10194750B2 (en) 2015-04-13 2019-02-05 Steelcase Inc. Seating arrangement
US11259637B2 (en) 2015-04-13 2022-03-01 Steelcase Inc. Seating arrangement
DE202017100480U1 (de) 2017-01-30 2018-05-03 Armin Sander Sitzmöbel, insbesondere Bürostuhl
EP3927215B1 (de) 2019-02-21 2025-06-11 Steelcase Inc. Körperstützteil
US11357329B2 (en) 2019-12-13 2022-06-14 Steelcase Inc. Body support assembly and methods for the use and assembly thereof

Citations (1)

* Cited by examiner, † Cited by third party
Publication number Priority date Publication date Assignee Title
DE4219599A1 (de) 1992-06-16 1993-12-23 Sdm Hansen Ag St Margrethen Synchronverstelleinrichtung für Bürostühle oder dergleichen

Family Cites Families (15)

* Cited by examiner, † Cited by third party
Publication number Priority date Publication date Assignee Title
CA806983A (en) * 1965-07-23 1969-02-25 Dufton Ronald Chair tilting mechanism
EP0136374B1 (de) * 1983-10-05 1987-06-16 Giroflex-Entwicklungs AG Stuhl mit neigbarem Sitz- und Lehnenteil
DE3642796A1 (de) * 1986-12-15 1988-06-23 Eckhard Hansen Punktsynchronverstelleinrichtung fuer buerostuehle, sitzmoebel o. dgl.
US4854641A (en) * 1989-01-23 1989-08-08 Reineman Richard G Adjustable chair
DE3916474A1 (de) * 1989-05-20 1990-11-22 Roeder Soehne Sitzmoebelfab Stuhl, insbesondere arbeits- oder buerostuhl
US5288138A (en) * 1990-08-10 1994-02-22 Stulik Edward L Reclining chair
DE4038059A1 (de) * 1990-11-29 1992-06-04 Bock Martin Kunststoff Sitztraeger fuer einen buerostuhl o. dgl.
DE4135948C2 (de) * 1991-10-31 1993-12-23 Rolf Voelkle Stuhl, insbesondere Bürodrehstuhl
IL103477A0 (en) * 1992-10-20 1993-03-15 Paltechnica Nitzanim Office and like chairs
DE4312113C1 (de) * 1993-04-14 1994-10-27 Mauser Waldeck Ag Sitzmöbel
CA2174511A1 (en) * 1993-11-01 1995-05-11 Willi Hensel A working chair with synchronous seat and back adjustment
US5826940A (en) * 1995-11-27 1998-10-27 Hodgdon; Dewey Reactive multi-position chair
DE19702328A1 (de) * 1997-01-23 1998-07-30 Comforto Gmbh Stuhl mit Synchronmechanik
DE19726160A1 (de) * 1997-06-20 1998-12-24 Johannes Uhlenbrock Sitzmöbel, insbesondere Bürodrehstuhl
WO2000022959A1 (de) * 1998-10-20 2000-04-27 Protoned B.V. Stuhlmechanik

Patent Citations (1)

* Cited by examiner, † Cited by third party
Publication number Priority date Publication date Assignee Title
DE4219599A1 (de) 1992-06-16 1993-12-23 Sdm Hansen Ag St Margrethen Synchronverstelleinrichtung für Bürostühle oder dergleichen

Cited By (4)

* Cited by examiner, † Cited by third party
Publication number Priority date Publication date Assignee Title
DE102006023981A1 (de) * 2006-05-22 2007-12-06 Wilkhahn Wilkening + Hahne Gmbh & Co. Kg Stuhl
US7770973B2 (en) 2006-05-22 2010-08-10 Wilkhahn Wilkening + Hahne Gmbh + Co. Kg Chair
EP2792275A1 (de) 2013-04-18 2014-10-22 Thergofit GmbH Lehnstuhl
CH707927A1 (de) * 2013-04-18 2014-10-31 Thergofit Gmbh Lehnstuhl.

Also Published As

Publication number Publication date
DE10122946C1 (de) 2003-01-30
EP1256293A3 (de) 2003-11-26
EP1256293B1 (de) 2007-01-03
US6692075B2 (en) 2004-02-17
US20020167208A1 (en) 2002-11-14
DE50209126D1 (de) 2007-02-15
ATE349934T1 (de) 2007-01-15

Similar Documents

Publication Publication Date Title
DE10122948C1 (de) Stuhl, insbesondere Bürostuhl
DE10122946C1 (de) Stuhl, insbesondere Bürostuhl
EP1256294B1 (de) Stuhl, insbesondere Bürostuhl
DE10026475A1 (de) Stuhl
DE3744365C3 (de) Stuhl, insbesondere Arbeits- oder Bürostuhl
EP0343450B1 (de) Stuhl, insbesondere Arbeits- oder Bürostuhl
DE8627482U1 (de) Sessel
EP1060694A1 (de) Stuhl, insbesondere Bürostuhl
DE3844102A1 (de) Sitz fuer einen buerostuhl od. dgl.
EP1906792A1 (de) Stuhl, insbesondere bürostuhl
EP2070446B1 (de) Bürostuhl mit neigbarer Rückenlehne und Mitteln zur Neigungsbegrenzung der Rückenlehne
EP0397661B1 (de) Stuhl, insbesondere arbeits- oder bürostuhl
DE102007021782B3 (de) Synchronmechanik für Bürostühle
DE4306546A1 (de)
EP1051931B1 (de) Sitzteillagerung mit Synchronmechanik
DE19921153A1 (de) Synchronmechanik für eine korrelierte Sitz-Rückenlehnen-Bewegung eines Bürostuhles
DE10147021A1 (de) Gestell für ein Sitzmöbel
DE102005003383B3 (de) Synchronmechanik
DE3834614A1 (de) Funktionssitzmoebel
DE3313677A1 (de) Sitzmoebel mit synchron verstellbarer rueckenlehne mit sitzflaeche
EP1647207A1 (de) Stuhl
DE29914228U1 (de) Sitzmöbel
DE8630390U1 (de) Sitzmöbel, insbesondere Arbeitsstuhl
DE202023102966U1 (de) Bürostuhl
DE8806835U1 (de) Stuhl, insbesondere Arbeits- oder Bürostuhl

Legal Events

Date Code Title Description
PUAI Public reference made under article 153(3) epc to a published international application that has entered the european phase

Free format text: ORIGINAL CODE: 0009012

AK Designated contracting states

Kind code of ref document: A2

Designated state(s): AT BE CH CY DE DK ES FI FR GB GR IE IT LI LU MC NL PT SE TR

AX Request for extension of the european patent

Free format text: AL;LT;LV;MK;RO;SI

RAP1 Party data changed (applicant data changed or rights of an application transferred)

Owner name: SANDER, ARMIN

RIN1 Information on inventor provided before grant (corrected)

Inventor name: SANDER, ARMIN

Inventor name: POTRYKUS, MARTIN

Inventor name: HORN, PETER

PUAL Search report despatched

Free format text: ORIGINAL CODE: 0009013

AK Designated contracting states

Kind code of ref document: A3

Designated state(s): AT BE CH CY DE DK ES FI FR GB GR IE IT LI LU MC NL PT SE TR

AX Request for extension of the european patent

Extension state: AL LT LV MK RO SI

17P Request for examination filed

Effective date: 20040517

AKX Designation fees paid

Designated state(s): AT BE CH CY DE DK ES FI FR GB GR IE IT LI LU MC NL PT SE TR

GRAP Despatch of communication of intention to grant a patent

Free format text: ORIGINAL CODE: EPIDOSNIGR1

GRAS Grant fee paid

Free format text: ORIGINAL CODE: EPIDOSNIGR3

GRAA (expected) grant

Free format text: ORIGINAL CODE: 0009210

AK Designated contracting states

Kind code of ref document: B1

Designated state(s): AT BE CH CY DE DK ES FI FR GB GR IE IT LI LU MC NL PT SE TR

PG25 Lapsed in a contracting state [announced via postgrant information from national office to epo]

Ref country code: IE

Free format text: LAPSE BECAUSE OF FAILURE TO SUBMIT A TRANSLATION OF THE DESCRIPTION OR TO PAY THE FEE WITHIN THE PRESCRIBED TIME-LIMIT

Effective date: 20070103

Ref country code: FI

Free format text: LAPSE BECAUSE OF FAILURE TO SUBMIT A TRANSLATION OF THE DESCRIPTION OR TO PAY THE FEE WITHIN THE PRESCRIBED TIME-LIMIT

Effective date: 20070103

Ref country code: NL

Free format text: LAPSE BECAUSE OF FAILURE TO SUBMIT A TRANSLATION OF THE DESCRIPTION OR TO PAY THE FEE WITHIN THE PRESCRIBED TIME-LIMIT

Effective date: 20070103

Ref country code: DK

Free format text: LAPSE BECAUSE OF FAILURE TO SUBMIT A TRANSLATION OF THE DESCRIPTION OR TO PAY THE FEE WITHIN THE PRESCRIBED TIME-LIMIT

Effective date: 20070103

REG Reference to a national code

Ref country code: GB

Ref legal event code: FG4D

Free format text: NOT ENGLISH

REF Corresponds to:

Ref document number: 50209126

Country of ref document: DE

Date of ref document: 20070215

Kind code of ref document: P

REG Reference to a national code

Ref country code: IE

Ref legal event code: FG4D

Free format text: LANGUAGE OF EP DOCUMENT: GERMAN

PG25 Lapsed in a contracting state [announced via postgrant information from national office to epo]

Ref country code: SE

Free format text: LAPSE BECAUSE OF FAILURE TO SUBMIT A TRANSLATION OF THE DESCRIPTION OR TO PAY THE FEE WITHIN THE PRESCRIBED TIME-LIMIT

Effective date: 20070403

PG25 Lapsed in a contracting state [announced via postgrant information from national office to epo]

Ref country code: ES

Free format text: LAPSE BECAUSE OF FAILURE TO SUBMIT A TRANSLATION OF THE DESCRIPTION OR TO PAY THE FEE WITHIN THE PRESCRIBED TIME-LIMIT

Effective date: 20070414

PG25 Lapsed in a contracting state [announced via postgrant information from national office to epo]

Ref country code: PT

Free format text: LAPSE BECAUSE OF FAILURE TO SUBMIT A TRANSLATION OF THE DESCRIPTION OR TO PAY THE FEE WITHIN THE PRESCRIBED TIME-LIMIT

Effective date: 20070604

NLV1 Nl: lapsed or annulled due to failure to fulfill the requirements of art. 29p and 29m of the patents act
GBV Gb: ep patent (uk) treated as always having been void in accordance with gb section 77(7)/1977 [no translation filed]

Effective date: 20070103

REG Reference to a national code

Ref country code: IE

Ref legal event code: FD4D

EN Fr: translation not filed
PLBE No opposition filed within time limit

Free format text: ORIGINAL CODE: 0009261

STAA Information on the status of an ep patent application or granted ep patent

Free format text: STATUS: NO OPPOSITION FILED WITHIN TIME LIMIT

PG25 Lapsed in a contracting state [announced via postgrant information from national office to epo]

Ref country code: GB

Free format text: LAPSE BECAUSE OF FAILURE TO SUBMIT A TRANSLATION OF THE DESCRIPTION OR TO PAY THE FEE WITHIN THE PRESCRIBED TIME-LIMIT

Effective date: 20070103

26N No opposition filed

Effective date: 20071005

BERE Be: lapsed

Owner name: SANDER, ARMIN

Effective date: 20070531

REG Reference to a national code

Ref country code: CH

Ref legal event code: PL

PG25 Lapsed in a contracting state [announced via postgrant information from national office to epo]

Ref country code: MC

Free format text: LAPSE BECAUSE OF NON-PAYMENT OF DUE FEES

Effective date: 20070531

PG25 Lapsed in a contracting state [announced via postgrant information from national office to epo]

Ref country code: CH

Free format text: LAPSE BECAUSE OF NON-PAYMENT OF DUE FEES

Effective date: 20070531

Ref country code: LI

Free format text: LAPSE BECAUSE OF NON-PAYMENT OF DUE FEES

Effective date: 20070531

PG25 Lapsed in a contracting state [announced via postgrant information from national office to epo]

Ref country code: BE

Free format text: LAPSE BECAUSE OF NON-PAYMENT OF DUE FEES

Effective date: 20070531

PG25 Lapsed in a contracting state [announced via postgrant information from national office to epo]

Ref country code: IT

Free format text: LAPSE BECAUSE OF FAILURE TO SUBMIT A TRANSLATION OF THE DESCRIPTION OR TO PAY THE FEE WITHIN THE PRESCRIBED TIME-LIMIT

Effective date: 20070103

Ref country code: FR

Free format text: LAPSE BECAUSE OF FAILURE TO SUBMIT A TRANSLATION OF THE DESCRIPTION OR TO PAY THE FEE WITHIN THE PRESCRIBED TIME-LIMIT

Effective date: 20070824

Ref country code: DE

Free format text: LAPSE BECAUSE OF NON-PAYMENT OF DUE FEES

Effective date: 20071201

Ref country code: GR

Free format text: LAPSE BECAUSE OF FAILURE TO SUBMIT A TRANSLATION OF THE DESCRIPTION OR TO PAY THE FEE WITHIN THE PRESCRIBED TIME-LIMIT

Effective date: 20070404

PG25 Lapsed in a contracting state [announced via postgrant information from national office to epo]

Ref country code: AT

Free format text: LAPSE BECAUSE OF NON-PAYMENT OF DUE FEES

Effective date: 20070508

PG25 Lapsed in a contracting state [announced via postgrant information from national office to epo]

Ref country code: FR

Free format text: LAPSE BECAUSE OF FAILURE TO SUBMIT A TRANSLATION OF THE DESCRIPTION OR TO PAY THE FEE WITHIN THE PRESCRIBED TIME-LIMIT

Effective date: 20070103

PG25 Lapsed in a contracting state [announced via postgrant information from national office to epo]

Ref country code: CY

Free format text: LAPSE BECAUSE OF FAILURE TO SUBMIT A TRANSLATION OF THE DESCRIPTION OR TO PAY THE FEE WITHIN THE PRESCRIBED TIME-LIMIT

Effective date: 20070103

PG25 Lapsed in a contracting state [announced via postgrant information from national office to epo]

Ref country code: LU

Free format text: LAPSE BECAUSE OF NON-PAYMENT OF DUE FEES

Effective date: 20070508

PG25 Lapsed in a contracting state [announced via postgrant information from national office to epo]

Ref country code: TR

Free format text: LAPSE BECAUSE OF FAILURE TO SUBMIT A TRANSLATION OF THE DESCRIPTION OR TO PAY THE FEE WITHIN THE PRESCRIBED TIME-LIMIT

Effective date: 20070103