EP0950519A1 - Verfahren zur selbsteinstellenden Farb- und Schnittregistersteuerung in Rotationsdruckmaschinen mit mehreren Bahnen - Google Patents

Verfahren zur selbsteinstellenden Farb- und Schnittregistersteuerung in Rotationsdruckmaschinen mit mehreren Bahnen Download PDF

Info

Publication number
EP0950519A1
EP0950519A1 EP98810329A EP98810329A EP0950519A1 EP 0950519 A1 EP0950519 A1 EP 0950519A1 EP 98810329 A EP98810329 A EP 98810329A EP 98810329 A EP98810329 A EP 98810329A EP 0950519 A1 EP0950519 A1 EP 0950519A1
Authority
EP
European Patent Office
Prior art keywords
web
color
calculated
drive
register
Prior art date
Legal status (The legal status is an assumption and is not a legal conclusion. Google has not performed a legal analysis and makes no representation as to the accuracy of the status listed.)
Granted
Application number
EP98810329A
Other languages
English (en)
French (fr)
Other versions
EP0950519B1 (de
Inventor
Dieter Koch
Heinz Flamm
Current Assignee (The listed assignees may be inaccurate. Google has not performed a legal analysis and makes no representation or warranty as to the accuracy of the list.)
ABB Schweiz AG
Original Assignee
ABB Asea Brown Boveri Ltd
Asea Brown Boveri AB
Priority date (The priority date is an assumption and is not a legal conclusion. Google has not performed a legal analysis and makes no representation as to the accuracy of the date listed.)
Filing date
Publication date
Priority to AT98810329T priority Critical patent/ATE204810T1/de
Application filed by ABB Asea Brown Boveri Ltd, Asea Brown Boveri AB filed Critical ABB Asea Brown Boveri Ltd
Priority to EP98810329A priority patent/EP0950519B1/de
Priority to DE59801305T priority patent/DE59801305D1/de
Priority to DK98810329T priority patent/DK0950519T3/da
Priority to US09/277,741 priority patent/US6092466A/en
Priority to KR1019990013165A priority patent/KR100546431B1/ko
Priority to RU99107979/12A priority patent/RU2222432C2/ru
Priority to NO19991799A priority patent/NO319977B1/no
Priority to JP11109784A priority patent/JP2000052540A/ja
Publication of EP0950519A1 publication Critical patent/EP0950519A1/de
Application granted granted Critical
Publication of EP0950519B1 publication Critical patent/EP0950519B1/de
Anticipated expiration legal-status Critical
Expired - Lifetime legal-status Critical Current

Links

Images

Classifications

    • BPERFORMING OPERATIONS; TRANSPORTING
    • B41PRINTING; LINING MACHINES; TYPEWRITERS; STAMPS
    • B41FPRINTING MACHINES OR PRESSES
    • B41F33/00Indicating, counting, warning, control or safety devices
    • BPERFORMING OPERATIONS; TRANSPORTING
    • B41PRINTING; LINING MACHINES; TYPEWRITERS; STAMPS
    • B41FPRINTING MACHINES OR PRESSES
    • B41F13/00Common details of rotary presses or machines
    • B41F13/02Conveying or guiding webs through presses or machines
    • B41F13/025Registering devices
    • BPERFORMING OPERATIONS; TRANSPORTING
    • B41PRINTING; LINING MACHINES; TYPEWRITERS; STAMPS
    • B41FPRINTING MACHINES OR PRESSES
    • B41F13/00Common details of rotary presses or machines
    • B41F13/08Cylinders
    • B41F13/10Forme cylinders
    • B41F13/12Registering devices
    • BPERFORMING OPERATIONS; TRANSPORTING
    • B41PRINTING; LINING MACHINES; TYPEWRITERS; STAMPS
    • B41PINDEXING SCHEME RELATING TO PRINTING, LINING MACHINES, TYPEWRITERS, AND TO STAMPS
    • B41P2213/00Arrangements for actuating or driving printing presses; Auxiliary devices or processes
    • B41P2213/70Driving devices associated with particular installations or situations
    • B41P2213/73Driving devices for multicolour presses
    • B41P2213/734Driving devices for multicolour presses each printing unit being driven by its own electric motor, i.e. electric shaft

Definitions

  • the invention relates to the field of printing technology. It goes out of a method for self-adjusting color and cut register control in rotary printing presses with single or multiple webs according to the Preamble of the first claim.
  • the invention is particularly advantageous for shaftless rotary printing presses used.
  • a shaftless rotary printing machine with pairs rubber blanket and plate or Forme cylinders are described in DE 43 44 896 A1.
  • a process of regulation the drive for the transport of a paper web of a printing press which is particularly suitable for shaftless rotary printing machines the unpublished European patent application no. 98101727.0.
  • the speed control of the web train determining Elements depending on a load torque as specified a load characteristic curve lowered or raised, so that the drive at the same time the command variables speed and drive torque or web tension and that the master setpoint compensates according to the load characteristic becomes.
  • a major advantage of individually driven rotary printing machines is that these machines are capable of changing products machine running.
  • the methods described in the patent application are the web tension changes, due to the starting and stopping required when changing the product of pressure points and when changing paper types while the machine is running usually arise, largely avoided.
  • the achieved with it Stability with regard to the transport of a paper web of a printing press is excellent.
  • the object of the invention is therefore a method for self-adjusting Specify register control in rotary printing presses with multiple webs at what influencing factors on the color and cut register, such as a change of paper type or the content of the printed product while it is running Machine, dry or damp paper, different number of pressure points per paper web, different paper lengths, etc. in all possible Operating modes of the machine are recorded at the origin and controlling the Apply setpoints for the color and cut registers.
  • Each tension element of the Paper web is advantageously via a control device according to the mentioned unpublished European patent application operated.
  • the essence of the invention is that a correction value from the operating points, i.e. especially from the current speed of rotation and the torque, the servomotors for the tension elements of the paper web are calculated and the Reference variables for positioning the color and cut registers are activated becomes.
  • the operating points of the actuators react extremely quickly Changes in paper properties, resulting in a high dynamic with short Response times for influencing the register results.
  • a measure of the relative paper elongation calculate per section from the operating points of the drives and in Activate the register individually in the form of a correction variable.
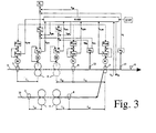
  • the method according to the invention for self-adjusting color and cut register control for rotary printing machines with a plurality of webs is explained in more detail below with the aid of FIG. 3 .
  • the devices according to the inventive method are designated KORR and KONF, the corresponding signals with k .. 3, the influences of the web back 9 and the other webs 10, 11 are only shown in summary.
  • k xn represents the operating points of the servomotors
  • k yn the correction values for the control devices of all other elements involved in the transport of the train.
  • the KONF module does not only contain the machine configuration data for the current one, but also the data for the next production.
  • the Application of the method according to the invention taking into account the Machine configuration data for the next production thus allows that when changing production with a changing paper type or printing point configuration this change simultaneously in the form of a correction to the relevant Reference variables for the color and cut registers can be switched on can. In terms of response time, this correction is many times faster than the register control according to the state of the art. The latter only serves to compensate for any residual errors. This results in a generally valid solution for all operating cases of a printing press for fast self-adjusting Color and cut register control.

Landscapes

  • Engineering & Computer Science (AREA)
  • Mechanical Engineering (AREA)
  • Inking, Control Or Cleaning Of Printing Machines (AREA)
  • Color, Gradation (AREA)
  • Color Image Communication Systems (AREA)
  • Facsimile Image Signal Circuits (AREA)
  • Controlling Rewinding, Feeding, Winding, Or Abnormalities Of Webs (AREA)
  • Dot-Matrix Printers And Others (AREA)
  • Rotary Presses (AREA)

Abstract

Es wird ein Verfahren zur selbsteinstellenden Farb- und Schnittregistersteuerung in Rotationsdruckmaschinen mit einzelnen oder mehreren Bahnen angegeben, wonach das Mass der relativen Bahndehnung der einzelnen Bahnstrecken aus den Arbeitspunkten der die Bahn antreibenden Antriebe berechnet wird und aus der produktionsabhängigen Kombination aller Dehnungswerte die Korrekturgrössen für Farb- und Schnittregister abgeleitet werden. <IMAGE>

Description

Technisches Gebiet
Die Erfindung bezieht sich auf das Gebiet der Drucktechnik. Sie geht aus von einem Verfahren zur selbsteinstellenden Farb- und Schnittregistersteuerung in Rotationsdruckmaschinen mit einzelnen oder mehreren Bahnen gemäss dem Oberbegriff des ersten Anspruchs.
Stand der Technik
Die Erfindung wird insbesondere mit Vorteil für wellenlose Rotationsdruckmaschinen eingesetzt. Eine wellenlose Rotationsdruckmaschine mit paarweise zu Zylindergruppen zusammengefassten Gummituch- und Platten- bzw. Formzylindern wird in der DE 43 44 896 A1 beschrieben. Ein Verfahren zur Regelung des Antriebes für den Transport einer Papierbahn einer Druckmaschine, das insbesondere für wellenlose Rotationsdruckmaschinen geeignet ist, beschreibt die nicht vorveröffentlichte Europäische Patentanmeldung Nr. 98101727.0. Nach diesem Verfahren wird die Drehzahlregelung der bahnzugbestimmenden Elemente in Abhängigkeit eines Lastdrehmomentes nach Massgabe einer Belastungskennlinie abgesenkt oder angehoben, so dass der Antrieb gleichzeitig die Führungsgrössen Drehzahl und Antriebsmoment bzw. Bahnspannung einstellt und dass der Leitsollwert nach Massgabe der Belastungskennlinie kompensiert wird.
Ein wesentlicher Vorteil von einzeln angetriebenen Rotationsdruckmaschinen ist, dass diese Maschinen in der Lage sind, einen Produktwechsel bei laufender Maschine durchzuführen. Mit dem in der oben genannten Europäischen Patentanmeldung beschriebenen Verfahren werden die Bahnspannungsänderungen, die durch das beim Produktwechsel erforderliche An- und Abstellen von Druckstellen sowie bei einem Papiersortenwechsel bei laufender Maschine üblicherweise entstehen, grösstenteils vermieden. Die damit erreichte Stabilität betreffend Transport einer Papierbahn einer Druckmaschine ist ausgezeichnet.
Trotz der ausgezeichneten Stabilität betreffend Transport einer Papierbahn wird damit ein Problem insbesondere bei Produktewechsel oder Papiersortenwechsel bei laufender Maschine nicht oder nur teilweise gelöst, nämlich die druckqualitätsbestimmende Positionierung der Farb- und Schnittregister.
Farb- und Schnittregister werden nach dem Stand der Technik gemäss Fig. 2 durch eigenständige Messglieder beeinflusst, indem die durch die Messglieder erfassten Regelgrössen den Positionierführungsgrössen zugeschaltet werden und damit die einzelnen Stellglieder hinsichtlich Farbregister und alle gemeinsam hinsichtlich Schnittregister einstellen. Bei geteilten Bahnen wird das Schnittregister mittels zusätzlichen Stellgliedern (Nebenregister) eingestellt (nicht dargestellt). Diese Einrichtungen haben den Nachteil, dass:
  • bei Anfahrvorgängen die Führungsgrössen auf fixe Referenzwerte gestellt werden und dadurch häufig manuelle Eingriffe durch die Drucker erfordern.
  • die Messglieder erst auf die Dehnung der Papierbahn reagieren.
  • die Reaktionszeit der Messung aufgrund der Totzeiten beim Transport der Bahn bis zum Messglied, bei der Analyse und der Datenübertragung zur Steuerung typisch 2s beträgt und die Güte der erfassten Istwerte von der Laufruhe der Bahn abhängt.
  • die Zug- / Dehnungsverhältnisse einer gesamten Produktion mit mehreren Bahnen durch Rückwirkung der über die gemeinsame Sammelwalze laufenden Bahnen untereinander erheblich beeinflusst werden.
Fazit: Beim Stand der Technik lässt man im ersten Moment eine Ungenauigkeit der Registerführung bezüglich Farbe und Schnitt zu, bevor man relativ träge über zusätzliche Messglieder korrigierend auf die Führungsgrössen einwirkt.
Darstellung der Erfindung
Aufgabe der Erfindung ist es deshalb, ein Verfahren zur selbsteinstellenden Registersteuerung in Rotationsdruckmaschinen mit mehreren Bahnen anzugeben, bei welchem Einflussgrössen auf die Farb- und Schnittregister, wie z.B. ein Wechsel der Papiersorte oder des Inhalts des gedruckten Produktes bei laufender Maschine, trockenes oder feuchtes Papier, unterschiedliche Anzahl Druckstellen pro Papierbahn, unterschiedliche Papierlängen, usw. in allen möglichen Betriebsarten der Maschine am Ursprung erfasst werden und steuernd auf die Sollwerte für die Farb- und Schnittregister einwirken. Jedes Zugelement der Papierbahn wird dabei vorteilhaft über eine Regeleinrichtungen gemäss der erwähnten, nicht vorveröffentlichten Europäischen Patentanmeldung betrieben.
Kern der Erfindung ist es, dass ein Korrekturwert aus den Arbeitspunkten, d.h. insbesondere aus der aktuellen Drehgeschwindigkeit und dem Drehmoment, der Stellmotoren für die Zugelemente der Papierbahn berechnet und den Führungsgrössen für die Positionierung der Farb- und Schnittregister aufgeschaltet wird. Die Arbeitspunkte der Stellmotoren reagieren extrem rasch auf Änderungen der Papiereigenschaft, wodurch sich eine hohe Dynamik mit kurzen Reaktionszeiten bezüglich Einflussnahme auf die Register ergibt. Da die Bahnlänge der Teilstrecken zwischen den Zugelementen der Papierbahnen einer laufenden Produktion bekannt sind, lässt sich ein Mass für die relative Papierdehnung pro Teilstrecke aus den Arbeitspunkten der Antriebe berechnen und in Form einer Korrekturgrösse den Registern individuell zuschalten. Obschon die konkrete Einflussnahme dieser Korrekturgrössen auf die Farb- und Schnittregister unterschiedlich ist, bleibt das Verfahren für beide Register grundsätzlich das gleiche.
Bei Wechsel des Inhalts des gedruckten Produktes bei laufender Maschine sind sowohl die Bahnstrecken der laufenden wie auch diejenigen der nächsten Produktion bekannt. Somit kann die Einflussnahme der neuen Bahnstrecken auf die Register unmittelbar beim Produktionswechsel gemäss dem erfindungsgemässen Verfahren erfolgen.
Im Vergleich zum Betrieb nach dem Stand der Technik ergeben sich insbesondere bei Wechsel der Papiersorte oder des Inhalts des gedruckten Produktes bei laufender Maschine werden markante Vorteile, dadurch dass
  • durch die gesteuerte Korrektur aller Register ein insgesamt konstantes Verhalten der Papierbahnen resultiert.
  • die Farbregister aufgrund der gesteuerten Einflussnahme reaktionsschnell voreingestellt werden,
  • die Schnittlage aufgrund der gesteuerten Einflussnahme auf alle die Schnittlage bestimmenden Bahnzugelemente reaktionsschnell voreingestellt werden.
  • durch eine verbesserte Farb- und Registereinhaltung in allen Phasen des Betriebs weniger Makulatur erzeugt wird,
Der Druckprozess wird somit insgesamt besser beherrschbar. Weitere vorteilhafte Ausführungsformen ergeben sich aus den entsprechenden abhängigen Ansprüchen.
Kurze Beschreibung der Zeichnungen
Nachfolgend wird die Erfindung anhand von Ausführungsbeispielen im Zusammenhang mit den Zeichnungen näher erläutert. Es zeigen:
  • Fig. 1 Eine schematische Darstellung der Rotationsdruckmaschine mit mehreren Bahnen und den die Bahn vorantreibenden Maschinenelementen.
  • Fig. 2 Eine schematische Darstellung der Farb- und Schnittlageregelung nach dem Stand der Technik. Hierbei sind nur die Elemente der einen Bahnseite dargestellt; die Darstellung gilt sinngemäss für die Bahnrückseite.
  • Fig. 3 Eine schematische Darstellung der Farb- und Schnittregistersteuerung nach dem erfindungsgemässen Verfahren. Hierbei sind nur die Elemente einer Bahnseite von einer Bahn dargestellt; die Darstellung gilt sinngemäss für die Bahnrückseite und alle anderen Bahnen.
  • Die in den Zeichnungen verwendeten Bezugszeichen und deren Bedeutung sind in der Bezugszeichenliste zusammengefasst aufgelistet. Grundsätzlich sind in den Figuren gleiche Teile mit gleichen Bezugszeichen versehen.
    Wege zur Ausführung der Erfindung
  • Figur 1 zeigt eine schematische Darstellung der Rotationsdruckmaschine mit mehreren Bahnen und den die Bahn vorantreibenden Maschinenelemente. Als Papierführung bzw. Papierbahn wird die Bahn bezeichnet, die das zu bedruckende Papier vom Rollenwechsel 1 über die Pendelwalze 2 und das Vorspannwerk 3, über eine beliebige Kombination von angestellten Druckwerken 4 bzw. abgestellten Druckwerken 5, über die Zugwalze 6 und die Trichtereinlaufzugwalze 7 bis hin zum Falzmesser 8 im Falzapparat durchläuft. Das Vorspannwerk 3 kontrolliert die Bahnspannung und -geschwindigkeit hauptsächlich innerhalb der Bahnstrecke L1 und beeinflusst dadurch indirekt die Farbregistergenauigkeit der angestellten Druckwerke 4. Das Zugelement 6 kontrolliert die Bahnspannung und -geschwindigkeit hauptsächlich innerhalb der Bahnstrecke L2 und beeinflusst dadurch indirekt die Schnittlage. Die Trichtereinlaufzugwalze 7 kontrolliert die Bahnspannung und -geschwindigkeit hauptsächlich innerhalb der zusammengeführten Bahnstrecken L3, L6, L9 und beeinflusst dadurch indirekt die Schnittlage. Analoges gilt selbstverständlich für die übrigen Bahnen und Bahnstrecken L4 bis L7. Die Zusammenführung der Bahnen an der Trichtereinlaufzugwalze ist nicht rückwirkungsfrei; hier üben die zusammenlaufenden Bahnen eine gegenseitige Beeinflussung hinsichtlich Bahnspannung und - geschwindigkeit aus.
  • Figur 2 stellt eine Regelung der Farb- und Schnittregister nach dem Stand der Technik dar. Die Hauptführungsgrösse Wv bestimmt via Regeleinrichtung RD1, RD2, RD3, RD4 die Rotationsgeschwindigkeit und Position aller angestellten und abgestellten Druckwerke 4. Die Regeleinrichtungen beinhalten individuelle Rückführungen für Position und Drehzahl, die im Bild nicht dargestellt sind. Die relative Position jeder gedruckten Farbe wird via Messfühler 12 im Farbregister-Messystem MF erfasst und als Regelgrösse xF1, xF2, xF3, xF4 den Sollwerten der einzelnen Druckwerke individuell zugeschaltet. Das Bild zeigt nur die Einrichtungen auf einer Seite der Bahn 9, 10 oder 11; die Darstellung gilt sinngemäss für die Bahnrückseite und für alle Bahnen. Die Schnittlage wird mittels eines Messfühlers 13 kurz vor dem Schnitt erfasst, dessen Signal einem Schnittregister-Messystem MS zugeführt wird, das die relative Schnittlage der Bahn zum gedruckten Bild entweder aus gedruckten Registermarken oder durch Auswertung der Lage des gedruckten Bildes ermittelt. Die relative Schnittlage wirkt als korrigierende Regelgrösse xs für die Hauptführungsgrösse Wv.
  • Das erfindungsgemässe Verfahren zur selbsteinstellenden Farb- und Schnittregistersteuerung für Rotationsdruckmaschinen mit mehreren Bahnen wird im folgenden mit Hilfe der Figur 3 näher erläutert. Die Einrichtungen nach dem erfindungsgemässen Verfahren sind mit KORR und KONF, die entsprechenden Signale mit k.. bezeichnet. Zur Förderung der Übersicht von Fig. 3 sind die Einflüsse der Bahnrückseite 9 und der übrigen Bahnen 10, 11 nur summarisch dargestellt. So repräsentiert kxn die Arbeitspunkte der Stellmotoren bzw. kyn die Korrekturgrössen für die Regeleinrichtungen aller übrigen am Transport der Bahn beteiligten Elemente.
    Aus Figur 3 ist ersichtlich, dass die konventionelle Farb- und Schnittregisterregelung in Analogie zur Figur 2 übernommen wurde; ihr Einsatz ist aber optional und ist nicht Bedingung. Es bilden:
    • die Führungsgrösse WVW und Regler RVW und Antrieb M die Regeleinrichtung für das Vorspannwerk,
    • die Führungsgrösse WD1 und Regler RD1 und Antrieb M die Regeleinrichtung für das erste Druckwerk,
    • die Führungsgrösse WDn und Regler RDn und Antrieb M die Regeleinrichtung ersatzweise für alle übrigen Druckwerke,
    • die Führungsgrösse WZW und Regler RZW und Antrieb M die Regeleinrichtung für die Zugwalze,
    • die Führungsgrösse WSW und Regler RSW und Antrieb M die Regeleinrichtung für die Trichtereinlaufzugwalze,
    • Messfühler 12 und Farbregister-Messystem MF das Messglied für die Farbregister,
    • Messfühler 13 und Schnittregister-Messystem MS das Messglied für die Schnittregister.
    Diese konventionellen Einrichtungen werden durch Einrichtungen nach dem erfindungsgemässen Verfahren dadurch ergänzt, dass der Hauptführungsgrösse Wv die Korrekturgrösse kyS als Positionsoffset für das Schnittregister und den einzelnen Druckwerken die Korrekturgrösse kyF1...kyFn als Positionsoffset für die Farbregister zugeschaltet wird. Die Berechnung der Korrekturgrössen erfolgt im Modul KORR aus den Arbeitspunkten aller Antriebe, d.h. insbesondere der aktuellen Drehgeschwindigkeit und dem Drehmoment derjenigen Antriebe, welche sich am Transport der Bahnen beteiligen, d.h. aus dem Antrieb für das Vorspannwerk 3, aus den angestellten Druckwerken 4, aus der Zugwalze 6 und aus der Trichtereinlaufzugwalze 7 sowie sinngemäss aus allen nicht dargestellten Einrichtungen der Bahnrückseite und der übrigen Bahnen 10, 11. Die Antriebe reagieren mit einer Änderung der Antriebsdrehzahl und der Bahnspannung auf Lastdrehmomentänderungen; es stellt sich somit ein neuer Antriebs-Arbeitspunkt im Drehzahl-Bahnspannungs-Diagramm ein. Die derart erfassten Arbeitspunkte kxVW, kxD1, kxDn, kxZW und kxSW sind in Figur 3 explizit für die Bahnoberseite der Bahn 9 dargestellt; sie werden sinngemäss für die Bahnrückseite und alle übrigen Bahnen erfasst und sind durch kxn dargestellt. Die für das Registerverhalten wichtige Papierdehnung der Bahn verhält sich gemäss einer bestimmten Funktion zum Lastdrehmoment und lässt sich - zusammen mit der Bahnstreckenlänge bis zum nächsten Antrieb - direkt aus dem Arbeitspunkt des Stellmotors berechnen. Die entsprechende allgemeine Formel für das Mass der Papierdehnung lautet: λ = σ · LE Hierin bedeuten:
    λ =
    Bahnverlängerung in m
    σ =
    Zugbeanspruchung der Bahn in dN/m = f (Lastdrehmomente)
    L =
    Bahnstreckenlänge in m
    E =
    Elastizitätsmodul in N/m = f (Lastdrehmomente, Geschwindigkeiten)
    Die Ermittlung des Masses für die Papierdehnungen erfolgt im Modul KORR; die hierzu benötigten Bahnstreckenlängen sind für jede Produktion bekannt und sind im Modul KONF abgelegt. Die anteilige Einflussnahme der erfassten Massgabe für die relativen Bahndehnungen auf die Farb- und Schnittregister, d.h. die Ermittlung der Korrekturgrössen kyF1...kyFn, kyS, bzw.kyn, erfolgt ebenfalls im Modul KORR anhand der im Modul KONF abgelegten Maschinenkonfiguration. Diese Berechnung der einzelnen Korrekturgrössen erfolgt nach der allgemeinen Formel kym = f (KONF, kx1,.....,kxm) Hierin bedeuten:
    kym =
    m-te Korrekturgrösse, d.h. kyF1...kyFn, kyS oder kyn
    KONF =
    Konfigurationsdaten einer Produktion
    kx1 =
    Arbeitspunkt des ersten Antriebs einer Produktion
    kxm =
    Arbeitspunkt des letzten Antriebs einer Produktion
    Die derart berechneten Grössen sind in Figur 3 explizit für die Bahnoberseite der Bahn 9 dargestellt; sie werden sinngemäss für die Bahnrückseite und alle übrigen Bahnen berechnet und sind durch kyn dargestellt.
    Wird dieses Verfahren auf alle die Papierbahn antreibenden Antriebe sowie auf alle Bahnen angewendet, so gewinnt man nahezu verzögerungsfrei Rückschlüsse auf die effektiven Papiereigenschaften aller Bahnen und kann damit über die Korrekturgrössen kyF1...kyFn, kyS, bzw.kyn korrigierend auf die Führungsgrössen für die Farb- und Schnittregister einwirken.
    Im Modul KONF sind nicht nur die Daten der Maschinenkonfiguration für die laufende, sondern auch die Daten für die nächste Produktion abgelegt. Die Anwendung des erfindungsgemässen Verfahrens unter Berücksichtigung der Maschinenkonfigurationsdaten für die nächste Produktion gestattet damit, dass bei einem Produktionswechsel mit sich ändernder Papiersorte bzw. Druckstellenkonfiguration diese Änderung gleichzeitig in Form einer Korrektur den relevanten Führungsgrössen für die Farb- und Schnittregister zugeschaltet werden kann. Diese Korrektur ist bezüglich Reaktionszeit um ein Vielfaches rascher als die Registerregelung nach dem Stand der Technik. Letztere dient lediglich dazu, allfällige Restfehler auszugleichen. Damit ergibt sich eine allgemein gültige Lösung für alle Betriebsfalle einer Druckmaschine zur schnellen selbsteinstellenden Farb- und Schnittregistersteuerung.
    Bezugszeichenliste
    1
    Rollenwechsler
    2
    Pendelwalze
    3
    Vorspannwerk
    4
    Druckstelle, angestellt
    5
    Druckstelle, abgestellt
    6
    Zugwalze
    7
    Trichtereinlaufzugwalze
    8
    Falzmesser im Falzapparat
    9
    Bahn A
    10
    Bahn B
    11
    Bahn C
    12
    Messfühler für die Erfassung der Farbregister
    13
    Messfühler für die Erfassung der Schnittlage
    L1...L9
    Bahnstrecken zwischen zwei angetriebenen Maschinenelementen
    M
    Stellglied, bestehend aus Umrichter und Motor
    Wv
    Führungsgrösse Maschinendrehzahl/Schnittlage
    WVW
    Führungsgrösse Drehzahl/Position für das Vorspannwerk
    RVW
    Regler für das Vorspannwerk
    WD1...WDn
    Führungsgrösse Drehzahl/Position für das Druckwerk 1 bzw. das Druckwerk n
    RD1...RDn
    Regler für das Druckwerk 1 bzw. das Druckwerk n
    WZW
    Führungsgrösse Drehzahl/Position für die Zugwalze
    RZW
    Regler für die Zugwalze
    WSW
    Führungsgrösse Drehzahl/Position für die Trichtereinlaufzugwalze
    RSW
    Regler für die Trichtereinlaufzugwalze
    KORR
    Modul für die Berechnung der Korrekturgrössen für Farb- und Schnittregister
    KONF
    Konfigurationsdaten der Maschine für die laufende und die nächste Produktion
    kxVW
    Mass für den Arbeitspunkt Vorspannwerk
    kxD1...kxDn
    Mass für die Arbeitspunkte Druckwerk 1 bzw. Druckwerk n
    kxZW
    Mass für den Arbeitspunkt Zugwalze
    kxSW
    Mass für den Arbeitspunkt Trichtereinlaufzugwalze
    kxn
    Repräsentatives Mass für die Arbeitspunkte aller nicht dargestellten, angetriebenen Maschinenelemente
    kyS
    Korrekturgrösse Schnittlage
    kyF1...kyFn
    Korrekturgrösse Farbregister 1 bzw. Farbregister n
    kyn
    Repräsentative Korrekturgrösse für die Beeinflussung aller nicht dargestellten Führungsgrössen
    MF
    Farbregister-Messystem
    MS
    Schnittlage-Messystem
    xS
    Regelgrösse Schnittlage
    xF1...xFn
    Regelgrösse Farbregister
    λ =
    Bahnverlängerung in m
    σ =
    Zugbeanspruchung der Bahn in dN/m = f (Lastdrehmomente)
    L =
    Bahnstreckenlänge in m
    E =
    Elastizitätsmodul in N/m = f (Lastdrehmomente, Geschwindigkeiten)

    Claims (5)

    1. Verfahren zur selbsteinstellenden Farb- und Schnittregistersteuerung in Rotationsdruckmaschinen mit einzelnen oder mehreren Papierbahnen, wobei der Transport der Papierbahn im wesentlichen durch einzelne, durch Bahnstreckenlängen beabstandete Antriebe durchgeführt wird, dadurch gekennzeichnet, dass relative Bahndehnungswerte aus dem momentanen Arbeitspunkt (kxVW, kxD1, kxDn, kxZW, kxSW bzw. kxn) des jeweiligen Antriebs und der Bahnstreckenlänge bis zum nächsten Antrieb für jeden die Papierbahn transportierenden Antrieb berechnet wird, und dass durch Kombinieren aller derart berechneten Bahndehnungswerte Korrekturgrössen (kyF1...kyFn, kyS bzw. kyn) berechnet werden, nach deren Massgabe die Führungsgrössen (Wv, WVW, WD1...WDn, WZW, WSW) für die Farb- und de Schnittregister korrigiert werden.
    2. Verfahren nach Anspruch 1, dadurch gekennzeichnet, dass die Bahndehnungswerte nach Massgabe der Beziehung λ = σ · LE berechnet werden, mit λ = Bahnverlängerung in m; σ = Zugbeanspruchung der Bahn; L = Bahnstreckenlänge in m; E = Elastizitätsmodul in N/m.
    3. Verfahren nach Anspruch 2, dadurch gekennzeichne, dass der Elastizitätsmodul E in Abhängigkeit des Lastdrehmoments und der Geschwindigkeit aus den Arbeitspunkte der beteiligten Antrieb ermittelt wird und dass die Zugbeanspruchung σ in Abhängigkeit des Drehmoments der Antriebe ermittelt wird.
    4. Verfahren nach einem der Ansprüche 1 bis 3, dadurch gekennzeichnet, dass die Bahnstreckenlängen für verschiedene Produktionen in einem Konfigurationsdatenmodul (KONF) abgelegt werden.
    5. Verfahren nach Anspruch 4, dadurch gekennzeichnet, dass die Korrektur der Führungsgrössen (Wv, WVW, WD1...WDn, WZW, WSW) anteilig erfolgt und dass entsprechende Anteilsfaktoren anhand einer im Konfigurationsdatenmodul (KONF) abgelegten Maschinenkonfiguration bestimmt werden.
    EP98810329A 1998-04-16 1998-04-16 Verfahren zur selbsteinstellenden Farb- und Schnittregistersteuerung in Rotationsdruckmaschinen mit mehreren Bahnen Expired - Lifetime EP0950519B1 (de)

    Priority Applications (9)

    Application Number Priority Date Filing Date Title
    EP98810329A EP0950519B1 (de) 1998-04-16 1998-04-16 Verfahren zur selbsteinstellenden Farb- und Schnittregistersteuerung in Rotationsdruckmaschinen mit mehreren Bahnen
    DE59801305T DE59801305D1 (de) 1998-04-16 1998-04-16 Verfahren zur selbsteinstellenden Farb- und Schnittregistersteuerung in Rotationsdruckmaschinen mit mehreren Bahnen
    DK98810329T DK0950519T3 (da) 1998-04-16 1998-04-16 Fremgangsmåde til selvindstillende styring af farve- og skæreregistre i rotationstrykkemaskiner med flere baner
    AT98810329T ATE204810T1 (de) 1998-04-16 1998-04-16 Verfahren zur selbsteinstellenden farb- und schnittregistersteuerung in rotationsdruckmaschinen mit mehreren bahnen
    US09/277,741 US6092466A (en) 1998-04-16 1999-03-29 Method for self-adjusting color and cut register control in rotary printing machines having a plurality of webs
    KR1019990013165A KR100546431B1 (ko) 1998-04-16 1999-04-14 복수의 웹을 갖는 회전식 인쇄기에서 컬러 및 절단 레지스터 제어를 자동 조정하는 방법
    RU99107979/12A RU2222432C2 (ru) 1998-04-16 1999-04-15 Способ саморегулирующегося управления приводкой краски и линии резки в ротационных печатных машинах с несколькими полотнами
    NO19991799A NO319977B1 (no) 1998-04-16 1999-04-15 Metode for selvinnstillende styring av farge- og profilregister i rotasjonstrykkemaskiner med flere baner
    JP11109784A JP2000052540A (ja) 1998-04-16 1999-04-16 複数のウェブを備えた輪転印刷機の色/カットレジスタ制御の自動調節方法

    Applications Claiming Priority (1)

    Application Number Priority Date Filing Date Title
    EP98810329A EP0950519B1 (de) 1998-04-16 1998-04-16 Verfahren zur selbsteinstellenden Farb- und Schnittregistersteuerung in Rotationsdruckmaschinen mit mehreren Bahnen

    Publications (2)

    Publication Number Publication Date
    EP0950519A1 true EP0950519A1 (de) 1999-10-20
    EP0950519B1 EP0950519B1 (de) 2001-08-29

    Family

    ID=8236039

    Family Applications (1)

    Application Number Title Priority Date Filing Date
    EP98810329A Expired - Lifetime EP0950519B1 (de) 1998-04-16 1998-04-16 Verfahren zur selbsteinstellenden Farb- und Schnittregistersteuerung in Rotationsdruckmaschinen mit mehreren Bahnen

    Country Status (9)

    Country Link
    US (1) US6092466A (de)
    EP (1) EP0950519B1 (de)
    JP (1) JP2000052540A (de)
    KR (1) KR100546431B1 (de)
    AT (1) ATE204810T1 (de)
    DE (1) DE59801305D1 (de)
    DK (1) DK0950519T3 (de)
    NO (1) NO319977B1 (de)
    RU (1) RU2222432C2 (de)

    Cited By (17)

    * Cited by examiner, † Cited by third party
    Publication number Priority date Publication date Assignee Title
    DE10038551A1 (de) * 2000-08-03 2002-02-14 Roland Man Druckmasch Ermittlung der Voreinstelldaten für das Schnittregister (und das Farbregister) für längswellenlose Druckwerke
    DE10035788C1 (de) * 2000-07-22 2002-03-14 Koenig & Bauer Ag Verfahren und Vorrichtung zur Regelung einer Bahnspannung in einer Rotationsdruckmaschine
    WO2002042075A1 (de) * 2000-11-27 2002-05-30 Koenig & Bauer Aktiengesellschaft Verfahren zur regelung eines umfangsregisters in einer rollenrotationsdruckmaschine
    DE10154003A1 (de) * 2001-11-02 2003-05-15 Heidelberger Druckmasch Ag Vorrichtung und Verfahren zur Positionierung eines Querschnitts auf einem Bedruckstoff in Rollendruckmaschinen
    WO2004007325A1 (de) * 2002-07-11 2004-01-22 Koenig & Bauer Aktiengesellschaft Vorrichtung zur messung einer lage von materialbahnen
    DE10335887B4 (de) * 2003-08-06 2007-11-08 Man Roland Druckmaschinen Ag Verfahren und Vorrichtung zum Regeln eines Schnittregisterfehlers und einer Bahnzugkraft einer Rollenrotationsdruckmaschine
    DE102006023825A1 (de) * 2006-05-20 2007-11-22 Robert Bosch Gmbh Verfahren und System zur Antriebsregelung einer Druck- und/oder Verarbeitungsmaschine
    DE10335888B4 (de) * 2003-08-06 2008-03-13 Man Roland Druckmaschinen Ag Verfahren und Vorrichtung zum Regeln des Gesamt-Schnittregisterfehlers einer Rollenrotationsdruckmaschine
    DE102006061252A1 (de) * 2006-12-22 2008-06-26 Man Roland Druckmaschinen Ag Verfahren und Vorrichtung zur Regelung eines Einzugwerks
    EP1505025A3 (de) * 2003-08-06 2010-01-20 manroland AG Verfahren und Vorrichtung zur Regelung der Bahnzugkräfte und der Schnittregisterfehler einer Rollenrotationsdruckmaschine
    WO2010049030A3 (de) * 2008-10-27 2010-07-22 Robert Bosch Gmbh Verfahren zur automatischen achskorrektur bei einer bearbeitungsmaschine zur bearbeitung einer warenbahn
    EP2022632A3 (de) * 2007-07-17 2010-12-15 Komori Corporation Synchrones Steuerverfahren und entsprechende Vorrichtung für eine Rollenrotationsdruckmaschine
    EP1717031A3 (de) * 2005-04-28 2011-02-16 Komori Corporation Druckmaschine
    EP2002980A3 (de) * 2007-04-10 2011-08-03 Robert Bosch Gmbh Verfahren zum Betreiben einer Druckmaschine
    EP1980396A3 (de) * 2007-04-10 2011-08-24 Robert Bosch Gmbh Verfahren zum Verstellen von Druckmaschinenmodulen
    EP2392459A1 (de) * 2010-06-02 2011-12-07 Müller Martini Holding AG Verfahren und Vorrichtung zur Registersteuerung einer Druckmaschine
    CN108045070A (zh) * 2018-01-20 2018-05-18 渭南科赛机电设备有限责任公司 一种集成套色电子轴控制系统

    Families Citing this family (30)

    * Cited by examiner, † Cited by third party
    Publication number Priority date Publication date Assignee Title
    DE19936291B4 (de) * 1999-08-02 2015-12-24 Wifag Maschinenfabrik Ag Bestimmung von Schnittlagen von Bahnsträngen in einer Rotationsdruckmaschine
    CH694219A5 (fr) * 2000-02-10 2004-09-30 Bobst Sa Procédé de mise en repérage automatique d'impressions dans une machine rotative et dispositif pour la mise en oeuvre du procédé.
    DE10035787C2 (de) * 2000-07-22 2002-05-16 Koenig & Bauer Ag Verfahren zur Regelung einer Bahnspannung
    US7017484B2 (en) * 2002-03-08 2006-03-28 Komori Corporation Method for controlling an apparatus for controlling a cutting position of a web member and device therefor
    DE10245962A1 (de) * 2002-10-02 2004-04-15 Man Roland Druckmaschinen Ag Verfahren und Vorrichtung zum Regeln des Schnittregisters einer Rollenrotationsdruckmaschine
    DE10311431A1 (de) * 2003-03-13 2004-09-23 WINKLER + DüNNEBIER AG Verfahren und Vorrichtung zum Herstellen von Briefumschlägen und dergleichen
    DE10335886B4 (de) 2003-08-06 2013-12-19 Manroland Web Systems Gmbh Verfahren und Vorrichtung zum Regeln eines Gesamtschnittregisterfehlers einer Rotationsdruckmaschine
    DE10354432A1 (de) * 2003-11-21 2005-06-09 Goss International Montataire S.A. Verfahren zum Steuern der Zufuhr einer Bedruckstoffbahn in eine Druckmaschine
    US6932528B2 (en) * 2003-12-08 2005-08-23 Hewlett-Packard Development Company, L.P. Cutter position control in a web fed imaging system
    WO2005075199A1 (en) * 2004-02-06 2005-08-18 Orlandi S.P.A. A process and equipment for printing on non-woven-fabric
    US7523705B2 (en) * 2004-03-08 2009-04-28 Goss International Americas, Inc. Web printing press and method for controlling print-to-cut and circumferential register
    US7096789B2 (en) * 2004-05-04 2006-08-29 Goss International Americas, Inc. Web printing press and method for controlling print-to-cut and/or circumferential register
    DE102004051634A1 (de) * 2004-10-23 2006-05-18 Man Roland Druckmaschinen Ag Verfahren zur Schnittregisterregelung bei einer Rollenrotationsdruckmaschine
    JP4390742B2 (ja) * 2005-04-21 2009-12-24 東芝機械株式会社 賦形シート成形装置およびその回転位相差制御方法
    JP4722631B2 (ja) * 2005-09-07 2011-07-13 大日本スクリーン製造株式会社 印刷装置および張力制御方法
    DE102005048472A1 (de) * 2005-10-07 2007-04-12 Bosch Rexroth Ag Rotationsdruckmaschine und Verfahren des Betriebs einer Rotationsdruckmaschine
    JP4504909B2 (ja) * 2005-11-04 2010-07-14 株式会社小森コーポレーション リードインローラ隙間調整機構の隙間調整方法及び装置
    RU2314925C1 (ru) * 2006-03-06 2008-01-20 Федеральное Государственное Унитарное Предприятие "Гознак" (Фгуп "Гознак") Способ маркировки и контроля технологического параметра бумажного полотна выходного рулона и система для его осуществления
    US7891276B2 (en) 2007-08-31 2011-02-22 Kimbelry-Clark Worldwide, Inc. System and method for controlling the length of a discrete segment of a continuous web of elastic material
    KR100953475B1 (ko) * 2008-02-19 2010-04-16 건국대학교 산학협력단 전자소자 연속공정 롤투롤 인쇄를 위한 초정밀 레지스터제어 방법
    DE102008035639A1 (de) * 2008-07-31 2010-02-04 Robert Bosch Gmbh Verfahren zur Modellierung eines Regelkreises für eine Bearbeitungsmaschine
    DE102008056132A1 (de) * 2008-11-06 2010-05-12 Robert Bosch Gmbh Verfahren zur Bahnspannungseinstellung
    DE102009016206A1 (de) * 2009-04-03 2010-10-14 Robert Bosch Gmbh Verfahren zur Bahnspannungseinstellung
    US20120189364A1 (en) * 2011-01-21 2012-07-26 Andrew Peter Kittleson Reducing drag on rotatable web drive member
    US20140190363A1 (en) * 2013-01-04 2014-07-10 Goss International Americas, Inc. Registration system for a variable repeat press
    CN104512093B (zh) * 2014-12-22 2017-05-03 西安理工大学 一种自动获取卷筒料印刷设备收放卷初始半径的方法
    CN104772998B (zh) * 2015-04-02 2017-03-08 西安航天华阳机电装备有限公司 一种以包胶中心辊为承印辊的套印方法
    DE102016214963A1 (de) * 2016-08-11 2018-02-15 Robert Bosch Gmbh Bahnverarbeitungsmaschine mit mehreren Materialbahnen und Zugkraftregelung
    EP4159442A1 (de) * 2021-09-30 2023-04-05 Siemens Aktiengesellschaft Messwertkorrektur einer referenzmarke auf einer warenbahn
    DE102024107139B3 (de) * 2024-03-13 2025-04-10 Heidelberger Druckmaschinen Aktiengesellschaft Verfahren zum Erzeugen eines Proofdrucks in einer bahnverarbeitenden Druckmaschine

    Citations (6)

    * Cited by examiner, † Cited by third party
    Publication number Priority date Publication date Assignee Title
    US4264957A (en) * 1979-05-23 1981-04-28 Zerand Corporation Apparatus and method for register control in web processing apparatus
    EP0226166A1 (de) * 1985-12-12 1987-06-24 Werner Kammann Maschinenfabrik GmbH. Verfahren und Vorrichtung zum Positionieren einer absatzweise vorzutransportierenden Materialbahn
    USRE32967E (en) * 1982-11-24 1989-06-27 Xerox Corporation Web tracking system
    EP0452704A2 (de) * 1990-04-19 1991-10-23 MAN Roland Druckmaschinen AG Druckmaschinenanlage
    WO1994007692A1 (en) * 1992-09-29 1994-04-14 Graphic Packaging Corporation Rotary printing apparatus and method
    US5740054A (en) * 1992-11-13 1998-04-14 Heidelberger Druckmaschinen Ag Cutting-register feedback-control device on cross-cutters of rotary printing presses

    Family Cites Families (7)

    * Cited by examiner, † Cited by third party
    Publication number Priority date Publication date Assignee Title
    US32967A (en) * 1861-07-30 Elliot savage
    US2999295A (en) * 1960-06-14 1961-09-12 Cocker Machine & Foundry Compa Fabric stretch control device
    US4369906A (en) * 1980-06-19 1983-01-25 Crosfield Electronics Limited Web feeding machines
    US5056431A (en) * 1989-04-19 1991-10-15 Quad/Tech, Inc. Bernoulli-effect web stabilizer
    US5129568A (en) * 1990-01-22 1992-07-14 Sequa Corporation Off-line web finishing system
    SE467665B (sv) * 1990-12-12 1992-08-24 Bengt Andreasson Foerfarande och anordning foer bestaemning och reglering av toejningen i en loepande bana
    DE4344896C5 (de) * 1993-12-29 2004-07-29 Maschinenfabrik Wifag Antrieb für Zylinder einer Rollenrotationsdruckmaschine

    Patent Citations (6)

    * Cited by examiner, † Cited by third party
    Publication number Priority date Publication date Assignee Title
    US4264957A (en) * 1979-05-23 1981-04-28 Zerand Corporation Apparatus and method for register control in web processing apparatus
    USRE32967E (en) * 1982-11-24 1989-06-27 Xerox Corporation Web tracking system
    EP0226166A1 (de) * 1985-12-12 1987-06-24 Werner Kammann Maschinenfabrik GmbH. Verfahren und Vorrichtung zum Positionieren einer absatzweise vorzutransportierenden Materialbahn
    EP0452704A2 (de) * 1990-04-19 1991-10-23 MAN Roland Druckmaschinen AG Druckmaschinenanlage
    WO1994007692A1 (en) * 1992-09-29 1994-04-14 Graphic Packaging Corporation Rotary printing apparatus and method
    US5740054A (en) * 1992-11-13 1998-04-14 Heidelberger Druckmaschinen Ag Cutting-register feedback-control device on cross-cutters of rotary printing presses

    Cited By (28)

    * Cited by examiner, † Cited by third party
    Publication number Priority date Publication date Assignee Title
    DE10035788C1 (de) * 2000-07-22 2002-03-14 Koenig & Bauer Ag Verfahren und Vorrichtung zur Regelung einer Bahnspannung in einer Rotationsdruckmaschine
    US7040231B2 (en) 2000-07-22 2006-05-09 Koenig & Bauer Aktiengesellschaft Method for regulation of a web elongation in a rotary print machine
    US6601506B2 (en) 2000-08-03 2003-08-05 Man Roland Druckmaschinen Ag Determining the presetting data for the cut register and/or color register (circumferential register) for printing mechanisms with no lineshaft
    DE10038551A1 (de) * 2000-08-03 2002-02-14 Roland Man Druckmasch Ermittlung der Voreinstelldaten für das Schnittregister (und das Farbregister) für längswellenlose Druckwerke
    US6766737B2 (en) 2000-11-27 2004-07-27 Koenig & Bauer Aktiengesellschaft Method for controlling a circumferential register in a web-fed rotary press
    WO2002042075A1 (de) * 2000-11-27 2002-05-30 Koenig & Bauer Aktiengesellschaft Verfahren zur regelung eines umfangsregisters in einer rollenrotationsdruckmaschine
    DE10058841A1 (de) * 2000-11-27 2002-06-13 Koenig & Bauer Ag Verfahren zur Regelung eines Umfangsregisters
    DE10058841B4 (de) * 2000-11-27 2009-07-30 Koenig & Bauer Aktiengesellschaft Verfahren zur Regelung eines Umfangsregisters
    US6837159B2 (en) 2001-11-02 2005-01-04 Goss International Montataire, S.A. Device and method for positioning a cross cut on printing material and web-fed press having the device
    DE10154003A1 (de) * 2001-11-02 2003-05-15 Heidelberger Druckmasch Ag Vorrichtung und Verfahren zur Positionierung eines Querschnitts auf einem Bedruckstoff in Rollendruckmaschinen
    DE10231323A1 (de) * 2002-07-11 2004-01-29 Koenig & Bauer Ag Vorrichtung zur Messung einer Lage von Materialbahnen
    DE10231323B4 (de) * 2002-07-11 2005-09-29 Koenig & Bauer Ag Vorrichtung zur Messung einer Lage von Materialbahnen
    WO2004007325A1 (de) * 2002-07-11 2004-01-22 Koenig & Bauer Aktiengesellschaft Vorrichtung zur messung einer lage von materialbahnen
    DE10335888B4 (de) * 2003-08-06 2008-03-13 Man Roland Druckmaschinen Ag Verfahren und Vorrichtung zum Regeln des Gesamt-Schnittregisterfehlers einer Rollenrotationsdruckmaschine
    DE10335887B4 (de) * 2003-08-06 2007-11-08 Man Roland Druckmaschinen Ag Verfahren und Vorrichtung zum Regeln eines Schnittregisterfehlers und einer Bahnzugkraft einer Rollenrotationsdruckmaschine
    EP1505024A3 (de) * 2003-08-06 2010-01-20 manroland AG Verfahren und Vorrrichtung zum Regeln des Schnittregisters einer Rollenrotationsdruckmaschine
    EP1505025A3 (de) * 2003-08-06 2010-01-20 manroland AG Verfahren und Vorrichtung zur Regelung der Bahnzugkräfte und der Schnittregisterfehler einer Rollenrotationsdruckmaschine
    US8181556B2 (en) 2003-08-06 2012-05-22 Man Roland Druckmaschinen Ag Method and apparatus for controlling the cut register of a web-fed rotary press
    EP1717031A3 (de) * 2005-04-28 2011-02-16 Komori Corporation Druckmaschine
    DE102006023825A1 (de) * 2006-05-20 2007-11-22 Robert Bosch Gmbh Verfahren und System zur Antriebsregelung einer Druck- und/oder Verarbeitungsmaschine
    DE102006061252A1 (de) * 2006-12-22 2008-06-26 Man Roland Druckmaschinen Ag Verfahren und Vorrichtung zur Regelung eines Einzugwerks
    EP1980396A3 (de) * 2007-04-10 2011-08-24 Robert Bosch Gmbh Verfahren zum Verstellen von Druckmaschinenmodulen
    EP2002980A3 (de) * 2007-04-10 2011-08-03 Robert Bosch Gmbh Verfahren zum Betreiben einer Druckmaschine
    EP2022632A3 (de) * 2007-07-17 2010-12-15 Komori Corporation Synchrones Steuerverfahren und entsprechende Vorrichtung für eine Rollenrotationsdruckmaschine
    WO2010049030A3 (de) * 2008-10-27 2010-07-22 Robert Bosch Gmbh Verfahren zur automatischen achskorrektur bei einer bearbeitungsmaschine zur bearbeitung einer warenbahn
    EP2392459A1 (de) * 2010-06-02 2011-12-07 Müller Martini Holding AG Verfahren und Vorrichtung zur Registersteuerung einer Druckmaschine
    CN108045070A (zh) * 2018-01-20 2018-05-18 渭南科赛机电设备有限责任公司 一种集成套色电子轴控制系统
    CN108045070B (zh) * 2018-01-20 2020-02-18 渭南科赛机电设备有限责任公司 一种集成套色电子轴控制系统

    Also Published As

    Publication number Publication date
    KR19990083192A (ko) 1999-11-25
    KR100546431B1 (ko) 2006-01-26
    NO991799D0 (no) 1999-04-15
    DK0950519T3 (da) 2001-12-17
    NO319977B1 (no) 2005-10-10
    EP0950519B1 (de) 2001-08-29
    DE59801305D1 (de) 2001-10-04
    ATE204810T1 (de) 2001-09-15
    US6092466A (en) 2000-07-25
    NO991799L (no) 1999-10-18
    JP2000052540A (ja) 2000-02-22
    RU2222432C2 (ru) 2004-01-27

    Similar Documents

    Publication Publication Date Title
    EP0950519B1 (de) Verfahren zur selbsteinstellenden Farb- und Schnittregistersteuerung in Rotationsdruckmaschinen mit mehreren Bahnen
    EP0976674B1 (de) Bahnspannungsregeleinrichtung
    DE10135773C5 (de) Verfahren und Vorrichtung zum Steuern von Antrieben einer Druckmaschine
    EP0951993B1 (de) Registerhaltiger Antrieb eines Druckzylinders oder einer Schnittregisterwalze einer Rotationsdruckmaschine
    EP1303403B1 (de) Verfahren zur regelung einer bahnspannung
    DE10335888B4 (de) Verfahren und Vorrichtung zum Regeln des Gesamt-Schnittregisterfehlers einer Rollenrotationsdruckmaschine
    DE10158985A1 (de) Dehnungssteuerung im Einzug einer Druckmaschine
    EP0424874A2 (de) Verfahren und Einrichtung zum Vermindern von Makulatur in Rollenrotationsdruckmaschinen
    EP1303404B1 (de) Verfahren zur regelung einer bahnspannung in einer rotationsdruckmaschine
    EP1136258B1 (de) Verfahren zum Betreiben einer Rollenrotationsdruckmaschine mit Falzapparat
    DE10335886B4 (de) Verfahren und Vorrichtung zum Regeln eines Gesamtschnittregisterfehlers einer Rotationsdruckmaschine
    EP0933201B1 (de) Verfahren zur Regelung des Antriebes einer Papierbahn einer Druckmaschine
    AT413111B (de) Verfahren und anordnung in verbindung mit einer papiermaschine oder einer vorrichtung zur weiterverarbeitung einer papierbahn
    EP1252018B1 (de) Verfahren zur regelung einer bahnspannung in einer rotationsdruckmaschine
    EP1347878B1 (de) Verfahren zur regelung eines umfangsregisters in einer rollenrotationsdruckmaschine
    DE102007037564A1 (de) Verfahren zur Achskorrektur bei einer Verarbeitungsmaschine sowie Verarbeitungsmaschine
    EP1860047A1 (de) Verfahren zur Regelung von Bahnspannungen in einer papierver- bzw. bearbeitenden Maschine
    DE10027471A1 (de) Verfahren zur Regelung einer Bahnspannung in einer Rotationsdruckmaschine
    EP1048460A2 (de) Beeinflussung des FAN-OUT in einem Nassoffset Rotationsdruck
    EP1519887B1 (de) Verfahren zur ermittlung eines verlaufs für den spannungsabfall einer bahn und verfahren zur einstellung der spannung
    DE102008017532A1 (de) Schnittregisterregelung

    Legal Events

    Date Code Title Description
    PUAI Public reference made under article 153(3) epc to a published international application that has entered the european phase

    Free format text: ORIGINAL CODE: 0009012

    AK Designated contracting states

    Kind code of ref document: A1

    Designated state(s): AT BE CH DE DK FI FR GB IT LI NL SE

    AX Request for extension of the european patent

    Free format text: AL;LT;LV;MK;RO;SI

    17P Request for examination filed

    Effective date: 20000318

    AKX Designation fees paid

    Free format text: AT BE CH DE DK FI FR GB IT LI NL SE

    RAP1 Party data changed (applicant data changed or rights of an application transferred)

    Owner name: ABB INDUSTRIE AG

    GRAG Despatch of communication of intention to grant

    Free format text: ORIGINAL CODE: EPIDOS AGRA

    17Q First examination report despatched

    Effective date: 20001215

    GRAG Despatch of communication of intention to grant

    Free format text: ORIGINAL CODE: EPIDOS AGRA

    GRAH Despatch of communication of intention to grant a patent

    Free format text: ORIGINAL CODE: EPIDOS IGRA

    GRAH Despatch of communication of intention to grant a patent

    Free format text: ORIGINAL CODE: EPIDOS IGRA

    GRAA (expected) grant

    Free format text: ORIGINAL CODE: 0009210

    AK Designated contracting states

    Kind code of ref document: B1

    Designated state(s): AT BE CH DE DK FI FR GB IT LI NL SE

    REF Corresponds to:

    Ref document number: 204810

    Country of ref document: AT

    Date of ref document: 20010915

    Kind code of ref document: T

    REG Reference to a national code

    Ref country code: CH

    Ref legal event code: EP

    REF Corresponds to:

    Ref document number: 59801305

    Country of ref document: DE

    Date of ref document: 20011004

    REG Reference to a national code

    Ref country code: CH

    Ref legal event code: NV

    Representative=s name: ABB BUSINESS SERVICES LTD INTELLECTUAL PROPERTY (S

    GBT Gb: translation of ep patent filed (gb section 77(6)(a)/1977)

    Effective date: 20011128

    REG Reference to a national code

    Ref country code: GB

    Ref legal event code: IF02

    ET Fr: translation filed
    REG Reference to a national code

    Ref country code: CH

    Ref legal event code: PFA

    Free format text: ABB INDUSTRIE AG TRANSFER- ABB SCHWEIZ AG

    PLBE No opposition filed within time limit

    Free format text: ORIGINAL CODE: 0009261

    STAA Information on the status of an ep patent application or granted ep patent

    Free format text: STATUS: NO OPPOSITION FILED WITHIN TIME LIMIT

    26N No opposition filed
    NLT1 Nl: modifications of names registered in virtue of documents presented to the patent office pursuant to art. 16 a, paragraph 1

    Owner name: ABB SCHWEIZ AG

    REG Reference to a national code

    Ref country code: FR

    Ref legal event code: CD

    Ref country code: FR

    Ref legal event code: CA

    PGFP Annual fee paid to national office [announced via postgrant information from national office to epo]

    Ref country code: FR

    Payment date: 20110510

    Year of fee payment: 14

    Ref country code: SE

    Payment date: 20110414

    Year of fee payment: 14

    Ref country code: CH

    Payment date: 20110428

    Year of fee payment: 14

    Ref country code: DE

    Payment date: 20110421

    Year of fee payment: 14

    PGFP Annual fee paid to national office [announced via postgrant information from national office to epo]

    Ref country code: NL

    Payment date: 20110426

    Year of fee payment: 14

    Ref country code: GB

    Payment date: 20110421

    Year of fee payment: 14

    Ref country code: FI

    Payment date: 20110414

    Year of fee payment: 14

    Ref country code: BE

    Payment date: 20110414

    Year of fee payment: 14

    Ref country code: AT

    Payment date: 20110414

    Year of fee payment: 14

    Ref country code: DK

    Payment date: 20110418

    Year of fee payment: 14

    PGFP Annual fee paid to national office [announced via postgrant information from national office to epo]

    Ref country code: IT

    Payment date: 20110422

    Year of fee payment: 14

    BERE Be: lapsed

    Owner name: *ABB SCHWEIZ A.G.

    Effective date: 20120430

    REG Reference to a national code

    Ref country code: NL

    Ref legal event code: V1

    Effective date: 20121101

    REG Reference to a national code

    Ref country code: DK

    Ref legal event code: EBP

    REG Reference to a national code

    Ref country code: CH

    Ref legal event code: PL

    REG Reference to a national code

    Ref country code: SE

    Ref legal event code: EUG

    REG Reference to a national code

    Ref country code: AT

    Ref legal event code: MM01

    Ref document number: 204810

    Country of ref document: AT

    Kind code of ref document: T

    Effective date: 20120416

    GBPC Gb: european patent ceased through non-payment of renewal fee

    Effective date: 20120416

    REG Reference to a national code

    Ref country code: FR

    Ref legal event code: ST

    Effective date: 20121228

    PG25 Lapsed in a contracting state [announced via postgrant information from national office to epo]

    Ref country code: AT

    Free format text: LAPSE BECAUSE OF NON-PAYMENT OF DUE FEES

    Effective date: 20120416

    Ref country code: BE

    Free format text: LAPSE BECAUSE OF NON-PAYMENT OF DUE FEES

    Effective date: 20120430

    Ref country code: LI

    Free format text: LAPSE BECAUSE OF NON-PAYMENT OF DUE FEES

    Effective date: 20120430

    Ref country code: CH

    Free format text: LAPSE BECAUSE OF NON-PAYMENT OF DUE FEES

    Effective date: 20120430

    Ref country code: GB

    Free format text: LAPSE BECAUSE OF NON-PAYMENT OF DUE FEES

    Effective date: 20120416

    Ref country code: FI

    Free format text: LAPSE BECAUSE OF NON-PAYMENT OF DUE FEES

    Effective date: 20120416

    REG Reference to a national code

    Ref country code: DE

    Ref legal event code: R119

    Ref document number: 59801305

    Country of ref document: DE

    Effective date: 20121101

    PG25 Lapsed in a contracting state [announced via postgrant information from national office to epo]

    Ref country code: IT

    Free format text: LAPSE BECAUSE OF NON-PAYMENT OF DUE FEES

    Effective date: 20120416

    Ref country code: SE

    Free format text: LAPSE BECAUSE OF NON-PAYMENT OF DUE FEES

    Effective date: 20120417

    Ref country code: FR

    Free format text: LAPSE BECAUSE OF NON-PAYMENT OF DUE FEES

    Effective date: 20120430

    PG25 Lapsed in a contracting state [announced via postgrant information from national office to epo]

    Ref country code: NL

    Free format text: LAPSE BECAUSE OF NON-PAYMENT OF DUE FEES

    Effective date: 20121101

    PG25 Lapsed in a contracting state [announced via postgrant information from national office to epo]

    Ref country code: DK

    Free format text: LAPSE BECAUSE OF NON-PAYMENT OF DUE FEES

    Effective date: 20120430

    PG25 Lapsed in a contracting state [announced via postgrant information from national office to epo]

    Ref country code: DE

    Free format text: LAPSE BECAUSE OF NON-PAYMENT OF DUE FEES

    Effective date: 20121101