EP0754827A2 - Vorrichtung zur axial unverschieblichen, lösbaren Befestigung einer Handhabe an einem Lagerteil, insbesondere für Türdrücker, Fenstergriffe oder dgl. - Google Patents

Vorrichtung zur axial unverschieblichen, lösbaren Befestigung einer Handhabe an einem Lagerteil, insbesondere für Türdrücker, Fenstergriffe oder dgl. Download PDF

Info

Publication number
EP0754827A2
EP0754827A2 EP96111472A EP96111472A EP0754827A2 EP 0754827 A2 EP0754827 A2 EP 0754827A2 EP 96111472 A EP96111472 A EP 96111472A EP 96111472 A EP96111472 A EP 96111472A EP 0754827 A2 EP0754827 A2 EP 0754827A2
Authority
EP
European Patent Office
Prior art keywords
bearing
passage
handle
arms
section
Prior art date
Legal status (The legal status is an assumption and is not a legal conclusion. Google has not performed a legal analysis and makes no representation as to the accuracy of the status listed.)
Granted
Application number
EP96111472A
Other languages
English (en)
French (fr)
Other versions
EP0754827B1 (de
EP0754827A3 (de
Inventor
Werner Stibbe
Klaus Fingerhut
Willi Hankel
Current Assignee (The listed assignees may be inaccurate. Google has not performed a legal analysis and makes no representation or warranty as to the accuracy of the list.)
Hewi Heinrich Wilke GmbH
Original Assignee
Hewi Heinrich Wilke GmbH
Priority date (The priority date is an assumption and is not a legal conclusion. Google has not performed a legal analysis and makes no representation as to the accuracy of the date listed.)
Filing date
Publication date
Application filed by Hewi Heinrich Wilke GmbH filed Critical Hewi Heinrich Wilke GmbH
Publication of EP0754827A2 publication Critical patent/EP0754827A2/de
Publication of EP0754827A3 publication Critical patent/EP0754827A3/de
Application granted granted Critical
Publication of EP0754827B1 publication Critical patent/EP0754827B1/de
Anticipated expiration legal-status Critical
Expired - Lifetime legal-status Critical Current

Links

Images

Classifications

    • EFIXED CONSTRUCTIONS
    • E05LOCKS; KEYS; WINDOW OR DOOR FITTINGS; SAFES
    • E05BLOCKS; ACCESSORIES THEREFOR; HANDCUFFS
    • E05B3/00Fastening knobs or handles to lock or latch parts
    • E05B3/06Fastening knobs or handles to lock or latch parts by means arranged in or on the rose or escutcheon

Definitions

  • the invention relates to a device of the type specified in the preamble of claim 1.
  • the expansion part consists of two locking plates forming the arms, which are pivotably mounted on a pivot bolt riveted to the bearing part and are elastically biased against one another by a leg spring which is mounted on the pivot bolt.
  • a spreading slide which is slidably mounted in the bearing part and which can be actuated from the outside by means of a tool, serves to spread the two arms. Since the arms and the spreader slide preferably consist of thin sheet metal parts, so that the bearing part can be kept small and flat overall, there is a risk that the spreader slide will be pushed onto the arms during use instead of getting between them, so that a sensitive Operating mechanism results.
  • the invention is therefore based on the object of designing the device of the type described at the outset in such a way that it enables safe actuation and immediately recognizes the state in which the expansion part is.
  • the invention has the advantage that the expansion of the expansion part can be carried out directly with an externally insertable tool and the previously required expansion slide is no longer required.
  • the position of the two arms can be controlled from the outside through the unlocking hole which also serves to introduce the tool, an actuation mechanism which is easy to handle and reliable is obtained overall.
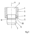
  • a conventional, only partially illustrated door handle is provided as a handle 1 according to FIGS. 1 and 2, which has an insert part 2 made of steel, for example, and a neck section 3 which is made of plastic existing sheathing of the insert 2 is formed and has, for example, a cylindrical contour with an axis 4.
  • the axis 4 in the assembled state of the device is the common longitudinal axis of all parts and at the same time the axis of rotation for the handle 1.
  • the neck section 3 ends on an end face 5.
  • the device also has a bearing part 11, which is preferably formed in two parts and consists of a e.g. made of plastic lower part 12 and an upper part 14 made of steel.
  • the lower part 12 which can be seen in particular in FIGS. 4 to 8, is placed with its lower or rear broad side in FIG. 1 on a door leaf, a wall or the like, while the upper part 14, which is shown in particular in FIGS. 9 to 11, comes with its bottom or back on the top or front of the lower part 12 to lie.
  • both parts 12, 14 are preferably circular and are formed as thin, essentially plane-parallel disks.
  • both parts 12, 14 have screw holes 15, 16 which can be aligned with one another for fastening screws, threaded sleeves or the like.
  • the lower part 12 and the upper part 14 are also provided with cylindrical passages 17, 18 which are to be aligned coaxially with one another and coaxially with the axis 4 and which serve to receive the bearing section 6 and have a diameter substantially corresponding to the diameter of the bearing section 6.
  • the passage 18 of the upper part 14 is surrounded by a bearing collar 19 which protrudes upwards or from the upper or front side of the upper part 14 and expediently forms a circumferential, closed bearing surface.
  • the upper part 14 has a downwardly projecting, e.g. cylindrical peripheral wall 20 which, in the assembled state, i.e. when the lower part 12 is inserted into it (FIG. 1), the circumferential surface of which engages with a clamp fit, and the height of which is such that it is flush with the underside of the lower part 12 in the assembled state.
  • the peripheral wall 20 is provided with two sector-shaped cutouts 21 (FIGS. 9, 10) which, when the lower part 12 is inserted, receive two correspondingly sector-shaped projections 22 provided on the edge thereof and having undercuts 23 (FIG. 1) on their outer circumference. These interact with the undercuts assigned to them on the inner lateral surface of a cover cap 24 which, after the mounting of the bearing part 11, is placed thereon in the manner shown in FIG to cover the outside.
  • a groove 25 (FIG. 6) coaxial with the axis of the passage 17 is machined into the underside of the lower part 12, through which a peripheral wall section 26 with a reduced wall thickness adjoining the passage 17 is formed. This is divided by slots 27 parallel to the axis of the passage 17 into a plurality of resilient slats 28 (FIGS. 6 and 8), which can be pivoted to a limited extent in the radial direction around their base sections due to the small wall thickness.
  • the depth of the groove 25 is itself freely selectable and extends, for example, over one or two thirds of the thickness of the lower part 12.
  • the peripheral bearing groove 9 of the handle 1 has, as shown in particular in FIGS. 1 and 3, a diameter which essentially corresponds to the diameter of the bearing collar 19.
  • the bearing groove 9 preferably has a slightly larger width than the wall thickness of the bearing collar 19 of the upper part 14.
  • the depth of the bearing groove 9 corresponds essentially to the height of the bearing collar 19 or somewhat more.
  • the bearing collar 19 can be arranged essentially coaxially in the bearing groove 9 with the usual bearing play.
  • the bearing groove 9 serves the purpose that the upper part 14 can perform limited tilting movements relative to the axis 4 when the bearing collar 19 is inserted into the bearing groove 9.
  • a radially inner inner wall 30 (FIG.
  • the neck section 3 delimiting the bearing groove 9 is preferably of slightly conical or frustoconical shape, its diameter gradually decreasing towards the free end.
  • the inner diameter of the bearing collar 19 corresponds approximately to the diameter of the inner wall 30 at a location near the bottom of the bearing groove 9.
  • the bearing part 11 is first attached to a door leaf, not shown, by the screw holes 15, 16 as well as the cutouts 21 and the shoulders 22 of the lower and upper parts 12, 14 are correspondingly aligned with one another and fastening elements 31 shown in FIG. 2 are inserted into the screw holes 15, 16.
  • the cover cap 24 is then clipped on in accordance with FIG. 1.
  • the parts 12, 14 and 24 form a rosette, the free ends of the slats 28 facing the door leaf with the required small distance, while the bearing collar 19 protrudes upward or slightly from a receiving opening 32 of the cover cap 24.
  • the bearing section 6 of the handle 1 is now inserted axially into the passages 17, 18 (FIGS. 6 and 9) until the bearing collar 19 is completely received in the bearing groove 9 and the front end of the neck section 3 in the receiving opening 32 (Fig. 12).
  • the bearing collar 19 lies with the usual bearing play in the bearing groove 9, while at the same time the bearing section 6 coaxially in the passage 17 of the lower part 12 formed by the lamellae 28 is stored.
  • the axis 4 of the handle 1 or the actuating element 10 is inclined at an angle ⁇ to the bearing axis, for example because a corresponding rosette on the other side of the door relative to the rosette shown in FIGS. 1 and 12 with a small lateral offset or that from FIG. 1 and 12 visible rosette with a small radial offset relative to an axis of rotation specified by a lock nut or the like.
  • the handle 1 can be inclined accordingly with its axis 4.
  • the inner wall 30 can pivot relative to the bearing collar 19 due to the increased width of the bearing groove 9 or its conical configuration, while on the other hand the bearing section 6 is pivotably mounted in the area of the lamellae 28.
  • the only requirement is that the inside diameter of the section of the passage 17 not provided with the lamella 28 and the inside diameter of the passage 18 of the upper part 14, where they interact with the bearing section 6, each have a slightly larger diameter than the bearing section 6 or that the respective material properties (eg plastic) allow such swiveling due to elastic deformation.
  • the handle 1 is rotatably mounted in such pivot positions at two locations arranged at a comparatively large distance, namely on the one hand by means of the bearing collar 19 on the inner wall 30 and on the other hand by means of the bearing section 6 in the lower part 12.
  • the bearing point mentioned first acts like a self-aligning bearing, which also allows the usual rotary movements of the handle 1, while the other bearing acts as an elastic compensating bearing.
  • which is 1.5 ° and a total of 3 °, for example on both sides of the axis 4, this results in a stable and safe even in the case of assembly inaccuracies which are the cause of such slight pivoting of the axis 4 relative to the bearing axis Rotary bearing of the equipment part.
  • the described type of mounting of the equipment part 1 is used with particular advantage in combination with the device explained below for axially immovable fastening of the handle 1 on the bearing part 11.
  • the lower part 12 has on its top or front side a recess 35 surrounding the passage 17 (FIG. 5) with a bottom 36, which in the is arranged substantially parallel to the lower or rear side of the lower part 12.
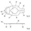
  • the recess 35 serves to receive an expansion part 37 (FIGS. 2, 13, 14), which preferably consists of a sheet-metal stamped part produced in one piece.
  • the expansion part 37 has two mirror-opposite, substantially parallel arms 38, 39, which are provided in a central region with concave cutouts 40, 41, the mutually facing surfaces of which, for example, have a shape adapted to the circumferential surface of the bottom of the circumferential groove 8 of the bearing section 6 (Fig. 3).
  • the thickness of the arms 38, 39 is at least in this area smaller than the width of the circumferential groove 8.
  • the two arms 38, 39 are connected to one another by an at least partially elastically bendable web 42 and at the opposite, free end to end sections 43, 44 provided, which are arranged in the normal state with a suitable and certain distance for the insertion of a tool, for example a screwdriver, so that the expansion part 37 is generally substantially U-shaped.
  • the opposing surfaces of the cutouts 40, 41 are normally held at a distance from one another by the web 42 which is smaller than the diameter of the bearing section 6 outside the region the circumferential groove 8.
  • an eyelet-like recess 45 serving for assembly and an extension 46 projecting outwards are preferably provided.
  • the expansion part 37 can be inserted into the recess 35 of the lower part 12 in such a way that the recess 45 is penetrated by a protrusion 47 projecting from the bottom 36 of the recess 35 and at the same time the extension 46 in a slot opening 48 comes to rest, which is arranged in the wall surrounding the recess 35.
  • the expansion part 37 is largely immovable and non-pivotable in the recess 35.
  • the projection 47 is flush with the front of the lower part 12, while the thickness of the expansion part 37 is somewhat smaller than the depth of the recess 35.
  • the bottom 36 of the recess 35 is provided with an additional recess 49 (FIGS. 1, 4, 7) which is preferably pivotable Recording a securing element 50 (Fig. 1, 2, 15 to 17) is used. 1 and 7, the recess 49 has a depth that increases radially outwards from the passage 17 of the lower part 12 and thus has a sloping bottom 51, which in one area directly adjoining the passage 17 also has one to it Has axis parallel groove 52 (Fig. 4 and 7).
  • the securing element 50 preferably consists of a one-piece sheet-metal stamped part and has on its upper side two locking lugs 53, 54 which are opposite one another at a distance which essentially corresponds to the distance between the outer edges of the end sections 43, 44 of the expansion part 37 in its normal state (FIG . 21).
  • the securing element 50 At its end coming radially inward in the recess 49, the securing element 50 is provided with a tab 55 which is angled downward by approximately 90 ° and is dimensioned such that it fits into the groove 52 of the lower part 12 and radially obliquely into the Passage 17 of the lower part 12 protrudes when the securing element 50 lies freely on the bottom 51 of the recess 49 (FIG. 1). Finally, the securing element 50 is also provided with a projection 56 protruding from its upper side, which is assigned to the end sections 43, 44 of the expansion part 37 and has a width which is somewhat larger than the free space between these two end sections 43, 44 (FIG. 13) is in the normal state of the expansion element 37.
  • An unlocking hole 57 formed in the upper part 14 is used to actuate the expansion element 37 from the outside, which in the exemplary embodiment is arranged parallel but at a radial distance from the axis of the passage 18 and the meaning of which is explained below.
  • the securing element 50 is first positioned on the bottom 51 of the recess 49 of the lower part 12 such that the tab 55 is arranged in the region of the groove 52 and protrudes somewhat into the cross section of the passage 17 (FIG. 1). Then the expansion part 37 is placed in the recess 35 (FIG. 2) such that its shoulder 46 enters the slot opening 48, its recess 45 is protruded by the projection 47 and the two end sections 43, 44 of the arms 38, 39 on the securing element 50 come to rest. In this position, the end sections 43, 44 assume the position according to FIG.
  • the handle 1 is mounted immediately or at a later time. For this purpose, this is inserted in the manner shown in FIGS. 1 and 2 with the bearing section 6 ahead into the coaxially aligned passages 17, 18, the insertion section 7 entering the space formed by the cutouts 40 and 41 of the expansion part 37 and in the further Advancing the bearing section 6 causes a radial and elastic spreading of the arms 38, 39. The arms 38, 39 then run onto the bearing section 6 (FIG. 2).
  • the locking lugs 53, 54 come into a position in which they lie tightly against the associated end sections 43, 44 of the expansion part 37 from the outside, thereby preventing a renewed, now undesired radial spreading of the arms 38, 39 by positive locking.
  • the space for the expansion part 37 between the rear of the upper part 14 and the bottom 36 of the recess 35 can be dimensioned as narrowly as is just sufficient for easy expansion of the expansion part 37, the expansion part can also be prevented in a simple manner 37 can be moved unintentionally by axial displacement or pivoting out of the blocking zone formed by the locking lugs 53, 54 and the positive Locking is unintentionally released.
  • bearing section 6 is now rotatable, but axially essentially immovable in the bearing part 11.
  • the cover cap 24 is first separated from the bearing part 11 and pulled back on the neck portion 3 of the handle 1 and rotated so that the unlocking hole 57 is exposed. Then a tool, e.g. a screwdriver with a broad blade, an angle element made of flat iron or the like, is inserted into the now visible part 58 (FIG. 21) of the space between the end sections 43, 44 and is first pressed axially against the securing element 50, around which the locking lugs 53, 54 containing section to pivot elastically relative to the tab 55 and to push deeper into the recess 49.
  • a tool e.g. a screwdriver with a broad blade, an angle element made of flat iron or the like
  • the end sections 43, 44 of the expansion part 37 come out of the effective range of the locking lugs 53, 54 and can therefore now e.g. by rotating the tool into a position analogous to FIGS. 2 and 19, respectively, until they have emerged completely from the circumferential groove 8 of the bearing section 6.
  • the handle 1 can now be pulled out of the passages 17, 18, the tab 55 automatically coming back into the position 17 projecting into the passage 17 due to the elastic prestress.
  • the unlocking hole 57 therefore allows on the one hand a visual control of the function of the expansion part 37 and securing element 50 and on the other hand the introduction of a tool from the outside for direct removal of the handle 1 from the bearing part 11, without the need for additional expansion slides or the like.
  • the invention is not limited to the exemplary embodiment described, which can be modified in many ways.
  • the bearing part 11 in one piece, in which, for example, the bearing collar 19 is molded directly onto the lower part 12 and the expansion part 37 is held in position on its front side by a round disc or the cover cap 24, the unlocking hole 57 being formed either in the disc or in the cover cap 24 and possibly could be closed with a stopper.
  • the bearing collar 19 could be provided with slots or recesses through which the expansion part 37 could enter the circumferential groove 8.

Landscapes

  • Engineering & Computer Science (AREA)
  • Mechanical Engineering (AREA)
  • Lock And Its Accessories (AREA)
  • Window Of Vehicle (AREA)
  • Sliding-Contact Bearings (AREA)
  • Wing Frames And Configurations (AREA)
  • Snaps, Bayonet Connections, Set Pins, And Snap Rings (AREA)
  • Hinges (AREA)
  • Pivots And Pivotal Connections (AREA)

Abstract

Die Erfindung betrifft eine Vorrichtung zur axial unverschieblichen, lösbaren Befestigung einer Handhabe (1) an einem Lagerteil (11), insbesondere für Türdrücker, Fenstergriffe oder dgl., wobei die Handhabe (1) einen Lagerabschnitt (6) mit einer Umfangsnut (8) und das Lagerteil (11) einen den Lagerabschnitt (6) zumindest teilweise aufnehmenden Durchgang (17) und ein Entriegelungsloch (57) aufweist. Dem Lagerteil (11) ist ein Riegelelement zugeordnet, das als ein Spreizteil (37) mit zwei federnd aufspreizbaren Armen ausgebildet ist, die zur Befestigung der Handhabe (1) am Lagerteil (11) beim Anordnen des Lagerabschnitts (6) im Durchgang (17, 18) in die Umfangsnut (8) einschnappen und zur Demontage der Handhabe (1) vom Lagerteil (11) mittels eines in das Entriegelungsloch (57) einführbaren Werkzeugs nach außen aus der Umfangsnut (8) entfernt werden können. Das Spreizteil (37) und das Entriegelungsloch (57) sind zur optischen Kontrolle der relativen Stellung der beiden Arme des Spreizteils (37) und zur unmittelbaren Aufspreizung der Arme mit dem Werkzeug ausgebildet und angeordnet.

Description

  • Die Erfindung betrifft eine Vorrichtung der im Oberbegriff des Anspruchs 1 angegebenen Gattung.
  • Bei einer bekannten Vorrichtung dieser Art (DE 36 04 115 A1) besteht das Spreizteil aus zwei die Arme bildenden Riegelplatten, die auf einem mit dem Lagerteil vernieteten Schwenkbolzen schwenkbar gelagert und durch eine auf den Schwenkbolzen aufgezogene Schenkelfeder elastisch gegeneinander vorgespannt sind. Zum Aufspreizen der beiden Arme dient ein verschiebbar im Lagerteil gelagerter Spreizschieber, der von außen her mittels eines Werkzeugs betätigt werden kann. Da die Arme und der Spreizschieber bevorzugt aus dünnen Blechteilen bestehen, damit das Lagerteil insgesamt klein und flach gehalten werden kann, ergibt sich die Gefahr, daß der Spreizschieber beim Gebrauch auf die Arme aufgeschoben wird, statt zwischen sie zu gelangen, so daß sich ein empfindlicher Betätigungsmechanismus ergibt. Als unpraktisch hat sich außerdem erwiesen, daß der momentane Spreizzustand des Spreizteils mit Hilfe des Spreizschiebers und des Werkzeugs nur ertastbar ist. Dies wird insbesondere bei der Montage der Vorrichtung an einer Tür oder dgl. als Nachteil empfunden, weil nicht unmittelbar erkennbar ist, ob sich die Arme in der herzustellenden Verriegelungsstellung befinden oder nicht und ob der Spreizschieber die für eine ordnungsgemäße Funktion erforderliche Stellung zwischen den beiden Armen einnimmt.
  • Der Erfindung liegt daher die Aufgabe zugrunde, die Vorrichtung der eingangs bezeicheten Gattung so auszubilden, daß sie eine sichere Betätigung ermöglicht und unmittelbar erkennen läßt, in welchem Zustand sich das Spreizteil befindet.
  • Zur Lösung dieser Aufgabe dienen die kennzeichnenden Merkmale des Anspruchs 1.
  • Die Erfindung bringt den Vorteil mit sich, daß die Aufspreizung des Spreizteils unmittelbar mit einem von außen einführbaren Werkzeug vorgenommen werden kann und der bisher erforderliche Spreizschieber nicht mehr benötigt wird. Da außerdem die Stellung der beiden Arme durch das auch der Einführung des Werkzeugs dienende Entriegelungsloch hindurch von außen her kontrolliert werden kann, wird ein insgesamt einfach handhabbarer und betriebssicherer Betätigungsmechanismus erhalten.
  • Weitere Vorteile der Erfindung ergeben sich aus den Unteransprüchen.
  • Die Erfindung wird nachfolgend in Verbindung mit der beiliegenden Zeichnung an einem Ausführungsbeispiel näher erläutert. Es zeigen:
    • Fig. 1 einen Längsschnitt durch eine erfindungsgemäße Vorrichtung;
    • Fig. 2 einen Schnitt längs der Linie II-II der Fig. 1;
    • Fig. 3 in stark vergrößerter Darstellung einen Halsabschnitt eines Türdrückers;
    • Fig. 4 die Draufsicht auf ein Unterteil der Vorrichtung nach Fig. 1 in verkleinertem Maßstab;
    • Fig. 5 einen Schnitt längs der Linie V-V der Fig. 4;
    • Fig. 6 eine Unteransicht des Unterteils nach Fig. 4 und 5;
    • Fig. 7 einen Schnitt längs der Linie VII-VII der Fig. 4;
    • Fig. 8 eine vergrößerte Darstellung einer Einzelheit X in Fig. 5;
    • Fig. 9 die Unteransicht eines Oberteils der Vorrichtung nach Fig. 1 und 2 in einem der Fig. 4 bis 8 entsprechendem Maßstab;
    • Fig. 10 einen Schnitt längs der Linie X-X der Fig. 9;
    • Fig. 11 eine Draufsicht auf das Oberteil nach Figuren 9 und 10;
    • Fig. 12 eine der Fig. 1 entsprechende Ansicht der erfindungsgemäßen Vorrichtung, jedoch im montierten Zustand;
    • Fig. 13 und 14 je eine Draufsicht und Vorderansicht eines Spreizteils der Vorrichtung nach Fig. 1 und 2;
    • Fig. 15 bis 17 je eine Seitenansicht, Draufsicht und Vorderansicht eines Sicherungselements der Vorrichtung nach Fig. 1 und 2; und
    • Fig. 18, 19 bzw. 20, 21 die Vorrichtung nach Fig. 1 und 2 in entsprechenden Ansichten, jedoch in unterschiedlichen Betriebszuständen.
  • Bei der erfindungsgemäßen Vorrichtung, die im Ausführungsbeispiel eine Türdrückerlagerungsanordnung bildet, ist nach Fig. 1 und 2 als Handhabe 1 ein herkömmlicher, nur teilweise dargestellter Türdrücker vorgesehen, der ein z.B. aus Stahl bestehendes Einlegeteil 2 und einen Halsabschnitt 3 aufweist, der durch eine aus Kunststoff bestehende Ummantelung des Einlegeteils 2 gebildet ist und z.B. eine zylindrische, eine Achse 4 aufweisende Kontur besitzt. Dabei ist die Achse 4 im montierten Zustand der Vorrichtung die gemeinsame Längsachse aller Teile und gleichzeitig die Drehachse für die Handhabe 1. Der Halsabschnitt 3 endet an einer Stirnfläche 5. Wie insbesondere Fig. 3 zeigt, ist das Einlegeteil 2 mit einem aus der Stirnfläche 5 herausragenden, zylindrischen und zur Achse 4 koaxialen Lagerabschnitt 6 versehen, der an seinem axialen Ende als Einführungskonus 7 ausgebildet ist. Der Lagerabschnitt 6 ist mit einer vorzugsweise umlaufenden Umfangsnut 8 versehen. In die Stirnfläche 5 ist eine mit der Achse 4 koaxiale, vorzugsweise umlaufende Lagernut 9 eingearbeitet. In das freie Ende des Lagerabschnitts 6 kann in an sich bekannter Weise ein Betätigungselement 10 für eine Schloßnuß oder dgl., z.B. ein üblicher Drückervierkant, eingesetzt werden.
  • Die Vorrichtung weist ferner ein Lagerteil 11 auf, das vorzugsweise zweiteilig ausgebildet ist und aus einem z.B. aus Kunststoff hergestellten Unterteil 12 und einem aus Stahl hergestellten Oberteil 14 besteht. Das insbesondere aus Fig. 4 bis 8 ersichtliche Unterteil 12 wird mit seiner in Fig. 1 unteren bzw. hinteren Breitseite auf ein Türblatt, eine Wand od dgl. aufgelegt, während das Oberteil 14, das insbesondere in Fig. 9 bis 11 gezeigt ist, mit seiner Unter- bzw. Rückseite auf der Ober- bzw. Vorderseite des Unterteils 12 zu liegen kommt. Beide Teile 12, 14 sind wie bei herkömmlichen Rosetten vorzugsweise kreisrund und als dünne, im wesentlichen planparallele Scheiben ausgebildet. Außerdem weisen beide Teile 12, 14 aufeinander ausrichtbare Schraublöcher 15, 16 für Befestigungsschrauben, Gewindehülsen oder dgl. auf.
  • Das Unterteil 12 und das Oberteil 14 sind außerdem mit koaxial miteinander und koaxial mit der Achse 4 auszurichtenden, zylindrischen Durchgängen 17, 18 versehen, die zur Aufnahme des Lagerabschnitts 6 dienen und einen im wesentlichen dem Durchmesser des Lagerabschnitts 6 entsprechenden Durchmesser aufweisen. Dabei ist der Durchgang 18 des Oberteils 14 von einem Lagerkragen 19 umgeben, der von der Ober- bzw. Vorderseite des Oberteils 14 nach oben bzw. vom absteht und zweckmäßig eine umlaufende, geschlossene Lagerfläche bildet. Außerdem weist das Oberteil 14 an seinem äußeren Umfgang eine nach unten abstehende, z.B. zylindrische Umfangswand 20 auf, die im montierten Zustand, d.h. bei in sie eingelegtem Unterteil 12 (Fig. 1), dessen Umfangsfläche mit Klemmsitz umgreift, und deren Höhe so bemessen ist, daß sie im montierten Zustand bündig mit der Unterseite des Unterteils 12 abschließt.
  • Die Umfangswand 20 ist mit zwei sektorförmigen Ausschnitten 21 (Fig. 9, 10) versehen, die bei eingelegtem Unterteil 12 zwei an dessen Rand vorgesehene, entsprechend sektorförmig ausgebildete Ansätze 22 aufnehmen, die an ihrem Außenumfang hinterschnittene Nasen 23 (Fig. 1) aufweisen. Diese wirken mit ihnen zugeordneten Hinterschneidungen an der inneren Mantelfläche einer Abdeckkappe 24 zusammen, die nach der Montage des Lagerteils 11 in der aus Fig. 1 ersichtlichen Weise auf dieses aufgesetzt wird, um es nach außen hin abzudecken.
  • In die Unterseite des Unterteils 12 ist eine mit der Achse des Durchgangs 17 koaxiale Nut 25 (Fig. 6) eingearbeitet, durch die ein an den Durchgang 17 grenzender Umfangswandabschnitt 26 mit verringerter Wandstärke entsteht. Dieser ist durch zur Achse des Durchgangs 17 parallele Schlitze 27 in eine Mehrzahl von elastisch nachgiebigen Lamellen 28 (Fig. 6 und 8) unterteilt, die aufgrund der geringen Wandstärke um ihre Fußabschnitte in radialer Richtung begrenzt verschwenkbar sind. Die Tiefe der Nut 25 ist an sich frei wählbar und beispielsweise über ein bzw. zwei Drittel der Dicke des Unterteils 12 erstreckt. In die Nut 25 ist außerdem ein elastisches Element 29, z.B. ein O-Ring, eingelegt (Fig. 1), der die Lamellen 28 radial zum Durchgang 17 hin derart vorspannt, daß sie einen Abschnitt des Durchgangs 17 begrenzen, dessen Querschnitt im Vergleich zu dem nicht mit der Nut 25 versehenen Abschnitt des Durchgangs 17 etwas reduziert ist.
  • Die umlaufende Lagernut 9 der Handhabe 1 besitzt, wie insbesondere Fig. 1 und 3 zeigen, einen im wesentlichen dem Durchmesser des Lagerkragens 19 entsprechenden Durchmesser. Jedoch weist die Lagernut 9 vorzugsweise eine geringfügig größere Breite auf, als der Wandstärke des Lagerkragens 19 des Oberteils 14 entspricht. Die Tiefe der Lagernut 9 entspricht im wesentlichen der Höhe des Lagerkragens 19 oder etwas mehr. Dadurch kann einerseits der Lagerkragen 19 mit dem üblichen Lagerspiel im wesentlichen koaxial in der Lagernut 9 angeordnet werden. Andererseits dient die Lagernut 9 dem Zweck, daß das Oberteil 14 bei in die Lagernut 9 eingeführtem Lagerkragen 19 begrenzte Kippbewegungen relativ zur Achse 4 ausführen kann. Dazu ist eine radial innen liegende, die Lagernut 9 begrenzende Innenwand 30 (Fig 3) des Halsabschnitts 3 vorzugsweise leicht konisch bzw. kegelstumpfförmig ausgebildet, wobei ihr Durchmesser zum freien Ende hin allmählich abnimmt. Der Innendurchmesser des Lagerkragens 19 entspricht dabei etwa dem Durchmesser der Innenwand 30 an einer in der Nähe des Bodens der Lagernut 9 gelegenen Stelle.
  • Der Zusammenbau der bisher beschriebenen Vorrichtung und die Funktion der Lagerung ergeben sich insbesondere aus den Fig. 1 und 12.
  • Es wird zunächst das Lagerteil 11 an einem nicht dargestellten Türblatt befestigt, indem die Schraublöcher 15, 16 sowie die Ausschnitte 21 und die Ansätze 22 des Unter- und Oberteils 12, 14 entsprechend aufeinander ausgerichtet und aus Fig. 2 ersichtliche Befestigungselemente 31 in die Schraublöcher 15, 16 eingeführt werden. Danach wird die Abdeckkappe 24 entsprechend Fig. 1 aufgeklipst. Dadurch bilden die Teile 12, 14 und 24 eine Rosette, wobei die freien Enden der Lamellen 28 mit dem erforderlichen geringen Abstand dem Türblatt zugewandt sind, während der Lagerkragen 19 nach oben bzw. vom geringfügig aus einer Aufnahmeöffnung 32 der Abdeckkappe 24 herausragt.
  • Wie Fig. 1 zeigt, wird jetzt der Lagerabschnitt 6 der Handhabe 1 axial in die Durchgänge 17, 18 (Fig 6 und 9) eingeführt, bis der Lagerkragen 19 vollständig in der Lagernut 9 und das Vorderende des Halsabschnitts 3 in der Aufnahmeöffnung 32 aufgenommen ist (Fig. 12). Bei exakt koaxialer Ausrichtung des Lagerabschnitts 6 bzw. der Achse 4 zur Achse der Durchgänge 17 und 18 liegt der Lagerkragen 19 mit dem üblichen Lagerspiel in der Lagernut 9, während gleichzeitig der Lagerabschitt 6 koaxial in dem von den Lamellen 28 gebildeten Durchgang 17 des Unterteils 12 gelagert ist. Geringfügige Toleranzabweichungen des Durchmessers des Lagerabschnitts 6 werden dabei durch elastisches Ausweichen der Lamellen 28 ausgeglichen, wobei deren Vorspannung durch das Element 29 auch beim Gebrauch der Handhabe 1 auftretende Abnutzungen im Bereich des Lagerabschnitts 6 ausgleichen kann. Stellt sich dagegen die Achse 4 der Handhabe 1 oder des Betätigungselements 10 um einen Winkel α schräg zur Lagerachse, beispielsweise weil eine entsprechende Rosette auf der anderen Türseite relativ zu der aus Fig. 1 und 12 ersichtlichen Rosette mit geringem seitlichen Versatz oder die aus Fig. 1 und 12 ersichtliche Rosette mit geringem radialen Versatz relativ zu einer durch eine Schloßnuß oder dgl. vorgegebene Drehachse montiert wurde, dann kann sich die Handhabe 1 mit ihrer Achse 4 entsprechend schrägstellen. Hierzu kann einerseits die Innenwand 30 aufgrund der vergrößerten Breite der Lagemut 9 bzw. ihrer konischen Ausbildung relativ zum Lagerkragen 19 schwenken, während andererseit der Lagerabschnitt 6 im Bereich der Lamellen 28 entsprechend schwenkbar gelagert ist. Vorraussetzung ist hierbei lediglich, daß der Innendurchmesser des nicht mit den Lamellen 28 versehenen Abschnitts des Durchgangs 17 und der Innendurchmesser des Durchgangs 18 des Oberteils 14 dort, wo sie mit dem Lagerabschnitt 6 zusammenwirken, jeweils einen geringfügig größeren Durchmesser als der Lagerabschnitt 6 haben oder daß die jeweiligen Materialeigenschaften (z.B. Kunststoff) derartige Verschwenkungen aufgrund elastischer Verformung zulassen. Dadurch ergibt sich der Vorteil, daß die Handhabe 1 in derartigen Schwenkstellungen an zwei mit vergleichsweise großem Abstand angeordneten Stellen drehbar gelagert ist, nämlich einerseits mittels des Lagerkragens 19 an der Innenwand 30 und andererseits mittels des Lagerabschnitts 6 im Unterteil 12. Dabei wirkt die zuerst genannte Lagerstelle wie ein Pendellager, das auch die üblichen Drehbewegungen der Handhabe 1 zuläßt, während die andere Lagerstelle als elastisches Ausgleichslager wirkt. Innerhalb des Winkels α, der z.B. zu beiden Seiten der Achse 4 je 1,5° und insgesamt 3° beträgt, ergibt sich somit auch bei Montageungenauigkeiten, die die Ursache zu solchen geringfügigen Verschwenkungen der Achse 4 relativ zur Lagerachse sind, eine stabile und sichere Drehlagerung des Ausstattungsteils.
  • Die beschriebene Art der Lagerung des Ausstattungsteils 1 wird mit besonderem Vorteil in Kombination mit der nachfolgend erläuterten Vorrichtung zur axial unverschieblichen Befestigung der Handhabe 1 am Lagerteil 11 angewendet.
  • Wie insbesondere Fig. 1, 2, 4, 5, 7 und 18 bis 21 zeigen, weist das Unterteil 12 auf seiner Ober- bzw. Vorderseite eine den Durchgang 17 umgebende Aussparung 35 (Fig. 5) mit einem Boden 36 auf, der im wesentlichen parallel zur Unter- bzw. Rückseite des Unterteils 12 angeordnet ist. Die Aussparung 35 dient zur Aufnahme eines Spreizteils 37 (Fig. 2, 13, 14), das vorzugsweise aus einem einstückig hergestellten Blechstanzteil besteht. Das Spreizteil 37 weist zwei spiegelbildlich gegenüberliegende, im wesentlichen parallele Arme 38, 39 auf, die in einem mittleren Bereich mit konkaven Ausschnitten 40, 41 versehen sind, deren einander zugewandte Flächen z.B. eine an die Umfangsfläche des Bodens der Umfangsnut 8 des Lagerabschnitts 6 angepaßte Form (Fig. 3) aufweisen. Die Dicke der Arme 38, 39 ist zumindest in diesem Bereich kleiner als die Breite der Umfangsnut 8. Die beiden Arme 38, 39 sind an einem Ende durch einen zumindest teilweise elastisch verbiegbaren Steg 42 miteinander verbunden und am gegenüberliegenden, freien Ende mit Endabschnitten 43, 44 versehen, die im Normalzustand mit einem zur Einführung eines Werkzeugs, z.B. eines Schraubenziehers, geeigneten und bestimmten Abstand angeordnet sind, so daß das Spreizteil 37 insgesamt im wesentlichen U-förmig ausgebildet ist. Außerdem sind die einander gegenüberliegenden Flächen der Ausschnitte 40, 41 durch den Steg 42 normalerweise in einem Abstand zueinander gehalten, der kleiner als der Durchmesser des Lagerabschnitts 6 außerhalb des Bereichs der Umfgangsnut 8 ist. Im Bereich des Stegs 42 sind vorzugsweise eine der Montage dienende, ösenartige Ausnehmung 45 und ein nach außen abstehender Ansatz 46 vorgesehen. Wie insbesondere Fig. 2 und 4 zeigen, kann das Spreizteil 37 so in die Aussparung 35 des Unterteils 12 eingelegt werden, daß die Ausnehmung 45 von einem vom Boden 36 der Aussparung 35 aufragenden Vorsprung 47 durchragt wird und gleichzeitig der Ansatz 46 in einer Schlitzöffnung 48 zu liegen kommt, die in der die Aussparung 35 umgebenden Wand angeordnet ist. Dadurch ist das Spreizteil 37 weitgehend unverschiebbar und unverschwenkbar in der Aussparung 35 festlegbar. An seiner Oberseite schließt der Vorsprung 47 bündig mit der Vorderseite des Unterteils 12 ab, während die Dicke des Spreizteils 37 etwas kleiner als die Tiefe der Aussparung 35 ist.
  • Dort, wo bei dieser Anordnung die Endabschnitte 43, 44 der Arme 38, 39 des Spreizteils 37 zu liegen kommen, ist der Boden 36 der Aussparung 35 mit einer zusätzlichen Ausnehmung 49 (Fig. 1, 4, 7) versehen, die zur vorzugsweise schwenkbaren Aufnahme eines Sicherungselements 50 (Fig. 1, 2, 15 bis 17) dient. Die Ausnehmung 49 besitzt, wie insbesondere Fig. 1 und 7 zeigen, eine vom Durchgang 17 des Unterteils 12 an radial nach außen hin zunehmende Tiefe und damit einen schräg verlaufenden Boden 51, der in einem unmittelbar an den Durchgang 17 grenzenden Bereich außerdem eine zu dessen Achse parallele Nut 52 (Fig. 4 und 7) aufweist.
  • Das Sicherungselement 50 besteht vorzugsweise aus einen einstückig hergestellten Blechstanzteil und weist auf seiner Oberseite zwei Sperrnasen 53, 54 auf, die sich in einem Abstand gegenüberliegen, der im wesentlichen dem Abstand der Außenkanten der Endabschnitte 43, 44 des Spreizteils 37 in dessen Normalzustand entspricht (Fig. 21).
  • An seinem in der Ausnehmung 49 radial innen zu liegen kommenden Ende ist das Sicherungselement 50 mit einem um ca. 90° nach unten abgewinkelten Lappen 55 versehen, der so dimensioniert ist, daß er in die Nut 52 des Unterteils 12 paßt und radial schräg in den Durchgang 17 des Unterteils 12 ragt, wenn das Sicherungselemt 50 frei auf dem Boden 51 der Ausnehmung 49 aufliegt (Fig. 1). Schließlich ist das Sicherungselement 50 noch mit einem von seiner Oberseite aufragenden Ansatz 56 versehen, der den Endabschnitten 43, 44 des Spreizteils 37 zugeordnet ist und eine Breite besitzt, die etwas größer als der freie Zwischenraum zwischen diesen beiden Endabschnitten 43, 44 (Fig. 13) im Normalzustand des Spreizelements 37 ist.
  • Zur Betätigung des Spreizelements 37 von außen her dient ein im Oberteil 14 ausgebildetes Entriegelungsloch 57, das im Ausführungsbeispiel parallel, aber mit radialem Abstand zur Achse des Durchgangs 18 angeordnet ist und dessen Bedeutung weiter unten erläutert wird.
  • Die Montage und die Wirkungsweise des Spreizteils 37 und des Sicherungselements 50 werden nachfolgend insbesondere anhand der Fig. 1, 2 und 18 bis 21 näher erläutert, wobei klar ist, daß die Lagerungsanordnung im Ausführungsbeispiel genau diejenige Funktion besitzt, die bereits oben erläutert wurde, so daß insoweit auf eine nochmalige Erläuterung verzichtet werden kann.
  • Bei der Montage wird zunächst das Sicherungselement 50 auf dem Boden 51 der Ausnehmung 49 des Unterteils 12 so positioniert, daß der Lappen 55 im Bereich der Nut 52 angeordnet ist und etwas in den Querschnitt des Durchgangs 17 ragt (Fig. 1). Anschließend wird das Spreizteil 37 so in die Aussparung 35 gelegt (Fig. 2), daß sein Ansatz 46 in die Schlitzöffnung 48 eintritt, seine Ausnehmung 45 vom Vorsprung 47 durchragt wird und die beiden Endabschnitte 43, 44 der Arme 38, 39 auf dem Sicherungselement 50 zu liegen kommen. In dieser Lage nehmen die Endabschnitte 43, 44 die Position nach Fig. 13 ein, so daß sie sich mit ihren Innenkanten auf den Ansatz 56 des Sicherungselements auflegen und dadurch ein ungewünschtes Einfallen der Endabschnitte 43, 44 zwischen die Sperrnasen 53, 54 des Sicherungselements 50 verhindert wird. Anschließend wird das Oberteil 14 so auf das Unterteil 12 aufgelegt, daß seine Umfangswand 20 das Unterteil 12 klemmend umgreift und dessen Ansätze in die in ihr ausgebildeten Ausschnitte 21 eintreten. Dadurch sind einerseits auch die Schraublöcher 15, 16 aufeinander ausgerichtet, so daß die aus den Teilen 12, 14, 37 und 50 bestehende Baueinheit jetzt mittels der Befestigungselemente 31 (Fig. 2) an einer Tür oder dgl. befestigt werden kann. Anderseits liegt das Entriegelungsloch 57 (Fig. 18) oberhalb der Endabschnitte 43, 44 des Spreizteils 37, so daß deren relative Lage zueinander durch das Entriegelungsloch 57 hindurch erkennbar ist bzw. überprüft werden kann. Daher kann auch im montierten Zustand des Lagerteils 11 optisch bzw. visuell kontrolliert werden, ob die Teile 37 und 50 ihre für die gewünschte Funktion richtige Lage einnehmen. Abschließend wird die Abdeckkappe 24 aufgesetzt, wodurch die Rosette fertig montiert ist.
  • Sofort oder auch erst zu einem späteren Zeitpunkt wird die Handhabe 1 montiert. Hierzu wird diese in der aus Fig. 1 und 2 ersichtlichen Weise mit dem Lagerabschnitt 6 voraus in die koaxial aufeinander ausgerichteten Durchgänge 17, 18 eingeführt, wobei der Einführungsabschnitt 7 in den von den Ausschnitten 40 und 41 des Spreizteils 37 gebildeten Raum eintritt und beim weiteren Vorschieben des Lagerabschnitts 6 eine radiale und elastische Aufspreizung der Arme 38, 39 bewirkt. Die Arme 38, 39 laufen dann auf den Lagerabschnitt 6 auf (Fig. 2).
  • Beim weiteren axialen Vorschieben des Lagerabschnitts 6 gelangt dieser in den Bereich des Lappens 55 des Sicherungselements 50 (Fig. 18, 19) und schwenkt dieses um die radial innen liegende Kante des Bodens 51 der Ausnehmung 49 derart, daß der die Sperrnasen 53, 54 enthaltende Teil des Sicherungselements 50 nahezu parallel zum darüber liegenden Spreizteil 37 ausgerichtet wird (Fig. 18), aber trotzdem noch etwas elastisch nach oben vorgespannt ist. Wie Fig. 19 zeigt, legen sich dabei die Sperrnasen 53, 54 von unten gegen je einen zugehörigen Endabschnitt 43, 44.
  • Beim weiteren Vorschub des Lagerabschnitts 6 rasten schließlich die Arme 38, 39 im Bereich ihrer Ausschnitte 40, 41 elastisch in die Umfangsnut 8 ein (Fig. 20, 21), während gleichzeitig der die Sperrnasen 53, 54 enthaltende Abschnitt des Sicherungselements 50 (Fig. 18 und 20) noch um ein kleines Stück elastisch noch oben schwenkt. Dadurch tritt einerseits der Ansatz 56 zwischen die Endabschnitte 43 und 44, die im montierten Zustand durch den Boden der Umfangsnut 8 zweckmäßig in einer gegenüber Fig. 13 leicht gespreizten Stellung gehalten sind, während andererseits die Sperrnasen 53, 54 in eine Position gelangen, in der sie von außen dicht an den zugehörigen Endabschnitten 43, 44 des Spreizteils 37 anliegen und dadurch ein erneutes, jetzt ungewünschtes radiales Aufspreizen der Arme 38, 39 durch Formschluß verhindert ist. Da außerdem der Raum für das Spreizteil 37 zwischen der Rückseite des Oberteils 14 und dem Boden 36 der Aussparung 35 so eng bemessen werden kann, wie es für ein leichtgängiges Spreizen des Spreizteils 37 gerade ausreicht, kann auch auf einfache Weise verhindert werde, daß das Spreizteil 37 ungewollt durch axiale Verschiebung oder Verschwenkung aus der von den Sperrnasen 53, 54 gebildeten Sperrzone heraus bewegbar ist und die formschlüssige Verriegelung ungewollt aufgehoben wird.
  • Im übrigen ist jetzt der Lagerabschnitt 6 drehbar, aber axial im wesentlichen unverschiebbar im Lagerteil 11 gelagert.
  • Soll die auf die beschriebene Weise hergestellte Verbindung wieder gelöst werden, wird zunächst die Abdeckkappe 24 vom Lagerteil 11 getrennt und auf dem Halsabschnitt 3 der Handhabe 1 so weit zurückgezogen und ggf. gedreht, daß das Entriegelungsloch 57 freiliegt. Danach wird ein Werkzeug, z.B. ein Schraubenzieher mit breiter Klinge, ein aus Flacheisen hergestelltes Winkelelement oder dgl., in den jetzt sichtbaren Teil 58 (Fig. 21) des Zwischenraums zwischen den Endabschnitten 43, 44 eingeführt und zunächst axial gegen das Sicherungselement 50 gedrückt, um dessen die Sperrnasen 53, 54 enthaltenden Abschnitt relativ zum Lappen 55 elastisch zu verschwenken und tiefer in die Ausnehmung 49 zu drücken. Dadurch gelangen die Endabschnitte 43, 44 des Spreizteils 37 aus dem Wirkungsbereich der Sperrnasen 53, 54 und können daher jetzt z.B. durch Drehen des Werkzeugs in eine Stellung analog zu Fig. 2 bzw. 19 radial aufgespreizt werden, bis sie vollständig aus der Umfangsnut 8 des Lagerabschnitts 6 herausgetreten sind. Die Handhabe 1 kann nun aus den Durchgängen 17, 18 herausgezogen werden, wobei der Lappen 55 aufgrund der elastischen Vorspannung automatisch wieder in die aus Fig. 1 ersichtliche, in den Durchgang 17 ragende Position gelangt. Das Entriegelungsloch 57 ermöglicht daher einerseits eine visuelle Kontrolle der Funktion des Spreizteils 37 und Sicherungselements 50 und andererseits die Einführung eines Werkzeugs von außen her zur direkten Demontage der Handhabe 1 vom Lagerteil 11, ohne daß hierfür zusätzliche Spreizschieber oder dgl. benötigt werden.
  • Die Erfindung ist nicht auf das beschriebene Ausführungsbespiel beschränkt, das auf vielfache Weise abgewandelt werden kann. Beispielsweise ist es möglich, die Innen- und Außenwand der Lagernut 9 zylindrisch und statt dessen den Lagerkragen 19 konisch nach Art eines Hohlkegelstumpfs auszubilden. Weiter ist es möglich, das Unterteil 12 im axial oberen, von Lamellen 28 freien Bereich mit einer Querschnittserweiterung 59 (Fig. 8) zu versehen, um dadurch zu erreichen, daß der Lagerabschnitt 6 der Handhabe 1 im tolerierten Winkelbereich von z.B. 3° nur mit dem die Lamellen 27 enthaltenen Bereich wechselwirkt. Alternativ wäre es auch möglich, das Lagerteil 11 einstückig auszubilden, in dem z.B. der Lagerkragen 19 direkt an das Unterteil 12 angeformt und das Spreizteil 37 auf seiner Vorderseite von einer runden Scheibe oder der Abdeckkappe 24 in Position gehalten wird, wobei das Entriegelungsloch 57 entweder in der Scheibe oder auch in der Abdeckkappe 24 ausgebildet und ggf. mit einem Stopfen verschlossen werden könnte. Der Lagerkragen 19 könnte in diesem Fall mit Schlitzen oder Aussparungen versehen sein, durch die hindurch das Spreizteil 37 in die Umfangsnut 8 eintreten könnte. Weiter wäre es möglich, das Sicherungselement 50 ganz wegzulassen, falls eine zusätzliche Sicherung der durch elastische Kräfte herbeigeführten Lage der Arme des Spreizteils 37 im verriegelten Zustand (Fig. 21) nicht erwünscht oder erforderlich ist. Abgesehen davon versteht sich, daß die beschriebene Lagerung der Handhabe 1 in Kombination mit einer anderen als der beschriebenen axialen Verriegelung und umgekehrt die axiale Verriegelung in Kombination mit einer anderen als der beschriebenen, insbesondere auch einer undrehbaren Lagerung anwendbar ist und alle beschriebenen Teile anders als in den dargestellten Ausführungsbeispielen miteinander kombiniert werden können. Denkbar wäre auch, das Entriegelungsloch 57 abweichend von der Zeichnung nicht axial, sondern radial im Oberteil 14 und/oder Unterteil 12 auszubilden, sofern auch in diesem Fall eine einfache Spreizung des Spreizteils 37 mit einem entsprechenden Werkzeug möglich ist. Schließlich versteht sich, daß das Lagerteil 11 und die Abdeckung 24 statt kreisrund auch im wesentlichen rechteckig oder in einer anderen Form ausgebildet sein und ein Türschild statt einer Rosette bilden können.

Claims (19)

  1. Vorrichtung zur axial unverschieblichen, lösbaren Befestigung einer Handhabe (1) an einem Lagerteil (11), insbesondere für Türdrücker, Fenstergriffe oder dgl., wobei die Handhabe (1) einen Lagerabschnitt (6) mit einer Umfangsnut (8) und das Lagerteil (11) einen den Lagerabschnitt (6) zumindest teilweise aufnehmenden Durchgang (17, 18) und ein Entriegelungsloch (57) aufweist, wobei dem Lagerteil (11) ein Riegelelement zugeordnet ist, das als ein Spreizteil (37) mit zwei federnd aufspreizbaren Armen (38, 39) ausgebildet ist, die zur Befestigung der Handhabe (1) am Lagerteil (11) beim Anordnen des Lagerabschnitts (6) im Durchgang (17, 18) in die Umfangsnut (8) einschnappen und zur Demontage der Handhabe (1) vom Lagerteil (11) mittels eines in das Entriegelungloch (57) einführbaren Werkzeugs nach außen aus der Umfangsnut (8) entfernt werden können, dadurch gekennzeichnet, daß das Spreizteil (37) und das Entriegelungsloch (57) zur optischen Kontrolle der relativen Stellung der beiden Arme (38, 39) des Spreizteils (37) und zur unmittelbaren Aufspreizung der Arme (38, 39) mit dem Werkzeug ausgebildet und angeordnet sind.
  2. Vorrichtung nach Anspruch 1, dadurch gekennzeichnet, daß das Spreizteil (37) einstückig hergestellt ist.
  3. Vorrichtung nach Anspruch 2, dadurch gekennzeichnet, daß das Spreizteil (37) aus einem Blechstanzteil besteht.
  4. Vorrichtung nach einem der Ansprüche 1 bis 3, dadurch gekennzeichnet, daß das Lagerteil (11) zweiteilig ausgebildet ist und aus einem Unterteil (12) und einem Oberteil (14) besteht, und daß das Spreizteil (37) lose zwischen dem Unterteil (12) und dem Oberteil (14) angeordnet ist.
  5. Vorrichtung nach einem der Ansprüche 1 bis 4, dadurch gekennzeichnet, daß sich freie Endabschnitte (43, 44) der Arme (38, 39) des Spreizteils (37) in ihrem in die Umfangsnut (8) eingeschnappten Zustand mit Abstand gegenüberstehen.
  6. Vorrichtung nach einem der Ansprüche 1 bis 5, dadurch gekennzeichnet, daß dem Spreizteil (37) ein Sicherungselement (50) zugeordnet ist, das zwei Sperrnasen (53, 54) aufweist, die im in die Umfangsnut (8) eingeschnappten Zustand der Arme (38, 39) deren Aufspreizung durch Formschluß verhindern.
  7. Vorrichtung nach Anspruch 6, dadurch gekennzeichnet, daß das Sicherungselement (50) aus einem einstückig hergestellten Blechstanzteil besteht.
  8. Vorrichtung nach einem der Ansprüche 6 oder 7, dadurch gekennzeichnet, daß der Formschluß durch Anlage der Sperrnasen (53, 54) an den Außenseiten der Endabschnitte (43, 44) erzielt ist.
  9. Vorrichtung nach einem der Ansprüche 6 bis 8, dadurch gekennzeichnet, daß das Sicherungselement (50) derart schwenkbar im Lagerteil (11) angeordnet ist, daß der Formschluß durch Verschwenkung des Sicherungselements (50) mit dem Werkzeug lösbar ist.
  10. Vorrichtung nach Anspruch 9, dadurch gekennzeichnet, daß in der Oberseite des Lagerteils (11) eine zur Aufnahme des Spreizteils (37) bestimmte, einen Boden (36) aufweisende Aussparung (35) vorgesehen und in den Boden (36) eine zur Aufnahme und zur unterhalb des Spreizteils (37) erfolgenden Anordnung des Sicherungselements (50) bestimmte, eine Verschwenkung des Sicherungselements (50) ermöglichende Ausnehmung (49) eingearbeitet ist.
  11. Vorrichtung nach Anspruch 10, dadurch gekennzeichnet, daß die Ausnehmung (49) aufgrund einer vom Durchgang (17, 18) aus radial nach außen zunehmenden Tiefe mit einem schräg verlaufenden Boden (51) versehen ist und in einem an den Durchgang (17, 18) grenzenden Bereich eine zu dessen Achse parallele Nut (52) aufweist, und daß an das Sicherungselement (50) ein um ca. 90° abstehender, der Nut (52) zugeordneter Lappen (55) derart angeformt ist, daß das Sicherungselement (50) bei im Durchgang (17) befindlichem Lagerabschnitt (6) durch dessen radiale Einwirkung auf den Lappen (55) in einer ersten Schwenkstellung gehalten ist, in der die Sperrnasen (53, 54) das Aufspreizen der Arme (38, 39) des Spreizteils (37) verhindern, aber durch das Werkzeug in eine zweite Schwenklage innerhalb der Ausnehmung (49) schwenkbar in der die Sperrnasen (53, 54) außerhalb des Wirkungsbereichs der Arme (38, 39) angeordnet sind.
  12. Vorrichtung nach einem der Ansprüche 6 bis 11, dadurch gekennzeichnet, daß das Sicherungselement (50) mit einem den Armen (38, 39) des Spreizteils (37) zugeordneten Mittel (56) versehen ist, das bei nicht im Durchgang (17, 18) befindlichem Lagerabschnitt (6) ein ungewolltes Zustandekommen des Formschlußes verhindert.
  13. Vorrichtung nach einem der Ansprüche 1 bis 12, dadurch gekennzeichnet, daß das Lagerteil (11) zum Ausgleich geringfügiger Fertigungs- und/oder Montageungenauigkeiten bestimmte, durch elastisch nachgiebige Segmente der Umfangswand des Durchgangs (17, 18) gebildete Mittel sowie eine in einer Stirnfläche (5) eines Halsabschnitts (3) der Handhabe (1) ausgebildete Lagernut (9) und einen am Lagerteil (11) angebrachten, mit Spiel in die Lagernut (9) einführbaren Lagerkragen (19) enthält.
  14. Vorrichtung nach Anspruch 13, dadurch gekennzeichnet, daß die Lagernut (9) von einer kegelstumpfförmigen Innenwand (30) begrenzt ist.
  15. Vorrichtung nach Anspruch 13 oder 14, dadurch gekennzeichnet, daß der Lagerkragen (19) kegelstumpfförmig ausgebildet ist.
  16. Vorrichtung nach einem der Ansprüche 13 bis 15, dadurch gekennzeichnet, daß das Lagerteil (11) zweiteilig ausgebildet ist und ein den Durchgang (17) aufweisendes Unterteil (12) und ein den Lagerkragen (19) aufweisendes Oberteil (14) enthält, das einen vom Lagerkragen (19) umgebenen Durchgang (18) mit einem Durchmesser enthält, der geringfügig größer als der Durchmesser des Lagerabschnitts (6) der Handhabe (1) ist.
  17. Vorrichtung nach Anspruch 16, dadurch gekennzeichnet, daß das Unterteil (12) aus Kunststoff und das Oberteil (15) aus Stahl besteht.
  18. Vorrichtung nach einem der Ansprüche 13 bis 17, dadurch gekennzeichnet, daß das Lagerteil (11) eine in seine Unterseite eingearbeitete, über einen Teil seiner Dicke erstreckte, mit dem Durchgang (17) koaxiale Nut (25) aufweist, durch die ein Umfangswandabschnitt (26) mit verringerter Wandstärke entsteht, und das dieser Umfangswandabschnitt (26) durch Schlitze (27) in eine Mehrzahl von elastisch nachgiebigen, die Segmente bildenden Lamellen (28) unterteilt ist.
  19. Vorrichtung nach Anspruch 18, dadurch gekennzeichnet, daß in die Nut ein elastisch nachgiebiges Element (29), z.B. ein O-Ring, eingelegt ist, der die Lamellen (28) radial zum Durchgang (17,18) hin derart vorspannt, daß sie einen Abschnitt des Durchgangs (17) begrenzen, der einen kleineren Durchmesser als der Lagerabschnitt (6) der Handhabe (1) besitzt.
EP96111472A 1995-07-19 1996-07-17 Vorrichtung zur axial unverschieblichen, lösbaren Befestigung einer Handhabe an einem Lagerteil, insbesondere für Türdrücker, Fenstergriffe oder dgl. Expired - Lifetime EP0754827B1 (de)

Applications Claiming Priority (2)

Application Number Priority Date Filing Date Title
DE29511547U 1995-07-19
DE29511547U DE29511547U1 (de) 1995-07-19 1995-07-19 Vorrichtung zur axial unverschieblichen, lösbaren Befestigung einer Handhabe an einem Lagerteil, insbesondere für Türdrücker, Fenstergriffe o.dgl.

Publications (3)

Publication Number Publication Date
EP0754827A2 true EP0754827A2 (de) 1997-01-22
EP0754827A3 EP0754827A3 (de) 1998-04-01
EP0754827B1 EP0754827B1 (de) 2006-11-08

Family

ID=8010638

Family Applications (1)

Application Number Title Priority Date Filing Date
EP96111472A Expired - Lifetime EP0754827B1 (de) 1995-07-19 1996-07-17 Vorrichtung zur axial unverschieblichen, lösbaren Befestigung einer Handhabe an einem Lagerteil, insbesondere für Türdrücker, Fenstergriffe oder dgl.

Country Status (5)

Country Link
EP (1) EP0754827B1 (de)
AT (1) ATE344865T1 (de)
DE (2) DE29511547U1 (de)
DK (1) DK0754827T3 (de)
ES (1) ES2277337T3 (de)

Cited By (5)

* Cited by examiner, † Cited by third party
Publication number Priority date Publication date Assignee Title
EP1116838A1 (de) * 2000-01-17 2001-07-18 Hewi Heinrich Wilke Gmbh Schutzbeschlag
EP1460203A1 (de) * 2003-03-17 2004-09-22 Jado Ag Vorrichtung zur lösbaren, axialen Festlegung einer Handhabe an einem Lagerteil, zum Beispiel Türdrücker- oder Fenstergriffanordnung
WO2004090268A3 (en) * 2003-04-07 2004-12-16 Fix Ab Handle arrangement
GB2410765A (en) * 2004-02-09 2005-08-10 Middleton Colin Sidney Handle assembly with latching means to retain handle
EP1722113A3 (de) * 2003-03-07 2008-01-23 Zamet S.R.L. Sicherungsring und Mechanismus für Türgriffe mit einem solchen Sicherungsring

Families Citing this family (6)

* Cited by examiner, † Cited by third party
Publication number Priority date Publication date Assignee Title
DE19834691A1 (de) 1998-07-31 2000-02-03 Wilke Heinrich Hewi Gmbh Schließsystem
DE19939892A1 (de) 1999-08-23 2001-03-01 Wilke Heinrich Hewi Gmbh Adapterelement für Türen
IT1310070B1 (it) * 1999-10-21 2002-02-05 Zamet S R L Dispositivo di collegamento di una maniglia ad un'anta di unserramento e metodo per l'installazione di una maniglia attuabile con
EP1739631B1 (de) 2005-06-24 2012-10-24 Assa Abloy Ab Modularer elektromechanischer Schliesszylinder
DE102005057766B3 (de) * 2005-12-02 2007-07-05 Igor Vanjin Beschlag für Türen, Fenster oder dergleichen
DE202013102991U1 (de) 2013-07-08 2014-02-14 Erich Dieckmann Gmbh Griffgarnitur

Family Cites Families (8)

* Cited by examiner, † Cited by third party
Publication number Priority date Publication date Assignee Title
GB606209A (en) * 1946-01-10 1948-08-10 Herbert George Smith Improved means for attaching knobs or handle levers to roses or door plates
GB701879A (en) * 1952-03-05 1954-01-06 Lilly & Sons Ltd B Improvements relating to handle assemblies for doors
FR2317451A1 (fr) * 1975-07-09 1977-02-04 Ferco Int Usine Ferrures Poignee sur rosette pour fenetres, portes ou similaires
DE2735631B2 (de) * 1977-08-06 1980-11-13 Wilh. Engstfeld Gmbh U. Co Kg, 5628 Heiligenhaus Rast- und Rückstellvorrichtung
DE3032375A1 (de) * 1980-08-28 1982-09-30 Gebrüder Goldschmidt Baubeschläge GmbH, 5628 Heiligenhaus Beschlag, insbesondere fuer fenster
DE3604115C2 (de) * 1985-03-01 1994-06-23 Rudolf Wilke Türdrückeranordnung
DE8809585U1 (de) * 1988-07-27 1988-12-01 Gebrüder Goldschmidt Baubeschläge GmbH, 5628 Heiligenhaus Beschlag für Fenster oder Türen
DE8908282U1 (de) * 1989-07-07 1990-05-03 Hoppe Gmbh & Co Kg, 3570 Stadtallendorf Drehhandhabe

Cited By (6)

* Cited by examiner, † Cited by third party
Publication number Priority date Publication date Assignee Title
EP1116838A1 (de) * 2000-01-17 2001-07-18 Hewi Heinrich Wilke Gmbh Schutzbeschlag
EP1722113A3 (de) * 2003-03-07 2008-01-23 Zamet S.R.L. Sicherungsring und Mechanismus für Türgriffe mit einem solchen Sicherungsring
EP1460203A1 (de) * 2003-03-17 2004-09-22 Jado Ag Vorrichtung zur lösbaren, axialen Festlegung einer Handhabe an einem Lagerteil, zum Beispiel Türdrücker- oder Fenstergriffanordnung
WO2004090268A3 (en) * 2003-04-07 2004-12-16 Fix Ab Handle arrangement
GB2410765A (en) * 2004-02-09 2005-08-10 Middleton Colin Sidney Handle assembly with latching means to retain handle
GB2410765B (en) * 2004-02-09 2005-12-21 Middleton Colin Sidney Improvements in door furniture

Also Published As

Publication number Publication date
DE29511547U1 (de) 1996-11-21
EP0754827B1 (de) 2006-11-08
ES2277337T3 (es) 2007-07-01
DE59611399D1 (de) 2006-12-21
ATE344865T1 (de) 2006-11-15
DK0754827T3 (da) 2007-03-19
EP0754827A3 (de) 1998-04-01

Similar Documents

Publication Publication Date Title
DE60100608T2 (de) Wasserdichte Halteöse
DE19521744C2 (de) Befestigungsanordnung mit Schraube für hohes Drehmoment und Durchführung
AT404858B (de) Als scharniertopf ausgebildeter tür-anschlagteil für möbelscharniere
EP0231440B1 (de) Sonnenblende für Fahrzeuge
DE19728641A1 (de) Positionsscharnier für Türen
EP3276186A1 (de) Drehverschluss
EP0840336B1 (de) Selbstjustierender Stösselschalter, insbesondere KFZ-Bremslichtschalter
DE9311243U1 (de) Drehverschluß
EP0754827B1 (de) Vorrichtung zur axial unverschieblichen, lösbaren Befestigung einer Handhabe an einem Lagerteil, insbesondere für Türdrücker, Fenstergriffe oder dgl.
DE4006707C2 (de) Vorreiberverschluß
EP0601446A1 (de) Sicherungseinrichtung für eine Entwässerungseinrichtung
DE29923492U1 (de) Scharnier
EP1132560B1 (de) Scharnier, sowie Verfahren zur Höhenverstellung eines Scharniers
EP0340456B1 (de) Scherenlager eines Dreh-Kipp-Beschlags
DE10037550A1 (de) Kabelanschlussvorrichtung
EP0754826A2 (de) Handhabenlagerungsanordung für Türdrücker od. dgl.
EP0791759A1 (de) Schnellverschluss
EP0837252B1 (de) Befestigungselement
EP3363969A1 (de) Betätigungshandhabe
DE102017109483A1 (de) Drehverschluss
DE3143638A1 (de) Schliesszylinder
DE9002502U1 (de) Vorreiberverschluß
EP0258639B1 (de) Bremsvorrichtung für einen Flügel eines Fensters, einer Tür od. dgl.
EP0809339B1 (de) Elektrisches Installationsgerät
EP1213495A2 (de) Halte-Blattfeder-Anordnung und Verbindungsanordnung zum lösbaren Verbinden zweier Bauteile

Legal Events

Date Code Title Description
PUAI Public reference made under article 153(3) epc to a published international application that has entered the european phase

Free format text: ORIGINAL CODE: 0009012

AK Designated contracting states

Kind code of ref document: A2

Designated state(s): AT BE CH DE DK ES FR GB IT LI LU NL SE

PUAL Search report despatched

Free format text: ORIGINAL CODE: 0009013

AK Designated contracting states

Kind code of ref document: A3

Designated state(s): AT BE CH DE DK ES FR GB IT LI LU NL SE

17P Request for examination filed

Effective date: 19980921

17Q First examination report despatched

Effective date: 20030804

RTI1 Title (correction)

Free format text: DEVICE FOR RELEASABLE AND NON-SLIDING MOUNTING OF A HANDLE ON A BEARING ELEMENT, ESPECIALLY FOR DOOR HANDLES OR WINDOW HANDLES

GRAP Despatch of communication of intention to grant a patent

Free format text: ORIGINAL CODE: EPIDOSNIGR1

GRAS Grant fee paid

Free format text: ORIGINAL CODE: EPIDOSNIGR3

GRAA (expected) grant

Free format text: ORIGINAL CODE: 0009210

AK Designated contracting states

Kind code of ref document: B1

Designated state(s): AT BE CH DE DK ES FR GB IT LI LU NL SE

REG Reference to a national code

Ref country code: GB

Ref legal event code: FG4D

Free format text: NOT ENGLISH

REG Reference to a national code

Ref country code: CH

Ref legal event code: EP

REF Corresponds to:

Ref document number: 59611399

Country of ref document: DE

Date of ref document: 20061221

Kind code of ref document: P

REG Reference to a national code

Ref country code: CH

Ref legal event code: NV

Representative=s name: E. BLUM & CO. PATENTANWAELTE

REG Reference to a national code

Ref country code: SE

Ref legal event code: TRGR

GBT Gb: translation of ep patent filed (gb section 77(6)(a)/1977)

Effective date: 20070201

REG Reference to a national code

Ref country code: DK

Ref legal event code: T3

ET Fr: translation filed
REG Reference to a national code

Ref country code: ES

Ref legal event code: FG2A

Ref document number: 2277337

Country of ref document: ES

Kind code of ref document: T3

PLBE No opposition filed within time limit

Free format text: ORIGINAL CODE: 0009261

STAA Information on the status of an ep patent application or granted ep patent

Free format text: STATUS: NO OPPOSITION FILED WITHIN TIME LIMIT

REG Reference to a national code

Ref country code: CH

Ref legal event code: PFA

Owner name: HEWI HEINRICH WILKE GMBH

Free format text: HEWI HEINRICH WILKE GMBH#PROF.-BIER-STRASSE 1-5#34454 BAD AROLSEN (DE) -TRANSFER TO- HEWI HEINRICH WILKE GMBH#PROF.-BIER-STRASSE 1-5#34454 BAD AROLSEN (DE)

26N No opposition filed

Effective date: 20070809

PGFP Annual fee paid to national office [announced via postgrant information from national office to epo]

Ref country code: ES

Payment date: 20080821

Year of fee payment: 13

Ref country code: DK

Payment date: 20080721

Year of fee payment: 13

PGFP Annual fee paid to national office [announced via postgrant information from national office to epo]

Ref country code: IT

Payment date: 20080728

Year of fee payment: 13

PGFP Annual fee paid to national office [announced via postgrant information from national office to epo]

Ref country code: GB

Payment date: 20080723

Year of fee payment: 13

PGFP Annual fee paid to national office [announced via postgrant information from national office to epo]

Ref country code: SE

Payment date: 20080709

Year of fee payment: 13

PGFP Annual fee paid to national office [announced via postgrant information from national office to epo]

Ref country code: FR

Payment date: 20090722

Year of fee payment: 14

PGFP Annual fee paid to national office [announced via postgrant information from national office to epo]

Ref country code: NL

Payment date: 20090726

Year of fee payment: 14

Ref country code: LU

Payment date: 20090728

Year of fee payment: 14

Ref country code: DE

Payment date: 20090903

Year of fee payment: 14

Ref country code: CH

Payment date: 20090727

Year of fee payment: 14

Ref country code: AT

Payment date: 20090729

Year of fee payment: 14

PGFP Annual fee paid to national office [announced via postgrant information from national office to epo]

Ref country code: BE

Payment date: 20090729

Year of fee payment: 14

REG Reference to a national code

Ref country code: DK

Ref legal event code: EBP

EUG Se: european patent has lapsed
GBPC Gb: european patent ceased through non-payment of renewal fee

Effective date: 20090717

PG25 Lapsed in a contracting state [announced via postgrant information from national office to epo]

Ref country code: GB

Free format text: LAPSE BECAUSE OF NON-PAYMENT OF DUE FEES

Effective date: 20090717

PG25 Lapsed in a contracting state [announced via postgrant information from national office to epo]

Ref country code: DK

Free format text: LAPSE BECAUSE OF NON-PAYMENT OF DUE FEES

Effective date: 20090731

REG Reference to a national code

Ref country code: ES

Ref legal event code: FD2A

Effective date: 20090718

PG25 Lapsed in a contracting state [announced via postgrant information from national office to epo]

Ref country code: ES

Free format text: LAPSE BECAUSE OF NON-PAYMENT OF DUE FEES

Effective date: 20090718

BERE Be: lapsed

Owner name: HEWI HEINRICH WILKE G.M.B.H.

Effective date: 20100731

REG Reference to a national code

Ref country code: NL

Ref legal event code: V1

Effective date: 20110201

REG Reference to a national code

Ref country code: CH

Ref legal event code: PL

PG25 Lapsed in a contracting state [announced via postgrant information from national office to epo]

Ref country code: IT

Free format text: LAPSE BECAUSE OF NON-PAYMENT OF DUE FEES

Effective date: 20090717

REG Reference to a national code

Ref country code: FR

Ref legal event code: ST

Effective date: 20110331

PG25 Lapsed in a contracting state [announced via postgrant information from national office to epo]

Ref country code: LI

Free format text: LAPSE BECAUSE OF NON-PAYMENT OF DUE FEES

Effective date: 20100731

Ref country code: DE

Free format text: LAPSE BECAUSE OF NON-PAYMENT OF DUE FEES

Effective date: 20110201

Ref country code: CH

Free format text: LAPSE BECAUSE OF NON-PAYMENT OF DUE FEES

Effective date: 20100731

REG Reference to a national code

Ref country code: DE

Ref legal event code: R119

Ref document number: 59611399

Country of ref document: DE

Effective date: 20110201

PG25 Lapsed in a contracting state [announced via postgrant information from national office to epo]

Ref country code: FR

Free format text: LAPSE BECAUSE OF NON-PAYMENT OF DUE FEES

Effective date: 20100802

Ref country code: SE

Free format text: LAPSE BECAUSE OF NON-PAYMENT OF DUE FEES

Effective date: 20090718

Ref country code: AT

Free format text: LAPSE BECAUSE OF NON-PAYMENT OF DUE FEES

Effective date: 20100717

Ref country code: NL

Free format text: LAPSE BECAUSE OF NON-PAYMENT OF DUE FEES

Effective date: 20110201

PG25 Lapsed in a contracting state [announced via postgrant information from national office to epo]

Ref country code: BE

Free format text: LAPSE BECAUSE OF NON-PAYMENT OF DUE FEES

Effective date: 20100731

PG25 Lapsed in a contracting state [announced via postgrant information from national office to epo]

Ref country code: LU

Free format text: LAPSE BECAUSE OF NON-PAYMENT OF DUE FEES

Effective date: 20100717