EP0742853B1 - Bügelmaschine mit spann- und streckvorrichtung - Google Patents

Bügelmaschine mit spann- und streckvorrichtung Download PDF

Info

Publication number
EP0742853B1
EP0742853B1 EP95911251A EP95911251A EP0742853B1 EP 0742853 B1 EP0742853 B1 EP 0742853B1 EP 95911251 A EP95911251 A EP 95911251A EP 95911251 A EP95911251 A EP 95911251A EP 0742853 B1 EP0742853 B1 EP 0742853B1
Authority
EP
European Patent Office
Prior art keywords
ironing
tensioning
machine according
ironing machine
struts
Prior art date
Legal status (The legal status is an assumption and is not a legal conclusion. Google has not performed a legal analysis and makes no representation as to the accuracy of the status listed.)
Expired - Lifetime
Application number
EP95911251A
Other languages
English (en)
French (fr)
Other versions
EP0742853A1 (de
Inventor
Harald Engel
Current Assignee (The listed assignees may be inaccurate. Google has not performed a legal analysis and makes no representation or warranty as to the accuracy of the list.)
Individual
Original Assignee
Individual
Priority date (The priority date is an assumption and is not a legal conclusion. Google has not performed a legal analysis and makes no representation as to the accuracy of the date listed.)
Filing date
Publication date
Application filed by Individual filed Critical Individual
Publication of EP0742853A1 publication Critical patent/EP0742853A1/de
Application granted granted Critical
Publication of EP0742853B1 publication Critical patent/EP0742853B1/de
Anticipated expiration legal-status Critical
Expired - Lifetime legal-status Critical Current

Links

Images

Classifications

    • DTEXTILES; PAPER
    • D06TREATMENT OF TEXTILES OR THE LIKE; LAUNDERING; FLEXIBLE MATERIALS NOT OTHERWISE PROVIDED FOR
    • D06FLAUNDERING, DRYING, IRONING, PRESSING OR FOLDING TEXTILE ARTICLES
    • D06F71/00Apparatus for hot-pressing clothes, linen or other textile articles, i.e. wherein there is substantially no relative movement between pressing element and article while pressure is being applied to the article; Similar machines for cold-pressing clothes, linen or other textile articles
    • D06F71/18Apparatus for hot-pressing clothes, linen or other textile articles, i.e. wherein there is substantially no relative movement between pressing element and article while pressure is being applied to the article; Similar machines for cold-pressing clothes, linen or other textile articles specially adapted for pressing particular garments or parts thereof
    • D06F71/28Apparatus for hot-pressing clothes, linen or other textile articles, i.e. wherein there is substantially no relative movement between pressing element and article while pressure is being applied to the article; Similar machines for cold-pressing clothes, linen or other textile articles specially adapted for pressing particular garments or parts thereof for pressing sleeves, trousers, or other tubular garments or tubular parts of garments
    • D06F71/29Trousers

Definitions

  • the invention relates to an ironing machine according to the preamble of the claim 1, each with one or more upper and lower forms, the are arranged to be pressed against each other and on their facing each other Sides have an ironing surface, at least one, preferably each of the upper and lower forms at least two to the ironing surface Movable clamping bars with an elastic in between stretchable cover are assigned.
  • Such an ironing machine is known from EP-0 253 048.
  • the one described there Ironing machine has an upper plate and a lower plate, that are on top of each other and perpendicular to each other, i.e. towards each other are movable.
  • the top plate and the bottom plate are each one with associated with a stretchable cover provided stenter.
  • stenter frames are roughly stretched at the height of the ironing surface, due to the side surfaces facing each other is formed by the top and bottom plate.
  • everyone is the Tensioning frame, between which the ironing material, for example a Pants, lies. movably guided on a vertical guide.
  • the ironing process is carried out in the following way: A pair of pants is placed on the cover frame of the lower plate. Then it will be the tensioning frame of the top plate is guided onto the pants so that they are between the elastic covers of the lower and the upper clamping frame. This is followed by an adjustment of the two clamping frames the vertical guides downwards, whereby the covers are stretched and with their edge areas over the edges of the lower plate slide down. You are practicing from the center of the base plate in the the trouser seams are in the direction of the crease pull the pants out towards them so that they are held tight becomes. Now the top plate is lowered onto the bottom plate and presses the stretched pants. The opening takes place after the ironing process the press plates, i.e. The top plate will be in its starting position Move the retracting stenter upwards and possibly swung away, whereupon from the reference also in its starting position the back frame of the lower plate moves the pants is removable.
  • the invention has for its object to provide an ironing machine where the items to be ironed can be stretched flat before ironing and a pile of fabric - Even with multilayered ironing goods - is avoided.
  • the elastic cover is no longer in a rigid, only vertical Movable stretcher is attached, it is possible to pull on the ironing goods, e.g. on pants, the respective circumstances adapt. In the prior art, this was not possible because here the Pull from the center of the ironing boards towards the edges, i.e. in the direction of the downward moving stenter was limited.
  • the tension bars on the side facing the knee of the pants at height the ironing surface are held while the clamping bars on the Back of the knee facing side. This will the pants stretched from the knee towards the back of the knee and the knee lining in Pulled towards the back of the knee. An accumulation of knee lining in the area this will fix the knee, causing a clean crease can be obtained.
  • an upper and a sub-mold each one between two Spanholmen existing, elastically stretchable cover is assigned, wherein the two clamping bars on one side of the upper and lower mold their respective drive device regardless of the two Clamping spars can be moved on the other side of the upper and lower mold are.
  • This embodiment of the ironing machine is inexpensive to manufacture and meets most requirements.
  • the clamping bars are preferably parallel to one another and also parallel arranged to the associated edges of the ironing surface. So they can elastic covers pulled evenly over the edges of the ironing surface will.
  • the ironing machine is a Control electronics controllable. This relieves the user of the task coordinate the movement of the tenter frames and the ironing plates, causing incorrect operation of the machine and resulting damage machine and items to be ironed are avoided.
  • the elastically stretchable cover is a stretch cord is.
  • This stretch cord has the necessary stretch properties on and is also heat-resistant, so that even with a high number of pieces has a long service life.
  • the Clamping system has two each between the upper and lower mold two sheets of existing sheet metal pairs, one sheet pair each by moving the two sheets apart in a transverse direction Trouser cover stretches, and the two pairs of sheets in a longitudinal direction are movable away from each other.
  • the pants are through one Slit inserted in the bottom mold and the pants envelopes through each a pair of sheets stretched. After moving the sheet metal pairs apart in the longitudinal direction of the lower form, the pants are already largely flat the elastic cover of the lower mold and can then by means of the elastic Covers can be stretched further in the transverse direction.
  • the drive devices are pneumatic piston-cylinder units are and that a control circuit is provided for Connect the piston-cylinder units with a compressed air supply or Vents.
  • the piston-cylinder units of the lower ones Drive devices belonging to the spar can have a valve arrangement with the compressed air supply or the ventilation openings be connected.
  • the valve arrangement for each of the lower spars belonging drive devices each have a check valve and one connected in parallel, one of the existence of a photoelectric barrier indicating a controlled goods solenoid valve.
  • the solenoid valves are in the blocking position when the light barrier does Indicates the presence of items to be ironed.
  • This embodiment enables that after the ironing process Upper form together with the upper stretchable cover from the ironing surface and is lifted from the ironing while the ironing continues remains on the stretched lower stretchable cover. Thereby wrinkles and wrinkles can be avoided. Only after removal of the ironing material from the ironing machine can be the lower stretchable cover relaxed by upward movement of the lower drive devices will.
  • FIG. 1 is a schematic perspective view of an ironing machine according to FIG the invention.
  • the ironing machine has an upper shape or top plate 1 and a lower mold or lower plate 2 and an upper one stretchable cover 3 and a lower stretchable cover 4.
  • the top plate 1 has an ironing surface on its underside which corresponds to a corresponding one
  • the ironing surface on the top of the lower plate 2 faces stretchable cover 3 is an upper front spar 5 and one upper rear spar 6 worn. Accordingly, the lower one stretchable cover 4 of a lower front spar 7 and one lower rear spar 8 worn.
  • the clamping bars 5,6,7,8 are made in a simple manner from a tube material, for example made of light metal, producible and each vertically movable and are each driven by their own drive devices 9, 10, 11, 12. Hydraulic are preferably suitable as the drive device or pneumatic actuators, e.g. Cylinder-piston units. Likewise Electric drives with vertical movement are conceivable is realized for example by spindle gear.
  • Fig. 1 schematically shown - a piece of iron 13, for example pants, inserted.
  • This in 1 recognizable ironing material 13 consequently corresponds to a trouser leg, which by sheets 14 and 15 parallel to the top and bottom plates is excited.
  • the sheets 14 produce with their narrow end faces and 15 in the trouser leg 13 a fracture, on which later after ironing a crease arises.
  • the clamping bars are in an initial position of the ironing machine 5 and 6 and thus also the upper stretchable cover 3 approximately at the level of Ironing surface of the top plate 1.
  • the clamping bars 7 and 8 are located with the lower one stretchable cover 4 at the level of the ironing surface of the lower plate 2.
  • the top plate 1 is not in the starting position Lower plate 2, but is by means of a rotary guide, not shown swung away to the side. Only after placing the ironing material 13 is the Upper plate 1 pivoted over the lower plate 2 and can then be vertical be moved onto the lower plate 2.
  • the ironing material 13 is first on the lower stretchable cover 4 and thus placed on the ironing surface of the lower plate 2. Then will the upper stretchable cover 3 so far by means of the drive devices 9 and 10 and the clamping bars 5 and 6 moved vertically downwards until it touches the ironing material 13. Then the upper front spar 5 and the lower front clamping bar 7 by means of the drive devices 9 and 12 continued to move vertically downward, making the stretchable Covers 3 and 4 are stretched and the ironing material in between 13 is smoothed. Thereafter, the top plate 1 can not by means of a shown drive device are moved vertically downwards, until finally the ironing material 13 by means of pressure, heat and / or moisture is pressed.
  • a one-sided Train to exert ironing 13, for example, multi-layer Items to be ironed, e.g. one made of an outer fabric and a knee lining existing pants can be pulled smoothly in the desired manner.
  • FIGS 2a, 2b and 2c show schematic side views as through different movement of the clamping bars 5,6,7,8 different Drafts can be exerted on the ironing material 13.
  • Fig. 2a shows the principle described above, in which the front clamping bars 5.7 vertically and to a location below the ironing surface of the lower plate 2 are guided, while the rear spars 6,8 approximately be held at the height of the lower plate 2.
  • the course of the stretchy References 3 and 4 can also be seen in Fig. 2a.
  • the pulling action on the ironing 13 takes place in this arrangement to the right, as by an arrow P1 is shown.
  • the ironing material 13 is a pair of trousers, and the trousers are open the lower stretchable cover 4 rests that the knee area to the left in 2a shows, the pants are tightened in the direction of arrow P1 to the right.
  • the subsequent ironing process can therefore be a clean one Crease without thickening due to the knee lining in the knee area be generated.
  • Fig. 2b shows schematically an inverted arrangement in which the front Tension bars 5.7 held at the level of the ironing surface of the lower plate 2 while the rear spars 6,8 continue vertically down can be moved by means of the drive devices 10 and 11. Thereby there is a pulling effect to the left in the direction of arrow P2.
  • FIG. 2c schematically shows the prior art, in which all clamping bars 5,6,7,8 are moved downwards, whereby one of train going left and right in the middle of the ironing surface Direction of arrows P3 and P4.
  • FIG. 3a to 3c schematically show the method already described above for ironing with the ironing machine according to the invention.
  • the top plate 1 is with the top stretchable cover 3 in a pivoted position, so that the lower plate 2nd to put on the pants 13 is easily accessible.
  • top plate 1 is pivoted over the bottom plate 2 Span 5 and 6 by means of the drive devices 9 and 10 vertically moved down until the upper stretchable cover 3 touches the ironing 13 and then the front spars 5 and 7 over the front Edge of the lower plate 2 moves further down, so that the ironing material below unilateral tensile effect is stretched smooth (Fig. 3b).
  • FIG. 4a shows a schematic side view
  • FIG. 4b shows a schematic top view of part of a particularly advantageous embodiment of the ironing machine.
  • the lower plate 2 has a slot 16 through which the pants 13 are inserted so that the waistband in the slot 16 hangs down.
  • Two trouser legs 13a and 13b are each stretched in the transverse direction by moving the sheets 14 and 15 apart and then smoothed in the longitudinal direction by moving the pairs of sheets 14, 15 between the elastically stretchable covers 3, 4. This procedure is common in double leg ironing machines and results in pants lying largely flat on the lower plate.
  • a light barrier 17 it may be necessary for a light barrier 17 to indicate the presence of the trousers 13. The further tensioning and ironing processes take place in the manner described above.
  • the clamping bars 5,6,7,8 are not only vertical but can also be moved horizontally to the ironing surface. Also in this embodiment can thus obtain a desired tensile effect on the ironing material 13 However, there is a larger installation space for the movement of the clamping bars 5,6,7,8 required.
  • control of the drive devices 9, 10, 11, 12, i.e. the control and the coordination of the pneumatic or hydraulic cylinders or the electric motors, is carried out by means of suitable control circuits, as they are commonly used.
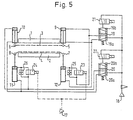
  • FIG. 5 schematically shows an example of a circuit for a pneumatic system for driving the tensioning device.
  • a printing unit 18 supplies the entire system with constant air pressure.
  • Via two 5/2-way valves 19, 20 can each drive devices 9, 10, 11, 12 Clamping bars 5,6,7,8 can be controlled.
  • the 5/2-way valves are 19.20 each actuated by a solenoid valve 21, 22, the solenoid valves 21,22 electrically switched into a blocking and a passage position can be operated, whereby the 5/2-way valves 19, 20 against spring force will.
  • the upper chambers of cylinders 9 and 10 are via the 5/2-way valves 19 and 20 each vented.
  • solenoid valves 23 and 24 are over the light barrier 17 operated, as will be explained later. They are parallel to the check valves 25,26 switched.
  • the drive devices 9 and 12 are supplied with compressed air and the pistons pressed down accordingly.
  • the compressed air supply to the upper one Chamber of the drive device 12 takes place via the check valve 25, because the solenoid valve 23 is already based on the signal from the light barrier 17 was closed.
  • the stretchable covers 3 and 4 are over the Draw the edge of the lower plate 2 and tension it - as already described several times - The intermediate pants 13, so that the Upper plate 1 can iron the pants 13.
  • the top plate 1 is raised again and also the solenoid valve 21 returns to its original position, so that the 5/2-way valve 19 comes into position 19a by means of spring force.
  • the Solenoid valve 23 is still kept closed, which leads to the fact that only the upper chamber in the cylinder of the drive device 9, but not in the cylinder of the drive device 12 is vented.
  • the upper chamber in the cylinder of the drive device 12 can not be vented because on the one hand the solenoid valve 23 is closed and on the other hand the check valve 25 blocks in venting direction. As a result, only that rises upper front spar 5 and detaches from the pants 13, while the lower front clamping bar 7 remains in the cocked position.

Landscapes

  • Engineering & Computer Science (AREA)
  • Textile Engineering (AREA)
  • Treatment Of Fiber Materials (AREA)
  • Treatment And Processing Of Natural Fur Or Leather (AREA)
  • Irons (AREA)

Description

Die Erfindung betrifft eine Bügelmaschine gemäß dem Oberbegriff des Patentanspruchs 1, mit je einer oder mehreren Ober- und Unterformen, die gegeneinander preßbar angeordnet sind und an ihren einander zugekehrten Seiten eine Bügelfläche aufweisen, wobei mindestens einer, vorzugsweise jeder der Ober- und Unterformen mindestens zwei zur Bügelfläche bewegbare Spannholme mit einem dazwischen angebrachten, elastisch dehnbaren Bezug zugeordnet sind.
Eine derartige Bügelmaschine ist aus EP-0 253 048 bekannt. Die dort beschriebene Bügelmaschine weist eine Oberplatte und eine Unterplatte auf, die übereinanderstehen und senkrecht zueinander, d.h. aufeinander zu bewegbar sind. Der Oberplatte und der Unterplatte ist jeweils ein mit einem dehnbaren Bezug versehener Spannrahmen zugeordnet. Die beiden Spannrahmen liegen vor Beginn des Bügelns mit ungedehntem Bezug etwa in Höhe der Bügelfläche, die durch die einander zugekehrten Seitenflächen von Ober- und Unterplatte gebildet ist. Darüber hinaus ist jeder der Spannrahmen, zwischen deren Bezügen das Bügelgut, beispielsweise eine Hose, liegt. an einer Vertikalführung beweglich geführt.
Der Bügelvorgang wird in folgender Weise durchgeführt: Eine Hose wird auf den Bezug des Spannrahmens der Unterplatte aufgelegt. Dann wird der Spannrahmen der Oberplatte auf die Hose geführt, so daß sie zwischen den elastischen Bezügen des unteren und des oberen Spannrahmens liegt. Hierauf erfolgt gleichzeitig eine Verstellung der beiden Spannrahmen an den Vertikalführungen nach unten, wodurch die Bezüge gedehnt werden und mit ihren Randbereichen über die Ränder der Unterplatte hinweg nach unten gleiten. Sie üben somit von der Mitte der Unterplatte, in der sich die Hosennähte befinden, ausgehend in Richtung auf die Bügelfalten der Hose hin einen Zug auf diese aus, so daß sie eben gespannt gehalten wird. Nun wird die Oberplatte auf die Unterplatte abgesenkt und preßt dabei die gestreckt gehaltene Hose. Nach dem Bügelvorgang erfolgt das Öffnen der Preßplatten, d.h. die Oberplatte wird samt ihrem sich in die Ausgangsstellung zurückbewegenden Spannrahmen nach oben verfahren und evtl. weggeschwenkt, worauf vom Bezug des ebenfalls in seine Ausgangsstellung zurückbewegten Spannrahmens der Unterplatte die Hose abnehmbar ist.
In der Praxis hat sich die Anwendung dieser Bügelmaschine bestens bewährt, weil durch das ebene Spannen, d.h. zweiseitiges Ziehen des Bügelguts, ein völliges Flachliegen des Bügelguts möglich ist, wodurch die Bügelqualität erheblich gesteigert werden kann. Beim Bügeln von Hosen tritt jedoch häufig das Problem auf, daß in den Hosenbeinen überlange Kniefutter vorhanden sind. Beim Spannen der Hosen mittels der elastisch dehnbaren Bezüge wird das Kniefutter in den Kniebereich der Hose gezogen, so daß am Hosenknie Verdickungen entstehen, die nach dem Bügeln der Bügelfalte deutlich hervortreten und den optischen Gesamteindruck der Hose erheblich beeinträchtigen.
Der Erfindung liegt die Aufgabe zugrunde, eine Bügelmaschine anzugeben, bei der Bügelgut vor dem Bügeln flach spannbar ist und eine Stoffanhäufung - auch bei mehrschichtigem Bügelgut - vermieden wird.
Die grundsätzliche Lösung der gestellten Aufgabe ist im Patentanspruch 1 angegeben. Vorteilhafte Ausgestaltungen der Erfindung sind den abhängigen Patentansprüchen zu entnehmen.
Eine Bügelmaschine mit je einer oder mehreren Ober- und Unterformen, die gegeneinander preßbar angeordnet sind und an ihren einander zugekehrten Seiten eine Bügelfläche aufweisen, wobei mindestens einer, vorzugsweise jeder der Ober- und Unterformen mindestens zwei senkrecht zur Bügelfläche bewegbare Spannholme mit einem dazwischen angebrachten elastisch dehnbaren Bezug angeordnet sind, zeichnet sich dadurch aus, daß jeder Spannholm jeweils eine eigene Antriebseinrichtung aufweist und unabhängig von dem oder den anderen Spannholm(en) bewegbar ist.
Dadurch, daß der elastische Bezug nicht mehr in einem starren, nur vertikal beweglichen Spannrahmen befestigt ist, ist es möglich, die Zugwirkung auf das Bügelgut, z.B. auf eine Hose, den jeweiligen Gegebenheiten anzupassen. Beim Stand der Technik war dies nicht möglich, da hier der Zug von der Mitte der Bügelplatten in Richtung der Kanten, d.h. in Richtung des sich nach unten bewegenden Spannrahmens beschränkt war. Bei der erfindungsgemäßen Bügelmaschine können dagegen beispielsweise die Spannholme auf der dem Knie der Hose zugewandten Seite auf Höhe der Bügelfläche gehalten werden, während die Spannholme auf der der Kniekehle zugewandten Seite nach unten geführt werden. Dadurch wird die Hose vom Knie in Richtung Kniekehle gestreckt und das Kniefutter in Richtung der Kniekehle gezogen. Eine Anhäufung von Kniefutter im Bereich des Knies wird dadurch behoben, wodurch nach dem Bügeln eine saubere Bügelfalte erhalten werden kann.
Bei einer bevorzugten Ausführungsform der Erfindung sind je eine Ober- und eine Unterform vorhanden, denen jeweils ein zwischen jeweils zwei Spanholmen vorhandener, elastisch dehnbarer Bezug zugeordnet ist, wobei die beiden Spannholme auf einer Seite von Ober- und Unterform mittels ihrer jeweiligen Antriebseinrichtung unabhängig von den beiden Spannholmen auf der anderen Seite von Ober- und Unterform bewegbar sind. Diese Ausführungsform der Bügelmaschine ist preiswert herzustellen und genügt den meisten Anforderungen.
Vorzugsweise sind die Spannholme parallel zueinander und auch parallel zu den zugeordneten Kanten der Bügelfläche angeordnet. So können die elastischen Bezüge gleichmäßig über die Kanten der Bügelfläche gezogen werden.
Besonders vorteilhaft ist es, daß die Antriebseinrichtung hydraulische, pneumatische oder elektrische Stellglieder aufweist. Dadurch sind die geforderten Bewegungsabläufe in einfacher und schneller Weise durchführbar. Die Stellglieder können als preiswerte Zukaufteile erworben werden.
Bei einer bevorzugten Ausführungsform ist die Bügelmaschine durch eine Steuerelektronik steuerbar. Diese entlastet den Benutzer von der Aufgabe, die Bewegung der Spannrahmen und der Bügelplatten zu koordinieren, wodurch Fehlbedienungen der Maschine und daraus resultierende Schädigungen der Maschine und des Bügelguts vermieden werden.
Besonders vorteilhaft ist es, daß der elastisch dehnbare Bezug ein Stretchcord ist. Dieser Stretchcord weist die notwendigen Dehnungseigenschaften auf und ist zudem hitzebeständig, so daß er auch bei hoher Bügelstückzahl eine hohe Lebensdauer hat.
Bei einer vorteilhaften weiteren Ausführungsform der Erfindung ist ein Spannsystem zum Spannen von Hosenumschlägen vorhanden. Das Spannsystem weist zwischen Ober- und Unterform jeweils zwei aus j eweils zwei Blechen bestehende Blechpaare auf, wobei jeweils ein Blechpaar durch Auseinanderbewegen der beiden Bleche in einer Querrichtung einen Hosenumschlag spannt, und die beiden Blechpaare in einer Längsrichtung voneinander wegbewegbar sind. Die Hose wird durch einen Schlitz in der Unterform eingeführt und die Hosenumschläge durch jeweils ein Blechpaar gespannt. Nach Auseinanderbewegen der Blechpaare in Längsrichtung der Unterform liegt die Hose schon weitgehend flach auf dem elastischen Bezug der Unterform und kann dann mittels der elastischen Bezüge weiter in Querrichtung gespannt werden.
Eine besonders vorteilhafte Weiterentwicklung der Erfindung ist dadurch gekennzeichnet, daß die Antriebseinrichtungen pneumatische Kolben-Zylinder-Einheiten sind und daß eine Steuerschaltung vorhanden ist zum Verbinden der Kolben-Zylinder-Einheiten mit einer Druckluftzufuhr oder Entlüftungsöffnungen. Die Kolben-Zylinder-Einheiten der zu den unteren Spannholmen gehörenden Antriebseinrichtungen können über eine Ventilanordnung mit der Druckluftzufuhr oder den Entlüftungsöffnungen verbunden sein. Die Ventilanordnung für jede der zu den unteren Spannholmen gehörenden Antriebseinrichtungen weist jeweils ein Rückschlagventil und ein parallel dazu geschaltetes, von einer das Vorhandensein eines Bügelguts anzeigenden Lichtschranke gesteuertes Magnetventil auf. Die Magnetventile stehen in Sperrstellung, wenn die Lichtschranke das Vorhandensein von Bügelgut anzeigt.
Diese Ausführungsform ermöglicht es, daß nach dem Bügelvorgang die Oberform zusammen mit dem oberen dehnbaren Bezug von der Bügelfläche und von dem Bügelgut abgehoben wird, während das Bügelgut weiter auf dem gespannten unteren dehnbaren Bezug liegen bleibt. Dadurch kann Knittern und Faltenbildung vermieden werden. Erst nach Entnahme des Bügelguts aus der Bügelmaschine kann der untere dehnbare Bezug durch Aufwärtsbewegung der unteren Antriebseinrichtungen entspannt werden.
Ein Verfahren zum Pressen von Bügelgut, insbesondere Hosen, mit einer erfindungsgemäßen Bügelmaschine und mit den Schritten:
  • Spannen von jedem Hosenumschlag mittels des Spannsystems durch Auseinanderbewegen der beiden Bleche jedes Blechpaars in Querrichtung;
  • Längsspannen der Hosenbeine durch Auseinanderbewegen der Blechpaare in Längsrichtung; und
  • Schließen der Bügelflächen durch Aufeinanderbewegen von Ober- und Unterform und Anwenden von Wärme, Druck und/oder Feuchtigkeit, ist dadurch gekennzeichnet, daß vor dem Schließen der Bügelflächen ein einseitiger Zug auf das Bügelgut ausgeübt wird durch:
  • Bewegen der beiden Spannholme der einen Seite von Ober- und Unterform auf eine Niveau unterhalb der Unterform oder oberhalb der Oberform; und
  • Halten der beiden Spannholme auf der anderen Seite von Ober- und Unterform auf Höhe der Unterform.
Besonders vorteilhaft ist es, wenn das Verfahren weiterhin dadurch gekennzeichnet ist, daß
  • nach dem Bügeln des Bügelguts die Oberform angehoben wird;
  • der obere dehnbare Bezug mit den oberen Spannholmen vom Bügelgut abgehoben und entspannt wird; während
  • der untere dehnbare Bezug mit den unteren Spannholmen gespannt gehalten wird, bis die Lichtschranke anzeigt, daß das Bügelgut aus der Bügelmaschine herausgenommen wurde, wodurch die Magnetventile in Durchlaßstellung geschaltet und die unteren Spannholme nach oben bewegt werden.
Die Erfindung und vorteilhafte Einzelheiten werden nachfolgend unter Bezug auf die Zeichnungen in beispielsweisen Ausführungsformen näher erläutert. Es zeigen:
Fig. 1
eine schematische Perspektivdarstellung einer Bügelmaschine gemäß der Erfindung;
Fig. 2a bis c
schematische Seitenansichten von verschiedenen Spannmöglichkeiten bei der erfindungsgemäßen Bügelmaschine;
Fig. 3a bis c
Verfahrensschritte beim Bügeln mit der erfindungsgemäßen Bügelmaschine in schematischen Seitenansichten;
Fig. 4a und 4b
eine Seit- und eine Draufsicht von einer anderenAusführungsform der erfindungsgemäßen Bügelmaschine mit einem Spannsystem zum Spannen von Hosenumschlägen; und
Fig. 5
eine schematische Darstellung einer Pneumatikschaltung für die erfindungsgemäße Bügelmaschine.
Fig. 1 ist eine schematische Perspektivansicht einer Bügelmaschine gemäß der Erfindung. Die Bügelmaschine weist eine Oberform bzw. Oberplatte 1 und eine Unterform bzw. Unterplatte 2 auf sowie einen oberen dehnbaren Bezug 3 und einen unteren dehnbaren Bezug 4. Die Oberplatte 1 weist an ihrer Unterseite eine Bügelfläche auf, der eine entsprechende Bügelfläche an der Oberseite der Unterplatte 2 gegenübersteht.Der obere dehnbare Bezug 3 wird von einem oberen vorderen Spannholm 5 und einem oberen hinteren Spannholm 6 getragen. Entsprechend wird der untere dehnbare Bezug 4 von einem unteren vorderen Spannholm 7 und einem unteren hinteren Spannholm 8 getragen.
Die Spannholme 5,6,7,8 sind in einfacher Weise aus einem Rohrmaterial, beispielsweise aus Leichtmetall, herstellbar und jeweils vertikal bewegbar und werden jeweils über eigene Antriebseinrichtungen 9,10,11,12 angetrieben. Als Antriebseinrichtung eignen sich vorzugsweise hydraulische oder pneumatische Stellglieder, z.B. Zylinder-Kolben-Einheiten. Ebenfalls denkbar sind elektrische Antriebe, bei denen die Vertikalbewegung beispielsweise durch Spindelgetriebe realisiert wird.
Zwischen die Oberplatte 1 und die Unterplatte 2 ist - in Fig. 1 schematisch dargestellt - ein Bügelgut 13, beispielsweise eine Hose, eingelegt. Das in Fig. 1 erkennbare Bügelgut 13 entspricht folglicherweise einem Hosenbein, welches durch Bleche 14 und 15 parallel zu der Ober- und der Unterplatte gespannt ist. Mit ihren schmalen Stirnseiten erzeugen die Bleche 14 und 15 in dem Hosenbein 13 einen Bruch, an dem später nach dem Bügeln eine Bügelfalte entsteht.
In einerAusgangsstellung der Bügelmaschine befinden sich die Spannholme 5 und 6 und somit auch der obere dehnbare Bezug 3 etwa auf Höhe der Bügelfläche der Oberplatte 1.
Entsprechend befinden sich auch die Spannholme 7 und 8 mit dem unteren dehnbaren Bezug 4 in Höhe der Bügelfläche der Unterplatte 2. Üblicherweise steht die Oberplatte 1 in der Ausgangsstellung nicht über der Unterplatte 2, sondern wird mittels einer nicht dargstellten Drehführung seitlich weggeschwenkt. Erst nach Auflegen des Bügelguts 13 wird die Oberplatte 1 über die Unterplatte 2 geschwenkt und kann danach vertikal auf die Unterplatte 2 bewegt werden.
Das Bügelgut 13 wird zunächst auf den unteren dehnbaren Bezug 4 und somit auf die Bügelfläche der Unterplatte 2 aufgelegt. Anschließend wird der obere dehnbare Bezug 3 soweit mittels der Antriebseinrichtungen 9 und 10 sowie der Spannholme 5 und 6 vertikal nach unten bewegt, bis er das Bügelgut 13 berührt. Anschließend werden der obere vordere Spannholm 5 und der untere vordere Spannholm 7 mittels der Antriebseinrichtungen 9 und 12 weiter vertikal nach unten bewegt, wodurch die dehnbaren Bezüge 3 und 4 gestreckt werden und das dazwischen liegende Bügelgut 13 glattgezogen wird. Danach kann die Oberplatte 1 mittels einer nicht dargestellten Antriebseinrichtung vertikal nach unten verfahren werden, bis schließlich das Bügelgut 13 mittels Druck, Wärme und/oder Feuchtigkeit gepreßt wird.
Im Unterschied zu aus dem Stand der Technik bekannten Bügelmaschinen ist es mit der erfindungsgemäßen Bügelmaschine möglich, einen einseitigen Zug auf das Bügelgut 13 auszuüben, wodurch beispielsweise mehrschichtiges Bügelgut, z.B. eine aus einem Oberstoff und einem Kniefutter bestehende Hose in gewünschter Weise glattgezogen werden kann.
Die Fig. 2a, 2b und 2c zeigen in schematischen Seitenansichten, wie durch unterschiedliche Bewegung der Spannholme 5,6,7,8 unterschiedliche Zugwirkungen auf das Bügelgut 13 ausgeübt werden können.
Fig. 2a zeigt das oben beschriebene Prinzip, bei dem die vorderen Spannholme 5,7 vertikal und zu einer Stelle unterhalb der Bügelfläche der Unterplatte 2 geführt werden, während die hinteren Spannholme 6,8 ungefähr in der Höhe der Unterplatte 2 gehalten werden. Der Verlauf der dehnbaren Bezüge 3 und 4 ist ebenfalls in Fig. 2a zu erkennen. Die Zugwirkung auf das Bügelgut 13 erfolgt bei dieser Anordnung nach rechts, wie durch einen Pfeil P1 dargestellt.
Wenn beispielsweise das Bügelgut 13 eine Hose ist, und die Hose so auf dem unteren dehbaren Bezug 4 aufliegt, daß der Kniebereich nach links in Fig. 2a weist, wird die Hose in Richtung des Pfeils P1 nach rechts gestrafft. Dadurch ist es möglich, daß das in der Hose vorhandene Kniefutter ebenso nach rechts in Richtung Kniekehle und somit aus dem Kniebereich gezogen wird. Beim anschließenden Bügelvorgang kann demnach eine saubere Bügelfalte ohne Verdickungen aufgrund des Kniefutters im Kniebereich erzeugt werden.
Fig. 2b zeigt schematisch eine umgekehrte Anordnung, bei der die vorderen Spannholme 5,7 auf Höhe der Bügelfläche der Unterplatte 2 gehalten werden, während die hinteren Spannholme 6,8 weiter vertikal nach unten mit Hilfe der Antriebseinrichtungen 10 und 11 bewegt werden. Dadurch entsteht eine Zugwirkung nach links in Richtung des Pfeils P2.
Fig. 2c zeigt dazu schematisch nochmals den Stand der Technik, bei dem alle Spannholme 5,6,7,8 nach unten verfahren werden, wodurch ein von der Mitte der Bügelfläche ausgehender Zug nach links und nach rechts in Richtung der Pfeile P3 und P4 ausgeht. In diesem Fall sind die oberen Spannholme 5 und 6 sowie die unteren Spannholme 7 und 8 jeweils miteinander starr zu einem Spannrahmen verbunden. Ein getrenntes Verfahren der Spannholme ist somit nicht möglich.
Die Fig. 3a bis 3c zeigen schematisch das bereits oben beschriebene Verfahren zum Bügeln mit der erfindungsgemäßen Bügelmaschine. Zunächst wird in Fig. 3a das Bügelgut 13, d.h. die Hose, auf den unteren dehnbaren Bezug 4 aufgelegt. Zu diesem Zeitpunkt ist die Oberplatte 1 mit dem oberen dehnbaren Bezug 3 in einer Schwenkstellung, so daß die Unterplatte 2 zum Auflegen der Hose 13 leicht zugänglich ist.
Anschließend wird die Oberplatte 1 über die Unterplatte 2 geschwenkt, die Spannholme 5 und 6 mittels der Antriebseinrichtungen 9 und 10 vertikal nach unten bewegt, bis der obere dehnbare Bezug 3 das Bügelgut 13 berührt und anschließend die vorderen Spannholme 5 und 7 über die vordere Kante der Unterplatte 2 weiter unten bewegt, so daß das Bügelgut unter einseitiger Zugwirkung glattgestreckt wird (Fig. 3b).
Anschließend wird die Oberplatte 1 vertikal nach unten auf die Unterplatte 2 geführt und die Hose 13 unter Einwirkung von Druck, Feuchtigkeit und Wärme gebügelt.
Fig. 4a zeigt eine schematische Seitansicht und Fig. 4b eine schematische Draufsicht auf einen Teil einer besonders vorteilhaften Ausführungsform der Bügelmaschine. Es ist zu erkennen, daß die Unterplatte 2 einen Schlitz 16 aufweist, durch den die Hose 13 eingeführt wird, so daß der Hosenbund im Schlitz 16 nach unten hängt. Zwei Hosenbeine 13a und 13b werden jeweils durch Auseinanderbewegen der Bleche 14 und 15 in Querrichtung gespannt und anschließend durch Auseinanderbewegen der Blechpaare 14,15 zwischen den elastisch dehnbaren Bezügen 3,4 in Längsrichtung glattgezogen. Dieses Verfahren ist bei Doppelbeinbügelmaschinen üblich und führt zu einer weitgehend flachliegenden Hose auf der Unterplatte. Für die Steuerelektronik kann es notwendig sein, daß eine Lichtschranke 17 das Vorhandensein der Hose 13 anzeigt. Die weiteren Spann- und Bügelvorgänge erfolgen in der oben beschriebenen Weise.
Bei einer anderen, in den Figuren nicht dargestellten Ausführungsform der Erfindung, sind die Spannholme 5,6,7,8 nicht nur vertikal sondern auch horizontal zur Bügelfläche bewegbar. Auch bei dieser Ausführungsform kann so eine gewünschte Zugwirkung auf das Bügelgut 13 erhalten werden, es ist jedoch ein größerer Bauraum für die Bewegung der Spannholme 5,6,7,8 erforderlich.
Die Steuerung der Antriebseinrichtungen 9,10,11,12, d.h. die Ansteuerung und die Koordinierung der Pneumatik- oder Hydraulikzylinder bzw. der Elektromotoren, erfolgt mittels geeigneter Steuerschaltungen, wie sie üblicherweise verwendet werden.
Fig. 5 zeigt beispielhaft schematisch eine Schaltung für ein Pneumatiksystem zum Antreiben der Spannvorrichtung. Ein Druckaggregat 18 versorgt die gesamte Anlage mit konstantem Luftdruck. Über zwei 5/2-Wegeventile 19,20 können jeweils die Antriebseinrichtungen 9,10,11,12 der Spannholme 5,6,7,8 angesteuert werden. Die 5/2-Wegeventile 19,20 werden jeweils durch ein Magnetventil 21,22 betätigt, wobei die Magnetventile 21,22 elektrisch in eine Sperr- und eine Durchlaßstellung geschaltet werden können, wodurch die 5/2-Wegeventile 19,20 gegen Federkraft betätigt werden.
Am Beispiel der Ventile 19 und 21 wird die Funktionsweise erläutert.Im Ausgangszustand sperrt das Magnetventil 21, wodurch das 5/2-wegeventil 19 sich in Stellung 19a befindet. In Stellung 19a ist die Druckleitung mit den unteren Kammern der als Zylinder-Kolben-Einheiten ausgeführten Antriebseinrichtungen 9 und 12 verbunden, wodurch sich die Kolben im oberen Todpunkt befinden. Dementsprechend sind auch die vorderen Spannholme 5 und 7 in der oberen, d.h. entspannten Stellung.
Die gleiche Schaltung gilt für die hinteren Spannholme 6 und 8. Hierzu wird das 5/2-Wegeventil 20 durch das Magnetventil 22 zwischen den Stellungen 20a und 20b betätigt. Im Ausgangszustand befindet sich das 5/2-Wegeventil 20 in Stellung 20a, wodurch untere Kammern der als Zylinder-Kolben-Einheiten ausgeführten Antriebseinrichtungen 10 und 11 mit der Druckseite verbunden sind. Folglich befinden sich auch die Spannholme 6 und 8 zusammen mit den Kolben im oberen Todpunkt.
Die oberen Kammern der Zylinder 9 und 10 werden über die 5/2-Wegeventile 19 und 20 jeweils entlüftet.
Zwischen den oberen Kammern der Zylinder 11 und 12 und der Entlüftungsseite sind weitere Magnetventile 23 und 24 sowie Rückschlagventile 25 und 26 eingesetzt. Die Magnetventile 23,24 werden über die Lichtschranke 17 betätigt, wie später noch erläutert wird. Sie sind parallel zu den Rückschlagventilen 25,26 geschaltet.
Im folgenden wird beschrieben, wie die oben erläuterte Verfahrensweise mit Hilfe der vorstehenden Pneumatikschaltung realisiert wird.
Im Ausgangszustand befinden sich alle Kolben in den Antriebseinrichtungen 9,10,11,12 im oberen Todpunkt, wodurch die zwischen den Spannholmen 5 und 6 sowie 7 und 8 befestigten dehnbaren Bezüge 3 und 4 entspannt sind. Eine Hose 13 wird in die Bügelmaschine eingelegt, wobei der Hosenbund einen Lichtstrahl in der Lichtschranke 17 unterbricht, wodurch die Lichtschranke 17 das Vorhandensein der Hose 13 erkennt und die Magnetventile 23, 24 schließt. Zum Spannen der Hose 13 sollen beispielsweise die vorderen Spannholme 5 und 7 nach unten verfahren werden, während die Spannholme 6 und 8 in Ausgangsstellung verbleiben sollen. Dementsprechend wird das Magnetventil 21 betätigt, so daß mittels Luftdruck das 5/2-Wegeventil 19 von Stellung 19a in Stellung 19b verfahren werden kann. Daraufhin werden die oberen Kammern in den Zylindern der Antriebseinrichtungen 9 und 12 mit Druckluft versorgt und die Kolben entsprechend nach unten gedrückt. Die Druckluftzufuhr zu der oberen Kammer der Antriebseinrichtung 12 erfolgt über das Rückschlagventil 25, weil das Magnetventil 23 bereits aufgrund des Signals der Lichtschranke 17 geschlossen wurde. Die dehnbaren Bezüge 3 und 4 werden über die Kante der Unterplatte 2 gezogen und spannen so - wie bereits mehrfach beschrieben - die dazwischenliegende Hose 13, so daß anschließend die Oberplatte 1 die Hose 13 bügeln kann.
Nach dem Bügelvorgang wird die Oberplatte 1 wieder angehoben und auch das Magnetventil 21 erreicht wieder seine ursprüngliche Stellung, so daß mittels Federkraft das 5/2-Wegeventil 19 in die Stellung 19a gerät. Das Magnetventil 23 wird weiterhin geschlossen gehalten, was dazu führt, daß nur die obere Kammer im Zylinder der Antriebseinrichtung 9, aber nicht im Zylinder der Antriebseinrichtung 12, entlüftet wird. Die obere Kammer im Zylinder der Antriebseinrichtung 12 kann nicht entlüftet werden, weil einerseits das Magnetventil 23 geschlossen ist und andererseits das Rückschlagventil 25 in Entlüftungsnchtung sperrt. Folglich hebt sich nur der obere vordere Spannholm 5 und löst sich von der Hose 13, während der untere vordere Spannholm 7 weiterhin in gespannter Stellung verbleibt. Dadurch wird sichergestellt, daß die frischgebügelte Hose 13 flach liegen bleibt und nicht durch Entspannen des unteren dehnbaren Bezugs 4 knittern oder Falten werfen kann. Solange die Lichtschranke 17 das Vorhandensein des Hosenbundes anzeigt, verbleibt das Ventil 23 bzw. auch das Ventil 24 in geschlossener Stellung. Erst nachdem die Hose 13 aus der Bügelmaschine herausgenommen wurde, werden über die Lichtschranke 17 die Magnetventile 23 und 24 freigegeben, so daß die oberen Kammern der Zylinder der Antriebseinrichtungen 11 und 12 entlüftet werden können.
Selbstverständlich ist die gleiche Verfahrensweise auch bei der Betätigung der hinteren Spannholme 6 und 8 gegeben. Hier erfolgt die Sperrung der oberen Kammer des Zylinders in der Antriebseinrichtung 11 mittels des Magnetventils 24, ihre Belüftung erfolgt über das Rückschlagventil 26.

Claims (14)

  1. Bügelmaschine mit je einer oder mehreren Ober- und Unterformen (1,2), die gegeneinander preßbar angeordnet sind und an ihren einander zugekehrten Seiten eine Bügelfläche aufweisen, wobei mindestens einer, vorzugsweise jeder der Ober- und Unterformen (1,2) mindestens zwei senkrecht zur Bügelfläche bewegbare Spannholme (5,6,7,8) mit einem dazwischen angebrachten, elastisch dehnbaren Bezug (3,4) zugeordnet sind, dadurch gekennzeichnet, daß jedem Spannholm (5,6,7,8) jeweils eine eigene Antriebseinrichtung (9,10,11,12) derart zugeordnet ist, daß jeder Spannholm unabhängig von dem oder den anderen Spannholm(en) (5,6,7,8) im wesentlichen senkrecht zur Bügelfläche bewegbar ist.
  2. Bügelmaschine nach Anspruch 1, dadurch gekennzeichnet, daß eine Ober- (1) und eine Unterform (2) vorhanden sind, denen jeweils ein zwischen jeweils zwei Spannholmen (5,6,7,8) vorhandener, elastisch dehnbarer Bezug (3,4) zugeordnet ist, wobei die beiden Spannholme (5,7) auf einer Seite von Ober- und Unterform (1,2) mittels ihrer jeweiligen Antriebseinrichtung (9,12) unabhängig von den beiden Spannholmen (6,8) auf der anderen Seite von Ober- und Unterform (1,2) bewegbar sind.
  3. Bügelmaschine nach Anspruch 1 oder 2, dadurch gekennzeichnet, daß die Spannholme (5,6,7,8) parallel zueinander angeordnet sind und vorzugsweise auch parallel zu den zugeordneten Kanten der Bügelfläche liegen.
  4. Bügelmaschine nach einem der Ansprüche 1 bis 3, dadurch gekennzeichnet, daß die Antriebseinrichtung (9,10,11,12) hydraulische, pneumatische oder elektrische Stellglieder aufweist.
  5. Bügelmaschine nach einem der Ansprüche 1 bis 4, dadurch gekennzeichnet, daß die Bügelmaschine durch eine Steuerelektronik steuerbar ist.
  6. Bügelmaschine nach einem der Ansprüche 1 bis 5, dadurch gekennzeichnet, daß der elastisch dehnbare Bezug (3,4) ein Stretchcord ist.
  7. Bügelmaschine nach einem der vorstehenden Ansprüche, dadurch gekennzeichnet, daß ein Spannsystem (14,15) zum Spannen von Hosenumschlägen vorhanden ist.
  8. Bügelmaschine nach Anspruch 7, dadurch gekennzeichnet, daß das Spannsystem zwischen Ober- und Unterform (1,2) zwei aus jeweils zwei Blechen (14,15) bestehende Blechpaare aufweist, wobei jeweils ein Blechpaar durch Auseinanderbewegen der beiden Bleche (14,15) in einer Querrichtung einen Hosenumschlag spannt, und die beiden Blechpaare in einer Längsrichtung voneinander wegbewegbar sind.
  9. Bügelmaschine nach einem der vorstehenden Ansprüche, dadurch gekennzeichnet, daß die Antriebseinrichtungen (9,10,11,12) pneumatische Kolben-Zylinder-Einheiten sind und daß eine Steuerschaltung (19,20,21,22) vorhanden ist zum Verbinden der Kolben-Zylinder-Einheiten mit einer Druckluftzufuhr (18) oder Entlüftungsöffnungen.
  10. Bügelmaschine nach Anspruch 9, dadurch gekennzeichnet, daß die Kolben-Zylinder-Einheiten der zu den unteren Spannholmen (7,8) gehörenden Antriebseinrichtungen (11,12) über eine Ventilanordnung (23,25; 24,26) mit der Druckluftzufuhr (18) oder den Entlüftungsöffnungen verbunden sind.
  11. Bügelmaschine nach Anspruch 10, dadurch gekennzeichnet, daß die Ventilanordnung für jede der zu den unteren Spannholmen (7,8) gehörenden Antriebseinrichtungen (11,12) jeweils ein Rückschlagventil (25; 26) und ein parallel dazu geschaltetes, von einer das Vorhandensein eines Bügelguts (13) anzeigenden Lichtschranke (17) gesteuertes Magnetventil (23; 24) aufweist.
  12. Bügelmaschine nach Anspruch 11, dadurch gekennzeichnet, daß die Magnetventile (23,24) in Sperrstellung stehen, wenn die Lichtschranke (17) das Vorhandensein von Bügelgut (13) anzeigt.
  13. Verfahren zum Pressen von Bügelgut (13), insbesondere Hosen, mit einer Bügelmaschine nach einem der Ansprüche 1 bis 12, mit den Schritten:
    Spannen von jedem Hosenumschlag mittels des Spannsystems durch Auseinanderbewegen der beiden Bleche (14,15) jedes Blechpaars in Querrichtung;
    Längsspannen der Hosenbeine durch Auseinanderbewegen der Blechpaare (14,15) in Längsrichtung; und
    Schließen der Bügelflächen durch Aufeinanderbewegen von Ober- und Unterform (1,2) und Bügeln des Bügelguts (13) durch Anwenden von Wärme, Druck und/oder Feuchtigkeit,
    dadurch gekennzeichnet, daß vor dem Schließen der Bügelflächen ein einseitiger Zug auf das Bügelgut (13) ausgeübt wird durch:
    Bewegen der beiden Spannholme (5,7) der einen Seite von Ober- und Unterform (1,2) auf ein Niveau unterhalb der Unterform (2) oder oberhalb der Oberform (1); und
    Halten der beiden Spannholme (6,8) der anderen Seite von Ober- und Unterform (1,2) auf Höhe der Unterform (2).
  14. Verfahren nach Anspruch 13 mit einer Bügelmaschine nach einem der Ansprüche 11 oder 12, dadurch gekennzeichnet, daß
    nach dem Bügeln des Bügelguts (13) die Oberform (1) angehoben wird;
    der obere dehnbare Bezug (3) mit den oberen Spannholmen (5,6) vom Bügelgut (13) abgehoben und entspannt wird; während
    der untere dehnbare Bezug (4) mit den unteren Spannholmen (7,8) gespannt gehalten wird, bis die Lichtschranke (17) anzeigt, daß das Bügelgut (13) aus der Bügelmaschine herausgenommen wurde, wodurch die Magnetventile (23,24) in Durchlaßstellung geschaltet und die unteren Spannholme (7,8) nach oben bewegt werden.
EP95911251A 1994-03-22 1995-02-22 Bügelmaschine mit spann- und streckvorrichtung Expired - Lifetime EP0742853B1 (de)

Applications Claiming Priority (3)

Application Number Priority Date Filing Date Title
DE4409876 1994-03-22
DE4409876A DE4409876C1 (de) 1994-03-22 1994-03-22 Bügelmaschine mit Spann- und Streckvorrichtung und Bügelverfahren
PCT/EP1995/000645 WO1995025839A1 (de) 1994-03-22 1995-02-22 Bügelmaschine mit spann- und streckvorrichtung

Publications (2)

Publication Number Publication Date
EP0742853A1 EP0742853A1 (de) 1996-11-20
EP0742853B1 true EP0742853B1 (de) 1998-04-29

Family

ID=6513521

Family Applications (1)

Application Number Title Priority Date Filing Date
EP95911251A Expired - Lifetime EP0742853B1 (de) 1994-03-22 1995-02-22 Bügelmaschine mit spann- und streckvorrichtung

Country Status (6)

Country Link
EP (1) EP0742853B1 (de)
JP (1) JPH10500317A (de)
CN (1) CN1144546A (de)
DE (2) DE4409876C1 (de)
ES (1) ES2116079T3 (de)
WO (1) WO1995025839A1 (de)

Families Citing this family (4)

* Cited by examiner, † Cited by third party
Publication number Priority date Publication date Assignee Title
DE29511292U1 (de) * 1995-07-12 1996-11-07 Brisay Maschinen GmbH, 63741 Aschaffenburg Bügelmaschine
CN107299511B (zh) * 2017-07-06 2023-08-04 浙江凌志智能科技有限公司 一种绳带烫平机
CN110371746A (zh) * 2019-07-18 2019-10-25 上海航星机械(集团)有限公司 一种熨平机的涨紧结构
CN112981890B (zh) * 2021-02-04 2022-06-14 郑州市娅丽达服饰有限公司 一种服装设计衣服熨烫装置

Family Cites Families (6)

* Cited by examiner, † Cited by third party
Publication number Priority date Publication date Assignee Title
DE1157192B (de) * 1962-03-27 1963-11-14 Kannegiesser & Co Maschinenfab Buegelpresse zum Buegeln von mit zwei roehrenfoermigen Fortsaetzen versehenen Bekleidungsstuecken, insbesondere Hosen
US3126658A (en) * 1964-03-26 1964-03-31 carskadon
US3685179A (en) * 1971-03-30 1972-08-22 Strauss Levi & Co Garment spreading apparatus
US4137655A (en) * 1976-10-16 1979-02-06 Euro Pressing Group Limited Apparatus for pressing trousers
ATE44057T1 (de) * 1986-07-18 1989-06-15 Texma Textilmasch & Armaturen Buegelmaschine.
JPH06104157B2 (ja) * 1990-01-12 1994-12-21 幸男 宮田 刺繍用アイロン仕上げ装置

Also Published As

Publication number Publication date
EP0742853A1 (de) 1996-11-20
JPH10500317A (ja) 1998-01-13
CN1144546A (zh) 1997-03-05
WO1995025839A1 (de) 1995-09-28
DE59502053D1 (de) 1998-06-04
DE4409876C1 (de) 1995-05-18
ES2116079T3 (es) 1998-07-01

Similar Documents

Publication Publication Date Title
EP0253048B1 (de) Bügelmaschine
EP0742853B1 (de) Bügelmaschine mit spann- und streckvorrichtung
DE3119661C2 (de) Vorrichtung zum Zuführen von Wäschestücken zu einer Mangel
DE3507757C2 (de) Maschine zum Dämpfen und Glätten von Bekleidungsstücken und Verfahren zum Betrieb einer solchen Maschine
DE3531954C1 (de) Vorrichtung zum Glaetten von Oberbekleidungsstuecken wie Sakkos,Maentel und dergl.
EP0508211B1 (de) Vorrichtung zum Halten und Führen von Material an Stickmaschinen
DE19629071C1 (de) Vorrichtung zum Fangen einer gerissenen Bedruckstoffbahn
DE2847805A1 (de) Verfahren und vorrichtung zum dampfbuegeln der saumbereiche von rohrfoermigen kleidungsstuecken
DE102020209819A1 (de) Folienklemmung
DE60127242T2 (de) Automatische Maschine zum Bügeln von Hosen und Jeans oder elastischen Hosen oder Sporthosen
AT388189B (de) Buegelmaschine
DE2723596A1 (de) Buegelvorrichtung
DE1460996A1 (de) Verfahren und Vorrichtung zum Buegeln von Hosen
DE2646764A1 (de) Verfahren und vorrichtung zum buegeln von hosen
DE2612322A1 (de) Presse
DE3228622C2 (de) Vorrichtung zum Bügeln von Nähten an rohrförmig geschlossenen Bekleidungsstücken, wie Hosenbeinen, Ärmeln o. dgl.
DE1962611C (de) Bügelpresse mit mehreren Arbeits- und Preßstationen
DE1962611A1 (de) Buegelmaschine fuer Oberbekleidungsstuecke
DE8713696U1 (de) Ärmelspannvorrichtung für Bügelmaschinen
DE924024C (de) Verfahren zur Endbehandlung roehrenfoermiger Teile von Kleidungs-stuecken und Vorrichtung zur Durchfuehrung des Verfahrens
DE2636463A1 (de) Vorrichtung zum verformen von platten aus thermoplastischem kunststoff
DE219798C (de)
DE1962611B (de) Bügelpresse mit mehreren Arbeits- und Preßstationen
DE550052C (de) Einrichtung an einer Buegelmaschine, um Luft durch das Werkstueck hindurchzutreiben
DE1137413B (de) Buegelpresse fuer Kleidungsstuecke od. dgl.

Legal Events

Date Code Title Description
PUAI Public reference made under article 153(3) epc to a published international application that has entered the european phase

Free format text: ORIGINAL CODE: 0009012

17P Request for examination filed

Effective date: 19960730

AK Designated contracting states

Kind code of ref document: A1

Designated state(s): DE ES FR GB IT PT SE

GRAG Despatch of communication of intention to grant

Free format text: ORIGINAL CODE: EPIDOS AGRA

17Q First examination report despatched

Effective date: 19970610

GRAG Despatch of communication of intention to grant

Free format text: ORIGINAL CODE: EPIDOS AGRA

GRAH Despatch of communication of intention to grant a patent

Free format text: ORIGINAL CODE: EPIDOS IGRA

GRAH Despatch of communication of intention to grant a patent

Free format text: ORIGINAL CODE: EPIDOS IGRA

GRAA (expected) grant

Free format text: ORIGINAL CODE: 0009210

AK Designated contracting states

Kind code of ref document: B1

Designated state(s): DE ES FR GB IT PT SE

REF Corresponds to:

Ref document number: 59502053

Country of ref document: DE

Date of ref document: 19980604

GBT Gb: translation of ep patent filed (gb section 77(6)(a)/1977)

Effective date: 19980521

REG Reference to a national code

Ref country code: ES

Ref legal event code: FG2A

Ref document number: 2116079

Country of ref document: ES

Kind code of ref document: T3

ET Fr: translation filed
ITF It: translation for a ep patent filed
REG Reference to a national code

Ref country code: PT

Ref legal event code: SC4A

Free format text: AVAILABILITY OF NATIONAL TRANSLATION

Effective date: 19980430

PLBE No opposition filed within time limit

Free format text: ORIGINAL CODE: 0009261

STAA Information on the status of an ep patent application or granted ep patent

Free format text: STATUS: NO OPPOSITION FILED WITHIN TIME LIMIT

26N No opposition filed
PGFP Annual fee paid to national office [announced via postgrant information from national office to epo]

Ref country code: GB

Payment date: 20000128

Year of fee payment: 6

PGFP Annual fee paid to national office [announced via postgrant information from national office to epo]

Ref country code: PT

Payment date: 20000131

Year of fee payment: 6

Ref country code: FR

Payment date: 20000131

Year of fee payment: 6

PGFP Annual fee paid to national office [announced via postgrant information from national office to epo]

Ref country code: SE

Payment date: 20000203

Year of fee payment: 6

PGFP Annual fee paid to national office [announced via postgrant information from national office to epo]

Ref country code: ES

Payment date: 20000207

Year of fee payment: 6

PG25 Lapsed in a contracting state [announced via postgrant information from national office to epo]

Ref country code: GB

Free format text: LAPSE BECAUSE OF NON-PAYMENT OF DUE FEES

Effective date: 20010222

PG25 Lapsed in a contracting state [announced via postgrant information from national office to epo]

Ref country code: SE

Free format text: LAPSE BECAUSE OF NON-PAYMENT OF DUE FEES

Effective date: 20010223

Ref country code: ES

Free format text: LAPSE BECAUSE OF NON-PAYMENT OF DUE FEES

Effective date: 20010223

PG25 Lapsed in a contracting state [announced via postgrant information from national office to epo]

Ref country code: PT

Free format text: LAPSE BECAUSE OF NON-PAYMENT OF DUE FEES

Effective date: 20010831

EUG Se: european patent has lapsed

Ref document number: 95911251.7

GBPC Gb: european patent ceased through non-payment of renewal fee

Effective date: 20010222

PG25 Lapsed in a contracting state [announced via postgrant information from national office to epo]

Ref country code: FR

Free format text: LAPSE BECAUSE OF NON-PAYMENT OF DUE FEES

Effective date: 20011031

REG Reference to a national code

Ref country code: FR

Ref legal event code: ST

REG Reference to a national code

Ref country code: PT

Ref legal event code: MM4A

Free format text: LAPSE DUE TO NON-PAYMENT OF FEES

Effective date: 20010831

PGFP Annual fee paid to national office [announced via postgrant information from national office to epo]

Ref country code: DE

Payment date: 20020430

Year of fee payment: 8

REG Reference to a national code

Ref country code: ES

Ref legal event code: FD2A

Effective date: 20021016

PG25 Lapsed in a contracting state [announced via postgrant information from national office to epo]

Ref country code: DE

Free format text: LAPSE BECAUSE OF NON-PAYMENT OF DUE FEES

Effective date: 20030902

PG25 Lapsed in a contracting state [announced via postgrant information from national office to epo]

Ref country code: IT

Free format text: LAPSE BECAUSE OF NON-PAYMENT OF DUE FEES;WARNING: LAPSES OF ITALIAN PATENTS WITH EFFECTIVE DATE BEFORE 2007 MAY HAVE OCCURRED AT ANY TIME BEFORE 2007. THE CORRECT EFFECTIVE DATE MAY BE DIFFERENT FROM THE ONE RECORDED.

Effective date: 20050222