EP0479150A2 - Leuchtkasten - Google Patents

Leuchtkasten Download PDF

Info

Publication number
EP0479150A2
EP0479150A2 EP91116533A EP91116533A EP0479150A2 EP 0479150 A2 EP0479150 A2 EP 0479150A2 EP 91116533 A EP91116533 A EP 91116533A EP 91116533 A EP91116533 A EP 91116533A EP 0479150 A2 EP0479150 A2 EP 0479150A2
Authority
EP
European Patent Office
Prior art keywords
light box
base body
shaped
box according
support
Prior art date
Legal status (The legal status is an assumption and is not a legal conclusion. Google has not performed a legal analysis and makes no representation as to the accuracy of the status listed.)
Withdrawn
Application number
EP91116533A
Other languages
English (en)
French (fr)
Other versions
EP0479150A3 (en
Inventor
Peter Hinrichs
Current Assignee (The listed assignees may be inaccurate. Google has not performed a legal analysis and makes no representation or warranty as to the accuracy of the list.)
Hinrichs Fotowerbung GmbH
Original Assignee
Hinrichs Fotowerbung GmbH
Priority date (The priority date is an assumption and is not a legal conclusion. Google has not performed a legal analysis and makes no representation as to the accuracy of the date listed.)
Filing date
Publication date
Application filed by Hinrichs Fotowerbung GmbH filed Critical Hinrichs Fotowerbung GmbH
Publication of EP0479150A2 publication Critical patent/EP0479150A2/de
Publication of EP0479150A3 publication Critical patent/EP0479150A3/de
Withdrawn legal-status Critical Current

Links

Images

Classifications

    • GPHYSICS
    • G09EDUCATION; CRYPTOGRAPHY; DISPLAY; ADVERTISING; SEALS
    • G09FDISPLAYING; ADVERTISING; SIGNS; LABELS OR NAME-PLATES; SEALS
    • G09F13/00Illuminated signs; Luminous advertising
    • G09F13/04Signs, boards or panels, illuminated from behind the insignia
    • G09F13/08Signs, boards or panels, illuminated from behind the insignia using both translucent and non-translucent layers
    • G09F13/10Signs, boards or panels, illuminated from behind the insignia using both translucent and non-translucent layers using transparencies
    • GPHYSICS
    • G09EDUCATION; CRYPTOGRAPHY; DISPLAY; ADVERTISING; SEALS
    • G09FDISPLAYING; ADVERTISING; SIGNS; LABELS OR NAME-PLATES; SEALS
    • G09F13/00Illuminated signs; Luminous advertising
    • G09F13/04Signs, boards or panels, illuminated from behind the insignia

Definitions

  • the invention relates to a light box for slides or the like in an embodiment according to the preamble of claim 1.
  • Lightboxes for slides of the aforementioned type with a support frame made of transparent profiled strips are used in particular to hold slides, which form sections of a large-format overall view.
  • the large format slide display is formed by stacking the light boxes containing the individual slides one above the other.
  • the support panes are arranged by support frames at a distance from the front edges in order to be able to fully and freely illuminate the recorded slide by the light source located in the interior of the base body.
  • the visible transparent support disks are arranged in profile strips, which in turn are held as a support frame on at least two opposite sides on the inner edge region of the circumferential box wall by locking clips made of spring steel.
  • the back Carrier washer is glued to the carrier frame to ensure sufficient stability.
  • the support frame which consists of four profile bar sections in this rectangular light box, can be opened on the top for a slide change by opening the upper profile bar section. An articulated connection is necessary for this. Overall, therefore, this light box builds relatively complex, which is associated with a time-consuming and material-intensive assembly.
  • the invention solves the problem based on a light box of the type mentioned in the preamble of claim 1 by the features specified in the characterizing part of claim 1. With regard to essential further refinements, reference is made to claims 2 to 9.
  • the light box according to the invention accommodates in its shaped recesses running along the outer surfaces of the light box base body a support frame which is formed by transparent profiled strips, which is easy to manufacture and can be assembled with little effort, with plug-in lugs which can be inserted into the shaped recesses, and one along the outer surfaces of the Light box extending leg-shaped edge support are formed.
  • a support frame is formed overall, the transparent support panes of which are accommodated on the front side in a groove of the profile strips and can be positioned in a torsionally rigid manner and just in relation to the front surface of the light box.
  • a spacer for the support plates is achieved which, when several light boxes are arranged in a modular wall, enables complete illumination without visually disturbing edge shadows in the area of the contact surfaces of the light boxes.
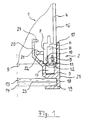
  • Fig. 1 the overall designated 1 light box body is shown in a frontal corner area in a broken cross-section such that the position of a support frame 2 designed as a profile strip 3 is illustrated in the inserted state.
  • the light box base body 1 has an outer wall 4, which is extended on a front side 5 towards the interior of the light box base body 1 as an angled shaped recess 6.
  • This recess 6 extends from the outer wall 4 starting from an inside parallel to this leg 7, so that a groove space 8 is formed as an intermediate space.
  • this groove space 8 is a plug-in projection 9, which has an inner clamping leg 10 and an outer clamping leg 11, as far as pushed into the light box base body 1 that a contact surface 12 come to rest on the front side 5.
  • the profile strip 3, which is fixed in position by the plug-in projection 9, is additionally received in a tilt-stable manner on the light box base body 1.
  • the length of the edge support 15 is greater than that of the plug-in projection 9, so that when a tilting moment acts, the support action against the outer wall 4 prevents a positional shift or an unwanted pivoting out of the profiled strip section.
  • the clamping action of the plug-in projection 9 in the groove space 8 and the clamping action of the edge support 15 are sufficiently dimensioned overall for a replacement or a tilting of the support frame 2.
  • the profile strip 3 has a hollow profile chamber 17 for the purpose of spacing and stabilization, from the front of which a projection 19 forming a groove 18 for receiving the carrier disks 13, 14 protrudes.
  • this hollow profile chamber 17 with the support disks 13, 14 located in front of it can achieve a light distribution on the front support disk 14 that extends into the edge area without shadow formation.
  • the radiation of the light source generated in the light box base body 1 can emerge laterally through the spacing area of the hollow profile chamber 17 and thus brings about a shadow-free, diffuse light distribution in this zone, which is particularly common when strung together several light boxes in a modular wall has a positive effect on the overall visual impression.
  • the hollow profile chamber 17 as a regular geometric cross-section with preferably the same wall thickness, a high torsion resistance of the support frame 2 is achieved.
  • the profile strip 3 has a latching hook shape projection 20 which, in the tilted position of the profile strip 3, bears against a contact surface 21 on the inner surface of the light box base body 1.
  • this contact surface 21 is formed by an abutment web 22 which is integrally formed on the leg 7 of the groove space 8.
  • the profile strip 3 is shown tilted out of the groove space 8.
  • the support frame 2 is laterally held by the abutment of the edge support 15 on the outer surface 16 of the outer wall 4 and the locking of the locking hook shape approach 20 on the contact surface 21 of the abutment web 22, so that the support disks 13, 14 can be easily removed upwards and between them slide which can be brought into a gap 23 can be changed.
  • an upper profile strip section (not shown) of the support frame 2 is moved forward from the light box base body 1 deducted and then the two profile strips 3, which are now accessible on the front side, can be tilted with the carrier disks 13, 14, the upper open side being easily accessible and the profile strip on the lower opposite side (not shown) remaining in the inserted position.
  • the profile strip sections are brought back into the inserted position in reverse order.
  • Fig. 3 the cross section of a profile strip 3 is shown in an individual representation. It is clear that by appropriate geometrical design of the connector 9, e.g. With the inner and outer clamping legs 10, 11 pointing obliquely outwards and a corresponding inclined position of the edge support 15 towards the inside during assembly, the stability of the clamping connection of the support frame 2 on the light box base body 1 can be improved overall.

Landscapes

  • Physics & Mathematics (AREA)
  • General Physics & Mathematics (AREA)
  • Engineering & Computer Science (AREA)
  • Theoretical Computer Science (AREA)
  • Packaging Frangible Articles (AREA)
  • Mirrors, Picture Frames, Photograph Stands, And Related Fastening Devices (AREA)

Abstract

Die Erfindung bezieht sich auf einen Leuchtkasten für Diapositive oder dgl. mit einem z. B. kastenförmigen Grundkörper sowie mit einem an diesem frontseitig festlegbarem, durch transparente Profilleisten gebildeten Trägerrahmen mit nutenförmigen Aufnahmeräumen für sichtbare transparente Trägerscheiben eines Diapositivs. Der Trägerrahmen (2) weist zumindest einen in grundkörperseitige Formausnehmungen (6) einbringbaren Stechansatz (9) sowie eine an Außenflächen (16) des Leuchtkastengrundkörpers (1) anlegbare schenkelförmige Randabstützung (15) auf. <IMAGE>

Description

  • Die Erfindung bezieht sich auf einen Leuchtkasten für Diapositive oder dgl. in einer Ausgestaltung nach dem Oberbegriff des Anspruchs 1.
  • Leuchtkästen für Diapositive der vorgenannten Art mit einem Trägerrahmen aus transparenten Profilleisten dienen insbesondere zur Aufnahme von Diapositiven, die Auschnitte einer großformatigen Gesamtdarstellung bilden. Die großformatige Diapositivdarstellung wird durch Über- und Nebeneinanderanordnung der die einzelnen Diapositive enthaltenen Leuchtkästen gebildet. Um das Diapositiv auch in den Randbereichen des Leuchtkastens auszuleuchten, sind die Trägerscheiben durch Trägerrahmen mit Abstand vor den Stirnkanten angeordnet, um das aufgenommene Diapositiv durch die im Inneren des Grundkörpers befindliche Lichtquelle voll und ungehindert ausleuchten zu können.
  • Bei einem bekannten, ein- oder doppelseitig ausgebildeten Leuchtkasten mit einem rechteckkastenförmigen Grundkörper sind die sichtbaren transparenten Trägerscheiben in Profilleisten angeordnet, die ihrerseits als Trägerrahmen zumindest an zwei gegenüberliegenden Seiten am inneren Randbereich der umfangsbegrenzenden Kastenwand durch Verriegelungsklammern aus Federstahl gehalten sind. Die rückseitige Trägerscheibe ist mit dem Trägerrahmen verklebt, um eine hinreichende Stabilität gewährleisten zu können.
  • Der bei diesem rechteckigen Leuchtkasten aus vier Profilleistenabschnitten bestehende Trägerrahmen kann dabei oberseitig für einen Diawechsel geöffnet werden, indem der obere Profilleistenabschnitt aufgeklappt wird. Dazu ist eine Gelenkverbindung notwendig. Insgesamt baut mithin dieser Leuchtkastens relativ aufwendig, womit eine zeit- und materialaufwendige Montage einhergeht.
  • Der Erfindung liegt die Aufgabe zugrunde, einen Leuchtkasten der eingangs genannten Art derart zu schaffen, der eine sichere Abstützung der Trägerscheiben bei einfacher Wechselmöglichkeit eines Diapositivs bietet und gleichfalls jedoch mit vermindertem Aufwand zu montieren und zu handhaben ist.
  • Die Erfindung löst die Aufgabe ausgehend von einem Leuchtkasten der im Oberbegriff des Anspruchs 1 genannten Art durch die im kennzeichnenden Teil des Anspruchs 1 angegebenen Merkmale. Hinsichtlich wesentlicher weiterer Ausgestaltungen wird auf die Ansprüche 2 bis 9 verwiesen.
  • Der Leuchtkasten nach der Erfindung nimmt in seinen entlang der Außenflächen des Leuchtkastengrundkörpers randseitig verlaufenden Formausnehmungen einen Trägerrahmen auf, der durch transparente Profilleisten gebildet ist, die in einfach herzustellender und mit geringem Aufwand montierbarer Ausführung mit in die Formausnehmungen einbringbaren Steckansätzen sowie einer sich entlang der Außenflächen des Leuchtkastens erstreckenden schenkelförmigen Randabstützung ausgebildet sind. Mit dieser Kombination von Rast- und Stützelementen wird insgesamt ein Trägerrahmen gebildet, dessen frontseitig in einer Nut der Profilleisten aufgenommene transparente Trägerscheiben verwindungssteif und eben zur Frontfläche des Leuchtkastens positionierbar sind. Mit der Ausbildung einer Hohlprofilkammer in der Profilleiste zwischen Steckansatz sowie Randabstützung und dem die Trägerscheiben aufnehmenden frontseitigen Formansatz wird eine Abstandshalterung für die Trägerplatten erreicht, die bei der Anordnung mehrerer Leuchtkästen in einer modularen Wand eine vollständige Ausleuchtung ohne optisch störende Randschatten im Bereich der Anlageflächen der Leuchtkästen zueinander ermöglicht.
  • Mit dieser Ausbildung des Trägerrahmens des Leuchtkastens mit Profilleisten, die einstückig sowohl eine stabile Steckverbindung mit dem Leuchtkastengrundkörper als auch eine Aufnahme der Trägerscheiben ermöglichen, ist der Wechsel von Diapositiven sowohl am einzelnen Leuchtkasten als auch in einem modularen Wandaufbau schnell und mit geringem Aufwand möglich.
  • Weitere Einzelheiten und Vorteile der Erfindung ergeben sich aus der nachfolgenden Beschreibung und der Zeichnung, in der ein Ausführungsbeispiel des Gegenstandes der Erfindung näher veranschaulicht ist. Die zugehörigen Zeichnungen zeigen:
  • Fig. 1
    einen abgebrochenen Querschnitt durch einen Leuchtkastengrundkörper im Eckbereich mit einer einen Trägerrahmen bildenden eingesteckten Profilleiste,
    Fig. 2
    eine Darstellung gemäß Fig. 1 mit dem Trägerrahmen in einer verkippten Stellung, und
    Fig. 3
    eine Profilleiste gemäß Fig. 1 und 2 im Querschnitt.
  • In Fig. 1 ist der insgesamt mit 1 bezeichnete Leuchtkastengrundkörper in einem frontalen Eckbereich derart in einem abgebrochenen Querschnitt dargestellt, daß die Lage eines als eine Profilleiste 3 ausgebildeten Trägerrahmens 2 im eingesteckten Zustand verdeutlicht wird. Der Leuchtkastengrundkörper 1 weist dabei eine Außenwand 4 auf, die an einer Frontseite 5 zum Innenraum des Leuchtkastengrundkörpers 1 hin als eine abgewinkelte Formausnehmung 6 erweitert ist. Diese Formausnehmung 6 erstreckt sich von der Außenwand 4 ausgehend zu einem innenseitig parallel zu dieser verlaufenden Schenkel 7, so daß ein Nutraum 8 als Zwischenraum gebildet ist. In diesen Nutraum 8 ist ein Steckansatz 9, der einen inneren Klemmschenkel 10 und einen äußeren Klemmschenkel 11 aufweist, soweit in den Leuchtkastengrundkörper 1 hineingeschoben, daß eine Berührungsfläche 12 an der Frontseite 5 zur Anlage kommen. Damit wird erreicht, daß die Profilleiste 2 eine ausgerichtete Lage zum Leuchtkastengrundkörper 1 einnimmt, da damit die Lage einer inneren Trägerscheibe 13 und einer äußeren Trägerscheibe 14 zur Frontseite 5 des Leuchtkastengrundkörpers 1 ebenfalls festgelegt ist.
  • Mit einer schenkelförmigen Randabstützung 15, die zumindest teilweise eine Außenfläche 16 der Außenwand 4 umfaßt, wird die durch den Steckansatz 9 lagefixierte Profilleiste 3 zusätzlich kippstabil am Leuchtkastengrundkörper 1 aufgenommen. In vorteilhafter Ausgestaltung ist die Länge der Randabstützung 15 größer als die des Steckansatzes 9, so daß bei Wirkung eines Kippmomentes die Stützwirkung gegen die Außenwand 4 eine Lageverschiebung oder ein ungewolltes Herausschwenken des Profilleistenabschnittes verhindert. Andererseits sind die Klemmwirkung des Steckansatzes 9 in dem Nutraum 8 und die Klemmwirkung der Randabstützung 15 für eine Auswechslung bzw. eine Verkippung des Trägerrahmens 2 insgesamt ausreichend bemessen.
  • Die Profilleiste 3 weist zur Abstandshalterung und Stabilisierung eine Hohlprofilkammer 17 auf, von der frontseitig ein eine Nut 18 für die Aufnahme der Trägerscheiben 13, 14 bildender Formansatz 19 hervorragt. Bei der Ausbildung des Trägerrahmens 2 aus transparentem PVC ist mit dieser Hohlprofilkammer 17 mit den frontseitig davor liegenden Trägerscheiben 13, 14 eine Lichtverteilung an der frontseitigen Tragerscheibe 14 erzielbar, die bis in den Randbereich ohne Schattenbildung reicht. Die im Leuchtkastengrundkörper 1 erzeugte Strahlung der Lichtquelle kann durch den Abstandsbereich der Hohlprofilkammer 17 seitlich austreten und bringt damit in dieser Zone eine schattenfrei, diffuse Lichtverteilung, die sich vor allem beim Aneinanderreihen mehrerer Leuchtkästen in einer modularen Wand positiv auf den optischen Gesamteindruck auswirkt. Durch die Ausbildung der Hohlprofilkammer 17 als eine im Querschnitt regelmäßige geometrische Form mit vorzugsweise gleicher Wandstärke ist eine hohe Tosionssteife des Trägerrahmens 2 erreicht.
  • Von der Hohlprofilkammer 17 ausgehend weist die Profilleiste 3 einen Rasthakenformansatz 20 auf, der in Kippstellung der Profilleiste 3 an einer Anlagefläche 21 an der Innenfläche des Leuchtkastengrundkörpers 1 anliegt. In vorteilhafter Ausführung ist diese Anlagefläche 21 durch einen Widerlagersteg 22 gebildet, der an dem Schenkel 7 des Nutraumes 8 angeformt ist. Mit einer einstückigen Anformung des Rasthakenformansatzes 20 an die Profilleiste 3 sind verschiedene Möglichkeiten der Ausbildung eines Widerlagers gegeben, da die Länge des Rasthakenformansatzes 20 bezüglich der Lage und der Ausbildung einer Anlagefläche 24 an der Innenseite des Leuchtkastengrundkörpers 1 mit geringem Aufwand anpaßbar sind. Mit einer Ausformung des Rasthakenformansatzes 20 nur bereichsweise etwa im Bodenbereich von einander gegenüberliegenden Längsseiten der den Trägerrahmen 2 bildenden Profilleisten 3, kann der durch den Abstand zwischen Anlagefläche 24 am Rasthakenformansatz 20 und der Anlagefläche 21 am Widerlager 22 gegebene mögliche Kippwinkel des Trägerrahmens 2 entsprechend variabel gestaltet werden. Bei bereichsweise kurzen Rasthakenformansätzen 20 an den gegenüberliegenden Profilleisten 3 wird ein großer Kippwinkel an der geöffneten oberen Leuchtkastenseite erreichbar.
  • In Fig. 2 ist die Profilleiste 3 aus dem Nutraum 8 verkippt dargestellt. Dabei wird der Trägerrahmen 2 durch die Anlage der Randabstützung 15 an der Außenfläche 16 der Außenwand 4 und die Arretierung des Rasthakenformansatzes 20 an der Anlagefläche 21 des Widerlagersteges 22 seitlich gehaltert, so daß die Trägerscheiben 13, 14 mühelos nach oben entnehmbar sind und das zwischen sie in einem Spalt 23 verbringbare Diapositiv gewechselt werden kann. Vor diesem Kippvorgang wird ein oberer Profilleistenabschnitt (nicht dargestellt) des Tragrahmens 2 nach vorn vom Leuchtkastengrundkörper 1 abgezogen und danach können die beiden nunmehr stirnseitig zugänglichen Profilleisten 3 mit den Trägerscheiben 13, 14 gekippt werden, wobei die obere offene Seite mühelos zugänglich ist und die Profilleiste der unteren Gegenseite (nicht dargestellt) in der eingesteckten Lage verbleibt. Nach dem Diawechsel werden die Profilleistenabschnitte in umgekehrter Reihenfolge wieder in die eingesteckte Lage verbracht.
  • In Fig. 3 ist in einer Einzeldarstellung der Querschnitt einer Profilleiste 3 dargestellt. Dabei wird deutlich, daß durch entsprechende geometrische Gestaltung des Steckansatzes 9, z.B. mit schräg nach außen weisenden inneren und äußeren Klemmschenkeln 10, 11 sowie entsprechender, bei Montage vorspannungserzeugender Schrägstellung der Randabstützung 15 nach innen, die Stabilität der Klemmverbindung des Trägerrahmens 2 am Leuchtkastengrundkörper 1 insgesamt noch verbesserbar ist.
  • Für den Aufbau einer modularen Wand aus mehreren Leuchtkästen 1, die entsprechend aneinandergereiht bzw. aufeinander gestapelt sind, ist die exakte Positionierung der Leuchtkästen 1 in einer frontalen Ebene einfach erreichbar, da die Profilleisten 3 eine zur Außenfläche 16 des Leuchtkastens 1 parallele Außenumrandung 25 aufweisen und damit eine genaue Basisanlage gegeben ist.

Claims (9)

  1. Leuchtkasten für Diapositive oder dgl. mit einem z.B. kastenförmigen Grundkörper sowie mit einem an diesem frontseitig festlegbarem, durch transparente Profilleisten gebildeten Trägerrahmen mit nutenförmigen Aufnahmeräumen für sichtbare transparente Trägerscheiben eines Diapositivs, dadurch gekennzeichnet, daß der Trägerrahmen (2) zumindest einen in grundkörperseitige Formausnehmungen (6) einbringbaren Steckansatz (9) sowie eine an Außenflächen (16) des Leuchtkastengrundkörpers (1) anlegbare schenkelförmige Randabstützung (15) aufweist.
  2. Leuchtkasten nach Anspruch 1, dadurch gekennzeichnet, daß die den Trägerrahmen (2) bildenden Profilleisten (3) eine Hohlprofilkammer (17) aufweisen, an die sich einerseits die schenkelförmige Randabstützung (15) sowie der Steckansatz (9) und andererseits ein den nutenförmigen Aufnahmeraum bildender Formansatz (19) anschließen.
  3. Leuchtkasten nach Anspruch 1 und 2, dadurch gekennzeichnet, daß der Steckansatz (9) sich entlang der Profilleiste erstreckt und zwei elastisch ausgebildete Schenkel (10,11) aufweist, die in die als durchgehender Nutraum (8) ausgebildete Formausnehmung (6) eingreifen.
  4. Leuchtkasten nach Anspruch 1 bis 3, dadurch gekennzeichnet, daß die Länge der Randabstützung (15) größer ist als die Länge des Steckansatzes (9).
  5. Leuchtkasten nach einem der Ansprüche 1 bis 4, dadurch gekennzeichnet, daß die Profilleiste (3) zumindest bereichsweise einen von der Hohlprofilkammer (17) zum Leuchtkastengrundkörper (1) hin ausgerichteten Rasthakenformansatz (20) aufweist.
  6. Leuchtkasten nach Anspruch 5, dadurch gekennzeichnet, daß die im montierten Zustand dem Bodenbereich des Leuchtkastengrundkörpers (1) zugewandter Bereich der die Längsseiten des Trägerrahmens (2) bildenden Profilleisten (3) mit dem Rasthakenformansatz (20) versehen ist.
  7. Leuchtkasten nach Anspruch 5 und 6, dadurch gekennzeichnet, daß der Rasthakenformansatz (20) in Kippstellung der Profilleisten (3) an zumindest einer durch einen Widerlagersteg (22) gebildeten Anlagefläche (21) an der Innenseite des Leuchtkastengrundkörpers (1) abstützbar ist.
  8. Leuchtkasten nach Anspruch 7, dadurch gekennzeichnet, daß der Abstand zwischen Anlagefläche (24) am Rasthakenformansatz (20) und dem Widerlagersteg (22) den Kippwinkel der Trägerscheiben (13,14) bestimmt.
  9. Leuchtkasten nach einem der Ansprüche 1 bis 8, dadurch gekennzeichnet, daß die Außenflächen der schenkelförmigen Randabstützung (15) bündig mit der Außenfläche der Hohlprofilkammer (17) und dem die Nut (18) bildenden Formansatz (19) eine zur Außenfläche (16) des Leuchtkastengrundkörpers (1) parallele Außenumrandung (25) bildet.
EP19910116533 1990-10-02 1991-09-27 Light box Withdrawn EP0479150A3 (en)

Applications Claiming Priority (2)

Application Number Priority Date Filing Date Title
DE9013738U DE9013738U1 (de) 1990-10-02 1990-10-02 Leuchtkasten
DE9013738U 1990-10-02

Publications (2)

Publication Number Publication Date
EP0479150A2 true EP0479150A2 (de) 1992-04-08
EP0479150A3 EP0479150A3 (en) 1993-05-19

Family

ID=6858006

Family Applications (1)

Application Number Title Priority Date Filing Date
EP19910116533 Withdrawn EP0479150A3 (en) 1990-10-02 1991-09-27 Light box

Country Status (2)

Country Link
EP (1) EP0479150A3 (de)
DE (1) DE9013738U1 (de)

Cited By (1)

* Cited by examiner, † Cited by third party
Publication number Priority date Publication date Assignee Title
EP0785538A1 (de) * 1996-01-18 1997-07-23 Schuler's Handelsonderneming Soest B.V. Leuchtkasten und dazugehöriges streifenförmiges Profil

Families Citing this family (3)

* Cited by examiner, † Cited by third party
Publication number Priority date Publication date Assignee Title
DE9013738U1 (de) * 1990-10-02 1991-02-21 Hinrichs Fotowerbung GmbH, 4504 Georgsmarienhütte Leuchtkasten
DE9409040U1 (de) * 1994-06-03 1994-09-08 FOCUS NEON GmbH, 91161 Hilpoltstein Schaukasten zur Präsentation von Durchlichtbildern
DE102018122985A1 (de) * 2018-09-19 2020-03-19 Elkamet Kunststofftechnik Gmbh Leuchtreklameanordnung und Leuchtreklame

Family Cites Families (3)

* Cited by examiner, † Cited by third party
Publication number Priority date Publication date Assignee Title
GB2056148B (en) * 1979-05-21 1983-02-23 Hill M L Box signs
DE3113649C2 (de) * 1981-04-04 1983-07-07 Werbelicht Kg, Rudolf Jeroma, 2800 Bremen Blendrahmen aus Strangpreßprofil-Holmen und hiermit ausgestattetes kastenförmiges Lichtwerbeelement
DE9013738U1 (de) * 1990-10-02 1991-02-21 Hinrichs Fotowerbung GmbH, 4504 Georgsmarienhütte Leuchtkasten

Cited By (1)

* Cited by examiner, † Cited by third party
Publication number Priority date Publication date Assignee Title
EP0785538A1 (de) * 1996-01-18 1997-07-23 Schuler's Handelsonderneming Soest B.V. Leuchtkasten und dazugehöriges streifenförmiges Profil

Also Published As

Publication number Publication date
EP0479150A3 (en) 1993-05-19
DE9013738U1 (de) 1991-02-21

Similar Documents

Publication Publication Date Title
DE4006004C2 (de)
EP0634616B1 (de) Kühlschranktür
DE3038719C2 (de) Baugruppenträger für elektronische Baugruppen
EP0264857A1 (de) Lichtbandfähige Langfeldleuchte
DE2625202C3 (de) Haushaltgerät z.B. Geschirrspülmaschine mit einem frontseitigen Sockelrücksprung
EP0456104B1 (de) Stützprofil für ein Ladenbausystem oder dergleichen
DE4006213A1 (de) Vorrichtung zur aufnahme eines tafelelements
EP0479150A2 (de) Leuchtkasten
DE2833894C2 (de) Leuchte für eine stabförmige Leuchtstofflampe
DE2758261C3 (de) Leuchtenraster
DE19818930C2 (de) Präsentationshalterung mit Rahmen und Rückwand
DE3346593C2 (de)
DE3300337C2 (de) Vorrichtung zum Haltern eines langgestreckten Leuchtenunterteils an einem langgestreckten Leuchtenoberteil
EP1665954A1 (de) Präsentationsvorrichtung
DE4316996C2 (de) Vorrichtung zur Präsentation von flächenhaften Objekten
EP0860831B1 (de) Vorrichtung zur Aufnahme von mehreckigen Datenträgern oder von in mehreckigen Gehäusen oder Hüllen angeordneten Datenträgern
DE102010049130A1 (de) Abdeckvorrichtung für ein Möbel und damit ausgestattetes Möbel
DE2839974A1 (de) Rahmenloser bildtraeger
DE29703848U1 (de) Zusammensteckbare Arbeitsfläche für eine Leiter
DE3144934A1 (de) Verkaufsstand oder regal mit auf einem sockelkasten angeordnetem aufsatz
DE4413647C2 (de) Mehrteiliges Gehäuse für elektrische Geräte und/oder zum Einsatz elektronischer Baugruppen
DE1489416C (de) Leuchte mit mehreren langge streckten Lampen
DE2645665A1 (de) Leuchte, sogenannte lichtleiste
DE2325833A1 (de) Frontrahmen fuer die sichtscheiben eines elektrischen anzeigegeraetes
DE29615810U1 (de) Präsentationswand

Legal Events

Date Code Title Description
PUAI Public reference made under article 153(3) epc to a published international application that has entered the european phase

Free format text: ORIGINAL CODE: 0009012

AK Designated contracting states

Kind code of ref document: A2

Designated state(s): AT CH DE LI NL

PUAL Search report despatched

Free format text: ORIGINAL CODE: 0009013

AK Designated contracting states

Kind code of ref document: A3

Designated state(s): AT CH DE LI NL

17P Request for examination filed

Effective date: 19930614

17Q First examination report despatched

Effective date: 19941205

STAA Information on the status of an ep patent application or granted ep patent

Free format text: STATUS: THE APPLICATION HAS BEEN WITHDRAWN

18W Application withdrawn

Withdrawal date: 19950928