EP0341440B1 - Ventilsteuervorrichtung mit Magnetventil für Brennkraftmaschinen - Google Patents
Ventilsteuervorrichtung mit Magnetventil für Brennkraftmaschinen Download PDFInfo
- Publication number
- EP0341440B1 EP0341440B1 EP89106472A EP89106472A EP0341440B1 EP 0341440 B1 EP0341440 B1 EP 0341440B1 EP 89106472 A EP89106472 A EP 89106472A EP 89106472 A EP89106472 A EP 89106472A EP 0341440 B1 EP0341440 B1 EP 0341440B1
- Authority
- EP
- European Patent Office
- Prior art keywords
- valve
- accumulator
- spring
- space
- piston
- Prior art date
- Legal status (The legal status is an assumption and is not a legal conclusion. Google has not performed a legal analysis and makes no representation as to the accuracy of the status listed.)
- Expired - Lifetime
Links
- 238000002485 combustion reaction Methods 0.000 title claims description 7
- 230000005540 biological transmission Effects 0.000 claims description 26
- 239000012530 fluid Substances 0.000 claims description 9
- 230000033001 locomotion Effects 0.000 claims description 8
- 230000000694 effects Effects 0.000 claims description 5
- 238000007599 discharging Methods 0.000 claims 1
- 239000000446 fuel Substances 0.000 description 4
- 239000000203 mixture Substances 0.000 description 4
- 230000002349 favourable effect Effects 0.000 description 2
- 239000007788 liquid Substances 0.000 description 2
- 238000004519 manufacturing process Methods 0.000 description 2
- 238000000034 method Methods 0.000 description 2
- 230000003068 static effect Effects 0.000 description 2
- 208000026139 Memory disease Diseases 0.000 description 1
- 230000004323 axial length Effects 0.000 description 1
- 230000018109 developmental process Effects 0.000 description 1
- 239000003344 environmental pollutant Substances 0.000 description 1
- 230000005284 excitation Effects 0.000 description 1
- 230000006984 memory degeneration Effects 0.000 description 1
- 231100000719 pollutant Toxicity 0.000 description 1
- 238000009423 ventilation Methods 0.000 description 1
Images
Classifications
-
- F—MECHANICAL ENGINEERING; LIGHTING; HEATING; WEAPONS; BLASTING
- F01—MACHINES OR ENGINES IN GENERAL; ENGINE PLANTS IN GENERAL; STEAM ENGINES
- F01L—CYCLICALLY OPERATING VALVES FOR MACHINES OR ENGINES
- F01L13/00—Modifications of valve-gear to facilitate reversing, braking, starting, changing compression ratio, or other specific operations
- F01L13/0015—Modifications of valve-gear to facilitate reversing, braking, starting, changing compression ratio, or other specific operations for optimising engine performances by modifying valve lift according to various working parameters, e.g. rotational speed, load, torque
- F01L13/0031—Modifications of valve-gear to facilitate reversing, braking, starting, changing compression ratio, or other specific operations for optimising engine performances by modifying valve lift according to various working parameters, e.g. rotational speed, load, torque by modification of tappet or pushrod length
-
- F—MECHANICAL ENGINEERING; LIGHTING; HEATING; WEAPONS; BLASTING
- F01—MACHINES OR ENGINES IN GENERAL; ENGINE PLANTS IN GENERAL; STEAM ENGINES
- F01L—CYCLICALLY OPERATING VALVES FOR MACHINES OR ENGINES
- F01L9/00—Valve-gear or valve arrangements actuated non-mechanically
- F01L9/10—Valve-gear or valve arrangements actuated non-mechanically by fluid means, e.g. hydraulic
- F01L9/11—Valve-gear or valve arrangements actuated non-mechanically by fluid means, e.g. hydraulic in which the action of a cam is being transmitted to a valve by a liquid column
- F01L9/12—Valve-gear or valve arrangements actuated non-mechanically by fluid means, e.g. hydraulic in which the action of a cam is being transmitted to a valve by a liquid column with a liquid chamber between a piston actuated by a cam and a piston acting on a valve stem
- F01L9/14—Valve-gear or valve arrangements actuated non-mechanically by fluid means, e.g. hydraulic in which the action of a cam is being transmitted to a valve by a liquid column with a liquid chamber between a piston actuated by a cam and a piston acting on a valve stem the volume of the chamber being variable, e.g. for varying the lift or the timing of a valve
-
- F—MECHANICAL ENGINEERING; LIGHTING; HEATING; WEAPONS; BLASTING
- F01—MACHINES OR ENGINES IN GENERAL; ENGINE PLANTS IN GENERAL; STEAM ENGINES
- F01L—CYCLICALLY OPERATING VALVES FOR MACHINES OR ENGINES
- F01L1/00—Valve-gear or valve arrangements, e.g. lift-valve gear
- F01L1/34—Valve-gear or valve arrangements, e.g. lift-valve gear characterised by the provision of means for changing the timing of the valves without changing the duration of opening and without affecting the magnitude of the valve lift
- F01L1/344—Valve-gear or valve arrangements, e.g. lift-valve gear characterised by the provision of means for changing the timing of the valves without changing the duration of opening and without affecting the magnitude of the valve lift changing the angular relationship between crankshaft and camshaft, e.g. using helicoidal gear
- F01L1/3442—Valve-gear or valve arrangements, e.g. lift-valve gear characterised by the provision of means for changing the timing of the valves without changing the duration of opening and without affecting the magnitude of the valve lift changing the angular relationship between crankshaft and camshaft, e.g. using helicoidal gear using hydraulic chambers with variable volume to transmit the rotating force
- F01L2001/34423—Details relating to the hydraulic feeding circuit
- F01L2001/34446—Fluid accumulators for the feeding circuit
Definitions
- the invention relates to a valve control device for controlling the closing and opening times of an engine valve of an internal combustion engine actuated by a valve control cam of a camshaft via an axially displaceable valve tappet.
- an electromagnetic control valve controls the inflow and outflow of the pressure medium between the stroke transmission chamber and the return accumulator.
- the control valve is arranged in the pressure medium line, which connects the stroke transmission chamber to the return accumulator.
- the solenoid valve By opening the solenoid valve, the pressure medium line is released and the pressure medium flows under the action of the valve control cam, which on the one hand presses on the stroke transmission chamber, and on the other hand presses the valve tappet from the stroke transmission chamber into the return flow accumulator, which reduces the axial expansion of the stroke transmission chamber.
- valve tappet can thus move under the action of the valve closing spring in the direction of the valve control cam and thereby close the valve.
- the amount of fuel mixture drawn into the cylinder can thus be adapted to the different requirements in different operating states.
- the pressure medium flows out of the return accumulator via a bypass line that leads past the solenoid valve into the stroke transmission chamber, in order to determine the initial situation for the next valve open phase to restore.
- the valve opening times determine the fuel mixture metering and this amount should be precisely adapted to the respective requirement in order to achieve the most complete possible combustion with low pollutant development.
- the return accumulator is located at a relatively large distance from the stroke transmission chamber in connection with the solenoid control valve at the end of the pressure medium line in the cylinder head.
- the space requirement of the return accumulator and the production outlay on the cylinder head of the engine are also disadvantageous.
- the magnetic control valve according to the invention with the features of claims 1 and 4 has the advantage that the distance to be covered by the control fluid between the stroke transmission chamber and the return accumulator is significantly shorter, and thereby the initial state is reset more quickly.
- the use of the solenoid control valve according to the invention reduces the production outlay for the cylinder head and the space requirement of the entire valve control device in that the return accumulator is integrated in the solenoid valve and is eliminated as a separate component.
- either the valve member of the solenoid valve can be displaced together with this stop against the force of a second spring as a movable wall of the liquid reservoir, or it is designed according to claim 4, the valve member as a hollow cylinder with, after contact with a stop determining the opening stroke of the valve member a radially tightly guided and axially displaceable storage piston in the valve member, which is acted upon by the liquid flowing from the stroke transmission chamber into the storage space, resulting in a particularly simple and equally favorable structural design of the control valve.
- the magnet armature and the valve member require a much smaller range of motion. This makes the magnet armature easier to guide.
- the external dimensions of the control valve can be reduced.
- An advantageous embodiment of the invention results from the fact that a throttle bore in the valve member causes pressure equalization between the storage space and the armature space, which leads to the same pressure on both sides of the valve member and thereby to a reduction in the force opposing the closing movement.
- the pressure compensation via the throttle bore between the storage space and the armature space reduces the force required to close the solenoid valve; this has a favorable effect on the design of the electromagnet.
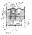
- FIG. 1 shows a longitudinal section through the valve control device with an uncut magnetic control valve according to the invention, in a simplified representation
- FIG. 2 shows the magnetic valve in longitudinal section
- FIG. 3 shows a variant of the magnetic control valve in the same representation
- FIG. 4 shows a further variant of the magnetic valve, in the same representation.
- valve control device shown in FIG. 1 for an intake or exhaust valve 10 of an internal combustion engine is between a valve member 11 Valve tappet 12 and a valve control cam 14 rotating with a camshaft 13.
- the valve tappet 12 is guided in an axially displaceable manner in a valve housing 15 and rests with the valve member 11 under the action of two valve closing springs 16, 17 on a valve seat 18 in the valve housing 15, which surrounds a valve inlet and outlet opening 19.
- the valve control device has a housing 20 placed on the valve housing 15, in which a housing chamber 21 is introduced in such a way that it is essentially aligned with a spring chamber 22 in the valve housing 15 surrounding the coaxial valve closing springs 16, 17.
- a housing block 23 having a central, axially continuous housing bore 24 is inserted into the housing chamber 21 from below.
- a valve piston 25 connected to the valve tappet 12 and a piston part 26 of a cam piston 27 arranged above it can be axially displaced in the housing bore 24.
- the cam piston 27 is pressed against the valve control cam 14 by a return spring 28 which is supported on the housing block 23.
- the piston part 26 is either firmly connected to the cup-shaped cam piston 27 or, as here, is held in a form-fitting manner on the cam piston 27 by the same return spring 28.
- the valve piston 25 and the piston part 26 delimit a stroke transmission chamber 29 filled with a pressure medium, here oil, whose axial length effective between the cam piston 27 and the valve piston 25 can be changed by relative movement of the pistons.
- the stroke transmission chamber 29 is connected via a line 30, on the one hand, to a magnetic control valve 31 and, on the other hand, to a storage container 32, a non-return valve 33 and a feed pump 34 being connected between the line 30 and the storage container 32.
- the oil volume present in the stroke transmission chamber 29 can be pushed via line 30 into a spring accumulator of the solenoid control valve 31 and back again. Leakage losses in the oil volume are replaced by the feed pump 34 and the check valve 33 from the reservoir 32.
- the solenoid valve 31 controls the oil volume and thus the axial expansion of the stroke transmission chamber 29.
- the solenoid control valve 31 shown in longitudinal section in FIG. 2 is connected with its valve inlet 35 to the section of the line 30 connected to the stroke transmission chamber 29.
- the valve inlet 35 is connected to a storage space 36 via a flow opening 37, the passage of which is from a valve member 38 is controlled.
- the valve member 38 is connected to an armature 39 of an electromagnet 40 and slidably guided in an axial bore 41 in the control valve housing 42.
- the storage space 36 for the pressure medium is limited by the valve member 38 and the valve housing 42.
- first spring 43 between the valve member 38 and the valve housing 42, which is supported on the one hand on the valve housing 42 and on the other hand on a stop disk 44 which is fixed via a stop bolt 45 fixed to the housing.
- the valve member 38 is pressed by the first spring 43 against a second stop disk 46, which in turn is fixed to a stop pin 48 fixed to the housing by a second spring 47.
- the first spring 43 holds the valve member 38 in the valve open position when the electromagnet 40 is not energized.
- the armature chamber 49 is connected to the crankcase (not shown) via a bore 50 in the control valve housing 42.
- the storage space 36 is also connected to the crankcase via a throttle bore 51 and a pressure-maintaining valve 52 opening towards the crankcase.
- the described valve control device with the magnetic control valve with integrated memory works as follows:
- the valve member 38 After energizing the electromagnet 40, the valve member 38 is first pressed onto the valve seat 53, as a result of which the flow opening 37 is closed. The stroke transmission chamber 29 is thereby shut off and the stroke movement of the cam piston 27 is transmitted in full to the valve piston 25 and thus the inlet valve 10, which thus cover the same stroke distance as the cam piston 27. Fuel mixture flows into the cylinder of the internal combustion engine, not shown. The closing process of the inlet valve 10 is initiated in accordance with the desired fuel mixture filling quantity by switching off the magnet. When the excitation current is switched off, the solenoid control valve 31 opens because the valve member 38 is pressed by the return spring 43 against the stop disk 46 into its open position.
- the valve piston 25 can now move upward out of the stroke transmission chamber 29 through the flow opening 37 in the solenoid control valve 31 into the storage space 36.
- the valve member 11 of the engine valve arrives on the valve seat, and the inlet valve 10 is closed.
- the amount of oil pressed out of the stroke transmission chamber 29 flows into the storage space 36 and moves the valve member 38 upward by overpressuring the spring 47.
- the flow cross section of the flow opening 37 increases at the same time, which promotes a rapid drainage of the oil from the stroke transmission chamber 29 and thus rapid closing of the inlet valve 10.
- the force of the springs 16 and 17 is greater than that of the spring 47, the force of which is in turn greater than that of the spring 43.
- the oil flows under the action of the spring 47 from the storage space 36 via the open flow opening 37 into itself expanding stroke transmission chamber 29 back.
- a connection from the armature chamber 49 via a bore in the solenoid valve housing 50 to the crankcase is advantageously provided.
- the storage space 36 is also connected to the crankcase via a throttle bore 51 and a pressure holding valve 52 connected to ensure that the static pressure in the storage space 36 does not become too large and that the solenoid valve is securely closed.
- the throttle 51 is primarily effective, so that the memory losses remain low.
- a throttle bore 51a is provided instead of the throttle bore 51, which connects the storage space 36 to the magnet armature space 49 and thereby effects the equalization of the static pressure on both sides of the valve member 38.
- the armature chamber 49 is connected to the crankcase on the one hand via a pressure-maintaining valve 54 opening towards the crankcase, and on the other hand via a check valve 55 opening towards the magnet armature chamber.
- the pressure equalization between the storage space 36 and the armature space 49 reduces the counterforce acting when the magnetic control valve closes.
- a further variant of the solenoid control valve 31 is shown, in which not the valve member 38 itself serves as a storage piston, but a separate storage piston 56 is positively fitted inside the valve member 38 'axially displaceable is.
- the valve member 38 ' is held in the open position when the solenoid 40 is not energized by a return spring 57 which engages the valve member 38' and presses it against the control valve housing 42.
- the storage piston 56 is pressed by a second spring 58, which is supported on the upper side of the valve member 38 'inside, against a stop 59 at the lower end of the valve member 38'.
- the valve member 38 has on its end facing the flow opening 37 a recess 60 through which the oil pressure of the inflowing from the stroke transmission chamber 29 oil can act on the accumulator piston 56. This deflects upward by overpressing the spring 58. After appropriate rotation of the valve control cam 14, the spring 58 presses the accumulator piston 56 down again and thus presses the oil through the flow opening 37 and the line 30 back into the stroke transmission chamber 29. Also in this variant, the prescribed measures for pressure compensation between the accumulator 36 and the magnet armature can 49 or spring chamber 61 are made.
- the valve member 38 'and the control valve housing 42 advantageously have at their respective upper end recesses 62 and 63, which establish a connection between the spring chamber 61 and the crankcase.
Landscapes
- Engineering & Computer Science (AREA)
- Mechanical Engineering (AREA)
- General Engineering & Computer Science (AREA)
- Valve Device For Special Equipments (AREA)
- Valve-Gear Or Valve Arrangements (AREA)
Description
- Die Erfindung geht aus von einer Ventilsteuervorrichtung zum Steuern der Schließ- und Öffnungszeit eines von einem Ventilsteuernocken einer Nockenwelle über einen axial verschiebbaren Ventilstößel betätigten Motorventils einer Brennkraftmaschine nach der Gattung des Hauptanspruchs.
- Bei einer durch die DE-A 35 32 549 und die EP-A 196 441 bekannten Ventilsteuervorrichtung dieser Art steuert ein elektromagnetisches Steuerventil den Zu- und Abfluß des Druckmittels zwischen der Hubübertragungskammer und dem Rücklaufspeicher. Das Steuerventil ist in der Druckmittelleitung angeordnet, die die Hubübertragungskammer mit dem Rücklaufspeicher verbindet. Durch Öffnen des Magnetventils wird die Druckmittelleitung freigegeben und das Druckmittel strömt unter der Wirkung des auf die Hubübertragungskammer einerseits drückenden Ventilsteuernockens und andererseits drückenden Ventilstößels aus der Hubübertragungskammer in den Rücklaufspeicher, wodurch sich die axiale Ausdehnung der Hubübertragungskammer verkleinert. Trotz weiterer Hubbewegung des Ventilsteuernockens in Richtung Ventilöffnung kann sich damit der Ventilstößel unter der Wirkung der Ventilschließfeder in Richtung auf den Ventilsteuernocken zubewegen und dadurch das Ventil schließen. Je nach Festlegung des Schließzeitpunktes kann somit die in den Zylinder angesaugte Kraftstoffgemischmenge an den unterschiedlichen Bedarf bei verschiedenen Betriebszuständen angepaßt werden. Sobald die Druckwirkung des Ventilsteuernockens nachläßt, strömt das Druckmittel aus dem Rücklaufspeicher über eine an dem Magnetventil vorbeiführende Bypassleitung in die Hubübertragungskammer zurück, um die Ausgangssituation für die nächste Ventiloffenphase wiederherzustellen. Dabei ist es wichtig, daß dies auch bei hohen Motor- und damit Nockenwellendrehzahlen möglichst verzögerungsfrei geschieht, da die Ventilöffnungszeiten die Kraftstoffgemischzumessung bestimmen und diese Menge dem jeweiligen Bedarf genau angepaßt sein sollte, um eine möglichst vollständige Verbrennung mit geringer Schadstoffentwicklung zu erreichen. Die Verzögerung ist umso geringer je kürzer der Weg zwischen Speicher und Hubübertragungskammer ist. Bei der genannten bekannten Ventilsteuervorrichtung befindet sich der Rücklaufspeicher in relativ großer Entfernung von der Hubübertragungskammer im Anschluß an das Magnetsteuerventil am Ende der Druckmittelleitung im Zylinderkopf. Außer den relativ weiten Wegen, die das Druckmittel zwischen der Hubübertragungskammer und dem Speicher Zurücklegen muß, ist auch der Platzbedarf des Rücklaufspeichers und der Fertigungsaufwand am Zylinderkopf des Motors von Nachteil.
- Das erfindungsgemäße Magnetsteuerventil mit den Merkmalen der Patentansprüche 1 und 4 hat demgegenüber den Vorteil, daß der von der Steuerflüssigkeit zwischen Hubübertragungskammer und Rücklaufspeicher zurückzulegende Weg deutlich kürzer ist und dadurch die Wiedereinstellung des Ausgangszustandes schneller erfolgt. Gleichzeitig wird durch die Verwendung des erfindungsgemäßen Magnetsteuerventils der Fertigungsaufwand für den Zylinderkopf und der Platzbedarf der gesamten Ventilsteuervorrichtung dadurch verringert, daß der Rücklaufspeicher in das Magnetventil integriert ist und als eigenes Bauteil wegfällt.
- Dabei ist entweder nach Patentanspruch 1 das Ventilglied des Magnetventils zusätzlich nach Anlage an einen den Öffnungshub des Ventilglieds bestimmenden Anschlag zusammen mit diesem Anschlag gegen die Kraft einer zweiten Feder als bewegliche Wand des Flüssigkeitsspeicher verschiebbar oder es ist nach Patentanspruch 4 das Ventilglied als Hohlzylinder ausgebildet, mit einem im Ventilglied radial dicht geführten und axial verschiebbaren Speicherkolben, der durch die aus der Hubübertragungskammer in den Speicherraum strömende Flüssigkeit beaufschlagt ist, wodurch sich ein besonders einfacher und ebenso günstiger konstruktiver Aufbau des Steuerventils ergibt. Der Magnetanker und das Ventilglied benötigen einen weit geringeren Bewegungsspielraum. Der Magnetanker ist dadurch leichter zu führen. Die Außenmaße des Steuerventils können verringert werden.
- Eine vorteilhafte Ausgestaltung der Erfindung ergibt sich dadurch, daß durch eine Drosselbohrung im Ventilglied ein Druckausgleich zwischen dem Speicherraum und dem Magnetankerraum bewirkt wird, was zu demselben Druck beidseits des Ventilglieds und dadurch zu einer Verringerung der der Schließbewegung entgegenwirkenden Kraft führt. Der Druckausgleich über die Drosselbohrung zwischen Speicherraum und Magnetankerraum verringert die zum Schließen des Magnetventils notwendige Kraft; dies wirkt sich günstig auf die Auslegung des Elektromagneten aus.
- Die erfindungsgemäße Ventilsteuervorrichtung ist in der Zeichnung dargestellt und im folgenden näher beschrieben. Es zeigen Figur 1 einen Längsschnitt durch die Ventilsteuervorrichtung mit erfindungsgemäßem, ungeschnittenem Magnetsteuerventil, in vereinfachter Darstellung, Figur 2 das Magnetventil im Längsschnitt, Figur 3 eine Variante des Magnetsteuerventils in gleicher Darstellung und Figur 4 eine weitere Variante des Magnetventils, in gleicher Darstellung.
- Die in Figur 1 dargestellte Ventilsteuervorrichtung für ein Ein- oder Auslaßventil 10 einer Brennkraftmaschine, ist zwischen einem ein Ventilglied 11 tragenden Ventilstößel 12 und einem mit einer Nockenwelle 13 umlaufenden Ventilsteuernocken 14 angeordnet. Der Ventilstößel 12 ist in einem Ventilgehäuse 15 axial verschiebbar geführt und liegt mit dem Ventilglied 11 unter der Wirkung zweier Ventilschließfedern 16, 17 auf einem Ventilsitz 18 im Ventilgehäuse 15 auf, der eine Ventilein- bzw. Auslaßöffnung 19 umgibt.
- Die Ventilsteuervorrichtung weist ein auf das Ventilgehäuse 15 aufgesetztes Gehäuse 20 auf, in welchem eine Gehäusekammer 21 so eingebracht ist, daß sie mit einer die koaxialen Ventilschließfedern 16, 17 umschließenden Federkammer 22 im Ventilgehäuse 15 im wesentlichen fluchtet. In die Gehäusekammer 21 ist von unten her ein Gehäuseblock 23 eingeschoben, der eine zentrale, axial durchgehende Gehäusebohrung 24 aufweist. In der Gehäusebohrung 24 ist ein mit dem Ventilstößel 12 verbundener Ventilkolben 25 und ein darüber angeordneter Kolbenteil 26 eines Nockenkolbens 27 axial verschiebbar. Der Nockenkolben 27 wird von einer am Gehäuseblock 23 sich abstützenden Rückstellfeder 28 an den Ventilsteuernocken 14 angepreßt. Der Kolbenteil 26 ist entweder mit dem tassenförmigen Nockenkolben 27 fest verbunden oder wird wie hier über die gleiche Rückstellfeder 28 formschlüssig an dem Nockenkolben 27 gehalten.
- Der Ventilkolben 25 und der Kolbenteil 26 begrenzen eine mit einem Druckmittel, hier Öl, gefüllte Hubübertragungskammer 29, deren zwischen Nockenkolben 27 und Ventilkolben 25 wirksame axiale Länge durch Relativbewegung der Kolben zueinander verändert werden kann. Die Hubübertragungskammer 29 steht über eine Leitung 30 einerseits mit einem Magnetsteuerventil 31 und andererseits mit einem Vorratsbehälter 32 in Verbindung, wobei zwischen Leitung 30 und Vorratsbehälter 32 ein Rückschlagventil 33 und eine Förderpumpe 34 eingeschaltet sind. Über die Leitung 30 kann das in der Hubübertragungskammer 29 vorhandene Ölvolumen in einen Federspeicher des Magnetsteuerventils 31 und wieder zurück geschoben werden. Leckverluste im Ölvolumen werden über die Förderpumpe 34 und das Rückschlagventil 33 aus dem Vorratsbehälter 32 ersetzt. Das Magnetventil 31 steuert das Ölvolumen und damit die axiale Ausdehnung der Hubübertragungskammer 29.
- Das in Fig. 2 im Längsschnitt dargestellte Magnetsteuerventil 31 ist mit seinem Ventileinlaß 35 mit dem mit der Hubübertragungskammer 29 verbundenen Abschnitt der Leitung 30 verbunden. Der Ventileinlaß 35 ist mit einem Speicherraum 36 über eine Durchflußöffnung 37 verbunden, deren Durchgang von einem Ventilglied 38 gesteuert wird. Das Ventilglied 38 ist mit einem Anker 39 eines Elektromagneten 40 verbunden und in einer Axialbohrung 41 im Steuerventilgehäuse 42 verschiebbar geführt. Der Speicherraum 36 für das Druckmittel wird durch das Ventilglied 38 und das Ventilgehäuse 42 begrenzt. Auf der Seite der Durchflußöffnung 37 ist zwischen dem Ventilglied 38 und dem Ventilgehäuse 42 eine erste Feder 43 vorhanden, die sich einerseits am Ventilgehäuse 42 abstützt und andererseits an einer Anschlagscheibe 44, die über einen gehäusefesten Anschlagbolzen 45 fixiert ist. Bei nicht erregtem Elektromagneten 40 wird das Ventilglied 38 durch die erste Feder 43 gegen eine zweite Anschlagscheibe 46 gedrückt, die wiederum durch eine zweite Feder 47 an einem gehäusefesten Anschlagbolzen 48 fixiert ist. Durch die erste Feder 43 wird das Ventilglied 38 bei nicht erregtem Elektromagneten 40 in Ventiloffenstellung gehalten. Der Magnetankerraum 49 ist über eine Bohrung 50 im Steuerventilgehäuse 42 mit dem nicht dargestellten Kurbelgehäuse verbunden. Der Speicherraum 36 ist über eine Drosselbohrung 51 und ein zum Kurbelgehäuse hin öffnendes Druckhalteventil 52 ebenfalls mit dem Kurbelgehäuse verbunden.
- Die beschriebene Ventilsteuervorrichtung mit dem Magnetsteuerventil mit integriertem Speicher arbeitet wie folgt:
- Nach Erregen des Elektromagneten 40 wird zuerst das Ventilglied 38 auf den Ventilsitz 53 gepresst, wodurch die Durchflußöffnung 37 verschlossen wird. Die Hubübertragungskammer 29 ist dadurch abgesperrt und die Hubbewegung des Nockenkolbens 27 wird in vollem Umfang auf den Ventilkolben 25 und damit das Einlaßventil 10 übertragen, die damit den gleichen Hubweg zurücklegen wie der Nockenkolben 27. Kraftstoffgemisch strömt in den nicht dargestellten Zylinder des Verbrennungsmotors ein. Der Schließvorgang des Einlaßventils 10 wird entsprechend der gewünschten Kraftstoffgemischfüllmenge durch Abschalten des Magneten eingeleitet. Mit Abschalten des Erregerstroms öffnet das Magnetsteuerventil 31, da das Ventilglied 38 durch die Rückstellfeder 43 gegen die Anschlagscheibe 46 in ihre Offenstellung gedrückt wird. Unter der Wirkung der beiden Ventilschließfedern 16, 17 des Einlaßventils 10 kann sich nun der Ventilkolben 25 unter Ausschieben von Öl aus der Hubübertragungskammer 29 über die Durchflußöffnung 37 im Magnetsteuerventil 31 in den Speicherraum 36 nach oben bewegen. Das Ventilglied 11 des Motorventils gelangt auf den Ventilsitz, und das Einlaßventil 10 ist geschlossen. Die aus der Hubübertragungskammer 29 gedrückte Ölmenge fließt in den Speicherraum 36 und bewegt das Ventilglied 38 unter Überdrücken der Feder 47 nach oben. Dadurch vergrößert sich gleichzeitig der Strömungsquerschnitt der Durchflußöffnung 37, wodurch ein schnelles Abfließen des Öls aus der Hubübertragungskammer 29 und damit schnelles Schließen des Einlaßventils 10 begünstigt wird. Die Kraft der Federn 16 und 17 ist größer als die der Feder 47, deren Kraft wiederum größer ist als die der Feder 43.
- Beginnt nach entsprechender Drehung des Ventilsteuernockens 14 der Nockenkolben 27 sich wieder nach oben in Richtung auf seine in Fig. 1 dargestellte Lage zu bewegen, so strömt das Öl unter der Wirkung der Feder 47 aus dem Speicherraum 36 über die geöffnete Durchflußöffnung 37 in die sich wieder ausdehnende Hubübertragungskammer 29 zurück. Für den Druckausgleich im Magnetankerraum 49 während der Bewegung des Ventilglieds 38 ist vorteilhafterweise eine Verbindung vom Magnetankerraum 49 über eine Bohrung im Magnetventilgehäuse 50 zum Kurbelgehäuse vorgesehen. Der Speicherraum 36 ist über eine Drosselbohrung 51 und ein Druckhalteventil 52 ebenfalls mit dem Kurbelgehäuse verbunden, um sicherzustellen, daß der statische Druck im Speicherraum 36 nicht zu groß wird und sicheres Schließen des Magnetventils gewährleistet ist. Im dynamischen Betrieb ist primär die Drossel 51 wirksam, so daß die Speicherverluste gering bleiben.
- Bei der in Fig. 3 dargestellten Variante des Magnetsteuerventils 31 ist anstelle der Drosselbohrung 51 eine Drosselbohrung 51a vorgesehen, die den Speicherraum 36 mit dem Magnetankerraum 49 verbindet und dadurch den Ausgleich des statischen Drucks beidseits des Ventilglieds 38 bewirkt. Zum schnellen Be- und Entlüften ist der Magnetankerraum 49 zum einen über ein zum Kurbelgehäuse hin öffnendes Druckhalteventil 54, zum anderen über ein zum Magnetankerraum hin öffnendes Rückschlagventil 55 mit dem Kurbelgehäuse verbunden. Der Druckausgleich zwischen Speicherraum 36 und Magnetankerraum 49 verringert die beim Schließen des Magnetsteuerventils wirkende Gegenkraft.
- In Fig. 4 ist eine weitere Variante des Magnetsteuerventils 31 dargestellt, bei der nicht das Ventilglied 38 selbst als Speicherkolben dient, sondern ein separater Speicherkolben 56 formschlüssig im Innern des Ventilglieds 38′ axial verschiebbar eingepaßt ist. Das Ventilglied 38′ wird bei nicht erregter Magnetspule 40 durch eine Rückstellfeder 57, die am Ventilglied 38′ angreift und diese gegen das Steuerventilgehäuse 42 drückt, in Offenstellung gehalten. Der Speicherkolben 56 wird durch eine zweite Feder 58, die sich an der oberen Seite des Ventilglieds 38′ innen abstützt, gegen einen Anschlag 59 am unteren Ende des Ventilglieds 38′ gedrückt. Das Ventilglied 38′ weist an seiner zur Durchflußöffnung 37 hin gelegenen Stirnseite eine Ausnehmung 60 auf, durch die der Öldruck des von der Hubübertragungskammer 29 einströmenden Öls auf den Speicherkolben 56 wirken kann. Dieser weicht unter Überdrücken der Feder 58 nach oben aus. Nach entsprechender Drehung des Ventilsteuernockens 14 drückt die Feder 58 den Speicherkolben 56 wieder nach unten und presst damit das Öl durch die Durchflußöffnung 37 und die Leitung 30 zurück in die Hubübertragungskammer 29. Auch bei dieser Variante können die vorgeschriebenen Maßnahmen zum Druckausgleich zwischen Speicherraum 36 und Magnetankerraum 49 bzw. Federraum 61 vorgenommen werden. Das Ventilglied 38′ und das Steuerventilgehäuse 42 weisen vorteilhafterweise an ihrem jeweiligen oberen Ende Ausnehmungen 62 bzw. 63 auf, die eine Verbindung zwischen Federraum 61 und dem Kurbelgehäuse herstellen. Dadurch wird die der Speicherkolbenbewegung entgegenwirkende Kraft verringert und der Steuerungsvorgang beschleunigt. Eine weitere Variante ergibt sich, wenn sich die Feder 58 nicht am Ventilglied 38′, sondern am Steuerventilgehäuse 42 abstützt. Dazu müssen lediglich die Federkräfte so bemessen sein, daß bei nicht erregtem Elektromagneten das Ventilglied 38′ in Offenstellung gehalten und der Speicherkolben 56 gleichzeitig gegen den Anschlag 59 gedrückt wird.
Claims (9)
- Ventilsteuervorrichtung zum Steuern der Schließ- und Öffnungszeit eines von einem Ventilsteuernocken (14) einer Nockenwelle (13) über einen axial verschiebbaren Ventilstößel (12) betätigten Ventils (10) einer Brennkraftmaschine mit einer zwischen dem Ventilsteuernocken (14) und dem Ventilstößel (12) angeordneten, flüssigkeitsgefüllten Hubübertragungskammer (29), die zur Änderung ihrer zwischen Ventilsteuernocken (14) und Ventilstößel (12) wirksamen Axialausdehnung einen durch ein Magnetventil (31) steuerbaren Kanal (30) zum Ablassen und Zuführen von Flüssigkeit aufweist, der anderen Endes in einen eine bewegliche Wand (38) aufweisenden Flüssigkeitsspeicher mündet, wobei das Magnetventil einen Elektromagneten (40) und ein Ventilglied (38) aufweist, das bei erregtem Elektromagneten gegen die Kraft einer Feder (43) in stirnseitiger Anlage an einem den Kanal (30) begrenzenden Ventilsitz (53) gebracht wird und das Ventilglied bei nicht erregtem Elektromagneten unter Einwirkung der Feder (43) an einen Anschlag (46) bewegt wird, dadurch gekennzeichnet, daß das Ventilglied (39) des Magnetventils (31) zugleich als bewegliche Wand des Flüssigkeitsspeichers dient, indem es über eine die Durchflußöffnung (37) des Kanals freigebende Stellung hinaus dadurch verstellbar ist, daß der Anschlag (46) nachgiebig ausgebildet und von einer zweiten, in Schließrichtung wirkenden und sich am Steuerventilgehäuse (42) abstützenden Feder (47) belastet ist, deren Kraftwirkung größer ist als die der ersten Feder, so daß das Ventilglied (38) bei Überdrücken der zweiten Feder (47) als Speicherkolben in Öffnungsrichtung ausweicht.
- Ventilsteuervorrichtung nach Anspruch 1, dadurch gekennzeichnet, daß zum Druckausgleich bei den Bewegungen des Ventilglieds (38) der Magnetankerraum (49) über eine Bohrung (50) in der Wand des Steuerventilgehäuses (42) mit dem Kurbelgehäuse verbunden ist, und daß der Speicherraum (36) über eine Drosselbohrung (51) im Steuerventilgehäuse (42) und ein zum Kurbelgehäuse hin öffnendes Druckhalteventil (52) ebenfalls mit dem Kurbelgehäuse verbunden ist, um zu verhindern, daß der Druck im Speicherraum (36) einen Maximalwert überschreitet.
- Ventilsteuervorrichtung nach Anspruch 1, dadurch gekennzeichnet, daß über eine Drosselbohrung (51a) im Ventilglied (38) ein Druckausgleich zwischen Speicherraum (36) und Magnetankerraum (49) erzielt wird, und daß der Magnetankerraum (49) über ein zum Kurbelgehäuse hin öffnendes Druckhalteventil (54) und über einen zum Magnetankerraum (49) hin öffnendes Rückschlagventil (55) über entsprechende Leitungen mit dem Kurbelgehäuse verbunden ist (Figur 3).
- Ventilsteuervorrichtung zum Steuern der Schließ- und Öffnungszeit eines von einem Ventilsteuernocken (14) einer Nockenwelle (13) über einen axial verschiebbaren Ventilstößel (12) betätigten Ventils (10) einer Brennkraftmaschine mit einer zwischen dem Ventilsteuernocken (14) und dem Ventilstößel (12) angeordneten, flüssigkeitsgefüllten Hubübertragungskammer (29), die zur Änderung ihrer zwischen Ventilsteuernocken (14) und Ventilstößel (12) wirksamen Axialausdehnung einen durch ein Magnetventil (31) steuerbaren Kanal (30) zum Ablassen und Zuführen von Flüssigkeit aufweist, der anderen Endes in einen eine bewegliche Wand (38) aufweisenden Flüssigkeitsspeicher mündet, wobei das Magnetventil einen Elektromagneten (40) und ein Ventilglied (38) aufweist, das bei erregtem Elektromagneten gegen die Kraft einer Feder (43) in stirnseitiger Anlage an einem den Kanal (30) begrenzenden Ventilsitz (53) gebracht wird und das Ventilglied bei nicht erregtem Elektromagneten unter Einwirkung der Feder (43) an einen Anschlag (46) bewegt wird, dadurch gekennzeichnet, daß das Ventilglied (39) des Magnetventils (31) zugleich als bewegliche Wand des Flüssigkeitsspeichers dient, wobei das Ventilglied (38') als Hohlzylinder ausgebildet ist, mit einem im Ventilglied (38') radial dicht geführten und axial verschiebbaren Speicherkolben (56), der durch die aus der Hubübertragungskammer (29) in den Speicherraum (36) strömende Flüssigkeit beaufschlagt ist (Figur 4).
- Ventilsteuervorrichtung nach Anspruch 4, dadurch gekennzeichnet, daß der obere Teil des Steuerventilgehäuses (42) den Anschlag (46') bildet.
- Ventilsteuervorrichtung nach Anspruch 4 oder 5, dadurch gekennzeichnet, daß der Speicherkolben (56) durch eine sich im Ventilglied (38') abstützende Feder (58) belastet ist, die den Speicherkolben (56) gegen einen am Ventilglied (38') angebrachten Anschlag (59) drückt.
- Ventilsteuervorrichtung nach einem der Ansprüche 4 bis 6, dadurch gekennzeichnet, daß das Ventilglied (38') auf der Seite des Magnetankers (39) eine Ausnehmung (62) aufweist, durch die der Kolbenfederraum (61) über eine Ausnehmung (63) im Magnetventilgehäuse (42) mit dem Kurbelgehäuse verbunden ist.
- Ventilsteuervorrichtung nach einem der Ansprüche 4 bis 7, dadurch gekennzeichnet, daß der Speicherraum (36) über eine Drosselbohrung (51) und ein zum Kurbelgehäuse hin öffnendes Druckhalteventil (52) mit dem Kurbelgehäuse verbunden ist.
- Ventilsteuervorrichtung nach einem der Ansprüche 4 bis 7, dadurch gekennzeichnet, daß eine Drosselbohrung im Speicherkolben (56) vorgesehen ist, die einen Druckausgleich zwischen Speicherraum (36) und Kolbenfederraum (61) bewirkt, und daß der Kolbenfederraum (61) über ein zum Kurbelgehäuse hin öffnendes Druckhalteventil und ein zum Kolbenfederraum (61) hin öffnendes Rückschlagventil über entsprechende Leitungen mit dem Kurbelgehäuse verbunden ist.
Applications Claiming Priority (2)
| Application Number | Priority Date | Filing Date | Title |
|---|---|---|---|
| DE3815668A DE3815668A1 (de) | 1988-05-07 | 1988-05-07 | Ventilsteuervorrichtung mit magnetventil fuer brennkraftmaschinen |
| DE3815668 | 1988-05-07 |
Publications (2)
| Publication Number | Publication Date |
|---|---|
| EP0341440A1 EP0341440A1 (de) | 1989-11-15 |
| EP0341440B1 true EP0341440B1 (de) | 1993-01-20 |
Family
ID=6353904
Family Applications (1)
| Application Number | Title | Priority Date | Filing Date |
|---|---|---|---|
| EP89106472A Expired - Lifetime EP0341440B1 (de) | 1988-05-07 | 1989-04-12 | Ventilsteuervorrichtung mit Magnetventil für Brennkraftmaschinen |
Country Status (4)
| Country | Link |
|---|---|
| US (1) | US4889084A (de) |
| EP (1) | EP0341440B1 (de) |
| JP (1) | JP2730593B2 (de) |
| DE (2) | DE3815668A1 (de) |
Families Citing this family (30)
| Publication number | Priority date | Publication date | Assignee | Title |
|---|---|---|---|---|
| JPH0357805A (ja) * | 1989-07-26 | 1991-03-13 | Fuji Heavy Ind Ltd | 可変バルブタイミング装置 |
| DE3929072A1 (de) * | 1989-09-01 | 1991-03-07 | Bosch Gmbh Robert | Ventilsteuervorrichtung mit magnetventil fuer brennkraftmaschinen |
| US4982706A (en) * | 1989-09-01 | 1991-01-08 | Robert Bosch Gmbh | Valve control apparatus having a magnet valve for internal combustion engines |
| DE3939066A1 (de) * | 1989-11-25 | 1991-05-29 | Bosch Gmbh Robert | Elektrohydraulische ventilsteuervorrichtung fuer brennkraftmaschinen |
| DE3939065A1 (de) * | 1989-11-25 | 1991-05-29 | Bosch Gmbh Robert | Hydraulische ventilsteuervorrichtung fuer brennkraftmaschinen |
| DE3939003A1 (de) * | 1989-11-25 | 1991-05-29 | Bosch Gmbh Robert | Hydraulische ventilsteuervorrichtung fuer brennkraftmaschinen |
| DE3939002A1 (de) * | 1989-11-25 | 1991-05-29 | Bosch Gmbh Robert | Hydraulische ventilsteuervorrichtung fuer eine mehrzylinder-brennkraftmaschine |
| DE9100751U1 (de) * | 1991-01-23 | 1992-05-27 | Ficht GmbH, 8011 Kirchseeon | Mechanisch-hydraulische Ventilsteuerung |
| DE4202506B4 (de) * | 1991-02-12 | 2005-11-10 | Volkswagen Ag | Variabler Ventiltrieb für ein Hubventil |
| US5193496A (en) * | 1991-02-12 | 1993-03-16 | Volkswagen Ag | Variable action arrangement for a lift valve |
| CH681825A5 (de) * | 1991-05-22 | 1993-05-28 | New Sulzer Diesel Ag | |
| US5451029A (en) * | 1992-06-05 | 1995-09-19 | Volkswagen Ag | Variable valve control arrangement |
| US5216988A (en) * | 1992-10-15 | 1993-06-08 | Siemens Automotive L.P. | Dual bucket hydraulic actuator |
| DE4307368A1 (de) * | 1993-03-09 | 1994-09-15 | Porsche Ag | Zylinderkopf für eine Brennkraftmaschine |
| DE4324837A1 (de) * | 1993-07-23 | 1995-01-26 | Schaeffler Waelzlager Kg | Vorrichtung zur Verstellung des Ventilhubes und der Steuerzeiten eines Gaswechselventils |
| US5540201A (en) * | 1994-07-29 | 1996-07-30 | Caterpillar Inc. | Engine compression braking apparatus and method |
| US5647318A (en) * | 1994-07-29 | 1997-07-15 | Caterpillar Inc. | Engine compression braking apparatus and method |
| US5526784A (en) * | 1994-08-04 | 1996-06-18 | Caterpillar Inc. | Simultaneous exhaust valve opening braking system |
| US6003497A (en) * | 1994-10-31 | 1999-12-21 | Caterpillar Inc. | Mechanically actuated hydraulically amplified fuel injector with electrically controlled pressure relief |
| US5996550A (en) * | 1997-07-14 | 1999-12-07 | Diesel Engine Retarders, Inc. | Applied lost motion for optimization of fixed timed engine brake system |
| US6412457B1 (en) | 1997-08-28 | 2002-07-02 | Diesel Engine Retarders, Inc. | Engine valve actuator with valve seating control |
| WO1999023363A1 (en) | 1997-11-04 | 1999-05-14 | Diesel Engine Retarders, Inc. | Lost motion full authority valve actuation system |
| WO2000012895A2 (en) | 1998-08-26 | 2000-03-09 | Diesel Engine Retarders, Inc. | Valve seating control device with variable area orifice |
| ATE454536T1 (de) | 1999-09-16 | 2010-01-15 | Diesel Engine Retarders Inc | Verfahren und vorrichtung zur kontrolle der ventilschliessgeschwindigkeit |
| ITTO20010271A1 (it) | 2001-03-23 | 2002-09-23 | Fiat Ricerche | Perfezionamenti ai motori a combustione interna con sistema idraulicoper l'azionamento variabile delle valvole del motore. |
| ITTO20010660A1 (it) * | 2001-07-06 | 2003-01-06 | Fiat Ricerche | Motore diesel pluricilindrico con azionamento variabile delle valvole. |
| EP2204566B1 (de) * | 2008-12-29 | 2011-06-29 | Fiat Group Automobiles S.p.A. | Adaptives Steuersystem des Luft-Kraftstoff-Verhältnisses einer Brennkraftmaschine mit einem variablen Ventilsteuerungssystem |
| DE102011007249A1 (de) * | 2011-04-13 | 2012-10-18 | Schaeffler Technologies AG & Co. KG | Druckspeicher für eine Hydraulikeinheit |
| CN103953413B (zh) * | 2014-03-21 | 2016-05-04 | 哈尔滨工程大学 | 多级增压气阀式排气机构 |
| CN103953412B (zh) * | 2014-03-21 | 2016-08-03 | 哈尔滨工程大学 | 分级增压式排气阀 |
Citations (1)
| Publication number | Priority date | Publication date | Assignee | Title |
|---|---|---|---|---|
| EP0196441A1 (de) * | 1985-03-30 | 1986-10-08 | Robert Bosch Gmbh | Ventilsteuervorrichtung |
Family Cites Families (8)
| Publication number | Priority date | Publication date | Assignee | Title |
|---|---|---|---|---|
| DE2840445C2 (de) * | 1978-09-16 | 1984-10-04 | M.A.N. Maschinenfabrik Augsburg-Nürnberg AG, 8500 Nürnberg | Hydraulische Vorrichtung zum Betätigen eines Gaswechselventils für Brennkraftmaschinen |
| DE2926327A1 (de) * | 1979-06-29 | 1981-01-29 | Volkswagenwerk Ag | Mechanisch-hydraulische ventilsteuerung |
| DE3048887A1 (de) * | 1980-12-23 | 1982-07-22 | Audi Nsu Auto Union Ag, 7107 Neckarsulm | Steuerbarer ventiltrieb, insbesondere fuer die gaswechselventile einer hubkolben-brennkraftmaschine |
| DE3135650A1 (de) * | 1981-09-09 | 1983-03-17 | Robert Bosch Gmbh, 7000 Stuttgart | "ventilsteuerung fuer hubkolben-brennkraftmaschinen mit mechanisch-hydraulischen bewegungsuebertragungsmitteln" |
| JPH0612058B2 (ja) * | 1984-12-27 | 1994-02-16 | トヨタ自動車株式会社 | 可変バルブタイミング・リフト装置 |
| DE3511820A1 (de) * | 1985-03-30 | 1986-10-02 | Robert Bosch Gmbh, 7000 Stuttgart | Ventilsteuervorrichtung fuer eine hubkolben-brennkraftmaschine |
| DE3532549A1 (de) * | 1985-09-12 | 1987-03-19 | Bosch Gmbh Robert | Ventilsteuervorrichtung |
| DE3604233A1 (de) * | 1986-02-11 | 1987-08-13 | Bosch Gmbh Robert | Ventilsteuervorrichtung fuer eine hubkolben-brennkraftmaschine |
-
1988
- 1988-05-07 DE DE3815668A patent/DE3815668A1/de not_active Withdrawn
-
1989
- 1989-02-17 US US07/311,803 patent/US4889084A/en not_active Expired - Fee Related
- 1989-04-12 EP EP89106472A patent/EP0341440B1/de not_active Expired - Lifetime
- 1989-04-12 DE DE8989106472T patent/DE58903317D1/de not_active Expired - Fee Related
- 1989-05-08 JP JP1113886A patent/JP2730593B2/ja not_active Expired - Fee Related
Patent Citations (1)
| Publication number | Priority date | Publication date | Assignee | Title |
|---|---|---|---|---|
| EP0196441A1 (de) * | 1985-03-30 | 1986-10-08 | Robert Bosch Gmbh | Ventilsteuervorrichtung |
Also Published As
| Publication number | Publication date |
|---|---|
| US4889084A (en) | 1989-12-26 |
| EP0341440A1 (de) | 1989-11-15 |
| DE58903317D1 (de) | 1993-03-04 |
| JPH01315605A (ja) | 1989-12-20 |
| JP2730593B2 (ja) | 1998-03-25 |
| DE3815668A1 (de) | 1989-11-16 |
Similar Documents
| Publication | Publication Date | Title |
|---|---|---|
| EP0341440B1 (de) | Ventilsteuervorrichtung mit Magnetventil für Brennkraftmaschinen | |
| DE3532549C2 (de) | ||
| DE60018347T2 (de) | Verbesserungen in einer variablen Ventilsteuereinrichtung für eine Brennkraftmaschine | |
| EP1042608B1 (de) | Kraftstoffversorgungsanlage einer brennkraftmaschine | |
| EP0196441B1 (de) | Ventilsteuervorrichtung | |
| DE69804297T2 (de) | Vorrichtung zum verstellen des hubvolumens und/oder des effektiven verdichtungsverhältnisses einer brennkraftmaschine während des betriebs | |
| EP0010683B1 (de) | Wassersteuerventil für eine Kraftfahrzeug-Klimaanlage, insbesondere Heizungsanlage, sowie Verfahren zu dessen Herstellung, insbesondere Justierung | |
| DE60200462T2 (de) | Brennkraftmaschine mit hydraulischer Vorrichtung zur variablen Betätigung der Ventile und Mittel zum Ausgleichen von Volumenänderungen der hydraulischen Flüssigkeit | |
| DE19647305C1 (de) | Vorrichtung zur elektromagnetischen Betätigung eines Gaswechselventils | |
| DE19624884C2 (de) | Elektromagnetisches Proportionaldruckregelventil | |
| EP0196438A2 (de) | Ventilsteuervorrichtung für eine Hubkolben-Brennkraftmaschine | |
| CH668621A5 (de) | Kraftstoffeinspritzanlage fuer eine brennkraftmaschine. | |
| EP0441909A1 (de) | Ventilsteuervorrichtung mit magnetventil für brennkraftmaschinen. | |
| DE3714762C2 (de) | ||
| EP1427917A1 (de) | Hydraulisch gesteuerter aktuator zur betätigung eines ventils | |
| DE3513461A1 (de) | Ventileinheit | |
| EP0281580B1 (de) | Brennstoffeinspritzvorrichttung für eine dieselbrennkraftmaschine | |
| DE3939002A1 (de) | Hydraulische ventilsteuervorrichtung fuer eine mehrzylinder-brennkraftmaschine | |
| DE69607230T2 (de) | Kraftstoffeinspritzpumpensteuerung | |
| DE3604233A1 (de) | Ventilsteuervorrichtung fuer eine hubkolben-brennkraftmaschine | |
| DE3512443C2 (de) | Kraftstoffeinspritzvorrichtung für eine Brennkraftmaschine | |
| DE3625664C2 (de) | ||
| DE826666C (de) | Hydraulischer Regler fuer Einspritzpumpen von Brennkraftmaschinen | |
| EP0323591A2 (de) | Zweipunkt-Spritzversteller | |
| DE4239040C2 (de) | Mechanisch-hydraulische Bewegungsübertragungsmittel zwischen einer Nockenwelle und einem Gaswechselventil einer Brennkraftmaschine |
Legal Events
| Date | Code | Title | Description |
|---|---|---|---|
| PUAI | Public reference made under article 153(3) epc to a published international application that has entered the european phase |
Free format text: ORIGINAL CODE: 0009012 |
|
| AK | Designated contracting states |
Kind code of ref document: A1 Designated state(s): DE FR GB IT |
|
| 17P | Request for examination filed |
Effective date: 19900405 |
|
| 17Q | First examination report despatched |
Effective date: 19910620 |
|
| RAP3 | Party data changed (applicant data changed or rights of an application transferred) |
Owner name: ROBERT BOSCH GMBH |
|
| GRAA | (expected) grant |
Free format text: ORIGINAL CODE: 0009210 |
|
| AK | Designated contracting states |
Kind code of ref document: B1 Designated state(s): DE FR GB IT |
|
| REF | Corresponds to: |
Ref document number: 58903317 Country of ref document: DE Date of ref document: 19930304 |
|
| GBT | Gb: translation of ep patent filed (gb section 77(6)(a)/1977) |
Effective date: 19921204 |
|
| ET | Fr: translation filed | ||
| ITF | It: translation for a ep patent filed | ||
| PLBE | No opposition filed within time limit |
Free format text: ORIGINAL CODE: 0009261 |
|
| STAA | Information on the status of an ep patent application or granted ep patent |
Free format text: STATUS: NO OPPOSITION FILED WITHIN TIME LIMIT |
|
| 26N | No opposition filed | ||
| PGFP | Annual fee paid to national office [announced via postgrant information from national office to epo] |
Ref country code: GB Payment date: 19960328 Year of fee payment: 8 |
|
| PGFP | Annual fee paid to national office [announced via postgrant information from national office to epo] |
Ref country code: FR Payment date: 19960416 Year of fee payment: 8 |
|
| PG25 | Lapsed in a contracting state [announced via postgrant information from national office to epo] |
Ref country code: GB Effective date: 19970412 |
|
| GBPC | Gb: european patent ceased through non-payment of renewal fee |
Effective date: 19970412 |
|
| PG25 | Lapsed in a contracting state [announced via postgrant information from national office to epo] |
Ref country code: FR Free format text: LAPSE BECAUSE OF NON-PAYMENT OF DUE FEES Effective date: 19971231 |
|
| REG | Reference to a national code |
Ref country code: FR Ref legal event code: ST |
|
| PGFP | Annual fee paid to national office [announced via postgrant information from national office to epo] |
Ref country code: DE Payment date: 20040614 Year of fee payment: 16 |
|
| PG25 | Lapsed in a contracting state [announced via postgrant information from national office to epo] |
Ref country code: IT Free format text: LAPSE BECAUSE OF NON-PAYMENT OF DUE FEES;WARNING: LAPSES OF ITALIAN PATENTS WITH EFFECTIVE DATE BEFORE 2007 MAY HAVE OCCURRED AT ANY TIME BEFORE 2007. THE CORRECT EFFECTIVE DATE MAY BE DIFFERENT FROM THE ONE RECORDED. Effective date: 20050412 |
|
| PG25 | Lapsed in a contracting state [announced via postgrant information from national office to epo] |
Ref country code: DE Free format text: LAPSE BECAUSE OF NON-PAYMENT OF DUE FEES Effective date: 20051101 |