EP0302384A1 - Abstützvorrichtung zur Anordnung auf der Oberseite eines Skis - Google Patents
Abstützvorrichtung zur Anordnung auf der Oberseite eines Skis Download PDFInfo
- Publication number
- EP0302384A1 EP0302384A1 EP88112170A EP88112170A EP0302384A1 EP 0302384 A1 EP0302384 A1 EP 0302384A1 EP 88112170 A EP88112170 A EP 88112170A EP 88112170 A EP88112170 A EP 88112170A EP 0302384 A1 EP0302384 A1 EP 0302384A1
- Authority
- EP
- European Patent Office
- Prior art keywords
- ski
- support device
- depression
- opening
- upper side
- Prior art date
- Legal status (The legal status is an assumption and is not a legal conclusion. Google has not performed a legal analysis and makes no representation as to the accuracy of the status listed.)
- Withdrawn
Links
- 230000027455 binding Effects 0.000 claims abstract description 22
- 238000009739 binding Methods 0.000 claims abstract description 22
- 230000007423 decrease Effects 0.000 claims description 2
- 239000000853 adhesive Substances 0.000 claims 1
- 230000001070 adhesive effect Effects 0.000 claims 1
- 210000003205 muscle Anatomy 0.000 abstract description 2
- 230000003247 decreasing effect Effects 0.000 description 3
- 238000009415 formwork Methods 0.000 description 2
- 239000000463 material Substances 0.000 description 2
- 238000000034 method Methods 0.000 description 2
- 210000002346 musculoskeletal system Anatomy 0.000 description 2
- 230000007704 transition Effects 0.000 description 2
- 238000004026 adhesive bonding Methods 0.000 description 1
- 239000011324 bead Substances 0.000 description 1
- 230000000694 effects Effects 0.000 description 1
- 230000001771 impaired effect Effects 0.000 description 1
- 238000007373 indentation Methods 0.000 description 1
- 238000003780 insertion Methods 0.000 description 1
- 230000037431 insertion Effects 0.000 description 1
- 239000002184 metal Substances 0.000 description 1
- 230000004048 modification Effects 0.000 description 1
- 238000012986 modification Methods 0.000 description 1
- 230000002093 peripheral effect Effects 0.000 description 1
- 238000003466 welding Methods 0.000 description 1
Images
Classifications
-
- A—HUMAN NECESSITIES
- A63—SPORTS; GAMES; AMUSEMENTS
- A63C—SKATES; SKIS; ROLLER SKATES; DESIGN OR LAYOUT OF COURTS, RINKS OR THE LIKE
- A63C5/00—Skis or snowboards
- A63C5/06—Skis or snowboards with special devices thereon, e.g. steering devices
Definitions
- the invention relates to a support device for arrangement on the top of a ski.
- the invention also relates to a ski with a support device arranged on its upper side, and also to a block for attachment to a ski and for preventing the skis from overlapping with an integrated support device.
- the object of the present invention is to prevent the ski pole ends from slipping when they are supported on the surface of the upper side of the ski.
- a support device for arrangement on the top of a ski and for supporting a ski pole end, with an opening or recess into which the ski pole end can be inserted.
- the support device advantageously has a support wall lying on the top of the ski and delimiting the opening or depression.
- the support device it is particularly advantageous to use the support device to provide a slot through which the end of the ski pole can be inserted parallel to the plane of the ski tread in the region of the opening or depression. This ensures that the skier does not have to hit the opening or recess exactly with the end of the ski pole. Rather, he can also insert the end of the ski stick into the opening or recess through the slot, which makes handling much easier.
- a ski in which a support device for supporting a ski pole end, with an opening or recess receiving the ski pole end, is arranged on its upper side.
- the support device can be designed both as a separate part and integrated into the surface of the top of the ski.
- a block for attachment to a ski and to prevent the skis from overlapping in that a support device for supporting a ski pole end is integrated with an opening or recess into which the ski pole end can be inserted.
- the use of such a block is widespread.
- additional fastening measures only for the support device, can be dispensed with.
- a pair of skis consists of a left ski 1 and a right ski 2.
- blades 3 and 4 are arranged which are bent upwards, ie bent out of the image plane.
- On the treads 5 and 6 opposite tops 7 and 8 are for connection required binding parts arranged with the ski boots.
- Fig. 1 shows the skis 1 and 2 only over half the length. Approximately in the middle of the skis and thus in FIG. 1 on the left edge, binding heads 9 and 10 are arranged on the upper sides 7 and 8, respectively.
- support devices 11 and 12 are arranged on the upper sides 7 and 8 in the direction of the blades 3 and 4.
- the exact position of the support devices 11, 12 on the upper sides 7, 8 can be determined as desired by the skier.
- the support devices 11, 12 are arranged on the other side of the bindings, namely between the bindings and the ski ends on the ski tops. This enables the skier to lean backwards.
- the support devices 11, 12 are arranged, albeit at a slight distance, from other parts on the ski tops 7, 8, they can be glued to the ski, screwed to it or welded to the ski surface.
- FIG. 2 shows the support device 12 on an enlarged scale compared to FIG. 1 and in a side view.
- the support device 12 is designed as a flat disk which is convexly curved on its upper side 13 and has a recess 14 in the center. This is designed in the direction of the tread 6 with a conically decreasing diameter.
- the support device 12 is attached with its underside, namely the support wall 15, to the top 8 of the ski 2.
- the support wall 15 has a double function. On the one hand, it serves to fasten the support device 12 on Ski 2. In addition, it delimits the depression 14 in the direction of the upper side 8.
- the depression 14 has a round cross section.
- the top 13 of the support device 12 is provided with a slot 16. This extends from the outer edge 17 to the depression 14.
- the slot 16 becomes increasingly narrow in the direction of the depression 14, so that its diameter at the outer edge 17 is greater than in the region of the depression 14.
- the depth of the slot 16 is determined by a guide plane 18 limited.
- the guide plane 18 and thus the slot 16 is not as deep as the support wall 15 or the depression 14. As a result, an edge 19 is formed in the region of the transition between the slot 16 and the depression 14.
- the end of a ski pole is inserted into the recess 14 from above.
- the process is facilitated by the conical cross-sectional configuration of the recess 14.
- Due to the arrangement of the slot 16 the end of the ski pole can also be inserted laterally into the recess 14. Here too, this is initially achieved by the H. easier in the area of the outer edge 17, larger slot diameter.
- the edge 19 between the slot 16 and the depression 14 prevents the ski pole end from slipping out of the depression 14 again.
- the support device 12 is provided with a plate-shaped end piece. This extends in the same plane as the support wall 15 and is very flat. 3, the support device 12 is attached to the top 8 of the ski 2 by placing the end piece 20 between the binding head 10 and the ski 2 and screwing it onto the ski 2 together with the binding head 10.
- the bore 21 with screw 22 required for this purpose is shown in dashed lines in FIG. 3 poses.
- the bore 21 extends through the binding head 10 onto the end piece 20 into the ski 2.
- two fastening screws are provided per binding head. The advantage of this type of attachment is that no additional attachment of the support device 12 to the top 8 of the ski 2 is required.
- FIG. 3a shows a support device 12 integrated in the binding head 10.
- the binding head 10 has on its top 23 a quarter-shaped indentation 25 surrounded by a bead 24. This is also formed with a decreasing cross section, as is the depression 14 described with reference to FIGS. 1 to 3.
- Fig. 4 shows a wider advantageous embodiment of the support device 12, but not in a side view, but in section.
- the depression 14 here has a particularly flat wall 26 in the edge region. This merges into a steep, advantageously almost vertical wall 27 only near the center of the depression 14.
- a peripheral edge 28 is formed in the region of the transition between the walls 26 and 27. Due to the flat wall 26, the depression 14 is made very wide in the entrance area and thus enables an easy insertion of the ski pole end. Due to the circumferential edge 28, the ski pole once inserted can only slide out of the side with great difficulty.
- the support device according to FIG. 4 is provided with a slot corresponding to FIGS. 1 to 3.
- Fig. 5 shows the simplest form of a support device 12 in plan view. Accordingly, this only consists of a ring-shaped web 29, the ends 30, 31 not abut each other, and the ski pole end can be inserted either directly or via the gap 32 between the web ends 30, 31 into the opening 33 formed by the ring shape of the web 29.
- the intermediate space 32 is designed with a cross section that decreases in the direction of the opening 33.
- the support device 12 according to FIG. 5 is designed as a closed ring without a space 32 and, in another embodiment, not shown here, the opening 33 is corresponding to the depression 14 with a decreasing diameter toward the top 8 of the ski 2 educated.
- FIG. 7 shows a side view of a block 34 arranged on the upper side 8 of the ski for preventing the skis 1 and 2 from overlapping, with an integrated support device 12.
- the block 34 is arranged in the front area of the ski 2 near the shovel 4, which is not shown in FIG. 7.
- the arrow 35 points in the direction of the blade 4 and the arrow 36 accordingly points in the direction of the binding head 10.
- the design of the block 34 is known and usually corresponds to a box-shaped hollow profile which is open in the direction of travel.
- the block 34 is connected in the region of its bottom wall 37 to the top 8 of the ski 2. As before, the connection is made by gluing, screwing or welding.
- the bottom wall 37 extends beyond the box profile of the block 34 in the direction of the arrow 36 and forms an extension 38.
- the depression 14 is embedded in the extension 38 and is shown in broken lines in FIGS. 7 and 8. Due to the skewed shape of the block 34 in the direction of the arrow 36 and the position of the block in the area of the shovel 4, it is not possible to insert the end of the ski pole directly from above.
- the side walls 39, 40 delimiting the depression 14 are designed to be inclined in such a way that the end of the ski pole is optimal in a line from the shoulder of the skier can be inserted obliquely forward into the support device 12.
- the embodiment according to FIG. 8 shows a modification compared to FIG. 7.
- the support device 12 and the block 34 are each designed here as a separate part.
- the support device 12 has an end piece 41 which is flat and can be connected to the block 34 by interposing it between the block 34 and the ski 2. This is done by a screw connection, a screw 42 serving as a fastening means via a vertical bore 43 in the block 34, the end piece 41 and the ski 2.
- FIGS. 9 and 10 show a further embodiment of the support device 12.
- the top 8 has a depression 44 with a very flat wall 45 and a bottom surface 46.
- the flat wall 45 on the one hand enables the ski stick end to be inserted easily into the depression 14 formed by the depression 44 and also ensures that the stability of the ski is not impaired.
- the trough 44 is provided with a form-fitting formwork 47 made of metal, hard plastic or another hard material.
- the formwork 47 is provided with a circumferential collar 48. This extends beyond the trough 44 and lies on the top 8.
- the end of the ski pole can be inserted into the recess 44 via a notch arranged in the upper side 8.
- the notch is in accordance with the slot 16 according to the embodiments of FIG 1 to 3 are formed.
- slots or notches are provided in the individual embodiments, these are arranged laterally next to the depression 14 or opening 33 or trough 44 relative to the direction of the ski. 1, the slot 16 is arranged facing outwards, i. H. on the right ski 2 to the right of the depression 14 and on the left ski 1 to the left of the depression 14. This makes it easier to insert the ski pole end into the support device 11 or 12, particularly in the case of skis which are close together not so easily slip out of the recess 14 or the opening 33 or the trough 44 opposite to the running direction.
- the support devices 11, 12 are made of an injection-moldable material, in particular plastic.
Landscapes
- Fittings On The Vehicle Exterior For Carrying Loads, And Devices For Holding Or Mounting Articles (AREA)
Abstract
Das Aufsetzen eines Skistocks auf die Oberseite eines Skis zum Zwecke der Entlastung des Bewegungsapparates des Skiläufers führt leicht zum Abrutschen des Skistockendes von der Skioberseite. Außerdem können Beschädigungen der Skioberfläche auftreten. Auf der der Lauffläche (6) des Skis (2) gegenüberliegenden Oberseite (8) ist eine Abstützvorrichtung (12) angeordnet. Die Abstützvorrichtung (12) kann außerdem in den Bindungskopf (10) integriert sein. Die Abstützvorrichtung ist in Verbindung mit einem beliebigen Ski anzuwenden (Fig. 1).
Description
- Die Erfindung betrifft eine Abstützvorrichtung zur Anordnung auf der Oberseite eines Skis.
- Die Erfindung betrifft außerdem einen Ski mit einer auf seiner Oberseite angeordneten Abstützvorrichtung sowie weiterhin einen Block zur Befestigung auf einem Ski und zur Verhinderung des Überschneidens der Skier mit einer integrierten Abstützvorrichtung.
- Die der Natur des Skilaufens innewohnende ständige Belastung des menschlichen Bewegungsapparates führt dazu, daß ein Skiläufer jede sich bietende Gelegenheit zur Lockerung nutzt. Dies gilt gleichermaßen für Alpinski läufer und für Skilangläufer. Leider ist der Skiläufer jedoch mittels der Bindung fest mit dem Ski verbunden und demnach nicht so beweglich, wie es zur Lockerung des Bewegungsapparats wünschenswert wäre. Aus diesem Grunde beschränkt sich die Lockerung oftmals darauf, die Wirbelsäule durch Aufstützen der Skistöcke zu entlasten. Sofern der Untergrund nicht gerade vereist ist, ist es zu diesem Zweck erforderlich, die Skistockenden auf den Oberseiten der Skier aufzusetzen. Naturgemäß ist diese glatt ausgebildet, so daß das untere Skistockende leicht abrutschen kann. Dies erfordert ein Nachfassen des Skiläufers und eine erneute Verkrampfung der Muskulatur. Außerdem wird die Oberfläche der Skioberseite durch das Abrutschen beschädigt.
- Aufgabe der vorliegenden Erfindung ist es, ein Abrutschen der Skistockenden beim Aufstützen derselben auf der Oberfläche der Skioberseite zu verhindern.
- Die Aufgabe wird erfindungsgemäße gelöst durch eine Abstützvorrichtung zur Anordnung auf der Oberseite eines Skis und zum Abstützen eines Skistockendes, mit einer Öffnung oder Vertiefung, in die das Skistockende einführbar ist. Durch das Einführen des Skistockendes in die Öffnung oder Vertiefung wird ein seitliches Abrutschen des Skistockes wirksam verhindert. Zudem können keine durch das Abrutschen bedingte Kratzer auf der Oberfläche der Skioberseite entstehen.
- Vorteilhafterweise weist die Abstützvorrichtung eine auf der Skioberseite aufliegende und die Öffnung oder Vertiefung begrenzende Stützwandung auf. Dadurch ist die Oberfläche der Skioberseite vollends vor den Einwirkungen des spitzen Skistockendes geschützt, so daß auch nach dem Entfernen der Abstützvorrichtung keine Spuren des Skistockendes auf der Oberfläche verbleiben.
- Besonders vorteilhaft ist es, die Abstützvorrichtung mit einem Schlitz zu versehen, durch den das Skistockende parallel zur Ebene der Skilauffläche in den Bereich der Öffnung oder Vertiefung einführbar ist. Dadurch wird erreicht, daß der Skiläufer nicht genau mit dem Skistockende die Öffnung oder Vertiefung treffen muß. Er kann das Skistockende vielmehr auch über den Schlitz in die Öffnung oder Vertiefung einführen, wodurch die Handhabung wesentlich erleichtert wird.
- Die Aufgabe wird außerdem gelöst durch einen Ski, bei dem auf seiner Oberseite eine Abstützvorrichtung zum Abstützen eines Skistockendes, mit einer das Skistockende aufnehmenden Öffnung oder Vertiefung, angeordnet ist. Die Abstützvorrichtung kann sowohl als separates Teil, als auch in die Oberfläche der Skioberseite integriert ausgebildet sein.
- Weiterhin wird die Aufgabe erfindungsgemäß gelöst durch einen Block zur Befestigung auf einem Ski und zur Verhinderung des Überschneidens der Skier, indem eine Abstützvorrichtung zum Abstützen eines Skistockendes, mit einer Öffnung oder Vertiefung, in die das Skistockendes einführbar ist, integriert ist. Die Verwendung eines derartigen Blocks ist weit verbreitet. Bei Integration der Abstützvorrichtung in dem Block kann auf zusätzliche Befestigungsmaßnahmen, nur für die Abstützvorrichtung, verzichtet werden.
- Weitere erfindungswesentliche Merkmale sind den Unteransprüchen und den nachfolgenden Beispielen bevorzugter Ausführungsformen zu entnehmen, die anhand von Abbildungen näher erläutert werden. Es zeigen:
- Fig. 1 eine Draufsicht auf die Oberseite eines Paares Skier mit Bindungskopfteilen und Abstützvorrichtungen;
- Fig. 2 eine Seitenansicht eines Skis mit einer Abstützvorrichtung gemäß Fig. 1;
- Fig. 3 eine Seitenansicht eines Skis mit einer gegenüber Fig. 2 modifizierten Abstützvorrichtung, wobei diese mit Hilfe des Bindungskopfes am Ski befestigt ist;
- Fig. 3a eine Seitenansicht eines Skis mit einer in den Bindungskopf integrierten Abstützvorrichtung;
- Fig. 4 einen Längsschnitt durch einen Ski mit einer nochmals modifizierten Abstützvorrichtung;
- Fig. 5 Draufsicht auf eine auf der Skioberseite angeordnete weitere Abstützvorrichtung;
- Fig. 6 einen Schnitt durch die Abstützvorrichtung gemäß Fig. 5 entlang der Linie VI-VI;
- Fig. 7 eine Seitenansicht eines auf der Skioberseite angeordneten Blocks zur Verhinderung des Überschneidens der Skier mit integrierter Abstützvorrichtung;
- Fig. 8 eine Seitenansicht eines Blocks gemäß Fig. 7, jedoch mit separater, aber mit Hilfe des BLocks befestigter Abstützvorrichtung;
- Fig. 9 eine Draufsicht auf einen Ski mit in die Oberfläche der Oberseite integrierter Abstützvorrichtung und
- Fig. 10 einen Schnitt durch den Ski mit integrierter Abstützvorrichtung gemäß der Fig. 9 entlang der Linie X-X.
- Ein Paar Skier besteht gemäß Fig. 1 aus einem linken Ski 1 und einem rechten Ski 2. Am vorderen Ende der Skier 1 und 2 sind aufwärtsgebogene, d. h. aus der Bildebene herausgebogene, Schaufeln 3 und 4 angeordnet. Auf den Laufflächen 5 und 6 gegenüberliegenden Oberseiten 7 und 8 sind zur Verbindung mit den Skischuhen erforderliche Bindungsteile angeordnet. Fig. 1 zeigt die Skier 1 und 2 jeweils nur über die halbe Länge. Etwa in der Mitte der Skier und damit in Fig. 1 am linken Rand sind jeweils auf den Oberseiten 7 und 8 Bindungsköpfe 9 und 10 angeordnet.
- Mit geringen Abständen von den Bindungsköpfen 9 und 10 sind in Richtung der Schaufeln 3 und 4 Abstützvorrichtungen 11 und 12 auf den Oberseiten 7 und 8 angeordnet. Die genaue Position der Abstützvorrichtungen 11, 12 auf den Oberseiten 7, 8 kann, frei nach Wunsch des Skiläufers, bestimmt werden.
- In einer hier nicht gezeigten Ausführungsform sind die Abstützvorrichtungen 11, 12 auf der anderen Seite der Bindungen, nämlich zwischen den Bindungen und den Skienden auf den Skioberseiten angeordnet. Derart wird es dem Skiläufer ermöglicht, sich nach hinten abzustützen.
- Sofern die Abstützvorrichtungen 11, 12 mit, wenn auch geringem, Abstand zu anderen Teilen auf den Skioberseiten 7, 8 angeordnet sind, können sie auf dem Ski aufgeklebt, mit diesem verschraubt oder mit der Skioberfläche verschweißt sein.
- Fig. 2 zeigt die Abstützvorrichtung 12 in einem gegenüber der Fig. 1 vergrößertem Maßstab und in Seitenansicht. Die Abstützvorrichtung 12 ist als flache, an ihrer Oberseite 13 konvex gewölbte Scheibe ausgebildet und weist mittig eine Vertiefung 14 auf. Diese ist in Richtung auf die Lauffläche 6 mit konisch abnehmendem Durchmesser ausgebildet.
- Die Abstützvorrichtung 12 ist mit ihrer Unterseite, nämlich der Stützwandung 15, auf der Oberseite 8 des Skis 2 befestigt. Die Stützwandung 15 hat dabei eine doppelte Funktion. Zum einen dient sie zur Befestigung der Abstützvorrichtung 12 am Ski 2. Darüber hinaus begrenzt sie die Vertiefung 14 in Richtung auf die Oberseite 8. Die Vertiefung 14 weist einen runden Querschnitt auf.
- Die Oberseite 13 der Abstützvorrichtung 12 ist mit einem Schlitz 16 versehen. Dieser erstreckt sich vom äußeren Rand 17 bis zur Vertiefung 14. Der Schlitz 16 wird in Richtung der Vertiefung 14 zunehmend schmaler, so daß sein Durchmesser am äußeren Rand 17 größer ist als im Bereich der Vertiefung 14. Die Tiefe des Schlitzes 16 wird durch eine Führungsebene 18 begrenzt. Die Führungsebene 18 und damit der Schlitz 16 ist nicht so tief wie die Stützwandung 15 bzw. die Vertiefung 14. Dadurch wird im Bereich des Übergangs zwischen dem Schlitz 16 und der Vertiefung 14 eine Kante 19 gebildet.
- Das Ende eines Skistocks wird von oben her in die Vertiefung 14 eingeführt. Der Vorgang wird erleichtert durch die konische Querschnittsausbildung der Vertiefung 14. Bedingt durch die Anordnung des Schlitzes 16 kann das Skistockende ebenso seitlich in die Vertiefung 14 eingeführt werden. Auch hier wird dies durch den zunächst, d. h. im Bereich des äußeren Randes 17, größeren Schlitzdurchmessers erleichtert. Die Kante 19 zwischen dem Schlitz 16 und der Vertiefung 14 verhindert, daß das Skistockende aus der Vertiefung 14 wieder herausrutscht.
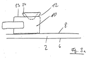
- In einer anderen Ausführungsform ist die Abstützvorrichtung 12 mit einem plattenförmigen Endstück versehen. Dieses erstreckt sich in der gleichen Ebene wie die Stützwandung 15 und ist sehr flach ausgebildet. Gemäß Fig. 3 wird die Abstützvorrichtung 12 auf der Oberseite 8 des Skis 2 befestigt, indem das Endstück 20 zwischen den Bindungskopf 10 und den Ski 2 gelegt und zusammen mit dem Bindungskopf 10 am Ski 2 festgeschraubt wird. Die zu diesem Zweck erforderliche Bohrung 21 mit Schraube 22 ist in der Fig. 3 gestrichelt darge stellt. Die Bohrung 21 erstreckt sich durch den Bindungskopf 10 auf das Endstück 20 bis hinein in den Ski 2. Wie aus Fig. 1 ersichtlich, sind pro Bindungskopf zwei Befestigungsschrauben vorgesehen. Vorteil dieser Befestigungsart ist, daß keine zusätzliche Befestigung der Abstützvorrichtung 12 an der Oberseite 8 des Skis 2 erforderlich ist.
- Fig. 3a zeigt eine in den Bindungskopf 10 integrierte Abstützvorrichtung 12. Zur Aufnahme des Skistockendes weist der Bindungskopf 10 an seiner Oberseite 23 eine von einem Wulst 24 umgebene quaterförmige Einbuchtung 25 auf. Diese ist ebenso mit abnehmendem Querschnitt ausgebildet wie die anhand der Fig. 1 bis 3 beschriebene Vertiefung 14.
- Fig. 4 zeigt eine breitere vorteilhafte Ausführungsform der Abstützvorrichtung 12, jedoch nicht in der Seitenansicht, sondern im Schnitt. Die Vertiefung 14 weist hier im Randbereich eine besonders flache Wandung 26 auf. Diese geht erst nahe der Mitte der Vertiefung 14 in eine steile, vorteilhafterweise fast senkrechte, Wandung 27 über. Im Bereich des Übergangs zwischen den Wandungen 26 und 27 ist eine umlaufende Kante 28 gebildet. Durch die flache Wandung 26 ist die Vertiefung 14 im Eingangsbereich sehr breit ausgebildet und ermöglicht so ein leichtes Einführen des Skistockendes. Bedingt durch die umlaufende Kante 28 kann der einmal eingesetzte Skistock nur sehr schwer wieder seitlich herausrutschen.
- In einer hier nicht gezeigten Ausführungsform ist die Abstützvorrichtung gemäß der Fig. 4 mit einem Schlitz entsprechend den Fig. 1 bis 3 versehen.
- Fig. 5 zeigt die einfachste Form einer Abstützvorrichtung 12 in der Draufsicht. Diese besteht demnach lediglich aus einem ringförmig gefertigten Steg 29, wobei die Enden 30, 31 nicht aneiander stoßen, und das Skistockende ist entweder direkt oder über den Zwischenraum 32 zwischen den Stegenden 30, 31 in die durch die Ringform des Steges 29 gebildete Öffnung 33 einführbar. Zur Erleichterung dieses Vorgangs ist der Zwischeraum 32 mit in Richtung auf die Öffnung 33 abnehmendem Querschnitt ausgebildet.
- In einer weiteren hier nicht gezeigten Ausführungsform ist die Abstützvorrichtung 12 gemäß Fig. 5 als geschlossener Ring ohne Zwischenraum 32 ausgebildet und darüber hinaus ist in einer anderen hier nicht gezeigten Ausführungsform die Öffnung 33 entsprechend der Vertiefung 14 mit zur Oberseite 8 des Skis 2 hin abnehmendem Durchmesser ausgebildet.
- Fig. 7 zeigt einen auf der Skioberseite 8 angeordneten Block 34 zur Verhinderung des Überschneidens der Skier 1 und 2 mit integrierter Abstützvorrichtung 12 in Seitenansicht. Der Block 34 ist im vorderen Bereich des Ski 2 nahe der, in der Fig. 7 nicht gezeigten, Schaufel 4 angeordnet. Der Pfeil 35 zeigt in Richtung der Schaufel 4 und der Pfeil 36 zeigt demgemäß in Richtung des Bindungskopfes 10. Die Gestaltung des Blocks 34 ist bekannt und entspricht üblicherweise einem in Fahrtrichtung offenen, kastenförmigen Hohlprofil. Dabei ist der Block 34 im Bereich seiner Bodenwandung 37 mit der Oberseite 8 des Skis 2 verbunden. Die Verbindung erfolgt wie zuvor durch Kleben, Schrauben oder Verschweißen. Die Bodenwandung 37 erstreckt sich über das Kastenprofil des Blocks 34 hinaus in Richtung des Pfeils 36 und bildet einen Fortsatz 38. Die Vertiefung 14 ist in den Fortsatz 38 eingelassen und in den Fig. 7 und 8 gestrichelt dargestellt. Bedingt durch die in Richtung des Pfeiles 36 geneigte windschiefe Form des Blocks 34 und die Position desselben im Bereich der Schaufel 4 ist ein Einsetzen des Skistockendes nicht direkt von oben möglich. Die Vertiefung 14 begrenzende Seitenwände 39, 40 sind derart geneigt ausgebildt, daß das Skistockende optimal in eine Linie von der Schulter des Skiläufers schräg nach vorne unten in die Abstützvorrichtung 12 einführbar ist.
- Die Ausführungsform gemäß Fig. 8 zeigt eine Modifikation gegenüber der Fig. 7. Die Abstützvorrichtung 12 und der Block 34 sind hier jeweils als ein gesondertes Teil ausgeführt. Entsprechend der Ausführungsform gemäß Fig. 3 weist die Abstützvorrichtung 12 ein Endstück 41 auf, das flach ausgebildet ist und durch Zwischenlegen zwischen den Block 34 und den Ski 2 mit diesem verbindbar ist. Dies erfolgt durch eine Schraubverbindung, wobei eine Schraube 42 über eine vertikale Bohrung 43 im Block 34, dem Endstück 41 und dem Ski 2 als Befestigungsmittel dient.
- Die Fig. 9 und 10 zeigen eine weitere Ausführungsform der Abstützvorrichtung 12. Diese ist hier in die Oberseite 8 des Ski 2 integriert. Die Oberseite 8 weist zu diesem Zweck eine Mulde 44 mit einer sehr flachen Wandung 45 und einer Bodenfläche 46 auf. Die flache Wandung 45 ermöglicht zum einen das leichte Einführen des Skistockendes in die durch die Mulde 44 gebildete Vertiefung 14 und gewährleistet außerdem, daß die Stabilität des Skis nicht beeinträchtigt wird. Zur Aufnahme des Drucks des Skistockendes und zur Vermeidung von Beschädigungen der Oberseite 8 ist die Mulde 44 mit einer formmäßig angepaßten Schalung 47 aus Metall, Hartkunststoff oder einem anderen harten Werkstoff versehen. Zur Schonung der Oberseite 8 im Bereich der Abstützvorrichtung 12 ist die Schalung 47 mit einem umlaufenden Kragen 48 versehen. Dieser erstreckt sich über die Mulde 44 hinaus und liegt auf der Oberseite 8 auf.
- In einer weiteren hier nicht gezeigten Ausführungsform ist das Skistockende über eine in der Oberseite 8 angeordnete Kerbe in die Mulde 44 einführbar. Die Kerbe ist dabei entsprechend dem Schlitz 16 gemäß den Ausführungsformen der Fig. 1 bis 3 ausgebildet.
- Sofern in den einzelnen Ausführungsformen Schlitze oder Einkerbungen vorgesehen sind, sind diese relativ zur Laufrichtung des Skis seitlich neben der Vertiefung 14 oder Öffnung 33 oder Mulde 44 angeordnet. Gemäß Fig. 1 ist der Schlitz 16 nach außen zeigend angeordnet, d. h. auf dem rechten Ski 2 rechts von der Vertiefung 14 und auf dem linken Ski 1 links von der Vertiefung 14. Dies erleichtert besonders bei eng zusammenstehenden Skiern das Einführen des Skistockendes in die Abstützvorrichtung 11 oder 12. Darüber hinaus kann das Skistockende bei Druck in Laufrichtung oder entgegengesetzt zur Laufrichtung nicht so leicht aus der Vertiefung 14 oder der Öffnung 33 oder der Mulde 44 herausrutschen. Die Abstützvorrichtungen 11, 12 sind aus einem spritzgießfähigen Werkstoff, insbesondere Kunststoff, gefertigt.
Claims (10)
1. Abstützvorrichtung zum Abstützen eines Skistockendes, die auf der Oberseite (8) eines Skis (2) angeordnet werden kann, mit einer Öffnung (33) oder Vertiefung (14), in die das Skistockende einführbar ist.
2. Abstützvorrichtung nach Anspruch 1,
gekennzeichnet durch eine auf der Skioberseite (8) aufliegende und die Öffnung (33) oder Vertiefung (14) begrenzende Stützwandung (15).
gekennzeichnet durch eine auf der Skioberseite (8) aufliegende und die Öffnung (33) oder Vertiefung (14) begrenzende Stützwandung (15).
3. Abstützvorrichtung nach einem der Ansprüche 1 und 2,
dadurch gekennzeichnet,
daß die Öffnung (33) oder Vertiefung (14) einen sich zur Skioberseite (8) hin verringernden, insbesondere konisch verjüngenden, Querschnitt aufweist.
dadurch gekennzeichnet,
daß die Öffnung (33) oder Vertiefung (14) einen sich zur Skioberseite (8) hin verringernden, insbesondere konisch verjüngenden, Querschnitt aufweist.
4. Abstützvorrichtung nach einem der Ansprüche 1 bis 3,
gekennzeichnet durch
einen Schlitz (16), durch den das Skistockende parallel zur Ebene der Skilauffläche (6) in den Bereich der Öffnung (33) oder Vertiefung (14) einführbar ist.
gekennzeichnet durch
einen Schlitz (16), durch den das Skistockende parallel zur Ebene der Skilauffläche (6) in den Bereich der Öffnung (33) oder Vertiefung (14) einführbar ist.
5. Abstützvorrichtung nach einem der Ansprüche 1 bis 4,
dadurch gekennzeichnet,
daß Mittel (Flächen, Löcher) vorgesehene sind, um eine feste, vorzugsweise Schraub-, Kleb- oder Schweiß-Verbindung mit der Skioberseite (8) herzustellen.
dadurch gekennzeichnet,
daß Mittel (Flächen, Löcher) vorgesehene sind, um eine feste, vorzugsweise Schraub-, Kleb- oder Schweiß-Verbindung mit der Skioberseite (8) herzustellen.
6. Abstützvorrichtung nach einem der Ansprüche 1 bis 5,
gekennzeichnet durch
ein vorzugsweise plattenförmiges Endstück (20), das durch Anordnung zwischen einem auf der Skioberseite (8) befestigten Teil, insbesondere einem Bindungskopf (10), und der Skioberseite (8) mit diesen beiden verbindbar ist.
gekennzeichnet durch
ein vorzugsweise plattenförmiges Endstück (20), das durch Anordnung zwischen einem auf der Skioberseite (8) befestigten Teil, insbesondere einem Bindungskopf (10), und der Skioberseite (8) mit diesen beiden verbindbar ist.
7. Ski, dadurch gekennzeichnet, daß auf seiner Oberseite (8) eine Abstützvorrichtung (12) zum Abstützen eines Skistockendes, mit einer das Skistockende aufnehmenden Öffnung (33) oder Vertiefung (14), angeordnet ist.
8. Ski nach Anspruch 7,
dadurch gekennzeichnet,
daß die Abstützvorrichtung (12) in die Oberfläche der Oberseite (8) integriert, vorzugsweise in Form einer Mulde (44) und/oder Einkerbung, ausgebildet ist.
dadurch gekennzeichnet,
daß die Abstützvorrichtung (12) in die Oberfläche der Oberseite (8) integriert, vorzugsweise in Form einer Mulde (44) und/oder Einkerbung, ausgebildet ist.
9. Ski nach einem der Ansprüche 7 oder 8, wobei dieser auf seiner Oberseite (8) mit derselben fest verbundene Bindungsteile, vorzugsweise Fersenautomat und Bindungskopf (10) aufweist,
dadurch gekennzeichnet,
daß die Abstützvorrichtung (12) im Bereich eines Bindungsteiles, vorzugsweise im Bereich des Bindungskopfes (10) angeordnet ist.
dadurch gekennzeichnet,
daß die Abstützvorrichtung (12) im Bereich eines Bindungsteiles, vorzugsweise im Bereich des Bindungskopfes (10) angeordnet ist.
10. Block zur Befestigung auf einem Ski und zur Verhinderung des Überschneidens der Ski,
gekennzeichnet durch
eine integrierte Abstützvorrichtung (12) zum Abstützen eines Skistockendes, mit einer Öffnung (33) oder Vertiefung (14), in die das Skistockende einführbar ist.
gekennzeichnet durch
eine integrierte Abstützvorrichtung (12) zum Abstützen eines Skistockendes, mit einer Öffnung (33) oder Vertiefung (14), in die das Skistockende einführbar ist.
Applications Claiming Priority (2)
| Application Number | Priority Date | Filing Date | Title |
|---|---|---|---|
| DE3725472 | 1987-07-31 | ||
| DE3725472 | 1987-07-31 |
Publications (1)
| Publication Number | Publication Date |
|---|---|
| EP0302384A1 true EP0302384A1 (de) | 1989-02-08 |
Family
ID=6332831
Family Applications (1)
| Application Number | Title | Priority Date | Filing Date |
|---|---|---|---|
| EP88112170A Withdrawn EP0302384A1 (de) | 1987-07-31 | 1988-07-27 | Abstützvorrichtung zur Anordnung auf der Oberseite eines Skis |
Country Status (1)
| Country | Link |
|---|---|
| EP (1) | EP0302384A1 (de) |
Citations (3)
| Publication number | Priority date | Publication date | Assignee | Title |
|---|---|---|---|---|
| DE847275C (de) * | 1949-06-09 | 1952-08-21 | Karl G Lehr | Vorrichtung zum Erleichtern der Standsicherheit und des Lenkens der Skier beim Skilaufen mit Hilfe der Skistoecke |
| DE2936597A1 (de) * | 1979-09-11 | 1981-03-19 | Josef 8965 Wertach Seefelder | Skiaufsatz |
| DE3124794A1 (de) * | 1981-06-24 | 1983-01-13 | Willy 7032 Sindelfingen Stahl | Abstuetzvorrichtung fuer skistoecke |
-
1988
- 1988-07-27 EP EP88112170A patent/EP0302384A1/de not_active Withdrawn
Patent Citations (3)
| Publication number | Priority date | Publication date | Assignee | Title |
|---|---|---|---|---|
| DE847275C (de) * | 1949-06-09 | 1952-08-21 | Karl G Lehr | Vorrichtung zum Erleichtern der Standsicherheit und des Lenkens der Skier beim Skilaufen mit Hilfe der Skistoecke |
| DE2936597A1 (de) * | 1979-09-11 | 1981-03-19 | Josef 8965 Wertach Seefelder | Skiaufsatz |
| DE3124794A1 (de) * | 1981-06-24 | 1983-01-13 | Willy 7032 Sindelfingen Stahl | Abstuetzvorrichtung fuer skistoecke |
Similar Documents
| Publication | Publication Date | Title |
|---|---|---|
| DE9306333U1 (de) | Ski | |
| DE3838569A1 (de) | Seitliche fuehrungsvorrichtung eines skischuhs, der an seinem vorderen ende auf einem ski, insbesondere einem langlaufski, befestigt ist | |
| DE2338407A1 (de) | Verkuerzte skier | |
| DE60112190T2 (de) | Alpinski | |
| DE3115618A1 (de) | Halterungsgesamtheit eines langlaufskischuhes auf einem ski | |
| DE3334144C2 (de) | Langlaufskischuh | |
| DE3607808A1 (de) | Schneegleitbrett | |
| DE3929352A1 (de) | Seitliche fuehrungsvorrichtung eines skischuhs | |
| CH647683A5 (de) | Sohlenauflageplatte einer skibindung. | |
| EP0302384A1 (de) | Abstützvorrichtung zur Anordnung auf der Oberseite eines Skis | |
| EP0362313B1 (de) | Skibindung | |
| EP1615706B1 (de) | Snowboard | |
| AT401353B (de) | Vorrichtung zur seitlichen führung eines schuhs auf einem ski, insbesondere auf einem langlaufski | |
| AT389453B (de) | Skibindung | |
| AT345703B (de) | Schi, insbesondere langlaufschi, mit einer auswechselbaren steighilfe | |
| EP3250298B1 (de) | Ski mit steighilfe | |
| AT400404B (de) | Haltevorrichtung für eine skibindung | |
| EP1669112B1 (de) | Bindungssystem für Skier | |
| DE2065825C3 (de) | Skikantenausbildung | |
| DE19828493B4 (de) | Schneegleitbrett | |
| DE202008000637U1 (de) | Anordnung, welche eine Schnittstellenvorrichtung für ein Gleitbrett umfasst | |
| DE9305612U1 (de) | Ski | |
| DE2612593A1 (de) | Skibindung | |
| AT409340B (de) | Skibindung bestehend aus einer skifesten grundelement und einer die bindungsteile für den ski (zb: vorder- und hinterbacken) tragenden deckelement | |
| DE4030008A1 (de) | Fuehrungssteg eines langlaufskischuhs |
Legal Events
| Date | Code | Title | Description |
|---|---|---|---|
| PUAI | Public reference made under article 153(3) epc to a published international application that has entered the european phase |
Free format text: ORIGINAL CODE: 0009012 |
|
| AK | Designated contracting states |
Kind code of ref document: A1 Designated state(s): AT CH DE FR IT LI |
|
| STAA | Information on the status of an ep patent application or granted ep patent |
Free format text: STATUS: THE APPLICATION IS DEEMED TO BE WITHDRAWN |
|
| 18D | Application deemed to be withdrawn |
Effective date: 19890809 |