EP0280141A2 - Einrichtung zur Abdeckung der Zylindergrube eines Zylinders einer Rotationsdruckmaschine - Google Patents

Einrichtung zur Abdeckung der Zylindergrube eines Zylinders einer Rotationsdruckmaschine Download PDF

Info

Publication number
EP0280141A2
EP0280141A2 EP88102167A EP88102167A EP0280141A2 EP 0280141 A2 EP0280141 A2 EP 0280141A2 EP 88102167 A EP88102167 A EP 88102167A EP 88102167 A EP88102167 A EP 88102167A EP 0280141 A2 EP0280141 A2 EP 0280141A2
Authority
EP
European Patent Office
Prior art keywords
cylinder
adjusting
insert
cam
control
Prior art date
Legal status (The legal status is an assumption and is not a legal conclusion. Google has not performed a legal analysis and makes no representation as to the accuracy of the status listed.)
Granted
Application number
EP88102167A
Other languages
English (en)
French (fr)
Other versions
EP0280141B1 (de
EP0280141A3 (en
Inventor
Hermann Fischer
Current Assignee (The listed assignees may be inaccurate. Google has not performed a legal analysis and makes no representation or warranty as to the accuracy of the list.)
Manroland AG
Original Assignee
MAN Roland Druckmaschinen AG
Priority date (The priority date is an assumption and is not a legal conclusion. Google has not performed a legal analysis and makes no representation as to the accuracy of the date listed.)
Filing date
Publication date
Application filed by MAN Roland Druckmaschinen AG filed Critical MAN Roland Druckmaschinen AG
Publication of EP0280141A2 publication Critical patent/EP0280141A2/de
Publication of EP0280141A3 publication Critical patent/EP0280141A3/de
Application granted granted Critical
Publication of EP0280141B1 publication Critical patent/EP0280141B1/de
Anticipated expiration legal-status Critical
Expired - Lifetime legal-status Critical Current

Links

Images

Classifications

    • BPERFORMING OPERATIONS; TRANSPORTING
    • B41PRINTING; LINING MACHINES; TYPEWRITERS; STAMPS
    • B41FPRINTING MACHINES OR PRESSES
    • B41F27/00Devices for attaching printing elements or formes to supports
    • B41F27/12Devices for attaching printing elements or formes to supports for attaching flexible printing formes
    • B41F27/1293Devices for filling up the cylinder gap; Devices for removing the filler

Definitions

  • the invention relates to a device for covering the cylinder pit of a cylinder of a rotary printing press with an insert piece which can be moved in the radial direction by means of an adjusting spindle extending parallel to the cylinder axis and is designed on its outside as a section of the cylinder jacket surface.
  • a device that enables an adjustment of the height of the insert is known from DE-PS 236 935.
  • two setscrews are provided, which are supported on the cylinder with one end, while the other end is screwed into the insert. These adjusting screws can also only be set when the cylinder is stationary.
  • the invention has for its object to provide a device of the type mentioned in such a way that the insert is adjustable to a precise height in the cylinder pit even while the cylinder is running.
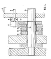
  • the cylinder designated overall by 1 which is a blanket cylinder of an offset rotary printing press, has a cylinder pit 2, in which two clamping spindles 3 for fixing and tensioning the two ends of a blanket 4 are arranged.
  • the cylinder pit 2 is closed on both sides by an end wall 5, only one of which is shown. Protrudes into the cylinder pit 2 furthermore an adjusting spindle 6 extending parallel to the axis of the cylinder 1 and having an adjusting cam 7 in the middle of the cylinder.
  • the adjusting spindle 6 is mounted at one end in the end wall 5 and at the other end in a bearing 8 which is firmly connected to the cylinder.
  • a control lever 9, which carries a roller 10, sits firmly on the adjusting spindle 6 in front of the end wall 5.
  • the roller 10 is held in contact with a cam 12 by means of a compression spring 11.
  • the control cam 12 is freely rotatable on a shaft 13 of the cylinder 1 and is fixedly connected to a worm wheel 14.
  • the shaft 16 is mounted in a manner not shown on a side wall 17 of the printing press and has a hand wheel, also not shown, for rotation.
  • On the shaft 13 of the cylinder 1, a drive gear 18 is still firmly attached.
  • the actuating cam 7 engages with a tight fit in a bore 19 of an insert 20 so that it can rotate in the bore 19 without play.
  • the outer surface of the adjusting cam 7 is circular and eccentric with respect to the adjusting spindle 6. The use of such a construction has the advantage, when placed correctly, that the same angles of rotation of the actuating cam 7 result in approximately the same radial adjustment paths of the insert 20.
  • the insert 20 consists of an inner part 21 which has the bore 19 and an outer part 22, the outer side 23 of which is formed as a section of the lateral surface of the cylinder 1.
  • the outer part 22 has a flange 25 in front of both end faces 24.
  • a screw 26 engages through each flange 25 and can be screwed into a thread in the inner part 21. After loosening the screws 26, the outer part 22 can be removed through the cylinder pit 2 to the outside. The blanket can now be removed or replaced.
  • the outer part 22 carries an extension 27 which can engage in a corresponding groove 28 in the upper side of the inner part 21.
  • the latter has an extension 29 which engages in a groove 30 in the cylinder 1.
  • the insert 20 extends only over a short section of the length of the cylinder pit 2.
  • the width of the insert 20 corresponds to the width of the actuating cam 7.
  • two or more insert pieces can also be provided in a cylinder pit 2.
  • a bearing is then expediently arranged directly next to each actuating cam in order to prevent the actuating spindle from bending under the forces acting on the insert and thus to prevent the outside of the insert from changing position.
  • the control curve 12 is now set so that the outer side 23 of the insert 20 closes the outer circumference of the cylinder determined by the rubber blanket when passing through the cylinder pit 2 under an adjacent cylinder to a full circle.
  • control cam 12 is rotated by means of the worm drive 14, 15, 16 until the color stripes disappear.
  • the height of the outer side 23 of the insert 20 is changed by the rotation of the control curve when the cylinder pit 2 passes under another cylinder.
  • the control lever 9 seated firmly on the clamping spindle 6 carries a roller 31 of greater width.
  • the roller 31 can alternately cooperate with a first control curve 32 and a second control curve 33.
  • the control cam 32 is in turn rotatably mounted on the shaft 13 of the cylinder 1 and fixedly connected to a worm wheel 35 via a sleeve-shaped extension 34.
  • the second cam 33 is freely rotatable, which in turn is firmly connected to a further worm wheel 36.
  • a worm which is no longer shown, engages in each of the two worm wheels, each of which is firmly seated on a manually adjustable adjusting shaft.
  • the arrangement for controlling the insert is designed in the same way as in the first exemplary embodiment.
  • the insert can be brought twice to the altitude during one revolution of the cylinder 1, which it is to assume when passing under two adjacent cylinders.
  • Such an arrangement is suitable, for example, for offset perfecting and reverse printing units, in which the web is printed between two blanket cylinders, each of which is assigned a plate cylinder.
  • an electrical setting device can also be used.
  • This setting device comprises a tachometer generator 37 which is placed on the shaft 13 of the cylinder 1.
  • the voltage supplied by the tachometer generator 37 is applied to an analog-digital converter 39 via a potentiometer 38 provided for calibration purposes.
  • the voltage is converted into digital pulses, which are connected in a downstream Microprocessor 40 arrive for processing.
  • the microprocessor 40 controls, via an actuator 41, a certain number of steps of a stepper motor 42, which can rotate the control curve directly or via a worm gear.
  • steps are counted via a counter 43 by a contactlessly operating scanning head 44 per unit of time and reported to the microprocessor 40.
  • the stepping motor 42 is stopped.
  • the tachogenerator voltage generated is thus converted in a simple manner into a specific number of steps of the step motor 42.
  • a high output voltage at the tachometer generator 37 means a correspondingly large number of steps, a lower voltage means a smaller number of steps.
  • the potentiometer 38 connected between the tachometer generator 37 and the analog-digital converter 39, the voltage that comes to the analog-digital converter 39 can be influenced. In this way, it is possible, as shown in FIG. 6, to assign different numbers of steps to a specific speed of the machine and therefore to a specific voltage supplied by the tachometer generator, in order to obtain different characteristic curves with which, for example, the hardness of the cylinder lift can be taken into account.

Landscapes

  • Inking, Control Or Cleaning Of Printing Machines (AREA)
  • Supply, Installation And Extraction Of Printed Sheets Or Plates (AREA)

Abstract

Eine Einrichtung zur Abdeckung der Zylindergrube (2) eines Zylinders (1) einer Rotationsdruckmaschine umfaßt ein, mittels einer sich parallel zur Zylinderachse erstreckenden Stellspindel (6) in radialer Richtung bewegbares, an seiner Außenseite als ein Abschnitt der Zylindermantelfläche ausgebildetes Einsatzstück (20). Um das Einsatzstück (20) während des Laufs des Zylinders (1) auf eine genaue Höhenlage in der Zylindergrube (2) einstellen zu können, ist dieses mittels eines Stellnockens (7) einstellbar, der fest auf der Stellspindel (6) sitzt. Die Stellspindel (6) trägt einen Steuerarm (9), der mit mindestens einer an einer Seitenwand (17) der Rotationsdruckmaschine gelagerten, mittels einer Einstellvorrichtung bewegbaren Steuerkurve (12) zusammenwirkt.

Description

  • Die Erfindung betrifft eine Einrichtung zur Abdeckung der Zylindergrube eines Zylinders einer Rotationsdruckmaschine mit einem mittels einer sich parallel zur Zylinderachse erstreckenden Stellspindel in radialer Richtung bewegbaren, an seiner Außenseite als ein Abschnitt der Zylinder-Mantelfläche ausgebildeten Einsatzstück.
  • Zur radialen Bewegung von Einsatzstücken zur Aufspannung von biegsamen Druckplatten ist es aus der DE-PS 640 262 bekannt, die Stellschrauben für das Einsatzstück mittels Kegelzahnrädern von einer Stellwelle aus zu betätigen. Abgesehen davon, daß eine genaue Einstellung des Einsatzstückes in radialer Richtung nicht möglich ist, da dieses stets soweit bewegt werden muß, bis es die Druckplatte gegen den Rand der Zylindergrube preßt, kann die Einrichtung nur bei stehendem Zylinder betätigt werden.
  • Eine Einrichtung, die eine Einstellung der Höhenlage des Einsatzstücks ermöglicht, ist aus der DE-PS 236 935 bekannt. Zur Einstellung des Einsatzstücks in radialer Richtung sind hier zwei Stellschrauben vorgesehen, die sich mit dem einen Ende am Zylinder abstützen, während das andere Ende in das Einsatzstück eingeschraubt ist. Die Einstellung dieser Stellschrauben kann ebenfalls nur bei stehendem Zylinder erfolgen.
  • Der Erfindung liegt die Aufgabe zugrunde, eine Einrichtung der eingangs genannten Gattung so auszubilden, daß das Einsatzstück auch während des Laufs des Zylinders auf eine genaue Höhenlage in der Zylindergrube einstellbar ist.
  • Erfindungsgemäß wird diese Aufgabe durch Anwendung der Merkmale des Kennzeichens des Anspruchs 1 erreicht.
  • Bei Anwendung der Erfindung ergibt sich speziell bei Hochdruckmaschinen der Vorteil, daß die Höhenlage des Einsatzstücks während des Betriebes solange verändert werden kann, bis keine Stöße beim Durchlauf der Zylindergrube an einem benachbarten Zylinder und damit Streifen unterschiedlicher Farbintensität auf dem Bedruckstoff mehr auftreten. Dadurch besteht weiterhin die Möglichkeit, die Höhenlage des Einsatzstücks sofort an eine Änderung der Drehzahl des Zylinders anzupassen.
  • Weitere Merkmale und Vorteile ergeben sich aus den Unteransprüchen in Verbindung mit der Beschreibung mehrerer Ausführungsbeispiele anhand der Zeichnung. In dieser zeigt
    • Fig. 1 eine Teildarstellung eines aufgeschnittenen Zylinders, mit Lagerung im Schnitt,
    • Fig. 2 die erfindungsgemäßen wesentlichen Teile in einem Schnitt entlang der Linie II-II in Fig. 1,
    • Fig.3 einen Schnitt entlang der Linie III-III in Fig.1,
    • Fig.4 eine zweite Ausführungsform in einer der Fig. 1 entsprechenden Darstellung,
    • Fig.5 ein Schaltbild einer Einstellvorrichtung und
    • Fig. 6 ein Diagramm.
  • Der insgesamt mit 1 bezeichnete Zylinder, bei dem es sich um einen Gummituchzylinder einer Offset-Rotationsdruckmaschine handelt, weist eine Zylindergrube 2 auf, in der zwei Spannspindeln 3 zur Festlegung und Spannung der beiden Enden eines Gummituchs 4 angeordnet sind. Die Zylindergrube 2 ist an beiden Seiten durch je eine Stirnwand 5, von der nur eine dargestellt ist, abgeschlossen. In die Zylindergrube 2 ragt weiterhin eine sich parallel zur Achse des Zylinders 1 erstreckende Stellspindel 6 hinein, die in der Mitte des Zylinders einen Stellnocken 7 aufweist.
  • Die Stellspindel 6 ist am einen Ende in der Stirnwand 5 und am anderen Ende in einem fest mit dem Zylinder verbundenen Lager 8 gelagert. Fest auf der Stellspindel 6 vor der Stirnwand 5 sitzt ein Steuerhebel 9, der eine Rolle 10 trägt. Die Rolle 10 ist mittels einer Druckfeder 11 in Anlage an einer Steuerkurve 12 gehalten. Die Steuerkurve 12 ist frei drehbar auf einer Welle 13 des Zylinders 1 gelagert und fest mit einem Schneckenrad 14 verbunden. In das Schneckenrad 14 greift eine Schnecke 15 ein, die auf einer Welle 16 sitzt. Die Welle 16 ist in nicht näher dargestellte Weise an einer Seitenwand 17 der Druckmaschine gelagert und weist zur Drehung ein ebenfalls nicht dargetelltes Handrad auf. Auf die Welle 13 des Zylinders 1 ist weiterhin ein Antriebszahnrad 18 fest aufgesetzt.
  • Der Stellnocken 7 greift mit einem engen Laufsitz in eine Bohrung 19 eines Einsatzstückes 20 ein, so daß er sich spielfrei in der Bohrung 19 drehen kann. Die Außenfläche des Stellnockens 7 ist kreisförmig und gegenüber der Stellspindel 6 exzentrisch. Die Verwendung einer derartigen Konstruktion bringt bei richtiger Plazierung den Vorteil, daß gleiche Drehwinkel des Stellnockens 7 annähernd gleiche radiale Stellwege des Einsatzstücks 20 bewirken.
  • Das Einsatzstück 20 besteht aus einem Innenteil 21, das die Bohrung 19 aufweist und einem Außenteil 22, dessen Außenseite 23 als ein Abschnitt der Mantelfläche des Zylinders 1 ausgebildet ist. Der Außenteil 22 weist vor beiden Stirnseiten 24 je einen Flansch 25 auf. Durch jeden Flansch 25 greift eine Schraube 26, die in eine Gewinde im Innenteil 21 einschraubbar ist. Nach lösen der Schrauben 26 kann der Außenteil 22 durch die Zylindergrube 2 nach außen entfernt werden. Nunmehr kann das Gummituch abgenommen bzw. ausgewechselt werden.
  • Zur genauen Positionierung trägt der Außenteil 22 einen Ansatz 27, der in eine entsprechende Nut 28 in der Obereite des Innenteiles 21 eingreifen kann. Um eine unerwünschte Verdrehung des Innenteiles 21 zu verhindern, weist dieser einen Ansatz 29 auf, der in eine Nut 30 des Zylinders 1 eingreift.
  • Das Einsatzstück 20 erstreckt sich nur über einen kurzen Abschnitt der Länge der Zylindergrube 2. Dabei entspricht die Breite des Einsatzstückes 20 der Breite des Stellnockens 7. Anstelle eines Einsatzstücks können auch zwei oder mehr Einsatzstücke in einer Zylindergrube 2 vorgesehen sein. Zweckmäßig ist dann unmittelbar neben jeden Stellnocken ein Lager angeordnet, um eine Durchbiegung der Stellspindel unter den auf das Einsatzstück wirkenden Kräften und damit eine Lageveränderung der Außenseite des Einsatzstückes zu verhindern.
  • Dreht sich während des Betriebes der über das Antriebszahnrad 18 angetriebene Zylinder 1, so läuft bei dieser Drehbewegung die Rolle 10 auf der Steuerkurve 12 ab. Dies bewirkt bei jeder Umdrehung ein Hin- und Herschwenken des Steuerhebels 9 um einen kleinen Drehweg. Da der Steuerhebel 9 fest mit der Stellspindel 6 verbunden ist, dreht sich dieser ebenfalls um einen kleinen Winkelweg hin und zurück. Dieser Bewegung folgt weiterhin der Stellnocken 7. Infolgedessen bewegt sich das Einsatzstück 20 bei jeder Umdrehung einmal in Richtung des Pfeiles a und anschließend entgegen der Richtung dieses Pfeiles.
  • Die Steuerkurve 12 ist nun so eingestellt, daß die Außenseite 23 des Einsatzstückes 20 bei Durchlauf der Zylindergrube 2 unter einem benachbarten Zylinder den durch das Gummituch bestimmten Außenumfang des Zylinders zu einem Vollkreis schließt.
  • Sollte sich im Betrieb, insbesondere bei Änderungen der Drehzahl ergeben, daß Streifen unterschiedlicher Farbintensität auf den Druckexemplaren auftreten, so wird die Steuerkurve 12 mittels des Schneckentriebes 14, 15, 16 solange gedreht bis die Farbstreifen verschwinden. Durch die Drehung der Steuerkurve wird die Höhenlage der Außenseite 23 des Einsatzstückes 20 beim Druchlauf der Zylindergrube 2 unter einem anderen Zylinder verändert.
  • Beim Ausführungsbeispiel gemäß Fig. 4 trägt der fest auf der Spannspindel 6 sitzende Steuerhebel 9 eine Rolle 31 größerer Breite. Die Rolle 31 kann wechselweise mit einer ersten Steuerkurve 32 und einer zweiten Steuerkurve 33 zusammenwirken. Die Steuerkurve 32 ist wiederum drehbar auf der Welle 13 des Zylinders 1 gelagert und über einen hülsenförmigen Ansatz 34 mit einem Schneckenrad 35 fest verbunden. Auf dem hülsenförmigen Ansatz 34 ist frei drehbar die zweite Steuerkurve 33 gelagert, die ihrerseits fest mit einem weiteren Schneckenrad 36 verbunden ist. In jedes der beiden Schneckenräder greift, ebenso wie beim Ausführungsbeispiel gemäß Fig. 1, eine nicht mehr dargestellte Schnecke ein, die jeweils fest auf einer von Hand einstellbaren Stellwelle sitzt. Die Anordnung zur Steuerung des Einsatzstückes ist ebenso ausgebildet wie beim ersten Ausführungsbeispiel.
  • Mit dieser Einrichtung kann daher während einer Umdrehung des Zylinders 1 das Einsatzstück zweimal in die Höhenlage gebracht werden, die es beim Durchlauf unter zwei benachbarten Zylindern einnehmen soll. Eine derartige Anordnung ist beispielsweise für Offset-Schön- und -Widerdruckwerke geeignet, bei denen die Bahn zwischen zwei Gummituchzylindern bedruckt wird, denen je ein Plattenzylinder zugeordnet ist.
  • Anstelle der Einstellung der gewünschten Höhenlage des Einsatzstückes von Hand kann auch eine elektrische Einstellvorrichtung, so wie sie in Fig. 5 schematisch dargestellt ist, Verwendung finden. Diese Einstellvorrichtung umfaßt einen Tachogenerator 37, der auf die Welle 13 des Zylinders 1 aufgesetzt ist. Die vom Tachogenerator 37 gelieferte Spannung ist über ein für Kalibrierungszwecke vorgesehenes Potentiometer 38 an einen Analog-Digital-Umwandler 39 gelegt. Hier wird die Spannung in digitale Impulse umgewandelt, welche in einem nachgeschalteten Mikroprozessor 40 zur Verarbeitung gelangen. Entsprechend der Zahl der während einer festgelegten Zeiteinheit gelieferten Impulse steuert der Mikroprozessor 40 über ein Stellglied 41 eine bestimmte Zahl von Schritten eines Schrittmotors 42, der umittelbar oder über ein Schneckengetriebe die Steuerkurve drehen kann. Diese Schritte werden über eine Zählscheibe 43 von einem berührungslos arbeitenden Abtastkopf 44 pro Zeiteinheit gezählt und zum Mikroprozessor 40 gemeldet. Wenn die Schrittzahl erreicht ist, die der vom Tachogenerator gemessenen Drehzahl des Zylinders entspricht, wird der Schrittmotor 42 angehalten. Die erzeugte Tachogeneratorspannung wird somit in einfacher Weise in eine bestimmte Schrittzahl des Schrittmotors 42 umgewandelt. Dabei bedeutet eine hohe Ausgangsspannung am Tachogenerator 37 eine entsprechende große Anzahl von Schritten, eine geringere Spannung bedeutet eine geringere Anzahl von Schritten. Mit dem zwischen dem Tachogenerator 37 und dem Analog-Digital-Umwandler 39 geschalteten Potentiometer 38 kann die Spannung die zum Analog-Digital-Umwandler 39 kommt, beeinflußt werden. Auf diese Weise ist es möglich, wie in Fig 6 dargestellt, einer bestimmten Drehzahl der Maschine und daher einer bestimmten vom Tachogenerator gelieferten Spannung unterschiedliche Schrittzahlen zuzuordnen, um so verschiedene Kennlinien zu erhalten, mit denen beispielsweise die Härte des Zylinderaufzugs berücksichtigt werden kann.

Claims (13)

1. Einrichtung zur Abdeckung der Zylindergrube eines Zylinders einer Rotationsdruckmaschine mit einem mittels einer sich parallel zur Zylinderachse erstreckenden Stellspindel in radialer Richtung einstellbaren, an seiner Außenseite als ein Abschnitt der Zylinder-Mantelfläche ausgebildeten Einsatzstück, dadurch gekennzeichnet, daß das Einsatzstück (20) mittels eines Stellnockens (7) einstellbar ist, der fest auf der Stellspindel (6) sitzt, und die Stellspindel (6) einen Steuerarm (9) trägt, der mit mindestens einer an einer Seitenwand (17) der Rotationsdruckmaschine gelagerten, mittels einer Einstellvorrichtung (14, 15, 16; 35, 36; 37 bis 44) bewegbaren Steuerkurve (12, 32, 33) zusammenwirkt.
2. Einrichtung nach Anspruch 1, dadurch gekennzeichnet, daß die Einstellvorrichtung ein Schneckengetriebe (14, 15; 35, 36) umfaßt, dessen Schneckenrad (14; 35, 36) mit der Steuerkurve (12; 32, 33) fest verbunden ist.
3. Einrichtung nach Anspruch 1 oder 2, dadurch gekennzeichnet, daß die Steuerkurve (12; 32, 33) und das Schneckenrad (14, 35, 36) frei drehbar auf der Welle (13) des Zylinders (1) gelagert sind.
4. Einrichtung nach Anspruch 1, 2 oder 3, dadurch gekennzeichnet, die Eingangswelle (16) des Schneckengetriebes (14, 15) von Hand einstellbar ist.
5. Einrichtung nach einem der Ansprüche 1 bis 3, dadurch gekennzeichnet, daß die Einstellvorrichtung einen elektrischen Schrittmotor (42) umfaßt.
6. Einrichtung nach Anspruch 5, dadurch gekennzeichnet, daß der Schrittmotor (42) abhängig von Drehzahl des Zylinders (1) ansteuerbar ist.
7. Einrichtung nach Anspruch 6, dadurch gekennzeichnet, daß die Einstellvorrichtung außer dem Stellmotor (42) einen die Drehzahl der Welle des Zylinders erfassenden Tachogenerator (37) sowie einen Abtastkopf (44) für eine mit dem Schrittmotor (42) verbundene Zählscheibe (43) aufweist und der Tachogenerator (37) über einen Analog-Digital-Umwandler (39) zur Sollwerteingabe an einen Mikroprozessor (40) gelegt ist, der vom Abtastkopf (44) den Istwert der Position des Schrittmotors (42) erhält und über ein Stellglied (44) den Schrittmotor (42) ansteuert.
8. Einrichtung nach Anspruch 7, dadurch gekennzeichnet, daß zwischen dem Tachogenerator (37) und dem Analog-Digital-Umwandler (39) ein Potentiometer (38) eingeschaltet ist.
9. Einrichtung nach einem der vorhergehenden Ansprüche, für einen Zylinder, der mit zwei benachbarten, je eine Zylindergrube aufweisenden Zylindern zusammen wirkt, dadurch gekennzeichnet, daß zwei nebeneinander angeordnete Steuerkurven (32, 33) vorgesehen sind, die mit einem gemeinsamen Steuerhebel (9) zusammenwirken.
10. Einrichtung nach einem der vorhergehenden Ansprüche, dadurch gekennzeichnet, daß der Steuerhebel (9) eine auf der Steuerkurve (12; 32, 33) laufende Rolle (10; 31) trägt.
11. Einrichtung nach einem der vorhergehenden Ansprüche, dadurch gekennzeichnet, daß der Stellnocken (7) in eine Bohrung (19) des Einsatzstücks (20) eingreift.
12. Einrichtung nach einem der vorhergehenden Ansprüche, dadurch gekennzeichnet, daß der Stellnocken (7) eine kreisförmige Außenfläche aufweist und exzentrisch auf die Stellspindel (6) aufgesetzt ist.
13. Einrichtung nach einem der vorhergehenden Ansprüche, dadurch gekennzeichnet, daß das Einsatzstück (20) einen Innenteil, (21) der die Bohrung (19) enthält, und einen Außenteil (22) umfaßt und die beiden Teile (21, 22) mittels einer Flansche (25) vor den Stirnseiten (24) des Außenteils (22) durchsetzenden, in den Innenteil (21) eingreifenden Schrauben (26) miteinander lösbar verbundenen sind.
EP88102167A 1987-02-21 1988-02-15 Einrichtung zur Abdeckung der Zylindergrube eines Zylinders einer Rotationsdruckmaschine Expired - Lifetime EP0280141B1 (de)

Applications Claiming Priority (2)

Application Number Priority Date Filing Date Title
DE3705593 1987-02-21
DE19873705593 DE3705593A1 (de) 1987-02-21 1987-02-21 Einrichtung zur abdeckung der zylindergrube eines zylinders einer rotationsdruckmaschine

Publications (3)

Publication Number Publication Date
EP0280141A2 true EP0280141A2 (de) 1988-08-31
EP0280141A3 EP0280141A3 (en) 1989-11-15
EP0280141B1 EP0280141B1 (de) 1992-10-21

Family

ID=6321481

Family Applications (1)

Application Number Title Priority Date Filing Date
EP88102167A Expired - Lifetime EP0280141B1 (de) 1987-02-21 1988-02-15 Einrichtung zur Abdeckung der Zylindergrube eines Zylinders einer Rotationsdruckmaschine

Country Status (3)

Country Link
EP (1) EP0280141B1 (de)
JP (1) JPS63242543A (de)
DE (2) DE3705593A1 (de)

Family Cites Families (9)

* Cited by examiner, † Cited by third party
Publication number Priority date Publication date Assignee Title
DE236935C (de) *
US1900664A (en) * 1930-10-31 1933-03-07 Harris Seybold Potter Co Printing press
DE640262C (de) * 1934-12-14 1936-12-29 E H Wilhelm Stein Dr Ing Vorrichtung zum Aufspannen von biegsamen Druckformen auf dem Formzylinder von Rotationsdruckmaschinen
US2105452A (en) * 1935-12-18 1938-01-11 New Era Mfg Company Plate clamp
DE701996C (de) * 1937-11-27 1941-01-28 Koenig & Bauer Schnellpressfab Mit einer biegsamen Druckplatte versehener Formzylinder fuer Bogen-Rotationstiefdruckmaschinen
DE1235334B (de) * 1962-04-26 1967-03-02 Albert Schnellpressen Druck- bzw. Gummizylinder von Rotationsdruckmaschinen
DE2948488A1 (de) * 1979-12-01 1981-06-04 M.A.N.- Roland Druckmaschinen AG, 6050 Offenbach Plattenzylinder fuer offset-rotationsdruckmaschinen
DE3326215C2 (de) * 1983-07-21 1986-04-03 M.A.N.- Roland Druckmaschinen AG, 6050 Offenbach Vorrichtung zum Aufspannen einer Druckplatte oder eines Gummituches
US4745824A (en) * 1985-01-25 1988-05-24 Nissan Motor Co., Ltd. Manual transmission with mechanism for preventing reverse gear shift noise

Also Published As

Publication number Publication date
DE3875356D1 (de) 1992-11-26
DE3705593C2 (de) 1989-11-16
EP0280141B1 (de) 1992-10-21
JPS63242543A (ja) 1988-10-07
DE3705593A1 (de) 1988-09-01
EP0280141A3 (en) 1989-11-15

Similar Documents

Publication Publication Date Title
EP0154836B1 (de) Registerstellvorrichtung für eine Rotationsdruckmaschine
EP0438716B1 (de) Vorrichtung zum Verfahren von Wellen lagernden Lagerböcken
DE3644431C2 (de)
DE3508697C2 (de)
DE4308711C2 (de) Vorrichtung zum Verfahren von auf Schlitten befestigten und Wellen lagernden Lagerböcken
EP0453868B1 (de) Vorrichtung zum Verstellen der Falzklappen an einem Falzklappenzylinder
EP0405249B1 (de) Vorrichtung zur Einstellung des Umfangsregisters
DE4326927A1 (de) Vorrichtung für Luftsteuerung bei Bogenanlegern von Druckmaschinen
CH622463A5 (de)
DE2720313C2 (de) Einstellvorrichtung für Umfangs- und Seitenpasser
DE3705593C2 (de)
CH660861A5 (de) Verfahren zum einrichten einer druckmaschine und einstellgeraet zur ausuebung des verfahrens.
DE3440866C2 (de)
DE3222447C2 (de) Zylinderschaftvorrichtung einer Bogen-Rotations-Druckmaschine
DE3502863C2 (de) Changierantrieb für Reibwalzen der zwei Farbwerke eines Doppeldruckwerkes einer Rotations-Offsetdruckmaschine
EP0280159B1 (de) Einrichtung zur Abdeckung der Zylindergrube eines Zylinders einer Rotationsdruckmaschine
DE4214167C2 (de)
EP0264838A2 (de) Schaltantrieb für die Farbkastenwalze einer Druckmaschine
DE4035617A1 (de) Vorrichtung zum verstellen der falzklappen eines falzklappenzylinders
DE2613174C3 (de) Vorrichtung zur Steuerung von Greifern in Bogenrotationsdruckmaschinen
DE2700419C3 (de) Bogenübertragungszylinder für auf Schön- und Widerdruck einstellbare Bogen-Rotations-Druckmaschinen
DE468137C (de) Ausgleichvorrichtung fuer die Umlaufgeschwindigkeiten zweier zusammenarbeitender Zylinder mit veraenderlichem Durchmesser, insbesondere bei Rotationsdruckmaschinen
DE2559735C3 (de) Bogenübergabetrommel einer von Schön- auf Schön- und Widerdruck umstellbaren Bogen-Rotationsdruckmaschine
DE2157615A1 (de) Vorrichtung zum formateinstellen im falzapparat von rotationsdruckmaschinen
DE3033994A1 (de) Verfahren und einrichtung zum einstellen von farbzonenbreiten farbdosierelementen von druckmaschinen

Legal Events

Date Code Title Description
PUAI Public reference made under article 153(3) epc to a published international application that has entered the european phase

Free format text: ORIGINAL CODE: 0009012

AK Designated contracting states

Kind code of ref document: A2

Designated state(s): CH DE FR GB IT LI SE

PUAL Search report despatched

Free format text: ORIGINAL CODE: 0009013

AK Designated contracting states

Kind code of ref document: A3

Designated state(s): CH DE FR GB IT LI SE

17P Request for examination filed

Effective date: 19891028

17Q First examination report despatched

Effective date: 19910513

GRAA (expected) grant

Free format text: ORIGINAL CODE: 0009210

ITF It: translation for a ep patent filed
AK Designated contracting states

Kind code of ref document: B1

Designated state(s): CH DE FR GB IT LI SE

REF Corresponds to:

Ref document number: 3875356

Country of ref document: DE

Date of ref document: 19921126

ET Fr: translation filed
PGFP Annual fee paid to national office [announced via postgrant information from national office to epo]

Ref country code: GB

Payment date: 19930113

Year of fee payment: 6

Ref country code: DE

Payment date: 19930113

Year of fee payment: 6

Ref country code: CH

Payment date: 19930113

Year of fee payment: 6

PGFP Annual fee paid to national office [announced via postgrant information from national office to epo]

Ref country code: FR

Payment date: 19930120

Year of fee payment: 6

PGFP Annual fee paid to national office [announced via postgrant information from national office to epo]

Ref country code: SE

Payment date: 19930125

Year of fee payment: 6

GBT Gb: translation of ep patent filed (gb section 77(6)(a)/1977)

Effective date: 19930118

PLBE No opposition filed within time limit

Free format text: ORIGINAL CODE: 0009261

STAA Information on the status of an ep patent application or granted ep patent

Free format text: STATUS: NO OPPOSITION FILED WITHIN TIME LIMIT

26N No opposition filed
PG25 Lapsed in a contracting state [announced via postgrant information from national office to epo]

Ref country code: GB

Effective date: 19940215

PG25 Lapsed in a contracting state [announced via postgrant information from national office to epo]

Ref country code: SE

Effective date: 19940216

PG25 Lapsed in a contracting state [announced via postgrant information from national office to epo]

Ref country code: LI

Effective date: 19940228

Ref country code: CH

Effective date: 19940228

GBPC Gb: european patent ceased through non-payment of renewal fee

Effective date: 19940215

PG25 Lapsed in a contracting state [announced via postgrant information from national office to epo]

Ref country code: FR

Effective date: 19941031

REG Reference to a national code

Ref country code: CH

Ref legal event code: PL

PG25 Lapsed in a contracting state [announced via postgrant information from national office to epo]

Ref country code: DE

Effective date: 19941101

REG Reference to a national code

Ref country code: FR

Ref legal event code: ST

EUG Se: european patent has lapsed

Ref document number: 88102167.9

Effective date: 19940910

PG25 Lapsed in a contracting state [announced via postgrant information from national office to epo]

Ref country code: IT

Free format text: LAPSE BECAUSE OF NON-PAYMENT OF DUE FEES;WARNING: LAPSES OF ITALIAN PATENTS WITH EFFECTIVE DATE BEFORE 2007 MAY HAVE OCCURRED AT ANY TIME BEFORE 2007. THE CORRECT EFFECTIVE DATE MAY BE DIFFERENT FROM THE ONE RECORDED.

Effective date: 20050215