CN113458802A - 安全型汽车导向臂车架支架专用制备系统及其制备方法 - Google Patents
安全型汽车导向臂车架支架专用制备系统及其制备方法 Download PDFInfo
- Publication number
- CN113458802A CN113458802A CN202110539812.3A CN202110539812A CN113458802A CN 113458802 A CN113458802 A CN 113458802A CN 202110539812 A CN202110539812 A CN 202110539812A CN 113458802 A CN113458802 A CN 113458802A
- Authority
- CN
- China
- Prior art keywords
- positioning
- seat
- support
- plate
- cutting
- Prior art date
- Legal status (The legal status is an assumption and is not a legal conclusion. Google has not performed a legal analysis and makes no representation as to the accuracy of the status listed.)
- Granted
Links
- 238000002360 preparation method Methods 0.000 title claims abstract description 17
- 230000007246 mechanism Effects 0.000 claims abstract description 70
- 238000005520 cutting process Methods 0.000 claims abstract description 65
- 238000012545 processing Methods 0.000 claims abstract description 61
- 238000003466 welding Methods 0.000 claims abstract description 54
- 238000005452 bending Methods 0.000 claims abstract description 52
- 238000004080 punching Methods 0.000 claims abstract description 45
- 238000013519 translation Methods 0.000 claims abstract description 3
- 230000003014 reinforcing effect Effects 0.000 claims description 68
- 239000000463 material Substances 0.000 claims description 38
- 238000003860 storage Methods 0.000 claims description 31
- 238000001179 sorption measurement Methods 0.000 claims description 19
- 238000004519 manufacturing process Methods 0.000 claims description 9
- 238000007493 shaping process Methods 0.000 claims description 8
- 230000000712 assembly Effects 0.000 claims description 3
- 238000000429 assembly Methods 0.000 claims description 3
- 230000000694 effects Effects 0.000 claims 2
- 238000003754 machining Methods 0.000 abstract description 7
- 230000000903 blocking effect Effects 0.000 description 8
- 239000000725 suspension Substances 0.000 description 4
- 230000009286 beneficial effect Effects 0.000 description 2
- 238000013461 design Methods 0.000 description 2
- 238000010586 diagram Methods 0.000 description 2
- 238000012423 maintenance Methods 0.000 description 2
- 239000002184 metal Substances 0.000 description 2
- FGRBYDKOBBBPOI-UHFFFAOYSA-N 10,10-dioxo-2-[4-(N-phenylanilino)phenyl]thioxanthen-9-one Chemical compound O=C1c2ccccc2S(=O)(=O)c2ccc(cc12)-c1ccc(cc1)N(c1ccccc1)c1ccccc1 FGRBYDKOBBBPOI-UHFFFAOYSA-N 0.000 description 1
- 230000009471 action Effects 0.000 description 1
- 239000002131 composite material Substances 0.000 description 1
- 238000005516 engineering process Methods 0.000 description 1
- 230000005484 gravity Effects 0.000 description 1
- 238000000034 method Methods 0.000 description 1
- 238000000465 moulding Methods 0.000 description 1
- 238000012797 qualification Methods 0.000 description 1
- 238000006467 substitution reaction Methods 0.000 description 1
- 230000007704 transition Effects 0.000 description 1
Images
Classifications
-
- B—PERFORMING OPERATIONS; TRANSPORTING
- B21—MECHANICAL METAL-WORKING WITHOUT ESSENTIALLY REMOVING MATERIAL; PUNCHING METAL
- B21D—WORKING OR PROCESSING OF SHEET METAL OR METAL TUBES, RODS OR PROFILES WITHOUT ESSENTIALLY REMOVING MATERIAL; PUNCHING METAL
- B21D35/00—Combined processes according to or processes combined with methods covered by groups B21D1/00 - B21D31/00
- B21D35/001—Shaping combined with punching, e.g. stamping and perforating
-
- B—PERFORMING OPERATIONS; TRANSPORTING
- B21—MECHANICAL METAL-WORKING WITHOUT ESSENTIALLY REMOVING MATERIAL; PUNCHING METAL
- B21D—WORKING OR PROCESSING OF SHEET METAL OR METAL TUBES, RODS OR PROFILES WITHOUT ESSENTIALLY REMOVING MATERIAL; PUNCHING METAL
- B21D35/00—Combined processes according to or processes combined with methods covered by groups B21D1/00 - B21D31/00
- B21D35/002—Processes combined with methods covered by groups B21D1/00 - B21D31/00
-
- B—PERFORMING OPERATIONS; TRANSPORTING
- B23—MACHINE TOOLS; METAL-WORKING NOT OTHERWISE PROVIDED FOR
- B23P—METAL-WORKING NOT OTHERWISE PROVIDED FOR; COMBINED OPERATIONS; UNIVERSAL MACHINE TOOLS
- B23P15/00—Making specific metal objects by operations not covered by a single other subclass or a group in this subclass
-
- B—PERFORMING OPERATIONS; TRANSPORTING
- B23—MACHINE TOOLS; METAL-WORKING NOT OTHERWISE PROVIDED FOR
- B23P—METAL-WORKING NOT OTHERWISE PROVIDED FOR; COMBINED OPERATIONS; UNIVERSAL MACHINE TOOLS
- B23P23/00—Machines or arrangements of machines for performing specified combinations of different metal-working operations not covered by a single other subclass
- B23P23/06—Metal-working plant comprising a number of associated machines or apparatus
Landscapes
- Engineering & Computer Science (AREA)
- Mechanical Engineering (AREA)
- Physics & Mathematics (AREA)
- Optics & Photonics (AREA)
- Automatic Assembly (AREA)
Abstract
本发明涉及安全型汽车导向臂车架支架专用制备系统,包括工作台,所述工作台上设有输送机构、切割机构、冲压打孔机构、折弯机构、焊接机构,输送机构包括底座、导轨组件、驱动电机、活动座,活动座通过驱动电机的驱动在导轨组件上水平滑动,活动座两侧铰接有加工板,加工板底部设有定位轴;折弯机构包括铰接座、折弯液压缸和定位组件,铰接座对称设置在导轨支架两侧,铰接座上铰接折弯液压缸,两个折弯液压缸倾斜对称设置并通过定位组件定位,折弯液压缸的活塞杆上固定设有定位环套,定位环套与定位轴位于同一直线上,通过活动座平移,使得定位轴嵌入到定位环套中进行定位,实现折弯液压缸推动加工板进行旋转,全自动化加工,提高了加工效率。
Description
技术领域
本发明属于汽车装备制备工装技术领域,具体涉及安全型汽车导向臂车架支架专用制备系统及其制备方法。
背景技术
由于空气悬架技术具有良好的舒适性,且有利于减轻重型汽车对桥梁、路面的冲击,提高其使用寿命、降低维护成本,所以空气悬架越来越多的应用于重型汽车。导向臂支架是复合空气悬架系统中的一个重要部件,用于连接导向臂和车架,承受着垂直载荷、纵向载荷和侧向载荷。目前,现有空气悬架导向臂支架多采用分体钣金结构,采用螺栓和焊接方式将多个钣金体固定连接成为导向臂支架,这种导向臂支架结构虽然简单,但加工困难,而且其加工流程通常采用人工加工的方式,板材需要经过切割、打孔、塑形、折弯、焊接等流程加工成型,使得人工操作时往往需要经过多个设备才能加工成型,导致加工效率低,产品质量参差不齐等问题。因此针对上述问题,有必要设计一种导向臂支架自动化制备系统。
发明内容
本发明针对上述问题,公开了涉及安全型汽车导向臂车架支架专用制备系统及其制备方法,解决了现有技术中导向臂支架生产效率低下,质量参差不齐的问题。
具体的技术方案如下:
安全型汽车导向臂车架支架专用制备系统,包括工作台,所述工作台上设有输送机构、切割机构、冲压打孔机构、折弯机构、焊接机构;所述输送机构包括底座、导轨组件、驱动电机、活动座,所述底座横向设置在工作台上,底座上设置所述导轨组件和驱动电机,导轨组件上设置所述活动座,且活动座通过驱动电机的驱动从而在导轨组件上水平滑动,所述活动座两端对称设有用于固定导向臂支架的定位夹具,活动座的两侧均铰接有加工板,所述加工板底部设有连接块,所述连接块的一侧水平设有定位轴,所述工作台上位于底座两侧依次设有第一支座、定位座和第二支座,所述第一支座和第二支座用于对加工板底部支撑,使其保持水平状态,两个定位座上对称开设有用于容置加工板末端的定位槽,使得加工板保持水平状态;
所述切割机构包括切割支架、升降座、切割电机以及切割刀,所述切割支架数量为两个并分别设置在两个定位座外侧,切割支架相对一侧均纵向设有直线模组,两个直线模组之间水平设置所述升降座,升降座底部通过固定架设置两个所述切割电机,两个切割电机呈“八”字形对称设置,且切割电机的输出轴上均设有切割刀;
所述冲压打孔机构包括冲孔支座、第一液压缸、第二液压缸,所述冲孔支座设置在导轨组件上方并位于两个第二支座的外侧,冲孔支座顶部两侧沿导轨支架方向依次设置两个第一液压缸和两个第二液压缸,所述第一液压缸的活塞杆底端连接有用于在导向臂支架上开孔的冲压头,所述第二液压缸的活塞杆底端连接有用于在导向臂支架上冲压塑形的冲压块;
所述折弯机构包括铰接座、折弯液压缸和定位组件,所述铰接座数量为两个,设置在工作台上并位于导轨支架两侧,两个铰接座上均铰接一个折弯液压缸,两个折弯液压缸呈“八”字形倾斜对称设置并分别通过一个定位组件进行定位,两个折弯液压缸的活塞杆上均固定设有定位环套,所述定位环套均为水平设置并与所述定位轴位于同一直线上,通过活动座在导轨组件上平移,使得定位轴嵌入到定位环套中进行定位,实现折弯液压缸推动加工板进行90度旋转;
所述焊接机构包括焊接支座、加强板上料机构、加强板定位机构以及焊接手臂,所述焊接支座位于折弯机构上方,焊接支座底部设置所述加强板上料机构和加强板定位机构,加强板上料机构用于将加强板逐一上料至加强板定位机构上,且加强板定位机构用于对加强板进行定位并通过焊接手臂将加强板与折弯后的导向臂支架内壁进行焊接,所述焊接手臂固定设置在工作台上并位于焊接支座的一端。
进一步的,所述加工板上分别开设有与切割刀、冲压头、冲压块位置相对应的切割口、冲压孔和冲压槽。
进一步的,其中一个所述加工板上设有用于定位加工型材的限位座,所述限位座呈L型结构。
进一步的,所述定位座的长度大于第一支座和第二支座之间的间距。
进一步的,所述定位组件包括固定座、吸附磁铁和磁铁吸附板,所述固定座设置工作台上并位于铰接座的外侧,固定座靠近铰接座的一侧侧壁为倾斜设置,所述吸附磁铁固定设置在固定座上的倾斜一侧,所述磁铁吸附板固定设置在折弯液压缸的侧壁上并与吸附磁铁相配合,实现固定座对折弯液压缸的定位。
进一步的,所述加强板上料机构包括连接座、储料盒、上料气缸、导杆、活动块,所述连接座呈“几”字形结构,且连接座两端与焊接支座底部固定连接,连接座底部纵向设置所述储料盒,储料盒内壁尺寸与加强板尺寸相适配,储料盒上端一侧设有上料口,储料盒底部为开口设置,储料盒下端侧壁上分别开设有L型结构的第一活动口和第二活动口,所述第一活动口和第二活动口之间呈错位对称设置,且第一活动口位于第二活动口的上方;所述活动块滑动设置在导杆上并位于储料盒的一端,导杆两端固定设置在焊接支座的两侧,活动块一侧错位设置有第一挡料板和第二挡料板,所述第一挡料板和第二挡料板的位置分别与第一活动口和第二活动口的位置相对应,且第一挡料板与第二挡料板的相靠近一端侧壁均为倾斜向下设置;所述上料气缸通过气缸座水平设置在焊接支座一侧,上料气缸的活塞杆一端与活动块的一端固定连接,实现上料气缸带动活动块在导杆上滑动,并使得第一挡料板和第二挡料板依次对储料盒中的加强板进行限位。
进一步的,所述加强板定位机构包括定位气缸、连接板和定位板,所述定位气缸设置在焊接支座顶部,定位气缸的活塞杆贯穿焊接支座顶部并与所述连接板的中心垂直连接,连接板位于连接座中心,连接板的两端分别铰接连接一个定位板,所述定位板均为纵向设置并位于储料盒的两端,两个定位板相对称一侧均设有第一导向块,所述第一导向块的上端为倾斜设置并第二导向块相配合,且第二导向块分别设置于储料盒的两端侧壁上,两个定位板底部设有用于支撑加强板两端的定位支座。
进一步的,两个所述定位板底端均向内侧90度弯折设置有导向部,两个所述导向部的相对称一侧上端为倾斜设置。
安全型汽车导向臂车架支架专用制备方法,包括以下步骤:
(1)定位:人工将加工型材放置在活动座和加工板上,并使其一角抵靠在限位座上,再手动调节定位夹具对加工型材的两端进行压合定位,同时两个加工板底部放置在第一支座上;
(2)切割:驱动电机通过导轨组件带动活动座移动至两个定位座之间,并使得两个加工板的末端嵌入到定位槽中进行定位,随后通过两个直线模组带动升降座下降,使得切割电机带动切割刀旋转,并对加工板上的加工型材进行切割,同时在切割过程中,切割刀下端穿过切割口;
(3)冲孔塑形:驱动电机通过导轨组件带动活动座移动至冲压头下方,两个第一液压缸通过带动冲压头下行并在加工板上的冲压孔配合下,在加工型材两侧进行冲孔,随后驱动电机通过导轨组件将活动座移动至冲压块下方,第二液压缸通过带动冲压块下行并在加工板上冲压槽的配合下,在加工型材两侧冲压出两组加强筋;
(4)折弯:驱动电机通过导轨组件带动活动座移动,并使两个加工板底部的定位轴嵌入到定位环套中进行定位,再通过两个折弯液压缸通过定位环套推动两个加工板向上转动至90°,并使得加工型材两端进行90°弯折成型,同时加工型材两端弯折形成的内壁对两个定位支座之间的加强板两侧进行按压定位;
(5)焊接:通过定位气缸带动连接板上行并带动两个定位板上方,定位板在第一导向块与第二导向块配合下向两侧展开,从而使定位支座脱离加强板,再通过焊接手臂对加强板与成型的导向臂支架两侧内壁进行焊接固定。
本发明的有益效果体现在:
1、本发明采用流水线加工形式对导向臂支架逐步加工成型,全自动化加工,无需人工手持板材进行操作,大大提高了加工效率,保证了产品质量。
2、通过折弯液压缸直接带动两个加工板旋转,实现对加工型材的折弯,无需对加工板另外调节定位,节省了整个加工系统的工作时间,并且折弯液压缸在复位时通过吸附磁铁与磁铁吸附板的配合下进行定位,无需采用额外定位组件,降低加工成本。
3、通过加强板上料机构能够实现对加强板的逐一上料,并在加强板定位机构的配合下,使加工效率最大化,保证工件加工的连续性。
4、本发明设计合理,结构简单,合格率高,便于拆卸和维护。
附图说明
图1为本发明的结构示意图。
图2为本发明的俯视图。
图3为本发明的中输送机构的结构示意图。
图4为本发明中折弯机构的结构示意图。
图5为本发明中加强板的立体图。
图6为本发明中储料盒的结构示意图。
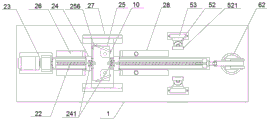
工作台1、底座21、导轨组件22、驱动电机23、活动座24、定位夹具241、加工板25、冲压孔251、切割口252、冲压槽253、连接块254、定位轴255、限位座256、第一支座26、定位座27、第二支座28、切割支架31、直线模组32、升降座33、切割电机34、切割刀35、固定架36、冲孔支座41、第一液压缸42、冲压头421、第二液压缸43、冲压块431、铰接座51、折弯液压缸52、定位环套521、固定座53、吸附磁铁54、磁铁吸附板55、焊接支座61、焊接手臂62、连接座71、储料盒72、进料口721、第一活动口722、第二活动口723、上料气缸73、气缸座74、导杆75、活动块76、第一挡料板761、第二挡料板762、定位气缸81、连接板82、定位板83、导向部831、第一导向块832、第二导向块833、定位支座834、加强板9、加工型材10。
具体实施方式
为使本发明的技术方案更加清晰明确,下面结合附图对本发明进行进一步描述,任何对本发明技术方案的技术特征进行等价替换和常规推理得出的方案均落入本发明保护范围。本发明中所提及的固定连接,固定设置均为机械领域中的通用连接方式,焊接、螺栓螺母连接以及螺钉连接均可。
在本发明创造的描述中,需要理解的是,术语“上”、“下”、“前”、“后”、“左”、“右”、“竖直”、“水平”、“顶”、“底”、“内”、“外”等指示的方位或位置关系为基于附图所示的方位或位置关系,仅是为了便于描述本发明创造和简化描述,而不是指示或暗示所指的装置或元件必须具有特定的方位、以特定的方位构造和操作,因此不能理解为对本发明的限制。
如图1-6所示,安全型汽车导向臂车架支架专用制备系统,包括工作台1,所述工作台1上设有输送机构、切割机构、冲压打孔机构、折弯机构、焊接机构;所述输送机构包括底座21、导轨组件22、驱动电机23、活动座24,所述底座21横向设置在工作台1上,底座21上设置所述导轨组件22和驱动电机23,导轨组件22包括导轨和丝杆,导轨上设置活动座24,丝杆与活动座24螺纹连接,且活动座24通过驱动电机23的驱动丝杆旋转从而在导轨上水平滑动,所述活动座24两端对称设有用于固定导向臂支架的定位夹具241,活动座24的两侧均铰接有加工板25,所述加工板25底部设有连接块254,所述连接块254的一侧水平设有定位轴255,所述工作台1上位于底座21两侧依次设有第一支座26、定位座27和第二支座28,所述第一支座26和第二支座28用于对加工板25底部支撑,使其保持水平状态,两个定位座27上对称开设有用于容置加工板25末端的定位槽,使得加工板25保持水平状态;
所述切割机构包括切割支架31、升降座33、切割电机34以及切割刀35,所述切割支架31数量为两个并分别设置在两个定位座27外侧,切割支架31相对一侧均纵向设有直线模组32,两个直线模组32之间水平设置所述升降座33,升降座33底部通过固定架36设置两个所述切割电机34,两个切割电机34呈“八”字形对称设置,且切割电机34的输出轴上均设有切割刀35;
所述冲压打孔机构包括冲孔支座41、第一液压缸42、第二液压缸43,所述冲孔支座41设置在导轨组件22上方并位于两个第二支座28的外侧,冲孔支座41顶部两侧沿导轨支架方向依次设置两个第一液压缸42和两个第二液压缸43,所述第一液压缸42的活塞杆底端连接有用于在导向臂支架上开孔的冲压头421,所述第二液压缸43的活塞杆底端连接有用于在导向臂支架上冲压塑形的冲压块431;
所述折弯机构包括铰接座51、折弯液压缸52和定位组件,所述铰接座51数量为两个并分别对称设置在导轨支架两侧,两个铰接座51上均铰接一个折弯液压缸52,两个折弯液压缸52呈“八”字形倾斜对称设置并分别通过一个定位组件进行定位,两个折弯液压缸52的活塞杆上均固定设有定位环套521,所述定位环套521均为水平设置并与所述定位轴255位于同一直线上,通过活动座24在导轨组件22上平移,使得定位轴255嵌入到定位环套521中进行定位,实现折弯液压缸52推动加工板25进行90度旋转;
所述焊接机构包括焊接支座61、加强板9上料机构、加强板9定位机构以及焊接手臂62,所述焊接支座61位于折弯机构上方,焊接支座61底部设置所述加强板9上料机构和加强板9定位机构,加强板9上料机构用于将加强板9逐一上料至加强板9定位机构上,且加强板9定位机构用于对加强板9进行定位并通过焊接手臂62将加强板9与折弯后的导向臂支架内壁进行焊接,所述焊接手臂62固定设置在工作台1上并位于焊接支座61的一端。
进一步的,所述加工板25上分别开设有与切割刀35、冲压头421、冲压块431位置相对应的切割口252、冲压孔251和冲压槽253。
进一步的,其中一个所述加工板25上设有用于定位加工型材10的限位座256,所述限位座256呈L型结构。
进一步的,所述定位座27的长度大于第一支座26和第二支座28之间的间距。
进一步的,所述定位组件包括固定座53、吸附磁铁54和磁铁吸附板55,所述固定座53设置工作台1上并位于铰接座51的外侧,固定座53靠近铰接座51的一侧侧壁为倾斜设置,所述吸附磁铁54固定设置在固定座53上的倾斜一侧,所述磁铁吸附板55固定设置在折弯液压缸52的侧壁上并与吸附磁铁54相配合,实现固定座53对折弯液压缸52的定位。
进一步的,所述加强板9上料机构包括连接座71、储料盒72、上料气缸73、导杆75、活动块76,所述连接座71呈“几”字形结构,且连接座71两端与焊接支座61底部固定连接,连接座71底部纵向设置所述储料盒72,储料盒72内壁尺寸与加强板9尺寸相适配,储料盒72上端一侧设有上料口,储料盒72底部为开口设置,储料盒72下端侧壁上分别开设有L型结构的第一活动口722和第二活动口723,所述第一活动口722和第二活动口723之间呈错位对称设置,且第一活动口722位于第二活动口723的上方;所述活动块76滑动设置在导杆75上并位于储料盒72的一端,导杆75两端固定设置在焊接支座61的两侧,活动块76一侧错位设置有第一挡料板761和第二挡料板762,所述第一挡料板761和第二挡料板762的位置分别与第一活动口722和第二活动口723的位置相对应,且第一挡料板761与第二挡料板762的相靠近一端侧壁均为倾斜向下设置,从而避免与加强块侧壁产生限位;所述上料气缸73通过气缸座74水平设置在焊接支座61一侧,上料气缸73的活塞杆一端与活动块76的一端固定连接,实现上料气缸73带动活动块76在导杆75上滑动,并使得第一挡料板761和第二挡料板762依次对储料盒72中的加强板9进行限位,第一挡料板761与第二挡料板762之间间距与一块加强板9的厚度尺寸相适配,当第一挡料板761移动至容置盒中时,第二挡料板762移动到容置盒外侧,使第二挡料板762不再对其上方的加强板9限位,该加强板9在重力作用下下落至两个定位支座834上。
进一步的,所述加强板9定位机构包括定位气缸81、连接板82和定位板83,所述定位气缸81设置在焊接支座61顶部,定位气缸81的活塞杆贯穿焊接支座61顶部并与所述连接板82的中心垂直连接,连接板82位于连接座71中心,连接板82的两端分别铰接连接一个定位板83,所述定位板83均为纵向设置并位于储料盒72的两端,两个定位板83相对称一侧均设有第一导向块832,所述第一导向块832的上端为倾斜设置并第二导向块833相配合,且第二导向块833分别设置于储料盒72的两端侧壁上,两个定位板83底部设有用于支撑加强板9两端的定位支座834,定位支座834的宽度小于加强板9的宽度。
进一步的,两个所述定位板83底端均向内侧90度弯折设置有导向部831,两个所述导向部831的相对称一侧上端为倾斜设置,使得下落的加强板9下落过程中避免受到限位。
安全型汽车导向臂车架支架专用制备方法,包括以下步骤:
(1)定位:人工将加工型材10放置在活动座24和加工板25上,并使其一角抵靠在限位座256上,再手动调节定位夹具241对加工型材10的两端进行压合定位,同时两个加工板25底部放置在第一支座26上;
(2)切割:驱动电机23通过导轨组件22带动活动座24移动至两个定位座27之间,两个加工板25在第一支座26过渡下移动至定位槽中,并使得两个加工板25的末端嵌入到定位槽中进行定位,随后通过两个直线模组32带动升降座33下降,使得切割电机34带动切割刀35旋转,并对加工板25上的加工型材10进行切割,同时在切割过程中,切割刀35下端穿过切割口252;
(3)冲孔塑形:驱动电机23通过导轨组件22带动活动座24移动至冲压头421下方,两个第一液压缸42通过带动冲压头421下行并在加工板25上的冲压孔251配合下,在加工型材10两侧进行冲孔,随后驱动电机23通过导轨组件22将活动座24移动至冲压块431下方,第二液压缸43通过带动冲压块431下行并在加工板25上冲压槽253的配合下,在加工型材10两侧冲压出两组加强筋;
(4)折弯:驱动电机23通过导轨组件22带动活动座24移动,并使两个加工板25底部的定位轴255嵌入到定位环套521中进行定位,再通过两个折弯液压缸52通过定位环套521推动两个加工板25向上转动至90°,并使得加工型材10两端进行90°弯折成型,同时加工型材10两端弯折形成的内壁对两个定位支座834之间的加强板9两侧进行按压定位;
(5)焊接:通过定位气缸81带动连接板82上行并带动两个定位板83上方,定位板83在第一导向块832与第二导向块833配合下向两侧展开,从而使定位支座834脱离加强板9,再通过焊接手臂62对加强板9与成型的导向臂支架两侧内壁进行焊接固定。
以上所述,仅为本发明较佳的具体实施方式,但本发明的保护范围并不局限于此,任何熟悉本技术领域的技术人员在本发明揭露的技术范围内,可轻易想到的变化或替换,都应涵盖在本发明的保护范围内。因此,本发明的保护范围应该以权利要求书的保护范围为准。
Claims (9)
1.安全型汽车导向臂车架支架专用制备系统,包括工作台(1),其特征在于,所述工作台(1)上设有输送机构、切割机构、冲压打孔机构、折弯机构、焊接机构;所述输送机构包括底座(21)、导轨组件(22)、驱动电机(23)、活动座(24),所述底座(21)横向设置在工作台(1)上,底座(21)上设置所述导轨组件(22)和驱动电机(23),导轨组件(22)上设置所述活动座(24),且活动座(24)通过驱动电机(23)的驱动从而在导轨组件(22)上水平滑动,所述活动座(24)两端对称设有用于固定导向臂支架的定位夹具(241),活动座(24)的两侧均铰接有加工板(25),所述加工板(25)底部设有连接块(254),所述连接块(254)的一侧水平设有定位轴(255),所述工作台(1)上位于底座(21)两侧依次设有第一支座(26)、定位座(27)和第二支座(28),所述第一支座(26)和第二支座(28)用于对加工板(25)底部支撑,两个定位座(27)上对称开设有用于容置加工板(25)末端的定位槽,使得加工板(25)保持水平状态;
所述切割机构包括切割支架(31)、升降座(33)、切割电机(34)以及切割刀(35),所述切割支架(31)数量为两个并分别设置在两个定位座(27)外侧,切割支架(31)相对一侧均纵向设有直线模组(32),两个直线模组(32)之间水平设置所述升降座(33),升降座(33)底部通过固定架(36)设置两个所述切割电机(34),两个切割电机(34)呈“八”字形对称设置,且切割电机(34)的输出轴上均设有切割刀(35);
所述冲压打孔机构包括冲孔支座(41)、第一液压缸(42)、第二液压缸(43),所述冲孔支座(41)设置在导轨组件(22)上方并位于两个第二支座(28)的外侧,冲孔支座(41)顶部两侧沿导轨支架方向依次设置两个第一液压缸(42)和两个第二液压缸(43),所述第一液压缸(42)的活塞杆底端连接有用于在导向臂支架上开孔的冲压头(421),所述第二液压缸(43)的活塞杆底端连接有用于在导向臂支架上冲压塑形的冲压块(431);
所述折弯机构包括铰接座(51)、折弯液压缸(52)和定位组件,所述铰接座(51)数量为两个并分别对称设置在导轨支架两侧,两个铰接座(51)上均铰接一个折弯液压缸(52),两个折弯液压缸(52)呈“八”字形倾斜对称设置并分别通过一个定位组件进行定位,两个折弯液压缸(52)的活塞杆上均固定设有定位环套(521),所述定位环套(521)均为水平设置并与所述定位轴(255)位于同一直线上,通过活动座(24)在导轨组件(22)上平移,使得定位轴(255)嵌入到定位环套(521)中进行定位,实现折弯液压缸(52)推动加工板(25)进行90度旋转;
所述焊接机构包括焊接支座(61)、加强板(9)上料机构、加强板(9)定位机构以及焊接手臂(62),所述焊接支座(61)位于折弯机构上方,焊接支座(61)底部设置所述加强板(9)上料机构和加强板(9)定位机构,加强板(9)上料机构用于将加强板(9)逐一上料至加强板(9)定位机构上,且加强板(9)定位机构用于对加强板(9)进行定位并通过焊接手臂(62)将加强板(9)与折弯后的导向臂支架内壁进行焊接,所述焊接手臂(62)固定设置在工作台(1)上并位于焊接支座(61)的一端。
2.如权利要求1所述的安全型汽车导向臂车架支架专用制备系统,其特征在于,所述加工板(25)上分别开设有与切割刀(35)、冲压头(421)、冲压块(431)位置相对应的切割口(252)、冲压孔(251)和冲压槽(253)。
3.如权利要求2所述的安全型汽车导向臂车架支架专用制备系统,其特征在于,其中一个所述加工板(25)上设有用于定位加工型材(10)的限位座(256),所述限位座(256)呈L型结构。
4.如权利要求1所述的安全型汽车导向臂车架支架专用制备系统,其特征在于,所述定位座(27)的长度大于第一支座(26)和第二支座(28)之间的间距。
5.如权利要求1所述的安全型汽车导向臂车架支架专用制备系统,其特征在于,所述定位组件包括固定座(53)、吸附磁铁(54)和磁铁吸附板(55),所述固定座(53)设置工作台(1)上并位于铰接座(51)的外侧,固定座(53)靠近铰接座(51)的一侧侧壁为倾斜设置,所述吸附磁铁(54)固定设置在固定座(53)上的倾斜一侧,所述磁铁吸附板(55)固定设置在折弯液压缸(52)的侧壁上并与吸附磁铁(54)相配合,实现固定座(53)对折弯液压缸(52)的定位。
6.如权利要求1所述的安全型汽车导向臂车架支架专用制备系统,其特征在于,所述加强板(9)上料机构包括连接座(71)、储料盒(72)、上料气缸(73)、导杆(75)、活动块(76),所述连接座(71)呈“几”字形结构,且连接座(71)两端与焊接支座(61)底部固定连接,连接座(71)底部纵向设置所述储料盒(72),储料盒(72)内壁尺寸与加强板(9)尺寸相适配,储料盒(72)上端一侧设有上料口,储料盒(72)底部为开口设置,储料盒(72)下端侧壁上分别开设有L型结构的第一活动口(722)和第二活动口(723),所述第一活动口(722)和第二活动口(723)之间呈错位对称设置,且第一活动口(722)位于第二活动口(723)的上方;所述活动块(76)滑动设置在导杆(75)上并位于储料盒(72)的一端,导杆(75)两端固定设置在焊接支座(61)的两侧,活动块(76)一侧错位设置有第一挡料板(761)和第二挡料板(762),所述第一挡料板(761)和第二挡料板(762)的位置分别与第一活动口(722)和第二活动口(723)的位置相对应,且第一挡料板(761)与第二挡料板(762)的相靠近一端侧壁均为倾斜向下设置;所述上料气缸(73)通过气缸座(74)水平设置在焊接支座(61)一侧,上料气缸(73)的活塞杆一端与活动块(76)的一端固定连接,实现上料气缸(73)带动活动块(76)在导杆(75)上滑动,并使得第一挡料板(761)和第二挡料板(762)依次对储料盒(72)中的加强板(9)进行限位。
7.如权利要求6所述的安全型汽车导向臂车架支架专用制备系统,其特征在于,所述加强板(9)定位机构包括定位气缸(81)、连接板(82)和定位板(83),所述定位气缸(81)设置在焊接支座(61)顶部,定位气缸(81)的活塞杆贯穿焊接支座(61)顶部并与所述连接板(82)的中心垂直连接,连接板(82)位于连接座(71)中心,连接板(82)的两端分别铰接连接一个定位板(83),所述定位板(83)均为纵向设置并位于储料盒(72)的两端,两个定位板(83)相对称一侧均设有第一导向块(832),所述第一导向块(832)的上端为倾斜设置并第二导向块(833)相配合,且第二导向块(833)分别设置于储料盒(72)的两端侧壁上,两个定位板(83)底部设有用于支撑加强板(9)两端的定位支座(834)。
8.如权利要求7所述的安全型汽车导向臂车架支架专用制备系统,其特征在于,两个所述定位板(83)底端均向内侧90度弯折设置有导向部(831),两个所述导向部(831)的相对称一侧上端为倾斜设置。
9.安全型汽车导向臂车架支架专用制备方法,其特征在于,该方法包括以下步骤:
(1)定位:人工将加工型材(10)放置在活动座(24)和加工板(25)上,并使其一角抵靠在限位座(256)上,再手动调节定位夹具(241)对加工型材(10)的两端进行压合定位,同时两个加工板(25)底部放置在第一支座(26)上;
(2)切割:驱动电机(23)通过导轨组件(22)带动活动座(24)移动至两个定位座(27)之间,并使得两个加工板(25)的末端嵌入到定位槽中进行定位,随后通过两个直线模组(32)带动升降座(33)下降,使得切割电机(34)带动切割刀(35)旋转,并对加工板(25)上的加工型材(10)进行切割,同时在切割过程中,切割刀(35)下端穿过切割口(252);
(3)冲孔塑形:驱动电机(23)通过导轨组件(22)带动活动座(24)移动至冲压头(421)下方,两个第一液压缸(42)通过带动冲压头(421)下行并在加工板(25)上的冲压孔(251)配合下,在加工型材(10)两侧进行冲孔,随后驱动电机(23)通过导轨组件(22)将活动座(24)移动至冲压块(431)下方,第二液压缸(43)通过带动冲压块(431)下行并在加工板(25)上冲压槽(253)的配合下,在加工型材(10)两侧冲压出两组加强筋;
(4)折弯:驱动电机(23)通过导轨组件(22)带动活动座(24)移动,并使两个加工板(25)底部的定位轴(255)嵌入到定位环套(521)中进行定位,再通过两个折弯液压缸(52)通过定位环套(521)推动两个加工板(25)向上转动至90°,并使得加工型材(10)两端进行90°弯折成型,同时加工型材(10)两端弯折形成的内壁对两个定位支座(834)之间的加强板(9)两侧进行按压定位;
(5)焊接:通过定位气缸(81)带动连接板(82)上行并带动两个定位板(83)上方,定位板(83)在第一导向块(832)与第二导向块(833)配合下向两侧展开,从而使定位支座(834)脱离加强板(9),再通过焊接手臂(62)对加强板(9)与成型的导向臂支架两侧内壁进行焊接固定。
Priority Applications (1)
| Application Number | Priority Date | Filing Date | Title |
|---|---|---|---|
| CN202110539812.3A CN113458802B (zh) | 2021-05-18 | 2021-05-18 | 安全型汽车导向臂车架支架专用制备系统及其制备方法 |
Applications Claiming Priority (1)
| Application Number | Priority Date | Filing Date | Title |
|---|---|---|---|
| CN202110539812.3A CN113458802B (zh) | 2021-05-18 | 2021-05-18 | 安全型汽车导向臂车架支架专用制备系统及其制备方法 |
Publications (2)
| Publication Number | Publication Date |
|---|---|
| CN113458802A true CN113458802A (zh) | 2021-10-01 |
| CN113458802B CN113458802B (zh) | 2023-03-21 |
Family
ID=77870882
Family Applications (1)
| Application Number | Title | Priority Date | Filing Date |
|---|---|---|---|
| CN202110539812.3A Active CN113458802B (zh) | 2021-05-18 | 2021-05-18 | 安全型汽车导向臂车架支架专用制备系统及其制备方法 |
Country Status (1)
| Country | Link |
|---|---|
| CN (1) | CN113458802B (zh) |
Cited By (5)
| Publication number | Priority date | Publication date | Assignee | Title |
|---|---|---|---|---|
| CN116372597A (zh) * | 2023-06-05 | 2023-07-04 | 山东华建铝业集团有限公司 | 一种铝合金型材收口机构 |
| CN117047474A (zh) * | 2023-09-20 | 2023-11-14 | 青县引领机箱设备制造有限公司 | 一种折弯与焊接工序同步进行的折弯焊接机 |
| CN117340627A (zh) * | 2023-09-28 | 2024-01-05 | 艾斯乐精密制造(浙江)有限公司 | 一种电气柜柜体加工系统 |
| CN118204779A (zh) * | 2024-04-15 | 2024-06-18 | 华嘉铝业有限公司 | 一种铝合金型材折弯切断设备 |
| CN120056628A (zh) * | 2025-03-18 | 2025-05-30 | 浙江省丽水市蓝天制笔有限公司 | 一种磁悬浮钢笔及其加工工艺 |
Citations (4)
| Publication number | Priority date | Publication date | Assignee | Title |
|---|---|---|---|---|
| CN106217053A (zh) * | 2016-08-31 | 2016-12-14 | 无锡市光彩机械制造有限公司 | 一种集成拼焊用c型钢成型冲孔线及加工工艺 |
| CN109396712A (zh) * | 2017-08-18 | 2019-03-01 | 东莞中集专用车有限公司 | 专用车中车架的组装台 |
| CN109434159A (zh) * | 2018-12-21 | 2019-03-08 | 浙江永福车业有限公司 | 一种用于车架制作的金属条板传送加工机构 |
| CN212653009U (zh) * | 2020-09-03 | 2021-03-05 | 东莞市夯牛机电科技有限公司 | 一种三沟弯铁板自动定位折弯的一体化加工设备 |
-
2021
- 2021-05-18 CN CN202110539812.3A patent/CN113458802B/zh active Active
Patent Citations (5)
| Publication number | Priority date | Publication date | Assignee | Title |
|---|---|---|---|---|
| CN106217053A (zh) * | 2016-08-31 | 2016-12-14 | 无锡市光彩机械制造有限公司 | 一种集成拼焊用c型钢成型冲孔线及加工工艺 |
| WO2018041222A1 (zh) * | 2016-08-31 | 2018-03-08 | 无锡市光彩机械制造有限公司 | C型钢的成型和冲孔的生产线及其加工工艺 |
| CN109396712A (zh) * | 2017-08-18 | 2019-03-01 | 东莞中集专用车有限公司 | 专用车中车架的组装台 |
| CN109434159A (zh) * | 2018-12-21 | 2019-03-08 | 浙江永福车业有限公司 | 一种用于车架制作的金属条板传送加工机构 |
| CN212653009U (zh) * | 2020-09-03 | 2021-03-05 | 东莞市夯牛机电科技有限公司 | 一种三沟弯铁板自动定位折弯的一体化加工设备 |
Cited By (8)
| Publication number | Priority date | Publication date | Assignee | Title |
|---|---|---|---|---|
| CN116372597A (zh) * | 2023-06-05 | 2023-07-04 | 山东华建铝业集团有限公司 | 一种铝合金型材收口机构 |
| CN116372597B (zh) * | 2023-06-05 | 2023-08-04 | 山东华建铝业集团有限公司 | 一种铝合金型材收口机构 |
| CN117047474A (zh) * | 2023-09-20 | 2023-11-14 | 青县引领机箱设备制造有限公司 | 一种折弯与焊接工序同步进行的折弯焊接机 |
| CN117047474B (zh) * | 2023-09-20 | 2024-01-19 | 青县引领机箱设备制造有限公司 | 一种折弯与焊接工序同步进行的折弯焊接机 |
| CN117340627A (zh) * | 2023-09-28 | 2024-01-05 | 艾斯乐精密制造(浙江)有限公司 | 一种电气柜柜体加工系统 |
| CN118204779A (zh) * | 2024-04-15 | 2024-06-18 | 华嘉铝业有限公司 | 一种铝合金型材折弯切断设备 |
| CN118204779B (zh) * | 2024-04-15 | 2024-10-25 | 华嘉铝业有限公司 | 一种铝合金型材折弯切断设备 |
| CN120056628A (zh) * | 2025-03-18 | 2025-05-30 | 浙江省丽水市蓝天制笔有限公司 | 一种磁悬浮钢笔及其加工工艺 |
Also Published As
| Publication number | Publication date |
|---|---|
| CN113458802B (zh) | 2023-03-21 |
Similar Documents
| Publication | Publication Date | Title |
|---|---|---|
| CN113458802B (zh) | 安全型汽车导向臂车架支架专用制备系统及其制备方法 | |
| CN112475066A (zh) | 一种全自动压铆机器人 | |
| CN211028604U (zh) | 一种自动上料激光切管机 | |
| CN210677621U (zh) | 输送线组件及装配系统 | |
| CN218079915U (zh) | 一种勾管的管端冲孔装置 | |
| CN215477573U (zh) | 一种床网边框工装装置 | |
| CN110788477A (zh) | 一种槽梁加工系统 | |
| CN213672432U (zh) | 一种全自动激光切管机 | |
| CN212264860U (zh) | 一种汇流带自动焊接的设备 | |
| CN211991737U (zh) | 电瓶车转换器螺丝装配装置 | |
| CN211682482U (zh) | 保险杠冲孔及安装雷达支架的一体化工装设备 | |
| CN209830176U (zh) | 三工位铆接机 | |
| CN219358462U (zh) | 一种汽车部件双工位焊接装置 | |
| CN219426060U (zh) | 一种汽车座椅骨架连接焊接设备 | |
| CN215697243U (zh) | 一种汽车零部件加工用压孔机 | |
| CN217512710U (zh) | 一种双工位双头旋缩机 | |
| CN217316043U (zh) | 用于加工焊接搭接口的工装 | |
| CN214053713U (zh) | 一种高效型双螺孔钻孔装置 | |
| CN210937904U (zh) | 一种柔性钣金生产线送料机用浮动夹钳 | |
| CN218849715U (zh) | 定位治具及循环治具 | |
| CN220295787U (zh) | 一种卧式双头旋铆机 | |
| CN115582488B (zh) | 一种铝模板铆套装置 | |
| CN223175115U (zh) | 翻转装置 | |
| CN211680519U (zh) | 传感器激光焊接七联动装置 | |
| CN217667909U (zh) | 卧式加工中心滑动工装 |
Legal Events
| Date | Code | Title | Description |
|---|---|---|---|
| PB01 | Publication | ||
| PB01 | Publication | ||
| SE01 | Entry into force of request for substantive examination | ||
| SE01 | Entry into force of request for substantive examination | ||
| GR01 | Patent grant | ||
| GR01 | Patent grant |